JP6876552B2 - ガスセンサ - Google Patents

ガスセンサ Download PDF

Info

Publication number
JP6876552B2
JP6876552B2 JP2017133805A JP2017133805A JP6876552B2 JP 6876552 B2 JP6876552 B2 JP 6876552B2 JP 2017133805 A JP2017133805 A JP 2017133805A JP 2017133805 A JP2017133805 A JP 2017133805A JP 6876552 B2 JP6876552 B2 JP 6876552B2
Authority
JP
Japan
Prior art keywords
electrode pad
recess
terminal fitting
gas sensor
contact
Prior art date
Legal status (The legal status is an assumption and is not a legal conclusion. Google has not performed a legal analysis and makes no representation as to the accuracy of the status listed.)
Active
Application number
JP2017133805A
Other languages
English (en)
Other versions
JP2019015630A (ja
Inventor
健弘 大場
健弘 大場
Current Assignee (The listed assignees may be inaccurate. Google has not performed a legal analysis and makes no representation or warranty as to the accuracy of the list.)
Niterra Co Ltd
Original Assignee
NGK Spark Plug Co Ltd
Priority date (The priority date is an assumption and is not a legal conclusion. Google has not performed a legal analysis and makes no representation as to the accuracy of the date listed.)
Filing date
Publication date
Application filed by NGK Spark Plug Co Ltd filed Critical NGK Spark Plug Co Ltd
Priority to JP2017133805A priority Critical patent/JP6876552B2/ja
Publication of JP2019015630A publication Critical patent/JP2019015630A/ja
Application granted granted Critical
Publication of JP6876552B2 publication Critical patent/JP6876552B2/ja
Active legal-status Critical Current
Anticipated expiration legal-status Critical

Links

Images

Landscapes

  • Measuring Oxygen Concentration In Cells (AREA)

Description

本発明は、被測定ガスに含まれる特定成分のガス濃度の測定に用いられるガスセンサに関する。
自動車エンジン等の内燃機関の燃費向上や燃焼制御を行うガスセンサとして、排気ガス中の酸素濃度を検出する酸素センサや空燃比センサが知られている。
このようなガスセンサとして、図10(a)に示すように、特定ガスの濃度検出を行うセンサ素子300を有し、センサ素子300の主面300aの後端側に配置された電極パッド302に、端子金具(接続端子)400を電気的に接続する構造が知られている(例えば、特許文献1参照)。この端子金具400は、図10の紙面に垂直な方向(軸線方向)に延びると共に折り返され、図3の上下方向に弾性的に撓んで電極パッド302に電気的に接続するようになっている。
特開2016−125891号公報(図1、図2)
ところで、端子金具400をセンサ素子300に組み付ける際や、車両の走行時等の振動により、図10(b)に示すように、軸線方向に垂直な方向(幅方向)に端子金具400がブレて電極パッドからはみ出すことがある。この場合、ブレ量が少なければ、端子金具400は電極パッド302の角部と接点Cで接触を維持し、導通不良とはならない。
しかしながら、図10(c)に示すように、端子金具400のブレ量が多くなると、端子金具400の端部が電極パッド302外側のセンサ素子300の絶縁性の主面300aに接点Pで接触し、接点Pを支点にして端子金具400が電極パッド302から隙間Gを介して浮き上がり、導通不良が生じることがある。
さらに、図10(d)に示すように、端子金具400のブレ量が多くなり、電極パッド302から端子金具400の幅W以上にブレると、端子金具400が電極パッド302から完全に脱落して第1主面300aに接触し、導通が完全に失われる。
一方、このような端子金具400のブレによる導通不良を防止するため、電極パッド302の軸線方向に垂直な方向の幅を大きくすると、コストアップやセンサ素子の大型化を招くという問題がある。
本発明は、上記の課題を解決するためになされたものであって、端子金具がブレて電極パッドからはみ出しても導通不良となることを抑制したガスセンサを提供することを目的とする。
上記課題を解決するため、本発明のガスセンサは、軸線方向に延びる板状で表面が絶縁性の素子本体と、該素子本体の第1主面の後端側に1又は複数の電極パッドとを有するセンサ素子と、前記軸線方向に延びて前記電極パッドにそれぞれ電気的に接続する端子金具と、を備えたガスセンサにおいて、前記端子金具は、前記電極パッドに向かって突出し、前記電極パッドに弾性的に接続する素子当接部を有し、前記第1主面において、前記電極パッドの先端と後端のそれぞれを通り、前記軸線方向に垂直な2本の仮想線で区画された領域のうち、前記電極パッドを除いたパッド非形成領域の少なくとも一部に、該電極パッドの前記素子本体に向く界面よりも凹む凹部が設けられており、前記電極パッドから前記凹部までの距離が、前記素子当接部の幅未満で、幅方向に沿い、前記端子金具の一部は、前記電極パッドから前記凹部が形成された側にはみ出した状態で該電極パッドと接触する。
このガスセンサによれば、ガスセンサを組み付ける際や、車両の走行時等の振動により、端子金具が幅方向にブレて電極パッドからはみ出したとしても、界面よりも凹む凹部が電極パッドの近傍に設けられているので、端子金具の端部が凹部に収容されつつ、端子金具が電極パッドの角部と接触を維持し、導通不良を抑制できる。又、端子金具のブレによる導通不良を防止するため、電極パッドの幅を大きくする必要がなく、コストアップやセンサ素子の大型化を抑制できる。
なお、これに対し、凹部が形成されていない場合には、端子金具の端部がセンサ素子の絶縁性の第1主面に接触し、ここを支点にして端子金具が電極パッドから浮き上がり、導通不良が生じる。又、電極パッドから凹部までの距離が素子当接部の幅以上となると、電極パッドから素子当接部の幅以上にブレると、端子金具が電極パッドから完全に脱落して絶縁性の第1主面に接触し、導通が完全に失われる。
なお、素子当接部の幅とは、素子当接部(接続部)が線状(電極パッドと素子当接部が線接触)であれば、その線の長さである。一方、素子当接部が面状(電極パッドと素子当接部が面接触)であれば、その面のうち端子金具の幅方向の最大幅である。
本発明のガスセンサにおいて、前記端子金具の一部が前記凹部に入り込んだ状態で前記電極パッドと接触していてもよい。
本発明のガスセンサにおいて、前記電極パッドと前記凹部とが隣接しているとよい。
このガスセンサによれば、端子金具が幅方向にブレて電極パッドから少しでもはみ出すと、端子金具の端部が凹部にただちに収容されるので、導通不良をより確実に抑制できる。
本発明のガスセンサにおいて、前記電極パッドの厚みをt1とし、前記界面と前記凹部との厚み方向の距離をt2としたとき、t2>t1であるとよい。
このガスセンサによれば、電極パッドの厚みt1をt2よりも薄くして電極パッドの貴金属の使用量を削減できる。
この発明によれば、端子金具がブレて電極パッドからはみ出しても導通不良となることを抑制したガスセンサが得られる。
本発明の実施形態に係るガスセンサの軸線方向に沿う断面図である。 センサ素子の後端部の幅方向から見た電極パッドと端子金具を示す図である。 電極パッドと端子金具を示す斜視図である。 電極パッドと端子金具を示す平面図である。 端子金具が幅方向にブレて電極パッドからはみ出した状態を示す断面図である。 凹部の変形例を示す断面図である。 凹部の別の変形例を示す断面図である。 センサ素子の後端部の幅方向から見た、端子金具の変形例を示す図である。 センサ素子の後端部の幅方向から見た、端子金具の別の変形例を示す図である。 従来のガスセンサ素子において、端子金具が幅方向にブレて電極パッドからはみ出した状態を示す図である。
以下、図1〜図5を参照し、本発明の実施形態に係るガスセンサ200について説明する。図1は、ガスセンサ200の軸線O方向(長手方向)に沿う断面図、図2はセンサ素子100の後端部の幅方向から見た電極パッド80と端子金具110を示す、図3は電極パッド80と端子金具110を示す斜視図、図4は電極パッド80と端子金具110を示す平面図、図45は端子金具110が幅方向にブレて電極パッド80からはみ出した状態を示す幅方向に沿った断面図である。
図1に示すように、ガスセンサ200は、酸素濃度を検出するセンサ素子100を組み付けたアッセンブリである。ガスセンサ200は、軸線方向に延びる板状のセンサ素子100と、排気管に固定されるためのねじ部139が外表面に形成された筒状の主体金具138と、センサ素子100の径方向周囲を取り囲むように配置される筒状のセラミックスリーブ106と、軸線方向に貫通するコンタクト挿通孔168の内壁面がセンサ素子100の後端部の周囲を取り囲む状態で配置される絶縁コンタクト部材166と、センサ素子100と絶縁コンタクト部166との間に配置される複数個(図1では2つのみ図示)の端子金具110と、を備えている。
主体金具138は、軸線O方向に貫通する貫通孔154を有し、貫通孔154の径方向内側に突出する棚部152を有する略筒状形状に構成されている。また、主体金具138は、センサ素子100の先端側を貫通孔154の先端側外部に配置し、複数の電極パッド80(図2、図3参照)を貫通孔154の後端側外部に配置する状態で、センサ素子100を貫通孔154に保持している。さらに、棚部152は、軸線方向に垂直な平面に対して傾きを有する内向きのテーパ面として形成されている。
なお、主体金具138の貫通孔154の内部には、センサ素子100の径方向周囲を取り囲む状態で環状形状のセラミックホルダ151、粉末充填層153(以下、滑石リング153ともいう)、および上述のセラミックスリーブ106がこの順に先端側から後端側にかけて積層されている。また、セラミックスリーブ106と主体金具138の後端部140との間には、加締めパッキン157が配置されており、セラミックホルダ151と主体金具138の棚部152との間には、滑石リング153やセラミックホルダ151を保持するための金属ホルダ(図示せず)が配置されている。なお、主体金具138の後端部140は、加締めパッキン157を介してセラミックスリーブ106を先端側に押し付けるように、加締められている。
一方、主体金具138の先端側(図1における下方)外周には、センサ素子100の突出部分を覆うと共に、複数の孔部を有する金属製(例えば、ステンレスなど)二重の外部プロテクタ142および内部プロテクタ143が、溶接等によって取り付けられている。
そして、主体金具138の後端側外周には、外筒144が固定されている。また、外筒144の後端側(図1における上方)の開口部には、センサ素子100の電極パッド80とそれぞれ電気的に接続される複数本のリード線146(図1では2本のみ)が挿通されるリード線挿通孔161が形成されたグロメット150、及び第2絶縁コンタクト部170が後端側からこの順に配置されている。
また、主体金具138の後端部140より突出されたセンサ素子100の後端側(図1における上方)には、絶縁コンタクト部材166が配置される。なお、この絶縁コンタクト部材166は、センサ素子100の後端側の表裏面に形成される電極パッド80の周囲に配置される。この絶縁コンタクト部材166は、軸線方向に貫通するコンタクト挿通孔168を有する筒状形状に形成されると共に、外表面から径方向外側に突出する鍔部167が備えられている。絶縁コンタクト部材166は、鍔部167が保持部材169を介して外筒144に当接することで、外筒144の内部に配置される。そして、絶縁コンタクト部材166側の端子金具110と、センサ素子100の電極パッド80とが電気的に接続され、リード線146により外部と導通するようになっている。
次に、センサ素子100の構成について説明する。図2、図3に示すように、センサ素子100は、軸線O方向に延びる板状の素子本体100sと、素子本体100sの第1主面100a及び対向する第2主面100bの後端側にそれぞれ2つ(計4つ)の電極パッド80とを有する。素子本体100s(第1主面100a及び第2主面100b)はセラミックからなり、電極パッド80等の導通部分を除いて絶縁性である。
又、本実施形態では、第1主面100a及び第2主面100bには、2つの電極パッド80が軸線O方向と垂直な方向(幅方向)に離間して配置されている。
なお、本発明においては、少なくとも一方の主面(第1主面100a)に1つ以上の電極パッド80が配置されていればよい。
端子金具110は、軸線O方向に短冊状に延びて電極パッド80にそれぞれ電気的に接続する。この端子金具110は、本体部110bと、本体部110bの先端から後端側へ向かって折り返される素子当接部110aと、本体部110bの後端側に一体に繋がる圧着端子部(図示せず)と、を備えている。
素子当接部110aは本体部110bよりも電極パッド80側に向いており、自身のうち電極パッド80側に最も突出する接続部110pが接点を構成して電極パッド80に弾性的に接続するようになっている。なお、素子当接部110aは径方向(電極パッド80の厚み方向)に弾性的に撓んで電極パッド80を押圧している。
又、圧着端子部は芯線を剥いたリード線146(図1)を圧着固定してリード線に電気的に接続されている。
なお、第1主面100a側では、2本の端子金具110がセンサ素子100の幅方向に並んでいる。第2主面100b側も同様である。
又、素子当接部110aのうち電極パッド80との接点を接続部110pと称するが、特に両者を区別しないで接続部110pも素子当接部110aと同義である。
ここで、図4に示すように、第1主面100a(第2主面100b側も同様)において、電極パッド80の先端と後端のそれぞれを通り、軸線O方向に垂直な2本の仮想線Fで区画された領域のうち、電極パッド80を除いた部位をパッド非形成領域R1,R2とする。パッド非形成領域R1は2つの電極パッド80の間に位置し、パッド非形成領域R2は電極パッド80から第1主面100aの幅方向端部に向いている。
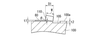
このうち、パッド非形成領域R1には、各電極パッド80と隣接して(電極パッド80から凹部105までの距離D1=0)、それぞれ凹部105が設けられている。
又、図5に示すように、凹部105は、電極パッド80の素子本体(第1主面100a)に向く界面Sよりも凹んでいる。ここで、界面Sとは、電極パッド80のうち、素子本体(第1主面100a)に最も近づく面である。本実施形態では、電極パッド80は第1主面100aの表面に導電ペーストを印刷すること等によって形成されているので、界面Sは第1主面100aであり、凹部105は第1主面100aより凹むように焼成後の素子本体100sを研削等することで形成できる。
ここで、図5に示すように、端子金具110が幅方向にブレて電極パッド80からはみ出したとする。
このとき、界面Sよりも凹む凹部105が電極パッド80の近傍に設けられているので、端子金具110の端部(図5の右端側)が凹部105に収容されつつ、端子金具110は電極パッド80の角部と接点Cで接触を維持し、導通不良を抑制できる。
又、端子金具110のブレによる導通不良を防止するため、電極パッド80の幅を大きくする必要がなく、コストアップやセンサ素子の大型化を抑制できる。
これに対し、凹部105が形成されていない場合には、図10(c)で述べたのと同様、端子金具110の端部(図5の右端側)がセンサ素子の第1主面100aに接触し、ここを支点にして端子金具110が電極パッド80から浮き上がり、導通不良が生じる。
なお、図6に示すように、電極パッド80から凹部105までの距離D1は、端子金具110の接続部110pの幅W(図3参照)未満とする。これは、図10(d)で述べたのと同様、距離D1≦幅Wの場合、電極パッド80から端子金具110の幅W以上にブレると、端子金具110が電極パッド80から完全に脱落して第1主面1aに接触し、導通が完全に失われるからである。
又、本実施形態では、パッド非形成領域R2には凹部105は形成されていない。この理由は、図5に示すように、電極パッド80から第1主面100aの幅方向端部までの幅D2が幅Wに比べて小さいので、凹部105を設けずとも、端子金具110が幅方向にブレたときに端子金具110の端部(図5の左端側)がセンサ素子の第1主面100aに接触しないからである。但し、パッド非形成領域R2に凹部105を形成してもよい。
又、図6に示すように、電極パッド80の厚みをt1としたとき、t1に対してD1が相対的に小さいほど、端子金具110の傾きが大きくなったとしても端子金具110が凹部105に入り込んで電極パッド80と接続することが可能となるため、望ましい。具体的には、距離D1≦12×t1の関係を満たすことが好ましい。D1=12×t1の場合、一般的なD1、t1を用いると端子金具110がブレて傾き、電極パッド80からはみ出したとしても、端子金具110の素子本体(第1主面100a)とのなす角θ(すなわち、素子本体に対する端子金具の傾き)が約5°以下であれば、端子金具110が凹部105に入り込んだ状態で、電極パッド80と接触することが可能であり、導通不良を抑制することができる。
すなわち、D1=12×t1の関係を満たす凹部を設けることで、端子金具110の傾きθを5°まで許容して導通不良を抑制することができる。さらに、D1<12×t1であれば、許容できる端子金具110の傾きθの上限は大きくなり、傾きθ>5°になっても端子金具110が凹部105に入り込んだ状態を維持でき、導通不良を抑制することができる。
つまり、D1≦12×t1の関係を満たすことで、少なくとも端子金具110の組付け時の製造誤差で発生し得る傾きであるθ=5°までは導通不良を抑制することができる。
又、t1≧20μmであると、電極パッド80の摩耗等を抑制して導通を良好にすることができ、W≧0.2mmであると、接続部110pが電極パッド80と確実に接点を構成して導通を良好にすることができる。
さらに、凹部105の深さを表す界面Sと凹部105との厚み方向の距離(凹部105の深さ)をt2としたとき、t2>t1であると、t1を薄くして電極パッド80の貴金属の使用量を削減できる。
本発明は上記実施形態に限定されず、本発明の思想と範囲に含まれる様々な変形及び均等物に及ぶことはいうまでもない。
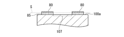
例えば、凹部は第1主面100aより凹むように形成するものに限られず、図7に示すように、第1主面100aの表面にアルミナ等の絶縁層85を設け、絶縁層85の表面に導電ペーストを印刷すること等によって電極パッド80を形成してもよい。
この場合、界面Sは絶縁層85と電極パッド80との境界面であり、第1主面100aよりも絶縁層85の厚み分だけ上方に位置する。そして、2つの電極パッド80で挟まれた第1主面100aが界面Sよりも凹む凹部107を形成する。
従って、第1主面100aより凹むように凹部107を形成する必要がなく、センサ素子100の生産が容易となる。
又、端子金具の形状も上記実施形態に限定されない。例えば、図8に示すように、端子金具120として、電極パッド80側に向かって膨らむ形状をなし、膨出部の先端が電極パッド80側に最も突出する接続部120pをなして電極パッド80に弾性的に接続するようにしてもよい。
図9に示すように、端子金具130として、先端側で電極パッド80側に向かって折り返され、電極パッド80側に向く先端部が接続部130pをなして電極パッド80に弾性的に接続するようにしてもよい。
凹部の形状及び個数、電極パッド及び端子金具の個数及び配置状態も限定されない。
さらに、上記実施形態では、ガスセンサが酸素センサであったが、これに限られることなく、NOxセンサやアンモニアセンサ等の種々のガスセンサであっても良い。
80 電極パッド
100 センサ素子
100a 第1主面
100s 素子本体
105、107 凹部
110、120、130 端子金具
110a 素子当接部(接続部)
200 ガスセンサ
O 軸線
F 仮想線
R1,R2 パッド非形成領域
S 界面
D1 電極パッドから凹部までの距離
W 素子当接部(接続部)の幅

Claims (4)

  1. 軸線方向に延びる板状で表面が絶縁性の素子本体と、該素子本体の第1主面の後端側に1又は複数の電極パッドとを有するセンサ素子と、
    前記軸線方向に延びて前記電極パッドにそれぞれ電気的に接続する端子金具と、を備えたガスセンサにおいて、
    前記端子金具は、前記電極パッドに向かって突出し、前記電極パッドに弾性的に接続する素子当接部を有し、
    前記第1主面において、前記電極パッドの先端と後端のそれぞれを通り、前記軸線方向に垂直な2本の仮想線で区画された領域のうち、前記電極パッドを除いたパッド非形成領域の少なくとも一部に、該電極パッドの前記素子本体に向く界面よりも凹む凹部が設けられており、
    前記電極パッドから前記凹部までの距離が、前記素子当接部の幅未満で
    幅方向に沿い、前記端子金具の一部は、前記電極パッドから前記凹部が形成された側にはみ出した状態で該電極パッドと接触するガスセンサ。
  2. 前記端子金具の一部が前記凹部に入り込んだ状態で前記電極パッドと接触する請求項1に記載のガスセンサ。
  3. 前記電極パッドと前記凹部とが隣接している請求項1又は2に記載のガスセンサ。
  4. 前記電極パッドの厚みをt1とし、前記界面と前記凹部との厚み方向の距離をt2としたとき、t2>t1である請求項1〜3のいずれか一項に記載のガスセンサ。
JP2017133805A 2017-07-07 2017-07-07 ガスセンサ Active JP6876552B2 (ja)

Priority Applications (1)

Application Number Priority Date Filing Date Title
JP2017133805A JP6876552B2 (ja) 2017-07-07 2017-07-07 ガスセンサ

Applications Claiming Priority (1)

Application Number Priority Date Filing Date Title
JP2017133805A JP6876552B2 (ja) 2017-07-07 2017-07-07 ガスセンサ

Publications (2)

Publication Number Publication Date
JP2019015630A JP2019015630A (ja) 2019-01-31
JP6876552B2 true JP6876552B2 (ja) 2021-05-26

Family

ID=65357390

Family Applications (1)

Application Number Title Priority Date Filing Date
JP2017133805A Active JP6876552B2 (ja) 2017-07-07 2017-07-07 ガスセンサ

Country Status (1)

Country Link
JP (1) JP6876552B2 (ja)

Families Citing this family (1)

* Cited by examiner, † Cited by third party
Publication number Priority date Publication date Assignee Title
CN114649705B (zh) * 2022-05-18 2022-08-09 深圳市兴万联电子有限公司 高速连接器

Family Cites Families (8)

* Cited by examiner, † Cited by third party
Publication number Priority date Publication date Assignee Title
JP4230066B2 (ja) * 1999-09-07 2009-02-25 東芝機械株式会社 射出成形機のブレーキ回路およびその制御方法
JP2001343356A (ja) * 2000-03-30 2001-12-14 Denso Corp ガスセンサ
JP2003149202A (ja) * 2001-11-15 2003-05-21 Denso Corp 複合センサ素子
JP2006071364A (ja) * 2004-08-31 2006-03-16 Ngk Spark Plug Co Ltd センサ及びセンサ用検出素子
JP4693118B2 (ja) * 2005-03-22 2011-06-01 日本特殊陶業株式会社 センサ
JP4781950B2 (ja) * 2006-09-15 2011-09-28 株式会社日本自動車部品総合研究所 複合センサ素子
JP2009192523A (ja) * 2008-01-17 2009-08-27 Denso Corp ガスセンサ素子及びこれを用いたガスセンサ
JP2009222499A (ja) * 2008-03-14 2009-10-01 Denso Corp 積層セラミック電子部品

Also Published As

Publication number Publication date
JP2019015630A (ja) 2019-01-31

Similar Documents

Publication Publication Date Title
JP5105488B2 (ja) ガスセンサ
JP5509234B2 (ja) ガスセンサ
JP6876552B2 (ja) ガスセンサ
JP2012225737A (ja) ガスセンサ
JP6981791B2 (ja) ガスセンサの製造方法
JP5255076B2 (ja) ガスセンサ
CN113557428B (zh) 气体传感器
US9541533B2 (en) Gas sensor
US12422398B2 (en) Gas sensor
JP6889677B2 (ja) ガスセンサ
JP5925089B2 (ja) ガスセンサ
JP5836350B2 (ja) ガスセンサ
JP6268077B2 (ja) ガスセンサ
JP6220283B2 (ja) ガスセンサ
JP6983714B2 (ja) ガスセンサ
JP7237758B2 (ja) ガスセンサ及びその製造方法
JP6981948B2 (ja) ガスセンサ
JP6890061B2 (ja) ガスセンサ
JP5934638B2 (ja) ガスセンサ
JP7023159B2 (ja) センサ素子、ガスセンサ及びガスセンサの製造方法
JP7594517B2 (ja) ガスセンサ
JP5886221B2 (ja) ガスセンサ
JP7149791B2 (ja) ガスセンサ
JP2025176264A (ja) ガスセンサ
JP2018063188A (ja) ガスセンサの製造方法及びガスセンサ

Legal Events

Date Code Title Description
A621 Written request for application examination

Free format text: JAPANESE INTERMEDIATE CODE: A621

Effective date: 20191226

A977 Report on retrieval

Free format text: JAPANESE INTERMEDIATE CODE: A971007

Effective date: 20201224

A131 Notification of reasons for refusal

Free format text: JAPANESE INTERMEDIATE CODE: A131

Effective date: 20210104

A521 Request for written amendment filed

Free format text: JAPANESE INTERMEDIATE CODE: A523

Effective date: 20210226

TRDD Decision of grant or rejection written
A01 Written decision to grant a patent or to grant a registration (utility model)

Free format text: JAPANESE INTERMEDIATE CODE: A01

Effective date: 20210405

A61 First payment of annual fees (during grant procedure)

Free format text: JAPANESE INTERMEDIATE CODE: A61

Effective date: 20210426

R150 Certificate of patent or registration of utility model

Ref document number: 6876552

Country of ref document: JP

Free format text: JAPANESE INTERMEDIATE CODE

Ref document number: 6876552

Country of ref document: JP

Free format text: JAPANESE INTERMEDIATE CODE: R150

S531 Written request for registration of change of domicile

Free format text: JAPANESE INTERMEDIATE CODE: R313531

R350 Written notification of registration of transfer

Free format text: JAPANESE INTERMEDIATE CODE: R350

R250 Receipt of annual fees

Free format text: JAPANESE INTERMEDIATE CODE: R250

R250 Receipt of annual fees

Free format text: JAPANESE INTERMEDIATE CODE: R250