JP6861432B2 - 搬送装置及びコンベヤユニット - Google Patents

搬送装置及びコンベヤユニット Download PDF

Info

Publication number
JP6861432B2
JP6861432B2 JP2017023416A JP2017023416A JP6861432B2 JP 6861432 B2 JP6861432 B2 JP 6861432B2 JP 2017023416 A JP2017023416 A JP 2017023416A JP 2017023416 A JP2017023416 A JP 2017023416A JP 6861432 B2 JP6861432 B2 JP 6861432B2
Authority
JP
Japan
Prior art keywords
conveyor
transport
sub
main
posture
Prior art date
Legal status (The legal status is an assumption and is not a legal conclusion. Google has not performed a legal analysis and makes no representation as to the accuracy of the status listed.)
Active
Application number
JP2017023416A
Other languages
English (en)
Other versions
JP2018127353A (ja
Inventor
伊東 一夫
一夫 伊東
竜彦 中村
竜彦 中村
植田 浩司
浩司 植田
崇絋 伊藤
崇絋 伊藤
Current Assignee (The listed assignees may be inaccurate. Google has not performed a legal analysis and makes no representation or warranty as to the accuracy of the list.)
Itoh Denki Co Ltd
Original Assignee
Itoh Denki Co Ltd
Priority date (The priority date is an assumption and is not a legal conclusion. Google has not performed a legal analysis and makes no representation as to the accuracy of the date listed.)
Filing date
Publication date
Application filed by Itoh Denki Co Ltd filed Critical Itoh Denki Co Ltd
Priority to JP2017023416A priority Critical patent/JP6861432B2/ja
Priority to GB1716579.6A priority patent/GB2559647B/en
Priority to FR1759503A priority patent/FR3062848B1/fr
Priority to US15/729,892 priority patent/US10464756B2/en
Priority to CN201711043887.2A priority patent/CN108408380B/zh
Priority to DE102017126557.0A priority patent/DE102017126557A1/de
Publication of JP2018127353A publication Critical patent/JP2018127353A/ja
Application granted granted Critical
Publication of JP6861432B2 publication Critical patent/JP6861432B2/ja
Active legal-status Critical Current
Anticipated expiration legal-status Critical

Links

Images

Classifications

    • BPERFORMING OPERATIONS; TRANSPORTING
    • B65CONVEYING; PACKING; STORING; HANDLING THIN OR FILAMENTARY MATERIAL
    • B65GTRANSPORT OR STORAGE DEVICES, e.g. CONVEYORS FOR LOADING OR TIPPING, SHOP CONVEYOR SYSTEMS OR PNEUMATIC TUBE CONVEYORS
    • B65G17/00Conveyors having an endless traction element, e.g. a chain, transmitting movement to a continuous or substantially-continuous load-carrying surface or to a series of individual load-carriers; Endless-chain conveyors in which the chains form the load-carrying surface
    • B65G17/24Conveyors having an endless traction element, e.g. a chain, transmitting movement to a continuous or substantially-continuous load-carrying surface or to a series of individual load-carriers; Endless-chain conveyors in which the chains form the load-carrying surface comprising a series of rollers which are moved, e.g. over a supporting surface, by the traction element to effect conveyance of loads or load-carriers
    • BPERFORMING OPERATIONS; TRANSPORTING
    • B65CONVEYING; PACKING; STORING; HANDLING THIN OR FILAMENTARY MATERIAL
    • B65GTRANSPORT OR STORAGE DEVICES, e.g. CONVEYORS FOR LOADING OR TIPPING, SHOP CONVEYOR SYSTEMS OR PNEUMATIC TUBE CONVEYORS
    • B65G47/00Article or material-handling devices associated with conveyors; Methods employing such devices
    • B65G47/52Devices for transferring articles or materials between conveyors i.e. discharging or feeding devices
    • B65G47/64Switching conveyors
    • B65G47/641Switching conveyors by a linear displacement of the switching conveyor
    • B65G47/643Switching conveyors by a linear displacement of the switching conveyor in a vertical plane
    • BPERFORMING OPERATIONS; TRANSPORTING
    • B65CONVEYING; PACKING; STORING; HANDLING THIN OR FILAMENTARY MATERIAL
    • B65GTRANSPORT OR STORAGE DEVICES, e.g. CONVEYORS FOR LOADING OR TIPPING, SHOP CONVEYOR SYSTEMS OR PNEUMATIC TUBE CONVEYORS
    • B65G47/00Article or material-handling devices associated with conveyors; Methods employing such devices
    • B65G47/52Devices for transferring articles or materials between conveyors i.e. discharging or feeding devices
    • B65G47/53Devices for transferring articles or materials between conveyors i.e. discharging or feeding devices between conveyors which cross one another
    • B65G47/54Devices for transferring articles or materials between conveyors i.e. discharging or feeding devices between conveyors which cross one another at least one of which is a roller-way
    • BPERFORMING OPERATIONS; TRANSPORTING
    • B65CONVEYING; PACKING; STORING; HANDLING THIN OR FILAMENTARY MATERIAL
    • B65GTRANSPORT OR STORAGE DEVICES, e.g. CONVEYORS FOR LOADING OR TIPPING, SHOP CONVEYOR SYSTEMS OR PNEUMATIC TUBE CONVEYORS
    • B65G17/00Conveyors having an endless traction element, e.g. a chain, transmitting movement to a continuous or substantially-continuous load-carrying surface or to a series of individual load-carriers; Endless-chain conveyors in which the chains form the load-carrying surface
    • B65G17/06Conveyors having an endless traction element, e.g. a chain, transmitting movement to a continuous or substantially-continuous load-carrying surface or to a series of individual load-carriers; Endless-chain conveyors in which the chains form the load-carrying surface having a load-carrying surface formed by a series of interconnected, e.g. longitudinal, links, plates, or platforms
    • B65G17/061Conveyors having an endless traction element, e.g. a chain, transmitting movement to a continuous or substantially-continuous load-carrying surface or to a series of individual load-carriers; Endless-chain conveyors in which the chains form the load-carrying surface having a load-carrying surface formed by a series of interconnected, e.g. longitudinal, links, plates, or platforms the load carrying surface being formed by profiles, rods, bars, rollers or the like attached to a single traction element
    • B65G17/062Conveyors having an endless traction element, e.g. a chain, transmitting movement to a continuous or substantially-continuous load-carrying surface or to a series of individual load-carriers; Endless-chain conveyors in which the chains form the load-carrying surface having a load-carrying surface formed by a series of interconnected, e.g. longitudinal, links, plates, or platforms the load carrying surface being formed by profiles, rods, bars, rollers or the like attached to a single traction element the profiles, rods, bars, rollers or the like being interconnected by a mesh or grid-like structure
    • BPERFORMING OPERATIONS; TRANSPORTING
    • B65CONVEYING; PACKING; STORING; HANDLING THIN OR FILAMENTARY MATERIAL
    • B65GTRANSPORT OR STORAGE DEVICES, e.g. CONVEYORS FOR LOADING OR TIPPING, SHOP CONVEYOR SYSTEMS OR PNEUMATIC TUBE CONVEYORS
    • B65G17/00Conveyors having an endless traction element, e.g. a chain, transmitting movement to a continuous or substantially-continuous load-carrying surface or to a series of individual load-carriers; Endless-chain conveyors in which the chains form the load-carrying surface
    • B65G17/30Details; Auxiliary devices
    • B65G17/48Controlling attitudes of load-carriers during movement
    • BPERFORMING OPERATIONS; TRANSPORTING
    • B65CONVEYING; PACKING; STORING; HANDLING THIN OR FILAMENTARY MATERIAL
    • B65GTRANSPORT OR STORAGE DEVICES, e.g. CONVEYORS FOR LOADING OR TIPPING, SHOP CONVEYOR SYSTEMS OR PNEUMATIC TUBE CONVEYORS
    • B65G23/00Driving gear for endless conveyors; Belt- or chain-tensioning arrangements
    • B65G23/02Belt- or chain-engaging elements
    • B65G23/04Drums, rollers, or wheels
    • BPERFORMING OPERATIONS; TRANSPORTING
    • B65CONVEYING; PACKING; STORING; HANDLING THIN OR FILAMENTARY MATERIAL
    • B65GTRANSPORT OR STORAGE DEVICES, e.g. CONVEYORS FOR LOADING OR TIPPING, SHOP CONVEYOR SYSTEMS OR PNEUMATIC TUBE CONVEYORS
    • B65G35/00Mechanical conveyors not otherwise provided for
    • B65G35/02Mechanical conveyors not otherwise provided for comprising an endless traction element, e.g. a belt, arranged to roll cylindrical articles over a supporting surface
    • BPERFORMING OPERATIONS; TRANSPORTING
    • B65CONVEYING; PACKING; STORING; HANDLING THIN OR FILAMENTARY MATERIAL
    • B65GTRANSPORT OR STORAGE DEVICES, e.g. CONVEYORS FOR LOADING OR TIPPING, SHOP CONVEYOR SYSTEMS OR PNEUMATIC TUBE CONVEYORS
    • B65G47/00Article or material-handling devices associated with conveyors; Methods employing such devices
    • B65G47/52Devices for transferring articles or materials between conveyors i.e. discharging or feeding devices
    • BPERFORMING OPERATIONS; TRANSPORTING
    • B65CONVEYING; PACKING; STORING; HANDLING THIN OR FILAMENTARY MATERIAL
    • B65GTRANSPORT OR STORAGE DEVICES, e.g. CONVEYORS FOR LOADING OR TIPPING, SHOP CONVEYOR SYSTEMS OR PNEUMATIC TUBE CONVEYORS
    • B65G47/00Article or material-handling devices associated with conveyors; Methods employing such devices
    • B65G47/52Devices for transferring articles or materials between conveyors i.e. discharging or feeding devices
    • B65G47/64Switching conveyors
    • B65G47/644Switching conveyors by a pivoting displacement of the switching conveyor
    • B65G47/645Switching conveyors by a pivoting displacement of the switching conveyor about a horizontal axis
    • B65G47/647Switching conveyors by a pivoting displacement of the switching conveyor about a horizontal axis the axis being perpendicular to the conveying direction
    • BPERFORMING OPERATIONS; TRANSPORTING
    • B65CONVEYING; PACKING; STORING; HANDLING THIN OR FILAMENTARY MATERIAL
    • B65GTRANSPORT OR STORAGE DEVICES, e.g. CONVEYORS FOR LOADING OR TIPPING, SHOP CONVEYOR SYSTEMS OR PNEUMATIC TUBE CONVEYORS
    • B65G47/00Article or material-handling devices associated with conveyors; Methods employing such devices
    • B65G47/52Devices for transferring articles or materials between conveyors i.e. discharging or feeding devices
    • B65G47/66Fixed platforms or combs, e.g. bridges between conveyors

Landscapes

  • Engineering & Computer Science (AREA)
  • Mechanical Engineering (AREA)
  • Relays Between Conveyors (AREA)
  • Rollers For Roller Conveyors For Transfer (AREA)
  • Branching, Merging, And Special Transfer Between Conveyors (AREA)
  • Attitude Control For Articles On Conveyors (AREA)
  • Control Of Conveyors (AREA)
  • Intermediate Stations On Conveyors (AREA)

Description

本発明は、コンベヤラインの一部を構成する搬送装置に関するものである。特に、物品の搬送方向を搬入方向に対する交差方向に転換できる搬送装置に関するものである。また本発明は、多段にコンベヤラインが構築されたコンベヤユニットに関するものである。
製品の組み立てラインや物品の配送場などの物流現場では、従来から物品の搬送にコンベヤラインが利用されている。近年の物流現場では、物品の搬送場所の多様化等に伴い、立体的にコンベヤラインが組まれており、高低差のあるコンベヤライン間で仕分けを行うことがある(例えば、特許文献1)。
この特許文献1には、高低差のある高層側コンベヤライン及び低層側コンベヤラインと、低層側コンベヤラインの中途から分岐され高層側コンベヤラインに向かって上り傾斜する接続コンベヤラインをもつコンベヤ装置が記載されている。そして、この特許文献1のコンベヤ装置は、低層側コンベヤラインと接続コンベヤラインの分岐部分に、自己のコンベヤラインを搬送する主搬送路と、接続コンベヤラインに搬送する副搬送路を備えた搬送装置が設けられている。そして、この搬送装置は、副搬送路の一端側が軸支され、他端側を回動させて傾斜姿勢とすることによって、当該他端側の部分が主搬送路よりも高い位置となり、物品が副搬送路を通って接続コンベヤライン側に搬送され、高層側のコンベヤラインに導かれる構造となっている。そのため、特許文献1に記載のコンベヤ装置によれば、低層側コンベヤラインから高層側コンベヤラインへの物品のコンベヤラインの仕分けが可能となっている。
国際公開第2015/129803号
しかしながら、特許文献1に記載の搬送装置では、副搬送路が一軸で回動し、副搬送路の軸支された一端側が主搬送路の下側に位置するので、物品を高層側コンベヤラインから低層側コンベヤラインに搬送する場合には、物品の一部が主搬送路の搬送面と接触する場合がある。そのため、主搬送路の搬送面で物品が引っ掛かり、物品によっては、正確に搬送できない問題が生じ得る。
そこで、本発明は、副搬送路に搬送物を通過させる場合において、搬送物の主搬送路の搬送面での引っ掛かりを防止できる搬送装置及びコンベヤユニットを提供することを目的とする。
上記課題を解決するための本発明の一つの様相は、主搬送コンベヤ部と、副搬送コンベヤ部と、前記主搬送コンベヤ部と前記副搬送コンベヤ部のうち、少なくとも一方のコンベヤ部を昇降させる昇降手段とを有し、前記主搬送コンベヤ部は、一定の領域にあって搬送物を搬送する主搬送路を有し、前記副搬送コンベヤ部は、前記一定の領域に配置され、前記主搬送路の搬送方向に対する交差方向に搬送物を搬送する副搬送路を備え、前記副搬送路の搬送面が前記主搬送路の搬送面よりも下方に位置する主搬送姿勢と、前記副搬送路の搬送面の前記交差方向の両端部が前記主搬送路の搬送面よりも上方に位置する副搬送姿勢と、に変更可能であり、前記副搬送姿勢において、前記副搬送路の搬送面が高さ方向に傾斜する搬送装置である。
ここでいう「搬送面」とは、搬送物が載置される載置面だけではなく、搬送物の底部が通過する仮想面も含む。例えば、ベルトコンベヤの場合には、ベルト上の面であり、ローラコンベヤの場合、搬送時にローラの搬送物との接触部分を繋いだ仮想面であり、一般的にはローラのそれぞれの最上部を通過する仮想面である。
本様相の搬送装置は、多段にコンベヤラインが構築され、高低差をもつコンベヤユニットの一部として好適に使用されるものである。例えば、本様相の搬送装置は、高層側のコンベヤラインから低層側のコンベヤラインに搬送物を載せ替える用途に使用されるものである。
本様相によれば、主搬送姿勢にすることで、副搬送路の搬送面が主搬送路の搬送面よりも下方側に位置するので、高層側のコンベヤラインで搬送される搬送物は、主搬送路の搬送面を通過してそのまま高層側のコンベヤラインを通過することができる。
一方、本様相によれば、副搬送姿勢にすることで、副搬送路の搬送面の両端が主搬送路の搬送面よりも上方に位置し、さらに高さ方向に傾斜するので、副搬送路の搬送面の傾斜角度と高層側のコンベヤラインと低層側のコンベヤラインを繋ぐ接続ラインの傾斜角が揃うように配することで副搬送路の搬送面と接続ラインとの相対角度が小さくなり、搬送物が抵抗無く副搬送路の搬送面から接続ラインに、接続ラインから副搬送路の搬送面に乗り移ることが可能である。
また、本様相によれば、副搬送姿勢において副搬送路の搬送面の両端が主搬送路の搬送面よりも上方に位置するので、主搬送路の搬送面による搬送物への引っ掛かりを防止でき、より正確に搬送物を所望のコンベヤラインに搬送することができる。
上記した様相は、前記副搬送姿勢において、前記主搬送路の搬送面の略全体が前記副搬送路の搬送面よりも下方に位置することとしてもよい。
ここでいう「搬送面の略全体」とは、搬送面の95パーセント以上の領域をいう。
本様相によれば、より確実に搬送物の主搬送路の搬送面への引っ掛かりを防止できる。
好ましい様相は、前記昇降手段は、少なくとも2種類のカム部材を備えており、前記2種類のカム部材が回転することで前記主搬送姿勢から前記副搬送姿勢に変更されることである。
本様相によれば、形状や大きさなどが異なる2種類のカム部材を備え、これら2種類のカム部材が回転することに伴って主搬送姿勢から副搬送姿勢に変更されるので、単純な機構で副搬送路の副搬送面を傾斜させることができる。
より好ましい様相は、前記昇降手段は、前記2種類のカム部材を直接又は他の部材を介して連結する連結部材を有し、前記連結部材によって前記2種類のカム部材が同期して回転し、前記主搬送姿勢から前記副搬送姿勢に変更されることである。
本様相によれば、2種類のカム部材が同期して回転するため、一つの動力源で双方のカム部材を回転させることができる。
上記した様相において、前記カム部材は平面カムであることが好ましい。
好ましい様相は、前記昇降手段は、前記一方のコンベヤ部を昇降させる駆動源を備えており、前記駆動源を駆動することによって前記主搬送姿勢から前記副搬送姿勢に変更されることが好ましい。
本様相によれば、姿勢変更が容易である。
より好ましい様相は、前記駆動源は、内部にモータと減速機を備えたモータ内蔵ローラであることである。
好ましい様相は、前記副搬送姿勢における前記副搬送路の傾斜角度を調整する角度調整手段を備えていることである。
本様相によれば、副搬送路の搬送面の接続ラインに対する相対角度をより小さくすることができる。
好ましい様相は、前記昇降手段は、床面又は固定構造物に対して直接的又は間接的に固定されるベース部を備え、前記ベース部は、前記副搬送コンベヤ部の一部と連結され、前記副搬送路の前記主搬送路の搬送方向への移動を規制していることである。
本様相によれば、搬送時に副搬送路が搬送方向にずれにくく、より正確な搬送制御が可能である。
本発明の一つの様相は、高低差のある少なくとも2つのコンベヤラインと、前記2つのコンベヤラインを接続する接続ラインを有し、前記2つのコンベヤラインのうち、少なくとも一方のコンベヤラインは、接続ラインとの接続部分に請求項1乃至8のいずれかに記載の搬送装置を備えているコンベヤユニットである。
本様相によれば、主搬送路の搬送面による搬送物への引っ掛かりを防止でき、より正確に搬送物を搬送することができる。
本発明の一つの様相は、コンベヤラインと、高さ方向に傾斜した傾斜ラインを有し、前記傾斜ラインの一方の端部が前記コンベヤラインの中間部に接続されており、前記コンベヤラインは、前記傾斜ラインとの接続部分に前記搬送装置を備えているコンベヤユニットである。
ここでいう「中間部」とは、端部以外の部位をいう。
本様相によれば、主搬送路の搬送面による搬送物への引っ掛かりを防止でき、より正確に搬送物を搬送することができる。
本発明の搬送装置及びコンベヤユニットは、副搬送路に搬送物を通過させる場合において、搬送物の主搬送路での引っ掛かりを防止できる。
本発明の実施形態のコンベヤユニットの斜視図である。 本発明の実施形態の搬送装置の斜視図である。 図2の搬送装置の平面図である。 図2の搬送装置の分解斜視図である。 図4の副コンベヤ部の斜視図である。 図4の副コンベヤ部の分解斜視図である。 図4のコンベヤの分解斜視図である。 図2のコンベヤの斜視図である。 図2のベース部を示す斜視図である。 図1のコンベヤユニットにおいて高層側コンベヤラインから接続コンベヤラインに搬送物を載せ替える際の動作を示す説明図であり、(a)〜(c)は各部材の姿勢を時系列順に表している。 図1のコンベヤユニットにおいて接続コンベヤラインから低層側コンベヤラインに搬送物を載せ替える際の動作を示す説明図であり、(a)〜(c)は各部材の姿勢を時系列順に表している。 図1のコンベヤユニットの説明図であり、(a)は主搬送姿勢を表す側面図であり、(b)は副搬送姿勢を表す側面図である。 図1のコンベヤユニットの説明図であり、(a)は主搬送姿勢におけるローラの位置関係を表す側面図であり、(b)は副搬送姿勢におけるローラの位置関係を表す側面図である。 本発明の他の実施形態のコンベヤユニットにおいて高層側コンベヤラインから接続コンベヤラインに搬送物を載せ替える際の動作を示す説明図であり、(a)〜(c)は各部材の姿勢を時系列順に表している。
以下、本発明の実施形態のコンベヤユニット1について説明する。
本発明の第1実施形態のコンベヤユニット1は、図1に示されるように、搬送物200の搬送位置の高さが異なり高低差のある2つのコンベヤライン2,3と、コンベヤライン2,3間を接続する接続コンベヤライン5(接続ライン)を備えている。
そして、本実施形態のコンベヤユニット1は、低層側コンベヤライン2と接続コンベヤライン5の接続部分及び高層側コンベヤライン3と接続コンベヤライン5の接続部分のそれぞれに搬送装置10(10a,10b)が設けられており、搬送装置10の構造に主な特徴を備えている。すなわち、本実施形態のコンベヤユニット1は、搬送物200が搬送装置10上を通過する際に搬送装置10の姿勢を変更することによって、所望のコンベヤライン2,3,5に流すことが可能となっている。
例えば、コンベヤライン3に流れてきた搬送物200をそのまま通過させて下流側に搬送する主搬送動作を行う場合には、搬送装置10を図12(a)に示される主搬送姿勢にすることによって搬送物200をそのまま流すことができる。その一方で、コンベヤライン3に流れてきた搬送物200を他のコンベヤライン5側に搬送する副搬送動作を行う場合には、搬送装置10を図12(b)に示される副搬送姿勢にすることによって搬送物200を他のコンベヤライン5側に流すことができる。
以下、上記の特徴を踏まえながら、コンベヤユニット1について詳細に説明する。
低層側コンベヤライン2は、図1に示されるように、低層に設置されるコンベヤラインであり、所定の方向(以下、搬送方向Aともいう)に搬送物200を搬送するものである。
高層側コンベヤライン3は、低層側コンベヤライン2に比べて高層に設置されるコンベヤラインであり、搬送面たる主搬送面20が低層側コンベヤライン2の搬送面たる主搬送面20に比べて高い位置にある。
高層側コンベヤライン3は、所定の方向に搬送物200を搬送するものであり、本実施形態では、低層側コンベヤライン2の搬送方向Aと同一方向に搬送物200を搬送するものである。
コンベヤライン2,3は、図1に示されるように、ともにローラコンベヤ装置であり、平行に配された二本のフレーム部材7a,7bの間に、複数のローラが設けられたものである。
コンベヤライン2,3を構成するローラのいくつかは、モータ内蔵ローラであり、ローラ本体の中にモータと減速機が内蔵されており、モータに給電することによってローラ本体が回転することが可能となっている。
一方、コンベヤライン2,3を構成する残りのローラは、従動ローラであり、上記したモータ内蔵ローラとの間でベルトが懸架され、モータ内蔵ローラから動力伝導を受けて回転するものである。コンベヤライン2,3は、いずれも搬送方向Aにおいて複数のゾーンに区切られており、ゾーンごとに走行・停止を行うことができる。
接続コンベヤライン5は、コンベヤライン2,3の搬送方向Aの中流から分岐されコンベヤライン2,3間を繋ぐ接続ラインであり、搬送面8が高さ方向に傾斜した傾斜姿勢で設置される傾斜ラインである。
接続コンベヤライン5は、具体的にはベルトコンベヤであり、少なくとも2つのローラにコンベヤベルトが懸架されており、コンベヤベルト上に搬送面8が形成されている。
搬送装置10(10a,10b)は、コンベヤライン2,3での搬送方向の切り替えを行う仕分け装置である。
本実施形態の搬送装置10a,10bは、同一の装置を採用している。そこで、以下の説明においては、搬送装置10a,10bの間で同一の構成については、搬送装置10として説明する。
搬送装置10は、図2,図4から読み取れるように、主要構成部材として、主搬送コンベヤ部11と、副搬送コンベヤ部12と、ベース部13(昇降手段)を有している。
主搬送コンベヤ部11は、コンベヤライン2,3の他のコンベヤ部位と同様に、ローラコンベヤで構成されており、搬送方向Aに隣接する他のローラコンベヤとともに主搬送路15を構成するものである。
主搬送コンベヤ部11は、図4に示されるように、主搬送側フレーム部材16a,16bと、複数のローラ18a〜18gと、ベルト19を備えている。
主搬送側フレーム部材16a,16bは、フレーム部材7a,7bの一部を構成し、各ローラ18a〜18gの両端部を支持する支持部材である。
主搬送側フレーム部材16a,16bは、ローラ18a〜18gを挟んで対向するように所定の間隔を空けて設けられている。
ローラ18a〜18gは、主搬送路15の一部を構成する搬送用ローラである。
各ローラ18a〜18gは、主搬送側フレーム部材16a,16bの間に搬送方向Aに一定の隙間を空けて並んでおり、主搬送側フレーム部材16a,16bによって本体部分が同一方向に回転可能に軸支されている。
ローラ18a〜18gのうち、中央側に位置するローラ18dは、モータ内蔵ローラであり、残りのローラ18a〜18c,18e〜18gは、従動ローラである。
従動ローラ18a〜18c,18e〜18gは、モータ内蔵ローラ18cとの間でベルト19が懸架されており、モータ内蔵ローラ18cから動力伝導を受けて回転可能となっている。なお、ローラ18a〜18gのうち、いずれのローラがモータ内蔵ローラであってもよい。
主搬送コンベヤ部11は、主搬送路15によって搬送方向Aに搬送物200を搬送可能となっている。なお、この搬送物200の搬送方向Aは、逆方向であってもよい。
主搬送コンベヤ部11は、図4,図12(a)から読み取れるように、ローラ18a〜18gの最上部の高さが一致しており、ローラ18a〜18gの最上部(頂部)で主搬送面20が形成されている。すなわち、主搬送面20とは、ローラ18a〜18gの頂部を繋いだ仮想面であり、搬送物200の底部が通過する仮想面である。
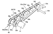
副搬送コンベヤ部12は、搬送物200を接続コンベヤライン5側に搬送する部位であり、図5のように、コンベヤ群25を備えている。
コンベヤ群25は、副搬送路26を構成する幅狭コンベヤ群である。
コンベヤ群25は、図6に示されるように、複数のコンベヤ50a〜50dと、搬送用モータ内蔵ローラ51(駆動源)と、連結フレーム52,53a,53bと、揺動ユニット54を備えている。
コンベヤ50a〜50dは、いずれも幅狭コンベヤであり、図8に示されるように、板状部材55(55a〜55d)と、複数のプーリ56a〜56hと、テンションプーリ57と、ベルト58を備えている。
板状部材55(55a〜55d)は、それぞれ各プーリ56a〜56h,57を片持ち状に支持する板状体であり、搬送方向Bに帯状に延びている。
板状部材55は、図6に示されるように、下部の中間部と一方の端部にそれぞれ下方に向けて張り出した張出部60a,60b,61が設けられている。
板状部材55の長手方向の中間部に設けられた一対の張出部60a,60bは、長手方向に所定の間隔を空けて配されている。別の観点からみると、板状部材55には、張出部60a,60bによって挟まれた切り欠き部62が設けられている。
切り欠き部62は、上方に向けて弧をもつ円弧状の切り欠きであり、搬送用モータ内蔵ローラ51のローラ本体75を通過可能となっている。
板状部材55は、連結フレーム52,53a,53bによって、一定の間隔をあけて縦姿勢で固定されている。
コンベヤ50a〜50dの並設方向の両外側の板状部材55a,55dには、コロ63,63が設けられている。
コロ63,63は、カムフォローとして機能する部材であり、ベース部13の第1カム部材116,116を受ける接触子として機能する部材である。
コロ63,63は、回転軸が板状部材55a,55dの厚み方向を向くように取り付けられている。
プーリ56a〜56hは、図8に示されるように、ベルト58を懸架して移動させる部材であり、いずれも空転自在となっている。
プーリ56a〜56hは、板状部材55の上面側に6個のプーリ56a〜56fが一列に設けられており、残りの2つのプーリ56g,56hは、下面側であって板状部材55の張出部60a,60bにそれぞれ設けられている。
なお、図8の斜視図は、コンベヤ50a,50cを示しているが、コンベヤ50a,50cとコンベヤ50b,50dとは、板状部材55に対してプーリ56a〜56fを取り付ける側が反対側になる。
テンションプーリ57は、プーリ56a〜56hとともにベルト58に懸架され、ベルト58における副搬送面70を構成していない部位を押圧してベルト58に張力を付与する張力付与部材である。
ベルト58は、プーリ56a〜56hと、搬送用モータ内蔵ローラ51のローラ本体75を連結する連結ベルトである。
本実施形態のベルト58は、歯付きベルトであり、搬送用モータ内蔵ローラ51を回転させると、全てのコンベヤ50a〜50dで各ベルト58が走行することが可能となっている。
本実施形態のコンベヤ50a〜50dでは、図8に示されるように、各板状部材55a〜55dに8個のプーリ56a〜56hが取り付けられ、この内の6個のプーリ56a〜56fが上部の位置に設けられている。
これら6個のプーリ56a〜56fのうち、プーリ56a,56b,56d,56e,56fは、上部側がベルト58と係合しており、中間部のプーリ56cは、下側にベルト58が懸架されている。さらにテンションプーリ57がプーリ56f,56gの間に設けられており、テンションプーリ57の上側にベルト58が懸架されている。
この理由は、副搬送路26(副搬送面70)上のベルト58に適度の張力を与えるためである。
コンベヤ50a〜50dの各プーリ56c及び各ベルト58は、副搬送路26を構成しており、その最上部で搬送面たる副搬送面70を構成している。すなわち、コンベヤ50a〜50dの各プーリ56cの最上部及び各ベルト58の最上部の高さは、図13に示されるように、一致しており、これらプーリ56c及びベルト58の最上部で副搬送面70が形成されている。
副搬送路26は、所定の方向(以下、搬送方向Bともいう)に物品たる搬送物200を搬送する搬送路である。図2で示されるように、副搬送路26での搬送方向Bは、主搬送コンベヤ部11の主搬送路15の搬送方向Aと交差(直交)している。なお、搬送方向Bは、逆方向であってもよい。
搬送用モータ内蔵ローラ51(駆動源)は、コンベヤ50a〜50dのベルト58に懸架され、コンベヤ50a〜50dの動力源となる部材である。
搬送用モータ内蔵ローラ51は、図6に示されるように、内部にモータと減速機を備えたローラ本体75と、ローラ本体75に対して相対的に回転する軸部76a,76bと、固定板77,77を有している。すなわち、搬送用モータ内蔵ローラ51は、両端の軸部76a,76bが、固定板77,77を介してコンベヤ50a,50dの板状部材55a,55dに固定され、図示しないモータに通電すると、ローラ本体75が回転するものである。
固定板77,77は、板状部材55a,55dの外側面に、切り欠き部62を覆うように取り付けられている。すなわち、固定板77,77は、板状部材55a,55dのプーリ56a〜56hとは反対側の面に取り付けられている。
連結フレーム52,53a,53bは、各コンベヤ50a〜50dを互いに平行となる姿勢で連結する連結フレームである。
連結フレーム52は、各コンベヤ50a〜50dの板状部材55の一方の端部側間を接続するものである。
連結フレーム52は、連結板45と、取付部46を備えている。
連結板45は、コンベヤ50a〜50dの並設方向に延びた板状体である。
取付部46は、板状部材55a〜55dを取り付け可能な部位である。
取付部46は、図7に示されるように、断面形状が「L」字状であり、連結板45と接続される第1板部48と、第1板部48の端部から立ち上がった第2板部49から構成されている。
連結フレーム53a,53bは、各コンベヤ50a〜50dの板状部材55の他方の端部側(張出部61側端部)間を接続するものであり、コンベヤ50a〜50dの並設方向に延びた棒状体である。
連結フレーム53bは、張出部61に設けられており、連結フレーム53aは、連結フレーム53bの上方に設けられている。
揺動ユニット54は、図7に示されるように、軸部材84と、コロ85と、連結部材86から構成されている。
軸部材84は、第2板部49に対して直立した姿勢で固定される部材であり、コロ85を回転可能に軸支し、連結部材86を板状部材55a(板状部材55d)に対して固定する部材である。
コロ85は、カムフォローとして機能する部材であり、カム部材117を受ける接触子として機能する部材である。
軸部材84は、板状部材55の厚み方向を向くように第2板部49に取り付けられており、コロ85の回転軸と同一方向に延びている。
連結部材86は、コンベヤ50a〜50dとベース部13を連結する板状体である。
連結部材86は、直線状又は一部が屈曲して延びており、長手方向(傾斜方向)の一方の端部に連結フレーム52に固定可能な第1固定部87を備え、他方の端部にベース部13の固定部118に固定可能な第2固定部88を備えている。
本実施形態の第1固定部87は、軸部材84,84を装着可能な貫通孔又は有底穴であり、第2固定部88は、締結要素を挿通可能な挿通孔である。
ベース部13(昇降手段)は、コンベヤ部11,12の土台となる部位であって、副搬送コンベヤ部12を主搬送コンベヤ部11に対して昇降させる昇降装置をなす部位である。
ベース部13は、図9に示されるように、ベース本体110a,110bと、ローラ111,112と、ベルト115と、2種類のカム部材116,117と、固定部118を備えている。
ベース本体110a,110bは、床面又は固定構造物に対して直接的又は間接的に固定される部位であり、土台となる部位である。
ベース本体110a,110bは、長板状であり、その長手方向の両端部に上方に向かって立ち上がった支持部120a,120bを備えている。
支持部120a,120bは、主搬送側フレーム部材16a,16bを支持する部位である。
ローラ111は、昇降用のモータ内蔵ローラであり、図9に示されるように、内部にモータと減速機を備えたローラ本体121と、ローラ本体121に対して相対的に回転する軸部122,122と、固定板123,123を有している。
すなわち、昇降用モータ内蔵ローラ111(駆動源,角度調整手段)は、両端の軸部122,122が、固定板123,123に軸支されており、モータに通電すると、ローラ本体121が回転するものであり、回転速度や回転角度を制御可能となっている。
ローラ112は、昇降用モータ内蔵ローラ111に従動して回転する従動ローラであり、ローラ本体125と、ローラ本体125に対して相対的に回転可能な軸部126,126と、固定板127,127を備えている。そして、従動ローラ112は、両端の軸部126,126が、固定板127,127に軸支されている。
ベルト115は、ローラ111,112のローラ本体121,125間を懸架して同期させる連結ベルトであり、昇降用モータ内蔵ローラ111の回転力を従動ローラ112に伝達する動力伝達部材である。すなわち、昇降用モータ内蔵ローラ111が回転すると、ベルト115によって従動ローラ112が同期して回転する。
ベルト115は、ローラ本体121,125のカム部材116,117よりも外側部分を連結している。
第1カム部材116は、インボリュート形状のカム面を持ったインボリュートカムである。すなわち、第1カム部材116の周面は、インボリュート曲面を構成している。
第1カム部材116は、昇降用モータ内蔵ローラ111のローラ本体121の長手方向の両端部近傍に装着されており、昇降用モータ内蔵ローラ111内のモータ(図示せず)に通電すると、第1カム部材116はローラ本体121と一体となって回動する。
第2カム部材117は、インボリュート形状のカム面を持ったインボリュートカムである。すなわち、第2カム部材117の周面は、インボリュート曲面を構成している。
第2カム部材117は、従動ローラ112のローラ本体125の両端部に装着されており、昇降用モータ内蔵ローラ111内のモータ(図示せず)に通電すると、ベルト115を介して昇降用モータ内蔵ローラ111のローラ本体121と一体となって従動ローラ112のローラ本体125が回動し、それに伴い第2カム部材117も回動する。
固定部118は、揺動ユニット54の連結部材86を固定可能な部位であり、一対の固定片130,131から構成されている。固定部118は、ベース本体110a,110bの長手方向の中間部であって短手方向の内側端部に設けられている。
固定片130,131は、ともにベース本体110a,110bから上方に向かって突出した板状片であり、その突出方向端部が円弧状となっている。
固定片130,131は、搬送方向Aに離間しており、連結部材86を挟持可能となっている。すなわち、固定片130,131は、連結部材86を厚み方向に挟持することで連結部材86の並設方向への移動を規制可能となっている。
固定片130,131は、それぞれ厚み方向に貫通した締結孔を備えており、締結要素を締結孔及び第2固定部88を挿通させることによって、連結部材86の第2固定部88に固定可能となっている。すなわち、固定片130,131は、締結要素によって連結部材86に対して重なり方向の移動を規制可能となっている。
続いて、本実施形態のコンベヤユニット1の各部材の位置関係について説明する。なお、理解を容易にするために、主搬送路15に搬送物200を通過させる主搬送姿勢の状態について説明する。
ベース部13、副搬送コンベヤ部12、及び主搬送コンベヤ部11は、図3に示されるように、高さ方向に重なっており、平面視したときに共通の領域(一定の領域)に位置している。言い換えると、ベース部13、副搬送コンベヤ部12、及び主搬送コンベヤ部11は、互いに重畳した重畳領域が形成されている。
副搬送コンベヤ部12のコンベヤ50a〜50dは、図3に示されるように、主搬送コンベヤ部11の各ローラ18a〜18gのいずれかの間に位置している。すなわち、コンベヤ50a〜50dの上方は、各ローラ18a〜18gに遮られておらず、開放されている。言い換えると、副搬送コンベヤ部12のコンベヤ50a〜50dは、常時、主搬送コンベヤ部11のローラ18a〜18gのそれぞれの間に没入されている。
本実施形態のコンベヤ50aは、ローラ18bとローラ18cの間に配されている。同様に、コンベヤ50b〜50dは、それぞれローラ18cとローラ18dの間、ローラ18dとローラ18eの間、ローラ18eとローラ18fの間に配されている。すなわち、コンベヤ50a〜50dとローラ18b〜18fは、平面視したときに交互に配置されている。幅狭コンベヤの数は任意であるので、例えば幅狭コンベヤが6つある場合には、ローラ18aとローラ18bの間や、ローラ18fとローラ18gの間にも幅狭コンベヤが配置される。
昇降用モータ内蔵ローラ111は、図4に示されるように、コンベヤ群25の下方に配置されている。
コンベヤ群25の各コンベヤ50a〜50dは、揺動ユニット54の間に配置されており、両側の揺動ユニット54に対して揺動可能に取り付けられている。
コンベヤ群25は、連結フレーム52,53a,53bにコンベヤ50a〜50dが一体的に固定されている。
各板状部材55の切り欠き部62には、搬送用モータ内蔵ローラ51のローラ本体75が挿通されて配置されており、切り欠き部62内でローラ本体75が回転可能となっている。
板状部材55a,55dに設けられたコロ63,63は、図12(a)に示されるように、第1カム部材116,116のカム面上に載置されており、揺動ユニット54,54のコロ85,85は、第2カム部材117,117のカム面上に載置されている。そのため、昇降用モータ内蔵ローラ111を駆動させると、ローラ本体121と共に第1カム部材116,116が回転し、第1カム部材116,116の作用によって板状部材55a,55dが昇降する。また、ローラ本体121の回転により、従動ローラ112のローラ本体125が回転し、それに伴い第2カム部材117,117も回動する。
ここで、第1カム部材116,116は、第2カム部材117,117よりもカム面が大きいため、コンベヤ群25の第1カム部材116,116側の部位が第2カム部材117,117側の部位よりも大きく揺動し、高い位置となる。このとき、コロ63,63,85,85はそれぞれカム部材116,116,117,117上で回転しながら支持されることになる。
続いて、搬送物200を搬送する搬送動作について説明する。
本実施形態のコンベヤユニット1は、搬送物200を高層側コンベヤライン3から接続ラインを経由して低層側コンベヤライン2に載せ替える場合に効果を発揮するので、高層側コンベヤライン3をそのまま搬送させる場合の動作(以下、主搬送動作ともいう)と、搬送物200を高層側コンベヤライン3から低層側コンベヤライン2に載せ替える場合の動作(以下、副搬送動作ともいう)について説明する。なお、低層側コンベヤライン2から高層側コンベヤライン3に載せ替える動作については、動作が逆となるだけで同様であるため、説明を省略する。
本実施形態のコンベヤユニット1は、上記したように主搬送動作と副搬送動作の間で搬送動作の切り替えが可能となっている。
コンベヤライン3上をそのまま通過させる主搬送動作を実施する場合では、搬送物200は、コンベヤライン3上を搬送方向上流側から下流側に向かって流れ、搬送装置10に至る。
搬送物200が搬送装置10に至ると、搬送装置10は、図12(a)及び図13(a)に示されるように主搬送姿勢を取って主搬送路15の主搬送面20が副搬送路26の副搬送面70よりも上方に位置しており、搬送物200は原則的に副搬送路26の副搬送面70と接触不能となっているので、副搬送路26に遮られずに主搬送路15の主搬送面20を通過する。
コンベヤライン3から他のコンベヤライン2に載せ替える副搬送動作を実施する場合には、搬送装置10の姿勢を主搬送姿勢から副搬送姿勢に変更して行う。
具体的には、図10(a)に示されるように、コンベヤライン3の搬送装置10bに搬送物200を導入し、搬送物200を搬送装置10bの主搬送面20上に停止させる。すなわち、副搬送コンベヤ部12が主搬送コンベヤ部11の下方に没入した主搬送姿勢のまま、搬送物200を主搬送面20上に導入する。搬送物200が搬送装置10bの主搬送面20上に導入されたことを図示しないセンサーが検知すると、ローラ18a〜18gの回転を停止する。
続いて、昇降用モータ内蔵ローラ111を駆動し回転させると、図12から読み取れるように、ローラ本体121に取り付けられた第1カム部材116,116が回転して姿勢が変更され、従動ローラ112も昇降用モータ内蔵ローラ111の回転に伴って回転し、第2カム部材117,117の姿勢も変更される。
そうすると、大きさの異なるカム部材117,117,116,116によって副搬送コンベヤ部12のコンベヤ群25のコロ85,85,63,63が押し上げられるため、コンベヤ群25は大きく傾き、傾斜姿勢となり、全体として副搬送姿勢となる。すなわち、コンベヤ群25が傾斜して主搬送コンベヤ部11のローラ18a〜18gの間から上昇し、主搬送コンベヤ部11のローラ18a〜18gよりも上方に突出される。具体的にはコンベヤ群25は、図10(b)に示されるように、接続コンベヤライン5を基準として、内側(接続コンベヤライン5側)の部分が外側の部分に比べて上方となる姿勢で傾斜し、コンベヤ群25の副搬送面70で搬送物200がすくい上げられる。
その結果、接続コンベヤライン5を基準として、コンベヤ群25の副搬送面70の内側端部と、接続コンベヤライン5の搬送面8の高さが概ね一致し、コンベヤ群25の副搬送面70と接続コンベヤライン5の搬送面8との角度差が小さくなって、両者が略直線上に揃う。
また、搬送装置10bの副搬送面70及び接続コンベヤライン5の搬送面8をそれぞれ搬送方向Bに延長すると、搬送装置10bの副搬送面70及び接続コンベヤライン5の搬送面8は、互いに交差する関係となる。
図10(b)に示されるように搬送物200がコンベヤ群25の副搬送面70によってすくい上げられると、搬送用モータ内蔵ローラ51を回転させ、各ベルト58を走行させ、接続コンベヤライン5のローラについても回転を開始させる。
その結果、副搬送コンベヤ部12上の搬送物200は、接続コンベヤライン5側に移動し、接続コンベヤライン5に乗り移る。すなわち、搬送物200は、図10(c)に示されるように、副搬送コンベヤ部12の副搬送面70から円滑に接続コンベヤライン5の搬送面8上に移動する。そして接続コンベヤライン5によって斜め下方のコンベヤライン2に向かって搬送される。
図11(a)に示されるように、コンベヤライン2の近くまで搬送物200が搬送されると、受入れ側のコンベヤライン2についても、昇降用モータ内蔵ローラ111を回転させて、副搬送コンベヤ部12のコンベヤ群25を主搬送コンベヤ部11のローラ18a〜18gの間から上方に突出させる。このとき、図11(b)に示されるように、コンベヤライン2も接続コンベヤライン5側が上となる姿勢で副搬送路26(副搬送面70)が傾斜する。すなわち、搬送時のコンベヤライン2の副搬送姿勢での傾斜方向は、コンベヤライン3の副搬送姿勢での傾斜方向と逆となっている。
この傾斜状態の搬送装置10aの副搬送面70は、搬送方向Bに延長すると、接続コンベヤライン5の搬送面8と揃っている。すなわち、搬送装置10aの副搬送面70と接続コンベヤライン5の搬送面8は同一平面上に並んでいる。
そして、副搬送路26が傾斜した状態で、搬送用モータ内蔵ローラ51を回転させ、ベルト58を走行させる。
その結果、接続コンベヤライン5によって搬送されてきた搬送物200は、円滑に搬送装置10aの副搬送面70に引き取られ、搬送装置10aに乗り移る。
搬送物200が搬送装置10aに乗り移ったことを図示しないセンサーが確認すると、昇降用モータ内蔵ローラ111を逆方向に回転させ、図11(c)に示されるように、コンベヤ群25の接続コンベヤライン5側の端部を降下して副搬送コンベヤ部12の姿勢を水平となる主搬送姿勢に戻す。すなわち、副搬送コンベヤ部12のコンベヤ群25は、いずれも主搬送コンベヤ部11のローラ18a〜18g同士の間に沈み、副搬送コンベヤ部12の副搬送面70は、主搬送コンベヤ部11の主搬送面20よりも低い位置となる。
副搬送コンベヤ部12の副搬送面70が主搬送コンベヤ部11の主搬送面20よりも低くなると、主搬送コンベヤ部11のローラ18a〜18gが搬送物200を引き取り、搬送物200は、主搬送コンベヤ部11の主搬送面20上に載置されることとなる。
そして主搬送コンベヤ部11のローラ18a〜18gを回転し、搬送物200を主搬送路15に沿ってコンベヤライン2の下流に搬送する。
以上がコンベヤライン3からコンベヤライン2に載せ替える際の副搬送動作の説明である。
本実施形態のコンベヤユニット1によれば、搬送装置10の副搬送路26が主搬送路15に対して相対的に上昇し、副搬送路26によって接続コンベヤライン5に流れる流路が形成される。そのため、高低差のある低層側コンベヤライン2から高層側コンベヤライン3に搬送物200を移載したり、高層側コンベヤライン3から低層側コンベヤライン2に搬送物200を移載したりすることもできる。
本実施形態のコンベヤユニット1によれば、搬送装置10が主搬送路15の主搬送面20が副搬送路26の副搬送面70よりも上方に位置する主搬送姿勢と、副搬送路26の副搬送面70の両端部が主搬送路15の主搬送面20よりも上方に位置する副搬送姿勢との間で姿勢変更可能であり、搬送物200を傾斜状態と水平状態に変更可能である。そのため、例えば、ピッキングステーション等で使用することによって、ピッキング作業を効率良く実施することができる。
本実施形態のコンベヤユニット1によれば、搬送装置10は副搬送姿勢を取ることで、副搬送面70の搬送方向Bの両端部がカム部材116,116,117,117の回転によってともに上昇し、副搬送面70の全体が主搬送面20よりも高い位置まで上昇可能であるため、搬送物200への衝撃を抑制でき、滑らかな下り搬送が可能である。
本実施形態のコンベヤユニット1によれば、主搬送面20と搬送物200の引っ掛かりを防止できるため、一種類の搬送装置10で搬送物200を高層側コンベヤライン3と低層側コンベヤライン2の間を交互に搬送することが可能である。
本実施形態のコンベヤユニット1によれば、昇降用モータ内蔵ローラ111のモータによってカム部材116,116,117,117を回転させることによって副搬送路26を傾斜させるので、昇降用モータ内蔵ローラ111のモータによって副搬送路26の傾斜角度や傾斜速度を調整できる。そのため、昇降用モータ内蔵ローラ111の出力を調整することによって、接続コンベヤライン5の搬送面8との相対角度を小さくなるように副搬送面70の傾斜角度を調整したり、ゆっくりと搬送物200を傾斜させたりできる。
上記した実施形態では、主搬送コンベヤ部11をローラコンベヤで構成し、副搬送コンベヤ部12を幅の狭いベルトコンベヤとしたが、両者は逆であってもよい。即ち、ローラコンベヤを副搬送コンベヤ部12とし、ベルトコンベヤを主搬送コンベヤ部11としてもよい。
上記した実施形態では、副搬送コンベヤ部12の副搬送面70が主搬送コンベヤ部11の主搬送面20に対して昇降し、傾斜状態となったが、本発明はこれに限定されるものではない。主搬送コンベヤ部11の主搬送面20が副搬送コンベヤ部12の副搬送面70に対して昇降して傾斜してもよい。
上記した実施形態では、副搬送コンベヤ部12の搬送方向Bは、主搬送コンベヤ部11の搬送方向Aと直交する関係であったが、本発明はこれに限定されるものではない。副搬送コンベヤ部12の搬送方向Bは、主搬送コンベヤ部11の搬送方向Aと同一方向以外の方向、すなわち、交差方向であればよい。
上記した実施形態では、ベース部13の一方のローラ111がモータ内蔵ローラであり、他方のローラ112が従動ローラであり、一つの動力源によって昇降させていたが、本発明はこれに限定されるものではない。複数の動力源によって昇降させてもよい。例えば、ローラ111,112がともにモータ内蔵ローラであり、各々が独立して回転することによって昇降を行ってもよい。
上記した実施形態では、昇降手段としてカムを採用したが、クランクやネジ等の機構を応用してもよい。またソレノイドを利用してもよい。
上記した実施形態では、搬送装置10を主搬送面20が水平状態となるように設置したが、本発明はこれに限定されるものではない。例えば、搬送装置10を主搬送面20が水平面に対して傾斜状態となるように設置してもよい。
上記した説明では、高層側コンベヤライン3から低層側コンベヤライン2に向かって搬送物200を下らせる場合について説明したが、本発明はこれに限定されるものではない。低層側コンベヤライン2から高層側コンベヤライン3に上らせてもよい。
上記した説明では、低層側コンベヤライン2、接続コンベヤライン5、及び高層側コンベヤライン3の3つのコンベヤラインの関係について説明したが、本発明はこれに限定されるものではない。低層側コンベヤライン2と接続コンベヤライン5の関係、又は接続コンベヤライン5と高層側コンベヤライン3の関係だけでも搬送装置10は機能を発揮させることができる。
上記した実施形態では、高層側コンベヤライン3側から接続コンベヤライン5側に搬送物200を搬送する際の高層側コンベヤライン3に設けられた搬送装置10bの副搬送姿勢は、接続コンベヤライン5側に向かって上り傾斜となる姿勢であったが、本発明はこれに限定されるものではない。例えば、図14のように、高層側コンベヤライン3側から接続コンベヤライン5側に搬送物200を搬送する際の高層側コンベヤライン3に設けられた搬送装置10bの副搬送姿勢を接続コンベヤライン5側に向かって下り傾斜となる姿勢としてもよい。
この場合、搬送装置10bは、副搬送姿勢における副搬送面70の下側端部が接続コンベヤライン5の搬送面8の上側端部と揃うように設けることが好ましい。
副搬送面70の下側端部と搬送面8の上側端部を揃える方策としては、例えば、図14のように、第1実施形態の高層側コンベヤライン3に比べて、高層側コンベヤライン3全体を高い位置に設置し、接続コンベヤライン5の搬送面8に対する副搬送面70の相対位置を高くしたり、接続コンベヤライン5の傾斜角度を小さくし、接続コンベヤライン5の搬送面8の上側端部の副搬送面70に対する相対位置を低くしたりすることが挙げられる。
上記した実施形態では、駆動源としてモータ内蔵ローラを使用したが、本発明はこれに限定されるものではない。
例えば、駆動源として、単なるモータと減速機の組み合わせ、モータと動力伝達機構(ギヤ、チェーン、ベルトなど)との組み合わせ、ギヤードモータ等であってもよい。さらに油圧や空圧など流体を駆動源とするものであってもよい。
1 コンベヤユニット
2 低層側コンベヤライン
3 高層側コンベヤライン
5 接続コンベヤライン
10,10a,10b 搬送装置
11 主搬送コンベヤ部
12 副搬送コンベヤ部
13 ベース部(昇降手段)
15 主搬送路
20 主搬送面(主搬送路の搬送面)
26 副搬送路
51 搬送用モータ内蔵ローラ
70 副搬送面(副搬送路の搬送面)
86 連結部材
110a,110b ベース本体
111 昇降用モータ内蔵ローラ(駆動源,角度調整手段)
112 従動ローラ
116a,116b 第1カム部材
117a,117b 第2カム部材

Claims (9)

  1. 主搬送コンベヤ部と、副搬送コンベヤ部と、前記主搬送コンベヤ部と前記副搬送コンベヤ部のうち、少なくとも一方のコンベヤ部を昇降させる昇降手段とを有し、
    前記主搬送コンベヤ部は、一定の領域にあって搬送物を搬送する主搬送路を有し、
    前記副搬送コンベヤ部は、前記一定の領域に配置され、前記主搬送路の搬送方向に対する交差方向に搬送物を搬送する副搬送路を備え、
    前記副搬送路の搬送面が前記主搬送路の搬送面よりも下方に位置する主搬送姿勢と、前記副搬送路の搬送面の前記交差方向の両端部が前記主搬送路の搬送面よりも上方に位置する副搬送姿勢と、に変更可能であり、
    前記副搬送姿勢において、前記副搬送路の搬送面が高さ方向に傾斜するものであり、
    前記副搬送路で前記搬送物を搬送する場合には、前記副搬送姿勢にして、前記搬送物を前記主搬送路の搬送方向に対する交差方向に搬送することを特徴とする搬送装置。
  2. 前記昇降手段は、少なくとも2種類のカム部材を備えており、
    前記2種類のカム部材は、第1カム部材と、前記第1カム部材よりもカム面が大きい第2カム部材であり、
    前記2種類のカム部材が回転することで、前記副搬送コンベヤ部が押し上げられて、前記副搬送コンベヤ部の前記第1カム部材側の部位が前記第2カム部材側の部位よりも高い位置となり、前記主搬送姿勢から前記副搬送姿勢に変更されることを特徴とする請求項1に記載の搬送装置。
  3. 前記昇降手段は、前記2種類のカム部材を直接又は他の部材を介して連結する連結部材を有し、
    前記連結部材によって前記2種類のカム部材が同期して回転し、前記主搬送姿勢から前記副搬送姿勢に変更されることを特徴とする請求項2に記載の搬送装置。
  4. 前記昇降手段は、前記一方のコンベヤ部を昇降させる駆動源を備えており、
    前記駆動源を駆動することによって前記主搬送姿勢から前記副搬送姿勢に変更されることを特徴とする請求項1乃至3のいずれかに記載の搬送装置。
  5. 前記駆動源は、内部にモータと減速機を備えたモータ内蔵ローラであることを特徴とする請求項4に記載の搬送装置。
  6. 前記副搬送姿勢における前記副搬送路の傾斜角度を調整する角度調整手段を備えていることを特徴とする請求項1乃至5のいずれかに記載の搬送装置。
  7. 前記昇降手段は、床面又は固定構造物に対して直接的又は間接的に固定されるベース部を備え、
    前記ベース部は、前記副搬送コンベヤ部の一部と連結され、前記副搬送路の前記主搬送路の搬送方向への移動を規制していることを特徴とする請求項1乃至6のいずれかに記載の搬送装置。
  8. 高低差のある少なくとも2つのコンベヤラインと、前記2つのコンベヤラインを接続する接続ラインを有し、
    前記2つのコンベヤラインのうち、少なくとも一方のコンベヤラインは、接続ラインとの接続部分に請求項1乃至7のいずれかに記載の搬送装置を備えており、
    前記搬送装置は、前記副搬送姿勢において、前記副搬送路の搬送面が前記接続ラインの搬送面と同一平面上に並ぶことを特徴とするコンベヤユニット。
  9. コンベヤラインと、高さ方向に傾斜した傾斜ラインを有し、
    前記傾斜ラインの一方の端部が前記コンベヤラインの中間部に接続されており、
    前記コンベヤラインは、前記傾斜ラインとの接続部分に請求項1乃至7のいずれかに記載の搬送装置を備えており、
    前記搬送装置は、前記副搬送姿勢において、前記副搬送路の搬送面が前記傾斜ラインの搬送面と同一平面上に並ぶことを特徴とするコンベヤユニット。
JP2017023416A 2017-02-10 2017-02-10 搬送装置及びコンベヤユニット Active JP6861432B2 (ja)

Priority Applications (6)

Application Number Priority Date Filing Date Title
JP2017023416A JP6861432B2 (ja) 2017-02-10 2017-02-10 搬送装置及びコンベヤユニット
GB1716579.6A GB2559647B (en) 2017-02-10 2017-10-10 Conveying device and conveyor unit
FR1759503A FR3062848B1 (fr) 2017-02-10 2017-10-11 Dispositif convoyeurs et module convoyeurs
US15/729,892 US10464756B2 (en) 2017-02-10 2017-10-11 Conveying device and conveyor unit
CN201711043887.2A CN108408380B (zh) 2017-02-10 2017-10-31 输送装置和传送组件
DE102017126557.0A DE102017126557A1 (de) 2017-02-10 2017-11-13 Fördereinrichtung und fördervorrichtung

Applications Claiming Priority (1)

Application Number Priority Date Filing Date Title
JP2017023416A JP6861432B2 (ja) 2017-02-10 2017-02-10 搬送装置及びコンベヤユニット

Publications (2)

Publication Number Publication Date
JP2018127353A JP2018127353A (ja) 2018-08-16
JP6861432B2 true JP6861432B2 (ja) 2021-04-21

Family

ID=60326682

Family Applications (1)

Application Number Title Priority Date Filing Date
JP2017023416A Active JP6861432B2 (ja) 2017-02-10 2017-02-10 搬送装置及びコンベヤユニット

Country Status (6)

Country Link
US (1) US10464756B2 (ja)
JP (1) JP6861432B2 (ja)
CN (1) CN108408380B (ja)
DE (1) DE102017126557A1 (ja)
FR (1) FR3062848B1 (ja)
GB (1) GB2559647B (ja)

Families Citing this family (17)

* Cited by examiner, † Cited by third party
Publication number Priority date Publication date Assignee Title
WO2020124027A1 (en) * 2018-12-13 2020-06-18 Cornerstone Automation Systems, Llc Level right angle transfer module
CN109572517A (zh) * 2018-12-28 2019-04-05 四川大学 行李运输车
CN109720875B (zh) * 2018-12-29 2020-11-17 重庆市合川区金星玻璃制品有限公司 玻璃生产线
US10882703B2 (en) * 2019-06-06 2021-01-05 Intelligrated Headquarters, Llc Methods, systems, and apparatuses, for operating a material handling system
CN110510383A (zh) * 2019-08-15 2019-11-29 苏州英迈吉智能科技有限公司 一种物流输送转向系统
US11407595B2 (en) * 2019-12-10 2022-08-09 Intelligrated Headquarters, Llc Methods and apparatuses for performing article singulation
CN111422559A (zh) * 2020-04-01 2020-07-17 夏喜明 一种煤矿工程用的短距离输送设备
CN111717457B (zh) * 2020-06-05 2022-02-11 江苏英普科科技股份有限公司 一种口罩传送生产用运输装置
CN111948595B (zh) * 2020-08-18 2022-05-06 国网河南省电力公司漯河供电公司 电能表维护装置、电能表输送设备、电能表维护系统
CN112607354A (zh) * 2020-12-18 2021-04-06 苏州福莱锐智能制造科技有限公司 物流回转生产线
CN112744565A (zh) * 2021-01-13 2021-05-04 江西兴创木业有限责任公司 一种木材输送机
US12214974B2 (en) 2022-01-26 2025-02-04 Dematic Corp. Right angle transfer device
CN116495407A (zh) * 2022-01-27 2023-07-28 博斯特(上海)有限公司 转换机的传送机构和转换机
EP4353637A1 (en) * 2022-10-12 2024-04-17 Intelligrated Headquarters LLC Conveyor with right-angled transfer
US20250256925A1 (en) * 2024-02-09 2025-08-14 Intelligrated Headquarters, Llc Diverting mechanism for a conveyor
CN119840996B (zh) * 2025-01-15 2025-08-26 广东天成事科技有限公司 一种护理液泵头重心稳定式提升定位输送装置
CN120773348B (zh) * 2025-09-03 2025-12-09 海宁振阳纺织复合材料有限公司 一种格栅输送设备

Family Cites Families (17)

* Cited by examiner, † Cited by third party
Publication number Priority date Publication date Assignee Title
US2368414A (en) * 1944-02-26 1945-01-30 Standard Conveyor Co Inclined elevator
JPH08258962A (ja) * 1995-03-29 1996-10-08 Ibaraki Jutaku Kogyo Kk 搬送装置
EP1046599B1 (de) * 1999-03-24 2004-05-06 Hunkeler AG Papierverarbeitungsmaschinen Vorrichtung zum Fördern flächiger Gegenstände
DE102004032066A1 (de) * 2004-07-01 2006-01-26 Knapp Logistik Automation Ges.M.B.H. Fördereinrichtung zum Fördern von vorzugsweise schwerem Fördergut auf Paletten oder dergleichen längs einer im wesentlichen horizontalen Förderstrecke
US7287636B2 (en) * 2004-07-30 2007-10-30 Itoh Denki Co., Ltd. Driving device and diverter, diverting unit, and conveying apparatus incorporating the driving device
DE102007049780A1 (de) * 2007-10-17 2009-04-23 Siemens Ag Verfahren und Vorrichtung zum kontrollierten Übergeben von Stückgütern
US7584834B2 (en) * 2007-12-24 2009-09-08 Wood Gladys L Portable articulating conveyor device and method of operating a portable articulating conveyor
DE102009003475A1 (de) * 2009-02-12 2010-08-19 Krones Ag Förderer und Verfahren zum Beschicken einer Weiterverarbeitungseinheit
US8684169B2 (en) * 2010-08-31 2014-04-01 Itoh Denki Co., Ltd. Transfer device
JP5725768B2 (ja) * 2010-08-31 2015-05-27 伊東電機株式会社 移載装置
US8622199B2 (en) * 2010-12-23 2014-01-07 Rite-Hite Holding Corporation Adjustable conveyor extensions
EP2508355B1 (de) * 2011-04-07 2015-09-09 Müller Martini Holding AG Verfahren zum Entnehmen und/oder Zuführen zumindest eines Buchblocks aus einer bzw. in eine Förderstrecke einer Buchfertigungsstrasse, und Buchfertigungsstrasse
US9038810B2 (en) * 2013-03-12 2015-05-26 Fives Intralogistics Corp. Singulator conveyor
US9670002B2 (en) * 2013-10-28 2017-06-06 Murata Machinery, Ltd. Conveyor device
JP2015163549A (ja) * 2014-01-28 2015-09-10 伊東電機株式会社 移載装置
US9878857B2 (en) * 2014-02-28 2018-01-30 Itoh Denki Co., Ltd. Transportation device and conveyor device
JP6706745B2 (ja) * 2015-02-06 2020-06-10 伊東電機株式会社 移載装置

Also Published As

Publication number Publication date
GB2559647A (en) 2018-08-15
FR3062848B1 (fr) 2021-09-03
DE102017126557A1 (de) 2018-08-16
US20180229937A1 (en) 2018-08-16
FR3062848A1 (fr) 2018-08-17
GB2559647B (en) 2019-02-06
JP2018127353A (ja) 2018-08-16
US10464756B2 (en) 2019-11-05
CN108408380B (zh) 2021-10-29
CN108408380A (zh) 2018-08-17
GB201716579D0 (en) 2017-11-22

Similar Documents

Publication Publication Date Title
JP6861432B2 (ja) 搬送装置及びコンベヤユニット
JP6802447B2 (ja) 搬送装置及びコンベア装置
JP5140601B2 (ja) コンベヤ切換器
JP6706745B2 (ja) 移載装置
KR101335779B1 (ko) 벨트 컨베이어 분류기
KR101930107B1 (ko) 가로 구동식 롤러 벨트 및 컨베이어
US6571937B1 (en) Switch conveyor
JP5632743B2 (ja) 集積及び解放コンベヤ
CN101678958B (zh) 分层式单排机
AU2007302032B2 (en) Conveyor
US8100254B2 (en) Conveyor for conveying and buffering articles
JP2014152026A (ja) 被搬送物の方向転換装置
JP2017536311A (ja) ローラアセンブリを備えたコンベヤシステム
JP7004286B2 (ja) 移載装置
JP5224577B2 (ja) 移載装置
JPH08277026A (ja) 物品搬送用チェーン
WO2023276993A1 (ja) 移載装置
JP6964959B2 (ja) 移載装置
JPS6351207A (ja) ロ−ラコンベヤ
JP2018090339A (ja) 移載装置、ベルト式搬送手段、ベルト懸架構造及びベルト係合部材
JPH08208030A (ja) 転換装置
JPS63101207A (ja) ベルトコンベヤ
JP2000025945A (ja) 搬送物の仕分け装置
JPS60209418A (ja) 垂直ベルトコンベヤ−の搬送方向転換機構

Legal Events

Date Code Title Description
A621 Written request for application examination

Free format text: JAPANESE INTERMEDIATE CODE: A621

Effective date: 20200122

A977 Report on retrieval

Free format text: JAPANESE INTERMEDIATE CODE: A971007

Effective date: 20201126

A131 Notification of reasons for refusal

Free format text: JAPANESE INTERMEDIATE CODE: A131

Effective date: 20201203

A521 Request for written amendment filed

Free format text: JAPANESE INTERMEDIATE CODE: A523

Effective date: 20210121

TRDD Decision of grant or rejection written
A01 Written decision to grant a patent or to grant a registration (utility model)

Free format text: JAPANESE INTERMEDIATE CODE: A01

Effective date: 20210318

A61 First payment of annual fees (during grant procedure)

Free format text: JAPANESE INTERMEDIATE CODE: A61

Effective date: 20210323

R150 Certificate of patent or registration of utility model

Ref document number: 6861432

Country of ref document: JP

Free format text: JAPANESE INTERMEDIATE CODE: R150

R250 Receipt of annual fees

Free format text: JAPANESE INTERMEDIATE CODE: R250

R250 Receipt of annual fees

Free format text: JAPANESE INTERMEDIATE CODE: R250