JP6556830B2 - X線装置用の機器搭載台及びそれを備えるx線装置 - Google Patents

X線装置用の機器搭載台及びそれを備えるx線装置

Info

Publication number
JP6556830B2
JP6556830B2 JP2017507729A JP2017507729A JP6556830B2 JP 6556830 B2 JP6556830 B2 JP 6556830B2 JP 2017507729 A JP2017507729 A JP 2017507729A JP 2017507729 A JP2017507729 A JP 2017507729A JP 6556830 B2 JP6556830 B2 JP 6556830B2
Authority
JP
Japan
Prior art keywords
shielding element
opening
main
peripheral
ray
Prior art date
Legal status (The legal status is an assumption and is not a legal conclusion. Google has not performed a legal analysis and makes no representation as to the accuracy of the status listed.)
Active
Application number
JP2017507729A
Other languages
English (en)
Other versions
JP2017527353A (ja
Inventor
ベン・プライス
マイケル・ビーチェイ
ジェームズ・スミス
Current Assignee (The listed assignees may be inaccurate. Google has not performed a legal analysis and makes no representation or warranty as to the accuracy of the list.)
Nikon Metrology NV
Original Assignee
Nikon Metrology NV
Priority date (The priority date is an assumption and is not a legal conclusion. Google has not performed a legal analysis and makes no representation as to the accuracy of the date listed.)
Filing date
Publication date
Application filed by Nikon Metrology NV filed Critical Nikon Metrology NV
Publication of JP2017527353A publication Critical patent/JP2017527353A/ja
Application granted granted Critical
Publication of JP6556830B2 publication Critical patent/JP6556830B2/ja
Active legal-status Critical Current
Anticipated expiration legal-status Critical

Links

Images

Classifications

    • GPHYSICS
    • G01MEASURING; TESTING
    • G01NINVESTIGATING OR ANALYSING MATERIALS BY DETERMINING THEIR CHEMICAL OR PHYSICAL PROPERTIES
    • G01N23/00Investigating or analysing materials by the use of wave or particle radiation, e.g. X-rays or neutrons, not covered by groups G01N3/00 – G01N17/00, G01N21/00 or G01N22/00
    • G01N23/02Investigating or analysing materials by the use of wave or particle radiation, e.g. X-rays or neutrons, not covered by groups G01N3/00 – G01N17/00, G01N21/00 or G01N22/00 by transmitting the radiation through the material
    • GPHYSICS
    • G01MEASURING; TESTING
    • G01NINVESTIGATING OR ANALYSING MATERIALS BY DETERMINING THEIR CHEMICAL OR PHYSICAL PROPERTIES
    • G01N23/00Investigating or analysing materials by the use of wave or particle radiation, e.g. X-rays or neutrons, not covered by groups G01N3/00 – G01N17/00, G01N21/00 or G01N22/00
    • G01N23/20Investigating or analysing materials by the use of wave or particle radiation, e.g. X-rays or neutrons, not covered by groups G01N3/00 – G01N17/00, G01N21/00 or G01N22/00 by using diffraction of the radiation by the materials, e.g. for investigating crystal structure; by using scattering of the radiation by the materials, e.g. for investigating non-crystalline materials; by using reflection of the radiation by the materials
    • G01N23/20008Constructional details of analysers, e.g. characterised by X-ray source, detector or optical system; Accessories therefor; Preparing specimens therefor
    • G01N23/20025Sample holders or supports therefor
    • GPHYSICS
    • G01MEASURING; TESTING
    • G01NINVESTIGATING OR ANALYSING MATERIALS BY DETERMINING THEIR CHEMICAL OR PHYSICAL PROPERTIES
    • G01N23/00Investigating or analysing materials by the use of wave or particle radiation, e.g. X-rays or neutrons, not covered by groups G01N3/00 – G01N17/00, G01N21/00 or G01N22/00
    • G01N23/22Investigating or analysing materials by the use of wave or particle radiation, e.g. X-rays or neutrons, not covered by groups G01N3/00 – G01N17/00, G01N21/00 or G01N22/00 by measuring secondary emission from the material
    • G01N23/2204Specimen supports therefor; Sample conveying means therefore
    • GPHYSICS
    • G01MEASURING; TESTING
    • G01NINVESTIGATING OR ANALYSING MATERIALS BY DETERMINING THEIR CHEMICAL OR PHYSICAL PROPERTIES
    • G01N2223/00Investigating materials by wave or particle radiation
    • G01N2223/30Accessories, mechanical or electrical features
    • G01N2223/308Accessories, mechanical or electrical features support of radiation source
    • GPHYSICS
    • G01MEASURING; TESTING
    • G01NINVESTIGATING OR ANALYSING MATERIALS BY DETERMINING THEIR CHEMICAL OR PHYSICAL PROPERTIES
    • G01N2223/00Investigating materials by wave or particle radiation
    • G01N2223/30Accessories, mechanical or electrical features
    • G01N2223/309Accessories, mechanical or electrical features support of sample holder
    • GPHYSICS
    • G01MEASURING; TESTING
    • G01NINVESTIGATING OR ANALYSING MATERIALS BY DETERMINING THEIR CHEMICAL OR PHYSICAL PROPERTIES
    • G01N2223/00Investigating materials by wave or particle radiation
    • G01N2223/40Imaging
    • G01N2223/419Imaging computed tomograph

Landscapes

  • Chemical & Material Sciences (AREA)
  • General Health & Medical Sciences (AREA)
  • Immunology (AREA)
  • Health & Medical Sciences (AREA)
  • Analytical Chemistry (AREA)
  • Biochemistry (AREA)
  • Physics & Mathematics (AREA)
  • General Physics & Mathematics (AREA)
  • Life Sciences & Earth Sciences (AREA)
  • Pathology (AREA)
  • Crystallography & Structural Chemistry (AREA)
  • Analysing Materials By The Use Of Radiation (AREA)
  • Apparatus For Radiation Diagnosis (AREA)
  • Vibration Prevention Devices (AREA)
  • Bearings For Parts Moving Linearly (AREA)

Description

本開示は、X線装置に関し、さらに、そのようなX線装置に使用するための機器搭載台、支持構造、操作機構台に関する。
X線撮像システム、特に、産業または科学用途に使用されるX線撮像システムは、通常、封入構成を使用し、その場合、X線源およびX線検知器が、調査を受ける供試品を導入し取り外すための、一般に窓と呼ばれる適切な開口を有するX線遮蔽封入筐体内に配置される。そのような構成は、作業者が、機械を具合よく操作し、比較的安全に撮像システムおよび供試品の位置に必要な調節を施すことを可能にする。
近年では、より高パワーのX線システムが、ますます重く嵩張る供試品の撮像を可能にしてきている。特に、調査を受ける供試品によって定義される軸周りの様々な角度で撮られた一連のX線映像から対象物の体積密度マップを再構成することができるCT撮像が、たとえば欠陥の存在を判定し解析するために、エンジンブロックのように大きい構造の撮像に対して提案されてきている。
しかし、その種用途に関しては、調査を受ける供試品の大きさおよび重量の増加が、より大きい供試品を受け入れるだけではなく、望ましくない変形や損傷を防止するために、供試品の重量を支える様々な構成要素の寸法の増加を可能にするためにも、封入筐体を大幅に大きくする必要を生じさせる。
そのような重くまたは嵩張る負荷に対処するために装置を大型化すると、その種の装置の占有面積を増加させ、費用も増加させる。
したがって、コンパクトなフォームファクタで、比較的大きい供試品を受け入れることができるX線装置に対する必要性がある。
本発明の第1の態様によれば、X線装置用の機器搭載台であって、主遮蔽要素であり、該主遮蔽要素の一方の側から該主遮蔽要素の他方の側へ該主遮蔽要素を貫通する少なくとも1つの開口を有する、主遮蔽要素と、主遮蔽要素の開口を通って延在するように配置された搭載要素であり、開口の一方の側に機器支持面を有し、開口の他方の側に基底面を有する、搭載要素と、搭載要素の少なくとも一部分を少なくとも部分的に取り巻くように、主遮蔽要素の、開口を取り巻く領域から延在する周縁遮蔽要素と、搭載要素の基底面および機器支持面の1つに配置され、周縁遮蔽要素の少なくとも一部分の外周を少なくとも部分的に取り巻くように、主遮蔽要素の方へ延出する2次遮蔽要素とを備える機器搭載台が提供される。
一構成では、開口が、該開口に垂直な軸を定義し、その軸に関して、少なくとも1つの方向から、45度を超える角度で入射するX線放射が、板遮蔽要素、2次遮蔽要素、および周縁遮蔽要素の少なくとも1つに入射するように、主遮蔽要素、周縁遮蔽要素、および2次遮蔽要素が、共に構成、配置され、上記角度が、好ましくは30度、より好ましくは15度、最も好ましくは5度であり、好ましくは少なくとも1つの方向の45度以内、より好ましくは少なくとも1つの方向の180度以内、最も好ましくは少なくとも1つの方向の360度以内のすべての方向からである。
一構成では、主遮蔽要素は板である。
一構成では、周縁遮蔽要素が、実質的に扇形中空円筒または扇形中空円錐、好ましくは、実質的に完全な中空円筒または完全な円錐である。
一構成では、2次遮蔽要素が、2次遮蔽板と、2次遮蔽板から主遮蔽要素の方へ延出する周縁2次遮蔽壁とを備える。
一構成では、周縁2次遮蔽壁が、実質的に扇形中空円筒または扇形中空円錐、好ましくは、実質的に完全な中空円筒または完全な円錐である。
一構成では、搭載要素が、機器支持面と基底面との間に延在するロッド部分を備える。
一構成では、主遮蔽要素、周縁遮蔽要素、および2次遮蔽要素が、開口の一方の側または開口の他方の側のうちの一方に設けられ、さらに別の主遮蔽要素、さらに別の周縁遮蔽要素、およびさらに別の2次遮蔽要素が、開口の一方の側または開口の他方の側のうちの他方に設けられる。
一構成では、さらに別の主遮蔽要素、さらに別の周縁遮蔽要素、およびさらに別の2次遮蔽要素が、それぞれ、主遮蔽要素、周縁遮蔽要素、2次遮蔽要素と同様に構成される。
一構成では、2次遮蔽要素が開口を有し、搭載要素が、2次遮蔽要素の開口を通って延在する。
一構成では、2次遮蔽要素が開口を有し、搭載要素の機器支持面が、2次遮蔽要素の開口の主遮蔽要素側に配置される。
本発明の第2の態様によれば、X線装置用の支持装置であって、封入筐体が、基底部分と、X線装置の構成要素を支持するための支持部分と、基底部分に設けられた第1の支承要素および支持部分に設けられた第2の支承要素を有する支承機構であり、第1の支承要素が第2の支承要素に接触した状態で、支持部分を基底部分に対して第1の位置から第2の位置へ移動させることを可能にする、支承機構と、基底部分に設けられた昇降装置であり、支持部分を第2の位置から第3の位置へ移動させ、それによって第1の支承要素と第2の支承要素とを相対的に分離するように配置された、昇降装置とを備える、支持装置が提供される。
一構成では、支承機構が、摺動支承機構であり、第1の支承要素および第2の支承要素が、平行かつ相互に近接して配置された平坦な支承面である。
一構成では、支承機構がローラ支承機構であって、第1の支承要素が、ローラと、ローラが転動するために対向して配置されている支承面とのうちの一方であり、第2の支承要素が、ローラと支承面とのうちの他方である。
一構成では、振動低減要素が、供試品支持部分が第3の位置にあるとき供試品支持部分と基底部分との間の振動の伝達を阻止するために設けられる。
一構成では、振動低減要素が、昇降装置と支持部分との間に設けられる。
一構成では、振動低減要素が、昇降装置と基底部分との間に設けられる。
一実施形態では、振動低減要素が、昇降装置として設けられる。
一構成では、振動低減要素が空気ピストンを備える。
一構成では、供試品支持部分が第2の位置にないとき、第1の支承要素と第2の支承要素との分離を防止するために、安全装置が、第1の支承要素に設けられる。
一構成では、第1の位置が、第2の位置より封入筐体のアクセス開口に相対的に近い位置であり、第3の位置が、X線照射のための位置である。
本発明の第3の態様によれば、X線装置用の操作機構台であって、X線照射を受ける供試品を保持する供試品台と、第1の支持構造であり、該第1の支持構造上の第1の位置で供試品を支持するように配置されている、第1の支持構造と、第1の位置から水平方向に変位した、供試品支持構造上の第2の位置で、第1の支持構造を支持するように配置された第2の支持構造であり、第1の支持構造を、第2の支持構造によって支持したままで垂直方向に移動させることができるように構成されている、第2の支持構造と、第1の位置から水平方向に変位した、供試品支持構造上の第3の位置で、第1の支持構造を支持するように配置された第3の支持構造であり、第1の位置が、水平方向で第2の位置と第3の位置との間に来るようになっている、第3の支持構造とを備え、第3の支持構造が、第1の支持構造を垂直方向に移動させるための駆動機構を備える、操作機構台が提供される。
一構成では、操作機構台が、第2の支持構造および第3の支持構造が設けられている基準部材であって、第1の支持構造が駆動機構によって該基準部材に対して移動させられ得る、基準部材をさらに備える。
一構成では、供試品台が、供試品の位置を第1の支持構造に対して調節するための回転台を備える。
一構成では、駆動機構が、移動要素および回転要素を備えるねじ駆動機構であり、第1の支持構造が、ねじ駆動機構の移動要素に連結されている。
一構成では、駆動機構がベルト駆動機構であり、第1の支持構造が、ベルト駆動機構のベルトに連結されている。
一構成では、第2の位置および第3の位置が、第1の支持構造の各端部それぞれにある。
一構成では、第1の位置が、第2の位置と第3の位置との中央に位置する。
一構成では、第2の支持構造が、第1の支持構造の第3の位置を支持するように配置された従動体を保持するように構成された軌道を備える。
一構成では、軌道が直線溝を備え、従動体が、溝内に保持される摺動子を備え、あるいは、軌道がバーを備え、従動体が、バーの周りに保持される搬送機構を備える。
一構成では、第1の支持構造が水平な梁である。
本発明の第4の態様によれば、X線源、操作機構台、およびX線検出器を有するX線装置であって、操作機構台を支持するように配置された、第1の態様による機器搭載台を備える、X線装置が提供される。
本発明の第4の態様によれば、X線源、操作機構台、およびX線検出器を有するX線装置であって、X線源、操作機構台、およびX線検出器のうちの1つを支持するように配置された、第2の態様による支持装置を有するX線装置が提供される。
本発明の第5の態様によれば、X線源、操作機構台、およびX線検出器を有するX線装置であって、操作機構台が、第3の態様による操作機構台である、X線装置が提供される。
本発明のより良い理解のために、また、本発明をどのように実施するかを示すために、単なる例として、添付図面を参照する。
本発明の実施形態によるX線装置の断面図である。 搭載要素およびそれに伴う遮蔽要素を示す、図1の拡大詳細図である。 X線の封入筐体の諸態様を示す、図1の詳細図である。 本発明の実施形態である操作機構台を示す、図1の詳細図である。
図1は、本発明の第1の実施形態によるX線装置の横断面図である。
図1では、X線源およびX線検出器は見えない。ただし、図1の構成では、見ている人の目の位置にX線源を想定することができ、見ている人の視線方向の、供試品台220を間に挟んで、紙面の向こうにX線検出器を想定することができる。したがって、供試品台220上に配置された供試品は、X線源とX線検出器との間に置かれ、X線撮像を供試品に実施することができる。検出器が撮像アレイであれば、供試品の映像を得ることができ、供試品を供試品台220上で回転させ、映像を様々な角度方向で撮れば、CT撮像技法を使用して対象物の体積密度マップを再構成することができ、内部構造の調査が可能になる。
以下の開示では、Z方向が、紙面の中への光線経路に沿った軸になるように取られ、Y方向、または重力方向が、紙面内で垂直な、Z方向に直交する軸になるように取られ、X方向が、紙面を水平に横切り、Z方向およびY方向に直交する軸になるように取られる。
図1の構成は、比較的重い供試品を、比較的コンパクトな構成で解析することを可能にすることができる。
そのような比較的コンパクトな構成を可能にする、図1の実施形態の第1の態様は、供試品台、X線検出器、およびX線源を封入する遮蔽封入筐体100を貫通する機器搭載要素320を設けて、遮蔽封入筐体100の大きさを増加させることを必要とせずに、また、封入筐体の外部へのX線放射の望ましくない漏出を起こさせることもなく、比較的頑丈な支持枠310によって供試品を支持することを可能にすることである。
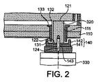
X線装置のコンパクトな大きさに寄与することができる遮蔽封入筐体100の構成が、図2に詳細に示されている。図2において、遮蔽封入筐体には、主遮蔽要素110が設けられ、その主遮蔽要素は、この場合、封入筐体の基底板の形を取る。開口111が、主遮蔽要素を内側から外側へ貫通して、搭載要素320がその開口を貫通することを可能にする。
搭載要素320は、ロッドとして形成され、内側端部に機器支持面121と、外側端部に基底面122とを有する。搭載要素320は、機器支持面121に載置されまたは取り付けられたあらゆる要素の重量を担持し、その重量を封入筐体の外側に配置された耐振台330へ伝達する。耐振台330を封入筐体の外側に配置することによって、封入筐体が、図1にやはり見られる耐振台支持枠310と共に耐振台330を含めて、装置全体を封入するように求められる場合よりも、封入筐体をよりコンパクトにすることが可能になる。
一方、主遮蔽要素110などの遮蔽封入筐体の壁に開口111を設けると、通常、封入筐体の外部への望ましくないX線放射の漏出を許すことになる。したがって、本実施形態は、望ましくないX線放射の漏出を阻止する追加の遮蔽要素を採用する。
具体的には、周縁遮蔽要素が、開口を取り巻く主遮蔽要素の領域から延在して、搭載要素320の、主遮蔽要素110の下面を越えて突出する長さの少なくとも一部分を取り巻く。さらに、搭載要素320の基底面122には、2次遮蔽要素140が設けられ、その2次遮蔽要素は、ここでは、開口111を通り抜ける軸に垂直な面内に、周縁遮蔽要素131の外周を越えるまで延在する2次遮蔽板141として形成され、その2次遮蔽板は、そこから延出して周縁遮蔽要素131の少なくとも一部分を取り巻く2次遮蔽壁142を有する。
そのような構成を用いることにより、開口111に入射するX線は、周縁遮蔽要素131および2次遮蔽要素140の存在によって、装置の外部へ出ることが防止される。
2次遮蔽要素140が、開口111の全領域に重なりそれを覆っている場合、そのような構成は、周縁遮蔽要素および2次遮蔽要素の構造に十分な厚さのX線吸収材が使用されているならば、X線の透過を完全に阻止する。しかしながら、搭載要素320と耐振台330との確実な結合を可能にするために、搭載要素320の基底面122にねじ穴123を設けて結合ボルト124を受け入れることが有利になり得る。これを達成するために、結合ボルト124が、2次遮蔽板141に形成された開口143を貫通する。
そのような構成では、穴123の軸を下方へ伝播するX線は、2次遮蔽板141上に入射せずに、開口143を通過する。そのようなX線について心配がある場合には、X線が開口143を通過するのを適切に阻止するためにX線不透過性の材料を結合ボルト124として使用することができ、さもなければ、穴123の軸に小さな角度範囲で到達するX線は吸収されないことを認めた上で、そのような角度で伝播するX線を発生することを避けるようにX線源を封入筐体100内に配置する。
基底面穴123と主遮蔽要素110の開口111とが軸を共有する場合には、この軸に対して5度、10度、15度、25度、または30度で伝播するX線は封入筐体から出ることができることを認めた上で、周縁遮蔽要素131および2次遮蔽要素140の寸法を適切に選択することができる。
図2は、封入筐体の外側に設けられた周縁遮蔽要素131および2次遮蔽要素140を示すが、同様な要素を、それら要素が封入筐体の外側に設けられている図2の構成に加えてまたはその代わりに、封入筐体の内側に設けることができる。そのような構成は、開口111および/または基底面穴123の軸に近い角度で伝播するX線に対して、さらに強い遮蔽を行うことができる。
さらに、図2の構成は機器支持面121に載る機器の重量を直接担持するように、垂直に配向されている搭載要素320を示している。しかし、それに限定されることなく、開口111は、封入筐体100の床、壁、または天井を含めて、あらゆる適切な面に形成することができ、それによって機器を天井または壁から懸吊することができる。そのような構成では、機器支持面121には、懸吊される機器を取り付けるために、結合ボルトを受け入れる穴、またはフックもしくはブラケットなどの別の適切な固定手段を追加して設けることができる。
図2の構成について様々な変更を考えることができる。たとえば、X線が一方向からのみ発生されることが確実であれば、遮蔽要素は、その方向から伝播するX線のみを防ぐように配置することができる。そのような構成では、X線が発射されると想定されるのとは反対側でのみ搭載要素320を部分的に取り巻くように周縁遮蔽要素131を設ければ十分であり得る。たとえば、周縁遮蔽要素は、半円筒として設けることができる。さらに、開口111の、X線が発射されると想定される方向とは反対側のみに2次遮蔽要素140を設ければ十分であり得る。当然、周縁遮蔽要素131および2次遮蔽要素140が、封入筐体100の内側に設けられる場合には、それら要素は、開口111の、X線が入射することになる側とは反対側ではなくて、X線が入射することになる側に設ける必要がある。
さらに、周縁遮蔽要素131は全体的に円筒形で示され、2次遮蔽要素は板部分141と円筒壁142とを有するように示されてきたが、これら構成の変形形態が可能である。たとえば、周縁遮蔽要素131および2次遮蔽壁142が、開口111から内方または外方へ突出する中空円錐の一部分として延在してもよく、2次遮蔽要素140が、たとえば、半球カップとして形成されてもよい。図2に示された構成は、空間の効率的な使用を行う視点から、今のところ、好まれている。
図2の構成では、主遮蔽要素110の、周縁遮蔽要素131および2次遮蔽要素140とは反対側に、内方へ突出する内部遮蔽要素132が示されており、その内部遮蔽要素は、全体的に円筒形を有し、遮蔽要素132の内側端部から外向きに突出する内部フランジ133を有する。そのような構成を設けることが必須ではないが、そのような追加の遮蔽要素を設けると、全体の遮蔽を向上することができ、周縁遮蔽要素131および2次遮蔽140を薄くすることを可能にすることができる。
図2は、搭載要素320が開口111を貫通するところを示すが、主遮蔽要素110、開口111、周縁遮蔽要素131、および2次遮蔽要素140の同様な構成を、電力および冷却水、ならびに制御電子信号および光ファイバを通る信号などの供給を行うための開口を含めて、封入筐体の壁を通り抜けるあらゆる開口を保護するために使用することができる。ただし、図1の構成において、そのような構成の主要利点は、その構成が、耐振台330および耐振台支持枠310のような嵩張る支持要素を遮蔽封入筐体100の外部に配置することを可能にし、それによって、遮蔽封入筐体の大きさおよび重量を比較的よりコンパクトな形に抑えることである。
そのような比較的コンパクトな構成を可能にする図1の実施形態の第2の態様として、図1に示された構成は、また、供試品を封入筐体から容易に降ろすことを可能にする要素を備える。
従来のX線装置では、作業者が供試品を挿入し取り外すことを可能にする窓または他の閉鎖可能な開口を封入筐体に設けることが通例である。しかし、供試品が大きく重くなるにつれて、作業者が補助なしに供試品を挿入し取り外すことが相対的により難しくなる。場合によっては、クレーンやトロリなどの特別な操作機材を、供試品を移動するために使用しなければならず、その場合、作業者にとって、供試品を封入筐体内に移し替えることが一般的に難しくなる。大きくまたは重い供試品でも容易に封入筐体に導き入れそこから取り外すのに十分大きな窓を設けることは、遮蔽封入筐体100の全体寸法を増加させる傾向になる。したがって、図1の実施形態は、供試品台220を封入筐体から引き出し、または少なくとも搭載位置もしくは搭載開口のより近くに移動させることを可能にして、供試品をより簡便に導き入れ取り降ろすことを可能にする特徴を有する。
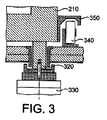
そのようなより容易な搭載を可能にするシステムの特定の要素が、図3に示されている。図1を参照して、供試品台220は、後に説明するように、供試品を封入筐体内部で容易に回転させ移動させることを可能にする、操作機構台200の一部分を形成する。操作機構台200は、該操作機構台の残りの構成要素を支持し、供試品がそれに対して回転され移動される基準面を形成する基準板210を基底として有する。
図3に示され、上記で説明されたように、基準板210は、作動中、耐振台330によって支持されている搭載要素320上に載っている。ここでは、耐振台330は、供試品と共に操作機構台200の重量を、たとえば耐振台330のピストン内に閉じ込められた安定した気柱上に支持する能動的耐振台である。それによって、操作機構台200が、供試品がX線ビーム経路内に位置するように、照射位置に適切に配置される。
しかしながら、本構成では、基準板210には、レール350がさらに設けられ、そのレールは、紙面から出ていく直線内に延在する一組のローラ340の上に張り出し、それらローラの1つが図3の断面内に示されている。それに対応するレールが、基準板210の対向する側面に設けられている。この構成によって、耐振台330が無力化されるとき、搭載要素320が相対的に低くなるように空気をピストンから抜き取ることができる。搭載要素320が十分な距離まで下降すると、レール350がローラ340に載って直線支承機構を形成し、操作機構台200を、ローラ上で紙面から外へ読者の方へ向かって移動させることが可能になる。これによって、操作機構台を、たとえば、封入筐体の天井のクレーンアクセスハッチの下、さもなければ封入筐体壁の窓、扉、または開口を経て封入筐体の完全に外など、搭載位置へ移動させることが可能になり、それによって供試品を容易に搭載または取り降ろすことが可能になる。
供試品に適切な操作が行われた後は、次いで逆の操作が可能であり、すなわち、操作機構台200を、レール350およびローラ340によって形成された直線支承機構に沿って搭載位置から照射位置へ移動させ、次いで、耐振台330を作動させて操作機構台200を持ち上げるように働かせ、それによって、レール350がローラ340から離隔されるようになり、操作機構台200が、完全に耐振台330上の搭載要素320を介して支持される。
安全性を増すために、図3には示されていないが、照射位置に支持されているときの基準板210の不慮の移動を防止するために、搭載要素320を受け入れる陥凹を基準板210の基底に形成してもよい。
当然、耐振台ではなくて、むしろ単純に、搭載要素320を基準板210の基底と接触するように持ち上げてレール350をローラ340から離れるように持ち上げる液圧または機械的昇降機を有することを含めて、図3に関する様々な変更を考案することができる。さらに、耐振台は、搭載要素320と基準板210との間、搭載要素320と昇降機機構との間、または昇降機機構と昇降機機構用の支持枠との間に配置された弾性支持体など、パッシブダンパとして実現することができる。
さらに、ローラが操作機構台に設けられ、レールが封入筐体の基底に設けられる配置、または、摺動支承機構やさらには非接触型空気もしくは磁気支承機構など、他の直線支承機構に置き換えられる構成を含めて、ローラ340およびレール350の上記に開示された構成の変更形態を考案することができる。さらに、そのような構成は、限定されることなしに、耐振台さらには耐振台枠までも封入筐体内に封入される従来の封入筐体であっても使用することができる。
最終的に、そのような構成は、放射器または検出器など、X線装置の他の重くまたは嵩張る要素を支持するために使用することができ、それによって、それら要素を、保守整備または調整のために封入筐体のアクセス領域へ、さらには封入筐体の外側にまで容易に移動させることができる。
そのような比較的コンパクトな構成を可能にする図1の実施形態の第2の態様として、実施形態は、重くまたは嵩張る供試品を支持するように適合された操作機構台を有する。
具体的には、図4に示されるように、操作機構台200は、供試品台220をその全長に亘る位置で支持する第1の支持部材230を有する。供試品台220は、供試品を支持するために十分に大きく平坦な面を形成する台座221を備える。台座221は、回転駆動機構222およびX移動搬送機構223によって支持されている。回転駆動機構222は、Y方向に向いた軸周りに台座221を制御下で回転させることを可能にし、X移動搬送機構223は、台座221と共に回転駆動機構222を第1の支持部材230に沿ってX方向に移動させることを可能にする。したがって、供試品台220は、第1の支持部材230のほぼ中央位置に支持されている。
供試品台220のX移動搬送機構223を用いることによって、光線横断方向での供試品の位置を調節することができ、他方、回転駆動機構222を用いて供試品を回転させることによって、供試品を通過する様々な角度でのX線映像を得ることができることにより、CTプロセスを介して体積密度マップを生成することが可能になる。
本実施形態では、第1の支持部材230は、一方の端部で垂直な第2の支持部材240により、他方の端部で垂直な第3の支持部材250によって支持される梁の形態を取る。ここでは、梁は、一方の端部が他方の端部より厚い補強部分によって補強されているところが示されているが、アーチ形を有する梁構成または一様断面を有する梁構成も使用可能である。
第2の支持部材240には、従動体242がその中を摺動する溝241が設けられ、それにより、従動体242が溝241内で摺動することによって、第1の支持部材をY方向に昇降させることができる。この構成は、第1の支持部材の一方の端部を、自由なY方向移動を可能にしながら受動的に支持する。同様に、第2の支持部材240の外側に沿って摺動する搬送機構を有し、その搬送機構が、第2の支持部材の外側支承面と協働する内側支承面を有することによりそのような自由移動を行わせることができる構成を含めて、第1の支持部材を確実に支持しながら昇降させることが可能な他の構成を使用してもよい。
対照的に、第3の支持部材250は、第1の支持部材230の他方の端部を能動的方式で支持し、基準板210に対してY方向での第1の支持部材の高さを調節する駆動機構が設けられている。そのような能動的駆動を達成するために、第3の支持部材250は、ボールねじ252と、従動体ナット251とを備え、その従動体ナットは、第2の支持部材では支持されていない、第1の支持部材230の他方の端部に連結されている。ボールねじ252は、最上部でラジアル軸受253によって支持され、最下部でアンギュラコンタクト軸受254によって固定され、ステッピングモータ257によってギアボックス256および駆動ベルト255を介して駆動される。そのような構成では、固定されたアンギュラコンタクト軸受254が、端部のあらゆる浮動または遊動を除去し、作動中の軸推力の大部分を受け止める。その一方、ラジアル軸受253は、ボールねじ252の上端部を浮動可能にし、それによって、駆動機構の膨張および軽微なミスアラインメントを吸収し、一方ボールねじ252のあらゆる曲げモーメントを低減する。
したがって、そのような構成によって、第1の支持部材230の垂直位置は、ボールねじ252を駆動して第1の支持部材の一方の端部を昇降させ、他方、第1の支持部材230の他方の端部はその移動に従うに委せることによって、好都合に調節することができる。
拡大率の調節を可能にするために、供試品台220をZ方向に、すなわちX線ビームのラインに沿って移動させることができるようにするために、第3の支持部材250が、基準板210に装着されたZレール259上を移動するZ搬送機構258上に支持されている。図4に示されていないが、第1の支持部材230は、また、第2の支持部材側で、第1の従動体に形成された第2の溝の中を摺動する第2の従動体によって支持され、それによって、第1の支持部材が捻じれることなく全体としてZ方向に自由に移動することが可能になる。このように、協働する回転駆動機構222と、X移動搬送機構223と、Y調節ボールねじ252と、Z搬送機構258とを用いて、供試品台220を、X、Y、Z方向のそれぞれに移動させることができ、一方Y軸に平行な軸周りに回転させることもできる。
第1の支持部材230を両端部でX方向に関して支持することによって、嵩張るまたは重い負荷を供試品台220に載せても、第1の支持部材230に変形を生じさせず、供試品台220にX−Z面に対する傾斜を生じさせない。したがって、重いまたは嵩張る供試品でも、精度を欠くことなく撮像することができる。
当然、第1の支持部材230の第3の支持部材端部の位置を支持し調節するために、ボールねじおよびナットではなくて、ベルト駆動機構を使用することや、協働するボールねじ252およびナット251などの能動的駆動手段を第1の支持部材の両端部に設ける可能性を含めて、図4に示された構成に対して様々な変更が可能である。
図4に示された構成では、ナット251が、背中合わせに装着された2つのボールねじナットとして構成され、それによって、ボールねじ252とナット251との間で発生した力が、各それぞれのナットのラジアル軸受251Aおよび251Bを介して支持部材230へ伝達される。Z搬送機構アセンブリは、第3の支持部材250と同様な方式でベルト構造またはボールねじによって駆動してもよく、またはラックおよびピニオン駆動機構を用いて直接駆動してもよい。たとえば、被駆動ピニオンを、Zレール259の間に横たわるラックに係合するようにZ搬送機構258に装着して、Z搬送機構をZ方向に駆動することを可能にすることができる。
本実施形態では、第2の支持部材240および第3の支持部材250は、基準板210によって支持されているが、基準板210は、主として安定性および構造強度のために設けられている。別法として、特に、Z方向の調節が必要とされない場合、第2の支持部材240および第3の支持部材250のそれぞれを、たとえば図1に示された搭載要素320上に、直接支持することができる。
当業者には、上記の開示を、上記によって開示済みまたは上記から導出可能のいずれにせよ本発明の技術的成果の一部またはすべてを保持しながら、当技術分野での自己の通常の一般的な知識に照らして、本発明の範囲内で、自分自身の状況および要件に適合するように変更および改変することが可能であると考えられる。そのような同等形態、変更形態、または改変形態のすべてが、本明細書で定義され、特許請求の範囲に記載された本発明の範囲に包含される。
100 遮蔽封入筐体
110 主遮蔽要素
111 開口
121 機器支持面
122 基底面
123 ねじ穴
124 結合ボルト
131 周縁遮蔽要素
132 内部遮蔽要素
133 内部フランジ
140 2次遮蔽要素
141 2次遮蔽板
142 2次遮蔽壁
143 開口
200 操作機構台
210 基準板
220 供試品台
221 台座
222 回転駆動機構
223 X移動搬送機構
230 第1の支持部材
240 第2の支持部材
241 溝
242 従動体
250 第3の支持部材
251 従動体ナット
251A ラジアル軸受
251B ラジアル軸受
252 ボールねじ
253 ラジアル軸受
254 アンギュラコンタクト軸受
255 駆動ベルト
256 ギアボックス
257 ステッピングモータ
258 Z搬送機構
259 Zレール
310 支持枠
320 機器搭載要素
330 耐振台
340 ローラ
350 レール

Claims (12)

  1. X線装置用の機器搭載台であって、
    供試品台、X線検出器、およびX線源を封入する遮蔽封入筐体の基底板の形をとる主遮蔽要素であって、該主遮蔽要素の一方の側から該主遮蔽要素の他方の側へ該主遮蔽要素を貫通する少なくとも1つの開口を有する、主遮蔽要素と、
    前記主遮蔽要素の前記開口を通って延在するように配置された搭載要素であり、前記開口の一方の側に機器支持面を有し、前記開口の他方の側に基底面を有する、搭載要素と、
    前記搭載要素の少なくとも一部分を少なくとも部分的に取り巻くように、前記主遮蔽要素の、前記開口を取り巻く領域から延在する周縁遮蔽要素と、
    前記搭載要素の前記基底面および前記機器支持面の1つに配置され、前記周縁遮蔽要素の少なくとも一部分の外周を少なくとも部分的に取り巻くように、前記主遮蔽要素の方へ延出する2次遮蔽要素と
    を備える機器搭載台。
  2. 前記開口が、該開口に垂直な軸を定義し、前記軸に関して、少なくとも1つの方向から、45度を超える角度で入射するX線放射が、前記主遮蔽要素、前記2次遮蔽要素、および前記周縁遮蔽要素の少なくとも1つに入射するように、前記主遮蔽要素、前記周縁遮蔽要素、および前記2次遮蔽要素が、共に構成、配置される、請求項1に記載の機器搭載台。
  3. 前記主遮蔽要素が板である、請求項1または2に記載の機器搭載台。
  4. 前記周縁遮蔽要素が、実質的に扇形中空円筒または扇形中空円錐、好ましくは、実質的に完全な中空円筒または完全な円錐である、請求項1から3のいずれか一項に記載の機器搭載台。
  5. 前記2次遮蔽要素が、2次遮蔽板と、前記2次遮蔽板から前記主遮蔽要素の方へ延出する周縁2次遮蔽壁とを備える、請求項1から4のいずれか一項に記載の機器搭載台。
  6. 前記周縁2次遮蔽壁が、実質的に扇形中空円筒または扇形中空円錐、好ましくは、実質的に完全な中空円筒または完全な円錐である、請求項5に記載の機器搭載台。
  7. 前記搭載要素が、前記機器支持面と前記基底面との間に延在するロッド部分を備える、請求項1から6のいずれか一項に記載の機器搭載台。
  8. 前記主遮蔽要素、前記周縁遮蔽要素、および前記2次遮蔽要素が、前記開口の一方の側または前記開口の他方の側のうちの一方に設けられ、さらに別の主遮蔽要素、さらに別の周縁遮蔽要素、およびさらに別の2次遮蔽要素が、前記開口の一方の側または前記開口の他方の側のうちの他方に設けられる、請求項1から7のいずれか一項に記載の機器搭載台。
  9. 前記さらに別の主遮蔽要素、前記さらに別の周縁遮蔽要素、および前記さらに別の2次遮蔽要素が、それぞれ、前記主遮蔽要素、前記周縁遮蔽要素、前記2次遮蔽要素と同様に構成される、請求項8に記載の機器搭載台。
  10. 前記2次遮蔽要素が開口を有し、前記搭載要素が、前記2次遮蔽要素の前記開口を通って延在する、請求項1から9のいずれか一項に記載の機器搭載台。
  11. 前記2次遮蔽要素が開口を有し、前記搭載要素の前記機器支持面が、前記2次遮蔽要素の前記開口の前記主遮蔽要素側に配置される、請求項1から8のいずれか一項に記載の機器搭載台。
  12. X線源、操作機構台、およびX線検出器を有するX線装置であって、前記操作機構台を支持するように配置された、請求項1から11のいずれか一項に記載の機器搭載台を備える、X線装置。
JP2017507729A 2014-08-13 2015-08-12 X線装置用の機器搭載台及びそれを備えるx線装置 Active JP6556830B2 (ja)

Applications Claiming Priority (3)

Application Number Priority Date Filing Date Title
GB1414395.2 2014-08-13
GBGB1414395.2A GB201414395D0 (en) 2014-08-13 2014-08-13 X-ray apparatus
PCT/EP2015/068555 WO2016023949A1 (en) 2014-08-13 2015-08-12 X-ray apparatus

Related Child Applications (1)

Application Number Title Priority Date Filing Date
JP2018098659A Division JP6603752B2 (ja) 2014-08-13 2018-05-23 X線装置

Publications (2)

Publication Number Publication Date
JP2017527353A JP2017527353A (ja) 2017-09-21
JP6556830B2 true JP6556830B2 (ja) 2019-08-07

Family

ID=51629743

Family Applications (2)

Application Number Title Priority Date Filing Date
JP2017507729A Active JP6556830B2 (ja) 2014-08-13 2015-08-12 X線装置用の機器搭載台及びそれを備えるx線装置
JP2018098659A Active JP6603752B2 (ja) 2014-08-13 2018-05-23 X線装置

Family Applications After (1)

Application Number Title Priority Date Filing Date
JP2018098659A Active JP6603752B2 (ja) 2014-08-13 2018-05-23 X線装置

Country Status (6)

Country Link
US (3) US10365233B2 (ja)
EP (3) EP4607569A2 (ja)
JP (2) JP6556830B2 (ja)
CN (1) CN107110797B (ja)
GB (1) GB201414395D0 (ja)
WO (1) WO2016023949A1 (ja)

Families Citing this family (5)

* Cited by examiner, † Cited by third party
Publication number Priority date Publication date Assignee Title
CN106018440A (zh) * 2016-06-28 2016-10-12 国营芜湖机械厂 一种飞机方向舵射线检测工装
JP7087916B2 (ja) * 2017-11-21 2022-06-21 住友金属鉱山株式会社 試料測定装置および試料測定方法
US11774333B2 (en) * 2019-04-04 2023-10-03 Mcp Ip, Llc Shaft testing device with non-contact bearing
US11955308B1 (en) * 2022-09-22 2024-04-09 Kla Corporation Water cooled, air bearing based rotating anode x-ray illumination source
CN115435043A (zh) * 2022-09-30 2022-12-06 济南汉江光电科技有限公司 一种x射线显微镜隔振装置

Family Cites Families (31)

* Cited by examiner, † Cited by third party
Publication number Priority date Publication date Assignee Title
DE1217100B (de) 1962-10-25 1966-05-18 Radiologie Cie Gle Unter Vakuum betriebene Probendurchlauf-vorrichtung fuer Roentgenspektrometer
JPS527263A (en) 1975-06-16 1977-01-20 Matsushita Electric Ind Co Ltd Indicator
JPS527263U (ja) * 1975-06-30 1977-01-19
US4273239A (en) * 1979-04-23 1981-06-16 Contran Conveyors & Systems, Inc. Zero pressure accumulator and braking apparatus therefor
FR2622758B1 (fr) 1987-10-30 1990-04-27 Thomson Cgr Ensemble radiogene a protection integrale contre les rayonnements de fuite
JPH05119193A (ja) * 1991-08-15 1993-05-18 Sofutetsukusu Kk 工業用x線検査装置
JP3313755B2 (ja) 1992-04-30 2002-08-12 東芝アイティー・コントロールシステム株式会社 断層撮影装置
US5344238A (en) 1992-12-18 1994-09-06 Electroglas, Inc. Ball bearing assembly
US5627874A (en) 1995-04-05 1997-05-06 Smallbone; Allan H. X-ray spectroscopic analysis of powder samples using a window-less cell system
CN1207199A (zh) * 1996-03-12 1999-02-03 株式会社荏原制作所 X-射线或γ-射线屏蔽设备
JP3829241B2 (ja) 2002-06-19 2006-10-04 日本軽金属株式会社 収納庫
US7783004B2 (en) 2002-07-23 2010-08-24 Rapiscan Systems, Inc. Cargo scanning system
WO2005078419A1 (ja) * 2004-02-18 2005-08-25 Pony Industry Co., Ltd. 放射線透視撮影装置及びこれを用いた放射線透視撮影方法
GB0415053D0 (en) 2004-07-05 2004-08-04 Dage Prec Ind Ltd X-ray manipulator
US7131769B2 (en) * 2004-12-16 2006-11-07 Octostop Inc. Stretcher with dedicated multi-functional removable floating patient support platform
JP2006214924A (ja) 2005-02-04 2006-08-17 Babcock Hitachi Kk X線非破壊検査方法及びイメージrt装置
US9308145B2 (en) * 2005-02-22 2016-04-12 Roger P. Jackson Patient positioning support structure
CN2876023Y (zh) * 2006-02-13 2007-03-07 福州泰康机械制造有限公司 装卸货装置
US7341376B2 (en) 2006-03-23 2008-03-11 General Electric Company Method for aligning radiographic inspection system
US7873143B2 (en) 2007-12-03 2011-01-18 X-Ray Optical Systems, Inc. Sliding sample cell insertion and removal apparatus for x-ray analyzer
US7702077B2 (en) 2008-05-19 2010-04-20 General Electric Company Apparatus for a compact HV insulator for x-ray and vacuum tube and method of assembling same
JP2010073477A (ja) 2008-09-18 2010-04-02 Akihiko No X線管格納容器
WO2010094719A1 (en) 2009-02-22 2010-08-26 Mapper Lithography Ip B.V. Charged particle lithography apparatus and method of generating vacuum in a vacuum chamber
FR2959609B1 (fr) 2010-04-28 2013-01-11 Michelin Soc Tech Ensemble accumulateur pour batterie de vehicule electrique ou hybride
DE102011005732B4 (de) * 2011-03-17 2013-08-22 Carl Zeiss Microscopy Gmbh Einrichtung zur Röntgenspektroskopie
CN202171958U (zh) * 2011-07-22 2012-03-21 深圳市蓝韵实业有限公司 X射线高压发生器检测用屏蔽箱
CN202534370U (zh) * 2012-03-16 2012-11-14 中国核电工程有限公司 一种放射性环境下的可调式贯穿件
EP4295970A3 (en) 2012-09-26 2024-03-27 Nikon Corporation X-ray device and structure manufacturing method
CN103640890B (zh) * 2013-12-16 2015-08-12 丹东奥龙射线仪器集团有限公司 Lng气瓶x射线数字成像检测机械传动装置
CN203798748U (zh) * 2014-03-26 2014-08-27 北京华力兴科技发展有限责任公司 一种乘用车安全检查系统
DE102014007154B3 (de) * 2014-05-15 2015-10-29 Crosslinking AB Teleskopierbare Abschirmvorrichtung

Also Published As

Publication number Publication date
GB201414395D0 (en) 2014-09-24
US20190137418A1 (en) 2019-05-09
EP3180604A1 (en) 2017-06-21
US20170234810A1 (en) 2017-08-17
EP3180604B1 (en) 2025-10-01
JP6603752B2 (ja) 2019-11-06
US10571409B2 (en) 2020-02-25
JP2018159712A (ja) 2018-10-11
US10571410B2 (en) 2020-02-25
EP4657052A1 (en) 2025-12-03
WO2016023949A1 (en) 2016-02-18
JP2017527353A (ja) 2017-09-21
US10365233B2 (en) 2019-07-30
CN107110797B (zh) 2020-07-03
US20190137417A1 (en) 2019-05-09
EP4607569A2 (en) 2025-08-27
CN107110797A (zh) 2017-08-29

Similar Documents

Publication Publication Date Title
JP6603752B2 (ja) X線装置
JP2018159712A5 (ja)
US10145806B2 (en) X-ray apparatus
US11714054B2 (en) Inline x-ray measurement apparatus and method
JP2014073309A (ja) 移動型放射線発生装置及び移動型放射線撮影システム
CN109568807B (zh) 放射治疗设备升降装置
US4849727A (en) Magnetic shield for a magnetic resonance magnet
KR102534747B1 (ko) 비파괴 검사시스템
KR20070009440A (ko) 촬영 시스템 및 트랜스퍼 보드 이동 장치
JP4886684B2 (ja) X線操作装置
CN213046872U (zh) 一种磁共振系统的病床机构
CN213665249U (zh) 一种磁共振系统的翻转病床底板和磁共振系统
KR102488521B1 (ko) 감마선 측정장치 및 이를 구비한 비파괴 검사 시스템
CN221903724U (zh) 一种x线与pet成像融合装置
CN213046874U (zh) 一种磁共振系统全向移动底盘及移动式磁共振系统
JP5038927B2 (ja) 容器検査装置
JPH07318653A (ja) ポジトロンct装置
CN107046795B (zh)
SE512202C2 (sv) Digital bucky där jonkammare och raster kan fällas bort från detektorn

Legal Events

Date Code Title Description
A621 Written request for application examination

Free format text: JAPANESE INTERMEDIATE CODE: A621

Effective date: 20170330

A977 Report on retrieval

Free format text: JAPANESE INTERMEDIATE CODE: A971007

Effective date: 20171220

A131 Notification of reasons for refusal

Free format text: JAPANESE INTERMEDIATE CODE: A131

Effective date: 20180205

A601 Written request for extension of time

Free format text: JAPANESE INTERMEDIATE CODE: A601

Effective date: 20180427

A521 Request for written amendment filed

Free format text: JAPANESE INTERMEDIATE CODE: A523

Effective date: 20180523

A131 Notification of reasons for refusal

Free format text: JAPANESE INTERMEDIATE CODE: A131

Effective date: 20181022

A521 Request for written amendment filed

Free format text: JAPANESE INTERMEDIATE CODE: A523

Effective date: 20190118

TRDD Decision of grant or rejection written
A01 Written decision to grant a patent or to grant a registration (utility model)

Free format text: JAPANESE INTERMEDIATE CODE: A01

Effective date: 20190610

A61 First payment of annual fees (during grant procedure)

Free format text: JAPANESE INTERMEDIATE CODE: A61

Effective date: 20190710

R150 Certificate of patent or registration of utility model

Ref document number: 6556830

Country of ref document: JP

Free format text: JAPANESE INTERMEDIATE CODE: R150

R250 Receipt of annual fees

Free format text: JAPANESE INTERMEDIATE CODE: R250

R250 Receipt of annual fees

Free format text: JAPANESE INTERMEDIATE CODE: R250

R250 Receipt of annual fees

Free format text: JAPANESE INTERMEDIATE CODE: R250

R250 Receipt of annual fees

Free format text: JAPANESE INTERMEDIATE CODE: R250