JP6494792B2 - 作業車両、および作業車両の冷却装置 - Google Patents

作業車両、および作業車両の冷却装置 Download PDF

Info

Publication number
JP6494792B2
JP6494792B2 JP2017554100A JP2017554100A JP6494792B2 JP 6494792 B2 JP6494792 B2 JP 6494792B2 JP 2017554100 A JP2017554100 A JP 2017554100A JP 2017554100 A JP2017554100 A JP 2017554100A JP 6494792 B2 JP6494792 B2 JP 6494792B2
Authority
JP
Japan
Prior art keywords
work vehicle
cooling air
cooling
radiator
front side
Prior art date
Legal status (The legal status is an assumption and is not a legal conclusion. Google has not performed a legal analysis and makes no representation as to the accuracy of the status listed.)
Active
Application number
JP2017554100A
Other languages
English (en)
Other versions
JPWO2018109854A1 (ja
Inventor
学 荒木
学 荒木
荒木 徹
徹 荒木
Current Assignee (The listed assignees may be inaccurate. Google has not performed a legal analysis and makes no representation or warranty as to the accuracy of the list.)
SHIBAKAI CO., LTD.
Original Assignee
SHIBAKAI CO., LTD.
Priority date (The priority date is an assumption and is not a legal conclusion. Google has not performed a legal analysis and makes no representation as to the accuracy of the date listed.)
Filing date
Publication date
Application filed by SHIBAKAI CO., LTD. filed Critical SHIBAKAI CO., LTD.
Publication of JPWO2018109854A1 publication Critical patent/JPWO2018109854A1/ja
Application granted granted Critical
Publication of JP6494792B2 publication Critical patent/JP6494792B2/ja
Active legal-status Critical Current
Anticipated expiration legal-status Critical

Links

Images

Classifications

    • BPERFORMING OPERATIONS; TRANSPORTING
    • B60VEHICLES IN GENERAL
    • B60KARRANGEMENT OR MOUNTING OF PROPULSION UNITS OR OF TRANSMISSIONS IN VEHICLES; ARRANGEMENT OR MOUNTING OF PLURAL DIVERSE PRIME-MOVERS IN VEHICLES; AUXILIARY DRIVES FOR VEHICLES; INSTRUMENTATION OR DASHBOARDS FOR VEHICLES; ARRANGEMENTS IN CONNECTION WITH COOLING, AIR INTAKE, GAS EXHAUST OR FUEL SUPPLY OF PROPULSION UNITS IN VEHICLES
    • B60K11/00Arrangement in connection with cooling of propulsion units
    • B60K11/02Arrangement in connection with cooling of propulsion units with liquid cooling
    • B60K11/04Arrangement or mounting of radiators, radiator shutters, or radiator blinds
    • FMECHANICAL ENGINEERING; LIGHTING; HEATING; WEAPONS; BLASTING
    • F01MACHINES OR ENGINES IN GENERAL; ENGINE PLANTS IN GENERAL; STEAM ENGINES
    • F01PCOOLING OF MACHINES OR ENGINES IN GENERAL; COOLING OF INTERNAL-COMBUSTION ENGINES
    • F01P3/00Liquid cooling
    • F01P3/18Arrangements or mounting of liquid-to-air heat-exchangers
    • FMECHANICAL ENGINEERING; LIGHTING; HEATING; WEAPONS; BLASTING
    • F01MACHINES OR ENGINES IN GENERAL; ENGINE PLANTS IN GENERAL; STEAM ENGINES
    • F01PCOOLING OF MACHINES OR ENGINES IN GENERAL; COOLING OF INTERNAL-COMBUSTION ENGINES
    • F01P5/00Pumping cooling-air or liquid coolants
    • F01P5/02Pumping cooling-air; Arrangements of cooling-air pumps, e.g. fans or blowers
    • F01P5/06Guiding or ducting air to, or from, ducted fans

Landscapes

  • Engineering & Computer Science (AREA)
  • Chemical & Material Sciences (AREA)
  • Combustion & Propulsion (AREA)
  • Mechanical Engineering (AREA)
  • General Engineering & Computer Science (AREA)
  • Transportation (AREA)
  • Component Parts Of Construction Machinery (AREA)
  • Cooling, Air Intake And Gas Exhaust, And Fuel Tank Arrangements In Propulsion Units (AREA)

Description

本開示は、ブルドーザ等の作業車両、および作業車両に備えられてエンジン等を冷却する作業車両の冷却装置に関するものである。
ブルドーザ等の作業車両は、土埃や塵埃等によってラジエータが目詰まりしやすい環境で使用されることが多い。そこで、目詰まりによる冷却効率の低下によってエンジンの出力低下や機器の損傷等を防止するために、油圧駆動ファンに供給される駆動油圧を検出して、目詰まりを自動的に検出する技術が知られている(例えば、特許文献1参照。)。
特開2009−36252号公報
しかしながら、上記のようにラジエータの目詰まりを検出することによって、目詰まりの影響を未然に防止することは容易にできるが、目詰まり自体を抑制することはできない。
そのため、作業対象物によって特に目詰まりが生じやすい環境で用いられる場合などには、頻繁に清掃作業をしたりエンジンの出力をセーブしたりすることが必要とされる。具体的には、例えば、船舶によって運搬された大豆や小麦を含む穀物等の粒状物や粉体物を陸揚げする際に、ニューマチックアンローダを用いた連続的な空気輸送を行う場合には、穀物等をニューマチックアンローダの吸い込み口に掻き寄せるためにブルドーザ等の作業車両が用いられる。ところが、上記のような穀物やこれに伴う籾殻等の粒状物や粉体物は、比較的比重が小さいことから舞い上がりやすく、それゆえ、特にラジエータ等の目詰まりを生じやすい。
本発明は、上記の点に鑑みてなされたものであり、ラジエータの目詰まりによる影響を低減や防止できるようにすることを目的としている。
本開示は、
作業車両の動力部に流通する流体を冷却するラジエータと、
上記ラジエータを介する冷却空気を作業車両内に流通させるファンと、
を備えた作業車両に用いられる冷却装置であって、
上記冷却空気の吸い込み口または吹き出し口を上記ラジエータよりも上方に位置させるように冷却空気流路を形成する冷却空気流路形成部材を有することを特徴とする。
これにより、例えば、比較的比重が小さいために舞い上がりやすい穀物等の粒状物や粉体物を扱う場合などでも、ラジエータ等の目詰まりを生じにくくすることができる。
本開示では、ラジエータの目詰まりによる影響を低減や防止できる。
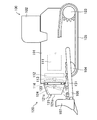
作業車両の概略構成を模式的に示す側面図である。 作業車両の要部の概略構成を模式的に示す正面図である。 作業車両の要部の概略構成を模式的に示す斜め上方から見た斜視図である。
以下、本発明の実施形態として、作業車両がブルドーザである場合の例を図面に基づいて詳細に説明する。
作業車両100は、図1に示すように、車体101と、キャビン102と、履帯105を有する走行装置と、ブレード107を有する作業機構と、冷却装置120とを備えている。このような作業車両100は、例えば、船舶によって運搬された大豆や小麦を含む穀物等の粒状物や粉体物を陸揚げする際に、上記穀物等を掻き寄せるためなどに用いられる。
上記車体101の内部には、エンジン111が設けられ、このエンジン111が発生する回転駆動力によって、走行装置のスプロケット103の駆動や、作業機構の図示しない油圧シリンダ等を作動させるための油圧の発生がなされるようになっている。また、車体101の前部には、エンジン111の冷却水を熱交換して冷却するラジエータ112、上記ラジエータ112を介して冷却空気を車体101内に導入するファン114、および上記ファン114を回転駆動する例えば油圧作動のファンモータ113が設けられている。
キャビン102には、運転者が着座するためのオペレータシートや各種操作のためのレバー、ペダルおよび計器類等(不図示)が設けられている。
走行装置は、履帯105がスプロケット103とアイドラ104との間に掛け渡され、スプロケット103を介したエンジン111の回転駆動力によって走行駆動されると共に、低い接地圧で作業車両100を支え得るようになっている。
作業機構は、ブレード107が、支持フレーム106や図示しない油圧シリンダによって支持されると共に位置や姿勢が制御されるようになっている。
冷却装置120には、ラジエータ112に送り込まれる冷却空気の吸い込み口をラジエータ112よりも上方に位置させるように冷却空気流路を形成する冷却空気流路形成部材121が設けられている。また、上記冷却空気流路内に、車体101内のファン114による送風力を補助する例えば電動の外部ファンモータ122と外部ファン123とが設けられている。また、冷却装置120の上部にはフィルタ124が設けられている。
上記冷却空気流路形成部材121は、より詳しくは、図2、図3に示すように、前壁121aと、下壁121bと、側壁121cとを有し、略四角錐台形の外形を有している。下壁121bは、作業車両100における後方向側よりも前方向側が上方に位置するように傾斜して設けられている。この場合には、例えば、作業車両100が比較的比重の小さい穀物等の中を走行する場合でも沈み込みにくくすることが容易にできる。また、側壁121cは、作業車両100における後方向側よりも前方向側が、車幅方向の中央寄りに位置するように、すなわち、冷却空気流路における車幅方向の寸法が、作業車両100における後方向側よりも前方向側で短くなるように設けられている。この場合には、作業車両100の穀物等の中を走行する場合でも、穀物や籾殻等が冷却空気流路形成部材121に付着しにくくすることが容易にできる。上記冷却空気流路形成部材121の車体101への取付方法は、特に限定されないが、例えばボルト131が車体101の前部側方に締結されることによって取り付けられている。
上記のように冷却空気流路形成部材121が設けられて、ラジエータ112に送り込まれる冷却空気の吸い込み口がラジエータ112よりも上方に位置するように冷却空気流路が形成されることによって、比較的比重が小さいために舞い上がりやすい穀物等の粒状物や粉体物を扱う場合などでも、ラジエータ等の目詰まりを生じにくくすることができる。それゆえ、例えば、エンジン111の冷却水温度が定常状態になった後、1時間以上穀物の掻き寄せ作業をしても冷却水温度が全く上昇しないようにすることなどができた。
なお、上記の例では、前壁121aと、下壁121bと、側壁121cとを有し、略四角錐台形の外形を有する冷却空気流路形成部材121が設けられる例を示したが、これに限らず、例えば前壁121aも傾斜させるなど、各壁の傾斜の有無や程度は種々設定されてもよいし、側壁121cどうしが前壁121aを介さずに接合されるようにしてもよく、曲面によって画された冷却空気流路が形成されるようにしてもよい。また、例えばエアダクトが設けられることによって、冷却空気の吸い込み口がラジエータ112よりも上方に位置するようにすることもできる。
また、外部ファン123は必ずしも設けられなくてもよいが、これが設けられることによって、冷却空気の吸い込み口がラジエータ112よりも上方に位置することと相まって、一層、ラジエータ112の目詰まりの低減や冷却能力の向上を図ることができる。すなわち、作業車両100自体に備えられるファン114として、例えば一般的な土木作業に適した冷却能力のものを用いて、目詰まりしやすい穀物等を扱う場合にだけ、外部ファン123を設けることによって、作業車両100の製造コストを低減することが容易にできる。
また、作業車両100のファンモータ113は、ラジエータ112の冷却空気上流側に配置されるのに限らず、下流側に配置されてもよい。
また、冷却空気の流通方向は、冷却空気が作業車両100の前方から導入される方向に限らず、作業車両100の前方に吹き出す方向であってもよい。すなわち、冷却空気流路形成部材121によって、冷却空気の吹き出し口が、ラジエータ112よりも上方に位置させるように冷却空気流路が形成されるようにしてもよい。この場合には、吹き出される冷却空気によって穀物や籾殻等が舞い上がりにくいようにすることが容易にできる。したがって、やはり、作業車両100内に流入する冷却空気に運ばれる穀物や籾殻等によるラジエータ112の目詰まりによる影響を低減や防止することが容易にできる。
また、フィルタ124の有無やフィルタ能力は、作業対象に応じて設定すればよく、例えば、エキスパンドメタルやいわゆるパンチングメタルなどがフィルタ124として用いられてもよい。
また、ラジエータ112は、エンジンの冷却水を冷却するものに限らず、エンジンやトランスミッションの潤滑油、または油圧回路の作動油など、作業車両の動力部に流通する流体を冷却するものであればよい。
また、作業車両100としては、ブルドーザに限らず、同様の冷却空気流路を有する作業車両であれば、同様の構成を適用することができる。
100 作業車両
101 車体
102 キャビン
103 スプロケット
104 アイドラ
105 履帯
106 支持フレーム
107 ブレード
111 エンジン
112 ラジエータ
113 ファンモータ
114 ファン
120 冷却装置
121 冷却空気流路形成部材
121a 前壁
121b 下壁
121c 側壁
122 外部ファンモータ
123 外部ファン
124 フィルタ
131 ボルト

Claims (6)

  1. 作業車両の動力部に流通する流体を冷却するラジエータと、
    上記ラジエータを介する冷却空気を作業車両内に流通させるファンと、
    を備えた作業車両に用いられる冷却装置であって、
    上記冷却空気の吸い込み口を上記作業車両の前方側で上記ラジエータよりも上方に位置させるとともに上方に向けて開口するように冷却空気流路を形成する冷却空気流路形成部材を有するとともに、
    上記冷却空気流路形成部材は、上記ファンの前方側の側方側を画する1対の側壁部材を有し、
    上記1対の側壁部材は、それぞれ、作業車両における後方向側よりも前方向側が、車幅方向の中央寄りに位置するように設けられていることを特徴とする作業車両の冷却装置。
  2. 請求項1の作業車両の冷却装置であって、
    上記ファンは、作業車両の前面側から冷却空気を流入させるように配置され、
    上記冷却空気流路形成部材は、上記ファンの前方側、前方側の下方側、および前方側の側方側を画することによって、上記冷却空気の吸い込み口を上記ラジエータよりも上方に位置させるように構成されていることを特徴とする作業車両の冷却装置。
  3. 請求項1の作業車両の冷却装置であって、
    上記冷却空気流路形成部材は、さらに、上記ファンの前方側の下方側を画する下壁部材を有し、
    上記下壁部材は、作業車両における後方向側よりも前方向側が上方に位置するように傾斜して設けられていることを特徴とする作業車両の冷却装置。
  4. 請求項1から請求項3のうち何れか1項の作業車両の冷却装置であって、
    上記冷却空気の吸い込み口にフィルタが設けられていることを特徴とする作業車両の冷却装置。
  5. 請求項1から請求項4のうち何れか1項の作業車両の冷却装置であって、
    さらに、作業車両の前方側に配置されるファンを有することを特徴とする作業車両の冷却装置。
  6. 作業車両の動力部に流通する流体を冷却するラジエータと、
    上記ラジエータを介する冷却空気を作業車両内に導入するファンと、
    請求項1から請求項5のうち何れか1項の冷却装置と、
    を備えたことを特徴とする作業車両。
JP2017554100A 2016-12-14 2016-12-14 作業車両、および作業車両の冷却装置 Active JP6494792B2 (ja)

Applications Claiming Priority (1)

Application Number Priority Date Filing Date Title
PCT/JP2016/087162 WO2018109854A1 (ja) 2016-12-14 2016-12-14 作業車両、および作業車両の冷却装置

Publications (2)

Publication Number Publication Date
JPWO2018109854A1 JPWO2018109854A1 (ja) 2018-12-13
JP6494792B2 true JP6494792B2 (ja) 2019-04-03

Family

ID=62558495

Family Applications (1)

Application Number Title Priority Date Filing Date
JP2017554100A Active JP6494792B2 (ja) 2016-12-14 2016-12-14 作業車両、および作業車両の冷却装置

Country Status (2)

Country Link
JP (1) JP6494792B2 (ja)
WO (1) WO2018109854A1 (ja)

Family Cites Families (18)

* Cited by examiner, † Cited by third party
Publication number Priority date Publication date Assignee Title
JPS4940169B1 (ja) * 1970-08-29 1974-10-31
JPS5256980Y2 (ja) * 1974-09-09 1977-12-23
JPS538633U (ja) * 1976-07-08 1978-01-25
JPS6027779Y2 (ja) * 1977-02-28 1985-08-22 キャタピラ−三菱株式会社 ラジエ−タサイレンサ−装置
JPS581382Y2 (ja) * 1977-07-18 1983-01-11 株式会社クボタ 作業車
JPS54121416U (ja) * 1978-02-14 1979-08-25
JPS6024644Y2 (ja) * 1978-03-15 1985-07-24 井関農機株式会社 コンバインにおける保護箱カバー
JPS597141Y2 (ja) * 1978-10-16 1984-03-05 ティー・シー・エム株式会社 作業車両の騒音防止装置
JPS638622U (ja) * 1986-07-03 1988-01-20
JPS63186925U (ja) * 1987-05-21 1988-11-30
JPH0252926U (ja) * 1988-10-07 1990-04-17
JPH02103818U (ja) * 1989-02-04 1990-08-17
JPH04208640A (ja) * 1990-11-30 1992-07-30 Komatsu Ltd エンジンの冷却風の除塵装置
JPH0740234U (ja) * 1993-12-27 1995-07-18 日立建機株式会社 低騒音型作業車両
JPH11240342A (ja) * 1998-02-24 1999-09-07 Kobe Steel Ltd 建設機械の防音構造
JP2008261338A (ja) * 2008-04-23 2008-10-30 Komatsu Ltd 車両の空気口の消音装置
JP2013170480A (ja) * 2012-02-20 2013-09-02 Nippon Sharyo Seizo Kaisha Ltd エンジン作業機
WO2014192172A1 (ja) * 2013-09-19 2014-12-04 株式会社小松製作所 作業車両

Also Published As

Publication number Publication date
WO2018109854A1 (ja) 2018-06-21
JPWO2018109854A1 (ja) 2018-12-13

Similar Documents

Publication Publication Date Title
CN105026199B (zh) 作业车辆
CN104302500B (zh) 作业车辆
TWI642565B (zh) 履帶式全地形車輛
JP6437353B2 (ja) コンバイン
JP2017038578A (ja) コンバイン
US20160031311A1 (en) Work vehicle
US20150265961A1 (en) System and Method for Particulate Matter Agglomeration
JP6494792B2 (ja) 作業車両、および作業車両の冷却装置
US8960345B2 (en) Transporter vehicle
JP5710848B1 (ja) 作業車両
US7431073B2 (en) Cooling system with active debris separation
JP6270485B2 (ja) コンバイン
JP2008088823A (ja) コンバイン
JP6416025B2 (ja) コンバイン
JP2016007964A (ja) 作業車輌の原動部
CN104093949A (zh) 作业车辆
JP2017038576A (ja) コンバイン
JP2008524570A (ja) ローラ付の試験台上で試験される自動車の内燃エンジンを冷却するための送風装置
JP6405123B2 (ja) 車両の整流装置
JP6952626B2 (ja) 作業車
WO2016012030A1 (en) Cooling arrangement on an agricultural vehicle
JP2017038577A (ja) コンバイン
JP2009036252A (ja) 目詰まり検出装置およびこれを備えた作業車両
JP2003314284A (ja) 産業車両のラジエータ清掃装置
JP2006112425A (ja) 前処理装置を備えた冷却装置

Legal Events

Date Code Title Description
A521 Request for written amendment filed

Free format text: JAPANESE INTERMEDIATE CODE: A523

Effective date: 20171013

A621 Written request for application examination

Free format text: JAPANESE INTERMEDIATE CODE: A621

Effective date: 20171013

A871 Explanation of circumstances concerning accelerated examination

Free format text: JAPANESE INTERMEDIATE CODE: A871

Effective date: 20171013

A975 Report on accelerated examination

Free format text: JAPANESE INTERMEDIATE CODE: A971005

Effective date: 20171024

A131 Notification of reasons for refusal

Free format text: JAPANESE INTERMEDIATE CODE: A131

Effective date: 20171107

A521 Request for written amendment filed

Free format text: JAPANESE INTERMEDIATE CODE: A523

Effective date: 20180105

A131 Notification of reasons for refusal

Free format text: JAPANESE INTERMEDIATE CODE: A131

Effective date: 20180403

A601 Written request for extension of time

Free format text: JAPANESE INTERMEDIATE CODE: A601

Effective date: 20180604

A131 Notification of reasons for refusal

Free format text: JAPANESE INTERMEDIATE CODE: A131

Effective date: 20181106

A521 Request for written amendment filed

Free format text: JAPANESE INTERMEDIATE CODE: A523

Effective date: 20181225

TRDD Decision of grant or rejection written
A01 Written decision to grant a patent or to grant a registration (utility model)

Free format text: JAPANESE INTERMEDIATE CODE: A01

Effective date: 20190219

A61 First payment of annual fees (during grant procedure)

Free format text: JAPANESE INTERMEDIATE CODE: A61

Effective date: 20190305

R150 Certificate of patent or registration of utility model

Ref document number: 6494792

Country of ref document: JP

Free format text: JAPANESE INTERMEDIATE CODE: R150

S531 Written request for registration of change of domicile

Free format text: JAPANESE INTERMEDIATE CODE: R313531

R350 Written notification of registration of transfer

Free format text: JAPANESE INTERMEDIATE CODE: R350

R250 Receipt of annual fees

Free format text: JAPANESE INTERMEDIATE CODE: R250

R250 Receipt of annual fees

Free format text: JAPANESE INTERMEDIATE CODE: R250

R250 Receipt of annual fees

Free format text: JAPANESE INTERMEDIATE CODE: R250

R250 Receipt of annual fees

Free format text: JAPANESE INTERMEDIATE CODE: R250

R250 Receipt of annual fees

Free format text: JAPANESE INTERMEDIATE CODE: R250