JP6467200B2 - 浴室排水口用ゴミ取り具 - Google Patents
浴室排水口用ゴミ取り具 Download PDFInfo
- Publication number
- JP6467200B2 JP6467200B2 JP2014233295A JP2014233295A JP6467200B2 JP 6467200 B2 JP6467200 B2 JP 6467200B2 JP 2014233295 A JP2014233295 A JP 2014233295A JP 2014233295 A JP2014233295 A JP 2014233295A JP 6467200 B2 JP6467200 B2 JP 6467200B2
- Authority
- JP
- Japan
- Prior art keywords
- drainage
- outlet
- bathroom
- eye plate
- chemical liquid
- Prior art date
- Legal status (The legal status is an assumption and is not a legal conclusion. Google has not performed a legal analysis and makes no representation as to the accuracy of the status listed.)
- Active
Links
- 239000010813 municipal solid waste Substances 0.000 title claims description 24
- 239000000126 substance Substances 0.000 claims description 84
- 230000002093 peripheral effect Effects 0.000 claims description 54
- 239000003814 drug Substances 0.000 claims description 53
- XLYOFNOQVPJJNP-UHFFFAOYSA-N water Substances O XLYOFNOQVPJJNP-UHFFFAOYSA-N 0.000 claims description 50
- 239000000428 dust Substances 0.000 claims description 46
- 229940079593 drug Drugs 0.000 claims description 25
- 239000007788 liquid Substances 0.000 claims description 25
- 238000009792 diffusion process Methods 0.000 claims description 18
- 239000007787 solid Substances 0.000 claims description 16
- 229940126589 solid medicine Drugs 0.000 claims description 14
- 239000006185 dispersion Substances 0.000 claims description 13
- 230000000813 microbial effect Effects 0.000 claims description 10
- 238000000034 method Methods 0.000 claims description 9
- 239000011973 solid acid Substances 0.000 claims description 9
- 239000002699 waste material Substances 0.000 claims description 9
- 239000002351 wastewater Substances 0.000 claims description 9
- 230000002401 inhibitory effect Effects 0.000 claims description 7
- 239000003966 growth inhibitor Substances 0.000 claims description 4
- 150000007524 organic acids Chemical class 0.000 claims description 3
- 239000000243 solution Substances 0.000 description 36
- -1 3-fluoro-4-hydroxyphenyl Chemical group 0.000 description 16
- 150000001875 compounds Chemical class 0.000 description 12
- 239000003242 anti bacterial agent Substances 0.000 description 10
- 239000004094 surface-active agent Substances 0.000 description 8
- 239000003795 chemical substances by application Substances 0.000 description 7
- KRKNYBCHXYNGOX-UHFFFAOYSA-N citric acid Chemical compound OC(=O)CC(O)(C(O)=O)CC(O)=O KRKNYBCHXYNGOX-UHFFFAOYSA-N 0.000 description 6
- 230000000694 effects Effects 0.000 description 6
- 239000000463 material Substances 0.000 description 6
- 244000005700 microbiome Species 0.000 description 6
- 239000005871 repellent Substances 0.000 description 6
- OFOBLEOULBTSOW-UHFFFAOYSA-N Propanedioic acid Natural products OC(=O)CC(O)=O OFOBLEOULBTSOW-UHFFFAOYSA-N 0.000 description 5
- CIWBSHSKHKDKBQ-JLAZNSOCSA-N Ascorbic acid Chemical compound OC[C@H](O)[C@H]1OC(=O)C(O)=C1O CIWBSHSKHKDKBQ-JLAZNSOCSA-N 0.000 description 4
- 241000894006 Bacteria Species 0.000 description 4
- VZCYOOQTPOCHFL-OWOJBTEDSA-N Fumaric acid Chemical compound OC(=O)\C=C\C(O)=O VZCYOOQTPOCHFL-OWOJBTEDSA-N 0.000 description 4
- AEMRFAOFKBGASW-UHFFFAOYSA-N Glycolic acid Chemical compound OCC(O)=O AEMRFAOFKBGASW-UHFFFAOYSA-N 0.000 description 4
- 229920003171 Poly (ethylene oxide) Polymers 0.000 description 4
- WNLRTRBMVRJNCN-UHFFFAOYSA-N adipic acid Chemical compound OC(=O)CCCCC(O)=O WNLRTRBMVRJNCN-UHFFFAOYSA-N 0.000 description 4
- 230000000844 anti-bacterial effect Effects 0.000 description 4
- 239000003429 antifungal agent Substances 0.000 description 4
- 229940121375 antifungal agent Drugs 0.000 description 4
- WPYMKLBDIGXBTP-UHFFFAOYSA-N benzoic acid Chemical compound OC(=O)C1=CC=CC=C1 WPYMKLBDIGXBTP-UHFFFAOYSA-N 0.000 description 4
- 235000014113 dietary fatty acids Nutrition 0.000 description 4
- 239000000194 fatty acid Substances 0.000 description 4
- 229930195729 fatty acid Natural products 0.000 description 4
- 239000008155 medical solution Substances 0.000 description 4
- 230000002940 repellent Effects 0.000 description 4
- MGSRCZKZVOBKFT-UHFFFAOYSA-N thymol Chemical compound CC(C)C1=CC=C(C)C=C1O MGSRCZKZVOBKFT-UHFFFAOYSA-N 0.000 description 4
- ZCYVEMRRCGMTRW-UHFFFAOYSA-N 7553-56-2 Chemical compound [I] ZCYVEMRRCGMTRW-UHFFFAOYSA-N 0.000 description 3
- 239000011230 binding agent Substances 0.000 description 3
- 239000011248 coating agent Substances 0.000 description 3
- 238000005260 corrosion Methods 0.000 description 3
- 230000007797 corrosion Effects 0.000 description 3
- 230000006866 deterioration Effects 0.000 description 3
- 239000003112 inhibitor Substances 0.000 description 3
- 239000011630 iodine Substances 0.000 description 3
- 229910052740 iodine Inorganic materials 0.000 description 3
- OFBQJSOFQDEBGM-UHFFFAOYSA-N n-pentane Natural products CCCCC OFBQJSOFQDEBGM-UHFFFAOYSA-N 0.000 description 3
- 230000035699 permeability Effects 0.000 description 3
- 239000000546 pharmaceutical excipient Substances 0.000 description 3
- 229920005989 resin Polymers 0.000 description 3
- 239000011347 resin Substances 0.000 description 3
- VZCYOOQTPOCHFL-UHFFFAOYSA-N trans-butenedioic acid Natural products OC(=O)C=CC(O)=O VZCYOOQTPOCHFL-UHFFFAOYSA-N 0.000 description 3
- LNAZSHAWQACDHT-XIYTZBAFSA-N (2r,3r,4s,5r,6s)-4,5-dimethoxy-2-(methoxymethyl)-3-[(2s,3r,4s,5r,6r)-3,4,5-trimethoxy-6-(methoxymethyl)oxan-2-yl]oxy-6-[(2r,3r,4s,5r,6r)-4,5,6-trimethoxy-2-(methoxymethyl)oxan-3-yl]oxyoxane Chemical compound CO[C@@H]1[C@@H](OC)[C@H](OC)[C@@H](COC)O[C@H]1O[C@H]1[C@H](OC)[C@@H](OC)[C@H](O[C@H]2[C@@H]([C@@H](OC)[C@H](OC)O[C@@H]2COC)OC)O[C@@H]1COC LNAZSHAWQACDHT-XIYTZBAFSA-N 0.000 description 2
- TUMCWFMHZOUPDA-UHFFFAOYSA-N 2-ethylsulfanyl-1,3-benzothiazol-6-amine Chemical compound C1=C(N)C=C2SC(SCC)=NC2=C1 TUMCWFMHZOUPDA-UHFFFAOYSA-N 0.000 description 2
- 244000215068 Acacia senegal Species 0.000 description 2
- GUBGYTABKSRVRQ-XLOQQCSPSA-N Alpha-Lactose Chemical compound O[C@@H]1[C@@H](O)[C@@H](O)[C@@H](CO)O[C@H]1O[C@@H]1[C@@H](CO)O[C@H](O)[C@H](O)[C@H]1O GUBGYTABKSRVRQ-XLOQQCSPSA-N 0.000 description 2
- NLXLAEXVIDQMFP-UHFFFAOYSA-N Ammonia chloride Chemical compound [NH4+].[Cl-] NLXLAEXVIDQMFP-UHFFFAOYSA-N 0.000 description 2
- 239000005711 Benzoic acid Substances 0.000 description 2
- QFOHBWFCKVYLES-UHFFFAOYSA-N Butylparaben Chemical compound CCCCOC(=O)C1=CC=C(O)C=C1 QFOHBWFCKVYLES-UHFFFAOYSA-N 0.000 description 2
- 229920002261 Corn starch Polymers 0.000 description 2
- GLZPCOQZEFWAFX-UHFFFAOYSA-N Geraniol Chemical compound CC(C)=CCCC(C)=CCO GLZPCOQZEFWAFX-UHFFFAOYSA-N 0.000 description 2
- 229920000084 Gum arabic Polymers 0.000 description 2
- 229920002153 Hydroxypropyl cellulose Polymers 0.000 description 2
- GUBGYTABKSRVRQ-QKKXKWKRSA-N Lactose Natural products OC[C@H]1O[C@@H](O[C@H]2[C@H](O)[C@@H](O)C(O)O[C@@H]2CO)[C@H](O)[C@@H](O)[C@H]1O GUBGYTABKSRVRQ-QKKXKWKRSA-N 0.000 description 2
- CSNNHWWHGAXBCP-UHFFFAOYSA-L Magnesium sulfate Chemical compound [Mg+2].[O-][S+2]([O-])([O-])[O-] CSNNHWWHGAXBCP-UHFFFAOYSA-L 0.000 description 2
- SFJHZJVEOVOYGR-UHFFFAOYSA-L O.O.O.O.O.O.O.O.[Mg++].OP([O-])([O-])=O Chemical compound O.O.O.O.O.O.O.O.[Mg++].OP([O-])([O-])=O SFJHZJVEOVOYGR-UHFFFAOYSA-L 0.000 description 2
- 239000004372 Polyvinyl alcohol Substances 0.000 description 2
- ATUOYWHBWRKTHZ-UHFFFAOYSA-N Propane Chemical compound CCC ATUOYWHBWRKTHZ-UHFFFAOYSA-N 0.000 description 2
- VYPSYNLAJGMNEJ-UHFFFAOYSA-N Silicium dioxide Chemical compound O=[Si]=O VYPSYNLAJGMNEJ-UHFFFAOYSA-N 0.000 description 2
- FAPWRFPIFSIZLT-UHFFFAOYSA-M Sodium chloride Chemical compound [Na+].[Cl-] FAPWRFPIFSIZLT-UHFFFAOYSA-M 0.000 description 2
- HEMHJVSKTPXQMS-UHFFFAOYSA-M Sodium hydroxide Chemical compound [OH-].[Na+] HEMHJVSKTPXQMS-UHFFFAOYSA-M 0.000 description 2
- KDYFGRWQOYBRFD-UHFFFAOYSA-N Succinic acid Natural products OC(=O)CCC(O)=O KDYFGRWQOYBRFD-UHFFFAOYSA-N 0.000 description 2
- 229930006000 Sucrose Natural products 0.000 description 2
- 235000010489 acacia gum Nutrition 0.000 description 2
- 239000000205 acacia gum Substances 0.000 description 2
- 239000004480 active ingredient Substances 0.000 description 2
- 239000001361 adipic acid Substances 0.000 description 2
- 235000011037 adipic acid Nutrition 0.000 description 2
- 235000010323 ascorbic acid Nutrition 0.000 description 2
- 239000011668 ascorbic acid Substances 0.000 description 2
- 229960005070 ascorbic acid Drugs 0.000 description 2
- 235000010233 benzoic acid Nutrition 0.000 description 2
- FUWUEFKEXZQKKA-UHFFFAOYSA-N beta-thujaplicin Chemical compound CC(C)C=1C=CC=C(O)C(=O)C=1 FUWUEFKEXZQKKA-UHFFFAOYSA-N 0.000 description 2
- LLEMOWNGBBNAJR-UHFFFAOYSA-N biphenyl-2-ol Chemical compound OC1=CC=CC=C1C1=CC=CC=C1 LLEMOWNGBBNAJR-UHFFFAOYSA-N 0.000 description 2
- KDYFGRWQOYBRFD-NUQCWPJISA-N butanedioic acid Chemical compound O[14C](=O)CC[14C](O)=O KDYFGRWQOYBRFD-NUQCWPJISA-N 0.000 description 2
- XAAHAAMILDNBPS-UHFFFAOYSA-L calcium hydrogenphosphate dihydrate Chemical compound O.O.[Ca+2].OP([O-])([O-])=O XAAHAAMILDNBPS-UHFFFAOYSA-L 0.000 description 2
- 239000001506 calcium phosphate Substances 0.000 description 2
- ZOMBKNNSYQHRCA-UHFFFAOYSA-J calcium sulfate hemihydrate Chemical compound O.[Ca+2].[Ca+2].[O-]S([O-])(=O)=O.[O-]S([O-])(=O)=O ZOMBKNNSYQHRCA-UHFFFAOYSA-J 0.000 description 2
- 239000001768 carboxy methyl cellulose Substances 0.000 description 2
- 239000001913 cellulose Substances 0.000 description 2
- NEHNMFOYXAPHSD-UHFFFAOYSA-N citronellal Chemical compound O=CCC(C)CCC=C(C)C NEHNMFOYXAPHSD-UHFFFAOYSA-N 0.000 description 2
- QMVPMAAFGQKVCJ-UHFFFAOYSA-N citronellol Chemical compound OCCC(C)CCC=C(C)C QMVPMAAFGQKVCJ-UHFFFAOYSA-N 0.000 description 2
- 238000000576 coating method Methods 0.000 description 2
- 239000008120 corn starch Substances 0.000 description 2
- KXGVEGMKQFWNSR-UHFFFAOYSA-N deoxycholic acid Natural products C1CC2CC(O)CCC2(C)C2C1C1CCC(C(CCC(O)=O)C)C1(C)C(O)C2 KXGVEGMKQFWNSR-UHFFFAOYSA-N 0.000 description 2
- 235000019700 dicalcium phosphate Nutrition 0.000 description 2
- 238000004090 dissolution Methods 0.000 description 2
- NUVBSKCKDOMJSU-UHFFFAOYSA-N ethylparaben Chemical compound CCOC(=O)C1=CC=C(O)C=C1 NUVBSKCKDOMJSU-UHFFFAOYSA-N 0.000 description 2
- 239000001530 fumaric acid Substances 0.000 description 2
- 235000011087 fumaric acid Nutrition 0.000 description 2
- 229940093915 gynecological organic acid Drugs 0.000 description 2
- 125000004464 hydroxyphenyl group Chemical group 0.000 description 2
- 239000001863 hydroxypropyl cellulose Substances 0.000 description 2
- 235000010977 hydroxypropyl cellulose Nutrition 0.000 description 2
- QQVIHTHCMHWDBS-UHFFFAOYSA-N isophthalic acid Chemical compound OC(=O)C1=CC=CC(C(O)=O)=C1 QQVIHTHCMHWDBS-UHFFFAOYSA-N 0.000 description 2
- 239000008101 lactose Substances 0.000 description 2
- CDOSHBSSFJOMGT-UHFFFAOYSA-N linalool Chemical compound CC(C)=CCCC(C)(O)C=C CDOSHBSSFJOMGT-UHFFFAOYSA-N 0.000 description 2
- 239000000314 lubricant Substances 0.000 description 2
- HQKMJHAJHXVSDF-UHFFFAOYSA-L magnesium stearate Chemical compound [Mg+2].CCCCCCCCCCCCCCCCCC([O-])=O.CCCCCCCCCCCCCCCCCC([O-])=O HQKMJHAJHXVSDF-UHFFFAOYSA-L 0.000 description 2
- OKIWLDVQGKRUNR-UHFFFAOYSA-L magnesium;hydrogen phosphate;trihydrate Chemical compound O.O.O.[Mg+2].OP([O-])([O-])=O OKIWLDVQGKRUNR-UHFFFAOYSA-L 0.000 description 2
- BJEPYKJPYRNKOW-UHFFFAOYSA-N malic acid Chemical compound OC(=O)C(O)CC(O)=O BJEPYKJPYRNKOW-UHFFFAOYSA-N 0.000 description 2
- 229910052751 metal Inorganic materials 0.000 description 2
- 239000002184 metal Substances 0.000 description 2
- 229920000609 methyl cellulose Polymers 0.000 description 2
- 239000001923 methylcellulose Substances 0.000 description 2
- 235000010981 methylcellulose Nutrition 0.000 description 2
- JWZXKXIUSSIAMR-UHFFFAOYSA-N methylene bis(thiocyanate) Chemical compound N#CSCSC#N JWZXKXIUSSIAMR-UHFFFAOYSA-N 0.000 description 2
- 238000002156 mixing Methods 0.000 description 2
- 239000004745 nonwoven fabric Substances 0.000 description 2
- 235000015097 nutrients Nutrition 0.000 description 2
- 235000005985 organic acids Nutrition 0.000 description 2
- 239000007800 oxidant agent Substances 0.000 description 2
- 239000000123 paper Substances 0.000 description 2
- 239000002245 particle Substances 0.000 description 2
- XNGIFLGASWRNHJ-UHFFFAOYSA-N phthalic acid Chemical compound OC(=O)C1=CC=CC=C1C(O)=O XNGIFLGASWRNHJ-UHFFFAOYSA-N 0.000 description 2
- 229920002451 polyvinyl alcohol Polymers 0.000 description 2
- IFIDXBCRSWOUSB-UHFFFAOYSA-N potassium;1,3-dichloro-1,3,5-triazinane-2,4,6-trione Chemical compound [K+].ClN1C(=O)NC(=O)N(Cl)C1=O IFIDXBCRSWOUSB-UHFFFAOYSA-N 0.000 description 2
- 239000000843 powder Substances 0.000 description 2
- 238000011084 recovery Methods 0.000 description 2
- YGSDEFSMJLZEOE-UHFFFAOYSA-N salicylic acid Chemical compound OC(=O)C1=CC=CC=C1O YGSDEFSMJLZEOE-UHFFFAOYSA-N 0.000 description 2
- 235000003441 saturated fatty acids Nutrition 0.000 description 2
- 239000000344 soap Substances 0.000 description 2
- 235000002639 sodium chloride Nutrition 0.000 description 2
- 238000001228 spectrum Methods 0.000 description 2
- 239000005720 sucrose Substances 0.000 description 2
- JOXIMZWYDAKGHI-UHFFFAOYSA-N toluene-4-sulfonic acid Chemical compound CC1=CC=C(S(O)(=O)=O)C=C1 JOXIMZWYDAKGHI-UHFFFAOYSA-N 0.000 description 2
- QORWJWZARLRLPR-UHFFFAOYSA-H tricalcium bis(phosphate) Chemical compound [Ca+2].[Ca+2].[Ca+2].[O-]P([O-])([O-])=O.[O-]P([O-])([O-])=O QORWJWZARLRLPR-UHFFFAOYSA-H 0.000 description 2
- 229940078499 tricalcium phosphate Drugs 0.000 description 2
- 235000019731 tricalcium phosphate Nutrition 0.000 description 2
- 229910000391 tricalcium phosphate Inorganic materials 0.000 description 2
- 239000000341 volatile oil Substances 0.000 description 2
- NOOLISFMXDJSKH-UTLUCORTSA-N (+)-Neomenthol Chemical compound CC(C)[C@@H]1CC[C@@H](C)C[C@@H]1O NOOLISFMXDJSKH-UTLUCORTSA-N 0.000 description 1
- DTGKSKDOIYIVQL-WEDXCCLWSA-N (+)-borneol Chemical compound C1C[C@@]2(C)[C@@H](O)C[C@@H]1C2(C)C DTGKSKDOIYIVQL-WEDXCCLWSA-N 0.000 description 1
- REPVLJRCJUVQFA-UHFFFAOYSA-N (-)-isopinocampheol Natural products C1C(O)C(C)C2C(C)(C)C1C2 REPVLJRCJUVQFA-UHFFFAOYSA-N 0.000 description 1
- 239000001490 (3R)-3,7-dimethylocta-1,6-dien-3-ol Substances 0.000 description 1
- BHQCQFFYRZLCQQ-UHFFFAOYSA-N (3alpha,5alpha,7alpha,12alpha)-3,7,12-trihydroxy-cholan-24-oic acid Natural products OC1CC2CC(O)CCC2(C)C2C1C1CCC(C(CCC(O)=O)C)C1(C)C(O)C2 BHQCQFFYRZLCQQ-UHFFFAOYSA-N 0.000 description 1
- QMVPMAAFGQKVCJ-SNVBAGLBSA-N (R)-(+)-citronellol Natural products OCC[C@H](C)CCC=C(C)C QMVPMAAFGQKVCJ-SNVBAGLBSA-N 0.000 description 1
- CDOSHBSSFJOMGT-JTQLQIEISA-N (R)-linalool Natural products CC(C)=CCC[C@@](C)(O)C=C CDOSHBSSFJOMGT-JTQLQIEISA-N 0.000 description 1
- PPTXVXKCQZKFBN-UHFFFAOYSA-N (S)-(-)-1,1'-Bi-2-naphthol Chemical compound C1=CC=C2C(C3=C4C=CC=CC4=CC=C3O)=C(O)C=CC2=C1 PPTXVXKCQZKFBN-UHFFFAOYSA-N 0.000 description 1
- MFEWNFVBWPABCX-UHFFFAOYSA-N 1,1,2,2-tetraphenylethane-1,2-diol Chemical compound C=1C=CC=CC=1C(C(O)(C=1C=CC=CC=1)C=1C=CC=CC=1)(O)C1=CC=CC=C1 MFEWNFVBWPABCX-UHFFFAOYSA-N 0.000 description 1
- CPXHDGJIYPGMMZ-UHFFFAOYSA-N 1,1,4,4-tetraphenylbut-2-yne-1,4-diol Chemical compound C=1C=CC=CC=1C(C=1C=CC=CC=1)(O)C#CC(O)(C=1C=CC=CC=1)C1=CC=CC=C1 CPXHDGJIYPGMMZ-UHFFFAOYSA-N 0.000 description 1
- YDMVFEUUJCFXNW-UHFFFAOYSA-N 1,1,6,6-tetrakis(2,4-dimethylphenyl)hexa-2,4-diyne-1,6-diol Chemical compound CC1=CC(C)=CC=C1C(O)(C=1C(=CC(C)=CC=1)C)C#CC#CC(O)(C=1C(=CC(C)=CC=1)C)C1=CC=C(C)C=C1C YDMVFEUUJCFXNW-UHFFFAOYSA-N 0.000 description 1
- WXTPRAZNOXQAFY-UHFFFAOYSA-N 1,1,6,6-tetraphenylhexa-2,4-diyne-1,6-diol Chemical compound C=1C=CC=CC=1C(C=1C=CC=CC=1)(O)C#CC#CC(O)(C=1C=CC=CC=1)C1=CC=CC=C1 WXTPRAZNOXQAFY-UHFFFAOYSA-N 0.000 description 1
- GLQWGVMBEKNKTP-UHFFFAOYSA-N 1,1-bis(2,4-dimethylphenyl)prop-2-yn-1-ol Chemical compound CC1=CC(C)=CC=C1C(O)(C#C)C1=CC=C(C)C=C1C GLQWGVMBEKNKTP-UHFFFAOYSA-N 0.000 description 1
- VRPLZTMSEURZKM-UHFFFAOYSA-N 1,1-dibromoethanol Chemical compound CC(O)(Br)Br VRPLZTMSEURZKM-UHFFFAOYSA-N 0.000 description 1
- YRIZYWQGELRKNT-UHFFFAOYSA-N 1,3,5-trichloro-1,3,5-triazinane-2,4,6-trione Chemical compound ClN1C(=O)N(Cl)C(=O)N(Cl)C1=O YRIZYWQGELRKNT-UHFFFAOYSA-N 0.000 description 1
- KEQGZUUPPQEDPF-UHFFFAOYSA-N 1,3-dichloro-5,5-dimethylimidazolidine-2,4-dione Chemical compound CC1(C)N(Cl)C(=O)N(Cl)C1=O KEQGZUUPPQEDPF-UHFFFAOYSA-N 0.000 description 1
- CJETXAUUVYDHTN-UHFFFAOYSA-N 1,6-bis(2-chlorophenyl)-1,6-diphenylhexa-2,4-diyne-1,6-diol Chemical compound C=1C=CC=CC=1C(C=1C(=CC=CC=1)Cl)(O)C#CC#CC(O)(C=1C(=CC=CC=1)Cl)C1=CC=CC=C1 CJETXAUUVYDHTN-UHFFFAOYSA-N 0.000 description 1
- KDGPZTWDDCSULA-UHFFFAOYSA-N 1-(2,3-diiodo-4-methylphenyl)sulfonyl-2,3-diiodo-4-methylbenzene Chemical compound IC1=C(I)C(C)=CC=C1S(=O)(=O)C1=CC=C(C)C(I)=C1I KDGPZTWDDCSULA-UHFFFAOYSA-N 0.000 description 1
- OQXBPCPZNLQMTK-UHFFFAOYSA-N 1-decylpyridin-1-ium-4-carboxamide;bromide Chemical compound [Br-].CCCCCCCCCC[N+]1=CC=C(C(N)=O)C=C1 OQXBPCPZNLQMTK-UHFFFAOYSA-N 0.000 description 1
- SPFVNQBOHYXSMM-UHFFFAOYSA-M 1-decylpyridin-1-ium;bromide Chemical compound [Br-].CCCCCCCCCC[N+]1=CC=CC=C1 SPFVNQBOHYXSMM-UHFFFAOYSA-M 0.000 description 1
- IXPNQXFRVYWDDI-UHFFFAOYSA-N 1-methyl-2,4-dioxo-1,3-diazinane-5-carboximidamide Chemical compound CN1CC(C(N)=N)C(=O)NC1=O IXPNQXFRVYWDDI-UHFFFAOYSA-N 0.000 description 1
- KGRVJHAUYBGFFP-UHFFFAOYSA-N 2,2'-Methylenebis(4-methyl-6-tert-butylphenol) Chemical compound CC(C)(C)C1=CC(C)=CC(CC=2C(=C(C=C(C)C=2)C(C)(C)C)O)=C1O KGRVJHAUYBGFFP-UHFFFAOYSA-N 0.000 description 1
- FTGCTVWKHSDTEQ-UHFFFAOYSA-N 2,5-bis(2,4-dimethylphenyl)benzene-1,4-diol Chemical compound CC1=CC(C)=CC=C1C1=CC(O)=C(C=2C(=CC(C)=CC=2)C)C=C1O FTGCTVWKHSDTEQ-UHFFFAOYSA-N 0.000 description 1
- JZODKRWQWUWGCD-UHFFFAOYSA-N 2,5-di-tert-butylbenzene-1,4-diol Chemical compound CC(C)(C)C1=CC(O)=C(C(C)(C)C)C=C1O JZODKRWQWUWGCD-UHFFFAOYSA-N 0.000 description 1
- ZJUVPYQIOGVRKO-UHFFFAOYSA-N 2,6-dimethyl-4-[1,2,2-tris(4-hydroxy-3,5-dimethylphenyl)ethyl]phenol Chemical compound CC1=C(O)C(C)=CC(C(C(C=2C=C(C)C(O)=C(C)C=2)C=2C=C(C)C(O)=C(C)C=2)C=2C=C(C)C(O)=C(C)C=2)=C1 ZJUVPYQIOGVRKO-UHFFFAOYSA-N 0.000 description 1
- WNIAXWJGMRGLTL-UHFFFAOYSA-N 2,6-dimethyl-4-[1,3,3-tris(4-hydroxy-3,5-dimethylphenyl)propyl]phenol Chemical compound CC1=C(O)C(C)=CC(C(CC(C=2C=C(C)C(O)=C(C)C=2)C=2C=C(C)C(O)=C(C)C=2)C=2C=C(C)C(O)=C(C)C=2)=C1 WNIAXWJGMRGLTL-UHFFFAOYSA-N 0.000 description 1
- WIMVSGXYSQUBLG-UHFFFAOYSA-N 2,6-dimethyl-4-[1,5,5-tris(4-hydroxy-3,5-dimethylphenyl)pentyl]phenol Chemical compound CC1=C(O)C(C)=CC(C(CCCC(C=2C=C(C)C(O)=C(C)C=2)C=2C=C(C)C(O)=C(C)C=2)C=2C=C(C)C(O)=C(C)C=2)=C1 WIMVSGXYSQUBLG-UHFFFAOYSA-N 0.000 description 1
- DRIDSOIAARBYOS-UHFFFAOYSA-N 2-(1-iodoethyl)pent-4-ynylcarbamic acid Chemical compound C#CCC(C(I)C)CNC(O)=O DRIDSOIAARBYOS-UHFFFAOYSA-N 0.000 description 1
- ROKSAUSPJGWCSM-UHFFFAOYSA-N 2-(7,7-dimethyl-4-bicyclo[3.1.1]hept-3-enyl)ethanol Chemical compound C1C2C(C)(C)C1CC=C2CCO ROKSAUSPJGWCSM-UHFFFAOYSA-N 0.000 description 1
- LJYOFQHKEWTQRH-UHFFFAOYSA-N 2-bromo-1-(4-hydroxyphenyl)ethanone Chemical compound OC1=CC=C(C(=O)CBr)C=C1 LJYOFQHKEWTQRH-UHFFFAOYSA-N 0.000 description 1
- DHVLDKHFGIVEIP-UHFFFAOYSA-N 2-bromo-2-(bromomethyl)pentanedinitrile Chemical compound BrCC(Br)(C#N)CCC#N DHVLDKHFGIVEIP-UHFFFAOYSA-N 0.000 description 1
- XOOGXYJBKUODON-UHFFFAOYSA-N 2-chloro-4-[1,2,2-tris(3-chloro-4-hydroxyphenyl)ethyl]phenol Chemical compound C1=C(Cl)C(O)=CC=C1C(C=1C=C(Cl)C(O)=CC=1)C(C=1C=C(Cl)C(O)=CC=1)C1=CC=C(O)C(Cl)=C1 XOOGXYJBKUODON-UHFFFAOYSA-N 0.000 description 1
- GREQALIASLONRS-UHFFFAOYSA-N 2-chloro-4-[1,4,4-tris(3-chloro-4-hydroxyphenyl)butyl]phenol Chemical compound C1=C(Cl)C(O)=CC=C1C(C=1C=C(Cl)C(O)=CC=1)CCC(C=1C=C(Cl)C(O)=CC=1)C1=CC=C(O)C(Cl)=C1 GREQALIASLONRS-UHFFFAOYSA-N 0.000 description 1
- YQLZFPGYYLQKDF-UHFFFAOYSA-N 2-chloro-4-[1,5,5-tris(3-chloro-4-hydroxyphenyl)pentyl]phenol Chemical compound C1=C(Cl)C(O)=CC=C1C(C=1C=C(Cl)C(O)=CC=1)CCCC(C=1C=C(Cl)C(O)=CC=1)C1=CC=C(O)C(Cl)=C1 YQLZFPGYYLQKDF-UHFFFAOYSA-N 0.000 description 1
- HMGOAVXJDKBKLH-UHFFFAOYSA-N 2-fluoro-4-[1,3,3-tris(3-fluoro-4-hydroxyphenyl)propyl]phenol Chemical compound C1=C(F)C(O)=CC=C1C(C=1C=C(F)C(O)=CC=1)CC(C=1C=C(F)C(O)=CC=1)C1=CC=C(O)C(F)=C1 HMGOAVXJDKBKLH-UHFFFAOYSA-N 0.000 description 1
- SHFQJQOYDWQZOH-UHFFFAOYSA-N 2-fluoro-4-[1,4,4-tris(3-fluoro-4-hydroxyphenyl)butyl]phenol Chemical compound C1=C(F)C(O)=CC=C1C(C=1C=C(F)C(O)=CC=1)CCC(C=1C=C(F)C(O)=CC=1)C1=CC=C(O)C(F)=C1 SHFQJQOYDWQZOH-UHFFFAOYSA-N 0.000 description 1
- WGQWETRLVBELGD-UHFFFAOYSA-N 2-fluoro-4-[1,5,5-tris(3-fluoro-4-hydroxyphenyl)pentyl]phenol Chemical compound C1=C(F)C(O)=CC=C1C(C=1C=C(F)C(O)=CC=1)CCCC(C=1C=C(F)C(O)=CC=1)C1=CC=C(O)C(F)=C1 WGQWETRLVBELGD-UHFFFAOYSA-N 0.000 description 1
- WBJFPPSSWRRWSW-UHFFFAOYSA-N 2-methoxy-4-[1,2,2-tris(4-hydroxy-3-methoxyphenyl)ethyl]phenol Chemical compound C1=C(O)C(OC)=CC(C(C(C=2C=C(OC)C(O)=CC=2)C=2C=C(OC)C(O)=CC=2)C=2C=C(OC)C(O)=CC=2)=C1 WBJFPPSSWRRWSW-UHFFFAOYSA-N 0.000 description 1
- ZVKRVZMZVKCYIX-UHFFFAOYSA-N 2-methoxy-4-[1,3,3-tris(4-hydroxy-3-methoxyphenyl)propyl]phenol Chemical compound C1=C(O)C(OC)=CC(C(CC(C=2C=C(OC)C(O)=CC=2)C=2C=C(OC)C(O)=CC=2)C=2C=C(OC)C(O)=CC=2)=C1 ZVKRVZMZVKCYIX-UHFFFAOYSA-N 0.000 description 1
- ROXZZNNLJABQAF-UHFFFAOYSA-N 2-methoxy-4-[1,4,4-tris(4-hydroxy-3-methoxyphenyl)butyl]phenol Chemical compound C1=C(O)C(OC)=CC(C(CCC(C=2C=C(OC)C(O)=CC=2)C=2C=C(OC)C(O)=CC=2)C=2C=C(OC)C(O)=CC=2)=C1 ROXZZNNLJABQAF-UHFFFAOYSA-N 0.000 description 1
- WWILHZQYNPQALT-UHFFFAOYSA-N 2-methyl-2-morpholin-4-ylpropanal Chemical compound O=CC(C)(C)N1CCOCC1 WWILHZQYNPQALT-UHFFFAOYSA-N 0.000 description 1
- SOEZXSYRGLWFQV-UHFFFAOYSA-N 2-methyl-4-[1,2,2-tris(4-hydroxy-3-methylphenyl)ethyl]phenol Chemical compound C1=C(O)C(C)=CC(C(C(C=2C=C(C)C(O)=CC=2)C=2C=C(C)C(O)=CC=2)C=2C=C(C)C(O)=CC=2)=C1 SOEZXSYRGLWFQV-UHFFFAOYSA-N 0.000 description 1
- MFUJQTDIQREMHF-UHFFFAOYSA-N 2-methyl-4-[1,3,3-tris(4-hydroxy-3-methylphenyl)propyl]phenol Chemical compound C1=C(O)C(C)=CC(C(CC(C=2C=C(C)C(O)=CC=2)C=2C=C(C)C(O)=CC=2)C=2C=C(C)C(O)=CC=2)=C1 MFUJQTDIQREMHF-UHFFFAOYSA-N 0.000 description 1
- KPPUOLKBICMVMK-UHFFFAOYSA-N 2-methyl-4-[1,4,4-tris(4-hydroxy-3-methylphenyl)butyl]phenol Chemical compound C1=C(O)C(C)=CC(C(CCC(C=2C=C(C)C(O)=CC=2)C=2C=C(C)C(O)=CC=2)C=2C=C(C)C(O)=CC=2)=C1 KPPUOLKBICMVMK-UHFFFAOYSA-N 0.000 description 1
- SBWNYSPMCCCSOS-UHFFFAOYSA-N 2-methyl-4-[1,5,5-tris(4-hydroxy-3-methylphenyl)pentyl]phenol Chemical compound C1=C(O)C(C)=CC(C(CCCC(C=2C=C(C)C(O)=CC=2)C=2C=C(C)C(O)=CC=2)C=2C=C(C)C(O)=CC=2)=C1 SBWNYSPMCCCSOS-UHFFFAOYSA-N 0.000 description 1
- 229940100555 2-methyl-4-isothiazolin-3-one Drugs 0.000 description 1
- PFANXOISJYKQRP-UHFFFAOYSA-N 2-tert-butyl-4-[1-(5-tert-butyl-4-hydroxy-2-methylphenyl)butyl]-5-methylphenol Chemical compound C=1C(C(C)(C)C)=C(O)C=C(C)C=1C(CCC)C1=CC(C(C)(C)C)=C(O)C=C1C PFANXOISJYKQRP-UHFFFAOYSA-N 0.000 description 1
- PRNCMAKCNVRZFX-UHFFFAOYSA-N 3,7-dimethyloctan-1-ol Chemical compound CC(C)CCCC(C)CCO PRNCMAKCNVRZFX-UHFFFAOYSA-N 0.000 description 1
- ZIZQOIFYBUUDKK-UHFFFAOYSA-N 3-(benzenesulfonyl)-2-chloroprop-2-enenitrile Chemical compound N#CC(Cl)=CS(=O)(=O)C1=CC=CC=C1 ZIZQOIFYBUUDKK-UHFFFAOYSA-N 0.000 description 1
- IEOGTASOGSJWCF-UHFFFAOYSA-N 3-iodo-2-prop-2-ynyl-1H-pyrrole Chemical class IC1=C(NC=C1)CC#C IEOGTASOGSJWCF-UHFFFAOYSA-N 0.000 description 1
- VPWNQTHUCYMVMZ-UHFFFAOYSA-N 4,4'-sulfonyldiphenol Chemical compound C1=CC(O)=CC=C1S(=O)(=O)C1=CC=C(O)C=C1 VPWNQTHUCYMVMZ-UHFFFAOYSA-N 0.000 description 1
- YMVICGPFTOKTIL-UHFFFAOYSA-N 4,5-dichlorodithiolan-3-one Chemical compound ClC1SSC(=O)C1Cl YMVICGPFTOKTIL-UHFFFAOYSA-N 0.000 description 1
- HDPBBNNDDQOWPJ-UHFFFAOYSA-N 4-[1,2,2-tris(4-hydroxyphenyl)ethyl]phenol Chemical compound C1=CC(O)=CC=C1C(C=1C=CC(O)=CC=1)C(C=1C=CC(O)=CC=1)C1=CC=C(O)C=C1 HDPBBNNDDQOWPJ-UHFFFAOYSA-N 0.000 description 1
- ZQXFZEXUBIDCTK-UHFFFAOYSA-N 4-[1,3,3-tris(4-hydroxyphenyl)propyl]phenol Chemical compound C1=CC(O)=CC=C1C(C=1C=CC(O)=CC=1)CC(C=1C=CC(O)=CC=1)C1=CC=C(O)C=C1 ZQXFZEXUBIDCTK-UHFFFAOYSA-N 0.000 description 1
- QNDZDQBPIDLSGK-UHFFFAOYSA-N 4-[1,4,4-tris(4-hydroxyphenyl)butyl]phenol Chemical compound C1=CC(O)=CC=C1C(C=1C=CC(O)=CC=1)CCC(C=1C=CC(O)=CC=1)C1=CC=C(O)C=C1 QNDZDQBPIDLSGK-UHFFFAOYSA-N 0.000 description 1
- UGVGVFISEFOCLW-UHFFFAOYSA-N 4-[1,5,5-tris(4-hydroxyphenyl)pentyl]phenol Chemical compound C1=CC(O)=CC=C1C(C=1C=CC(O)=CC=1)CCCC(C=1C=CC(O)=CC=1)C1=CC=C(O)C=C1 UGVGVFISEFOCLW-UHFFFAOYSA-N 0.000 description 1
- OSDLLIBGSJNGJE-UHFFFAOYSA-N 4-chloro-3,5-dimethylphenol Chemical compound CC1=CC(O)=CC(C)=C1Cl OSDLLIBGSJNGJE-UHFFFAOYSA-N 0.000 description 1
- AHZPRHAWKSMJTQ-UHFFFAOYSA-N 4-chloro-4-(1-chloro-4-hydroxycyclohexa-2,4-dien-1-yl)sulfanylcyclohexa-1,5-dien-1-ol Chemical compound C1=CC(O)=CCC1(Cl)SC1(Cl)C=CC(O)=CC1 AHZPRHAWKSMJTQ-UHFFFAOYSA-N 0.000 description 1
- 229940100484 5-chloro-2-methyl-4-isothiazolin-3-one Drugs 0.000 description 1
- CUMPQIIAQMODFR-UHFFFAOYSA-N 5-chloro-4-phenyldithiolan-3-one Chemical compound ClC1SSC(=O)C1C1=CC=CC=C1 CUMPQIIAQMODFR-UHFFFAOYSA-N 0.000 description 1
- OSEHBGZOVPNBNK-UHFFFAOYSA-N 9,10-bis(4-methylphenyl)anthracene-9,10-diol Chemical compound C1=CC(C)=CC=C1C1(O)C2=CC=CC=C2C(O)(C=2C=CC(C)=CC=2)C2=CC=CC=C21 OSEHBGZOVPNBNK-UHFFFAOYSA-N 0.000 description 1
- RYFIDGIWTNANMO-UHFFFAOYSA-N 9,10-diphenylanthracene-9,10-diol Chemical compound C12=CC=CC=C2C(O)(C=2C=CC=CC=2)C2=CC=CC=C2C1(O)C1=CC=CC=C1 RYFIDGIWTNANMO-UHFFFAOYSA-N 0.000 description 1
- SDDLEVPIDBLVHC-UHFFFAOYSA-N Bisphenol Z Chemical compound C1=CC(O)=CC=C1C1(C=2C=CC(O)=CC=2)CCCCC1 SDDLEVPIDBLVHC-UHFFFAOYSA-N 0.000 description 1
- LVDKZNITIUWNER-UHFFFAOYSA-N Bronopol Chemical compound OCC(Br)(CO)[N+]([O-])=O LVDKZNITIUWNER-UHFFFAOYSA-N 0.000 description 1
- OYPRJOBELJOOCE-UHFFFAOYSA-N Calcium Chemical compound [Ca] OYPRJOBELJOOCE-UHFFFAOYSA-N 0.000 description 1
- ZKQDCIXGCQPQNV-UHFFFAOYSA-N Calcium hypochlorite Chemical compound [Ca+2].Cl[O-].Cl[O-] ZKQDCIXGCQPQNV-UHFFFAOYSA-N 0.000 description 1
- 229920002134 Carboxymethyl cellulose Polymers 0.000 description 1
- WJLVQTJZDCGNJN-UHFFFAOYSA-N Chlorhexidine hydrochloride Chemical compound Cl.Cl.C=1C=C(Cl)C=CC=1NC(N)=NC(N)=NCCCCCCN=C(N)N=C(N)NC1=CC=C(Cl)C=C1 WJLVQTJZDCGNJN-UHFFFAOYSA-N 0.000 description 1
- VEXZGXHMUGYJMC-UHFFFAOYSA-M Chloride anion Chemical compound [Cl-] VEXZGXHMUGYJMC-UHFFFAOYSA-M 0.000 description 1
- 239000004380 Cholic acid Substances 0.000 description 1
- WTEVQBCEXWBHNA-UHFFFAOYSA-N Citral Natural products CC(C)=CCCC(C)=CC=O WTEVQBCEXWBHNA-UHFFFAOYSA-N 0.000 description 1
- NOOLISFMXDJSKH-UHFFFAOYSA-N DL-menthol Natural products CC(C)C1CCC(C)CC1O NOOLISFMXDJSKH-UHFFFAOYSA-N 0.000 description 1
- 229920001353 Dextrin Polymers 0.000 description 1
- 239000004375 Dextrin Substances 0.000 description 1
- FEWJPZIEWOKRBE-JCYAYHJZSA-N Dextrotartaric acid Chemical compound OC(=O)[C@H](O)[C@@H](O)C(O)=O FEWJPZIEWOKRBE-JCYAYHJZSA-N 0.000 description 1
- MDNWOSOZYLHTCG-UHFFFAOYSA-N Dichlorophen Chemical compound OC1=CC=C(Cl)C=C1CC1=CC(Cl)=CC=C1O MDNWOSOZYLHTCG-UHFFFAOYSA-N 0.000 description 1
- OTMSDBZUPAUEDD-UHFFFAOYSA-N Ethane Chemical compound CC OTMSDBZUPAUEDD-UHFFFAOYSA-N 0.000 description 1
- ZZSNKZQZMQGXPY-UHFFFAOYSA-N Ethyl cellulose Chemical compound CCOCC1OC(OC)C(OCC)C(OCC)C1OC1C(O)C(O)C(OC)C(CO)O1 ZZSNKZQZMQGXPY-UHFFFAOYSA-N 0.000 description 1
- 239000001856 Ethyl cellulose Substances 0.000 description 1
- WEEGYLXZBRQIMU-UHFFFAOYSA-N Eucalyptol Chemical compound C1CC2CCC1(C)OC2(C)C WEEGYLXZBRQIMU-UHFFFAOYSA-N 0.000 description 1
- 239000005792 Geraniol Substances 0.000 description 1
- GLZPCOQZEFWAFX-YFHOEESVSA-N Geraniol Natural products CC(C)=CCC\C(C)=C/CO GLZPCOQZEFWAFX-YFHOEESVSA-N 0.000 description 1
- WQZGKKKJIJFFOK-GASJEMHNSA-N Glucose Natural products OC[C@H]1OC(O)[C@H](O)[C@@H](O)[C@@H]1O WQZGKKKJIJFFOK-GASJEMHNSA-N 0.000 description 1
- PEDCQBHIVMGVHV-UHFFFAOYSA-N Glycerol Natural products OCC(O)CO PEDCQBHIVMGVHV-UHFFFAOYSA-N 0.000 description 1
- UFHFLCQGNIYNRP-UHFFFAOYSA-N Hydrogen Chemical compound [H][H] UFHFLCQGNIYNRP-UHFFFAOYSA-N 0.000 description 1
- DGAQECJNVWCQMB-PUAWFVPOSA-M Ilexoside XXIX Chemical compound C[C@@H]1CC[C@@]2(CC[C@@]3(C(=CC[C@H]4[C@]3(CC[C@@H]5[C@@]4(CC[C@@H](C5(C)C)OS(=O)(=O)[O-])C)C)[C@@H]2[C@]1(C)O)C)C(=O)O[C@H]6[C@@H]([C@H]([C@@H]([C@H](O6)CO)O)O)O.[Na+] DGAQECJNVWCQMB-PUAWFVPOSA-M 0.000 description 1
- SECXISVLQFMRJM-UHFFFAOYSA-N N-Methylpyrrolidone Chemical compound CN1CCCC1=O SECXISVLQFMRJM-UHFFFAOYSA-N 0.000 description 1
- 239000002202 Polyethylene glycol Substances 0.000 description 1
- DBMJMQXJHONAFJ-UHFFFAOYSA-M Sodium laurylsulphate Chemical compound [Na+].CCCCCCCCCCCCOS([O-])(=O)=O DBMJMQXJHONAFJ-UHFFFAOYSA-M 0.000 description 1
- 229920002472 Starch Polymers 0.000 description 1
- FEWJPZIEWOKRBE-UHFFFAOYSA-N Tartaric acid Natural products [H+].[H+].[O-]C(=O)C(O)C(O)C([O-])=O FEWJPZIEWOKRBE-UHFFFAOYSA-N 0.000 description 1
- BGNXCDMCOKJUMV-UHFFFAOYSA-N Tert-Butylhydroquinone Chemical compound CC(C)(C)C1=CC(O)=CC=C1O BGNXCDMCOKJUMV-UHFFFAOYSA-N 0.000 description 1
- 239000005844 Thymol Substances 0.000 description 1
- XDILZEPJCPEDLT-UHFFFAOYSA-N [Na].[O-][N+]1=CC=CC=C1S Chemical compound [Na].[O-][N+]1=CC=CC=C1S XDILZEPJCPEDLT-UHFFFAOYSA-N 0.000 description 1
- YKTSYUJCYHOUJP-UHFFFAOYSA-N [O--].[Al+3].[Al+3].[O-][Si]([O-])([O-])[O-] Chemical compound [O--].[Al+3].[Al+3].[O-][Si]([O-])([O-])[O-] YKTSYUJCYHOUJP-UHFFFAOYSA-N 0.000 description 1
- WPZSJJJTNREFSV-UHFFFAOYSA-N [Zn].[O-][N+]1=CC=CC=C1S Chemical compound [Zn].[O-][N+]1=CC=CC=C1S WPZSJJJTNREFSV-UHFFFAOYSA-N 0.000 description 1
- DPXJVFZANSGRMM-UHFFFAOYSA-N acetic acid;2,3,4,5,6-pentahydroxyhexanal;sodium Chemical compound [Na].CC(O)=O.OCC(O)C(O)C(O)C(O)C=O DPXJVFZANSGRMM-UHFFFAOYSA-N 0.000 description 1
- DYRDKSSFIWVSNM-UHFFFAOYSA-N acetoacetanilide Chemical compound CC(=O)CC(=O)NC1=CC=CC=C1 DYRDKSSFIWVSNM-UHFFFAOYSA-N 0.000 description 1
- 239000002253 acid Substances 0.000 description 1
- 150000008043 acidic salts Chemical class 0.000 description 1
- 230000002378 acidificating effect Effects 0.000 description 1
- 150000007513 acids Chemical class 0.000 description 1
- 150000001298 alcohols Chemical class 0.000 description 1
- 150000001335 aliphatic alkanes Chemical class 0.000 description 1
- 150000005215 alkyl ethers Chemical class 0.000 description 1
- 125000000217 alkyl group Chemical group 0.000 description 1
- TUFYVOCKVJOUIR-UHFFFAOYSA-N alpha-Thujaplicin Natural products CC(C)C=1C=CC=CC(=O)C=1O TUFYVOCKVJOUIR-UHFFFAOYSA-N 0.000 description 1
- WUOACPNHFRMFPN-UHFFFAOYSA-N alpha-terpineol Chemical compound CC1=CCC(C(C)(C)O)CC1 WUOACPNHFRMFPN-UHFFFAOYSA-N 0.000 description 1
- 235000019270 ammonium chloride Nutrition 0.000 description 1
- BFNBIHQBYMNNAN-UHFFFAOYSA-N ammonium sulfate Chemical compound N.N.OS(O)(=O)=O BFNBIHQBYMNNAN-UHFFFAOYSA-N 0.000 description 1
- 229910052921 ammonium sulfate Inorganic materials 0.000 description 1
- 235000011130 ammonium sulphate Nutrition 0.000 description 1
- 239000003899 bactericide agent Substances 0.000 description 1
- PQRDTUFVDILINV-UHFFFAOYSA-N bcdmh Chemical compound CC1(C)N(Cl)C(=O)N(Br)C1=O PQRDTUFVDILINV-UHFFFAOYSA-N 0.000 description 1
- UREZNYTWGJKWBI-UHFFFAOYSA-M benzethonium chloride Chemical compound [Cl-].C1=CC(C(C)(C)CC(C)(C)C)=CC=C1OCCOCC[N+](C)(C)CC1=CC=CC=C1 UREZNYTWGJKWBI-UHFFFAOYSA-M 0.000 description 1
- 229960001950 benzethonium chloride Drugs 0.000 description 1
- DMSMPAJRVJJAGA-UHFFFAOYSA-N benzo[d]isothiazol-3-one Chemical compound C1=CC=C2C(=O)NSC2=C1 DMSMPAJRVJJAGA-UHFFFAOYSA-N 0.000 description 1
- JGQFVRIQXUFPAH-UHFFFAOYSA-N beta-citronellol Natural products OCCC(C)CCCC(C)=C JGQFVRIQXUFPAH-UHFFFAOYSA-N 0.000 description 1
- 239000004305 biphenyl Substances 0.000 description 1
- 235000010290 biphenyl Nutrition 0.000 description 1
- 125000006267 biphenyl group Chemical group 0.000 description 1
- 235000019658 bitter taste Nutrition 0.000 description 1
- KGBXLFKZBHKPEV-UHFFFAOYSA-N boric acid Chemical compound OB(O)O KGBXLFKZBHKPEV-UHFFFAOYSA-N 0.000 description 1
- 239000004327 boric acid Substances 0.000 description 1
- CKDOCTFBFTVPSN-UHFFFAOYSA-N borneol Natural products C1CC2(C)C(C)CC1C2(C)C CKDOCTFBFTVPSN-UHFFFAOYSA-N 0.000 description 1
- 229940116229 borneol Drugs 0.000 description 1
- 239000001273 butane Substances 0.000 description 1
- 239000011575 calcium Substances 0.000 description 1
- 229910052791 calcium Inorganic materials 0.000 description 1
- 235000001465 calcium Nutrition 0.000 description 1
- CJZGTCYPCWQAJB-UHFFFAOYSA-L calcium stearate Chemical compound [Ca+2].CCCCCCCCCCCCCCCCCC([O-])=O.CCCCCCCCCCCCCCCCCC([O-])=O CJZGTCYPCWQAJB-UHFFFAOYSA-L 0.000 description 1
- 235000013539 calcium stearate Nutrition 0.000 description 1
- 239000008116 calcium stearate Substances 0.000 description 1
- 235000010948 carboxy methyl cellulose Nutrition 0.000 description 1
- 239000008112 carboxymethyl-cellulose Substances 0.000 description 1
- 235000010980 cellulose Nutrition 0.000 description 1
- 229920002678 cellulose Polymers 0.000 description 1
- 229960003333 chlorhexidine gluconate Drugs 0.000 description 1
- YZIYKJHYYHPJIB-UUPCJSQJSA-N chlorhexidine gluconate Chemical compound OC[C@@H](O)[C@@H](O)[C@H](O)[C@@H](O)C(O)=O.OC[C@@H](O)[C@@H](O)[C@H](O)[C@@H](O)C(O)=O.C1=CC(Cl)=CC=C1NC(=N)NC(=N)NCCCCCCNC(=N)NC(=N)NC1=CC=C(Cl)C=C1 YZIYKJHYYHPJIB-UUPCJSQJSA-N 0.000 description 1
- 229960004504 chlorhexidine hydrochloride Drugs 0.000 description 1
- DHNRXBZYEKSXIM-UHFFFAOYSA-N chloromethylisothiazolinone Chemical compound CN1SC(Cl)=CC1=O DHNRXBZYEKSXIM-UHFFFAOYSA-N 0.000 description 1
- BHQCQFFYRZLCQQ-OELDTZBJSA-N cholic acid Chemical compound C([C@H]1C[C@H]2O)[C@H](O)CC[C@]1(C)[C@@H]1[C@@H]2[C@@H]2CC[C@H]([C@@H](CCC(O)=O)C)[C@@]2(C)[C@@H](O)C1 BHQCQFFYRZLCQQ-OELDTZBJSA-N 0.000 description 1
- 235000019416 cholic acid Nutrition 0.000 description 1
- 229960002471 cholic acid Drugs 0.000 description 1
- 229930007050 cineol Natural products 0.000 description 1
- 229960005233 cineole Drugs 0.000 description 1
- 229940043350 citral Drugs 0.000 description 1
- 229930003633 citronellal Natural products 0.000 description 1
- 235000000983 citronellal Nutrition 0.000 description 1
- 235000000484 citronellol Nutrition 0.000 description 1
- 238000011109 contamination Methods 0.000 description 1
- NMCCNOZOBBWFMN-UHFFFAOYSA-N davicil Chemical compound CS(=O)(=O)C1=C(Cl)C(Cl)=NC(Cl)=C1Cl NMCCNOZOBBWFMN-UHFFFAOYSA-N 0.000 description 1
- SQIFACVGCPWBQZ-UHFFFAOYSA-N delta-terpineol Natural products CC(C)(O)C1CCC(=C)CC1 SQIFACVGCPWBQZ-UHFFFAOYSA-N 0.000 description 1
- KXGVEGMKQFWNSR-LLQZFEROSA-N deoxycholic acid Chemical compound C([C@H]1CC2)[C@H](O)CC[C@]1(C)[C@@H]1[C@@H]2[C@@H]2CC[C@H]([C@@H](CCC(O)=O)C)[C@@]2(C)[C@@H](O)C1 KXGVEGMKQFWNSR-LLQZFEROSA-N 0.000 description 1
- 229960003964 deoxycholic acid Drugs 0.000 description 1
- 239000000645 desinfectant Substances 0.000 description 1
- 239000003599 detergent Substances 0.000 description 1
- 235000019425 dextrin Nutrition 0.000 description 1
- CEJLBZWIKQJOAT-UHFFFAOYSA-N dichloroisocyanuric acid Chemical compound ClN1C(=O)NC(=O)N(Cl)C1=O CEJLBZWIKQJOAT-UHFFFAOYSA-N 0.000 description 1
- 150000004683 dihydrates Chemical class 0.000 description 1
- GXGAKHNRMVGRPK-UHFFFAOYSA-N dimagnesium;dioxido-bis[[oxido(oxo)silyl]oxy]silane Chemical compound [Mg+2].[Mg+2].[O-][Si](=O)O[Si]([O-])([O-])O[Si]([O-])=O GXGAKHNRMVGRPK-UHFFFAOYSA-N 0.000 description 1
- VTIIJXUACCWYHX-UHFFFAOYSA-L disodium;carboxylatooxy carbonate Chemical compound [Na+].[Na+].[O-]C(=O)OOC([O-])=O VTIIJXUACCWYHX-UHFFFAOYSA-L 0.000 description 1
- DTGKSKDOIYIVQL-UHFFFAOYSA-N dl-isoborneol Natural products C1CC2(C)C(O)CC1C2(C)C DTGKSKDOIYIVQL-UHFFFAOYSA-N 0.000 description 1
- 235000012489 doughnuts Nutrition 0.000 description 1
- RTZKZFJDLAIYFH-UHFFFAOYSA-N ether Substances CCOCC RTZKZFJDLAIYFH-UHFFFAOYSA-N 0.000 description 1
- 150000002170 ethers Chemical class 0.000 description 1
- 235000019325 ethyl cellulose Nutrition 0.000 description 1
- 229920001249 ethyl cellulose Polymers 0.000 description 1
- 239000004403 ethyl p-hydroxybenzoate Substances 0.000 description 1
- 235000010228 ethyl p-hydroxybenzoate Nutrition 0.000 description 1
- 238000001125 extrusion Methods 0.000 description 1
- 239000000835 fiber Substances 0.000 description 1
- 239000000796 flavoring agent Substances 0.000 description 1
- 239000006260 foam Substances 0.000 description 1
- WTEVQBCEXWBHNA-JXMROGBWSA-N geranial Chemical compound CC(C)=CCC\C(C)=C\C=O WTEVQBCEXWBHNA-JXMROGBWSA-N 0.000 description 1
- 229940113087 geraniol Drugs 0.000 description 1
- 239000008103 glucose Substances 0.000 description 1
- 150000004676 glycans Chemical class 0.000 description 1
- 235000011187 glycerol Nutrition 0.000 description 1
- 230000009422 growth inhibiting effect Effects 0.000 description 1
- 239000004615 ingredient Substances 0.000 description 1
- 229910052500 inorganic mineral Inorganic materials 0.000 description 1
- JDNTWHVOXJZDSN-UHFFFAOYSA-N iodoacetic acid Chemical compound OC(=O)CI JDNTWHVOXJZDSN-UHFFFAOYSA-N 0.000 description 1
- 238000004898 kneading Methods 0.000 description 1
- 229930007744 linalool Natural products 0.000 description 1
- 239000000391 magnesium silicate Substances 0.000 description 1
- 235000019359 magnesium stearate Nutrition 0.000 description 1
- 229910052943 magnesium sulfate Inorganic materials 0.000 description 1
- 235000019341 magnesium sulphate Nutrition 0.000 description 1
- 235000019793 magnesium trisilicate Nutrition 0.000 description 1
- 229940099273 magnesium trisilicate Drugs 0.000 description 1
- 229910000386 magnesium trisilicate Inorganic materials 0.000 description 1
- VZCYOOQTPOCHFL-UPHRSURJSA-N maleic acid Chemical compound OC(=O)\C=C/C(O)=O VZCYOOQTPOCHFL-UPHRSURJSA-N 0.000 description 1
- 239000011976 maleic acid Substances 0.000 description 1
- 238000002844 melting Methods 0.000 description 1
- 230000008018 melting Effects 0.000 description 1
- 229940041616 menthol Drugs 0.000 description 1
- LKUBWDNDGBVKFK-UHFFFAOYSA-N methyl 1h-benzimidazole-2-carboxylate Chemical compound C1=CC=C2NC(C(=O)OC)=NC2=C1 LKUBWDNDGBVKFK-UHFFFAOYSA-N 0.000 description 1
- 239000004292 methyl p-hydroxybenzoate Substances 0.000 description 1
- 235000010270 methyl p-hydroxybenzoate Nutrition 0.000 description 1
- BEGLCMHJXHIJLR-UHFFFAOYSA-N methylisothiazolinone Chemical compound CN1SC=CC1=O BEGLCMHJXHIJLR-UHFFFAOYSA-N 0.000 description 1
- LXCFILQKKLGQFO-UHFFFAOYSA-N methylparaben Chemical compound COC(=O)C1=CC=C(O)C=C1 LXCFILQKKLGQFO-UHFFFAOYSA-N 0.000 description 1
- 229960002216 methylparaben Drugs 0.000 description 1
- 239000011707 mineral Substances 0.000 description 1
- 235000010755 mineral Nutrition 0.000 description 1
- 150000007522 mineralic acids Chemical class 0.000 description 1
- 238000000465 moulding Methods 0.000 description 1
- LNOPIUAQISRISI-UHFFFAOYSA-N n'-hydroxy-2-propan-2-ylsulfonylethanimidamide Chemical compound CC(C)S(=O)(=O)CC(N)=NO LNOPIUAQISRISI-UHFFFAOYSA-N 0.000 description 1
- KYYRTDXOHQYZPO-UHFFFAOYSA-N n-(2-methoxyphenyl)-3-oxobutanamide Chemical compound COC1=CC=CC=C1NC(=O)CC(C)=O KYYRTDXOHQYZPO-UHFFFAOYSA-N 0.000 description 1
- MJGLMEMIYDUEHA-UHFFFAOYSA-N n-(4-methylphenyl)-3-oxobutanamide Chemical compound CC(=O)CC(=O)NC1=CC=C(C)C=C1 MJGLMEMIYDUEHA-UHFFFAOYSA-N 0.000 description 1
- IJDNQMDRQITEOD-UHFFFAOYSA-N n-butane Chemical compound CCCC IJDNQMDRQITEOD-UHFFFAOYSA-N 0.000 description 1
- 239000005445 natural material Substances 0.000 description 1
- 239000003921 oil Substances 0.000 description 1
- 235000010292 orthophenyl phenol Nutrition 0.000 description 1
- 239000004306 orthophenyl phenol Substances 0.000 description 1
- 125000003854 p-chlorophenyl group Chemical group [H]C1=C([H])C(*)=C([H])C([H])=C1Cl 0.000 description 1
- NFHFRUOZVGFOOS-UHFFFAOYSA-N palladium;triphenylphosphane Chemical compound [Pd].C1=CC=CC=C1P(C=1C=CC=CC=1)C1=CC=CC=C1.C1=CC=CC=C1P(C=1C=CC=CC=1)C1=CC=CC=C1.C1=CC=CC=C1P(C=1C=CC=CC=1)C1=CC=CC=C1.C1=CC=CC=C1P(C=1C=CC=CC=1)C1=CC=CC=C1 NFHFRUOZVGFOOS-UHFFFAOYSA-N 0.000 description 1
- FJKROLUGYXJWQN-UHFFFAOYSA-N papa-hydroxy-benzoic acid Natural products OC(=O)C1=CC=C(O)C=C1 FJKROLUGYXJWQN-UHFFFAOYSA-N 0.000 description 1
- JRKICGRDRMAZLK-UHFFFAOYSA-L peroxydisulfate Chemical compound [O-]S(=O)(=O)OOS([O-])(=O)=O JRKICGRDRMAZLK-UHFFFAOYSA-L 0.000 description 1
- ZUOUZKKEUPVFJK-UHFFFAOYSA-N phenylbenzene Natural products C1=CC=CC=C1C1=CC=CC=C1 ZUOUZKKEUPVFJK-UHFFFAOYSA-N 0.000 description 1
- 229920003023 plastic Polymers 0.000 description 1
- 239000004033 plastic Substances 0.000 description 1
- 229920001223 polyethylene glycol Polymers 0.000 description 1
- 229920000642 polymer Polymers 0.000 description 1
- 229920001282 polysaccharide Polymers 0.000 description 1
- 239000005017 polysaccharide Substances 0.000 description 1
- 235000019422 polyvinyl alcohol Nutrition 0.000 description 1
- 229920000036 polyvinylpyrrolidone Polymers 0.000 description 1
- 239000001267 polyvinylpyrrolidone Substances 0.000 description 1
- 235000013855 polyvinylpyrrolidone Nutrition 0.000 description 1
- CHKVPAROMQMJNQ-UHFFFAOYSA-M potassium bisulfate Chemical compound [K+].OS([O-])(=O)=O CHKVPAROMQMJNQ-UHFFFAOYSA-M 0.000 description 1
- 229910000343 potassium bisulfate Inorganic materials 0.000 description 1
- OTYBMLCTZGSZBG-UHFFFAOYSA-L potassium sulfate Chemical compound [K+].[K+].[O-]S([O-])(=O)=O OTYBMLCTZGSZBG-UHFFFAOYSA-L 0.000 description 1
- 229910052939 potassium sulfate Inorganic materials 0.000 description 1
- 235000011151 potassium sulphates Nutrition 0.000 description 1
- 235000019814 powdered cellulose Nutrition 0.000 description 1
- 229920003124 powdered cellulose Polymers 0.000 description 1
- 230000002265 prevention Effects 0.000 description 1
- 239000001294 propane Substances 0.000 description 1
- QQONPFPTGQHPMA-UHFFFAOYSA-N propylene Natural products CC=C QQONPFPTGQHPMA-UHFFFAOYSA-N 0.000 description 1
- 125000004805 propylene group Chemical group [H]C([H])([H])C([H])([*:1])C([H])([H])[*:2] 0.000 description 1
- ILVXOBCQQYKLDS-UHFFFAOYSA-N pyridine N-oxide Chemical compound [O-][N+]1=CC=CC=C1 ILVXOBCQQYKLDS-UHFFFAOYSA-N 0.000 description 1
- YBBJKCMMCRQZMA-UHFFFAOYSA-N pyrithione Chemical compound ON1C=CC=CC1=S YBBJKCMMCRQZMA-UHFFFAOYSA-N 0.000 description 1
- 230000000717 retained effect Effects 0.000 description 1
- 229960004889 salicylic acid Drugs 0.000 description 1
- 150000003839 salts Chemical class 0.000 description 1
- 150000004671 saturated fatty acids Chemical class 0.000 description 1
- 239000000377 silicon dioxide Substances 0.000 description 1
- 239000011734 sodium Substances 0.000 description 1
- 229910052708 sodium Inorganic materials 0.000 description 1
- 235000010413 sodium alginate Nutrition 0.000 description 1
- 239000000661 sodium alginate Substances 0.000 description 1
- 229940005550 sodium alginate Drugs 0.000 description 1
- WXMKPNITSTVMEF-UHFFFAOYSA-M sodium benzoate Chemical compound [Na+].[O-]C(=O)C1=CC=CC=C1 WXMKPNITSTVMEF-UHFFFAOYSA-M 0.000 description 1
- 239000004299 sodium benzoate Substances 0.000 description 1
- 235000010234 sodium benzoate Nutrition 0.000 description 1
- WBHQBSYUUJJSRZ-UHFFFAOYSA-M sodium bisulfate Chemical compound [Na+].OS([O-])(=O)=O WBHQBSYUUJJSRZ-UHFFFAOYSA-M 0.000 description 1
- 229910000342 sodium bisulfate Inorganic materials 0.000 description 1
- 235000019812 sodium carboxymethyl cellulose Nutrition 0.000 description 1
- 229920001027 sodium carboxymethylcellulose Polymers 0.000 description 1
- 239000011780 sodium chloride Substances 0.000 description 1
- 235000011121 sodium hydroxide Nutrition 0.000 description 1
- 235000019333 sodium laurylsulphate Nutrition 0.000 description 1
- 229960001922 sodium perborate Drugs 0.000 description 1
- 229940045872 sodium percarbonate Drugs 0.000 description 1
- YKLJGMBLPUQQOI-UHFFFAOYSA-M sodium;oxidooxy(oxo)borane Chemical compound [Na+].[O-]OB=O YKLJGMBLPUQQOI-UHFFFAOYSA-M 0.000 description 1
- 235000019698 starch Nutrition 0.000 description 1
- 235000000346 sugar Nutrition 0.000 description 1
- 150000008163 sugars Chemical class 0.000 description 1
- 229950009390 symclosene Drugs 0.000 description 1
- 229920003002 synthetic resin Polymers 0.000 description 1
- 239000000057 synthetic resin Substances 0.000 description 1
- 239000000454 talc Substances 0.000 description 1
- 229910052623 talc Inorganic materials 0.000 description 1
- 239000011975 tartaric acid Substances 0.000 description 1
- 235000002906 tartaric acid Nutrition 0.000 description 1
- 229940116411 terpineol Drugs 0.000 description 1
- 229960000790 thymol Drugs 0.000 description 1
- 239000002341 toxic gas Substances 0.000 description 1
- ZIKHLMVJGCYVAC-UHFFFAOYSA-N tri-o-thymotide Chemical compound O1C(=O)C2=C(C)C=CC(C(C)C)=C2OC(=O)C2=C(C)C=CC(C(C)C)=C2OC(=O)C2=C1C(C(C)C)=CC=C2C ZIKHLMVJGCYVAC-UHFFFAOYSA-N 0.000 description 1
- IMNIMPAHZVJRPE-UHFFFAOYSA-N triethylenediamine Chemical compound C1CN2CCN1CC2 IMNIMPAHZVJRPE-UHFFFAOYSA-N 0.000 description 1
- 229920003169 water-soluble polymer Polymers 0.000 description 1
- 239000001993 wax Substances 0.000 description 1
- 229930007845 β-thujaplicin Natural products 0.000 description 1
Images
Landscapes
- Filtration Of Liquid (AREA)
- Sink And Installation For Waste Water (AREA)
Description
(1)排水口の目皿の上に目皿を覆うように装着することができ、ゴミが排水管に流入することを阻止し、かつ排水が排水口へ流入することを可能とする、排水口用ゴミ取り具であって、
該ゴミ取り具は、周縁部と周縁部に囲まれた通水部とからなり、通水部は開口度が0.5〜5mmの網状で、周縁部より上方に突出し、
装着時には、前記周縁部は目皿の周縁部の上面または排水口の上縁部の上面に略密着し、前記通水部と目皿との間に空間が形成されることを特徴とする、浴室排水口用ゴミ取り具に関し、
(2)前記通水部の中央付近上面または上方に、微生物の発育抑制物質を含有する固形薬剤を収納し、排水流入口及び薬液流出口が設けられた薬剤収納部を有し、該固形薬剤の溶解液である薬液を分散することができることを特徴とする、(1)に記載の浴室排水口用ゴミ取り具に関し、
(3)前記薬液流出口に連接され通水部に放射状に延設された薬液分散樋と、周縁部に設けられているドーナツ型平板形状の薬液拡散部を備え、前記薬剤収納部の側周面に設けられた前記薬液流出口から流出する薬液が、前記薬液分散樋を経由して前記薬液拡散部から、その外方に拡散するように構成されていることを特徴とする、(2)に記載の浴室排水口用ゴミ取り具に関し、
(4)前記目皿に嵌合保持するための係止片を、外縁近傍下部に有することを特徴とする、(1)〜(3)のいずれかに記載の浴室排水口用ゴミ取り具に関し、
(5)薬液流出口に連接され通水部に放射状に延設された薬液分散樋が、薬液拡散部に向かうに従って、漸次幅広に形成されていることを特徴とする(3)又は(4)に記載の浴室排水口用ゴミ取り具に関し、
(6)ドーナツ型平板形状の薬液拡散部が、適宜間隔で複数の切欠きスリットを有することを特徴とする(3)〜(5)のいずれかに記載の浴室排水口ゴミ取り具に関し、
(7)薬剤収納部が、固形薬剤を装脱着自在に構成されていることを特徴とする(2)〜(6)のいずれかに記載の浴室排水口用ゴミ取り具に関し、
(8)微生物の発育抑制物質が固体酸である、(2)〜(7)のいずれかに記載の浴室排水口用ゴミ取り具に関し、また
(9)(1)〜(8)のいずれかに記載の浴室排水口用ゴミ取り具を、排水口の目皿の上に目皿を覆うように装着し、使用する方法に関する。
目皿の周縁部上面または排水口の上縁部の上面に対して、排水口用ゴミ取り具の周縁部は、その底面全体が密着するものでもよいし、外周部の底面のみが密着するものでもよい。また、排水口用ゴミ取り具の通水部が周縁部に対して上方に突出していることから、周縁部の外周部のみが密着するようにし、周縁部の内側部分が通水部に連続して突出していてもよい。
周縁部は、幅5〜20mmのドーナツ型平板形状であることが好ましい。これにより、周縁部と目皿の周縁部または目皿が設置された構造における目皿外周縁との間から毛髪等が侵入することを防止し、また排水が直接流入するのを防止することができる。
また通水部は、周縁部よりも上方に突出し、かつ目皿装着時に、目皿との間に空間が形成される。
この空間によって、ゴミ取り具および目皿にヌメリが生じることが防止される。この空間は、通水終了後に水が残らず容易に乾燥する程度であればよく、通水部と目皿との距離は2mm以上が好ましく、3mm以上がさらに好ましい 。
突出の形態は特に限定されないが、通水部が水平であるか、若しくは中心部から遠ざかるにしたがって緩やかな下り傾斜となる形態が好ましく、また通水部の勾配が周縁部の勾配に比較して緩い、横断面が略台形状であるものがより好ましい。
スリット幅が4mm以下好ましくは3mm以下であると毛髪等の異物の流入を極力防止することができる。また、上記薬液流出口の面積の和が上記排水流入口の面積の和よりも小さくなるように設けることが、比較的高濃度の薬剤溶解液を持続的に流出させる上で好ましい。その他、空気抜きの目的で薬剤収納部の上面に上孔を設けることもできる。さらに、固形薬剤を取り換えることができるように、蓋部分など一部を着脱自在に形成する場合、上記薬液流出口以外の部分から薬液が漏出することなく、薬液流出口からのみ流出するように、薬液流出口以外の部分に漏出防止用立設片を必要に応じて設けることもできる。
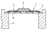
図2〜4に、薬剤収納部を有する浴室排水口用ゴミ取り具の例を示す。図1に、薬剤収納部を有する浴室排水口用ゴミ取り具を排水口(11)の目皿(10)上に載置したときの状態を示す。
浴室排水口用ゴミ取り具(1)の本体部分は、周縁部(2)と、それに囲まれた通水部(3)とからなる。通水部は網状に開口されており、周縁部より上方に突出した形状を有する。通水部(3)には、薬液分散樋(4)が薬剤収納部(5)から放射状に設けられており、その末端は周縁部(2)に設けられた薬液拡散部(6)に繋がっている。通水部(3)及び薬液分散樋(4)は中心部から遠ざかるにしたがって緩やかな下り傾斜となっている。また、周縁部(2)も、中心部から遠ざかるにしたがって下り傾斜となっている
薬液分散樋(4)は、ほぼ凹断面を有し、薬剤収納部(5)と連設している。周縁部の薬液拡散部(6)には、薬液が排出されるスリット(7)が多数設けられている。
薬剤収納部(5)は、浴室排水口用ゴミ取り具(1)の本体部分の中央部に着脱自在に設けられ、上部には排水流入口(8)が、側周面の下部には薬液排出口(9)が設けられている。薬剤収納部の本体部分への取り付けは、薬剤収納部の下端部に取り付け用の切片を複数個設け、本体部分の中央部の薬剤収納部取り付け部分に取り付け用の切片と同数個穿った取り付け用のスリットに差し込むことにより行われる。
2:周縁部
3:通水部
4:薬液分散樋
5:薬剤収納部
6:薬液拡散部
7:スリット
8:排水流入口
9:薬液排出口
10:目皿
11:排水口
Claims (10)
- 排水口の目皿の上に目皿を覆うように装着することができ、ゴミが排水管に流入することを阻止し、かつ排水が排水口へ流入することを可能とする、排水口用ゴミ取り具であって、
該ゴミ取り具は、周縁部と周縁部に囲まれた通水部とからなり、通水部は開口度が1〜4mmの網状で、かつ、通水部の勾配が周縁部の勾配よりも緩やかな略台形状の横断面となるよう周縁部より上方に突出し、
装着時には、前記周縁部は目皿の周縁部上面または排水口の上縁部上面に略密着し、前記通水部と目皿との間に通水部と目皿との距離が2mm以上の空間が形成されることを特徴とする、浴室排水口用ゴミ取り具。 - 前記通水部の中央付近上面または上方に、微生物の発育抑制物質を含有する固形薬剤を収納し、排水流入口及び薬液流出口が設けられた薬剤収納部を有し、該固形薬剤の溶解液である薬液を分散することができることを特徴とする、請求項1に記載の浴室排水口用ゴミ取り具。
- 前記薬液流出口に連接され通水部に放射状に延設された薬液分散樋と、周縁部に設けられているドーナツ型平板形状の薬液拡散部を備え、前記薬剤収納部の側周面に設けられた前記薬液流出口から流出する薬液が、前記薬液分散樋を経由して前記薬液拡散部からその外方に拡散するように構成されていることを特徴とする、請求項2に記載の浴室排水口用ゴミ取り具。
- 前記目皿に嵌合保持するための係止片を、外縁近傍下部に有することを特徴とする、請求項1〜3のいずれかに記載の浴室排水口用ゴミ取り具。
- 薬液流出口に連接され通水部に放射状に延設された薬液分散樋が、薬液拡散部に向かうに従って、漸次幅広に形成されていることを特徴とする請求項3に記載の浴室排水口用ゴミ取り具。
- ドーナツ型平板形状の薬液拡散部が、適宜間隔で複数の切欠きスリットを有することを特徴とする請求項3又は5に記載の浴室排水口ゴミ取り具。
- 薬剤収納部が、固形薬剤を装脱着自在に構成されていることを特徴とする請求項2、3、5及び6のいずれかに記載の浴室排水口用ゴミ取り具。
- 微生物の発育抑制物質が固体酸である、請求項2、3及び5〜7のいずれかに記載の浴室排水口用ゴミ取り具。
- 固体酸が常温固体の有機酸である、請求項8に記載の浴室排水口用ゴミ取り具。
- 請求項1〜9のいずれかに記載の浴室排水口用ゴミ取り具を、排水口の目皿の上に目皿を覆うように装着し、使用する方法。
Priority Applications (1)
| Application Number | Priority Date | Filing Date | Title |
|---|---|---|---|
| JP2014233295A JP6467200B2 (ja) | 2014-11-18 | 2014-11-18 | 浴室排水口用ゴミ取り具 |
Applications Claiming Priority (1)
| Application Number | Priority Date | Filing Date | Title |
|---|---|---|---|
| JP2014233295A JP6467200B2 (ja) | 2014-11-18 | 2014-11-18 | 浴室排水口用ゴミ取り具 |
Publications (2)
| Publication Number | Publication Date |
|---|---|
| JP2016098476A JP2016098476A (ja) | 2016-05-30 |
| JP6467200B2 true JP6467200B2 (ja) | 2019-02-06 |
Family
ID=56076358
Family Applications (1)
| Application Number | Title | Priority Date | Filing Date |
|---|---|---|---|
| JP2014233295A Active JP6467200B2 (ja) | 2014-11-18 | 2014-11-18 | 浴室排水口用ゴミ取り具 |
Country Status (1)
| Country | Link |
|---|---|
| JP (1) | JP6467200B2 (ja) |
Families Citing this family (2)
| Publication number | Priority date | Publication date | Assignee | Title |
|---|---|---|---|---|
| CN106368298B (zh) * | 2016-11-03 | 2020-10-30 | 招蕴琪 | 地漏 |
| JP6990056B2 (ja) * | 2017-07-14 | 2022-01-12 | 株式会社ウエ・ルコ | 排水部の汚れ除去装置 |
Family Cites Families (4)
| Publication number | Priority date | Publication date | Assignee | Title |
|---|---|---|---|---|
| JP3958632B2 (ja) * | 2002-06-11 | 2007-08-15 | 日本曹達株式会社 | 拡散型浴室排水口用ヌメリ取り器 |
| USD550819S1 (en) * | 2005-08-23 | 2007-09-11 | Seehoff Gary S | Hair stopper |
| JP5565599B2 (ja) * | 2012-11-22 | 2014-08-06 | 株式会社ウエルスジャパン | ヘアキャッチャー |
| US20140259344A1 (en) * | 2013-03-15 | 2014-09-18 | Xela Innovations, Llc | Adjustable Fixture Screen System |
-
2014
- 2014-11-18 JP JP2014233295A patent/JP6467200B2/ja active Active
Also Published As
| Publication number | Publication date |
|---|---|
| JP2016098476A (ja) | 2016-05-30 |
Similar Documents
| Publication | Publication Date | Title |
|---|---|---|
| US6528467B1 (en) | Slime remover and slime preventing/removing agent | |
| JP4612297B2 (ja) | 排水口用ヌメリ取り器 | |
| JP6467200B2 (ja) | 浴室排水口用ゴミ取り具 | |
| JP3578695B2 (ja) | 排水口用ヌメリ取り器 | |
| JP3958632B2 (ja) | 拡散型浴室排水口用ヌメリ取り器 | |
| JP4647741B2 (ja) | 排水口用ヌメリ取り具 | |
| JP4104404B2 (ja) | 目皿一体固定型浴室排水口用ヌメリ取り器。 | |
| JP3958637B2 (ja) | 浴室排水口用ヌメリ取り器 | |
| JP5646753B2 (ja) | 洗濯機又は洗面台の排水管に設けるヌメリ取り用アダプター | |
| JP3421282B2 (ja) | 排水口用ヌメリ取り器 | |
| JP4404601B2 (ja) | ヌメリ防除機能付流し台用排水口蓋 | |
| JP2002266401A (ja) | 排水口用ゴミ取り具 | |
| JP4363836B2 (ja) | 装着型浴室排水口用ヌメリ取り器 | |
| JP4183479B2 (ja) | 詰替え型浴室排水口用ヌメリ取り器 | |
| JP5854789B2 (ja) | 浴室排水口用ヌメリ取り器に装着される揮発性薬剤収納容器 | |
| JP3862542B2 (ja) | 台所流し台の排水口用蓋 | |
| JP2005048355A (ja) | ヌメリ防除機能付き洗面台用排水栓 | |
| JP7139516B2 (ja) | ヌメリ取り具 | |
| JP2004324314A (ja) | 洗面台用ヌメリ取り器 | |
| JP2005061098A (ja) | 洗面台用ヌメリ取り具 | |
| JP7247119B2 (ja) | ヌメリ取り具 | |
| JP4602712B2 (ja) | ヌメリ取り容器用スペーサー | |
| JP2003119862A (ja) | 台所流し台の排水口用蓋 | |
| JP2003226402A (ja) | ヌメリ防除ゴミ受け器 | |
| JP2006161534A (ja) | ヌメリ防除剤収納カセット |
Legal Events
| Date | Code | Title | Description |
|---|---|---|---|
| A621 | Written request for application examination |
Free format text: JAPANESE INTERMEDIATE CODE: A621 Effective date: 20170605 |
|
| A977 | Report on retrieval |
Free format text: JAPANESE INTERMEDIATE CODE: A971007 Effective date: 20180306 |
|
| A131 | Notification of reasons for refusal |
Free format text: JAPANESE INTERMEDIATE CODE: A131 Effective date: 20180327 |
|
| A521 | Request for written amendment filed |
Free format text: JAPANESE INTERMEDIATE CODE: A523 Effective date: 20180515 |
|
| A131 | Notification of reasons for refusal |
Free format text: JAPANESE INTERMEDIATE CODE: A131 Effective date: 20181001 |
|
| A521 | Request for written amendment filed |
Free format text: JAPANESE INTERMEDIATE CODE: A523 Effective date: 20181109 |
|
| TRDD | Decision of grant or rejection written | ||
| A01 | Written decision to grant a patent or to grant a registration (utility model) |
Free format text: JAPANESE INTERMEDIATE CODE: A01 Effective date: 20190107 |
|
| A61 | First payment of annual fees (during grant procedure) |
Free format text: JAPANESE INTERMEDIATE CODE: A61 Effective date: 20190111 |
|
| R150 | Certificate of patent or registration of utility model |
Ref document number: 6467200 Country of ref document: JP Free format text: JAPANESE INTERMEDIATE CODE: R150 |
|
| R250 | Receipt of annual fees |
Free format text: JAPANESE INTERMEDIATE CODE: R250 |
|
| R250 | Receipt of annual fees |
Free format text: JAPANESE INTERMEDIATE CODE: R250 |
|
| R250 | Receipt of annual fees |
Free format text: JAPANESE INTERMEDIATE CODE: R250 |
|
| S531 | Written request for registration of change of domicile |
Free format text: JAPANESE INTERMEDIATE CODE: R313531 |
|
| R350 | Written notification of registration of transfer |
Free format text: JAPANESE INTERMEDIATE CODE: R350 |
|
| R250 | Receipt of annual fees |
Free format text: JAPANESE INTERMEDIATE CODE: R250 |