JP6423552B2 - 電子制御装置 - Google Patents

電子制御装置 Download PDF

Info

Publication number
JP6423552B2
JP6423552B2 JP2018000966A JP2018000966A JP6423552B2 JP 6423552 B2 JP6423552 B2 JP 6423552B2 JP 2018000966 A JP2018000966 A JP 2018000966A JP 2018000966 A JP2018000966 A JP 2018000966A JP 6423552 B2 JP6423552 B2 JP 6423552B2
Authority
JP
Japan
Prior art keywords
filter
electronic control
breathing
control device
passage
Prior art date
Legal status (The legal status is an assumption and is not a legal conclusion. Google has not performed a legal analysis and makes no representation as to the accuracy of the status listed.)
Active
Application number
JP2018000966A
Other languages
English (en)
Other versions
JP2018067735A (ja
Inventor
仁 古舘
仁 古舘
清隆 菅野
清隆 菅野
河合 義夫
義夫 河合
良育 根岸
良育 根岸
尭之 福沢
尭之 福沢
Current Assignee (The listed assignees may be inaccurate. Google has not performed a legal analysis and makes no representation or warranty as to the accuracy of the list.)
Hitachi Astemo Ltd
Original Assignee
Hitachi Automotive Systems Ltd
Priority date (The priority date is an assumption and is not a legal conclusion. Google has not performed a legal analysis and makes no representation as to the accuracy of the date listed.)
Filing date
Publication date
Application filed by Hitachi Automotive Systems Ltd filed Critical Hitachi Automotive Systems Ltd
Publication of JP2018067735A publication Critical patent/JP2018067735A/ja
Application granted granted Critical
Publication of JP6423552B2 publication Critical patent/JP6423552B2/ja
Active legal-status Critical Current
Anticipated expiration legal-status Critical

Links

Images

Classifications

    • HELECTRICITY
    • H05ELECTRIC TECHNIQUES NOT OTHERWISE PROVIDED FOR
    • H05KPRINTED CIRCUITS; CASINGS OR CONSTRUCTIONAL DETAILS OF ELECTRIC APPARATUS; MANUFACTURE OF ASSEMBLAGES OF ELECTRICAL COMPONENTS
    • H05K5/00Casings, cabinets or drawers for electric apparatus
    • H05K5/0026Casings, cabinets or drawers for electric apparatus provided with connectors and printed circuit boards [PCB], e.g. automotive electronic control units
    • H05K5/0047Casings, cabinets or drawers for electric apparatus provided with connectors and printed circuit boards [PCB], e.g. automotive electronic control units having a two-part housing enclosing a PCB
    • H05K5/0056Casings, cabinets or drawers for electric apparatus provided with connectors and printed circuit boards [PCB], e.g. automotive electronic control units having a two-part housing enclosing a PCB characterized by features for protecting electronic components against vibration and moisture, e.g. potting, holders for relatively large capacitors
    • BPERFORMING OPERATIONS; TRANSPORTING
    • B60VEHICLES IN GENERAL
    • B60RVEHICLES, VEHICLE FITTINGS, OR VEHICLE PARTS, NOT OTHERWISE PROVIDED FOR
    • B60R16/00Electric or fluid circuits specially adapted for vehicles and not otherwise provided for; Arrangement of elements of electric or fluid circuits specially adapted for vehicles and not otherwise provided for
    • B60R16/02Electric or fluid circuits specially adapted for vehicles and not otherwise provided for; Arrangement of elements of electric or fluid circuits specially adapted for vehicles and not otherwise provided for electric constitutive elements
    • FMECHANICAL ENGINEERING; LIGHTING; HEATING; WEAPONS; BLASTING
    • F16ENGINEERING ELEMENTS AND UNITS; GENERAL MEASURES FOR PRODUCING AND MAINTAINING EFFECTIVE FUNCTIONING OF MACHINES OR INSTALLATIONS; THERMAL INSULATION IN GENERAL
    • F16HGEARING
    • F16H61/00Control functions within control units of change-speed- or reversing-gearings for conveying rotary motion ; Control of exclusively fluid gearing, friction gearing, gearings with endless flexible members or other particular types of gearing
    • F16H61/0003Arrangement or mounting of elements of the control apparatus, e.g. valve assemblies or snapfittings of valves; Arrangements of the control unit on or in the transmission gearbox
    • F16H61/0006Electronic control units for transmission control, e.g. connectors, casings or circuit boards
    • HELECTRICITY
    • H05ELECTRIC TECHNIQUES NOT OTHERWISE PROVIDED FOR
    • H05KPRINTED CIRCUITS; CASINGS OR CONSTRUCTIONAL DETAILS OF ELECTRIC APPARATUS; MANUFACTURE OF ASSEMBLAGES OF ELECTRICAL COMPONENTS
    • H05K5/00Casings, cabinets or drawers for electric apparatus
    • H05K5/02Details
    • H05K5/0213Venting apertures; Constructional details thereof
    • H05K5/0215Venting apertures; Constructional details thereof with semi-permeable membranes attached to casings
    • HELECTRICITY
    • H05ELECTRIC TECHNIQUES NOT OTHERWISE PROVIDED FOR
    • H05KPRINTED CIRCUITS; CASINGS OR CONSTRUCTIONAL DETAILS OF ELECTRIC APPARATUS; MANUFACTURE OF ASSEMBLAGES OF ELECTRICAL COMPONENTS
    • H05K5/00Casings, cabinets or drawers for electric apparatus
    • H05K5/02Details
    • H05K5/0217Mechanical details of casings
    • HELECTRICITY
    • H05ELECTRIC TECHNIQUES NOT OTHERWISE PROVIDED FOR
    • H05KPRINTED CIRCUITS; CASINGS OR CONSTRUCTIONAL DETAILS OF ELECTRIC APPARATUS; MANUFACTURE OF ASSEMBLAGES OF ELECTRICAL COMPONENTS
    • H05K5/00Casings, cabinets or drawers for electric apparatus
    • H05K5/02Details
    • H05K5/0247Electrical details of casings, e.g. terminals, passages for cables or wiring
    • BPERFORMING OPERATIONS; TRANSPORTING
    • B60VEHICLES IN GENERAL
    • B60RVEHICLES, VEHICLE FITTINGS, OR VEHICLE PARTS, NOT OTHERWISE PROVIDED FOR
    • B60R16/00Electric or fluid circuits specially adapted for vehicles and not otherwise provided for; Arrangement of elements of electric or fluid circuits specially adapted for vehicles and not otherwise provided for
    • B60R16/02Electric or fluid circuits specially adapted for vehicles and not otherwise provided for; Arrangement of elements of electric or fluid circuits specially adapted for vehicles and not otherwise provided for electric constitutive elements
    • B60R16/023Electric or fluid circuits specially adapted for vehicles and not otherwise provided for; Arrangement of elements of electric or fluid circuits specially adapted for vehicles and not otherwise provided for electric constitutive elements for transmission of signals between vehicle parts or subsystems
    • B60R16/0239Electronic boxes

Landscapes

  • Engineering & Computer Science (AREA)
  • Microelectronics & Electronic Packaging (AREA)
  • General Engineering & Computer Science (AREA)
  • Mechanical Engineering (AREA)
  • Casings For Electric Apparatus (AREA)
  • Cooling Or The Like Of Electrical Apparatus (AREA)
  • Connection Or Junction Boxes (AREA)

Description

本発明は、呼吸フィルタを備えた防水構造のエンジンコントロールユニットや自動変速機用コントロールユニットなどの車両に搭載される電子制御装置の筐体構造に関するものである。
エンジンルーム等の直接水等の液体がかかる環境下に搭載されるエンジンコントロールユニットや自動変速機用コントロールユニットなどの電子制御装置は、複数の筐体部品を接合してなる筐体内部の保護空間(防水が図られた空間)に、電子部品を実装した回路基板が収容された構成となっている。このような電子制御装置は、筐体を完全密閉してしまうと、筐体内と外気との圧力差から、コネクタ部に接続されるハーネス及びハーネスの先の防水部に対してストレスを与えてしまい、結果として、水等の液体をユニット内部に引き込み易くなってしまう。そのため、筐体部材の一部に呼吸通路を設け、その呼吸通路の端面に通気性及び防水性を備えた呼吸フィルタ膜を取り付けた構造が考えられた。(例えば特許文献1)
特開2006−49618号公報
しかしながら、従来の電子制御装置の構造では、車両への搭載向きによっては、呼吸フィルタ部に水が溜まってしまい、筐体内と外気の圧力差を調整することが出来ないため、車体搭載レイアウトが制限されていた。また、筐体内側中央部にフィルタ部を形成している為に、フィルタ部の下面及び上面の基板上に電子部品が実装できず、基板サイズ及び筐体サイズが大きくなる。また、コストアップとなるという課題もあった。
そこで、本発明の目的は、従来と比較し搭載向きの制限が少ない電子制御機器を提供することである。
上記課題は、特許請求の範囲に記載の発明により解決される。
例えば、電子制御装置の樹脂側筐体の隅部にフィルタ膜を溶着させた箇所を挟み込む面と面のそれぞれに呼吸通路を設けて、この通路が内部でつながっていることを特徴とする構造とした。
本発明によれば、従来と比較し搭載向きの制限が少ない電子制御機器を提供することができる。
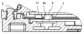
実施例1の電子制御装置の外観図、当該部位の拡大図及び断面図。 実施例2のフィルタ部の当該部位の拡大図及び断面図。 実施例2のフィルタ部の当該部位の拡大図及び断面図。 実施例4のフィルタ部の当該部位の拡大図及び断面図。 実施例5のフィルタ部の当該部位の拡大図及び断面図。 実施例6の電子制御装置の外観図、当該部位の拡大図及び断面図。 実施例7のフィルタ部の当該部位の拡大図及び断面図。 実施例8のフィルタ部の当該部位の拡大図及び断面図。 実施例9のフィルタ部の当該部位の拡大図及び断面図。 金属カバーと樹脂ベースの構成で、フィルタ部の上部に電子部品等を実装可能であることを示す断面図。 樹脂カバーと金属ベースの構成で、フィルタ部の上部に電子部品等を実装可能であることを示す断面図。
以下、本発明の実施例を図1から図4より説明する。図1は本実施例の構造を採用したエンジンコントロールユニットや自動変速機用コントロールユニットなどの車両に搭載される電子制御装置の外観図と展開図である。矢視Aは樹脂ベースの隅部に設けられたフィルタ部を外側から見た拡大図である。また、断面図はB−B線、C−C線及びD−D線に沿う箇所の断面である。図2から図5はフィルタ部の形態が異なる場合の外側から見た拡大図である。図6は金属ベースと樹脂カバーの構成を有した電子制御装置の例であり、樹脂カバーにフィルタ部を備え付けた構成図である。
矢視Jは樹脂カバーの隅部に設けられたフィルタ部を外側から見た拡大図である。断面図はK−K線に沿う一部断面図である。図7から図9からはフィルタ部の形態が異なる場合の外側から見た拡大図及び断面図である。図10と図11はこの発明における効果である、フィルタ部下方の基板上にも部品が実装可能であることを示した断面図である。
[実施例1]
図1は本発明の第1の実施例を示すものである。
本実施例では、回路基板4に搭載された電子部品4aと金属カバー2(ダイカスト)の間には、熱伝導材4bが介在されていて、回路基板4は金属カバー2に回路基板固定用ネジ6において固定されている。筐体の防水性を保つために外部接続用コネクタ1、金属カバー2、樹脂ベース3の間には、接着剤5が介在されていて、金属カバー2と樹脂ベース3は樹脂ベース3の角部に設けたボスを熱成形した熱かしめ部3aにおいて結合されている。なお、金属カバー2と樹脂ベース3はネジ、リベット等他の方法にて結合してもよい。樹脂ベース3の隅部には、呼吸フィルタ膜7が備えられている。このフィルタはどの隅部に設けてもよい。フィルタ膜7を樹脂ベース3に取り付ける方法は、熱による溶着、接着剤による接着、粘着剤テープによる粘着、樹脂ベース3と一体モールド等がある。呼吸通路8は隅部のフィルタ部を挟み込む面と面に開口しており(呼吸通路開口面9)、内部にてつながっている。フィルタ膜7の下方には、呼吸孔11があり、呼吸通路8とつながっている。このとき、フィルタ膜7に高圧水が直接かからないように、フィルタ膜7の取り付け位置は、外側から目視できないように呼吸通路8と呼吸孔11の位置関係にて設定されている。筐体厚さに対してフィルタ膜7及び呼吸通路8が薄いために、フィルタ部全体を薄い構成とすることができる。そのため、図10のように回路基板4とのクリアランスが大きく取れて、電子部品4aをフィルタ部上部に実装することが可能である。
[実施例2]
図2は本発明の第2の実施例を示すものである。前記の実施例1に対して、呼吸通路8には強度を確保するための1つ以上のリブ10が形成されている。呼吸通路8の開口面積が大きくなると、フィルタ部の強度が低下するので、リブ10を設ける必要がある。このリブ10は、強度確保の他、フィルタ膜7へ高圧水が掛からないような防護壁の役割も有している。実施例1と同様、フィルタ部の厚みが薄く、フィルタ部上方の基板にも部品の実装が可能である。
[実施例3]
図3は本発明の第3の実施例を示すものである。前記の実施例2に対して、リブの形状違いを示している。実施例1と同様、フィルタの厚みが薄く、フィルタ部上方の基板にも部品の実装が可能である。また、樹脂ベース3の呼吸通路8の開口面積が小さくなり、高圧水の流入量が抑制できる。さらに、リブ10に角度が付いているため、流入した高圧水の勢いが壁面にあたり分散され、呼吸フィルタ膜7へ与える圧力を低減できる。
[実施例4]
図4は本発明の第4の実施例を示すものである。前記の実施例1から3に対して、排水性を向上させるために、フィルタ部を挟むそれぞれの面に形成された呼吸通路内が角度を有し、ベース内部で交わっている。実施例1から実施例3と同様、フィルタの厚みが薄く、フィルタ部上方の基板にも部品の実装が可能である。また当該発明の電子制御装置をどのような角度に設置しても、角度12を有しているため、侵入した高圧水は排出が容易となる。
[実施例5]
図5は本発明の第5の実施例を示すものである。前記の実施例1から実施例4に対して、排水性を向上させる為に、樹脂ベース2の呼吸通路の底面は傾斜部13を有している。このとき、フィルタ膜7に高圧水が直接かからないように、フィルタ膜7は、外側より目視できないように呼吸通路8と呼吸孔11の位置関係にて設定されている。実施例1から実施例4と同様、フィルタ部の厚みが薄く、フィルタ部上方の基板にも部品の実装が可能である。
[実施例6]
図6は本発明の第6の実施例を示すものである。前記の実施例1に対して樹脂カバー14、金属ベース15とした場合である。本実施例では、回路基板4に搭載された電子部品4aと金属ベース3の間に、熱伝導材4bが介在されていて、回路基板4は金属ベース15に回路基板固定用ネジ6において固定されている。筐体の防水性を保つために外部接続用コネクタ1、樹脂カバー14と金属ベース15の間には、接着剤5が介在しており、樹脂カバー14の四隅に備えられたボスを熱かしめにて結合している。なお、樹脂カバー14と金属ベース15はネジ、リベット等他の方法にて固定してもよい。このとき、樹脂カバー14の隅部にフィルタ膜7が備えられている。このフィルタはどの隅部に設けてもよい。フィルタ膜7を樹脂カバー14に取り付ける方法は、熱による溶着、接着剤による接着、粘着剤テープによる粘着、樹脂カバー14と一体モールド等がある。呼吸通路8は隅部のフィルタ部を挟み込む面と面に開口されており、内部にてつながっている。フィルタ膜7の下方には、呼吸孔11があり、呼吸通路8とつながっている。このとき、フィルタ膜7に高圧水が直接かからないように、フィルタ膜7は、外側より目視できないように呼吸通路8と呼吸孔11の位置関係にて設定されている。筐体厚さに対してフィルタ膜7及び呼吸通路8が薄いために、フィルタ部を薄い構成とすることができる。そのため、図11のように回路基板4とのクリアランスが大きく取れて、電子部品4aをフィルタ部下方に実装することが可能である。
[実施例7]
図7は本発明の第7の実施例を示すものである。前記の実施例6に対して、樹脂カバー上面14aから金属ベース15方向へと第一の呼吸通路8aが開口されており、その通路に直交するように樹脂カバー側面14bに第二の呼吸通路8bを開口し、これは樹脂カバー14内部にて交わっている。第一と第二の呼吸通路が交わった箇所の樹脂カバー14の内側方向に呼吸孔11を形成し、さらにその内側には呼吸フィルタ膜7が備え付けられている。このとき、フィルタ膜7に高圧水が直接かからないように、フィルタ膜7は、外側より目視できないように第一の呼吸通路8aと第二の呼吸通路8b及び呼吸孔11の位置関係にて設定されている。実施例6同様に、フィルタ部の厚みが薄く、フィルタ部下方にも基板にも部品の実装が可能である。
[実施例8]
図8は本発明の第8の実施例を示すものである。前記の実施例6に対して、排水性を向上させるために、樹脂カバー上面隅部14cにおいて、樹脂カバー上面14aと樹脂カバー側面14bに呼吸通路8があり、これが樹脂カバー14内部で交わっている。この呼吸通路8と呼吸孔11は交わっており、呼吸孔11の下方には呼吸フィルタ膜7が備えられている。このとき、フィルタ膜7に高圧水が直接かからないように、フィルタ膜7は、外側より目視できないように呼吸通路8との位置関係にて設定されている。実施例6同様に、フィルタ部の厚みが薄く、フィルタ部下方にも基板にも部品の実装が可能である。
[実施例9]
図9は本発明の第9の実施例を示すものである。前記の実施例8に対して、排水性を向上させるために、樹脂カバー上面隅部14cにおいて、樹脂カバー上面14aから金属ベース15方向へ第一の呼吸通路8aが、樹脂カバー側面14b外側から、樹脂カバー14の内側方向へ第二の呼吸通路8bが形成されており樹脂ベース14内にて交わっている。さらにこの呼吸通路8a、8bと呼吸孔11は交わっている。呼吸孔11の樹脂カバー14内側方向には呼吸フィルタ膜7が備えられている。このとき、フィルタ膜7に高圧水が直接かからないように、フィルタ膜7は、外側より目視できないように呼吸通路8との位置関係にて設定されている。実施例6同様に、フィルタ部の厚みが薄く、フィルタ部下方にも基板にも部品の実装が可能である。
以上、本実施例によれば、電子制御機器において、向きによらず、水が溜まりにくいために、車両への搭載レイアウトの自由度が大きくなる。また、フィルタ部を筐体隅部に配置することで、フィルタ部と基板の間のクリアランスを確保できるため、ネジ等の基板固定構造や電子部品を配置することが出来、結果、基板サイズを拡大させないという効果を得ることが可能である。
1 外部接続用コネクタ
2 金属カバー
3 樹脂ベース
3a 熱かしめ部
4 回路基板
4a 電子部品
4b 熱伝導材
5 接着剤
6 回路基板固定用ネジ
7 呼吸フィルタ膜
8 呼吸通路
8a 第一の呼吸通路
8b 第二の呼吸通路
9 呼吸通路開口面
10 リブ
11 呼吸孔
12 角度
13 傾斜部
14 樹脂カバー
14a 樹脂カバー上面
14b 樹脂カバー側面
14c 樹脂カバー上面隅部
15 金属ベース

Claims (3)

  1. 子部品が搭載された回路基板と、
    前記回路基板を覆う筐体と、
    前記筐体内部と外部との間に設置されるフィルタ膜を備えた電子制御装置において、
    前記筐体は、前記回路基板を搭載するベース部と、前記回路基板を覆う矩形状のカバー、を有し、
    前記カバー部は、上面部と、該上面部に繋がる複数の側面部と、該複数の側面部のうちの二つの側面部と前記上面部とに囲まれた隅部と、を有し、
    前記二つの側面部は、それぞれ開口部を有し、
    前記筐体内部には、前記二つの側面部のそれぞれの前記開口部に連通し、かつ前記フィルタ膜に繋がる通路が設けられ、
    前記フィルタ膜は、前記隅部に配置され、かつ前記上面部に対して傾斜して配置されていることを特徴とする電子制御装置。
  2. 請求項1記載の電子制御装置において、
    前記開口部は、台形の形状であることを特徴とする電子制御装置。
  3. 請求項1または請求項2に記載の電子制御装置において、
    前記カバー部は、樹脂によって形成され、
    前記ベース部は、金属によって形成されていることを特徴とする電子制御装置。
JP2018000966A 2013-12-05 2018-01-09 電子制御装置 Active JP6423552B2 (ja)

Applications Claiming Priority (2)

Application Number Priority Date Filing Date Title
JP2013251608 2013-12-05
JP2013251608 2013-12-05

Related Parent Applications (1)

Application Number Title Priority Date Filing Date
JP2015551443A Division JP6275163B2 (ja) 2013-12-05 2014-11-12 電子制御装置の筐体構造

Publications (2)

Publication Number Publication Date
JP2018067735A JP2018067735A (ja) 2018-04-26
JP6423552B2 true JP6423552B2 (ja) 2018-11-14

Family

ID=53273277

Family Applications (2)

Application Number Title Priority Date Filing Date
JP2015551443A Active JP6275163B2 (ja) 2013-12-05 2014-11-12 電子制御装置の筐体構造
JP2018000966A Active JP6423552B2 (ja) 2013-12-05 2018-01-09 電子制御装置

Family Applications Before (1)

Application Number Title Priority Date Filing Date
JP2015551443A Active JP6275163B2 (ja) 2013-12-05 2014-11-12 電子制御装置の筐体構造

Country Status (5)

Country Link
US (2) US9894785B2 (ja)
EP (2) EP3079449B1 (ja)
JP (2) JP6275163B2 (ja)
CN (1) CN105794327B (ja)
WO (1) WO2015083507A1 (ja)

Families Citing this family (9)

* Cited by examiner, † Cited by third party
Publication number Priority date Publication date Assignee Title
WO2015050145A1 (ja) * 2013-10-02 2015-04-09 日立オートモティブシステムズ株式会社 電子制御装置
DE102015206616A1 (de) * 2015-04-14 2016-10-20 Zf Friedrichshafen Ag Leiterplatte zur elektronischen Funktionssteuerung für ein Fahrzeug
US20170210307A1 (en) * 2016-01-22 2017-07-27 Toyota Motor Engineering & Manufacturing North America, Inc. Attachment for electrical components
JP6113314B1 (ja) * 2016-02-01 2017-04-12 三菱電機株式会社 防水型制御装置
CN106004713A (zh) * 2016-06-28 2016-10-12 天津雷沃动力有限公司 用于发动机电控单元上的防护结构
JP6521934B2 (ja) * 2016-12-16 2019-05-29 本田技研工業株式会社 電子装置
JP7114918B2 (ja) * 2018-02-06 2022-08-09 株式会社デンソー 電子制御装置
JP2019216171A (ja) * 2018-06-12 2019-12-19 株式会社ジェイテクト 制御装置
CN110329179B (zh) * 2019-07-15 2020-06-09 广州威尔森信息科技有限公司 一种本地分布式的车载终端调度系统及方法

Family Cites Families (22)

* Cited by examiner, † Cited by third party
Publication number Priority date Publication date Assignee Title
JPH0682884U (ja) * 1993-04-28 1994-11-25 富士通テン株式会社 筐 体
DE59800974D1 (de) * 1997-11-28 2001-08-09 Siemens Ag Belüftungseinrichtung, insbesondere für elektrische steuergeräte
CA2351543C (en) * 1999-09-16 2009-07-07 Tokai Kogyo Co., Ltd. Resin case in which gas-permeability and waterproof quality are compatible, and die for manufacturing such case
US6628523B2 (en) * 2001-02-08 2003-09-30 Denso Corporation Casing for electronic control unit
JP3669276B2 (ja) * 2001-02-21 2005-07-06 株式会社デンソー 電子制御機器用ケース及び電子制御機器
JP2005132165A (ja) * 2003-10-29 2005-05-26 Nsk Ltd 電動パワーステアリング装置
JP2006005162A (ja) * 2004-06-17 2006-01-05 Denso Corp 電子装置の防水ケース
JP4431003B2 (ja) * 2004-07-29 2010-03-10 パナソニック株式会社 電子装置
JP4310249B2 (ja) 2004-08-05 2009-08-05 三菱電機株式会社 電子制御ユニット
JP4443386B2 (ja) * 2004-11-09 2010-03-31 三菱電機株式会社 電子制御機器
JP4835418B2 (ja) * 2005-12-14 2011-12-14 株式会社デンソー 防水構造筐体
EP1799021B1 (en) 2005-12-14 2012-06-06 Denso Corporation Waterproof case
JP4858778B2 (ja) * 2007-01-31 2012-01-18 株式会社ノーリツ オーディオ装置
JP5094644B2 (ja) * 2008-08-29 2012-12-12 日立オートモティブシステムズ株式会社 電子制御装置
JP2010147208A (ja) * 2008-12-18 2010-07-01 Nec Corp 電子機器収納容器及び電子機器収納容器の組立方法
JP5147782B2 (ja) * 2009-05-26 2013-02-20 古野電気株式会社 収容ケース、流動体の流速低下構造、及び、舶用電子機器
JP5016072B2 (ja) * 2010-02-05 2012-09-05 三菱電機株式会社 防水筐体
JP5434669B2 (ja) * 2010-02-26 2014-03-05 株式会社デンソー 防水用筐体及び防水装置
JP2013069736A (ja) * 2011-09-21 2013-04-18 Hitachi Automotive Systems Ltd 電子制御装置
JP5796485B2 (ja) * 2011-12-28 2015-10-21 株式会社ノーリツ リモコン
DE102012203389A1 (de) * 2012-03-05 2013-09-05 Robert Bosch Gmbh Druckausgleichselement, insbesondere für ein Steuergerät
JP2015177140A (ja) * 2014-03-18 2015-10-05 日立オートモティブシステムズ株式会社 電子制御装置

Also Published As

Publication number Publication date
EP3079449B1 (en) 2020-01-08
US9894785B2 (en) 2018-02-13
JP2018067735A (ja) 2018-04-26
JPWO2015083507A1 (ja) 2017-03-16
CN105794327A (zh) 2016-07-20
US20180132366A1 (en) 2018-05-10
EP3641512A1 (en) 2020-04-22
US10225939B2 (en) 2019-03-05
US20160295721A1 (en) 2016-10-06
JP6275163B2 (ja) 2018-02-07
EP3079449A1 (en) 2016-10-12
CN105794327B (zh) 2019-01-15
WO2015083507A1 (ja) 2015-06-11
EP3079449A4 (en) 2017-11-29
EP3641512B1 (en) 2021-02-17

Similar Documents

Publication Publication Date Title
JP6423552B2 (ja) 電子制御装置
JP5543948B2 (ja) 電子制御装置のシール構造
CN103022837B (zh) 电子控制装置
CN104509226B (zh) 电子控制装置
JP5094644B2 (ja) 電子制御装置
JP5358639B2 (ja) 電子制御装置のシール構造
JP5474877B2 (ja) 電子制御装置
JP5368401B2 (ja) 電子制御装置
JP2013197405A (ja) 電子制御装置
JP2013069736A (ja) 電子制御装置
JP2014209639A (ja) 電子制御装置
JP6346048B2 (ja) 電子制御装置
JP5358544B2 (ja) 電子制御装置
JP6584547B2 (ja) 電子制御装置
JP2012069646A (ja) 電子制御装置
JP2011187666A (ja) 車載用防水装置の固定構造
JP2016103382A (ja) 電子制御装置
JP6640914B2 (ja) 電子制御装置
JP2005093905A (ja) 電子基板ユニット
JP5972803B2 (ja) 車載用制御装置
CN219999858U (zh) 具有防水和散热功能的仪表组件及汽车
JP2007259594A (ja) 電気接続箱およびその製造方法

Legal Events

Date Code Title Description
A977 Report on retrieval

Free format text: JAPANESE INTERMEDIATE CODE: A971007

Effective date: 20180918

TRDD Decision of grant or rejection written
A01 Written decision to grant a patent or to grant a registration (utility model)

Free format text: JAPANESE INTERMEDIATE CODE: A01

Effective date: 20180925

A61 First payment of annual fees (during grant procedure)

Free format text: JAPANESE INTERMEDIATE CODE: A61

Effective date: 20181018

R150 Certificate of patent or registration of utility model

Ref document number: 6423552

Country of ref document: JP

Free format text: JAPANESE INTERMEDIATE CODE: R150

S533 Written request for registration of change of name

Free format text: JAPANESE INTERMEDIATE CODE: R313533

R350 Written notification of registration of transfer

Free format text: JAPANESE INTERMEDIATE CODE: R350

R250 Receipt of annual fees

Free format text: JAPANESE INTERMEDIATE CODE: R250

R250 Receipt of annual fees

Free format text: JAPANESE INTERMEDIATE CODE: R250