JP6385397B2 - プラズマ処理チャンバの下側電極アセンブリ - Google Patents

プラズマ処理チャンバの下側電極アセンブリ Download PDF

Info

Publication number
JP6385397B2
JP6385397B2 JP2016142436A JP2016142436A JP6385397B2 JP 6385397 B2 JP6385397 B2 JP 6385397B2 JP 2016142436 A JP2016142436 A JP 2016142436A JP 2016142436 A JP2016142436 A JP 2016142436A JP 6385397 B2 JP6385397 B2 JP 6385397B2
Authority
JP
Japan
Prior art keywords
edge ring
gap
electrode assembly
lower electrode
support surface
Prior art date
Legal status (The legal status is an assumption and is not a legal conclusion. Google has not performed a legal analysis and makes no representation as to the accuracy of the status listed.)
Active
Application number
JP2016142436A
Other languages
English (en)
Other versions
JP2016219820A (ja
Inventor
オーガスティーノ・ジェーソン
チャウ・クアン
ギャフ・キース・ウィリアム
ハー・ハン・トゥオン
リチャードソン・ブレット・シー.
シン・ハーミート
Current Assignee (The listed assignees may be inaccurate. Google has not performed a legal analysis and makes no representation or warranty as to the accuracy of the list.)
Lam Research Corp
Original Assignee
Lam Research Corp
Priority date (The priority date is an assumption and is not a legal conclusion. Google has not performed a legal analysis and makes no representation as to the accuracy of the date listed.)
Filing date
Publication date
Application filed by Lam Research Corp filed Critical Lam Research Corp
Publication of JP2016219820A publication Critical patent/JP2016219820A/ja
Application granted granted Critical
Publication of JP6385397B2 publication Critical patent/JP6385397B2/ja
Active legal-status Critical Current
Anticipated expiration legal-status Critical

Links

Images

Classifications

    • HELECTRICITY
    • H01ELECTRIC ELEMENTS
    • H01JELECTRIC DISCHARGE TUBES OR DISCHARGE LAMPS
    • H01J37/00Discharge tubes with provision for introducing objects or material to be exposed to the discharge, e.g. for the purpose of examination or processing thereof
    • H01J37/02Details
    • H01J37/20Means for supporting or positioning the object or the material; Means for adjusting diaphragms or lenses associated with the support
    • HELECTRICITY
    • H01ELECTRIC ELEMENTS
    • H01JELECTRIC DISCHARGE TUBES OR DISCHARGE LAMPS
    • H01J37/00Discharge tubes with provision for introducing objects or material to be exposed to the discharge, e.g. for the purpose of examination or processing thereof
    • H01J37/32Gas-filled discharge tubes
    • H01J37/32009Arrangements for generation of plasma specially adapted for examination or treatment of objects, e.g. plasma sources
    • H01J37/32082Radio frequency generated discharge
    • H01J37/32091Radio frequency generated discharge the radio frequency energy being capacitively coupled to the plasma
    • HELECTRICITY
    • H01ELECTRIC ELEMENTS
    • H01JELECTRIC DISCHARGE TUBES OR DISCHARGE LAMPS
    • H01J37/00Discharge tubes with provision for introducing objects or material to be exposed to the discharge, e.g. for the purpose of examination or processing thereof
    • H01J37/32Gas-filled discharge tubes
    • H01J37/32431Constructional details of the reactor
    • H01J37/32532Electrodes
    • H01J37/32541Shape
    • HELECTRICITY
    • H01ELECTRIC ELEMENTS
    • H01JELECTRIC DISCHARGE TUBES OR DISCHARGE LAMPS
    • H01J37/00Discharge tubes with provision for introducing objects or material to be exposed to the discharge, e.g. for the purpose of examination or processing thereof
    • H01J37/32Gas-filled discharge tubes
    • H01J37/32431Constructional details of the reactor
    • H01J37/32532Electrodes
    • H01J37/3255Material
    • HELECTRICITY
    • H01ELECTRIC ELEMENTS
    • H01JELECTRIC DISCHARGE TUBES OR DISCHARGE LAMPS
    • H01J37/00Discharge tubes with provision for introducing objects or material to be exposed to the discharge, e.g. for the purpose of examination or processing thereof
    • H01J37/32Gas-filled discharge tubes
    • H01J37/32431Constructional details of the reactor
    • H01J37/32623Mechanical discharge control means
    • H01J37/32642Focus rings
    • HELECTRICITY
    • H01ELECTRIC ELEMENTS
    • H01JELECTRIC DISCHARGE TUBES OR DISCHARGE LAMPS
    • H01J37/00Discharge tubes with provision for introducing objects or material to be exposed to the discharge, e.g. for the purpose of examination or processing thereof
    • H01J37/32Gas-filled discharge tubes
    • H01J37/32431Constructional details of the reactor
    • H01J37/32715Workpiece holder

Landscapes

  • Chemical & Material Sciences (AREA)
  • Analytical Chemistry (AREA)
  • Physics & Mathematics (AREA)
  • Engineering & Computer Science (AREA)
  • Plasma & Fusion (AREA)
  • Drying Of Semiconductors (AREA)
  • Plasma Technology (AREA)
  • Electron Sources, Ion Sources (AREA)

Description

本願につき、2008年10月31日に出願された米国仮出願第61/193,151についての、米国特許法119条の優先権を主張する。米国仮出願第61/193,151のすべての内容は、参照のために本願明細書に取り込まれる。
以下の記載において、特定の構造および方法ついて言及しているが、かかる言及は、これらの構造および方法が、適用される法に基づいて従来技術と見なされることの承認として、必ずしも解釈されるべきではない。出願人は、言及された対象の内の任意のものが従来技術を構成しないことを示す権利を有する。
導電体(金属)処理の分野では、基板上に形成された1または複数の層をエッチングするために、一般に、プラズマ処理チャンバを用いる。エッチング中、基板は、チャンバ内の基板支持体の表面上に支持される。基板支持体は、基板の上方の空間にプラズマを閉じ込めるため、および/または、基板支持体(通例、クランプ機構を含む)をプラズマによる腐食から保護するために、基板支持体の周り(すなわち、基板の周り)に配置されたエッジリングを備えうる。エッジリング(フォーカスリングとも呼ばれる)は、犠牲部品(すなわち、消耗部品)でありうる。本願の権利者が所有する米国特許第5,805,408号、第5,998,932号、第6,013,984号、第6,039,836号、および、第6,383,931号に、導電および非導電のエッジリングが記載されている。
プラズマエッチング中に、大量のエネルギを低圧のガス(または、ガス混合物)に印加することにより、基板表面の上方にプラズマが形成される。プラズマは、高い運動エネルギを有するイオン、フリーラジカル、および、中性種を含みうる。基板の電位を調節することにより、基板の表面上に衝突して基板から材料(例えば、原子)を除去するように、プラズマ内の荷電種を方向付けることができる。
プラズマ処理チャンバで利用される下側電極アセンブリが、金属ベースと、上側および下側エッジリングとを備える。金属ベースは、互いにろう付けされて、ベースの下方側面上にろう付け線を形成する複数の金属プレートと、下方側面から水平内向きに広がるエッジリング支持面と、エッジリング支持面の上方の上方側面と、を備える。上側エッジリングは、エッジリング支持面上に取り付けられた下面を備えており、下側エッジリングはベースの下方側面を囲んでおり、上側および下側エッジリングの対向面の間、ならびに、下側エッジリングとベースの外周との間には、ギャップが存在する。ギャップの平均ギャップ幅に対する総ギャップ長のアスペクト比は、ろう付け線の位置におけるアーク放電を妨げるのに十分である。
従来のプラズマ処理装置を示す図。
比較の下側電極アセンブリを示す図。
図2に示したベースプレートの断面図。
図2に示したアセンブリの上側および下側エッジリングの詳細を示す図。
好ましい実施形態に従って、ラビリンスエッジリングアセンブリの詳細を示す図。
ラビリンスエッジリングアセンブリの実施形態を示す図。 ラビリンスエッジリングアセンブリの実施形態を示す図。 ラビリンスエッジリングアセンブリの実施形態を示す図。 ラビリンスエッジリングアセンブリの実施形態を示す図。 ラビリンスエッジリングアセンブリの実施形態を示す図。 ラビリンスエッジリングアセンブリの実施形態を示す図。
1または複数のガスを含むエッチングガスをチャンバに供給し、エッチングガスにエネルギを印加してガスをプラズマ状態に励起することによって、基板上の材料の層をエッチングするためには、一般に、プラズマチャンバが利用される。様々なプラズマチャンバ設計が周知であり、中密度または高密度プラズマを生成して維持するために、高周波(RF)エネルギ、マイクロ波エネルギ、および/または、磁界を用いることができる。
かかるプラズマ処理チャンバでは、適切な構成(シャワーヘッド電極またはガス注入システムなど)を通して、プロセスガスが供給され、RFエネルギをプロセスガスに供給することによって生成されたプラズマで、下側電極上に支持された半導体基板がプラズマエッチングされる。
金属エッチング処理については、下側電極アセンブリは、トランス結合プラズマ(TCP(商標))リアクタに組み込むことができる。トランス結合プラズマリアクタは、カリフォルニア州フレモントのラムリサーチ社から入手可能であり、RFエネルギがリアクタ内に誘導結合される。高密度プラズマを提供できる高流量プラズマリアクタの一例は、本願の権利者が所有する米国特許第5,948,704に開示されており、これは、引用によって本明細書に組み込まれる。
平行板プラズマエッチングリアクタを図1に示す。プラズマエッチングリアクタ100は、チャンバ110と、流入側ロードロック112と、随意的な流出側ロードロック114とを備える。これらの詳細については、本願の権利者が所有する米国特許第6,824,627号に記載されており、これは、引用によって全体が本明細書に組み込まれる。
ロードロック112および114(設けられている場合)は、ウエハなどの基板をウエハ供給部162からチャンバ110を通してウエハ容器164まで搬送するための搬送装置を備える。ロードロックポンプ176は、ロードロック112および114内に所望の真空圧を提供しうる。
ターボポンプなどの真空ポンプ172が、チャンバ内の所望の圧力を維持するよう適合されている。プラズマエッチング中、チャンバ圧力は制御され、好ましくは、プラズマを維持するのに十分なレベルに維持される。高すぎるチャンバ圧力は、エッチング停止に不都合に寄与しうる。一方、低すぎるチャンバ圧力は、プラズマ消滅につながりうる。平行板リアクタなどの中密度プラズマリアクタでは、チャンバ圧力は、約200mTorr未満(例えば、100mTorr未満または50mTorr未満)の圧力に維持されることが好ましい。
真空ポンプは、リアクタの壁にある排出口に接続されてよく、チャンバ内の圧力を制御するためにバルブ173によって調整されてよい。真空ポンプは、エッチングガスがチャンバ内に流される間に、200mTorr未満のチャンバ内圧力を維持できることが好ましい。
チャンバ110は、上側電極125(例えば、シャワーヘッド電極)を含む上側電極アセンブリ120と、ベースプレート(すなわち、下側電極)160、および、その上面に形成された基板支持面150を含む下側電極アセンブリ140と、を備える。上側電極アセンブリ120は、上側ハウジング130内に取り付けられる。上側ハウジング130は、上側電極125と基板支持面150との間のギャップを調節するために、機構132によって垂直移動できる。
1または複数のガスを含むエッチングガスを上側電極アセンブリ120に供給するために、エッチングガス源170が、ハウジング130に接続されてよい。好ましいエッチングリアクタでは、上側電極アセンブリは、反応物質および/または搬送ガスを基板表面の近傍の領域に供給するために利用できるガス分配システムを備える。ガス分配システムは、1または複数のガスリング、インジェクタ、および/または、シャワーヘッド(例えば、シャワーヘッド電極)を備えてよく、本願の権利者が所有する米国特許第6,333,272号、第6,230,651号、第6,013,155号、および、5,824,605号に開示されており、これらの特許の開示は、引用によって本明細書に組み込まれる。
上側電極125は、シャワーヘッド電極を含むことが好ましく、シャワーヘッド電極は、エッチングガスを分配するための開口部(図示せず)を備える。シャワーヘッド電極は、エッチングガスの所望の分布を実現できる1または複数の垂直に離間されたバッフル板を備えてよい。上側および下側電極は、グラファイト、ケイ素、炭化ケイ素、アルミニウム(例えば、陽極酸化アルミニウム)、または、それらの組み合わせなど、任意の適切な材料から形成されてよい。熱伝導液体源174が、上側電極アセンブリ120に接続されてよく、別の熱伝導液体源が、ベースプレート160に接続されてよい。
平行板リアクタについて上述したが、エッジリングアセンブリは、誘導結合プラズマチャンバなど、他のプラズマ処理システムで利用されてもよい。
図2は、上に基板Sが支持されたベースプレート202と、ベースプレート202を囲む下側エッジリング204と、上側エッジリング206とを備える基板支持体200を示す。上側エッジリング206は、下側エッジリングの上端と係合する段差を下面に備える。
図3は、上側プレート302と、中間プレート304と、下側プレート306とを備えるベースプレート300を示しており、これらのプレートは、6061−T6などのアルミニウム合金製であることが好ましい。中間プレート304は、流入口310を通った冷却剤が供給される冷却剤流路308を備える。ベースプレートを循環した冷却剤は、流出口(図示せず)から流出する。流路308は、6061などのアルミニウム製のプレートに機械加工されてよく、下側プレート306は、チャネルを密閉するように、ろう付け線312で中間プレート304に真空ろう付けされる。
上側プレート302は、Heなどの熱伝導ガスを供給される1または複数のガスチャネル314を備えてよい。上側プレート302の下面に機械加工された1または複数の半径方向に伸びるチャネル316は、ベースプレートの上面320に対してウエハを上げ下げするために垂直方向に動くリフトピン(図示せず)を通すリフトピン穴318と交差してよい。円周方向に離間されて軸方向に伸びるガス流路(図示せず)が、ガスチャネル314のHeをウエハの下面に向けて方向付ける。上側プレート302は、ガスチャネル314およびガス流路316を密閉するように、ろう付け線322で中間プレート304の上面に真空ろう付けされる。
上側および下側プレートを中間プレートにろう付けした後、ESCセラミック積層体(図示せず)を上側プレート302の上面に接着し、ベースプレートアセンブリを機械加工して滑らかな表面を提供し、アセンブリを陽極酸化する。陽極酸化によって、ろう付け線312および322において、約0.001インチ(25μm)厚さが増す。
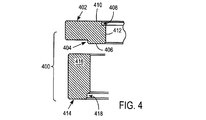
図4は、ベースプレート300の周囲に嵌合するよう設計されたエッジリングアセンブリを示す。しかしながら、アルミニウムまたはその他の導電層などの導電材料のプラズマエッチング中に誘導結合プラズマチャンバ内でウエハを支持するために利用された場合、真空ろう付けされた結合部312および322の周囲の複数箇所で、45時間後に、アークスポットが観察された。このエッジリングアセンブリは、上側リング404および下側リング414を備えており、0.003から0.047インチ(0.0762〜1.1938mm)の範囲のギャップ高さ(H)および約0.6インチ(約15.24mm)のギャップ長さ(L)を有する環状の水平ギャップを有する。上側および下側エッジリングの対向面のはめ合いを可能にする公差を有する機械加工面を製造することから、ギャップ高さは、0.003から0.047の範囲を有する。例えば、リングは機械加工されてよく、石英リングは、300mmウエハを支持するのに適したベースプレート上で利用するために、約12インチ(約304.8mm)以上の内径を有する。例えば、上側エッジリングは、約12インチの内径を有してよく、下側エッジリングの内径は、約12.6インチ(約320.04mm)であってよい。0.011から0.030インチ(0.2794〜0.762mm)のギャップ範囲と、約1インチ(約25.4mm)の長さとを有する環状垂直ギャップが、下側エッジリングの内周をベースプレートの外周から隔てる。
図2のエッジリングアセンブリを参照すると、下面に1つの小さい段差を有する上側エッジリングは、ベースプレートアセンブリのろう付け線におけるアーク放電の防止には無効であることがわかった。逆に、ギャップのアスペクト比を増大させるために、より大きい段差、複数の段差、または、他の変形例を有する上側エッジリングにより、ろう付け線におけるアーク放電を防止することができる。特に、図4は、1段差のエッジリングアセンブリ400の断面図を示しており、上側エッジリング402は、0.6インチ(15.24mm)の高さ(H)と、13.820インチ(351.028mm)の外径(OD)と、12.0インチ(304.8mm)の内径(ID)と、1.820インチ(46.228mm)の幅(W)とを有し、段差404は、下面406に約0.1インチ(2.54mm)のオフセットを提供する。ベースプレートの上面に張り出すウエハのエッジを収容するために、後退部408が、上面410の下方で内周412から内部に0.108インチ(2.7432mm)広がっている。下側エッジリング414は、後退部404と係合する上端416を備える。後退部418は、ベースプレート300の下の誘電体部材と係合する。
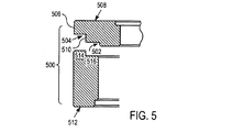
図5は、アーク放電の問題を克服するエッジリングアセンブリを示す。エッジリングアセンブリは、複数の段差502および504を下面に有する上側エッジリング508を備えており、それにより、上側および下側エッジリングの対向面の間のギャップが長くなるため、真空ろう付け線312および322の位置へのプラズマの侵入が妨げられる。この段付きリングを用いると、2000RFバイアス時間後にもアーク放電が観察されなかった。
2段エッジリングアセンブリ500は、内側段差502および外側段差504を備える。内側段差は、0.1インチの深さを有しており、第2の段差504は、上側エッジリング508の外周506に0.250インチ(6.35mm)の後退部を提供し、外周から垂直面510まで伸びる。下側エッジリング512は、後退部504と係合する突出部514と、内側段差502と係合する上部内側部分516とを備える。
ラビリンスエッジリングアセンブリは、様々なエッジリング構成を有するよう実施可能である。変形例Aでは、上側エッジリングの下面に単一の段差が設けられるが、下面からの垂直オフセットが大きくなっており、それに伴って、下側エッジリングの高さが増大されうる。例えば、後退部は、エッジリングの高さの25から50%に伸びてよい。変形例Bでは、2つの段差が上側エッジリングの下面に設けられてよく、下側エッジリングの上面は、上側エッジリングの下面と係合する1または複数の突出部を備える。変形例Cでは、エッジリング高さの25から50%に伸びる単一の段差が、上側エッジリングの下面内に伸びており、下側エッジリングは、上側エッジリングの後退部と係合する単一の段差を備える。変形例Dでは、上側エッジリングの下面の段差は、下面の50%超にわたって広がっており、下側エッジリングは、エッジリング取り付け面の外側部分に広がる内側突出部を備える。変形例Dの段差の高さは、上側エッジリングの高さの30から60%にわたって垂直に伸びる。変形例Eでは、比較のエッジリングアセンブリは、上側および下側エッジリングの対向面に整列した溝にはまる誘電体バリアリングを備える。バリアリングは、上側エッジリングの高さの10から40%の深さを有する溝にぴったりはまる。変形例Fでは、上側エッジリングは、その下面に単一の環状後退部を備えており、下側エッジリングは、後退部と係合する環状突出部を備える。後退部は、上側エッジリング高さの10から40%に伸びており、下側エッジリングの幅の15から60%の幅を有する。
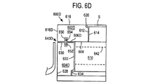
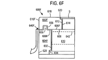
図6Aは、上側リング602および下側リング604を備えるエッジリングアセンブリ600を示す。上側リング602は、温度制御されたベース610の環状面608上に支持された下面606と、ベース610の円筒形の側面614に対向する内側面612と、プラズマ環境に露出される外側面616と、プラズマ環境に露出される(ベース上に支持された基板Sを囲む)上面618と、基板の外周の下に位置する上側段差620と、外側下面624および外側下方側壁626を備える下側段差622と、を備える。下側エッジリング604は、外面628と、上面630と、内側面632と、内壁632の最下部にある下側段差634と、を備える。上側エッジリング602および下側エッジリング604の対向面の間に0.003から0.055インチ(0.0762〜1.397mm)の幅(W)を有するギャップ640は、ろう付けされた結合部642の位置におけるアーク放電を防止するのに十分な長さ(L)を有する。したがって、W/Lのアスペクト比は、平均ギャップ幅について少なくとも20であることが好ましい。
図6Bは、上側リング602Bおよび下側リング604Bを備えるエッジリングアセンブリ600Bを示す。上側リング602Bは、温度制御されたベース610の環状面608上に支持された下面606Bと、ベース610の円筒形の側面614に対向する内側面612と、プラズマ環境に露出される外側面616Bと、プラズマ環境に露出される(ベース上に支持された基板Sを囲む)上面618と、基板の外周の下に位置する上側段差620と、外側下面624および外側下方側壁626を備える下側段差622と、を備える。下側エッジリング604は、外面628と、上面630Bおよび631Bと、内側面632と、内壁632の最下部にある下側段差634と、を備える。上側エッジリング602Bおよび下側エッジリング604Bの対向面の間に0.003から0.055インチ(0.0762〜1.397mm)の幅(W)を有するギャップ640は、ろう付けされた結合部642の位置におけるアーク放電を防止するのに十分な長さ(L)を有する。したがって、W/Lのアスペクト比は、平均ギャップ幅について少なくとも20であることが好ましい。
図6Cは、上側リング602Cおよび下側リング604Cを備えるエッジリングアセンブリ600Cを示す。上側リング602Cは、温度制御されたベース610の環状面608上に支持された内側部分、および、支持面を越えて広がる外側部分を有する下面606Cと、ベース610の円筒形の側面614に対向する内側面612と、プラズマ環境に露出される外側面616Cと、プラズマ環境に露出される(ベース上に支持された基板Sを囲む)上面618と、基板の外周の下に位置する上側段差620と、外側下面624Cおよび外側下方側壁626Cを備える下側段差622Cと、を備える。下側エッジリング604Cは、外面628と、上面630Cおよび631Cと、内側面632と、内壁632の最下部にある下側段差634と、を備える。上側エッジリング602Cおよび下側エッジリング604Cの対向面の間に0.003から0.055インチ(0.0762〜1.397mm)の幅(W)を有するギャップ640Cは、ろう付けされた結合部642の位置におけるアーク放電を防止するのに十分な長さ(L)を有する。したがって、W/Lのアスペクト比は、平均ギャップ幅について少なくとも20であることが好ましい。
図6Dは、上側リング602Dおよび下側リング604Dを備えるエッジリングアセンブリ600Dを示す。上側リング602Dは、温度制御されたベース610の環状面608上に支持された内側部分、および、支持面の外側に広がる外側部分を有する下面606Dと、ベース610の円筒形の側面614に対向する内側面612と、プラズマ環境に露出される外側面616Dと、プラズマ環境に露出される(ベース上に支持された基板Sを囲む)上面618と、基板の外周の下に位置する上側段差620と、下側エッジリング604Dの環状溝652に対向する環状溝650と、を備える。環状溝650および652内には、誘電体リング654が取り付けられる。下側エッジリング604Dは、外面628と、上面630Dと、内側面632と、内壁632の最下部にある下側段差634と、を備える。上側エッジリング602Dおよび下側エッジリング604Dの対向面の間に0.003から0.055インチ(0.0762〜1.397mm)の幅(W)を有するギャップ640Dは、ろう付けされた結合部642の位置におけるアーク放電を防止するのに十分な長さまで、誘電体リング654によって延長された長さ(L)を有する。したがって、W/Lのアスペクト比は、平均ギャップ幅について少なくとも20であることが好ましい。
図6Eは、上側リング602Eおよび下側リング604Eを備えるエッジリングアセンブリ600Eを示す。上側リング602Eは、温度制御されたベース610の環状面608上に支持された下面606Eと、ベース610の円筒形の側面614に対向する内側面612と、プラズマ環境に露出される外側面616Eと、プラズマ環境に露出される(ベース上に支持された基板Sを囲む)上面618と、基板の外周の下に位置する上側段差620と、外側下面624Eおよび外側下方側壁626Eを備える下側段差622Eと、を備える。下側エッジリング604Eは、外面628と、上面630と、内側面632と、内壁632の最下部にある下側段差634と、を備える。上側エッジリング602Eおよび下側エッジリング604Eの対向面の間に0.003から0.055インチ(0.0762〜1.397mm)の幅(W)を有するギャップ640Eは、ろう付けされた結合部642の位置におけるアーク放電を防止するのに十分な長さ(L)を有する。したがって、W/Lのアスペクト比は、平均ギャップ幅について少なくとも20であることが好ましい。
図6Fは、上側リング602Fおよび下側リング604Fを備えるエッジリングアセンブリ600Fを示す。上側リング602Fは、温度制御されたベース610の環状面608上に支持された下面606であって、下側エッジリング604Fから上向きに伸びる環状突出部658を受け入れる環状凹部を下面606Fの外側部分に備える下面606と、ベース610の円筒形の側面614に対向する内側面612と、プラズマ環境に露出される外側面616Fと、プラズマ環境に露出される(ベース上に支持された基板Sを囲む)上面618と、基板の外周の下に位置する上側段差620と、を備える。下側エッジリング604Fは、外面628と、上面630Fと、内側面632と、内壁632の最下部にある下側段差634と、を備える。上側エッジリング602Fおよび下側エッジリング604Fの対向面の間に0.003から0.055インチ(0.0762〜1.397mm)の幅(W)を有するギャップ640Fは、ろう付けされた結合部642の位置におけるアーク放電を防止するのに十分な長さ(L)を有する。したがって、W/Lのアスペクト比は、平均ギャップ幅について少なくとも20であることが好ましい。
本明細書で用いられているように、用語「含む」および「備える」は、記載された特徴、工程、または、要素の存在を規定するものと解釈されるが、これらの用語を用いることは、1または複数の他の特徴、工程、要素、または、それらのグループの存在または追加を排除するものではない。
上述の引用はすべて、参照によって全体が本明細書に組み込まれることを各々の引用について具体的かつ個々に示したかのように、参照によって同程度まで全体が本明細書に組み込まれる。
好ましい実施形態を参照しつつ本発明について説明したが、当業者にとって明らかであるように、バリエーションおよび変形例を用いてもよいことを理解されたい。かかるバリエーションおよび変形例は、添付の特許請求の範囲に規定される本発明の範囲内にあると見なされるべきである。
本発明は、たとえば、以下のような態様で実現することもできる。

適用例1
プラズマ処理チャンバで利用される下側電極アセンブリであって、
(a)複数の金属プレートを含む金属ベースであって、
(i)前記複数の金属プレートを冶金結合するろう付け結合部の位置にある下方側面のろう付け線と、
(ii)前記下方側面から水平内向きに広がるエッジリング支持面と、
(iii)前記エッジリング支持面の上方の上方側面と、を備える、金属ベースと、
(b)前記エッジリング支持面上に取り付けられた下面を備える上側エッジリングと、
(c)前記下方側面を囲む下側エッジリングと、
(d)前記上側エッジリングおよび前記下側エッジリングの対向面の間、ならびに、前記下側エッジリングと前記ベースの外周との間のギャップと、を備え、
前記ギャップの平均ギャップ幅に対する総ギャップ長のアスペクト比は、前記ろう付け線の位置におけるアーク放電を妨げるのに十分である、下側電極アセンブリ。

適用例2
適用例1の下側電極アセンブリであって、
前記アスペクト比は、少なくとも20である、下側電極アセンブリ。

適用例3
適用例1の下側電極アセンブリであって、
前記下側および/または上側エッジリングは、誘電材料を含む、下側電極アセンブリ。

適用例4
適用例1の下側電極アセンブリであって、
前記誘電材料は、イットリア、セリア、アルミナ、窒化シリコン、および、石英からなる群より選択された少なくとも1つを含む、下側電極アセンブリ。

適用例5
適用例1の下側電極アセンブリであって、
前記金属ベースは、上側金属プレート、中間金属プレート、および、下側金属プレートを含み、
前記上側および中間プレートは、上側ろう付け線で真空ろう付けされ、
前記中間および下側プレートは、下側ろう付け線で真空ろう付けされる、下側電極アセンブリ。

適用例6
適用例1の下側電極アセンブリであって、
前記下側エッジリングは、前記金属ベースの前記下方側面に対向する側面であって、前記金属ベースの前記エッジリング支持面の上方に伸びる側面を備える、下側電極アセンブリ。

適用例7
適用例6の下側電極アセンブリであって、
前記下側エッジリングは、さらに、内向きに伸びる突出部を備え、前記突出部の下面は、前記エッジリング支持面の外側部分の上に存在する、下側電極アセンブリ。

適用例8
適用例1の下側電極アセンブリであって、
前記上側エッジリングは、その下面に2つの段差を備える、下側電極アセンブリ。

適用例9
適用例1の下側電極アセンブリであって、
前記上側および下側エッジリングは、前記対向面に、互いに対向する溝を備えており、前記溝の中に誘電体リングが配置される、下側電極アセンブリ。

適用例10
適用例1の下側電極アセンブリであって、
前記下側エッジリングは、その上面に環状突出部を備え、
前記上側エッジリングは、前記環状突出部を受け入れる環状凹部を備える、下側電極アセンブリ。

適用例11
適用例1の下側電極アセンブリであって、
前記上側エッジリングは、前記下面に単一の段差を備え、
前記段差は、前記下面内に少なくとも6.35mm伸びており、
前記下側エッジリングは、前記下側エッジリングの上側部分が、前記段差によって形成された後退部内に収まるように、前記ベースの前記下方側壁よりも大きい高さを有する、下側電極アセンブリ。

Claims (11)

  1. プラズマ処理チャンバで利用される下側電極アセンブリであって、
    (a)複数の金属プレートを含む金属ベースであって、
    (i)前記複数の金属プレートを冶金結合するろう付け結合部の位置にある下方側面のろう付け線と、
    (ii)前記下方側面から水平内向きに広がるエッジリング支持面と、
    (iii)前記エッジリング支持面の上方の上方側面と、を備える、金属ベースと、
    (b)前記エッジリング支持面上に取り付けられた下面を備える上側エッジリングと、
    (c)前記下方側面を囲む下側エッジリングと、
    (d)前記上側エッジリングおよび前記下側エッジリングの対向面の間、ならびに、前記下側エッジリングと前記ベースの外周との間のギャップと、を備え、
    前記ギャップの平均ギャップ幅に対する総ギャップ長のアスペクト比は少なくとも20である、下側電極アセンブリ。
  2. 請求項1に記載の下側電極アセンブリであって、
    前記下側エッジリングおよび/または前記上側エッジリングは、誘電材料を含む、下側電極アセンブリ。
  3. 請求項2に記載の下側電極アセンブリであって、
    前記誘電材料は、イットリア、セリア、アルミナ、窒化シリコン、および、石英からなる群より選択された少なくとも1つを含む、下側電極アセンブリ。
  4. 請求項1に記載の下側電極アセンブリであって、
    前記金属ベースは、上側金属プレート、中間金属プレート、および、下側金属プレートを含み、
    前記上側金属プレートおよび前記中間金属プレートは、上側ろう付け線で真空ろう付けされ、
    前記中間金属プレートおよび前記下側金属プレートは、下側ろう付け線で真空ろう付けされる、下側電極アセンブリ。
  5. プラズマ処理チャンバで利用される下側電極アセンブリであって、
    (a)複数の金属プレートを含む金属ベースであって、
    (i)前記複数の金属プレートを冶金結合するろう付け結合部の位置にある下方側面のろう付け線と、
    (ii)前記下方側面から水平内向きに広がるエッジリング支持面と、
    (iii)前記エッジリング支持面の上方の上方側面と、を備える、金属ベースと、
    (b)前記エッジリング支持面上に取り付けられた下面を備える上側エッジリングと、
    (c)前記下方側面を囲む下側エッジリングと、
    (d)前記上側エッジリングおよび前記下側エッジリングの対向面の間、ならびに、前記下側エッジリングと前記ベースの外周との間のギャップと、を備え、
    前記ギャップの平均ギャップ幅に対する総ギャップ長のアスペクト比は少なくとも20であり、
    前記下側エッジリングは、前記金属ベースの前記下方側面に対向する側面であって、前記金属ベースの前記エッジリング支持面の上方に伸びる側面を備える、下側電極アセンブリ。
  6. 請求項5に記載の下側電極アセンブリであって、
    前記下側エッジリングは、さらに、内向きに伸びる突出部を備え、前記突出部の下面は、前記金属ベースの前記エッジリング支持面の外側部分の上に存在する、下側電極アセンブリ。
  7. プラズマ処理チャンバで利用される下側電極アセンブリであって、
    (a)複数の金属プレートを含む金属ベースであって、
    (i)前記複数の金属プレートを冶金結合するろう付け結合部の位置にある下方側面のろう付け線と、
    (ii)前記下方側面から水平内向きに広がるエッジリング支持面と、
    (iii)前記エッジリング支持面の上方の上方側面と、を備える、金属ベースと、
    (b)前記エッジリング支持面上に取り付けられた下面を備える上側エッジリングと、
    (c)前記下方側面を囲む下側エッジリングと、
    (d)前記上側エッジリングおよび前記下側エッジリングの対向面の間、ならびに、前記下側エッジリングと前記ベースの外周との間のギャップと、を備え、
    前記ギャップの平均ギャップ幅に対する総ギャップ長のアスペクト比は少なくとも20であり、
    前記上側エッジリングは、その下面に2つの段差を備える、下側電極アセンブリ。
  8. プラズマ処理チャンバで利用される下側電極アセンブリであって、
    (a)複数の金属プレートを含む金属ベースであって、
    (i)前記複数の金属プレートを冶金結合するろう付け結合部の位置にある下方側面のろう付け線と、
    (ii)前記下方側面から水平内向きに広がるエッジリング支持面と、
    (iii)前記エッジリング支持面の上方の上方側面と、を備える、金属ベースと、
    (b)前記エッジリング支持面上に取り付けられた下面を備える上側エッジリングと、
    (c)前記下方側面を囲む下側エッジリングと、
    (d)前記上側エッジリングおよび前記下側エッジリングの対向面の間、ならびに、前記下側エッジリングと前記ベースの外周との間のギャップと、を備え、
    前記ギャップの平均ギャップ幅に対する総ギャップ長のアスペクト比は少なくとも20であり、
    前記上側エッジリングおよび前記下側エッジリングは、前記対向面に、互いに対向する溝を備えており、前記溝の中に誘電体リングが配置される、下側電極アセンブリ。
  9. プラズマ処理チャンバで利用される下側電極アセンブリであって、
    (a)複数の金属プレートを含む金属ベースであって、
    (i)前記複数の金属プレートを冶金結合するろう付け結合部の位置にある下方側面のろう付け線と、
    (ii)前記下方側面から水平内向きに広がるエッジリング支持面と、
    (iii)前記エッジリング支持面の上方の上方側面と、を備える、金属ベースと、
    (b)前記エッジリング支持面上に取り付けられた下面を備える上側エッジリングと、
    (c)前記下方側面を囲む下側エッジリングと、
    (d)前記上側エッジリングおよび前記下側エッジリングの対向面の間、ならびに、前記下側エッジリングと前記ベースの外周との間のギャップと、を備え、
    前記ギャップの平均ギャップ幅に対する総ギャップ長のアスペクト比は少なくとも20であり、
    前記下側エッジリングは、その上面に環状突出部を備え、
    前記上側エッジリングは、前記環状突出部を受け入れる環状凹部を備える、下側電極アセンブリ。
  10. プラズマ処理チャンバで利用される下側電極アセンブリであって、
    (a)複数の金属プレートを含む金属ベースであって、
    (i)前記複数の金属プレートを冶金結合するろう付け結合部の位置にある下方側面のろう付け線と、
    (ii)前記下方側面から水平内向きに広がるエッジリング支持面と、
    (iii)前記エッジリング支持面の上方の上方側面と、を備える、金属ベースと、
    (b)前記エッジリング支持面上に取り付けられた下面を備える上側エッジリングと、
    (c)前記下方側面を囲む下側エッジリングと、
    (d)前記上側エッジリングおよび前記下側エッジリングの対向面の間、ならびに、前記下側エッジリングと前記ベースの外周との間のギャップと、を備え、
    前記ギャップの平均ギャップ幅に対する総ギャップ長のアスペクト比は少なくとも20であり、
    前記上側エッジリングは、前記下面に単一の段差を備え、
    前記段差は、前記下面内に少なくとも6.35mm伸びており、
    前記下側エッジリングは、前記下側エッジリングの上側部分が、前記段差によって形成された後退部内に収まるように、前記ベースの下方側壁よりも大きい高さを有する、下側電極アセンブリ。
  11. 請求項1に記載の下側電極アセンブリであって、
    前記上側エッジリングは、前記下側電極アセンブリが前記プラズマ処理チャンバにおいて使用されるときプラズマに直接露出される面を含む、下側電極アセンブリ。
JP2016142436A 2008-10-31 2016-07-20 プラズマ処理チャンバの下側電極アセンブリ Active JP6385397B2 (ja)

Applications Claiming Priority (2)

Application Number Priority Date Filing Date Title
US19315108P 2008-10-31 2008-10-31
US61/193,151 2008-10-31

Related Parent Applications (1)

Application Number Title Priority Date Filing Date
JP2015090990A Division JP5976875B2 (ja) 2008-10-31 2015-04-28 プラズマ処理チャンバの下側電極アセンブリ

Publications (2)

Publication Number Publication Date
JP2016219820A JP2016219820A (ja) 2016-12-22
JP6385397B2 true JP6385397B2 (ja) 2018-09-05

Family

ID=42130005

Family Applications (3)

Application Number Title Priority Date Filing Date
JP2011534507A Active JP5743895B2 (ja) 2008-10-31 2009-10-29 プラズマ処理チャンバの下側電極アセンブリ
JP2015090990A Active JP5976875B2 (ja) 2008-10-31 2015-04-28 プラズマ処理チャンバの下側電極アセンブリ
JP2016142436A Active JP6385397B2 (ja) 2008-10-31 2016-07-20 プラズマ処理チャンバの下側電極アセンブリ

Family Applications Before (2)

Application Number Title Priority Date Filing Date
JP2011534507A Active JP5743895B2 (ja) 2008-10-31 2009-10-29 プラズマ処理チャンバの下側電極アセンブリ
JP2015090990A Active JP5976875B2 (ja) 2008-10-31 2015-04-28 プラズマ処理チャンバの下側電極アセンブリ

Country Status (7)

Country Link
US (1) US9412555B2 (ja)
EP (1) EP2342951B1 (ja)
JP (3) JP5743895B2 (ja)
KR (3) KR101624123B1 (ja)
CN (1) CN102187741B (ja)
TW (1) TWI496511B (ja)
WO (1) WO2010062345A2 (ja)

Families Citing this family (37)

* Cited by examiner, † Cited by third party
Publication number Priority date Publication date Assignee Title
US8485128B2 (en) 2010-06-30 2013-07-16 Lam Research Corporation Movable ground ring for a plasma processing chamber
US9869392B2 (en) * 2011-10-20 2018-01-16 Lam Research Corporation Edge seal for lower electrode assembly
US9859142B2 (en) 2011-10-20 2018-01-02 Lam Research Corporation Edge seal for lower electrode assembly
US8677586B2 (en) * 2012-04-04 2014-03-25 Lam Research Corporation Installation fixture for elastomer bands and methods of using the same
US9070536B2 (en) * 2012-04-24 2015-06-30 Applied Materials, Inc. Plasma reactor electrostatic chuck with cooled process ring and heated workpiece support surface
US9997381B2 (en) 2013-02-18 2018-06-12 Lam Research Corporation Hybrid edge ring for plasma wafer processing
US9502279B2 (en) 2013-06-28 2016-11-22 Lam Research Corporation Installation fixture having a micro-grooved non-stick surface
US9583369B2 (en) 2013-07-20 2017-02-28 Applied Materials, Inc. Ion assisted deposition for rare-earth oxide based coatings on lids and nozzles
US9725799B2 (en) * 2013-12-06 2017-08-08 Applied Materials, Inc. Ion beam sputtering with ion assisted deposition for coatings on chamber components
JP2015115421A (ja) * 2013-12-10 2015-06-22 東京エレクトロン株式会社 プラズマ処理装置及びフォーカスリング
US9583377B2 (en) 2013-12-17 2017-02-28 Lam Research Corporation Installation fixture for elastomer bands
US10804081B2 (en) * 2013-12-20 2020-10-13 Lam Research Corporation Edge ring dimensioned to extend lifetime of elastomer seal in a plasma processing chamber
US10090211B2 (en) 2013-12-26 2018-10-02 Lam Research Corporation Edge seal for lower electrode assembly
JP6540022B2 (ja) * 2014-12-26 2019-07-10 東京エレクトロン株式会社 載置台及びプラズマ処理装置
US10658222B2 (en) 2015-01-16 2020-05-19 Lam Research Corporation Moveable edge coupling ring for edge process control during semiconductor wafer processing
TWI613753B (zh) * 2015-02-16 2018-02-01 麥豐密封科技股份有限公司 靜電吸附承盤側壁之改良密封件
CN106711061B (zh) * 2015-11-18 2019-11-29 北京北方华创微电子装备有限公司 承载装置及反应腔室
JP6545613B2 (ja) * 2015-12-28 2019-07-17 クアーズテック株式会社 フォーカスリング
JP7098273B2 (ja) * 2016-03-04 2022-07-11 アプライド マテリアルズ インコーポレイテッド ユニバーサルプロセスキット
US10256003B2 (en) 2017-01-31 2019-04-09 Plansee Japan Ltd. Blind-vented electrode
JP7065875B2 (ja) 2017-03-31 2022-05-12 マトソン テクノロジー インコーポレイテッド プラズマ処理装置のためのペデスタルアセンブリ
CN110462973B (zh) * 2017-04-07 2023-06-27 索尤若驱动有限及两合公司 用于制造用于感应式地将能量传输给可动对象的系统的方法以及用于实施所述方法的装置
US12230482B2 (en) * 2017-07-24 2025-02-18 Lam Research Corporation Moveable edge ring designs
CN118380374A (zh) 2017-11-21 2024-07-23 朗姆研究公司 底部边缘环和中部边缘环
KR102505152B1 (ko) * 2017-12-15 2023-02-28 램 리써치 코포레이션 플라즈마 챔버에서 사용하기 위한 링 구조체들 및 시스템들
US12293902B2 (en) 2018-01-19 2025-05-06 Applied Materials, Inc. Process kit for a substrate support
US11387134B2 (en) * 2018-01-19 2022-07-12 Applied Materials, Inc. Process kit for a substrate support
SG11202006623YA (en) 2018-08-13 2020-08-28 Lam Res Corp Replaceable and/or collapsible edge ring assemblies for plasma sheath tuning incorporating edge ring positioning and centering features
JP7228989B2 (ja) * 2018-11-05 2023-02-27 東京エレクトロン株式会社 載置台、エッジリングの位置決め方法及び基板処理装置
US11094511B2 (en) * 2018-11-13 2021-08-17 Applied Materials, Inc. Processing chamber with substrate edge enhancement processing
CN112992631B (zh) * 2019-12-16 2023-09-29 中微半导体设备(上海)股份有限公司 一种下电极组件,其安装方法及等离子体处理装置
WO2021194470A1 (en) 2020-03-23 2021-09-30 Lam Research Corporation Mid-ring erosion compensation in substrate processing systems
CN112466740A (zh) * 2020-11-30 2021-03-09 上海诺硕电子科技有限公司 等离子体处理晶圆用载具及晶圆处理设备
CN114649178A (zh) * 2020-12-18 2022-06-21 中微半导体设备(上海)股份有限公司 一种下电极组件及等离子体处理装置
KR102580583B1 (ko) * 2021-08-10 2023-09-21 피에스케이 주식회사 기판 처리 장치
US12469733B2 (en) 2021-12-14 2025-11-11 Applied Materials, Inc. Wafer to baseplate arc prevention using textured dielectric
WO2023136814A1 (en) * 2022-01-11 2023-07-20 Lam Research Corporation Plasma radical edge ring barrier seal

Family Cites Families (34)

* Cited by examiner, † Cited by third party
Publication number Priority date Publication date Assignee Title
JP3257741B2 (ja) 1994-03-03 2002-02-18 東京エレクトロン株式会社 プラズマエッチング装置及び方法
US5573596A (en) * 1994-01-28 1996-11-12 Applied Materials, Inc. Arc suppression in a plasma processing system
JP3210207B2 (ja) * 1994-04-20 2001-09-17 東京エレクトロン株式会社 プラズマ処理装置
JPH08316299A (ja) * 1995-03-14 1996-11-29 Souzou Kagaku:Kk 静電チャック
US5824605A (en) 1995-07-31 1998-10-20 Lam Research Corporation Gas dispersion window for plasma apparatus and method of use thereof
US5805408A (en) 1995-12-22 1998-09-08 Lam Research Corporation Electrostatic clamp with lip seal for clamping substrates
US5948704A (en) 1996-06-05 1999-09-07 Lam Research Corporation High flow vacuum chamber including equipment modules such as a plasma generating source, vacuum pumping arrangement and/or cantilevered substrate support
US6013155A (en) 1996-06-28 2000-01-11 Lam Research Corporation Gas injection system for plasma processing
US6284093B1 (en) * 1996-11-29 2001-09-04 Applied Materials, Inc. Shield or ring surrounding semiconductor workpiece in plasma chamber
JPH10303288A (ja) * 1997-04-26 1998-11-13 Anelva Corp プラズマ処理装置用基板ホルダー
US6039836A (en) 1997-12-19 2000-03-21 Lam Research Corporation Focus rings
US6179924B1 (en) * 1998-04-28 2001-01-30 Applied Materials, Inc. Heater for use in substrate processing apparatus to deposit tungsten
US6013984A (en) 1998-06-10 2000-01-11 Lam Research Corporation Ion energy attenuation method by determining the required number of ion collisions
US5998932A (en) 1998-06-26 1999-12-07 Lam Research Corporation Focus ring arrangement for substantially eliminating unconfined plasma in a plasma processing chamber
US6230651B1 (en) 1998-12-30 2001-05-15 Lam Research Corporation Gas injection system for plasma processing
US6383931B1 (en) 2000-02-11 2002-05-07 Lam Research Corporation Convertible hot edge ring to improve low-K dielectric etch
US6872281B1 (en) * 2000-09-28 2005-03-29 Lam Research Corporation Chamber configuration for confining a plasma
US6333272B1 (en) 2000-10-06 2001-12-25 Lam Research Corporation Gas distribution apparatus for semiconductor processing
US6391787B1 (en) 2000-10-13 2002-05-21 Lam Research Corporation Stepped upper electrode for plasma processing uniformity
US6554954B2 (en) 2001-04-03 2003-04-29 Applied Materials Inc. Conductive collar surrounding semiconductor workpiece in plasma chamber
JP2003152063A (ja) * 2001-11-09 2003-05-23 Applied Materials Inc 静電チャック及び半導体製造装置
AU2002366921A1 (en) * 2001-12-13 2003-07-09 Tokyo Electron Limited Ring mechanism, and plasma processing device using the ring mechanism
JP4082924B2 (ja) * 2002-04-16 2008-04-30 キヤノンアネルバ株式会社 静電吸着ホルダー及び基板処理装置
US6896765B2 (en) * 2002-09-18 2005-05-24 Lam Research Corporation Method and apparatus for the compensation of edge ring wear in a plasma processing chamber
JP2004296553A (ja) * 2003-03-25 2004-10-21 Ngk Insulators Ltd 半導体製造装置用部材
KR100578129B1 (ko) * 2003-09-19 2006-05-10 삼성전자주식회사 플라즈마 식각 장치
US7338578B2 (en) * 2004-01-20 2008-03-04 Taiwan Semiconductor Manufacturing Co., Ltd. Step edge insert ring for etch chamber
US8007591B2 (en) * 2004-01-30 2011-08-30 Tokyo Electron Limited Substrate holder having a fluid gap and method of fabricating the substrate holder
US20060043067A1 (en) * 2004-08-26 2006-03-02 Lam Research Corporation Yttria insulator ring for use inside a plasma chamber
US7815740B2 (en) * 2005-03-18 2010-10-19 Tokyo Electron Limited Substrate mounting table, substrate processing apparatus and substrate processing method
JP4674512B2 (ja) * 2005-09-12 2011-04-20 パナソニック株式会社 プラズマ処理装置
US7588668B2 (en) * 2005-09-13 2009-09-15 Applied Materials, Inc. Thermally conductive dielectric bonding of sputtering targets using diamond powder filler or thermally conductive ceramic fillers
JP2007250967A (ja) * 2006-03-17 2007-09-27 Tokyo Electron Ltd プラズマ処理装置および方法とフォーカスリング
JP2008078208A (ja) * 2006-09-19 2008-04-03 Tokyo Electron Ltd フォーカスリング及びプラズマ処理装置

Also Published As

Publication number Publication date
KR101701101B1 (ko) 2017-01-31
WO2010062345A2 (en) 2010-06-03
TWI496511B (zh) 2015-08-11
WO2010062345A3 (en) 2010-08-12
EP2342951A2 (en) 2011-07-13
EP2342951B1 (en) 2019-03-06
JP2012507860A (ja) 2012-03-29
EP2342951A4 (en) 2015-10-28
KR20150102124A (ko) 2015-09-04
JP5743895B2 (ja) 2015-07-01
US20100108261A1 (en) 2010-05-06
KR20160063412A (ko) 2016-06-03
KR20110081255A (ko) 2011-07-13
CN102187741B (zh) 2014-08-06
CN102187741A (zh) 2011-09-14
JP5976875B2 (ja) 2016-08-24
TW201031277A (en) 2010-08-16
JP2015181174A (ja) 2015-10-15
KR101624123B1 (ko) 2016-05-25
KR101592061B1 (ko) 2016-02-04
US9412555B2 (en) 2016-08-09
JP2016219820A (ja) 2016-12-22

Similar Documents

Publication Publication Date Title
JP6385397B2 (ja) プラズマ処理チャンバの下側電極アセンブリ
KR102335248B1 (ko) 플라즈마 프로세싱 챔버 내의 엘라스토머 시일의 수명을 연장시키는 크기로 형성된 에지 링
CN115295386B (zh) 支承单元和包括该支承单元的基板处理装置
KR200467708Y1 (ko) 플라즈마 에칭 챔버용 에지 링 어셈블리
US20090308739A1 (en) Wafer processing deposition shielding components
WO2020055565A1 (en) Semiconductor substrate supports with embedded rf shield
KR20120000231U (ko) 플라즈마 처리 챔버를 위한 c-형상 한정 링
KR101768517B1 (ko) 지지 유닛 및 이를 포함하는 기판 처리 장치
WO2010123680A2 (en) Wafer processing deposition shielding components
KR102507527B1 (ko) 정전 척을 구비하는 기판 처리 시스템
KR101569886B1 (ko) 기판 지지 유닛 및 이를 포함하는 기판 처리 장치
KR102039968B1 (ko) 기판 처리 장치, 기판 지지 유닛 및 기판 지지 유닛의 유전판 제조 방법
JP6551673B2 (ja) プラズマ処理装置およびプラズマ処理方法
KR102344523B1 (ko) 지지 유닛 및 이를 포함하는 기판 처리 장치
KR102720080B1 (ko) 기판 처리 장치 및 열전달 매체 공급 장치
KR101949406B1 (ko) 기판 처리 장치
KR101464205B1 (ko) 기판 지지 어셈블리 및 기판 처리 장치
WO2025089271A1 (ja) 基板支持器及びプラズマ処理装置
KR20180025598A (ko) 기판 지지 유닛 및 이를 가지는 기판 처리 장치

Legal Events

Date Code Title Description
A977 Report on retrieval

Free format text: JAPANESE INTERMEDIATE CODE: A971007

Effective date: 20170407

A131 Notification of reasons for refusal

Free format text: JAPANESE INTERMEDIATE CODE: A131

Effective date: 20170418

A521 Request for written amendment filed

Free format text: JAPANESE INTERMEDIATE CODE: A523

Effective date: 20170714

A131 Notification of reasons for refusal

Free format text: JAPANESE INTERMEDIATE CODE: A131

Effective date: 20171226

A521 Request for written amendment filed

Free format text: JAPANESE INTERMEDIATE CODE: A523

Effective date: 20180323

TRDD Decision of grant or rejection written
A01 Written decision to grant a patent or to grant a registration (utility model)

Free format text: JAPANESE INTERMEDIATE CODE: A01

Effective date: 20180717

A61 First payment of annual fees (during grant procedure)

Free format text: JAPANESE INTERMEDIATE CODE: A61

Effective date: 20180807

R150 Certificate of patent or registration of utility model

Ref document number: 6385397

Country of ref document: JP

Free format text: JAPANESE INTERMEDIATE CODE: R150

R250 Receipt of annual fees

Free format text: JAPANESE INTERMEDIATE CODE: R250

R250 Receipt of annual fees

Free format text: JAPANESE INTERMEDIATE CODE: R250

R250 Receipt of annual fees

Free format text: JAPANESE INTERMEDIATE CODE: R250

R250 Receipt of annual fees

Free format text: JAPANESE INTERMEDIATE CODE: R250

R250 Receipt of annual fees

Free format text: JAPANESE INTERMEDIATE CODE: R250