JP6206487B2 - 信号処理装置及び信号処理方法 - Google Patents
信号処理装置及び信号処理方法 Download PDFInfo
- Publication number
- JP6206487B2 JP6206487B2 JP2015511144A JP2015511144A JP6206487B2 JP 6206487 B2 JP6206487 B2 JP 6206487B2 JP 2015511144 A JP2015511144 A JP 2015511144A JP 2015511144 A JP2015511144 A JP 2015511144A JP 6206487 B2 JP6206487 B2 JP 6206487B2
- Authority
- JP
- Japan
- Prior art keywords
- signal
- signal processing
- coefficient
- filter coefficient
- dispersion
- Prior art date
- Legal status (The legal status is an assumption and is not a legal conclusion. Google has not performed a legal analysis and makes no representation as to the accuracy of the status listed.)
- Active
Links
- 238000012545 processing Methods 0.000 title claims description 31
- 238000003672 processing method Methods 0.000 title claims description 11
- 230000005540 biological transmission Effects 0.000 claims description 43
- 239000006185 dispersion Substances 0.000 claims description 31
- 230000009022 nonlinear effect Effects 0.000 claims description 22
- 230000010287 polarization Effects 0.000 claims description 21
- 230000009021 linear effect Effects 0.000 claims description 19
- 238000000034 method Methods 0.000 claims description 16
- 238000006243 chemical reaction Methods 0.000 claims description 6
- 230000003287 optical effect Effects 0.000 description 68
- 238000004364 calculation method Methods 0.000 description 21
- 238000004891 communication Methods 0.000 description 11
- 238000010586 diagram Methods 0.000 description 6
- 230000007274 generation of a signal involved in cell-cell signaling Effects 0.000 description 4
- 230000000694 effects Effects 0.000 description 3
- 230000000875 corresponding effect Effects 0.000 description 2
- 230000003111 delayed effect Effects 0.000 description 2
- 238000000926 separation method Methods 0.000 description 2
- 238000012935 Averaging Methods 0.000 description 1
- 230000001427 coherent effect Effects 0.000 description 1
- 230000002596 correlated effect Effects 0.000 description 1
- 230000007423 decrease Effects 0.000 description 1
- 239000000835 fiber Substances 0.000 description 1
- 238000012544 monitoring process Methods 0.000 description 1
- 239000013307 optical fiber Substances 0.000 description 1
- 230000001902 propagating effect Effects 0.000 description 1
- 238000013139 quantization Methods 0.000 description 1
- 239000004065 semiconductor Substances 0.000 description 1
Images
Classifications
-
- H—ELECTRICITY
- H04—ELECTRIC COMMUNICATION TECHNIQUE
- H04J—MULTIPLEX COMMUNICATION
- H04J14/00—Optical multiplex systems
- H04J14/06—Polarisation multiplex systems
-
- H—ELECTRICITY
- H04—ELECTRIC COMMUNICATION TECHNIQUE
- H04B—TRANSMISSION
- H04B10/00—Transmission systems employing electromagnetic waves other than radio-waves, e.g. infrared, visible or ultraviolet light, or employing corpuscular radiation, e.g. quantum communication
- H04B10/60—Receivers
- H04B10/61—Coherent receivers
- H04B10/616—Details of the electronic signal processing in coherent optical receivers
- H04B10/6161—Compensation of chromatic dispersion
-
- H—ELECTRICITY
- H04—ELECTRIC COMMUNICATION TECHNIQUE
- H04B—TRANSMISSION
- H04B10/00—Transmission systems employing electromagnetic waves other than radio-waves, e.g. infrared, visible or ultraviolet light, or employing corpuscular radiation, e.g. quantum communication
- H04B10/60—Receivers
- H04B10/61—Coherent receivers
- H04B10/616—Details of the electronic signal processing in coherent optical receivers
- H04B10/6162—Compensation of polarization related effects, e.g., PMD, PDL
-
- H—ELECTRICITY
- H04—ELECTRIC COMMUNICATION TECHNIQUE
- H04B—TRANSMISSION
- H04B10/00—Transmission systems employing electromagnetic waves other than radio-waves, e.g. infrared, visible or ultraviolet light, or employing corpuscular radiation, e.g. quantum communication
- H04B10/60—Receivers
- H04B10/61—Coherent receivers
- H04B10/616—Details of the electronic signal processing in coherent optical receivers
- H04B10/6163—Compensation of non-linear effects in the fiber optic link, e.g. self-phase modulation [SPM], cross-phase modulation [XPM], four wave mixing [FWM]
Landscapes
- Physics & Mathematics (AREA)
- Engineering & Computer Science (AREA)
- Computer Networks & Wireless Communication (AREA)
- Signal Processing (AREA)
- Electromagnetism (AREA)
- Nonlinear Science (AREA)
- Optical Communication System (AREA)
- Digital Transmission Methods That Use Modulated Carrier Waves (AREA)
Description
本発明は、信号処理装置及び信号処理方法に関する。
インターネットの普及に伴い、通信されるデータの量が増大している。これに対応するためには、伝送路の容量を増大させる必要がある。大容量化を実現するための技術の一つとして、多値変調方式(Quadrature Amplitude Modulation:QAM)がある。送信器でQAM方式の変調を施された光信号は、デジタルコヒーレント方式の光受信器で復調される。
QAM方式の光通信においては、光信号が伝送路を伝播する際に受ける非線形効果が大きな問題となる。光信号が伝送路中で非線形効果を受けると、光信号の位相が回転する。QAM方式は複雑な位相情報を取り扱うため、非線形効果による位相回転を受けると、受信時に正しい位相情報を復調できなくなる。
これに対して非特許文献1には、Back Propagationと呼ばれる非線形補償方式が記載されている。この補償方式は、分散補償を小刻みに行うとともに、各分散補償の直後で非線形補償を行うことで、受信側から送信側へ伝播波形を遡りながら波形歪を補償する方式である。
しかし、Back Propagationでは、分散補償機能と非線形補償機能を組み合わせて1つの非線形補償ステージとしたとき、非線形補償ステージの段数を多くする必要がある。分散補償機能は線形歪補償回路によって実現され、非線形補償機能は非線形歪補償回路によって実現される。線形歪補償回路は、周波数領域で分散補償を行うために、FFT/IFFT回路を含んでいる。FFT/IFFT回路は回路規模が大きいため、LSIの実装面積や消費電力を考慮すると、一つの信号処理装置には、数個のFFT/IFFT回路しか実装できない。
これに対して非特許文献1には、Filtered Back Propagationと呼ばれる補償方式も記載されている。Filtered Back Propagationは、信号強度から算出される位相回転量の時間平均量を非線形補償に用いることで、非線形補償ステージの段数を削減するものである。また非特許文献1において、位相回転量の時間平均にはLow Pass Filterが用いられている。
さらに、非特許文献2には、上記したLow Pass Filterの係数設定手法が記載されている。非特許文献2においては、受信した光信号に対して非線形補償を行わないで復調する。そして復調したシンボル位置とその信号の理想シンボル位置の差をモニタすることにより、Low Pass Filterの係数を決定している。
Liang B. Du and Arthur J. Lowery, "Improved single channel backpropagation for intra-channel fiber nonlinearity compensation in long-haul optical communication systems", OPTICS EXPRESS, Vol. 18, No. 16, pp17075-17088, 2010
Lei Li et al., "Implementation Efficient Nonlinear Equalizer Based on Correlated Digital Backpropagation", Proc. Conf. OFC OWW3, 2011
非特許文献2に記載の方法では、受信信号を非線形補償せずに復調できることが前提となっている。このため、復調するためには非線形補償を行うことが必須である低品質の受信信号には適用できない。
本発明の目的は、偏波多重かつ多値変調された信号光を受信して復調する場合において、復調を行わなくても非線形補償の係数を設定できるようにすることである。
本発明によれば、偏波多重かつ多値変調されていて伝送路を介して送信された信号光に基づいて電気信号を生成する電気信号生成手段と、
前記電気信号に対して、前記伝送路において前記信号光に生じた分散を、第1フィルタ係数を用いて補償する処理を行う線形補償手段と、
前記伝送路において前記信号光に生じた非線形効果を補償するときに考慮すべき時間軸上の幅を定める第2フィルタ係数を、前記分散の大きさを用いて定める第2係数設定手段と、
前記電気信号に対して、前記非線形効果を、前記第2フィルタ係数を用いて補償する非線形補償手段と、
を備える信号処理装置が提供される。
前記電気信号に対して、前記伝送路において前記信号光に生じた分散を、第1フィルタ係数を用いて補償する処理を行う線形補償手段と、
前記伝送路において前記信号光に生じた非線形効果を補償するときに考慮すべき時間軸上の幅を定める第2フィルタ係数を、前記分散の大きさを用いて定める第2係数設定手段と、
前記電気信号に対して、前記非線形効果を、前記第2フィルタ係数を用いて補償する非線形補償手段と、
を備える信号処理装置が提供される。
本発明によれば、偏波多重かつ多値変調されていて伝送路を介して送信された信号光に基づいて電気信号を生成し、
前記電気信号に対して、前記伝送路において前記信号光に生じた分散を、第1フィルタ係数を用いて補償する処理を行い、
前記伝送路において前記信号光に生じた非線形効果を補償するときに考慮すべき時間軸上の幅を定める第2フィルタ係数を、前記分散の大きさを用いて定め、
前記電気信号に対して、前記非線形効果を、前記第2フィルタ係数を用いて補償する信号処理方法が提供される。
前記電気信号に対して、前記伝送路において前記信号光に生じた分散を、第1フィルタ係数を用いて補償する処理を行い、
前記伝送路において前記信号光に生じた非線形効果を補償するときに考慮すべき時間軸上の幅を定める第2フィルタ係数を、前記分散の大きさを用いて定め、
前記電気信号に対して、前記非線形効果を、前記第2フィルタ係数を用いて補償する信号処理方法が提供される。
本発明によれば、偏波多重かつ多値変調された信号光を受信して復調する場合において、復調を行わなくても非線形補償の係数を設定できる。
上述した目的、およびその他の目的、特徴および利点は、以下に述べる好適な実施の形態、およびそれに付随する以下の図面によってさらに明らかになる。
以下、本発明の実施の形態について、図面を用いて説明する。尚、すべての図面において、同様な構成要素には同様の符号を付し、適宜説明を省略する。
(第1の実施形態)
図1は、第1の実施形態に係る光通信システムの構成を示す図である。本実施形態に係る光通信システムは、光送信装置10及び光受信装置20を備えている。光送信装置10及び光受信装置20は、伝送路30を介して互いに接続されている。伝送路30は、光ファイバなどを用いて構成されている。この光通信システムは、例えばQAM(Quadrature Amplitude Modulation)方式で通信を行うシステムである。
図1は、第1の実施形態に係る光通信システムの構成を示す図である。本実施形態に係る光通信システムは、光送信装置10及び光受信装置20を備えている。光送信装置10及び光受信装置20は、伝送路30を介して互いに接続されている。伝送路30は、光ファイバなどを用いて構成されている。この光通信システムは、例えばQAM(Quadrature Amplitude Modulation)方式で通信を行うシステムである。
光送信装置10(信号処理装置)は、送信すべき複数の信号を用いて光を変調することにより、偏波多重且つ多値変調された光信号を生成する。生成された光信号は、伝送路30を介して光受信装置20に送信される。光受信装置20は、受信した光信号を復調する。光信号は伝送路30を伝播する際、線形効果(分散効果)と非線形効果を受ける。光受信装置20は、これらの効果を補償するための処理も行う。
図2は、光受信装置20の機能構成の一例を示す図である。光受信装置20は、電気信号生成部200、線形補償部301、非線形補償部300、及び第2係数設定部400を備えている。電気信号生成部200は、伝送路30を介して受信した光信号に基づいて、電気信号を生成する。線形補償部301は、電気信号に対して、伝送路30において信号光に生じた分散を、第1フィルタ係数を用いて補償する処理を行う。第2係数設定部400は、伝送路30において信号光に生じた非線形効果を補償するための第2フィルタ係数を、伝送路30で生じた分散の大きさを用いて定める。非線形補償部300は、第2係数設定部400が定めた第2フィルタ係数を用いて、電気信号に対して非線形効果を補償する処理を行う。
光信号はパルス信号である。そして伝送路30を伝送している間に光信号が受ける非線形効果は、時間軸上においてあるパルスが自分自身とその隣に位置するパルスの影響を受けることにより、生じる。このため、パルスの幅の広がりによって、そのパルスが受ける非線形効果が定まる。一方、パルスの幅の広がりは、光信号の分散の大きさで定まる。従って、第2フィルタ係数を、伝送路30で生じた分散の大きさを用いて定めると、高い精度で非線形効果を補償することができる。このため、復調を行わなくても非線形補償の係数を設定できる。
伝送路30で生じる分散の大きさは、光通信システム及び伝送路30の構成が定まれば、ほぼ一意に定まる。従って、本実施形態によれば、光送信装置10及び光受信装置20を設置した上で、伝送路30で生じる分散の大きさを測定すると、第2フィルタ係数を定めることができる。
(第2の実施形態)
本実施形態に係る光通信システムは、光受信装置20の構成を除いて、第1の実施形態に係る光通信システムと同様の構成である。
本実施形態に係る光通信システムは、光受信装置20の構成を除いて、第1の実施形態に係る光通信システムと同様の構成である。
図3は、光受信装置20の機能構成を示す図である。光受信装置20は、局所光源(LO)210、光90°ハイブリッド220(干渉部)、光電(O/E)変換部230、AD(アナログ・デジタル)変換部(ADC)240、および信号処理部100を備えている。信号処理部100は、一つの半導体装置で構成されている。
光90°ハイブリッド220は、信号光と、局所光源210からの局所光が入力される。光90°ハイブリッド220は、光信号と局所光とを位相差0で干渉させて第1光信号(Ix)を生成し、光信号と局所光とを位相差π/2で干渉させて第2光信号(Qx)を生成する。また光90°ハイブリッド220は、光信号と局所光とを位相差0で干渉させて第3光信号(Iy)を生成し、光信号と局所光とを位相差π/2で干渉させて第4光信号(Qy)を生成する。第1光信号及び第2光信号は、一組の信号を形成し、また第3光信号及び第4光信号も、一組の信号を形成する。
光電変換部230は、光90°ハイブリッド220が生成した4つの光信号(出力光)を光電変換して、4つのアナログ信号を生成する。
AD変換部240は、光電変換部230が生成した4つのアナログ信号を、それぞれデジタル信号に変換する(量子化)。
信号処理部100は、AD変換部240が生成した4つのデジタル信号を処理することにより、光信号を復調した復調信号を生成する。具体的には、信号処理部100は、偏波信号生成部110、歪補償部102、偏波分離部104、及び復調部106を備えている。
偏波信号生成部110は、加算部112,114を備えている。加算部112は、第1光信号(Ix)から生成されたデジタル信号と第2光信号(Qx)から生成されたデジタル信号とを加算処理することにより、第1の偏波信号(Ex)を生成する。加算部114は、第3光信号(Iy)から生成されたデジタル信号と第4光信号(Qy)から生成されたデジタル信号とを加算処理することにより、第2の偏波信号(Ey)を生成する。具体的には、Ex及びEyは、以下の式(1),(2)に従っている。
歪補償部102は、光信号が伝送路30を伝播する際に受けた線形効果及び非線形効果を補償するための処理を行う。歪補償部102の詳細については、後述する。
偏波分離部104は、偏波ごとにフィルタ演算を行う。復調部106は、光信号と局所光の間の周波数差および位相差を補償することにより、送信されてきた信号を復調する。
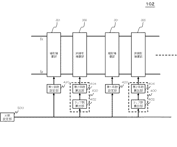
図4は、歪補償部102の機能構成を説明する図である。歪補償部102は、線形補償部301及び非線形補償部300からなる処理ステージを少なくとも1段有している。なお、処理ステージの数が少ない場合(例えば5ステージ以下)、歪補償部102の最終段は、線形補償部301(第2分散補償部)であるのが好ましい。ただし処理ステージの数が例えば10段以上の場合は、歪補償部102の最終段は線形補償部301でなくても良い。
なお、歪補償部102の最終段が線形補償部301である場合及び非線形補償部300である場合のいずれであっても、歪補償部102が有する線形補償部301による分散補償量の和は、伝送路30において信号光が受ける分散量に等しい。
線形補償部301は、光信号が伝送路30で受けた線形効果を補償する。線形補償部301は、例えば、FFT(Fast Fourier Transform)部、フィルタ部、及びIFFT(Inverse Fast Fourier Transform)部を備えている。FFT部は入力された信号をFFT演算する。フィルタ部は、光信号が伝送路中で受けた分散効果を補償するための第1フィルタ係数を用いて、信号をフィルタ演算する。IFFT部は、フィルタ処理された信号をIFFT演算する。
非線形補償部300は、光信号が伝送路30で受けた非線形効果を、第2フィルタ係数を用いて補償する。
また、歪補償部102は、第1係数設定部420及び第2係数設定部400を備えている。第1係数設定部420は、線形補償部301に第1フィルタ係数を設定する。第1フィルタ係数は、第1係数設定部420が、信号光が伝送路30で受ける分散を用いて算出しても良いし、外部から第1係数設定部420に直接入力されても良い。
第2係数設定部400は、タップ数算出部402及び第2係数算出部404を備えている。タップ数算出部402は、信号光が伝送路30で受ける分散を用いてタップ数を定める。第2係数算出部404は、予め定められた関数を等間隔でタップ数と同じ回数区切り、複数の前記区切りのそれぞれにおける関数の値を第2フィルタ係数とする。そして第2係数算出部404は、算出した第2フィルタ係数を非線形補償部300に設定する。第2係数設定部400による第2係数の設定処理の詳細については、後述する。
なお、信号光が伝送路30で受ける分散は、分散設定部500から入力される。
図5は、非線形補償部300の機能構成の一例を示す図である。本図に示す例において、非線形補償部300は、Filtered Back Propagationに従った補償処理を行う。ただし、非線形補償部300は他の方式に従った処理に従った処理を行っても良い。
非線形補償部300は、強度算出部302,304、加算部305、フィルタ部306、位相変調部308、遅延部310,314、及び乗算部312,316を備えている。強度算出部302は、偏波信号Exの強度を算出し、この強度に基づいた位相回転量を算出する。強度算出部304は偏波信号Eyの強度を算出し、この強度に基づいた位相回転量を算出する。加算部305は、強度算出部302が算出した位相回転量と強度算出部304が算出した位相回転量を加算する。フィルタ部306は、加算部305が出力した位相回転量に、時間平均するための係数(上記した第2フィルタ係数:h(n))を乗ずる。位相変調部308は、フィルタ部306によって処理された後の位相回転量を用いることにより、位相回転を補償するための係数を算出する。そしてこの係数は、乗算部312によって、遅延部310によって遅延された後の偏波信号Exに乗算され、かつ、乗算部316によって、遅延部314によって遅延された後の偏波信号Eyに乗算される。なお、遅延部310,314は、偏波信号Ex,Eyを係数の算出タイミングに同期させるために設けられている。
図6は、タップ数算出部402及び第2係数算出部404による処理の詳細を説明するための図である。
第1の実施形態において説明したように、伝送路30を伝送している間に光信号が受ける非線形効果は、時間軸上においてあるパルスが自分自身とその隣に位置するパルスの影響を受けることにより、生じる。このため、パルスの幅の広がりによって、そのパルスが受ける非線形効果が定まる。従って、分散が大きいほど、パルス幅が広がり、非線形効果による位相回転量を算出するときに考慮すべき時間幅が大きくなる。
一方、第2係数算出部404は、予め定められた関数を等間隔でタップ数と同じ回数区切り、複数の前記区切りのそれぞれにおける関数の値を第2フィルタ係数とする。
そしてタップ数算出部402は、分散の大きさに比例係数を乗じることにより、タップ数を算出する。このようにすると、分散が大きくなるにつれてタップ数が大きくなり、その結果、第2係数算出部404で設定される時間幅が大きくなる。
なお、この比例係数は、第2係数算出部404が用いる関数及び分散に基づいて、例えば光通信システムの管理者によって設定される。
また本図に示す例において、第2係数算出部404が用いる関数は、中央に位置するタップにおいて最大値をとり、両端に位置するタップで最小値を取るように定められている。本図に示す例では、中央に位置するタップと両端に位置するタップは直線で結ばれているが、曲線で結ばれていてもよい。
また、第2係数算出部404が用いる関数は、最大値、最小値、及び最大値と最小値を結ぶ線の形状は固定されているが、最大値から最小値までのタップ数は固定されていない。そして、各タップに対応する第2フィルタ係数は、最大値と最小値を結ぶ線(すなわち関数)を、タップ数の半分の数で分割し、複数の区切りのそれぞれにおける関数の値として定められる。このため、タップ数算出部402によって算出されるタップ数が増えた場合、互いに隣り合うタップに対応する2つの第2フィルタ係数の差分は小さくなる。
本実施形態によっても、復調を行わなくても、非線形補償で用いる第2フィルタ係数を設定することができる。
以上、図面を参照して本発明の実施形態について述べたが、これらは本発明の例示であり、上記以外の様々な構成を採用することもできる。
この出願は、2013年4月9日に出願された日本出願特願2013−081395を基礎とする優先権を主張し、その開示の全てをここに取り込む。
Claims (11)
- 偏波多重かつ多値変調されていて伝送路を介して送信された信号光に基づいて電気信号を生成する電気信号生成手段と、
前記電気信号に対して、前記伝送路において前記信号光に生じた分散を、第1フィルタ係数を用いて補償する処理を行う線形補償手段と、
前記伝送路において前記信号光に生じた非線形効果を補償するときに考慮すべき時間軸上の幅を定める第2フィルタ係数を、前記分散の大きさを用いて定める第2係数設定手段と、
前記電気信号に対して、前記非線形効果を、前記第2フィルタ係数を用いて補償する非線形補償手段と、
を備える信号処理装置。 - 請求項1に記載の信号処理装置において、
前記第2係数設定手段は、
前記分散の大きさを用いてタップ数を定め、
予め定められた関数を等間隔で前記タップ数と同じ回数区切り、複数の前記区切りのそれぞれにおける前記関数の値を前記第2フィルタ係数とする信号処理装置。 - 請求項2に記載の信号処理装置において、
前記関数は、中央に位置する前記タップにおいて最大値をとり、両端に位置する前記タップで最小値を取るように定められている信号処理装置。 - 請求項2又は3に記載の信号処理装置において、
前記第2係数設定手段は、前記分散の大きさに比例係数を乗じることにより、前記タップ数を算出する信号処理装置。 - 請求項4に記載の信号処理装置において、
前記比例係数は前記関数及び前記分散に基づいて設定される信号処理装置。 - 請求項1〜5のいずれか一項に記載の信号処理装置において、
前記電気信号生成手段は、
前記信号光と局所光とを干渉させることにより4つの出力光を生成する干渉手段と、
前記4つの信号光を光電変換して4つのアナログ信号を生成する光電変換手段と、
前記4つのアナログ信号を4つのデジタル信号に変換するアナログ・デジタル変換手段と、
前記4つのデジタル信号から、前記信号光の2つの偏波成分に対応する2つの偏波信号を、前記電気信号として生成する偏波信号生成手段と、
を有する信号処理装置。 - 偏波多重かつ多値変調されていて伝送路を介して送信された信号光に基づいて電気信号を生成し、
前記電気信号に対して、前記伝送路において前記信号光に生じた分散を、第1フィルタ係数を用いて補償する処理を行い、
前記伝送路において前記信号光に生じた非線形効果を補償するときに考慮すべき時間軸上の幅を定める第2フィルタ係数を、前記分散の大きさを用いて定め、
前記電気信号に対して、前記非線形効果を、前記第2フィルタ係数を用いて補償する信号処理方法。 - 請求項7に記載の信号処理方法において、
前記第2フィルタ係数を定めるとき、
前記分散の大きさを用いてタップ数を定め、
予め定められた関数を等間隔で前記タップ数と同じ回数区切り、複数の前記区切りのそれぞれにおける前記関数の値を前記第2フィルタ係数とする信号処理方法。 - 請求項8に記載の信号処理方法において、
前記関数は、中央に位置する前記タップにおいて最大値をとり、両端に位置する前記タップで最小値を取るように定められている信号処理方法。 - 請求項8又は9に記載の信号処理方法において、
前記タップ数は、前記分散の大きさに比例係数を乗じることにより算出される信号処理方法。 - 請求項10に記載の信号処理方法において、
前記比例係数は前記関数及び前記分散に基づいて設定される信号処理方法。
Applications Claiming Priority (3)
| Application Number | Priority Date | Filing Date | Title |
|---|---|---|---|
| JP2013081395 | 2013-04-09 | ||
| JP2013081395 | 2013-04-09 | ||
| PCT/JP2014/053853 WO2014167897A1 (ja) | 2013-04-09 | 2014-02-19 | 信号処理装置及び信号処理方法 |
Publications (2)
| Publication Number | Publication Date |
|---|---|
| JPWO2014167897A1 JPWO2014167897A1 (ja) | 2017-02-16 |
| JP6206487B2 true JP6206487B2 (ja) | 2017-10-04 |
Family
ID=51689313
Family Applications (1)
| Application Number | Title | Priority Date | Filing Date |
|---|---|---|---|
| JP2015511144A Active JP6206487B2 (ja) | 2013-04-09 | 2014-02-19 | 信号処理装置及び信号処理方法 |
Country Status (3)
| Country | Link |
|---|---|
| US (1) | US9853765B2 (ja) |
| JP (1) | JP6206487B2 (ja) |
| WO (1) | WO2014167897A1 (ja) |
Families Citing this family (18)
| Publication number | Priority date | Publication date | Assignee | Title |
|---|---|---|---|---|
| US9831956B2 (en) * | 2013-02-07 | 2017-11-28 | Nec Corporation | Signal processing device and signal processing method |
| EP2804334A1 (en) * | 2013-05-13 | 2014-11-19 | Xieon Networks S.à.r.l. | Method, device and communication system for reducing optical transmission impairments |
| JP6176012B2 (ja) * | 2013-09-11 | 2017-08-09 | 富士通株式会社 | 非線形歪み補償装置及び方法並びに通信装置 |
| CN104980379B (zh) * | 2014-04-11 | 2018-06-08 | 富士通株式会社 | 非线性失真的估计装置、方法以及接收机 |
| US10038503B2 (en) * | 2014-08-13 | 2018-07-31 | Xilinx, Inc. | Adaptive optical channel compensation |
| CN105827321B (zh) * | 2015-01-05 | 2018-06-01 | 富士通株式会社 | 多载波光通信系统中的非线性补偿方法、装置和系统 |
| US10333621B2 (en) * | 2016-02-16 | 2019-06-25 | Nokia Of America Corporation | Optical communication with some compensation of nonlinear optical effects |
| JP6759742B2 (ja) * | 2016-06-16 | 2020-09-23 | 富士通株式会社 | 受信装置及び設定方法 |
| JP7311744B2 (ja) * | 2019-03-05 | 2023-07-20 | 日本電信電話株式会社 | 光受信装置及び係数最適化方法 |
| KR102275351B1 (ko) * | 2020-05-07 | 2021-07-09 | 한국과학기술원 | 절대값 연산 기반 전자 비선형 등화 장치 및 방법 |
| US20250226884A1 (en) * | 2020-11-27 | 2025-07-10 | Nippon Telegraph And Telephone Corporation | Optical transmission system, optical receiver, optical transmitter, control method and program |
| JP7687042B2 (ja) * | 2021-05-11 | 2025-06-03 | 日本電気株式会社 | 通信システム、受信機、等化信号処理回路、方法、及びプログラム |
| EP4335050A4 (en) * | 2021-05-31 | 2024-07-24 | Huawei Technologies Canada Co., Ltd. | METHODS AND SYSTEMS FOR A 2-QUBIT MULTI-USER QUANTUM KEY DISTRIBUTION PROTOCOL |
| CA3226705A1 (en) * | 2021-07-20 | 2023-01-26 | The Research Foundation For The State University Of New York | System and method for quantum-secure microgrids |
| US12052055B2 (en) * | 2022-07-22 | 2024-07-30 | Nec Corporation | Method of equalizing waveform distortion, terminal device, and optical communication system |
| JP2024118747A (ja) * | 2023-02-21 | 2024-09-02 | 日本電気株式会社 | 連続量量子鍵配送システムにおける受信機、共有情報生成方法、通信制御方法およびプログラム |
| JP7753277B2 (ja) * | 2023-03-17 | 2025-10-14 | 株式会社東芝 | 鍵管理装置、量子暗号通信システム、qkdn制御装置、情報処理装置、鍵管理方法、qkdn制御方法、情報処理方法及びプログラム |
| US20250106012A1 (en) * | 2023-09-26 | 2025-03-27 | Ciena Corporation | Quantum key distribution in an optical network and quantum-secured optical channels |
Family Cites Families (8)
| Publication number | Priority date | Publication date | Assignee | Title |
|---|---|---|---|---|
| US7606498B1 (en) * | 2005-10-21 | 2009-10-20 | Nortel Networks Limited | Carrier recovery in a coherent optical receiver |
| JP2009198364A (ja) * | 2008-02-22 | 2009-09-03 | Fujitsu Ltd | 光ファイバ伝送路の特性および光信号の品質をモニタするモニタ回路 |
| JP5088271B2 (ja) | 2008-08-19 | 2012-12-05 | 富士通株式会社 | 歪補償器、光受信装置およびそれらの制御方法並びに光伝送システム |
| JP5298894B2 (ja) * | 2009-01-30 | 2013-09-25 | 富士通株式会社 | 歪み補償装置,光受信装置及び光送受信システム |
| CN103339884B (zh) * | 2011-02-02 | 2016-04-20 | 日本电气株式会社 | 光接收机和光接收方法 |
| JP5523591B2 (ja) * | 2011-02-18 | 2014-06-18 | 三菱電機株式会社 | 光受信器、非線形等化回路及びデジタル信号処理回路 |
| CN102655433B (zh) | 2011-03-04 | 2016-03-30 | 富士通株式会社 | 非线性损伤补偿方法和装置 |
| CN103312414B (zh) * | 2012-03-16 | 2016-03-30 | 富士通株式会社 | 一种逆信道装置和包含该装置的发射机、接收机及系统 |
-
2014
- 2014-02-19 US US14/782,838 patent/US9853765B2/en active Active
- 2014-02-19 JP JP2015511144A patent/JP6206487B2/ja active Active
- 2014-02-19 WO PCT/JP2014/053853 patent/WO2014167897A1/ja not_active Ceased
Also Published As
| Publication number | Publication date |
|---|---|
| US20160036554A1 (en) | 2016-02-04 |
| JPWO2014167897A1 (ja) | 2017-02-16 |
| WO2014167897A1 (ja) | 2014-10-16 |
| US9853765B2 (en) | 2017-12-26 |
Similar Documents
| Publication | Publication Date | Title |
|---|---|---|
| JP6206487B2 (ja) | 信号処理装置及び信号処理方法 | |
| JP6287866B2 (ja) | 信号処理装置及び信号処理方法 | |
| JPWO2014155775A1 (ja) | 信号処理装置、光通信システム、及び信号処理方法 | |
| US8744278B2 (en) | Method for electric power supply of optical receiver, digital signal processing circuit, and optical receiver | |
| JP5590090B2 (ja) | 周波数オフセット補償装置及び方法並びに光コヒーレント受信機 | |
| JP5238881B2 (ja) | コヒーレント受信機における適応非線形補償 | |
| JP5692245B2 (ja) | 光受信機および光受信方法 | |
| US20170054513A1 (en) | Estimation and Compensation of Local Oscillator Frequency Offset and Chromatic Dispersion Using Pilot Tones in Spectral-Shaping Subcarrier Modulation | |
| US20150372764A1 (en) | Optical receiver having an equalization filter with an integrated signal re-sampler | |
| JP2010193204A (ja) | 信号処理装置および光受信装置 | |
| CN102439879B (zh) | 滤光设备 | |
| WO2013128783A1 (ja) | デジタル信号処理装置、受信装置、及び信号送受信システム | |
| JP6428639B2 (ja) | 非線形歪補償器、それを用いた光受信器、および非線形歪補償方法 | |
| CN104012026A (zh) | 用于相干偏振复用光学接收器的符号定时估计 | |
| JP2009218837A (ja) | 光受信装置および光受信方法 | |
| TWI499251B (zh) | 多載波通信系統中載波與取樣頻率偏移的估計方法與裝置 | |
| JP5681743B2 (ja) | 光受信装置および光受信方法 | |
| JP6380403B2 (ja) | 搬送波周波数偏差推定装置および搬送波周波数偏差推定方法 | |
| JP2014230249A (ja) | 信号処理装置及び信号処理方法 | |
| JP6009953B2 (ja) | 光受信装置 | |
| JP6116001B2 (ja) | 光送信装置及び光受信装置 | |
| EP2976852B1 (en) | Timing recovery apparatus | |
| JP2016208417A (ja) | 光受信装置 | |
| Börjesson | Implementation of Blind Carrier Phase Recovery for Coherent Fiber-Optical Receivers |
Legal Events
| Date | Code | Title | Description |
|---|---|---|---|
| A621 | Written request for application examination |
Free format text: JAPANESE INTERMEDIATE CODE: A621 Effective date: 20170111 |
|
| TRDD | Decision of grant or rejection written | ||
| A01 | Written decision to grant a patent or to grant a registration (utility model) |
Free format text: JAPANESE INTERMEDIATE CODE: A01 Effective date: 20170808 |
|
| A61 | First payment of annual fees (during grant procedure) |
Free format text: JAPANESE INTERMEDIATE CODE: A61 Effective date: 20170821 |
|
| R150 | Certificate of patent or registration of utility model |
Ref document number: 6206487 Country of ref document: JP Free format text: JAPANESE INTERMEDIATE CODE: R150 |
