JP6132425B2 - 配線基板の電極高さ均一化方法およびこれを用いた配線基板の製造方法 - Google Patents

配線基板の電極高さ均一化方法およびこれを用いた配線基板の製造方法 Download PDF

Info

Publication number
JP6132425B2
JP6132425B2 JP2013038487A JP2013038487A JP6132425B2 JP 6132425 B2 JP6132425 B2 JP 6132425B2 JP 2013038487 A JP2013038487 A JP 2013038487A JP 2013038487 A JP2013038487 A JP 2013038487A JP 6132425 B2 JP6132425 B2 JP 6132425B2
Authority
JP
Japan
Prior art keywords
wiring board
wiring
electrode
height
substrate
Prior art date
Legal status (The legal status is an assumption and is not a legal conclusion. Google has not performed a legal analysis and makes no representation as to the accuracy of the status listed.)
Expired - Fee Related
Application number
JP2013038487A
Other languages
English (en)
Other versions
JP2014166653A (ja
Inventor
上原 秀雄
秀雄 上原
Current Assignee (The listed assignees may be inaccurate. Google has not performed a legal analysis and makes no representation or warranty as to the accuracy of the list.)
Toray Engineering Co Ltd
Original Assignee
Toray Engineering Co Ltd
Priority date (The priority date is an assumption and is not a legal conclusion. Google has not performed a legal analysis and makes no representation as to the accuracy of the date listed.)
Filing date
Publication date
Application filed by Toray Engineering Co Ltd filed Critical Toray Engineering Co Ltd
Priority to JP2013038487A priority Critical patent/JP6132425B2/ja
Publication of JP2014166653A publication Critical patent/JP2014166653A/ja
Application granted granted Critical
Publication of JP6132425B2 publication Critical patent/JP6132425B2/ja
Expired - Fee Related legal-status Critical Current
Anticipated expiration legal-status Critical

Links

Images

Landscapes

  • Finish Polishing, Edge Sharpening, And Grinding By Specific Grinding Devices (AREA)
  • Manufacturing Of Printed Wiring (AREA)

Description

本発明は、配線基板における外部接続用の電極に係り、特に電極高さの均一化が要求される配線基板の電極高さ均一化方法およびこれを用いた配線基板の製造方法に関する。
絶縁基板上に配線および電極パッドが形成された配線基板に、外部接続用電極として、突起形状を有するバンプを形成したバンプ付き配線基板は、COF方式の実装パッケージ用基板や、半導体検査用のフィルムプローブとして利用されている。このバンプ付き配線基板の一例を図6に示す。図6において、図6(a)はバンプ付き配線基板11を上面から見た図であり、図6(b)は、図6(a)のA−A断面図であり、絶縁基板1の上に配線2および電極パッド3が形成されており、この電極パッド3上にバンプ4が形成されている。
ここで用いられるバンプ4の形成方法として、図7(a)に示すように、配線基板10の上をレジスト膜5で覆いつつも電極パッド3上にレジスト膜5のない開口部50を有するレジストパターン形成基板12を得た後、図7(b)のようにレジスト膜5の開口部50を埋めるように、金属を含有する導電性ペーストを充填したり、金属めっきを行った後に、図7(c)のようにレジスト膜5を除去して所定高さのバンプ5を得る方法が知られている。
ところが、図8(a)〜図8(c)に示すように、導電性ペーストの充填においては、開口部毎の充填量のバラツキ、金属めっきにおいてはめっき液内における電流密度のバラツキにより、最終的なバンプ高さにバラツキが生じる。
特に、電子機器の高集積化が進む昨今においてバンプ高さのバラツキ、すなわち電極高さのバラツキは、COF方式の実装および、半導体検査用のフィルムプローブ用途のいずれにおいても接触不良トラブルの原因となる。
一方、電極として突起形状を有するバンプを用いず、配線2を電極に用いる用途があるが、このような場合においても配線厚みが一定せず、すなわち電極高さが一定せず、接触不良トラブルの原因となることがある。
そこで、電極高さを揃える方法として種々のものが提案されており、中でも特許文献1ではバンプ高さの均一化に関し、図9(a)〜図9(d)で図示するように所望のバンプ高さ(H0)以上の厚みのレジスト膜5を形成し、レジスト膜5の開口部50に、所望のバンプ高さ以上のバンプ用金属を着設し、次いでバンプ用金属をレジスト膜5とともに高さがH0になるように所定量削り、その後、残ったレジスト膜5を取り除くことで所定高さのバンプを形成する方法が記されている。
ところが、特許文献1で対象としている基板は平坦でかつ変形しにくい半導体材料からなるものであり、特許文献1の内容そのままを、COFやフィルムプローブに使用するフレキシブルな材料を絶縁基板とする配線基板に適用すると、配線2が形成されていない面の吸着ステージへの固定に際して、吸着穴による凹みが部分的に生じ、レジスト膜の開口部にバンプ用金属を充填したレジストパターン形成基板12の表面が湾曲や傾斜した状態で固定される(図10(a))。この状態で、バンプ用金属をレジスト膜5とともに削った場合、研磨面と絶縁基板表面との距離が一定しないため(図10(b))、結果としてバンプ高さにバラツキが生じてしまう。
特開平7−297196号公報
本発明は上記のような背景を考慮してなされたものであり、フレキシブルな材料を基板とする配線基板の電極高さを均一化方法およびこれを用いた配線基板の製造方法を提供しようとするものである。
上記の課題を解決するための請求項1に記載の発明は、絶縁基板及び絶縁基板の表面にパターン形成された配線を最小構成単位とする配線基板において、他の部品と接続または接触する電極部分の表面高さを均一化する配線基板の電極高さ均一化方法であって、
配線基板の配線が形成されていない側の面を平坦な補強板に貼り合わせた状態で、配線基板の配線が形成されている側の面に、研磨板の研磨作用面を対向配置して面方向に相対運動をさせることで摩擦力を生じさせて、前記電極部分の表面高さが均一になるように表面研磨を行った後、配線基板を前記補強板から外配線基板の電極高さ均一化方法で、
前記配線基板の配線が形成されていない側の面を平坦な補強板と貼り合わせるのに際して、接着性を有する樹脂からなる接着層で、前記接着層に対して離型性を有する表面を備えた離型層を挟み込んだ、3層構造の積層体を用いることを特徴としている。
この発明によれば、配線基板は平坦な補強板で固定されるので、フレキシブルな絶縁基板を用いた配線基板であっても平坦な状態にして表面研磨が行えるので、研磨後の電極高さを均一にすることが出来る。また、この発明によれば、表面研磨時には、配線基板を補強板に固定支持しつつも、表面研磨終了後は両者を容易に引き離すことが出来る。
請求項2に記載の発明は、請求項1に記載の配線基板の電極高さ均一化方法であって、配線基板上の電極が、配線が形成されている面に開口部を有するレジスト膜を形成した後に前記開口部に金属を充填してからレジスト膜を除去して得られる突起形状を有するバンプであって、レジスト膜の開口部にバンプ用金属が充填された状態で、配線基板の配線が形成されていない側の面を平坦な補強板に貼り合わせた状態で、前記バンプ用金属を前記レジスト膜とともに表面研磨した後、前記補強板から外すとともに、レジスト膜を除去することを特徴としている。
この発明によれば、突起電極であるバンプの高さを均一化することが出来、レジスト膜がある状態で表面研磨を行うことから、表面研磨時にバンプに加わる応力を緩和することが出来る。
請求項3に記載の発明は、請求項1または請求項2に記載の配線基板の電極高さ均一化方法であって、前記絶縁基板がフレキシブル性を有するものである。
請求項4に記載の発明は、請求項1〜のいずれかに記載の配線基板の電極高さ均一化方法であって、前記配線基板の配線が形成されていない側の面と平坦な補強板を貼り合わせる前記積層体の、周辺部の離型層を除去して接着層同士を密着させたことを特徴としている。
請求項5に記載の発明は、請求項1〜4いずれかに記載の配線基板の電極高さ均一化方法であって、前記補強板の厚みが0.5mm以上であることを特徴としている。
請求項6に記載の発明は、請求項1〜5のいずれかに記載の配線基板の電極高さ均一化方法であって、前記補強板が金属板であることを特徴としている。
請求項7に記載の発明は、請求項1〜6のいずれかに記載の配線基板の電極高さ均一化方法であって、前記補強板の、前記配線基板の配線が形成されていない側の面と貼り合わせる面を、貼り合わせを行う前に研磨して平滑化することを特徴としている。
請求項8に記載の発明は、請求項1〜7のいずれかに記載の配線基板の電極高さ均一化方法であって、前記電極の用途がコンタクトプローブ用電極であることを特徴としている。
請求項9に記載の発明は、絶縁基板及び絶縁基板の表面にパターン形成された配線を最小構成単位とする配線基板の製造方法であって、他の部品と接続または接触する電極部分の表面高さを、請求項1〜8のいずれかに記載の配線基板の電極高さ均一化方法により、均一化することを特徴としている。
フレキシブルな絶縁基板上の電極高さが均一化され、他の部品との接続等の用途において接触不良を低減できる。また、電極高さの均一化の工程で配線基板自体に機械的なストレスを強いることもない。
本発明に係るバンプ用金属充填に至る工程を説明する図である。 本発明に係る補強板上に積層体を形成する工程を説明する図である。 本発明に係る表面研磨前後の工程を説明する図である。 本発明に係る表面研磨を説明する図である。 本発明に係る積層体の周辺部の離型層を除去した状態を説明する図である。 バンプ付き配線基板の一例を示す図である。 配線基板へのバンプ形成方法を示す図である。 バンプ高さにバラツキが生じる状況を説明する図である。 表面研磨によりバンプ高さを均一化する公知例を説明する図である。 フレキシブル基板において生じる表面研磨の問題点を説明する図である。
以下、本発明の実施の形態について、図面を参照して説明する。まず、図1は、配線基板10の状態から、レジストパターン形成基板12のレジスト膜5の開口部50にバンプ用金属を充填するまでの工程を表したものである。
図1(a)は絶縁基板1の上に、図示しない配線2と電極パッド3が形成された配線基板10の断面図である。
絶縁基板1の材質としては、繊維強化ポリエステル樹脂、ポリイミド樹脂または液晶ポリエステル樹脂が好適に用いられるが、それに限定されず用途に応じ、耐熱性、フレキシブル性等の特性を活かした絶縁材料が選ばれる。
配線2および電極パッド3の材質は、導電性と耐食性を兼ね備えた金属および金属合金
が用いられ、一般的に、ニッケル、ニッケル合金、銅、銅合金が用いられるが、それに限定されず他の導電材料であってもよく、耐食性を高めるために、金、スズ等を、その表面に積層してもよい。また、配線2および電極パッド3のパターンは、絶縁基板1上の一面を覆うように積層された前記導電材料を、パターンエッチングすることにより形成している。
図1(b)は配線基板10の、配線2および電極パッド3が形成された側の全面にレジスト膜5を形成した状態である。レジスト膜5は、感光性レジストの塗布または感光性ドライフィルムの貼り合わせにより、配線基板10上に積層される。レジスト膜5の膜厚は所望するバンプ高さより2〜15μm分厚くする。所望するバンプ高さに対する厚みの超過分が小さいと、後にレジスト膜5の開口部50にバンプ金属40を充填する際の高さバラツキの影響で一部の開口部50上に多量のバンプ金属40が溢れることになり、超過分が大きいとレジスト材料の使用量が増し、研磨にも時間を要するので好ましくない。
図1(c)は、フォトリソグラフィー法で、レジスト膜5に開口部50を形成するために、レジスト膜上に露光マスク6を配置している状態を示す。この後、露光・現像によりレジスト膜5が取り除かれた部分が開口部50となる。なお、本実施の形態でレジスト膜5はポジ型の感光性のものになっているが、ネガ型であっても何ら問題なく、図1(d)のように、所望の開口部50が得られれば良く、この後、開口部50にバンプ金属40を充填する。
バンプ金属40の充填としては、バンプ用金属を主成分とする導電性ペーストを印刷法を用いて充填し乾燥・硬化させる方法やめっき処理によりバンプ金属40を析出する方法を用いる。バンプ用金属としては、一般的に、ニッケル、ニッケル合金、銅、銅合金が用いられる。バンプ金属40の充填量としては、レジスト膜5の上面をわずかに突出する状態を目安とするが、図1(e)のようにバラツキが生じる。
以上が、レジストパターン形成基板12のレジスト膜5の開口部50にバンプ金属40を充填したバンプ金属充填基板13を得るまでの工程であるが、次に、このバンプ金属充填基板13を固定して配線2の形成された面を研磨する際に、配線2が形成されていない面と貼り合わせるための基板固定用補強板について図2を用いて説明する。
図2(a)は、バンプ金属充填基板13を平坦な状態に固定するための基礎となる補強板7である。補強板7としては、凹凸のない平坦な表面が得られれば、金属、ガラス、セラミックス、プラスチック等、素材を問わないが、取扱い易さや再使用のし易さから金属が好適であり、中でもコストを考慮すれば鉄やステンレスが優れる。また、湾曲や変形のし難さから厚みは0.5mm以上あることが望ましい。また、補強板7の表面を研磨することで、平坦度を改善しておくことも好ましく、特に、再使用する場合に有効である。
図2(b)〜図2(h)は補強板7とバンプ金属充填基板13を貼り合わせるための積層体ALを補強板7の表面上に形成する工程を表したものである。ここで、積層体ALは補強板7よりも小さく、バンプ金属充填基板13と同等以上の大きさで、バンプ金属充填基板13の全面を平坦に固定するためのものである。
図2(b)〜図2(e)は補強板7に積層体ALを構成する接着層82を貼り付ける工程であるが、接着層82の両面を離型層81および離型層83で挟んだ積層フィルム8を用意する。ここで、積層フィルム8の離型層81および離型層83は、接着層82に対する離型性を有する離型剤を表面に塗布した、厚みが10〜50μmの高分子フィルムまたは紙である。この厚みが薄過ぎても厚過ぎても取扱い難くなり作業性が低下する。また、接着層82は補強板7に対して接着性を有する樹脂からなり、厚みが20〜50μmであれば取扱に好適である。なお、この積層フィルム8として、以上の3層構成からなるドライフィルム型レジストのような市販品を利用することが可能であり、ドライフィルム型レジストを用いた場合、レジスト層が接着層82に該当し、保護フィルムおよびベースフィルムが離型層81または離型層83の何れかに相当する。
図2(b)において、積層フィルム8は、補強板7に対向する離型層83を剥離(図2(c))した後に、補強板7の上部に位置合わせされ、補強板7に貼り付けられ(図2(d))、次に離型層81も剥離され、補強板7上に接着層82のみが貼られた状態となる。
次に、積層フィルム9が用意される。積層フィルム9は、積層フィルム8と同じ構成であり、離型層91および離型層93は、接着層92に対して離型性を有する離型剤を表面に塗布した、厚みが10〜50μmの高分子フィルムまたは紙であり、接着層92は厚みが20〜50μmの絶縁基板1に対して接着性を有する樹脂からなる。また、積層フィルム8と同様、積層フィルム9として、ドライフィルム型レジストのような市販品を使用することが可能である。なお、積層フィルム8と積層フィルム9は同じ形状、大きさである。
積層フィルム9は、補強板7の上部に貼られた接着層82と位置合わせを行い(図2(f))、接着層82の上に積層し(図2(g))、次に両面接着フィルム9の離型層91を剥離する。
以上の工程により、補強板7の面上に接着層82と離型層93と接着層92の3層からなる積層体ALが形成された基板固定用補強板70が出来上がる(図2(h))。
そこで、この基板固定用補強板70にバンプ金属充填基板13を固定して、表面研磨する工程を次に説明する。
まず、図3(a)のように、基板固定用補強板70の積層体ALに対してバンプ金属充填基板13の位置合わせを行ってから、バンプ金属充填基板13を基板固定用補強板70に貼り合わせる。こうすることで、バンプ金属充填基板13の配線2が形成されていない側の面が積層体ALの接着層92を介して基板固定用補強板70に固定される(図3(b))。
次に、バンプ金属充填基板13のレジスト膜5の高さが所望のバンプ高さになるまでバンプ金属充填基板13の配線2が形成されている側の表面研磨を行う。
表面研磨では、図4に示すような研磨板100を用いてバンプ金属40およびレジスト膜5の研磨を行う。研磨板100は所定の平坦度および補強板7と平行に配置され、一定の加重で研磨作業が行える。特に高精度な研磨を行う場合には、半導体ウェハなどの研磨に用いられるラッピング装置やポリッシング装置を用いることも可能である。配線2が形成されている側の面をラッピング装置またはポリッシング装置の研磨作用面(研磨板100の表面に相当)とを対向配置し、バンプ金属40とレジスト膜5の双方を研磨可能な研磨剤101をその間に塗布し、基板固定用補強板70のバンプ金属充填基板13のない側の面から加重をかけるとともに、面方向に沿って、基板固定用補強板70と研磨作用面で相対運動させることで摩擦力を生じさせて研磨が出来る。
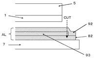
なお、面方向に沿った摩擦力が生じる際も、積層体ALの離型層93と接着層82および離型層93と接着層92の間で面方向にスベリが生じることはない。ただし、積層体ALの周辺部で接着力が低下して剥がれが生じることがある。そこで、図5に示すように積層体ALの周辺部の離型層93を除去して接着層82と接着層92を密着させておけば、表面研磨時も、積層体ALの周辺部で剥がれを生じることはなくなる。積層体ALの周辺部の離型層93の除去は、図2(f)に示す、積層フィルム9を接着層82に積層する前の段階で行っておくのが良い。
図3(c)のようにレジスト膜5が所定の高さになるまで、バンプ金属40およびレジスト膜5を研磨すると、バンプ金属充填基板13と基板固定用補強板70に固定する必要がなくなる。そこで、バンプ金属充填基板13を基板固定用補強板70から離そうとすれば、接着層92と離型層93の界面または接着層82と離型層93の界面で簡単に剥離し、仮に接着層82と離型層93の界面で剥離した場合でも、接着層92から離型層93を簡単に剥がすことが出来、バンプ金属充填基板13の配線2が形成されていない面には接着層93のみが残る。ここで、図5のように、積層体ALの周辺部の離型層を除去しておいた場合においては、研磨後に図5のCUTと示している位置に切れ込みを入れておく必要がある。
次に、バンプ金属充填基板13の、配線2が形成されていない側の面に残った接着層92を薬液で溶かして除去し(図3(f))、更にレジスト膜5を薬液で溶かして除去すれば、所望高さのバンプ4が形成されたバンプ付き配線基板11が得られる。なお、図3(f)において、接着層92を除去しているが、接着層92の材料を選べばレジスト膜5を同時に除去することも可能である。また、接着粗92に先だってレジスト膜5を除去しても良い。
なお、バンプ4を形成しない場合の電極高さ均一化は、図1(a)の状態の配線基板10を図2(h)の基板固定用補強板70に貼り付けた状態で、配線2が形成されている側の面を研磨し、その後は図3(d)〜図3(e)と同じ処理を行えば良い。当然のことながら、配線基板全面の配線高さも均一化される。
以上のように、積層体ALが離型層93を接着層82および接着層92で挟み込んだ3層構造であるため、研磨後にバンプ金属充填基板13(または配線基板10)を補強板7から離すことが容易であり、その後に残った接着層の除去も薬液により、容易に行えることが出来る。これが、3層構造ではなく接着層のみ1層であったら、引き剥がそうとすると、補強板7は平坦さを保つための厚さであるため、バンプ金属充填基板13に、引っ張りや屈曲による応力が加わり、寸法変化等の弊害が加わる。また、接着層を薬液で溶かそうとすると、接着面全面に薬液を接することが出来ないため、長時間薬液に浸透させる必要が生じて好ましくない。
本発明は、配線基板における外部接続用電極の高さ均一化に係り、特に他部品等との電気的接続の信頼性が要求される配線基板の製造に好適なものである。
1 絶縁基板
2 配線
3 電極パッド
4 バンプ
5 レジスト膜
6 露光マスク
7 補強板
8 積層フィルム
9 積層フィルム
10 配線基板
11 バンプ付き配線基板
12 レジストパターン形成基板
13 バンプ金属充填基板
70 基板固定用補強板
81 離型層
82 接着層
83 離型層
91 離型層
92 接着層
93 離型層
AL 積層体
H0 所望するバンプ高さ

Claims (9)

  1. 絶縁基板及び絶縁基板の表面にパターン形成された配線を最小構成単位とする配線基板において、他の部品と接続または接触する電極部分の表面高さを均一化する配線基板の電極高さ均一化方法であって、
    配線基板の配線が形成されていない側の面を平坦な補強板に貼り合わせた状態で、配線基板の配線が形成されている側の面に、研磨板の研磨作用面を対向配置して面方向に相対運動をさせることで摩擦力を生じさせて、前記電極部分の表面高さが均一になるように表面研磨を行った後、配線基板を前記補強板から外配線基板の電極高さ均一化方法で、
    前記配線基板の配線が形成されていない側の面を平坦な補強板と貼り合わせるのに際して、接着性を有する樹脂からなる接着層で、前記接着層に対して離型性を有する表面を備えた離型層を挟み込んだ、3層構造の積層体を用いることを特徴とする配線基板の電極高さ均一化方法。
  2. 請求項1に記載の配線基板の電極高さ均一化方法であって、配線基板上の電極が、配線が形成されている面に開口部を有するレジスト膜を形成した後に前記開口部に金属を充填してからレジスト膜を除去して得られる突起形状を有するバンプであるとき、
    レジスト膜の開口部にバンプ用金属が充填された状態で、配線基板の配線が形成されていない側の面を平坦な補強板に貼り合わせた状態で、前記バンプ用金属を前記レジスト膜とともに表面研磨した後、前記補強板から外すとともに、レジスト膜を除去することを特徴とする配線基板の電極高さ均一化方法。
  3. 請求項1または請求項2に記載の配線基板の電極高さ均一化方法であって、前記絶縁基板がフレキシブル性を有するものである配線基板の電極高さ均一化方法。
  4. 請求項1〜のいずれかに記載の配線基板の電極高さ均一化方法であって、前記配線基板の配線が形成されていない側の面と平坦な補強板を貼り合わせる前記積層体の、周辺部の離型層を除去して接着層同士を密着させたことを特徴とする配線基板の電極高さ均一化方法。
  5. 請求項1〜4いずれかに記載の配線基板の電極高さ均一化方法であって、前記補強板の厚みが0.5mm以上であることを特徴とする配線基板の電極高さ均一化方法。
  6. 請求項1〜5のいずれかに記載の配線基板の電極高さ均一化方法であって、前記補強板が金属板であることを特徴とする配線基板の電極高さ均一化方法。
  7. 請求項1〜6のいずれかに記載の配線基板の電極高さ均一化方法であって、前記補強板の、前記配線基板の配線が形成されていない側の面と貼り合わせる面を、貼り合わせを行う前に研磨して平滑化することを特徴とする配線基板の電極高さ均一化方法。
  8. 請求項1〜7のいずれかに記載の配線基板の電極高さ均一化方法であって、前記電極の用途がコンタクトプローブ用電極であることを特徴とする配線基板の電極高さ均一化方法。
  9. 絶縁基板及び絶縁基板の表面にパターン形成された配線を最小構成単位とする配線基板の製造方法であって、他の部品と接続または接触する電極部分の表面高さを、請求項1〜8のいずれかに記載の配線基板の電極高さ均一化方法により、均一化することを特徴とする配線基板の製造方法。
JP2013038487A 2013-02-28 2013-02-28 配線基板の電極高さ均一化方法およびこれを用いた配線基板の製造方法 Expired - Fee Related JP6132425B2 (ja)

Priority Applications (1)

Application Number Priority Date Filing Date Title
JP2013038487A JP6132425B2 (ja) 2013-02-28 2013-02-28 配線基板の電極高さ均一化方法およびこれを用いた配線基板の製造方法

Applications Claiming Priority (1)

Application Number Priority Date Filing Date Title
JP2013038487A JP6132425B2 (ja) 2013-02-28 2013-02-28 配線基板の電極高さ均一化方法およびこれを用いた配線基板の製造方法

Publications (2)

Publication Number Publication Date
JP2014166653A JP2014166653A (ja) 2014-09-11
JP6132425B2 true JP6132425B2 (ja) 2017-05-24

Family

ID=51616652

Family Applications (1)

Application Number Title Priority Date Filing Date
JP2013038487A Expired - Fee Related JP6132425B2 (ja) 2013-02-28 2013-02-28 配線基板の電極高さ均一化方法およびこれを用いた配線基板の製造方法

Country Status (1)

Country Link
JP (1) JP6132425B2 (ja)

Families Citing this family (2)

* Cited by examiner, † Cited by third party
Publication number Priority date Publication date Assignee Title
CN105142332B (zh) * 2015-09-18 2018-03-13 刘炜 一种具有导电补强结构的柔性线路板及其加工工艺
JP6691816B2 (ja) * 2016-05-18 2020-05-13 東京応化工業株式会社 封止体の製造方法

Family Cites Families (6)

* Cited by examiner, † Cited by third party
Publication number Priority date Publication date Assignee Title
JPH07297196A (ja) * 1994-04-25 1995-11-10 Sony Corp バンプ電極の形成方法
JP2002100651A (ja) * 2000-09-21 2002-04-05 Toppan Printing Co Ltd 半導体装置及びその製造方法
JP3875886B2 (ja) * 2001-12-26 2007-01-31 ソニーケミカル&インフォメーションデバイス株式会社 フレキシブル配線板の製造方法
JP2007243097A (ja) * 2006-03-13 2007-09-20 Matsushita Electric Ind Co Ltd 導電性パターンの形成方法
JP5152601B2 (ja) * 2010-06-01 2013-02-27 日立化成工業株式会社 薄板状物品を用いた接続基板の製造方法と多層配線板の製造方法
JP5650945B2 (ja) * 2010-07-27 2015-01-07 三菱製紙株式会社 サンドブラスト用感光性フィルム

Also Published As

Publication number Publication date
JP2014166653A (ja) 2014-09-11

Similar Documents

Publication Publication Date Title
TWI250636B (en) A semiconductor device and its fabrication method
JP4543089B2 (ja) 半導体装置
KR101084924B1 (ko) 반도체 장치 및 그 제조방법
JP5147677B2 (ja) 樹脂封止パッケージの製造方法
JP4835124B2 (ja) 半導体ic内蔵基板及びその製造方法
JP6041731B2 (ja) インターポーザ、及び電子部品パッケージ
JP5998792B2 (ja) 半導体ic内蔵基板及びその製造方法
JP2013214713A (ja) キャリア付き金属箔
CN101282637A (zh) 柔性电路板表面贴装承载装置
TW201626864A (zh) 具有高尺寸安定特性的覆蓋膜及軟性印刷電路板之製作方法
JP6132425B2 (ja) 配線基板の電極高さ均一化方法およびこれを用いた配線基板の製造方法
TWI590726B (zh) 電子封裝件、封裝載板及此封裝載板的製造方法
TWI362908B (ja)
JP2009182202A (ja) 半導体装置の製造方法
JP5258838B2 (ja) 半導体装置
JP5456113B2 (ja) 樹脂封止パッケージ
CN115915595A (zh) 一种埋阻电路板及加工方法
JP5477372B2 (ja) 機能素子内蔵基板、及びその製造方法、並びに電子機器
JP2009081367A (ja) 半導体装置およびその製造方法
JP3444787B2 (ja) 電子部品実装用フィルムキャリアテープおよび電子部品実装用フィルムキャリアテープの製造方法
KR101044133B1 (ko) 인쇄회로기판 제조용 캐리어와 그 제조방법 및 이를 이용한 인쇄회로기판의 제조방법
JP4158659B2 (ja) 電子部品実装回路基板の製造方法
JP5288898B2 (ja) 接着シートの貼付装置および貼付方法、ならびに電子部品の実装装置および実装方法
KR101897609B1 (ko) 회로 기판에서의 레진을 충진하는 방법 및 그 방법에 의해 제조된 회로 기판
JP4345464B2 (ja) 電子部品が接合された回路基板用部材の製造方法

Legal Events

Date Code Title Description
A621 Written request for application examination

Free format text: JAPANESE INTERMEDIATE CODE: A621

Effective date: 20151225

A977 Report on retrieval

Free format text: JAPANESE INTERMEDIATE CODE: A971007

Effective date: 20161026

A131 Notification of reasons for refusal

Free format text: JAPANESE INTERMEDIATE CODE: A131

Effective date: 20161129

A521 Written amendment

Free format text: JAPANESE INTERMEDIATE CODE: A523

Effective date: 20170120

TRDD Decision of grant or rejection written
A01 Written decision to grant a patent or to grant a registration (utility model)

Free format text: JAPANESE INTERMEDIATE CODE: A01

Effective date: 20170412

A621 Written request for application examination

Free format text: JAPANESE INTERMEDIATE CODE: A621

Effective date: 20170417

A61 First payment of annual fees (during grant procedure)

Free format text: JAPANESE INTERMEDIATE CODE: A61

Effective date: 20170417

R150 Certificate of patent or registration of utility model

Ref document number: 6132425

Country of ref document: JP

Free format text: JAPANESE INTERMEDIATE CODE: R150

R250 Receipt of annual fees

Free format text: JAPANESE INTERMEDIATE CODE: R250

LAPS Cancellation because of no payment of annual fees