JP6037726B2 - 振動抑制吊構造 - Google Patents

振動抑制吊構造 Download PDF

Info

Publication number
JP6037726B2
JP6037726B2 JP2012191369A JP2012191369A JP6037726B2 JP 6037726 B2 JP6037726 B2 JP 6037726B2 JP 2012191369 A JP2012191369 A JP 2012191369A JP 2012191369 A JP2012191369 A JP 2012191369A JP 6037726 B2 JP6037726 B2 JP 6037726B2
Authority
JP
Japan
Prior art keywords
suspension
bolt
locking surface
vibration
bracket
Prior art date
Legal status (The legal status is an assumption and is not a legal conclusion. Google has not performed a legal analysis and makes no representation as to the accuracy of the status listed.)
Active
Application number
JP2012191369A
Other languages
English (en)
Other versions
JP2014047538A (ja
Inventor
献一 吉田
献一 吉田
宏安 西井
宏安 西井
茂人 永島
茂人 永島
真樹 望月
真樹 望月
耕造 豊田
耕造 豊田
義文 杉村
義文 杉村
航 後藤
航 後藤
敏也 元樋
敏也 元樋
Current Assignee (The listed assignees may be inaccurate. Google has not performed a legal analysis and makes no representation or warranty as to the accuracy of the list.)
NTT Facilities Inc
Original Assignee
NTT Facilities Inc
Priority date (The priority date is an assumption and is not a legal conclusion. Google has not performed a legal analysis and makes no representation as to the accuracy of the date listed.)
Filing date
Publication date
Application filed by NTT Facilities Inc filed Critical NTT Facilities Inc
Priority to JP2012191369A priority Critical patent/JP6037726B2/ja
Publication of JP2014047538A publication Critical patent/JP2014047538A/ja
Application granted granted Critical
Publication of JP6037726B2 publication Critical patent/JP6037726B2/ja
Active legal-status Critical Current
Anticipated expiration legal-status Critical

Links

Images

Landscapes

  • Vibration Prevention Devices (AREA)

Description

本発明は、天井スラブに吊ボルトで吊り下げられた吊設備機器の振動を軽減する振動抑制吊構造に関する。
従来、天井スラブに吊ボルトで吊り下げられた吊設備機器が、大地震等により落下することがあった。原因を検討すると、吊ボルトの根元(基端部、天井スラブに固定される上端部)に応力が集中し、該根元の降伏後に塑性変形が累積して吊ボルトの根元が破断に至ることがわかった。このような吊ボルトの破断を防止するために、一対の吊ボルトの一方の根元と他方の先端部(吊設備機器に固定される下端部)との間に筋交いを設け、各吊ボルトの変形を抑えたものがある(例えば、特許文献1参照)。
特開2008−208687号公報
上述のように筋交い等の振れ止め材を設けると、吊ボルトの変形を飛躍的に抑えることができるが、例えば梁跨ぎで吊設備機器を配置するような場合、筋交いを設けることが困難な場合がある。
本発明は、上述する問題点に鑑みてなされたもので、天井スラブに吊ボルトで吊り下げられた吊設備機器の振動を軽減する振動抑制吊構造において、吊ボルト間の筋交いを無くして設置自由度を高めた上で吊ボルトの変形を抑えることを課題とする。
上記課題の解決手段として、請求項1に記載した発明は、天井スラブに吊ボルトで吊り下げられた吊設備機器の振動を軽減する振動抑制吊構造において、前記吊ボルトの前記天井スラブ側の基端部に、前記吊設備機器に固定されるボルト本体を吊り下げる連結具を備え、前記連結具が、前記天井スラブに固定されると共に上向き係止面を形成する上ブラケットと、前記ボルト本体に固定されると共に前記上向き係止面に上方から係合する下向き係止面を形成する下ブラケットと、前記上向き係止面及び下向き係止面の一方から突出して他方を揺動可能に当接させると共に前記吊設備機器の荷重を受ける揺動支持部と、前記揺動支持部の周囲に配置されて前記上向き係止面及び下向き係止面の間に挟み込まれるエネルギー吸収体とを有することを特徴とする。
この構成によれば、地震等により吊設備機器が振動すると、吊ボルトの基端部では上ブラケットに対する下ブラケットの動きが揺動支持部の支点を中心にした揺動に変換され、この揺動により揺動支持部の周囲でエネルギー吸収体を撓ませることで、吊設備機器の振動エネルギーの一部を吸収できる。すなわち、吊ボルトの基端部に作用する曲げモーメントを低減して吊ボルトの基端部の変形を低減した上で、吊設備機器の振動エネルギーを吸収して振動を軽減できる。エネルギー吸収体は、合成ゴム等の弾性体や粘弾性体、摩擦ダンパー等の減衰材が考えられる。
また、複数の吊ボルト間に筋交いを設ける場合と比べて、梁跨ぎで吊設備機器を配置するような場合でも設置自由度が高く、振動対策を容易に実施できる。
本発明において、前記下ブラケットにおける前記ボルト本体を貫通させるボルト貫通部と前記ボルト本体に螺着されたナットとの間に、ボルト動エネルギー吸収体が介装される構成であれば、下ブラケットに対するボルト本体の移動をボルト動エネルギー吸収体の撓み等により許容しつつ、ボルト動エネルギー吸収体によっても吊設備機器の振動エネルギーを吸収できる。
本発明において、前記揺動支持部が、前記上向き係止面及び下向き係止面の一方に転動自在に保持された転動体からなる構成であれば、揺動支持部を中心にした揺動がよりスムーズになり、振動エネルギーの一部を良好に吸収することができる。
本発明によれば、天井スラブに吊ボルトで吊り下げられた吊設備機器の振動を軽減する振動抑制吊構造において、吊ボルト間の筋交いを無くして設置自由度を高めた上で吊ボルトの変形を抑えることができる。
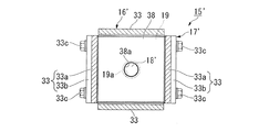
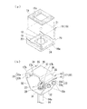
本発明の実施形態における振動抑制吊構造の正面図である。 図1のII−II断面図である。 (a)は上記振動抑制吊構造の吊ボルトの連結具の上ブラケットの斜視図、(b)は前記連結具の下ブラケットの斜視図である。 上記連結具の一部断面を含む正面図である。 図4のV−V断面図である。 上記連結具の水平方向の動きに対する作用を示す図4に相当する正面図である。 上記連結具の鉛直方向の動きに対する作用を示す図4に相当する正面図である。 上記連結具の変形例における一部断面を含む正面図である。 図8のIX−IX断面図である。 図8の連結具の分解斜視図である。
以下、本発明の実施形態について図面を参照して説明する。
図1,2に示すように、本実施形態の振動抑制吊構造1は、建造物の天井スラブ2に複数(四本)の吊ボルト5で空調設備等の吊設備機器7を吊り下げた構成を有する。吊設備機器7は例えば直方体状をなし、その上面8を略水平にして配置される。上面8の外周方には、略水平なフランジ9が例えば全周に渡って設けられる。吊設備機器7の平面視(上面視)の四隅には、それぞれ鉛直方向に延びる吊ボルト5の下端部(先端部)がフランジ9を貫通した状態で該フランジ9に締結固定される。図中符号11,12は吊ボルト5の下端部に螺着されてフランジ9を挟んで締め込まれる上下ナットを示す。吊設備機器7は天井スラブ2の下面3から下方に離間して配置され、天井スラブ2の下面3よりも下方に張り出す梁4があってもその下方に配置可能である。
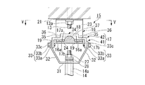
振動抑制吊構造1において、吊設備機器7の平面視長方形状の四隅に位置する計四本の吊ボルト5は、それぞれの天井スラブ2側の基端部(上端部)に、上下ブラケット16,17を組み合わせた連結具15を備える。各吊ボルト5は、天井スラブ2に固定されたアンカーボルト13と、アンカーボルト13に取り付けられる連結具15と、連結具15に吊り下げられるボルト本体14とを備えている。
図3,4に示すように、連結具15は、アンカーボルト13に固定される上ブラケット16と、ボルト本体14の上端部に固定される下ブラケット17と、上ブラケット16が形成する上向き係止面16aの中央部に突設されて下ブラケット17が形成する上段下向き係止面17aを揺動可能に支持する半球状の揺動支持部18と、揺動支持部18の周囲で上向き係止面16aと上段下向き係止面17aの両側に形成された下段下向き係止面17bとの間に挟み込まれるエネルギー吸収体19とを有する。
連結具15は、上ブラケット16に揺動支持部18を介して下ブラケット17を係止し、上下ブラケット16,17を相対揺動自在にすると共に、揺動支持部18の周囲に挟み込んだエネルギー吸収体19を撓ませることで、上下ブラケット16,17の相対揺動エネルギーを吸収可能とする。
上ブラケット16は、複数の鋼材を溶接や締結具等により一体に結合してなる。上ブラケット16は、略水平に配置されてアンカーボルト13を貫通させると共に該アンカーボルト13にナット13aにより固定される矩形状の第一板部21と、第一板部21の両側端から下方に延びる一対の立板部23と、一対の立板部23の下端間に渡り略水平に延びる長方形状の第二板部24とを有する。以下、前記一対の立板部23に渡る方向を上ブラケット16の長手方向ということがある。
下ブラケット17は、略水平に配置されてボルト本体14の上端部を貫通させると共に該上端部をナット27及びボルト動エネルギー吸収体28により係止する第一板部31と、第一板部31の両側端から上側ほど互いに離間するように延びる一対の傾斜板部32と、一対の傾斜板部32の上端から上方に延びる一対の立板部33と、一対の立板部33の上端間に渡る第二板部34とを有する。以下、前記帯形状の幅方向を帯幅方向、長さ方向を帯長方向ということがある。
第二板部34は、一対の立板部33の上端から帯長方向で互いに接近するように略水平かつ略面一に延びる一対の下段板部35と、一対の下段板部35の内側端から上方に延びる一対の上段立板部36と、一対の上段立板部36の上端間に渡り略水平に延びる上段板部37とを有する。
一対の立板部33の各々は、下ブラケット17の下部を構成する第一分割体41が形成する第一立板部33aと、下ブラケット17の上部を構成する第二分割体42が形成する第二立板部33bとで構成される。第一立板部33aは第二立板部33bの外側に重なり、これらが下ブラケット17の帯幅方向で並ぶ一対のボルト33cにより締結される。第一分割体41は第一板部31、一対の傾斜板部32及び一対の第一立板部33aを一体に有し、第二分割体42は一対の第二立板部33b及び第二板部34を一体に有する。第二分割体42は第一分割体41よりも板厚を厚くされる。
下ブラケット17は、ボルト本体14を上下動自在に挿通する補強パイプ14aを有する。補強パイプ14aは鋼管からなり、下ブラケット17の第一板部31からボルト本体14の下端部近傍まで延びる。この補強パイプ14aにより、長尺のボルト本体14の曲げに対する補強がなされる。補強パイプ14aの上端部は、下ブラケット17の第一板部31を貫通してその上方に突出し、この補強パイプ14aの上端にナット27及びボルト動エネルギー吸収体28が係止される。
図5を併せて参照し、連結具15の平面視(吊ボルト5の軸方向視に相当)において、下ブラケット17は、その帯長方向を上ブラケット16の長手方向と略直交させるように配置される。下ブラケット17の第二板部34は、上ブラケット16の第二板部24に上方から重なるように配置される。上下ブラケット16,17は、それぞれ側面視でループ状をなし、互いに鎖状に繋ぎ合わされる。下ブラケット17は、第一及び第二分割体41,42に分割されることで、上ブラケット16との繋ぎ合わせを容易にする。
下ブラケット17の第二板部34の上段板部37の中央部は、揺動支持部18の頂部に当接支持される。上ブラケット16の第二板部24における揺動支持部18の周囲と下ブラケット17の一対の下段板部35との間には、例えば板状のエネルギー吸収体19が挟み込まれる。
エネルギー吸収体19は、例えば粘弾性体からなり、例えば上ブラケット16の第二板部24とほぼ同等の矩形状とされる。エネルギー吸収体19の中央部には、揺動支持部18を貫通させる例えば矩形状の貫通孔19aが形成される。エネルギー吸収体19は、例えば接着等により上ブラケット16の第二板部24及び下ブラケット17の一対の下段板部35に固定される。
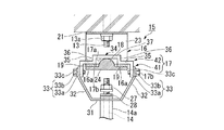
図6に示すように、地震等により吊設備機器7が振動した際には、その水平方向の移動がボルト本体14及び下ブラケット17の揺動となって連結具15に伝達される。このとき、エネルギー吸収体19が上ブラケット16の第二板部24及び下ブラケット17の一対の下段板部35の間で圧縮及び復元を繰り返すことで、上ブラケット16に対する下ブラケット17の揺動が許容されると共に、吊設備機器7の振動エネルギーの一部が吸収される。これにより、吊設備機器7の振動が軽減されると共に、吊ボルト5の基端部への前記振動の伝達が抑えられる。
ボルト本体14の上端部は、下ブラケット17の第一板部31の上方で螺着されたナット27と、該ナット27と補強パイプ14aの上端との間に挟まれたボルト動エネルギー吸収体28とにより、下ブラケット17の第一板部31に係止される。ボルト動エネルギー吸収体28は、例えばエラストマー等の弾性体からなり、ナット27の座金相当の外径を有してボルト本体14を挿通する円筒状とされる。図7に示すように、ボルト本体14の上端部は、下ブラケット17に対して上方へ移動自在であり、かつボルト動エネルギー吸収体28の撓み分だけ下方及び傾き方向への移動が可能である。
これにより、吊設備機器7の振動はボルト本体14には直接伝達されるが、ボルト動エネルギー吸収体28の撓みによって下ブラケット17への前記振動の伝達が抑えられる。ボルト動エネルギー吸収体28は、吊設備機器7の荷重を受けるが、ボルト本体14及び下ブラケット17間で引っ張って用いるのではなく圧縮して用いるため、切断の虞がなく信頼性が高い。
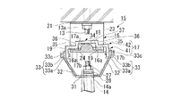
下ブラケット17に吊設備機器7の振動が伝達された場合、上ブラケット16に対して下ブラケット17が揺動し、このエネルギーが前述の如くエネルギー吸収体19の撓みによって吸収される。
これら両エネルギー吸収体19,28の変形と復元により、吊設備機器7の振動エネルギーの減衰と吸収がなされ、振動が収束し易く、吊ボルト5の基端部の応力集中が緩和されると共に疲労が抑えられる。
以上説明したように、上記実施形態における振動抑制吊構造1は、吊ボルト5の天井スラブ2側の基端部に、上下ブラケット16,17を組み合わせた連結具15を設け、連結具15の上下ブラケット16,17間に、これらを相対揺動可能にすると共に吊設備機器7の荷重を受ける揺動支持部18を設けると共に、揺動支持部18の周囲で上下ブラケット16,17間に挟み込まれるエネルギー吸収体19を設けることで、地震等により吊設備機器7が振動すると、吊ボルト5の基端部では上ブラケット16に対する下ブラケット17の動きが揺動支持部18の支点を中心にした揺動に変換され、この揺動により揺動支持部18の周囲でエネルギー吸収体19を撓ませることで、吊設備機器7の振動エネルギーの一部を吸収できる。すなわち、吊ボルト5の基端部に作用する曲げモーメントを低減して吊ボルト5の基端部の変形を低減した上で、吊設備機器7の振動エネルギーを吸収して振動を軽減できる。
また、複数の吊ボルト5間に筋交いを設ける場合と比べて、梁跨ぎで吊設備機器7を配置するような場合でも設置自由度が高く、振動対策を容易に実施できる。
また、下ブラケット17におけるボルト本体14の上端部が貫通する部位とボルト本体14の上端部に螺着したナット27との間に、ボルト動エネルギー吸収体28が介装されることで、下ブラケット17に対するボルト本体14の相対移動をボルト動エネルギー吸収体28により許容しつつ、ボルト動エネルギー吸収体28によっても吊設備機器7の振動エネルギーを吸収できる。
なお、本発明は上記実施形態に限られるものではなく、例えば、エネルギー吸収体19の上下ブラケット16,17への固定は接着に限らず、例えば締結具やブラケット等の固定具を用いてもよい。一方、エネルギー吸収体19を上下ブラケット16,17の少なくとも一方に固定せず、上ブラケット16に対して下ブラケット17を上方へ移動自在にしてもよい。この場合、ボルト本体14を下ブラケット17に固定してもよい。
本実施形態において、揺動支持部18は上ブラケット16に一体形成されるが、上ブラケット16とは別体の揺動支持部18を上向き係止面16aに固設してもよい。また、揺動支持部18を下ブラケット17に設けて上ブラケット16の上向き係止面16aに当接支持させてもよい。また、上下ブラケット16,17とは別体の例えば球状の揺動支持部18を上下ブラケット16,17に固定せずに挟み込んでもよい。また、下ブラケット17の第二板部34を段差形状ではなく平坦形状にして上下係止面17a,17bを平坦にしてもよい。
以下、連結具15の変形例を図8〜図10を参照して説明する。
この変形例の連結具15’は、前記連結具15に対して、揺動支持部18に代わり鋼球(転動体)18’を有する点で異なり、その他の、前記実施形態と同一構成には同一符号を付して詳細説明は省略する。
連結具15’は、前記下ブラケット17に対して平坦形状の第二板部34’を有する下ブラケット17’と、下ブラケット17’を上下反転した構成を有する上ブラケット16’と、上ブラケット16’の平坦な上向き係止面16a’及び下ブラケット17’の平坦な下向き係止面17a’の間に挟みこまれて吊設備機器7の荷重を受ける鋼球18’と、鋼球18’を転動自在に遊嵌させる中央孔38aを有して下向き係止面17a’に下方から当接する保持プレート38と、保持プレート38の下面と上向き係止面16a’との間に挟み込まれるエネルギー吸収体19とを有する。
上ブラケット16’は天井スラブ2の下面3から離間し、アンカーボルト13に上下一対のナット13aにより固定される。補強パイプ14aの上端部は下ブラケット17’の第一板部31の上方に突出せず、第一板部31の上面にはダブルナット固定されたナット27及びボルト動エネルギー吸収体28が係止される。上ブラケット16’及び下ブラケット17’の第一分割体41及び第二分割体42は、それぞれ互いに略同一の板厚とされる。
この構成によれば、上記実施形態の作用効果に加え、揺動支持部18に代わり、下向き係止面17a’に転動自在に保持される鋼球18’を有することで、揺動支持部(鋼球18’)を中心にした揺動がよりスムーズになり、振動エネルギーの一部を良好に吸収することができる。なお、上向き係止面16a’に保持プレート38を介して鋼球18’を保持してもよい。
そして、上記実施形態及び変形例における構成は本発明の一例であり、各構成を適宜組み合わせる等、当該発明の要旨を逸脱しない範囲で種々の変更が可能である。
1 振動抑制吊構造
2 天井スラブ
5 吊ボルト
7 吊設備機器
14 ボルト本体
14a 補強パイプ(ボルト貫通部)
15,15’ 連結具
16,16’ 上ブラケット
16a,16a’ 上向き係止面
17,17’ 下ブラケット
17a,17a’ 上段下向き係止面
18 揺動支持部
18’ 鋼球(揺動支持部)
19 エネルギー吸収体
28 ボルト動エネルギー吸収体
31 第一板部(ボルト貫通部)

Claims (3)

  1. 天井スラブに吊ボルトで吊り下げられた吊設備機器の振動を軽減する振動抑制吊構造において、
    前記吊ボルトの前記天井スラブ側の基端部に、前記吊設備機器に固定されるボルト本体を吊り下げる連結具を備え、
    前記連結具が、前記天井スラブに固定されると共に上向き係止面を形成する上ブラケットと、前記ボルト本体に固定されると共に前記上向き係止面に上方から係合する下向き係止面を形成する下ブラケットと、前記上向き係止面及び下向き係止面の一方から突出して他方を揺動可能に当接させると共に前記吊設備機器の荷重を受ける揺動支持部と、前記揺動支持部の周囲に配置されて前記上向き係止面及び下向き係止面の間に挟み込まれるエネルギー吸収体とを有することを特徴とする振動抑制吊構造。
  2. 前記下ブラケットにおける前記ボルト本体を貫通させるボルト貫通部と前記ボルト本体に螺着されたナットとの間に、ボルト動エネルギー吸収体が介装されることを特徴とする請求項1に記載の振動抑制吊構造。
  3. 前記揺動支持部が、前記上向き係止面及び下向き係止面の一方に転動自在に保持された転動体からなることを特徴とする請求項1又は2に記載の振動抑制吊構造。
JP2012191369A 2012-08-31 2012-08-31 振動抑制吊構造 Active JP6037726B2 (ja)

Priority Applications (1)

Application Number Priority Date Filing Date Title
JP2012191369A JP6037726B2 (ja) 2012-08-31 2012-08-31 振動抑制吊構造

Applications Claiming Priority (1)

Application Number Priority Date Filing Date Title
JP2012191369A JP6037726B2 (ja) 2012-08-31 2012-08-31 振動抑制吊構造

Publications (2)

Publication Number Publication Date
JP2014047538A JP2014047538A (ja) 2014-03-17
JP6037726B2 true JP6037726B2 (ja) 2016-12-07

Family

ID=50607504

Family Applications (1)

Application Number Title Priority Date Filing Date
JP2012191369A Active JP6037726B2 (ja) 2012-08-31 2012-08-31 振動抑制吊構造

Country Status (1)

Country Link
JP (1) JP6037726B2 (ja)

Families Citing this family (3)

* Cited by examiner, † Cited by third party
Publication number Priority date Publication date Assignee Title
JP6216552B2 (ja) * 2013-06-25 2017-10-18 株式会社Nttファシリティーズ 振動抑制吊構造
JP6576168B2 (ja) * 2015-09-01 2019-09-18 エヌパット株式会社 ブレース連結金具
JP6379133B2 (ja) * 2016-04-26 2018-08-22 株式会社ケーワン 天井下地構造及び吊り部材

Family Cites Families (4)

* Cited by examiner, † Cited by third party
Publication number Priority date Publication date Assignee Title
JPH0653842U (ja) * 1992-12-28 1994-07-22 昭和電線電纜株式会社 吊形防振装置
JPH0735619U (ja) * 1993-12-14 1995-07-04 株式会社大林組 鉄骨天井下地材の絶縁構造
JPH08261284A (ja) * 1995-03-22 1996-10-08 Showa Electric Wire & Cable Co Ltd 吊り形防振装置
JP4351227B2 (ja) * 2006-04-25 2009-10-28 大成建設株式会社 設備機器の支持構造

Also Published As

Publication number Publication date
JP2014047538A (ja) 2014-03-17

Similar Documents

Publication Publication Date Title
JP6037726B2 (ja) 振動抑制吊構造
JP5848554B2 (ja) 防振架台
JP6216552B2 (ja) 振動抑制吊構造
JP6037727B2 (ja) 振動抑制吊構造
RU2279584C1 (ru) Резиновый виброизолятор для оборудования
TWI538864B (zh) Automatic Warehouse and Its Vibration Method
JP2019127823A (ja) 耐震用軽量鉄骨フレームの構造
JP5953175B2 (ja) 振動抑制吊構造
JP5953174B2 (ja) 振動抑制吊構造
JP5869309B2 (ja) 天井吊下型減震装置
JP6246547B2 (ja) 減震ストッパ構造、隙間管理スペーサ、並びに防振架台
JPH11166331A (ja) 免震引抜抵抗装置
JP6214439B2 (ja) 機器収容室の床支持構造、及び、建造物
JP2006200705A (ja) 防振架台
JP6079457B2 (ja) 建築物
JP6074773B2 (ja) 木造建築物の軸組補強構造
JP2017125519A (ja) 動吸振装置及び床
JP2020090812A (ja) 制振構造
JP2010255340A (ja) 制振構造、及びこれに用いられる振動吸収部材
JP2002227452A (ja) 空間骨組構造体の制振構造
JP6148911B2 (ja) 減震ストッパ構造並びに当該減震ストッパ構造を備えた防振架台
JP2010203145A (ja) 床支持吸振具、及び、床構造
JP2013148114A (ja) 吊り下げ装置および吊り天井の耐震構造
JP2005146780A (ja) 取付金具
JP2015218469A (ja) 吊り天井構造

Legal Events

Date Code Title Description
A621 Written request for application examination

Free format text: JAPANESE INTERMEDIATE CODE: A621

Effective date: 20150423

A977 Report on retrieval

Free format text: JAPANESE INTERMEDIATE CODE: A971007

Effective date: 20160325

A131 Notification of reasons for refusal

Free format text: JAPANESE INTERMEDIATE CODE: A131

Effective date: 20160426

A521 Request for written amendment filed

Free format text: JAPANESE INTERMEDIATE CODE: A523

Effective date: 20160526

TRDD Decision of grant or rejection written
A01 Written decision to grant a patent or to grant a registration (utility model)

Free format text: JAPANESE INTERMEDIATE CODE: A01

Effective date: 20161004

A61 First payment of annual fees (during grant procedure)

Free format text: JAPANESE INTERMEDIATE CODE: A61

Effective date: 20161101

R150 Certificate of patent or registration of utility model

Ref document number: 6037726

Country of ref document: JP

Free format text: JAPANESE INTERMEDIATE CODE: R150

R250 Receipt of annual fees

Free format text: JAPANESE INTERMEDIATE CODE: R250

R250 Receipt of annual fees

Free format text: JAPANESE INTERMEDIATE CODE: R250

R250 Receipt of annual fees

Free format text: JAPANESE INTERMEDIATE CODE: R250

R250 Receipt of annual fees

Free format text: JAPANESE INTERMEDIATE CODE: R250

R250 Receipt of annual fees

Free format text: JAPANESE INTERMEDIATE CODE: R250

R250 Receipt of annual fees

Free format text: JAPANESE INTERMEDIATE CODE: R250

R250 Receipt of annual fees

Free format text: JAPANESE INTERMEDIATE CODE: R250