JP5908048B2 - 電気泳動ディスプレイおよび材料 - Google Patents

電気泳動ディスプレイおよび材料 Download PDF

Info

Publication number
JP5908048B2
JP5908048B2 JP2014223984A JP2014223984A JP5908048B2 JP 5908048 B2 JP5908048 B2 JP 5908048B2 JP 2014223984 A JP2014223984 A JP 2014223984A JP 2014223984 A JP2014223984 A JP 2014223984A JP 5908048 B2 JP5908048 B2 JP 5908048B2
Authority
JP
Japan
Prior art keywords
display
particles
capsule
electrophoretic
light
Prior art date
Legal status (The legal status is an assumption and is not a legal conclusion. Google has not performed a legal analysis and makes no representation as to the accuracy of the status listed.)
Expired - Lifetime
Application number
JP2014223984A
Other languages
English (en)
Other versions
JP2015028665A (ja
Inventor
ディー. アルバート ジョナサン
ディー. アルバート ジョナサン
コミスキー バレット
コミスキー バレット
エム. ジェイコブソン ジェセフ
エム. ジェイコブソン ジェセフ
ザン リビング
ザン リビング
ロクスレイ アンドリュー
ロクスレイ アンドリュー
フィーニー ロバート
フィーニー ロバート
ドルザイク ポール
ドルザイク ポール
モリソン アイアン
モリソン アイアン
Original Assignee
イー インク コーポレイション
イー インク コーポレイション
Priority date (The priority date is an assumption and is not a legal conclusion. Google has not performed a legal analysis and makes no representation as to the accuracy of the date listed.)
Filing date
Publication date
Priority claimed from US08/935,800 external-priority patent/US6120588A/en
Application filed by イー インク コーポレイション, イー インク コーポレイション filed Critical イー インク コーポレイション
Publication of JP2015028665A publication Critical patent/JP2015028665A/ja
Application granted granted Critical
Publication of JP5908048B2 publication Critical patent/JP5908048B2/ja
Anticipated expiration legal-status Critical
Expired - Lifetime legal-status Critical Current

Links

Images

Classifications

    • GPHYSICS
    • G09EDUCATION; CRYPTOGRAPHY; DISPLAY; ADVERTISING; SEALS
    • G09FDISPLAYING; ADVERTISING; SIGNS; LABELS OR NAME-PLATES; SEALS
    • G09F9/00Indicating arrangements for variable information in which the information is built-up on a support by selection or combination of individual elements
    • G09F9/30Indicating arrangements for variable information in which the information is built-up on a support by selection or combination of individual elements in which the desired character or characters are formed by combining individual elements
    • G09F9/37Indicating arrangements for variable information in which the information is built-up on a support by selection or combination of individual elements in which the desired character or characters are formed by combining individual elements being movable elements
    • G09F9/372Indicating arrangements for variable information in which the information is built-up on a support by selection or combination of individual elements in which the desired character or characters are formed by combining individual elements being movable elements the positions of the elements being controlled by the application of an electric field
    • BPERFORMING OPERATIONS; TRANSPORTING
    • B41PRINTING; LINING MACHINES; TYPEWRITERS; STAMPS
    • B41JTYPEWRITERS; SELECTIVE PRINTING MECHANISMS, i.e. MECHANISMS PRINTING OTHERWISE THAN FROM A FORME; CORRECTION OF TYPOGRAPHICAL ERRORS
    • B41J3/00Typewriters or selective printing or marking mechanisms characterised by the purpose for which they are constructed
    • B41J3/407Typewriters or selective printing or marking mechanisms characterised by the purpose for which they are constructed for marking on special material
    • B41J3/4076Typewriters or selective printing or marking mechanisms characterised by the purpose for which they are constructed for marking on special material printing on rewritable, bistable "electronic paper" by a focused electric or magnetic field
    • BPERFORMING OPERATIONS; TRANSPORTING
    • B82NANOTECHNOLOGY
    • B82YSPECIFIC USES OR APPLICATIONS OF NANOSTRUCTURES; MEASUREMENT OR ANALYSIS OF NANOSTRUCTURES; MANUFACTURE OR TREATMENT OF NANOSTRUCTURES
    • B82Y20/00Nanooptics, e.g. quantum optics or photonic crystals
    • CCHEMISTRY; METALLURGY
    • C09DYES; PAINTS; POLISHES; NATURAL RESINS; ADHESIVES; COMPOSITIONS NOT OTHERWISE PROVIDED FOR; APPLICATIONS OF MATERIALS NOT OTHERWISE PROVIDED FOR
    • C09DCOATING COMPOSITIONS, e.g. PAINTS, VARNISHES OR LACQUERS; FILLING PASTES; CHEMICAL PAINT OR INK REMOVERS; INKS; CORRECTING FLUIDS; WOODSTAINS; PASTES OR SOLIDS FOR COLOURING OR PRINTING; USE OF MATERIALS THEREFOR
    • C09D11/00Inks
    • C09D11/30Inkjet printing inks
    • GPHYSICS
    • G02OPTICS
    • G02BOPTICAL ELEMENTS, SYSTEMS OR APPARATUS
    • G02B26/00Optical devices or arrangements for the control of light using movable or deformable optical elements
    • G02B26/02Optical devices or arrangements for the control of light using movable or deformable optical elements for controlling the intensity of light
    • G02B26/026Optical devices or arrangements for the control of light using movable or deformable optical elements for controlling the intensity of light based on the rotation of particles under the influence of an external field, e.g. gyricons, twisting ball displays
    • GPHYSICS
    • G02OPTICS
    • G02FOPTICAL DEVICES OR ARRANGEMENTS FOR THE CONTROL OF LIGHT BY MODIFICATION OF THE OPTICAL PROPERTIES OF THE MEDIA OF THE ELEMENTS INVOLVED THEREIN; NON-LINEAR OPTICS; FREQUENCY-CHANGING OF LIGHT; OPTICAL LOGIC ELEMENTS; OPTICAL ANALOGUE/DIGITAL CONVERTERS
    • G02F1/00Devices or arrangements for the control of the intensity, colour, phase, polarisation or direction of light arriving from an independent light source, e.g. switching, gating or modulating; Non-linear optics
    • G02F1/01Devices or arrangements for the control of the intensity, colour, phase, polarisation or direction of light arriving from an independent light source, e.g. switching, gating or modulating; Non-linear optics for the control of the intensity, phase, polarisation or colour 
    • G02F1/13Devices or arrangements for the control of the intensity, colour, phase, polarisation or direction of light arriving from an independent light source, e.g. switching, gating or modulating; Non-linear optics for the control of the intensity, phase, polarisation or colour  based on liquid crystals, e.g. single liquid crystal display cells
    • G02F1/133Constructional arrangements; Operation of liquid crystal cells; Circuit arrangements
    • G02F1/1333Constructional arrangements; Manufacturing methods
    • G02F1/1345Conductors connecting electrodes to cell terminals
    • GPHYSICS
    • G04HOROLOGY
    • G04BMECHANICALLY-DRIVEN CLOCKS OR WATCHES; MECHANICAL PARTS OF CLOCKS OR WATCHES IN GENERAL; TIME PIECES USING THE POSITION OF THE SUN, MOON OR STARS
    • G04B47/00Time-pieces combined with other articles which do not interfere with the running or the time-keeping of the time-piece
    • GPHYSICS
    • G04HOROLOGY
    • G04GELECTRONIC TIME-PIECES
    • G04G9/00Visual time or date indication means
    • G04G9/08Visual time or date indication means by building-up characters using a combination of indicating elements, e.g. by using multiplexing techniques
    • GPHYSICS
    • G06COMPUTING OR CALCULATING; COUNTING
    • G06FELECTRIC DIGITAL DATA PROCESSING
    • G06F3/00Input arrangements for transferring data to be processed into a form capable of being handled by the computer; Output arrangements for transferring data from processing unit to output unit, e.g. interface arrangements
    • G06F3/14Digital output to display device ; Cooperation and interconnection of the display device with other functional units
    • G06F3/1423Digital output to display device ; Cooperation and interconnection of the display device with other functional units controlling a plurality of local displays, e.g. CRT and flat panel display
    • G06F3/1446Digital output to display device ; Cooperation and interconnection of the display device with other functional units controlling a plurality of local displays, e.g. CRT and flat panel display display composed of modules, e.g. video walls
    • GPHYSICS
    • G06COMPUTING OR CALCULATING; COUNTING
    • G06FELECTRIC DIGITAL DATA PROCESSING
    • G06F3/00Input arrangements for transferring data to be processed into a form capable of being handled by the computer; Output arrangements for transferring data from processing unit to output unit, e.g. interface arrangements
    • G06F3/14Digital output to display device ; Cooperation and interconnection of the display device with other functional units
    • G06F3/147Digital output to display device ; Cooperation and interconnection of the display device with other functional units using display panels
    • GPHYSICS
    • G09EDUCATION; CRYPTOGRAPHY; DISPLAY; ADVERTISING; SEALS
    • G09FDISPLAYING; ADVERTISING; SIGNS; LABELS OR NAME-PLATES; SEALS
    • G09F9/00Indicating arrangements for variable information in which the information is built-up on a support by selection or combination of individual elements
    • G09F9/30Indicating arrangements for variable information in which the information is built-up on a support by selection or combination of individual elements in which the desired character or characters are formed by combining individual elements
    • G09F9/302Indicating arrangements for variable information in which the information is built-up on a support by selection or combination of individual elements in which the desired character or characters are formed by combining individual elements characterised by the form or geometrical disposition of the individual elements
    • GPHYSICS
    • G02OPTICS
    • G02FOPTICAL DEVICES OR ARRANGEMENTS FOR THE CONTROL OF LIGHT BY MODIFICATION OF THE OPTICAL PROPERTIES OF THE MEDIA OF THE ELEMENTS INVOLVED THEREIN; NON-LINEAR OPTICS; FREQUENCY-CHANGING OF LIGHT; OPTICAL LOGIC ELEMENTS; OPTICAL ANALOGUE/DIGITAL CONVERTERS
    • G02F1/00Devices or arrangements for the control of the intensity, colour, phase, polarisation or direction of light arriving from an independent light source, e.g. switching, gating or modulating; Non-linear optics
    • G02F1/01Devices or arrangements for the control of the intensity, colour, phase, polarisation or direction of light arriving from an independent light source, e.g. switching, gating or modulating; Non-linear optics for the control of the intensity, phase, polarisation or colour 
    • G02F1/13Devices or arrangements for the control of the intensity, colour, phase, polarisation or direction of light arriving from an independent light source, e.g. switching, gating or modulating; Non-linear optics for the control of the intensity, phase, polarisation or colour  based on liquid crystals, e.g. single liquid crystal display cells
    • G02F1/133Constructional arrangements; Operation of liquid crystal cells; Circuit arrangements
    • G02F1/1333Constructional arrangements; Manufacturing methods
    • G02F1/133305Flexible substrates, e.g. plastics, organic film
    • GPHYSICS
    • G02OPTICS
    • G02FOPTICAL DEVICES OR ARRANGEMENTS FOR THE CONTROL OF LIGHT BY MODIFICATION OF THE OPTICAL PROPERTIES OF THE MEDIA OF THE ELEMENTS INVOLVED THEREIN; NON-LINEAR OPTICS; FREQUENCY-CHANGING OF LIGHT; OPTICAL LOGIC ELEMENTS; OPTICAL ANALOGUE/DIGITAL CONVERTERS
    • G02F1/00Devices or arrangements for the control of the intensity, colour, phase, polarisation or direction of light arriving from an independent light source, e.g. switching, gating or modulating; Non-linear optics
    • G02F1/01Devices or arrangements for the control of the intensity, colour, phase, polarisation or direction of light arriving from an independent light source, e.g. switching, gating or modulating; Non-linear optics for the control of the intensity, phase, polarisation or colour 
    • G02F1/13Devices or arrangements for the control of the intensity, colour, phase, polarisation or direction of light arriving from an independent light source, e.g. switching, gating or modulating; Non-linear optics for the control of the intensity, phase, polarisation or colour  based on liquid crystals, e.g. single liquid crystal display cells
    • G02F1/133Constructional arrangements; Operation of liquid crystal cells; Circuit arrangements
    • G02F1/1333Constructional arrangements; Manufacturing methods
    • G02F1/13336Combining plural substrates to produce large-area displays, e.g. tiled displays
    • GPHYSICS
    • G02OPTICS
    • G02FOPTICAL DEVICES OR ARRANGEMENTS FOR THE CONTROL OF LIGHT BY MODIFICATION OF THE OPTICAL PROPERTIES OF THE MEDIA OF THE ELEMENTS INVOLVED THEREIN; NON-LINEAR OPTICS; FREQUENCY-CHANGING OF LIGHT; OPTICAL LOGIC ELEMENTS; OPTICAL ANALOGUE/DIGITAL CONVERTERS
    • G02F1/00Devices or arrangements for the control of the intensity, colour, phase, polarisation or direction of light arriving from an independent light source, e.g. switching, gating or modulating; Non-linear optics
    • G02F1/01Devices or arrangements for the control of the intensity, colour, phase, polarisation or direction of light arriving from an independent light source, e.g. switching, gating or modulating; Non-linear optics for the control of the intensity, phase, polarisation or colour 
    • G02F1/13Devices or arrangements for the control of the intensity, colour, phase, polarisation or direction of light arriving from an independent light source, e.g. switching, gating or modulating; Non-linear optics for the control of the intensity, phase, polarisation or colour  based on liquid crystals, e.g. single liquid crystal display cells
    • G02F1/133Constructional arrangements; Operation of liquid crystal cells; Circuit arrangements
    • G02F1/1333Constructional arrangements; Manufacturing methods
    • G02F1/1334Constructional arrangements; Manufacturing methods based on polymer dispersed liquid crystals, e.g. microencapsulated liquid crystals
    • GPHYSICS
    • G02OPTICS
    • G02FOPTICAL DEVICES OR ARRANGEMENTS FOR THE CONTROL OF LIGHT BY MODIFICATION OF THE OPTICAL PROPERTIES OF THE MEDIA OF THE ELEMENTS INVOLVED THEREIN; NON-LINEAR OPTICS; FREQUENCY-CHANGING OF LIGHT; OPTICAL LOGIC ELEMENTS; OPTICAL ANALOGUE/DIGITAL CONVERTERS
    • G02F1/00Devices or arrangements for the control of the intensity, colour, phase, polarisation or direction of light arriving from an independent light source, e.g. switching, gating or modulating; Non-linear optics
    • G02F1/01Devices or arrangements for the control of the intensity, colour, phase, polarisation or direction of light arriving from an independent light source, e.g. switching, gating or modulating; Non-linear optics for the control of the intensity, phase, polarisation or colour 
    • G02F1/165Devices or arrangements for the control of the intensity, colour, phase, polarisation or direction of light arriving from an independent light source, e.g. switching, gating or modulating; Non-linear optics for the control of the intensity, phase, polarisation or colour  based on translational movement of particles in a fluid under the influence of an applied field
    • G02F1/166Devices or arrangements for the control of the intensity, colour, phase, polarisation or direction of light arriving from an independent light source, e.g. switching, gating or modulating; Non-linear optics for the control of the intensity, phase, polarisation or colour  based on translational movement of particles in a fluid under the influence of an applied field characterised by the electro-optical or magneto-optical effect
    • G02F1/167Devices or arrangements for the control of the intensity, colour, phase, polarisation or direction of light arriving from an independent light source, e.g. switching, gating or modulating; Non-linear optics for the control of the intensity, phase, polarisation or colour  based on translational movement of particles in a fluid under the influence of an applied field characterised by the electro-optical or magneto-optical effect by electrophoresis
    • GPHYSICS
    • G02OPTICS
    • G02FOPTICAL DEVICES OR ARRANGEMENTS FOR THE CONTROL OF LIGHT BY MODIFICATION OF THE OPTICAL PROPERTIES OF THE MEDIA OF THE ELEMENTS INVOLVED THEREIN; NON-LINEAR OPTICS; FREQUENCY-CHANGING OF LIGHT; OPTICAL LOGIC ELEMENTS; OPTICAL ANALOGUE/DIGITAL CONVERTERS
    • G02F1/00Devices or arrangements for the control of the intensity, colour, phase, polarisation or direction of light arriving from an independent light source, e.g. switching, gating or modulating; Non-linear optics
    • G02F1/01Devices or arrangements for the control of the intensity, colour, phase, polarisation or direction of light arriving from an independent light source, e.g. switching, gating or modulating; Non-linear optics for the control of the intensity, phase, polarisation or colour 
    • G02F1/165Devices or arrangements for the control of the intensity, colour, phase, polarisation or direction of light arriving from an independent light source, e.g. switching, gating or modulating; Non-linear optics for the control of the intensity, phase, polarisation or colour  based on translational movement of particles in a fluid under the influence of an applied field
    • G02F1/1675Constructional details
    • G02F1/16757Microcapsules
    • GPHYSICS
    • G02OPTICS
    • G02FOPTICAL DEVICES OR ARRANGEMENTS FOR THE CONTROL OF LIGHT BY MODIFICATION OF THE OPTICAL PROPERTIES OF THE MEDIA OF THE ELEMENTS INVOLVED THEREIN; NON-LINEAR OPTICS; FREQUENCY-CHANGING OF LIGHT; OPTICAL LOGIC ELEMENTS; OPTICAL ANALOGUE/DIGITAL CONVERTERS
    • G02F2202/00Materials and properties
    • G02F2202/28Adhesive materials or arrangements
    • GPHYSICS
    • G09EDUCATION; CRYPTOGRAPHY; DISPLAY; ADVERTISING; SEALS
    • G09GARRANGEMENTS OR CIRCUITS FOR CONTROL OF INDICATING DEVICES USING STATIC MEANS TO PRESENT VARIABLE INFORMATION
    • G09G2380/00Specific applications
    • G09G2380/04Electronic labels
    • GPHYSICS
    • G09EDUCATION; CRYPTOGRAPHY; DISPLAY; ADVERTISING; SEALS
    • G09GARRANGEMENTS OR CIRCUITS FOR CONTROL OF INDICATING DEVICES USING STATIC MEANS TO PRESENT VARIABLE INFORMATION
    • G09G3/00Control arrangements or circuits, of interest only in connection with visual indicators other than cathode-ray tubes
    • G09G3/20Control arrangements or circuits, of interest only in connection with visual indicators other than cathode-ray tubes for presentation of an assembly of a number of characters, e.g. a page, by composing the assembly by combination of individual elements arranged in a matrix no fixed position being assigned to or needed to be assigned to the individual characters or partial characters
    • G09G3/34Control arrangements or circuits, of interest only in connection with visual indicators other than cathode-ray tubes for presentation of an assembly of a number of characters, e.g. a page, by composing the assembly by combination of individual elements arranged in a matrix no fixed position being assigned to or needed to be assigned to the individual characters or partial characters by control of light from an independent source
    • G09G3/3433Control arrangements or circuits, of interest only in connection with visual indicators other than cathode-ray tubes for presentation of an assembly of a number of characters, e.g. a page, by composing the assembly by combination of individual elements arranged in a matrix no fixed position being assigned to or needed to be assigned to the individual characters or partial characters by control of light from an independent source using light modulating elements actuated by an electric field and being other than liquid crystal devices and electrochromic devices
    • G09G3/344Control arrangements or circuits, of interest only in connection with visual indicators other than cathode-ray tubes for presentation of an assembly of a number of characters, e.g. a page, by composing the assembly by combination of individual elements arranged in a matrix no fixed position being assigned to or needed to be assigned to the individual characters or partial characters by control of light from an independent source using light modulating elements actuated by an electric field and being other than liquid crystal devices and electrochromic devices based on particles moving in a fluid or in a gas, e.g. electrophoretic devices
    • HELECTRICITY
    • H05ELECTRIC TECHNIQUES NOT OTHERWISE PROVIDED FOR
    • H05KPRINTED CIRCUITS; CASINGS OR CONSTRUCTIONAL DETAILS OF ELECTRIC APPARATUS; MANUFACTURE OF ASSEMBLAGES OF ELECTRICAL COMPONENTS
    • H05K1/00Printed circuits
    • H05K1/02Details
    • H05K1/09Use of materials for the conductive, e.g. metallic pattern
    • H05K1/092Dispersed materials, e.g. conductive pastes or inks
    • H05K1/097Inks comprising nanoparticles and specially adapted for being sintered at low temperature
    • HELECTRICITY
    • H05ELECTRIC TECHNIQUES NOT OTHERWISE PROVIDED FOR
    • H05KPRINTED CIRCUITS; CASINGS OR CONSTRUCTIONAL DETAILS OF ELECTRIC APPARATUS; MANUFACTURE OF ASSEMBLAGES OF ELECTRICAL COMPONENTS
    • H05K3/00Apparatus or processes for manufacturing printed circuits
    • H05K3/10Apparatus or processes for manufacturing printed circuits in which conductive material is applied to the insulating support in such a manner as to form the desired conductive pattern
    • H05K3/105Apparatus or processes for manufacturing printed circuits in which conductive material is applied to the insulating support in such a manner as to form the desired conductive pattern by conversion of non-conductive material on or in the support into conductive material, e.g. by using an energy beam
    • HELECTRICITY
    • H05ELECTRIC TECHNIQUES NOT OTHERWISE PROVIDED FOR
    • H05KPRINTED CIRCUITS; CASINGS OR CONSTRUCTIONAL DETAILS OF ELECTRIC APPARATUS; MANUFACTURE OF ASSEMBLAGES OF ELECTRICAL COMPONENTS
    • H05K3/00Apparatus or processes for manufacturing printed circuits
    • H05K3/10Apparatus or processes for manufacturing printed circuits in which conductive material is applied to the insulating support in such a manner as to form the desired conductive pattern
    • H05K3/12Apparatus or processes for manufacturing printed circuits in which conductive material is applied to the insulating support in such a manner as to form the desired conductive pattern using thick film techniques, e.g. printing techniques to apply the conductive material or similar techniques for applying conductive paste or ink patterns
    • H05K3/1241Apparatus or processes for manufacturing printed circuits in which conductive material is applied to the insulating support in such a manner as to form the desired conductive pattern using thick film techniques, e.g. printing techniques to apply the conductive material or similar techniques for applying conductive paste or ink patterns by ink-jet printing or drawing by dispensing
    • HELECTRICITY
    • H10SEMICONDUCTOR DEVICES; ELECTRIC SOLID-STATE DEVICES NOT OTHERWISE PROVIDED FOR
    • H10KORGANIC ELECTRIC SOLID-STATE DEVICES
    • H10K10/00Organic devices specially adapted for rectifying, amplifying, oscillating or switching; Organic capacitors or resistors having potential barriers
    • H10K10/40Organic transistors
    • H10K10/46Field-effect transistors, e.g. organic thin-film transistors [OTFT]
    • HELECTRICITY
    • H10SEMICONDUCTOR DEVICES; ELECTRIC SOLID-STATE DEVICES NOT OTHERWISE PROVIDED FOR
    • H10KORGANIC ELECTRIC SOLID-STATE DEVICES
    • H10K10/00Organic devices specially adapted for rectifying, amplifying, oscillating or switching; Organic capacitors or resistors having potential barriers
    • H10K10/40Organic transistors
    • H10K10/46Field-effect transistors, e.g. organic thin-film transistors [OTFT]
    • H10K10/462Insulated gate field-effect transistors [IGFETs]
    • HELECTRICITY
    • H10SEMICONDUCTOR DEVICES; ELECTRIC SOLID-STATE DEVICES NOT OTHERWISE PROVIDED FOR
    • H10KORGANIC ELECTRIC SOLID-STATE DEVICES
    • H10K85/00Organic materials used in the body or electrodes of devices covered by this subclass
    • H10K85/30Coordination compounds
    • HELECTRICITY
    • H10SEMICONDUCTOR DEVICES; ELECTRIC SOLID-STATE DEVICES NOT OTHERWISE PROVIDED FOR
    • H10KORGANIC ELECTRIC SOLID-STATE DEVICES
    • H10K85/00Organic materials used in the body or electrodes of devices covered by this subclass
    • H10K85/60Organic compounds having low molecular weight

Landscapes

  • Physics & Mathematics (AREA)
  • Engineering & Computer Science (AREA)
  • General Physics & Mathematics (AREA)
  • Theoretical Computer Science (AREA)
  • Chemical & Material Sciences (AREA)
  • Life Sciences & Earth Sciences (AREA)
  • Optics & Photonics (AREA)
  • Nonlinear Science (AREA)
  • Nanotechnology (AREA)
  • Crystallography & Structural Chemistry (AREA)
  • General Engineering & Computer Science (AREA)
  • Human Computer Interaction (AREA)
  • Molecular Biology (AREA)
  • Multimedia (AREA)
  • Mathematical Physics (AREA)
  • Biophysics (AREA)
  • Health & Medical Sciences (AREA)
  • Materials Engineering (AREA)
  • Wood Science & Technology (AREA)
  • Organic Chemistry (AREA)
  • Electrochromic Elements, Electrophoresis, Or Variable Reflection Or Absorption Elements (AREA)
  • Control Of Indicators Other Than Cathode Ray Tubes (AREA)

Description

本発明は、電気泳動ディスプレイ、具体的には、カプセル封じ電気泳動ディスプレイと、そのようなディスプレイを製造するのに有用な材料とに関する。
(発明の背景)
電気泳動ディスプレイは、長年の間、熱心な研究開発の対象である。電気泳動ディスプレイは、液晶ディスプレイと比較すると、優れたブライトネスおよびコントラスト、広い視野角、状態双安定性、および低電力消費、という属性を有する。それにもかかわらず、これらのディスプレイの長期画質に関する問題点が、今日まで、これらのディスプレイが広く使用される妨げとなっている。
カプセル封じ電気泳動ディスプレイの近年の発明は、これらの問題点の多くを解決しており、液晶ディスプレイと比べて追加の利点を提供している。幾つかの追加の利点は、可撓性のあるまたは剛性の様々な基板にディスプレイ材料をプリントまたはコーティングする能力である。従来技術の電気泳動ディスプレイを悩ませ、そして結果としてディスプレイの寿命を不十分にしていたクラスタ形成および沈降の問題点が、今解決される。
本開示の目的は、電気泳動ディスプレイ、特に、カプセル封じ電気泳動ディスプレイと、これらのディスプレイを構成するのに有用であるはずの材料の分類、および幾つかの具体的な材料と、を説明することである。
(発明の要旨)
カプセル封じ電気泳動ディスプレイの成功した構成は、幾つかの異なるタイプの材料およびプロセスの適切な相互作用を必要とする。ポリマー結合剤、カプセル膜、ならびに電気泳動粒子および流体、などの材料はすべて、化学的に相容性でなければならない。カプセル膜は、有用な表面相互作用で、電気泳動粒子を係合してもよく、流体と結合剤との間の不活性な物理的境界としての役割を果たしてもよい。ポリマー結合剤は、カプセル膜と電極表面との間の接着剤として硬化してもよい。
場合によっては、プロセスの別個のカプセル封じ工程は不要である。「ポリマー分散型電気泳動ディスプレイ」と呼ばれ得るものを形成するために、電気泳動流体は、結合剤(または、結合剤材料の前駆物質)に直接分散されても、乳化されてもよい。そのようなディスプレイでは、個々の電気泳動相は、カプセル膜が存在しなくても、カプセルまたはマイクロカプセルと呼ばれ得る。そのようなポリマー分散型電気泳動ディスプレイは、カプセル封じ電気泳動ディスプレイの部分集合であると考えられる。
カプセル封じ電気泳動ディスプレイでは、結合剤材料がカプセルを囲み、そして、境界となる2つの電極を分離する。この結合剤材料は、カプセルおよび境界となる電極と相容性でなければならず、また、容易なプリントまたはコーティングを可能にする特性を有していなければならない。結合剤材料はまた、水、酸素、紫外光、電気泳動流体、およびその他の材料に対するバリア特性を有していてもよい。さらに、結合剤材料は、コーティングまたは耐久性を助け得る、界面活性剤および架橋剤を含んでいてもよい。ポリマー分散型電気泳動ディスプレイは、エマルションまたは相分離型であってもよい。
本発明は、電気泳動ディスプレイ、具体的には、カプセル封じ電気泳動ディスプレイと、そのようなディスプレイにおいて使用される材料と、を提供する。カプセルは、球形であっても非球形であってもよい。電気泳動ディスプレイでは、電界の付与により、粒子の少なくとも幾つかが移動または回転する。電界は、交流電界であっても、直流電界であってもよい。電界は、粒子を含む結合剤材料に隣接して配置される少なくとも1つの電極対により作り出され得る。粒子は、例えば、吸収性顔料であっても、散乱性顔料であっても、ルミネセント粒子であってもよい。粒子は、染料、顔料、ポリマーの何らかの組み合わせから構成されてもよい。
そのようなディスプレイはまた、例えば、光を逆反射または実質的に逆反射する1つのタイプの粒子と、光を吸収する別のタイプとを含んでいてもよい。電界の付与により、カプセル封じディスプレイの粒子は、カプセルが光を逆反射または実質的に逆反射するように配向し得る。別の電界の付与により、粒子は、カプセルが光を吸収するまたは逆反射しないように配向し得る。ディスプレイはまた、逆反射性基板を含んでいてもよく、その場合、1つのタイプの粒子が特定のパターンに配向すると、光がカプセルを通過して基板に到達し、基板が光を反射する。第2のタイプの粒子が特定のパターンに配向すると、カプセルは、光を吸収するか、または、そうでなければ逆反射しない。逆反射性または反射性基板を構成する際にそれぞれ使用され得る逆反射性または反射性材料のタイプは、ガラス球および回折反射層を含む。
別のタイプのディスプレイは、異なる色の粒子を有する。そのようなディスプレイは、少なくとも2つ、好ましくは少なくとも3つの、異なる粒子種を有し、粒子の各タイプが、異なる電気泳動移動度を有する。異なる電気泳動移動度は、実質的に重ならない電気泳動移動度を有する粒子を提供し、そのため、異なる電界を付与すると、カプセルの表面に、着色粒子の異なる部分集合が見える。
別のタイプのディスプレイは、ルミネセント粒子と、光吸収性粒子または染料を含み得る可視光遮断媒体と、を含む。異なる電界を付与すると、粒子が、カプセルの前面(眼には、明るいピクセルが見える)または裏面(流体は、放射を吸収する)で選択的または均一にルミネセンスを示し得る。異なる電界を付与すると、ルミネセント粒子または光遮断粒子のいずれかがカプセル表面まで上昇し得、その結果、それぞれカプセルに明るいまたは暗い見かけを与える。
別のタイプの電気泳動ディスプレイでは、粒子自体が、カプセル封じされた顔料、染料、顔料分散物、染料溶液、および、これらのいずれかの組み合わせであってもよい。これらの粒子は、懸濁流体に分散され、次いで、結合剤中のカプセルにカプセル封じされる。粒子は、懸濁流体内に分散されてもよく、各粒子が、複数の固体粒子、または染料、またはその両方を含んでいてもよい。懸濁流体は、単一の流体であっても、2つ以上の流体の混合物であってもよい。1つの実施形態では、粒子は、約10nmと約5μmとの間の直径を有していてもよく、カプセルは、約5μmと約200μmとの間の直径を有していてもよい。別の実施形態では、粒子は、可撓性のある外面を有していてもよく、染料または染料溶液を囲むポリマー層であってもよい。
このシステムの利点は、吸光度、光学特性、電荷、移動度、形状、サイズ、密度、界面化学、安定性、および処理性のより優れた制御で、改良された粒子を作製するために、公知の乳化またはカプセル封じ技術を使用できることである。このシステムの光学特性の高い制御レベルを得るために使用することができるすべての極性の染料および/または粒子および液体の数は膨大である。顔料では達成困難な特性を得るために、染料および/または粒子を含むカプセルである粒子を作り出すことが可能である。本発明は、これらのカプ
セル封じ電気泳動ディスプレイと、染料、顔料、結合剤などの、これらのディスプレイを構成するのに有用であり得る材料と、に関する。
カプセル封じ電気泳動ディスプレイは、2つ以上の異なるタイプの粒子を含んでいてもよい。そのようなディスプレイは、例えば、懸濁流体中に複数の異方性粒子と複数の第2の粒子とを含むディスプレイを含み得る。第1の電界の付与により、異方性粒子が特定の配向になり得、そして光学特性を与え得る。次いで、第2の電界の付与により、複数の第2の粒子が平行移動し得、それにより異方性粒子の配向を乱し得るとともに、光学特性を乱し得る。あるいは、異方性粒子の配向は、複数の第2の粒子のより容易な平行移動を可能にし得る。粒子は、懸濁流体の屈折率と実質的に一致する屈折率を有していてもよい。
最後に、カプセル封じディスプレイは、電気浸透ディスプレイを含み得る。そのようなディスプレイは、屈折率が一致した流体であって、電界を付与するとカプセル内を移動して均質なカプセルを作り出す流体を含むカプセルを含み得る。このカプセルはまた、カプセル内の屈折率が一致した流体が移動すると膨潤する、アルキルセルロースなどの多孔性内部材料を含んでいてもよい。電気浸透ディスプレイはまた、電界を付与するとカプセル内を移動して異なる光学特性を作り出す、2つ以上の非混和性流体を含んでいてもよい。平面指標不一致または非平面指標不一致の結果、光学的影響が生じ得る。
電気泳動ディスプレイの作成に使用される材料は、ディスプレイの製造に使用される粒子、染料、懸濁流体および結合剤、などの材料のタイプに関するが、これらに限定されない。1つの実施形態では、懸濁粒子ディスプレイの製造に使用され得る粒子のタイプには、散乱性顔料、吸収性顔料、およびルミネセント粒子、などがある。そのような粒子は、透明であってもよい。好適な粒子には、チタニアがあり、例えば酸化アルミニウムまたは酸化シリコンなどの金属酸化物で、1層または2層にコーティングされ得る。そのような粒子はまた、逆反射性であってもよく、反射性コーティングを有していてもよい。そのような粒子は、コーナーキューブとして構成されてもよい。ルミネセント粒子は、例えば、硫化亜鉛粒子を含み得る。硫化亜鉛粒子はまた、導電性を低減するために、絶縁コーティングでカプセル封じされてもよい。光遮断または吸収粒子は、例えば、染料または顔料を含み得る。
懸濁(即ち、電気泳動)流体は、高抵抗性流体であってもよい。懸濁流体は、単一の流体であってもよく、2つ以上の流体の混合物であってもよい。懸濁流体は、単一の流体であっても流体の混合物であっても、カプセル内の粒子の密度と実質的に一致した密度を有し得る。懸濁流体は、例えばテトラクロロエチレンなどのハロゲン化炭化水素であってもよい。ハロゲン化炭化水素はまた、低分子量ポリマーであってもよい。1つのそのような低分子量ポリマーは、ポリ(クロロトリフルオロエチレン)である。このポリマーの重合度は、約2から約10であってもよい。
電気泳動ディスプレイで使用される染料のタイプは、当該分野においてよく知られている。これらの染料は、懸濁流体に可溶であってもよい。これらの染料はさらに、ポリマー鎖の部分であってもよい。染料は、熱拡散、光化学拡散および化学拡散プロセスにより重合され得る。単一の染料が使用されても、染料の混合物が使用されてもよい。
さらに、カプセルは、結合剤中に形成されても、後で結合剤中に分散されてもよい。結合剤として使用される材料には、水溶性ポリマー、水分散ポリマー、油溶性ポリマー、熱硬化性ポリマー、熱可塑性ポリマー、およびuvまたは放射硬化ポリマー、などがある。
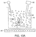
カプセル封じされた光散乱粒子の概略図である。 懸濁流体中に粒子を含むカプセルであって、カプセルに隣接して電極対が配置されたカプセルを示す。 懸濁流体中に光吸収粒子を含むカプセルであって、カプセルの底面に反射性または逆反射性基板が配置されたカプセルの図である。光がカプセルを通過して基板により反射され得るように粒子が電極対の一方に向かって移動する状態が示される。 粒子が移動して光が基板に到達するのを阻止し、それにより光が基板により反射されるのを防ぐ、図3のカプセルを示す。 光吸収粒子および逆反射粒子を含むカプセルを示す。 底面にある反射コーナーキューブと、粒子とを含むカプセルを示す。この図では、粒子は、光がカプセルを通過できコーナーキューブにより反射されることができるように配置される。 底面にある反射コーナーキューブと、粒子とを含むカプセルを示す。この図では、粒子は、光がカプセルを通過できコーナーキューブにより反射されることができるように配置される。 底面にある反射コーナーキューブと、粒子とを含むマイクロカプセルを示す。この図では、粒子は、光がカプセルを通過できずコーナーキューブにより反射されることができないように配置される。 カプセルがどのように光を反射し得るかを示す。 カプセル内に含まれる粒子が、光がカプセルに入射して反射されることを可能にするように配置される、図7のカプセルを示す。 カプセル内に含まれる粒子が、カプセルに入射する光が反射されるのを防ぐように配置される、図7のカプセルを示す。 ルミネセント粒子および光吸収粒子を含むカプセルを示す。この図では、ルミネセント粒子がカプセルの上面に向かって配置され、それにより光を提供する。 光吸収粒子がカプセルの上面に向かって配置され、それにより光がカプセルから出ていくのを阻止する、図9のカプセルを示す。 反射性基板と、2つの電極とに隣接して配置されるカプセルを示し、カプセル内の粒子は、光がカプセルを通過して基板により反射されることを可能にするように整列される。 反射性基板と、2つの電極とに隣接して配置される、結合剤中の2つのカプセルを示し、カプセル内の粒子は、光がカプセルを通過して基板により反射されることを可能にするように整列される。 反射性基板と、2つの電極とに隣接して配置されるカプセルを示し、カプセル内の粒子は、光がカプセルを通過するのを防いで基板により反射されることを防ぐように整列される。 エマルションベースのカプセル封じを行うための装置の図である。 白および黒の粒子が分散された懸濁流体の油滴の図である。 白いミクロ粒子と、電荷制御剤とが分散された、暗い色に染色された懸濁流体の油滴の図である。
以下の図面、説明、および前掲の請求の範囲を考慮すれば、本発明がさらに理解される。
(発明の詳細な説明)
図中、同じ参照符号は、対応する部分を表す。
本発明は、改良されたカプセル封じ電気泳動ディスプレイと、これらのディスプレイを構成するのに有用な材料と、に関する。概して、カプセル封じ電気泳動ディスプレイは、光を吸収または散乱する1つ以上の粒子種を含む。1つの実施例は、カプセルが、染色さ
れた懸濁流体に分散された電気泳動的に移動する粒子の1つ以上の種を含むシステムである。別の実施例は、カプセルが、透明な懸濁流体中に懸濁された2つの別個の粒子種を含み、一方の粒子種が光を吸収し(黒)、他方の粒子種が光を散乱する(白)システムである。その他の拡張例もある(2つよりも多い粒子種、染料を使用するまたは使用しない、など)。粒子は通常、固体顔料、染色された粒子、または、顔料/ポリマー複合体である。
本発明の電気泳動ディスプレイが、以下に説明される。これらのディスプレイは、好ましくは、マイクロカプセル封じ電気泳動ディスプレイである。そのようなディスプレイに有用であり得る材料もまた、以下に説明される。
I.電気泳動ディスプレイ
本発明の目的は、容易に製造でき、電力をほとんど消費せず(または、双安定ディスプレイの場合は、全く消費せず)、従って様々な応用に組み込むことができる、非常に柔軟性のある反射型ディスプレイを提供することである。本発明は、カプセル封じ電気泳動ディスプレイ媒体を含むプリント可能なディスプレイを特徴とする。結果として得られるディスプレイは、柔軟性がある。ディスプレイ媒体をプリントすることができるため、ディスプレイ自体を、安価に作製することができる。
カプセル封じ電気泳動ディスプレイは、ディスプレイの光学状態が幾らかの時間の間安定するように構成することができる。ディスプレイが、この態様で安定する2つの状態を有する場合、ディスプレイは、双安定であると言われる。ディスプレイの2つよりも多い状態が安定する場合、ディスプレイは、多安定であると言われる。本発明の目的のためには、双安定という用語は、一旦アドレッシング電圧が除去されるといかなる光学状態も固定されたままであるディスプレイを示すために用いられる。双安定状態の定義は、ディスプレイの応用によって変わる。ゆっくりと減衰する光学状態は、その光学状態が、必要とされるビュー時間にわたって実質的に変化しない場合には、効果的に双安定であり得る。例えば、数分おきに更新されるディスプレイでは、数時間または数日間の間安定する表示画像は、その応用に関して効果的に双安定である。本発明では、双安定という用語はまた、対象の応用に関して効果的に双安定になるように十分に長く続く光学状態を有するディスプレイを示す。あるいは、一旦ディスプレイへのアドレッシング電圧が除去されると画像がすぐに減衰するカプセル封じ電気泳動ディスプレイを構成することも可能である(即ち、ディスプレイは、双安定または多安定ではない)。以下に説明されるように、幾つかの応用では、双安定でないカプセル封じ電気泳動ディスプレイを使用することが有利である。カプセル封じ電気泳動ディスプレイが双安定であるかどうかと、カプセル封じ電気泳動ディスプレイの双安定度とは、電気泳動粒子、懸濁流体、カプセル、および結合剤材料の、適切な化学変性により制御することができる。
カプセル封じ電気泳動ディスプレイは、多くの形をとり得る。ディスプレイは、結合剤に分散されたカプセルを含んでいてもよい。カプセルは、いかなるサイズまたは形状であってもよい。カプセルは、例えば、球状であってもよく、ミリメートル範囲またはミクロン範囲の直径を有していてもよいが、好ましくは、10ミクロンから数百ミクロンである。以下に説明されるように、カプセルは、カプセル封じ技術によって形成されてもよい。粒子は、カプセルにカプセル封じされてもよい。粒子は、2つ以上の異なる粒子タイプであってもよい。粒子は、例えば、着色されていても、ルミネセントであっても、光吸収性であっても、透明であってもよい。粒子は、例えば、ニート顔料、染色(レーキ)顔料、または顔料/ポリマー複合体を含み得る。ディスプレイは、粒子が分散される懸濁流体をさらに含んでいてもよい。
電気泳動ディスプレイでは、カプセルに電界を与えることにより、粒子が配向または平
行移動され得る。電界は、交流電界または直流電界を含み得る。電界は、カプセルを含むディスプレイに隣接して配置される少なくとも1つの電極対により提供されてもよい。
明細書全体を通して、プリントまたはプリントされるという用語に言及する。明細書全体を通して使用されるプリントという用語は、パッチダイコーティング、スロットまたは押し出しコーティング、スライドまたはカスケードコーティング、およびカーテンコーティング、などの予め計量されたコーティング;ナイフオーバーロールコーティング、前方向または逆方向ロールコーティング、などのロールコーティング;グラビアコーティング;浸漬コーティング;スプレーコーティング;メニスカスコーティング;スピンコーティング;刷毛塗り;エアナイフコーティング;シルクスクリーンプリントプロセス;静電プリントプロセス;熱プリントプロセス;ならびに、その他の同様の技術、などの、プリントおよびコーティングのすべての形態を含むことが意図される。「プリントエレメント」は、上記技術のいずれかを用いて形成されたエレメントを指す。
図1は、本発明の電気泳動ディスプレイを示す。結合剤11は、少なくとも1つのカプセル13を含み、カプセル13は、複数の粒子15と、染色された懸濁流体17とで満たされる。1つの実施形態では、粒子15は、チタニア粒子である。適切な極性の直流電界がカプセル13に付与されると、粒子15は、ディスプレイのビュー面に移動し、そして光を散乱する。付与電界が反転されると、粒子15は、ディスプレイのリア面に移動する。そしてこのとき、ディスプレイのビュー面は暗く見える。
図2は、本発明の電気泳動ディスプレイを示す。このディスプレイは、カプセル14内に、異方性粒子10と、粒子の第2の組12とを含む。カプセルは、カプセルに隣接して配置される電極16および16’を有する。電極は、電圧源18に接続される。電圧源18は、カプセル14に交流(AC)電界または直流(DC)電界を提供し得る。このディスプレイでは、AC電界により、異方性粒子10は、光がカプセルを通過することを可能にするように配向される。ブラウン運動は通常、粒子を等方状態にゆっくりと回復する。しかし、このディスプレイでは、屈折率が一致した透明な粒子の第2の組12を用いて、内部の乱れを提供するとともに、異方性粒子の配向を乱す。はるかに低い周波数で切り換えられるDC電界を付与することにより、粒子の第2の組が平行移動し、そして、配向されたいかなる異方性粒子をも乱す。これにより、ディスプレイは、はるかに素早くその散乱状態にリセットする。異方性粒子の配向が乱れると、ディスプレイセルは暗く見える。この機構は、カプセル封じ液体セル、ポリマー分散型液体セル、または通常の液体セルにおいて機能する。
本発明の別の実施形態では、逆反射表面を使用する電気泳動ディスプレイが説明される。この実現は、カプセル封じされる必要はなく、標準の電気泳動ディスプレイの形態で実施され得る。図3および図4は、そのようなディスプレイを示す。
図3では、カプセル20は、懸濁流体と、粒子22とで満たされる。懸濁流体は、高抵抗性の流体であってもよい。電界の付与により粒子が電極24の方に引きつけられると、粒子は、ディスプレイのビュー可能面積のわずかな部分を占める。これにより透明電極26が露出され、光が表面28から反射されることが可能になる。この表面は、ガラス球、例えばホログラフィーで形成された反射体などの回折反射層、その他の任意の公知の逆反射面、または、粒子と対照をなすその他の任意の表面、からなっていてもよい。このとき、カプセルは、一見、基板28のように見える。
図4には、カプセルの第2の状態が示される。カプセル20内に含まれる粒子22は、電界の付与により、電極26の方に移動する。従って、これらの粒子は、表面28を覆い隠し、そしてこのときカプセルを上から見ると、カプセルは、粒子の特性を有しているよ
うに見える。
図5は、本発明の別の実施形態を示す。本実施形態では、帯電粒子を操作して逆反射光路を遮断するかまたは逆反射面を作り出すことにより、反射型ディスプレイが、選択的に逆反射性にされ得る。本実施形態では、カプセル30は、逆反射性粒子32と、黒い粒子34とを含む。逆反射性粒子は、例えば、逆反射コーナーキューブ、または、半球状に反射性コーティングされた粒子を含み得る。電極36と36’との間に適切な電圧を印加すると、黒い粒子34は、ディスプレイのビュー面に移動して暗状態を作り出し得る。異なる電界の付与により、逆反射性粒子がディスプレイの上面に移動し得る場合、これらの逆反射性粒子は逆反射面を作り出し、その結果、明状態が得られる。
別の実施形態では、選択的に逆反射性にされ得るディスプレイが説明される。概して、このディスプレイは、帯電粒子を操作して逆反射光路を遮断するかまたは逆反射面を作り出すことにより機能する。粒子は、カプセル内で(例えば電気泳動的に)移動する。図6A〜図6Cは、企図された構成を示す。
カプセルは、エンボシングまたはその他の手段により作り出され得る2次元または3次元コーナーキューブ型構造に配置される。図6Aおよび図6Bに示されるような2つの状態では、粒子38は、光40が通過してコーナーキューブ42により反射されることを可能にする。しかし、図6Cに示されるように、第3の状態では、粒子38は、ほとんどの入射光40がコーナーキューブ42により逆反射されるのを阻止する。
図7に示される別の実施形態では、単一のカプセルが、ガラスビーズとほとんど同じように逆反射体としての役割を果たす。臨界距離yよりも大きい距離だけ中心から離れた垂直変位で入射側44に入る光だけが、全内反射されるのに十分に大きい角度で全内反射(TIR)側46に当たる。この光は、TIR側の中心付近に当たる。従って、入射側44では、逆反射効果は、中心軸から離れる方向に起こる。しかし、TIR側46では、ほとんどの逆反射作用は、垂直方向の中心で起こる。
従って、逆反射状態および非逆反射状態が図8Aおよび図8Bに示されるような状態である、電子的にアドレッシング可能な逆反射型ディスプレイを構成することができる。図8Aでは、粒子43は、カプセル45の前面の方に示される。この構成は、光がカプセルのTIR側に入り且つこのTIR側から出ていくことを可能にする。図8Bでは、粒子43は、カプセル45の底面の方に示される。この構成では、粒子は光路を遮断し、そしてそれにより、光がカプセルのTIR側から反射されるのを防ぐ。
つまり、逆反射状態から非逆反射状態に切り換えるために、外部の物理的反射体を用いてまたは用いずに、結合剤中のカプセルまたはカプセルキャビティ内で粒子を再配列することができるいかなる構成も企図される。
本発明の別の実施形態では、マルチカラーカプセル封じ電気泳動ディスプレイが企図される。本実施形態では、カプセルを含み得るディスプレイは、少なくとも1つの懸濁流体と、少なくとも2つ、好ましくは3つの粒子種とで満たされる。これらの粒子は異なる色であり、そして、実質的に重ならない電気泳動移動度を有する。本明細書において使用される「実質的に重ならない電気泳動移動度」という表現は、異なる色の粒子の25%未満、好ましくは5%未満が、同じまたは同様の電気泳動移動度を有することを意味する。例として、2つの粒子種を有するシステムでは、一方の種の粒子の25%未満が、他方の種の粒子と同じまたは同様の電気泳動移動度を有する。最後に、別の実施形態では、色の1つは、懸濁流体に分散された染料により表されてもよい。
マルチカラーカプセル封じ電気泳動ディスプレイの例として、100mVの平均ゼータ電位を有するマゼンタ粒子と、60mVの平均ゼータ電位を有するシアン粒子と、20mVの平均ゼータ電位を有する黄色粒子とがあってもよい。このディスプレイをマゼンタ状態にアドレッシングする場合、1方向に電界を付与することにより、すべての粒子をセルの裏面に引き寄せる。その後、マゼンタ粒子がディスプレイセルの上面に移動するのにちょうど十分な時間の間、電界を反転させる。シアンおよび黄色粒子もまた、この反転電界中で移動するが、これらの粒子はマゼンタ粒子ほど速く移動しないため、マゼンタ粒子により覆い隠される。
ディスプレイをシアン状態にアドレッシングする場合、1方向に電界を付与することにより、すべての粒子をセルの裏面に引き寄せる。次いで、マゼンタおよびシアン粒子がディスプレイセルの上面に移動するのにちょうど十分な時間の間、電界を反転させる。次いで、電界を再び反転させると、シアン粒子よりも速く移動するマゼンタ粒子が、シアン粒子を、ディスプレイの上部で露出させる。
最後に、黄色のディスプレイを達成する場合、すべての粒子をディスプレイの前面に引き寄せる。次いで、電界を反転させると、マゼンタおよびシアン粒子に遅れをとる黄色粒子が、ディスプレイの前面で露出される。
電界効果ルミネセンスを用いたディスプレイもまた、本発明の実施形態である。本発明の電界効果ルミネセンス実施形態の実施例は、約300〜400HzのAC電圧を必要とする。しかし、この高周波数は、ルミネセント粒子のいかなる正味の変位も引き起こさない。ルミネセント粒子は概して導電性である。従って、ポリマーまたはその他の誘電材料におけるカプセル封じが、導電性を低減するために有用である。
図9および図10は、この実施形態のディスプレイセル48の白色状態および暗状態をそれぞれ示す。ルミネセント粒子50は、例えば、AC電界により励起されると発光する硫化亜鉛粒子であってもよい。AC電界は、粒子または染料をアドレッシングするために用いられるDC電界の上に重畳されてもよく、DC電界の後で重畳されてもよい。流体中の第2の粒子種52は、ディスプレイが暗状態にアドレッシングされると、粒子から放出される光を遮断する。
2つの電極53によりDC電界が付与されると、ルミネセント粒子50は、ディスプレイ48のビュー面に移動し、そして励起されて発光し、その結果、明状態が得られる。逆極性の電界が付与されると、ルミネセント粒子50は、ディスプレイ48の裏面に移動し、そして光遮断粒子52は、ルミネセント粒子50から放出される光がディスプレイのビュー面から出ていくのを阻止し、その結果、暗状態が得られる。ルミネセント粒子は、光ルミネセントであってもエレクトロルミネセントであってもよい。光ルミネセント粒子は、連続的な紫外により励起されてもよく、そうでなければ、ディスプレイの前面からの放射により励起されてもよく、または、照明源がディスプレイの後ろにあってもよい。後者の場合、染料または第2の粒子種は、紫外放射がディスプレイを通過することを可能にする。
本発明の別の実施形態では、電気泳動ディスプレイは、結合剤中のカプセルを含み、カプセルは、複数の粒子を含み、これらの粒子自体が、カプセル封じされた顔料、染料、分散物、または染料溶液である。本実施形態では、例えば顔料が、カプセル封じされ、数十ナノメートルから数マイクロメートルの範囲の粒子を形成し、次いで、これらの粒子が分散され、そしてカプセル封じされる。例としては、散乱性顔料、吸収性顔料、またはルミネセント粒子がある。次いで、これらの粒子が、電気泳動粒子として使用される。さらに、本発明のこの実施形態では、染料溶液をカプセル封じし、そしてそれを電気泳動粒子と
して使用することが可能である。
さらに、この実施形態では、流体染料または粒子をカプセル封じするだけでなく、流体染料と固体粒子とをカプセル封じすることが可能である。これらの粒子は、粒子自体の光学または電気特性を有し、これらの特性が、染料の特性を補足し得る。
これらのカプセル封じ粒子は、カプセル封じ電気泳動ディスプレイおよび非カプセル封じ電気泳動ディスプレイの両方に有用であり得る。粒子の平均径は、約10nmから約5μmの範囲である。これらのカプセルは、より大きいカプセル内で移動するのに十分に小さくなければならず、典型的には、約5μmから約400μmの範囲の直径のサイズを有する。
本発明の別の実施形態では、カプセル封じ電気浸透ディスプレイが説明される。この実施形態では、カプセルの多孔性またはゲル状内部相は、屈折率が一致した流体(即ち、流体の屈折率と内部相の屈折率との差が、好ましくは0.5以内である)の、電気浸透により引き起こされた動きにより膨潤し(即ち、充填され)、そして排出される。材料の孔が流体で満たされると、カプセルは、均質な光学材料としての役割を果たし、それにより、媒体のバルク特性に従って光を主として透過または反射する。しかし、移動する流体により孔が空になると、大量の光学指標不一致が存在し、そして光散乱が大きく増加する。
カプセルの多孔性内部相は、アルキルセルロースなどのセルロース材料を含み得る。アルキルセルロースの例には、メチルセルロース、メチルヒドロキシエチルセルロース、ヒドロキシエチルセルロース、ヒドロキシプロピルメチルセルロース、カルボキシメチルセルロース、およびナトリウムカルボキシメチルセルロースがあるが、これらに限定されない。
本発明のその他の実施形態では、電気泳動ディスプレイのカプセルは、非球形を有することが好ましい。カプセル材料による吸収または散乱と、結合剤の吸収または散乱とのため、非カプセル封じディスプレイと比較して、カプセル封じ電気泳動ディスプレイに関連する幾らかの光損失がある。これらの損失の多くは、球状キャビティから生じる。従って、非球状マイクロカプセル、具体的には、非球状キャビティの密に詰まったアレイを提供することが有利である。マイクロカプセルの頂部が、ビュー電極および垂直またはほぼ垂直の壁と同一平面上にある平坦面を有することが望ましい。カプセルは、例えば、わずかに平坦にされた球であってもよく、本質的に円筒形の非常に平坦にされた球であってもよく、多面の多面体であってもよい。
非球状カプセルを有するディスプレイは、油を含む非球形のキャビティを有する結合剤を含んでいてもよい。これらの油を含むキャビティは、エラストマーカプセルであってもよい。好適な実施形態では、これらのキャビティのアスペクト比(即ち、高さに対する幅の比)は、好ましくは、約1.2よりも大きい。アスペクト比は、より好ましくは、約1.5よりも大きく、特に好適な実施形態では、アスペクト比は、約1.75よりも大きい。好適な実施形態では、非球状カプセルを有するディスプレイは、約0と約0.9との間の結合剤の体積分率(即ち、合計体積の部分)を有する。より好ましくは、容積分率は、約0.05と約0.2との間である。
このタイプのディスプレイは、リア面と、ビュー面との両方を有する。好適な実施形態では、ビュー面は、実質的に平面である。本明細書において使用される「実質的に平面」という表現は、約2.0m未満の曲率(即ち、曲率半径の逆数)を意味する。特に好適な実施形態では、リア面およびビュー面の両方が、実質的に平面である。さらに、そのようなディスプレイの実施形態は、好ましくは、約80%を上回る光学的に活性な部分(即ち
、光学特性を変えることができる総表面積のパーセンテージ)を有し、より好ましくは、約90%を上回る光学的に活性な部分を有する。
非球状マイクロカプセルは、例えば不均一な剪断場または圧縮圧を用いることにより、カプセル封じ相の間に形成されてもよい。そのような非球状カプセルはまた、結合剤が乾燥または硬化しているときに、ディスプレイの処理中に形成されてもよい。そのようなシステムでは、結合剤が収縮すると、結合剤が、カプセルを互いに近づけるとともに、カプセルがコーティングされている基板に向かって、カプセルを下方向に引き寄せる。例えば、水性蒸発性結合剤、例えば、水性アクリル、ウレタン、またはポリ(ビニルアルコール)などは、そのような収縮特性を示す傾向がある。その他のいかなる蒸発性結合剤、エマルション、または溶液もまた、適切である。溶媒は水でなくてもよく、有機液体であっても、液体の組み合わせであってもよい。
そのような非球状カプセルは、膜が乾燥または硬化しているときに膜に力を付与して、カプセルを永久的に変形することにより、形成することができる。そのような力は、ローラ対、真空ラミネーションプレス、機械プレス、または、その他の任意の適切な手段によって付与され得る。そのような非球状カプセルはまた、硬化膜を膜の平面軸の一方または両方に引き伸ばすことにより形成されてもよい。硬化プロセスの終了後、カプセルは、硬化膜の表面の上に突出することが可能であり、その結果、カプセルの光学特性を高めるレンズ効果が得られる。最後に、カプセルはまた、結合剤中で柔らかくなる材料からなっていてもよく、これにより、カプセルと結合剤とを置いて結合剤を硬化させる場合、平坦にされたカプセルが可能になる。
別の実施形態では、ポリマー分散型電気泳動ディスプレイが、ポリマー分散型液晶ディスプレイと同様の態様で構成される。結合剤が乾燥または硬化するにしたがって、カプセル封じされた相が、非球状キャビティ内に引き込まれる。
電気泳動ディスプレイは、カプセル封じ電気泳動ディスプレイまたはポリマー分散型電気泳動ディスプレイ(ポリマー分散型液晶ディスプレイと同様の構成)のいずれかとして構成され、そして、カプセルまたは液滴は、平坦化、結合剤の収縮、または機械的力により、非球状に形成される。各々の場合、カプセルは、変形できなければならず、そうでなければ、カプセルが破裂してしまう可能性がある。ポリマー分散型電気泳動ディスプレイの場合、カプセル封じされた相は、ポリマーが収縮するにしたがって形を変える。さらに、カプセル封じされた相は、基板を引き伸ばすことにより、非対称に変形されてもよい。使用され得る別の技術は、まず、上に固い皮が形成されるように結合剤を乾燥させることである。次いで、結合剤の残りは、上面が破れるまたは過度に不均一になる心配なく、ゆっくりと乾燥され得る。
電気泳動ディスプレイに隣接する電極は、例えばポリアニリンなどの導電ポリマーを含み得る。これらの材料は可溶性であってもよく、これらの材料を例えばウェブコーティングによりコーティングされることを可能にする。
カプセル封じ電気泳動ディスプレイ(または他のディスプレイ)をアドレッシングするための手段もまた、説明される。図11を参照して、電極66および66’は、ディスプレイの一方側にある。これらの電極は、ディスプレイの上で走査されるヘッド(「スタイラス」)の部分であってもよい。カプセルは、1電極対あたり1個より多くても、1個未満であっても、ちょうど1個であってもよい。ピクセルにDC電界を付与すると、粒子が一方側に移動し、そしてその下の基板68(例えば、鏡、逆反射コーティング、拡散反射コーティングなど)が露出される。AC電界の影響下では、粒子70は、空間全体にわたって分布され得、そして主として暗いピクセルの見かけを引き起こし得る。電極自体は、
透明であっても不透明であってもよい。
図12Aおよび図12Bを参照して、同様の構造が説明される。ただし、電極72および72’は、サイズが異なる(例えば、2を上回るファクタ)。電界極性を変えることにより、粒子が移動して、いずれかの電極をマスクする。一方の場合(図12A)、粒子は、わずかな面積を覆い、そしてピクセルは、主として反射性である。他方の場合(図12B)、粒子74’は、大きい面積を覆い、そしてピクセルは、主として吸収性である。材料は、逆にされてもよい。例えば、粒子が反射性で裏当て材が吸収性であってもよい。材料上の電極位置の1つを覆うマスクがあってもよい。
このディスプレイアドレッシング法は、取り付け具に永久的に取り付けられるかまたは手で持たれる静電ヘッドを用いる書き込みを含む。この方法はまた、カプセル封じ磁気泳動材料に適用されてもよい。この方法はまた、ポリマー安定化液晶技術に適用されてもよく、例えば光配向層上のネマチックなど、いかなるタイプの双安定液晶材料に適用されてもよい。この方法はまた、懸濁粒子ディスプレイに適用されてもよい。
再び図11および図12の両方を参照して、いずれの実施形態においても、裏面電極は、反射性ではなく、透過性、半透明、またはそうでなければ透明の裏当て材として設けられてもよい。これらの実施形態では、上記のように、DC電界により、暗い(吸収性)粒子が一方の電極を覆い得、そして、ピクセルは、主として透過性である。これらの実施形態は、ディスプレイが光の「シャッター」となるように使用されることを可能にする。例えば、説明されたカプセルを含むディスプレイは、ディスプレイに存在するすべてのピクセルが主として透明になるようにアドレッシングされ得る。この場合、ディスプレイは、ウィンドウまたは透明な装置としての役割を果たす。あるいは、カプセルの部分がアドレッシングされる場合、ディスプレイは部分的に透過性である。AC電界を用いてすべてのカプセルがアドレッシングされる場合、ディスプレイは、不透明または反射性のいずれかである。
II.電気泳動ディスプレイに使用される材料
上記のカプセル封じ電気泳動ディスプレイを構成するための有用な材料が、以下に説明される。これらの材料の多くは、従来の電気泳動ディスプレイを構成する当業者、または、マイクロカプセル封じの当業者に公知である。これらの材料およびプロセスの組み合わせは、カプセル封じ電気泳動ディスプレイに見られるその他の必要な構成要素とともに、以下に説明される本発明を構成する。
A.粒子
上記のように、電気泳動ディスプレイにおいて使用される粒子の選択には、非常に柔軟性がある。本発明の目的のためには、粒子は、帯電されるまたは電荷を獲得することができる(即ち、電気泳動移動度を有するまたは獲得することができる)任意の成分であり、また場合によっては、この移動度は、ゼロまたはゼロに近くてもよい(即ち、粒子は移動しない)。粒子は、ニート顔料、染色(レーキ)顔料、または顔料/ポリマー複合体であってもよく、帯電されるまたは電荷を獲得することができるその他のいかなる成分であってもよい。電気泳動粒子に関する典型的な考慮事項は、粒子の光学特性、電気特性、および界面化学である。粒子は、有機または無機化合物であってもよく、また粒子は、光を吸収しても光を散乱してもよい。本発明において使用される粒子は、散乱性顔料、吸収性顔料、およびルミネセント粒子をさらに含み得る。粒子は、コーナーキューブなど、逆反射性であってもよく、AC電界により励起されると発光する硫化亜鉛粒子など、エレクトロルミネセントであってもよく、光ルミネセントであってもよい。最後に、粒子は、充電剤との相互作用または帯電を向上するように、または、分散性を向上するように、表面処理されてもよい。
本発明の電気泳動ディスプレイにおいて使用される好適な粒子は、チタニアである。チタニア粒子は、例えば酸化アルミニウムまたは酸化シリコンなどの、金属酸化物でコーティングされてもよい。チタニア粒子は、金属酸化物コーティングの1つ、2つまたはそれ以上の層を有し得る。例えば、本発明の電気泳動ディスプレイにおいて使用されるチタニア粒子は、酸化アルミニウムのコーティングと、酸化シリコンのコーティングとを有していてもよい。これらのコーティングは、いかなる順序で粒子に付加されてもよい。
電気泳動粒子は通常、顔料、ポリマー、レーキ顔料、または上記の何らかの組み合わせである。ニート顔料は、いかなる顔料であってもよく、明るい色の粒子の場合は通常、例えばルチル(チタニア)、アナターゼ(チタニア)、硫酸バリウム、カオリン、または酸化亜鉛、などの顔料が有用である。典型的な粒子の中には、高屈折率、高散乱係数、および低吸収係数を有するものもある。塗料およびインクに使用される着色顔料またはカーボンブラックなど、吸収性である粒子もある。顔料はまた、懸濁流体に不溶性でなければならない。ジアリールイドイエロー、ハンザ(hansa)イエロー、およびベンジジンイエロー、などの黄色顔料もまた、同様のディスプレイにおける用途を見いだしている。明るい色の粒子には、金属粒子などの非顔料材料を含む、その他のいかなる反射性材料が使用されてもよい。
有用なニート顔料には以下のものがあるが、これらに限定されない。PbCr4、シア
ンブルーGT 55−3295(American Cyanamid Company、Wayne、NJ)、シバクロンブラックBG(Ciba Company,Inc.、Newport、DE)、シバクロンターコイズブルーG(Ciba)、シバロンブラックBGL(Ciba)、オラソールブラックBRG(Ciba)、オラソールブラックRBL(Ciba)、アセトアミンブラック、CBS(E.I.du Pont de Nemours and Company,Inc.、Wilmington、DE)、クロセインスカーレットN Ex(du Pont)(27290)、ファイバーブラックVF(duPont)(30235)、ルクソールファストブラックL(duPont)(Solv.ブラック17)、ニロシン塩基No.424(duPont)(50415 B)、オイルブラックBG(duPont)(Solv.ブラック16)、ロータリンブラックRM(duPont)、セブロンブリリアントレッド3 B(duPont);塩基性ブラックDSC(Dye Specialities,Inc.)、ヘクトレンブラック(Dye Specialities,Inc.)、アゾゾルブリリアントブルーB(GAF、Dyestuff and Chemical Division、Wayne、NJ)(Solv.ブルー9)、アゾゾルブリリアントグリーンBA(GAF)(Solv.グリーン2)、アゾゾルファストブリリアントレッドB(GAF)、アゾゾルファストオレンジRA Conc.(GAF)(Solv.オレンジ20)、アゾゾルファストイエローGRA Conc.(GAF)(13900 A)、塩基性ブラックKMPA(GAF)、ベンゾフィクスブラックCW−CF(GAF)(35435)、セリタゾールBNFV Ex可溶性CF(GAF)(Disp.ブラック9)、セリトンファストブルーAF Ex Conc(GAF)(Disp.ブルー9)、シペルブラックIA(GAF)(塩基性ブラック3)、ジアミンブラックCAP Ex Conc(GAF)(30235)、ダイヤモンドブラックEAN Hi Conc.CF(GAF)(15710)、ダイヤモンドブラックPBBA Ex(GAF)(16505);ディレクトディープブラックEA Ex CF(GAF)(30235)、ハンザイエローG(GAF)(11680);インダンスレンブラックBBK粉末(GAF)(59850)、インドカーボンCLGS Conc.CF(GAF)(53295)、カチゲンディープブラックNND Hi Conc.CF(GAF)(15711)、ラピドゲンブラック3 G(GAF)(アゾイックブラック4);スルホンシアニンブラックBA−CF(GAF)(26370)、ザンベジブラックVD Ex Conc.(GAF)(3001
5);ルバノクスレッドCP−1495(The Sherwin−Williams Company、Cleveland、OH)(15630);漆黒11(Columbian Carbon Company、Atlanta、GA)、(約25μmの粒子サイズを有するカーボンブラック凝集体)、スタテックスB−12(Columbian
Carbon Co.)(33μmの平均粒子サイズのファーネスブラック)、およびクロムグリーン。
粒子はまた、レーキ顔料または染色顔料を含み得る。レーキ顔料は、染料を沈着させた粒子または染色される粒子である。レーキは、容易に溶けるアニオン染料の金属塩である。これらは、1つ以上のスルホン酸またはカルボン酸群を含むアゾ、トリフェニルメタンまたはアントラキノン構造の染料である。これらは通常、カルシウム、バリウムまたはアルミニウム塩により、基材上に沈着される。典型的な例は、ピーコックブルーレーキ(CI顔料青色24)およびペルシアンオレンジ(CI酸性オレンジ7のレーキ)、ブラックMトナー(GAF)(レーキ上に沈着された黒色染料とカーボンブラックとの混合物)。
染色タイプの暗い粒子は、カーボンブラック、または無機黒色材料、などのいかなる光吸収材料から構成されてもよい。暗い材料はまた、選択的に吸収性であってもよい。例えば、ダークグリーン顔料が使用され得る。黒色粒子はまた、ラテックスを金属酸化物で染色することにより形成されてもよく、そのようなラテックスコポリマーは、ブタジエン、スチレン、イソプレン、メタクリル酸、メチルメタクリレート、アクリロニトリル、塩化ビニル、アクリル酸、ナトリウムスチレンスルホネート、ビニルアセテート、クロロスチレン、ジメチルアミノプロピルメタクリルアミド、イソシアノエチルメタクリレート、およびN−(イソブトキシメタクリルアミド)のいずれかからなり、任意に、ジアクリレート、トリアクリレート、ジメチルアクリレート、およびトリメタクリレート、などの共役ジエン化合物を含む。黒色粒子はまた、分散重合技術により形成されてもよい。
顔料およびポリマーを含むシステムでは、顔料およびポリマーは、電気泳動粒子内で多数のドメインを形成してもよく、より小さい顔料/ポリマー組み合わせ粒子の凝集体であってもよい。あるいは、中心顔料コアが、ポリマーシェルにより囲まれてもよい。顔料、ポリマー、またはその両方は、染料を含んでいてもよい。粒子の光学的な目的は、光散乱、光吸収、またはその両方であり得る。有用なサイズは、粒子が、境界となるカプセルよりも小さい限り、1nmから約100μmの範囲であり得る。電気泳動粒子の密度は、懸濁(即ち、電気泳動)流体の密度と実質的に一致し得る。本明細書では、懸濁流体と粒子との密度差が約0g/mlと約2g/mlとの間であれば、懸濁流体が、粒子の密度と「実質的に一致」する密度を有すると規定される。この差は、好ましくは、約0g/mlと約0.5g/mlとの間である。
粒子のための有用なポリマーには、以下のものがあるが、これらに限定されない。ポリスチレン、ポリエチレン、ポリプロピレン、フェノール樹脂、Du Pont Elvax樹脂(エチレン−ビニルアセテートコポリマー)、ポリエステル、ポリアクリレート、ポリメタクリレート、エチレンアクリル酸またはメタクリル酸コポリマー(Nucrel樹脂−DuPont、Primacor樹脂−Dow Chemical)、アクリルコポリマーおよびターポリマー(Elvacite樹脂、DuPont)、ならびにPMMA。高剪断溶融でのホモポリマー/顔料相分離のための有用な材料には、以下のものがあるが、これらに限定されない。ポリエチレン、ポリプロピレン、ポリメチルメタクリレート、ポリイソブチルメタクリレート、ポリスチレン、ポリブタジエン、ポリイソプレン、ポリイソブチレン、ポリラウリルメタクリレート、ポリステアリルメタクリレート、ポリイソボルニルメタクリレート、ポリ−t−ブチルメタクリレート、ポリエチルメタクリレート、ポリメチルアクリレート、ポリエチルアクリレート、ポリアクリロニトリル、および上記材料の2つ以上のコポリマー。市販で入手可能な幾つかの有用な顔料/ポリマー複
合体には、以下のものがあるが、これらに限定されない。プロセスマゼンタPM 1776(Magruder Color Company,Inc.、Elizabeth、NJ)、メチルバイオレットPMA VM6223(Magruder Color Company,Inc.、Elizabeth、NJ)、およびナフトールFGR RF6257(Magruder Color Company,Inc.、Elizabeth、NJ)。
顔料−ポリマー複合体は、物理的プロセス(例えば、アトリションまたはボールミリング)、化学的プロセス(例えば、マイクロカプセル封じまたは分散重合)、または、粒子製造分野において公知のその他の任意のプロセスにより形成され得る。以下の実施例から、粒子製造および粒子帯電の両方のためのプロセスおよび材料が概して、液体トナーまたは液浸現象の分野から得られることが分かり得る。これらの実施例は、本発明を限定するものではない。従って、液体現象からの公知のプロセスのいずれも特に関連しているが、これらだけではない。
新しい有用な電気泳動粒子は、依然として発見され得るが、電気泳動ディスプレイおよび液体トナーの分野の当業者に既に知られている多くの粒子はまた、有用であることが分かり得る。概して、液体トナーおよびカプセル封じ電気泳動インクに関するポリマーの要求は、顔料または染料が、物理的、化学的または物理化学的プロセスのいずれかによりその中に容易に組み込まれなければならず、コロイド安定性を助け得、そして充電場所を含み得るか、または、充電場所を含む材料を組み込むことができ得るという点で、同様である。液体トナー業界からの1つの一般的な要求であって、カプセル封じ電気泳動インクによって共有されない要求は、トナーが、画像を「定着」することができなければならないこと、即ち、トナー粒子の堆積後に熱融解して均一な膜を作り出すことができなければならないことである。
典型的な粒子製造技術は、液体トナーおよびその他の分野から得られ、ボールミリング、アトリション、ジェットミリング、などを含む。プロセスは、着色されたポリマー粒子の場合について説明される。そのような場合、顔料を、通常はスクリュー押し出し機などの何らかの種類の高剪断機構において、ポリマーに配合する。次いで、複合材料を、(湿式または乾式)研削し、約10μmの開始サイズにする。次いで、これを、例えばISOPAR(登録商標)(Exxon、Houston、TX)などの担体液中に、任意に何らかの電荷制御剤(1つまたは複数)を用いて分散し、そして、最終粒子サイズおよび/またはサイズ分布になるまで、高剪断下で数時間粉砕する。
液体トナー分野から得られる別の粒子製造技術は、媒体ミルにポリマー、顔料および懸濁流体を付加することである。このミルは、始動と同時に、ポリマーが溶媒で実質的に膨潤する温度に加熱される。この温度は、典型的には100℃付近である。この状態において、顔料は、膨潤したポリマーに容易にカプセル封じされる。適切な時間後、典型的には数時間後、ミルは、攪拌しながら徐々に冷却されて周囲温度に戻される。十分に小さい粒子サイズ、典型的には、数???から数ミクロンの直径、を達成するために、ミリングは、幾らかの時間続けられ得る。このとき、充電剤が付加されてもよい。任意に、さらなる懸濁流体が付加されてもよい。
分散重合、ミニまたはマイクロエマルション重合、懸濁重合沈殿、相分離、溶媒蒸発、インサイチュ(in situ)重合、シードエマルション重合、などの化学的プロセス、または、マイクロカプセル封じの一般的なカテゴリに入る任意のプロセスが使用され得る。このタイプの典型的なプロセスは、相分離プロセスであり、このプロセスでは、溶媒希釈、蒸発、または熱変化により、溶解したポリマー材料が、溶液から、分散された顔料表面に沈着する。その他のプロセスは、例えば金属酸化物または染料を用いて、ポリマー
ラテックスを染色するための化学的手段を含む。
B.懸濁流体
粒子を含む懸濁流体は、密度、屈折率、および溶解性、などの特性に基づいて選択され得る。好適な懸濁流体は、低誘電定数(約2)、高体積抵抗率(約10^15オーム−cm)、低粘度(5cst未満)、低毒性および環境影響、低水溶性(10ppm未満)、高比重(1.5を越える)、高沸点(90℃を上回る)、ならびに低屈折率(1.2未満)を有する。
懸濁流体の選択は、化学的不活性、電気泳動粒子との密度の一致、または、電気泳動粒子および境界となるカプセルとの化学的相容性の考慮に基づいていてもよい。流体を移動させたい場合、流体の粘度は低くなければならない。懸濁流体の屈折率はまた、粒子の屈折率と実質的に一致していてもよい。本明細書では、懸濁流体と粒子との屈折率差が約ゼロと約0.3との間であり、好ましくは約0.05と約0.2との間であれば、懸濁流体の屈折率が、粒子の屈折率と「実質的に一致」すると言われる。
さらに、流体は、幾つかのポリマーに関して貧溶媒になるように選択されてもよい。これは、ミクロ粒子の製造に使用する場合に有利である。なぜなら、貧溶媒は、ポリマーおよび顔料の粒子を製造するのに有用なポリマー材料の範囲を増加するからである。ハロゲン化有機溶媒、飽和した直線または分枝炭化水素、シリコーンオイル、および、低分子量ハロゲン含有ポリマー、などの有機溶媒は、幾らか有用な懸濁流体である。懸濁流体は、単一の流体を含んでいてもよい。しかし、この流体は、その化学的および物理的特性を調節するために、1つよりも多い流体のブレンドであることが多い。さらに、この流体は、電気泳動粒子または境界となるカプセルの表面エネルギーまたは電荷を変性するために、表面変性剤を含んでいてもよい。マイクロカプセル封じプロセスのための反応物または溶媒(例えば、油溶性モノマー)もまた、懸濁流体に含まれてもよい。電荷制御剤もまた、懸濁流体に付加されてもよい。
有用な有機溶媒には、例えばデカンエポキシドおよびドデカンエポキシドなどのエポキシド、例えばシクロヘキシルビニルエーテルおよびDecave(商標)(International Flavors & Fragrances,Inc.、New York、NY)などのビニルエーテル、ならびに、例えばトルエンおよびナフタレンなどの芳香族炭化水素、があるが、これらに限定されない。有用なハロゲン化有機溶媒には、テトラフルオロジブロモエチレン、テトラクロロエチレン、トリフルオロクロロエチレン、1,2,4−トリクロロベンゼン、四塩化炭素、があるが、これらに限定されない。これらの材料は、高い密度を有する。有用な炭化水素には、ドデカン、テトラデカン、Isopar(商標)シリーズ(Exxon、Houston、TX)、Norpar(商標)(通常のパラフィン液のシリーズ)、Shell−Sol(商標)(Shell、Houston、TX)、およびSol−Trol(商標)(Shell)の脂肪族炭化水素、ナフサ、ならびにその他の石油系溶剤、があるが、これらに限定されない。これらの材料は通常、低い密度を有する。シリコーンオイルの有用な例には、オクタメチルシクロシロキサンおよびより高い分子量の環状シロキサン、ポリ(メチルフェニルシロキサン)、ヘキサメチルジシロキサン、ならびにポリジメチルシロキサン、があるが、これらに限定されない。これらの材料は通常、低い密度を有する。有用な低分子量ハロゲン含有ポリマーには、ポリ(クロロトリフルオロエチレン)ポリマー(Halogenated hydrocarbon Inc.、River Edge、NJ)、Galden(商標)(Ausimont(Morristown、NJ)のペルフルオロエーテル)、または、Dupont(Wilmington、DE)のKrytox(商標)、があるが、これらに限定されない。好適な実施形態では、懸濁流体は、ポリ(クロロトリフルオロエチレン)ポリマーである。特に好適な実施形態では、このポリマーは、約2から約10の重合
度を有する。上記材料の多くは、ある範囲の粘度、密度、および沸点で利用可能である。
流体は、カプセルが形成される前に、小さい液滴にされることができなければならない。小さい液滴を形成するプロセスは、フロースルージェット、膜、ノズル、またはオリフィス、および、剪断に基づく乳化機構を含む。小さい液滴の形成は、電界または音場により補助されてもよい。エマルションタイプのカプセル封じの場合、液滴の安定化および乳化を助けるために、界面活性剤およびポリマーが使用されてもよい。本発明のディスプレイに使用される好適な界面活性剤は、ナトリウムドデシルサルフェートである。
幾つかのディスプレイでは、懸濁流体が光吸収性染料を含むことが有利である可能性がある。この染料は、流体には可溶でなければならないが、概して、カプセルのその他の成分には不溶である。染料材料の選択には、非常に柔軟性がある。染料は、純粋な化合物であってもよく、黒などの特定の色を達成するために、染料のブレンドであってもよい。これらの染料は、蛍光性であってもよい。この場合、蛍光特性が粒子の場所に依存するディスプレイが作り出される。染料は、光活性であってもよく、この場合、可視光または紫外光のいずれかが照射されると別の色に変わるかまたは無色になり、光学応答を得るための別の手段を提供する。染料はまた、重合可能であってもよく、この場合、境界となるシェルの内部に固体吸収性ポリマーを形成する。
カプセル封じ電気泳動ディスプレイにおいて使用するために選択できる染料は多数ある。ここで重要な特性には、耐光堅ろう度、懸濁液への溶解度、色、およびコスト、などがある。これらの染料は概して、アゾ、アントラキノン、およびトリフェニルメタン系染料の分類からのものであり、また、油相での溶解度を増加し且つ流体表面による吸着を低減するように化学的に変性され得る。
電気泳動ディスプレイ分野の当業者に既に知られている多くの染料は、有用であることが分かる。有用なアゾ染料には、オイルレッド染料、ならびに、スダンレッドおよびスダンブラック染料シリーズ、があるが、これらに限定されない。有用なアントラキノン染料には、オイルブルー染料、およびマクロレックスブルー染料シリーズ、があるが、これらに限定されない。有用なトリフェニルメタン染料には、ミヒラーハイドロール、マラカイトグリーン、クリスタルバイオレット、およびオーラミンOがあるが、これらに限定されない。
C.電荷制御剤および粒子安定剤
電荷制御剤は、電気泳動粒子に優れた電気泳動移動度を提供するために使用される。安定剤は、電気泳動粒子の凝集を防ぐとともに、電気泳動粒子が、カプセル壁に不可逆的に堆積することを防ぐ。いずれの成分も、幅広い範囲の分子量(低分子量、オリゴマーまたはポリマー)にわたる材料から構成することができ、そして、純粋であっても混合物であってもよい。具体的には、適切な電荷制御剤は概して、液体トナー分野から適合される。粒子表面電荷を変性および/または安定化するために用いられる電荷制御剤は、液体トナー、電気泳動ディスプレイ、非水性塗料分散物、およびエンジンオイル添加剤の分野において概して知られているように付与される。これらの分野のすべてにおいて、電気泳動移動度を増加するまたは静電安定化を増加するために、充電種が非水性媒体に付加されてもよい。これらの材料は、立体安定化も向上することができる。選択的イオン吸着、プロトン移動、および接触帯電など、異なる充電理論が前提とされる。
任意の電荷制御剤または電荷方向付け剤が使用されてもよい。これらの成分は、典型的には、低分子量界面活性剤、ポリマー剤、または、1つ以上の成分のブレンドからなり、電気泳動粒子上の電荷の符号および/または大きさを安定化するかまたはその他の方法で変性する役割を果たす。顔料自体の充電特性は、顔料の酸性または塩基性の表面特性を考
慮に入れることにより説明され得てもよく、または、充電場所は、担体樹脂表面(もしあれば)で起こり得てもよく、または、これら2つの組み合わせである。関連し得る追加の顔料特性は、粒子サイズ分布、化学組成、および耐光堅ろう度である。粒子表面電荷を変性および/または安定化するために用いられる電荷制御剤は、液体トナー、電気泳動ディスプレイ、非水性塗料分散物、およびエンジンオイル添加剤の分野において概して知られているように付与される。これらの分野のすべてにおいて、電気泳動移動度を増加するまたは静電安定化を増加するために、充電種が非水性媒体に付加されてもよい。これらの材料は、立体安定化も向上することができる。選択的イオン吸着、プロトン移動、および接触帯電など、異なる充電理論が前提とされる。
電荷補助剤もまた、付加されてもよい。これらの材料は、電荷制御剤または電荷方向付け剤の効力を増加する。電荷補助剤は、ポリヒドロキシ化合物またはアミノアルコール化合物であってもよい。これらの化合物は、好ましくは、少なくとも2重量%の量だけ懸濁流体に可溶である。少なくとも2つの水酸基を含むポリヒドロキシ化合物の例には、エチレングリコール、2,4,7,9−テトラメチル−デシン(decyn)−4,7−ジオール、ポリ(プロピレングリコール)、ペンタエチレングリコール、トリプロピレングリコール、トリエチレングリコール、グリセロール、ペンタエリスリトール、グリセロール−トリ−12ヒドロキシステアリン酸塩、プロピレングリセロールモノヒドロキシステアリン酸塩、およびエチレングリコールモノヒドロキシステアリン酸塩、があるが、これらに限定されない。同じ分子に少なくとも1つのアルコール官能基および1つのアミン官能基を含むアミノアルコール化合物の例には、トリイソプロパノールアミン、トリエタノールアミン、エタノールアミン、3−アミノ−1プロパノール、o−アミノフェノール、5−アミノ−1−ペンタノール、およびテトラ(2−ヒドロキシエチル)エチレン−ジアミン、があるが、これらに限定されない。電荷補助剤は、好ましくは、粒子質量の約1mg/g〜約100mg/g、より好ましくは、約50mg/g〜約200mg/gの量で、懸濁流体中に存在する。
粒子の表面はまた、例えば、分散を助けるため、表面電荷を向上するため、および分散の安定性を向上するために、化学的に変性されてもよい。表面変性剤には、有機シロキサン、オルガノハロゲンシラン、およびその他の官能性シランカップリング剤(Dow Corning(商標)Z−6070、Z−6124、および3添加剤、Midland、MI);有機チタン酸塩およびジルコン酸塩(Tyzor(商標)TOT、TBT、およびTEシリーズ、Dupont、Wilmington、DE);長鎖(C12〜C50)アルキルおよびアルキルベンゼンスルホン酸、脂肪アミンまたはジアミン、およびそれらの塩または四元誘導体、などの疎水剤;ならびに、粒子表面に共有結合され得る両親媒性ポリマー、などがある。
概して、充電の結果、連続相に存在する幾らかの部分と、粒子表面との間の酸−塩基反応が得られると考えられる。従って、有用な材料は、そのような反応、または、当該分野において公知のその他の任意の充電反応に参加することができる材料である。
有用な電荷制御剤の異なる分類は、有機硫酸塩またはスルホン酸塩、金属セッケン、ブロックまたはコームコポリマー、有機アミド、有機双性イオン、ならびに、有機リン酸塩およびホスホン酸塩を含む。これらの分類は、本発明を限定するものではない。有用な有機硫酸塩およびスルホン酸塩には、ビス(2−エチルヘキシル)ナトリウムスルホコハク酸塩、カルシウムドデシルベンゼンスルホネート、カルシウム石油スルホネート、中性または塩基性バリウムジノニルナフタレンスルホネート、中性または塩基性カルシウムジノニルナフタレンスルホネート、ドデシルベンゼンスルホン酸ナトリウム塩、およびアンモニウムラウリル硫酸塩、があるが、これらに限定されない。有用な金属セッケンには、塩基性または中性バリウムペトロネート;カルシウムペトロネート;ナフテン酸のCo、C
a、Cu、Mn、Ni、ZnおよびFe塩;ステアリン酸のBa、Al、Zn、Cu、PbおよびFe塩;トリステアリン酸アルミニウム、オクチル酸アルミニウム、ヘプタン酸リチウム、ステアリン酸鉄、ジステアリン酸鉄、ステアリン酸バリウム、ステアリン酸クロム、オクチル酸マグネシウム、ステアリン酸カルシウム、ナフテン酸鉄、およびナフテン酸亜鉛、などの二価および三価金属カルボン酸塩;ヘプタン酸MnおよびZn;ならびに、オクチル酸Ba、Al、Co、MnおよびZn、があるが、これらに限定されない。有用なブロックまたはコームポリマーには、(A)メチル−p−トルエンスルホネートで四元化された2−(N,N)ジメチルアミノエチルメタクリレートのポリマーと、(B)ポリ−2−エチルヘキシルメタクリレートとのABジブロックコポリマーと、ポリ(12−ヒドロキシステアリン酸)の油溶性尾部を有し、約1800の分子量を有し、ポリ(メチルメタクリレート−メタクリル酸)の油溶性アンカー基上に垂れ下がるコームグラフトコポリマーと、があるが、これらに限定されない。有用な有機アミドには、OLOA1200などのポリイソブチレンスクシンイミド、およびN−ビニルピロリドンポリマーがあるが、これらに限定されない。有用な有機双性イオンにはレシチンがあるが、これに限定されない。有用な有機リン酸塩およびホスホン酸塩には、飽和または不飽和酸置換基を有する、リン酸処理されたモノおよびジグリセリドのナトリウム塩があるが、これらに限定されない。
カプセル壁への粒子のフロキュレーションまたは付着を防ぐために、粒子分散安定剤が付加されてもよい。電気泳動ディスプレイにおいて懸濁流体として用いられる典型的な高抵抗性液体には、非水性界面活性剤が使用されてもよい。これらの界面活性剤には、グリコールエーテル、アセチレングリコール、アルカノアミド、ソルビトール誘導体、アルキルアミン、四元アミン、イミダゾリン、ジアルキルオキシド、およびスルホコハク酸塩、があるが、これらに限定されない。
D.カプセル封じ
カプセル封じには長く豊富な歴史があり、多くのプロセスおよびポリマーが、カプセルを作り出すのに有用であることが分かっている。内部相のカプセル封じは、多数の異なる方法で達成され得る。マイクロカプセル封じの多数の適切な手順は、Microencapsulation,Processes and Applications(I.E.Vandegaer編)、Plenum Press、New York、NY(1974)、およびGutcho、Microcapsules and Mircroencapsulation Techniques、Nuyes Data Corp.、Park Ridge、N.J.(1976)の両方に詳述されている。本明細書において、上記文献の両方を参考として援用する。プロセスは、幾つかの一般的なカテゴリ、即ち、界面重合、インサイチュ重合、共押し出しおよびその他の相分離プロセスなどの物理的プロセス、液体内硬化、ならびに単純/複雑コアセルベーションのカテゴリ、に入る。これらのカテゴリはすべて、本発明に適用され得る。
多くの材料およびプロセスが、本発明のディスプレイを作製するために有用であることが分からなければならない。単純コアセルベーションプロセスのための有用な材料には、ゼラチン、ポリビニルアルコール、ポリビニルアセテート、および、例えばカルボキシメチルセルロースなどのセルロース誘導体、があるが、これらに限定されない。複雑コアセルベーションプロセスのための有用な材料には、ゼラチン、アカシア、カラギーナン、カルボキシメチルセルロース、加水分解されたスチレン無水物コポリマー、寒天、アルギン酸塩、カゼイン、アルブミン、メチルビニルエーテルコマレイン無水物、およびフタル酸セルロース、があるが、これらに限定されない。相分離プロセスのための有用な材料には、ポリスチレン、PMMA、ポリエチルメタクリレート、ポリブチルメタクリレート、エチルセルロース、ポリビニルピリジン、およびポリアクリロニトリル、があるが、これらに限定されない。インサイチュ重合プロセスのための有用な材料には、アルデヒド、メラ
ミン、または尿素およびホルムアルデヒド、を有するポリヒドロキシアミド;メラミンまたは尿素およびホルムアルデヒドの縮合物の水溶性オリゴマー;ならびに、例えばスチレン、MMA、およびアクリロニトリル、などのビニルモノマー、があるが、これらに限定されない。最後に、界面重合プロセスのための有用な材料には、例えばセバコイル、アジポイル、およびジまたはポリアミンまたはアルコール、などのジアシルクロリド、ならびにイソシアン酸塩、があるが、これらに限定されない。有用なエマルション重合材料には、スチレン、ビニルアセテート、アクリル酸、ブチルアクリレート、t−ブチルアクリレート、メチルメタクリレート、およびブチルメタクリレート、を含み得るが、これらに限定されない。
生成されたカプセルは硬化性担体に分散され得、その結果、従来のプリント技術およびコーティング技術を用いて任意の形状または湾曲した大きい表面にプリントまたはコーティングされ得るインクが得られる。
本発明のコンテキストでは、当業者は、所望のカプセル特性に基づいて、カプセル封じ手順および壁材料を選択する。これらの特性は、カプセル半径の分布;カプセル壁の電気、機械、拡散および光学特性;ならびに、カプセルの内部相との化学的相容性、を含む。
カプセル壁は概して、高い電気抵抗率を有する。比較的低い抵抗率を有する壁を使用することが可能であるが、これは、比較的高いアドレッシング電圧を必要とする場合に性能を制限してしまう可能性がある。カプセル壁の関連電気特性の完全な説明は、米国特許第4,605,284号に記載されており、本明細書において、上記特許の開示全体を参考として援用する。カプセル壁はまた、機械的に強くなければならない(ただし、完成されたカプセル粉末が硬化性ポリマー結合剤に分散されてコーティングされる場合には、機械的強度は決定的に重要であるわけではない)。カプセル壁は概して、多孔性であってはならない。しかし、多孔性カプセルを生成するカプセル封じ手順を用いることが望ましい場合、これらのカプセルは、後処理工程(即ち、第2のカプセル封じ)においてオーバーコーティングされてもよい。さらに、カプセルが硬化性結合剤に分散される場合、結合剤は、孔を閉じる役割を果たす。カプセル壁は、光学的に透明でなければならない。ただし、壁材料は、カプセルの内部相(即ち、懸濁流体)、または、カプセルが分散される結合剤、の屈折率に一致するように選択されてもよい。幾つかの応用(例えば、2つの固定電極間への挿入)の場合、単分散カプセル半径が望ましい。
本発明に非常に適しているカプセル封じ技術は、米国特許第4,087,376号に記載されており、本明細書において、上記特許の開示全体を、参考として援用する。この手順は、負に帯電したカルボキシル置換直線炭化水素高分子電解質材料の存在下の、油/水エマルションの水相での尿素とホルムアルデヒドとの重合を含む。結果として得られるカプセル壁は、内部相を分離して包む尿素/ホルムアルデヒドコポリマーである。カプセルは透明であり、機械的に強く、そして優れた抵抗特性を有する。
インサイチュ重合の関連技術は、水性環境下で電気泳動組成物(即ち、顔料粒子の懸濁液を含む誘電液体)を分散することにより形成される油/水エマルションを使用する。モノマーは重合し、水相よりも内部相に高い親和力を有するポリマーを形成し、それにより、乳化された油性液滴の周りで縮合する。1つの特に有用なインサイチュ重合プロセスでは、ポリ(アクリル酸)の存在下で尿素およびホルムアルデヒドが縮合する(例えば、米国特許第4,001,140号参照)。米国特許第4,273,672号に記載されるその他の有用なプロセスでは、水溶液中で運ばれる様々な架橋剤のいずれかが、極めて微小な油滴の周りに堆積される。そのような架橋剤には、アルデヒド、特にホルムアルデヒド、グリオキサル、またはグルタルアルデヒド;ミョウバン;ジルコニウム塩;およびポリイソシアネート、などがある。本明細書において、上記米国特許第4,001,140号
および同第4,273,672号の開示全体を、参考として援用する。
コアセルベーションアプローチはまた、油/水エマルションを使用する。1つ以上のコロイドは、水相から液滴にされ(即ち、凝集され)、そして、温度、pHおよび/または相対濃度の制御により、油性液滴の周りにシェルとして堆積され、それによりマイクロカプセルを作り出す。コアセルベーションに適した材料には、ゼラチンおよびアカシアなどがある。例えば、米国特許第2,800,457号を参照されたい。本明細書において、上記特許の開示全体を、参考として援用する。
界面重合アプローチは、電気泳動組成物中の油溶性モノマーの存在に頼る。この油溶性モノマーは、水相においてエマルションとして再び存在する。微小な疎水性液滴中のモノマーは、水相に導入されたモノマーと反応し、液滴と、周りの水性媒体との間の界面で重合し、そして液滴の周りにシェルを形成する。結果として得られる壁は比較的薄く、また、浸透性であってもよいが、このプロセスは、その他の幾つかのプロセスの高温特性を必要としないため、誘電液体の選択に関してより大きい柔軟性を与える。
図13Aは、エマルションベースのカプセル封じを行うための例示的な装置および環境を示す。油/水エマルションは、温度をモニタリングするための装置78と、温度を制御するための装置80と、を備える容器76において調製される。pHモニタ82もまた、含まれてもよい。インペラ84は、カプセル封じプロセス全体を通して攪拌を維持し、乳化機と組み合わせて、完成されたカプセルになるエマルション液滴86のサイズを制御するために用いられてもよい。水性連続相88は、例えば、プレポリマーまたは様々な系変性剤を含んでいてもよい。
図13Bは、白いミクロ粒子94および黒い粒子96が分散される実質的に透明な懸濁流体92を含む油滴90を示す。好ましくは、粒子94および96は、懸濁流体92の密度と実質的に一致した密度を有する。液相はまた、界面重合をもたらすために、幾つかのしきい値/双安定性変性剤、電荷制御剤、および/または、疎水性モノマーを含んでいてもよい。
図13Cは、白い粒子94と適切な電荷制御剤との分散を含む暗い色に染色された懸濁流体100を含む同様の油滴98を示す。
コーティングまたはプリントされた電気泳動インク材料の均一性および品質を向上するために、コーティングエイドが使用されてもよい。コーティング/基板界面の界面張力を調節するため、および、液体/空気表面張力を調節するために、典型的には、湿潤剤が付加される。湿潤剤には、アニオンおよびカチオン界面活性剤、ならびに、シリコーンまたはフルオロポリマーベースの材料などの非イオン種があるが、これらに限定されない。カプセルと結合剤との間の界面張力を変性して、フロキュレーションおよび粒子沈降の制御を提供するために、分散剤が使用されてもよい。
空気/インク界面張力を調節するために、表面張力変性剤が付加されてもよい。そのような応用では、表面水平化を向上しなおかつコーティング内のその他の欠陥を最小限にするために、典型的には、ポリシロキサンが使用される。表面張力変性剤には、例えば、DuPont(Wilmington、DE)のZonyl(商標)シリーズ、3M(St.Paul、MN)のFluorod(商標)シリーズ、およびAutochem(Glen Rock、NJ)のフルオロアルキルシリーズ、などのフッ素化界面活性剤;例えばUnion Carbide(Danbury、CT)のSilwet(商標)、などのシロキサン;ならびに、ポリエトキシおよびポリプロポキシアルコール、があるが、これらに限定されない。インク内から表面への空気の移動を高めるため、および、コーティ
ング面の気泡の破裂を容易にするために、シリコーンおよびシリコーンのないポリマー材料、などの泡消し剤が付加されてもよい。その他の有用な泡消し剤には、グリセリルエステル;多価アルコール;アルキルベンゼン、天然脂肪、脂肪酸、および金属セッケンの油剤、などの配合泡消し剤;ならびに、ジメチルシロキサンポリマーおよびシリカの組み合わせから作られるシリコーン泡消し剤、などがあるが、これらに限定されない。インクの寿命を向上するために、uv吸収剤および酸化防止剤、などの安定剤もまた付加されてもよい。
コーティング粘度および発泡のような特性を制御するためのその他の添加剤もまた、コーティング流体において使用されてもよい。安定剤(uv吸収剤、酸化防止剤)およびその他の添加剤は、実際的な材料において有用であることが分かり得る。
E.結合剤材料
結合剤は、カプセルを支持および保護し且つ電極材料をカプセル分散物に結合する非導電接着媒体として用いられる。多くの形態および化学的種類の結合剤が利用可能である。これらの結合剤の中には、水溶性ポリマー、水性ポリマー、油溶性ポリマー、熱硬化性および熱可塑性ポリマー、ならびに放射硬化性ポリマー、がある。
水溶性ポリマーの中には、様々な多糖類、ポリビニルアルコール、N−メチルピロリドン、N−ビニルピロリドン、様々なCarbowax(商標)種(Union Carbide、Danbury、CT)、およびポリ−2−ヒドロキシエチルアクリレート、がある。
水に分散されるまたは水性系は概して、ラテックス組成物であり、ラテックス組成物の典型は、Neorez(商標)およびNeocryl(商標)樹脂(Zeneca Resins、Wilmington、MA)、Acrysol(商標)(Rohm and
Haas、Philadelphia、PA)、Bayhydrol(商標)(Bayer、Pittsburg、PA)、およびCytec Industries(West Paterson、NJ)のHPラインである。これらのラテックス組成物は概して、ポリウレタンのラテックスであり、アクリル、ポリエステル、ポリカーボネート、またはシリコーンの1つ以上が配合される場合もあり、各ラテックスは、ガラス遷移温度、「タック」度、柔らかさ、透明度、可撓性、水浸透性および耐溶剤性、伸び率および引っ張り強度、熱可塑性流、および固体レベル、により規定される特性の特定の組における硬化樹脂を与える。水性系のなかには、反応性モノマーと混合しそして触媒作用を及ぼして、より複雑な樹脂を形成することができるものもある。カルボキシル基と反応する例えばアジリジンなどの架橋剤の使用により、さらに架橋できるものもある。
水性樹脂および水性カプセルの典型的な応用が、以下に示される。多量の粒子を低速で遠心分離して、余分な水を分離する。所与の遠心分離プロセス後、例えば、60×Gで10分後に、カプセルは遠心管の底部に見られ、水部分は上部に見られる。水部分を(デカンテーションまたはピペットにより)慎重に除去する。残りのカプセルの質量を測定し、そして、カプセルの重量の8分の1と10分の1との間になるような質量の樹脂を添加する。この混合物を、振動ミキサーで約30分間穏やかに混合する。約30分後、混合物は、適切な基板上にコーティング可能な状態である。
熱硬化系の例示は、エポキシ属である。これらの二成分系の粘度は大きく変動し得、そして、対の反応性が、混合物の「ポットライフ」を決定する。ポットライフが、コーティング作業を可能にするのに十分な長さであれば、カプセルは、樹脂のキュアおよび硬化が起こる前に、コーティングプロセスにおいて規則正しい配列でコーティングされ得る。
熱可塑性ポリマーは、高温で溶融される。熱可塑性ポリマーは、ポリエステルであることが多い。このタイプの生成物の典型的な応用は、ホットメルトグルーである。耐熱カプセルの分散物は、そのような媒体でコーティングされてもよい。凝固プロセスは、冷却中に始まり、最終的な硬度、透明度および可撓性は、ポリマーの分岐および分子量により影響を受ける。
油溶性または溶媒可溶性ポリマーは、水性系と組成が類似する場合が多い。ただし、水自体は明らかにその例外である。溶媒系の作製時の許容範囲は非常に大きく、溶媒の選択およびポリマーの溶解度によってしか制限されない。溶媒ベースの系においてかなり重要なのは、カプセル自体の生存度であり、どんなことをしても、カプセルの完全性を、溶液により低下させることはできない。
放射硬化樹脂は概して、溶媒ベースの系の中に見られる。カプセルは、そのような媒体に分散されそしてコーティングされてもよく、次いで樹脂は、長いまたは短い波長の紫外放射のしきい値レベルへの計時露光により硬化されてもよい。ポリマー樹脂を硬化するすべての場合と同様に、最終特性は、モノマー、オリゴマー、架橋剤の分岐および分子量によって決まる。
ただし、多数の「水還元性」モノマーおよびオリゴマーが市場に出されている。厳密な意味では、これらのモノマーおよびオリゴマーは水溶性ではないが、水は、低濃度では、許容可能な希釈剤であるため、比較的容易に混合物に分散され得る。これらの環境下で、水は、粘度を(最初の数千〜数十万センチポアズから)減らすために用いられる。例えばタンパク質または多糖材料から作られたカプセルなど、水ベースのカプセルは、粘度を十分に低くすることができるのであれば、そのような媒体に分散され得、そして、コーティングされ得る。そのような系の硬化は概して、紫外放射による。
III.実施例
実施例1
以下の手順は、本発明の電気泳動ディスプレイに用いられるゼラチン/アカシアマイクロカプセル封じを説明する。
油(内部)相の調製
1Lのフラスコに、0.5gのオイルブルーN(Aldrich、Milwaukee、WI)、0.5gのスダンレッド7B(Aldrich)、417.25gのハロゲン化炭化水素油0.8(Halogenated hydrocarbon Products Corp.、River Edge、NJ)、および73.67gのIsopar−G(商標)(Exxon、Houston、TX)を加える。この混合物を、60℃で6時間攪拌し、次いで、室温に冷却する。結果として得られる溶液50.13gを50mLのポリプロピレン遠心管に入れ、これに、1.8gの二酸化チタン(TiO2)(Du
Pont、Wilminfron、DE)、ハロゲン炭化水素油0.8中のOLOA1200(Chevron、Somerset、NJ)の10%溶液0.78g、および0.15gのSpan85(Aldrich)を添加する。次いで、この混合物を、Aquasonic Model 75D超音波処理器(VWR、Westchester、PA)において、30℃でパワー9で5分間超音波処理する。
B.水相の調製
10.0gのアカシア(Aldrich)を、室温で30分間攪拌しながら100.0gの水に溶かす。結果として得られる混合物を、デカンテーションにより2つの50mLのポリプロピレン遠心管に入れ、そして約2000rpmで10分間遠心分離し、不溶性材料を除去する。次いで、66gの精製溶液を、デカンテーションにより500mLのバ
ッフル無しのジャケット付き反応器に入れ、次いで、この溶液を40℃に加熱する。次いで、6ブレード(垂直方向の幾何学的形状)櫂形攪拌機を、液体の表面の真下に配置する。溶液を200rpmで攪拌しながら、6gのゼラチン(300ブルーム、タイプA、Aldrich)を、固まりになるのを避けるために約20秒間にわたって慎重に添加する。次いで、攪拌を50rpmに減速し、発泡を減らす。次いで、結果として得られる溶液を、30分間攪拌する。
C.カプセル封じ
200rpmで攪拌しながら、上記のように調製された油相を、同様に上記のように調製された水相に、約15秒間にわたってゆっくりと注ぐ。結果として得られる油/水エマルションを、20分間乳化させる。このエマルションに、予め40℃に加熱されている水200gを、約20秒間にわたってゆっくりと添加する。次いで、10%酢酸溶液(Aldrichの酢酸)を用いて、pHを、5分間にわたって4.4に低下させる。以前にpH7.0およびpH4.0の緩衝液で較正したpH計を用いて、pHをモニタする。40分間攪拌する。次いで、予め40℃に加熱されている水150gを添加し、次いで、反応器の内容物を10℃に冷却する。溶液温度が10℃に達すると、3.0mLの37%ホルマリン溶液(Aldrich)を添加し、そして溶液を、あと60分間さらに攪拌する。20gのナトリウムカルボキシメチルセルロース(NaCMC)を添加し、次いで、20wt%水酸化ナトリウム(NaOH)溶液を添加することにより、pHを10.0に上昇させる。次いで、サーモスタット浴を40℃に設定し、そして、あと70分間攪拌させる。スラリーを一晩中攪拌しながら室温に冷却させる。このとき、結果として得られるカプセルスラリーは、ふるい分け可能な状態である。
D.ディスプレイの形成
上記カプセルスラリーから電気泳動ディスプレイを調製する2つの手順が、以下に説明される。
1.ウレタン結合剤を用いる手順
上記から結果として得られるカプセルスラリーを、水性ウレタン結合剤NeoRez R−9320(Zeneca Resins、Wilmington、MA)と、結合剤1部対カプセル10部の比で混合する。次いで、ドクターブレードを用いて、結果として得られる混合物を、インジウム−スズ−酸化物がスパッタされたポリエステル膜の厚さ0.7mmのシート上にコーティングする。単一のカプセル層を置くように、ドクターブレードのブレードギャップを、0.18mmに制御する。次いで、コーティングされた膜を、高温空気(60℃)で30分間乾燥させる。乾燥後、Cheminstruments(Fairfield、OH)のホットロールラミネートにおいて、厚膜銀および誘電インクがスクリーンプリントされた厚さ3mmのポリエステルシートを含むバックプレーンに、乾燥膜を、15psiの圧力で、60℃で高温ラミネートする。異方性テープを用いて、バックプレーンを膜に結合する。導電領域が、結果として得られるディスプレイのアドレッシング可能な領域を形成する。
2.ウレタン/ポリビニルアルコール結合剤を用いる手順
上記から結果として得られるカプセルスラリーを、NeoRez R−966(Zeneca Resins)とAirvol203(ポリビニルアルコール、Airvol Industries、Allentown、PA)の20%溶液との混合物を含む水性結合剤と、Airvol203溶液1部対NeoRez R−966、1部対カプセル5部の比で混合する。次いで、ドクターブレードを用いて、結果として得られる混合物を、インジウム−スズ−酸化物がスパッタされたポリエステル膜の厚さ0.7mmのシート上にコーティングする。単一のカプセル層を置くように、ドクターブレードのブレードギャップを、0.18mmに制御する。次いで、コーティングされた膜を、高温空気(60℃
)で30分間乾燥させる。乾燥後、厚膜銀インクを、乾燥膜の裏面に直接プリントし、そして60℃で硬化させる。導電領域が、ディスプレイのアドレッシング可能な領域を形成する。
実施例2
以下は、インサイチュ重合によるマイクロカプセルの調製の実施例である。
500mLのバッフル無しのジャケット付き反応器で、エチレンコマレイン無水物(Aldrich)の10wt%水溶液50mL、水100mL、0.5gのレゾルシノール(Aldrich)、および5.0gの尿素(Aldrich)を混合する。この混合物を、200rpmで攪拌し、そして、25wt%NaOH溶液を用いて、pHを、1分間にわたって3.5に調節する。以前にpH7.0およびpH4.0の緩衝液で較正したpH計を用いて、pHをモニタする。これに、上記実施例1で説明されるように調製した油相をゆっくりと添加し、そして、攪拌を450rpmに加速して、平均粒子サイズを200μm未満に低減する。次いで、37wt%のホルムアルデヒド水溶液12.5gを添加し、そして温度を55℃に上昇させる。この溶液を、55℃で2時間加熱する。
実施例3
以下は、界面重合によるマイクロカプセルの調製の実施例である。
上記実施例1で説明されるように調製した油相44gに、1.0gのセバコイルクロリド(Aldrich)を添加する。次いで、この混合物3ミリリットルを、室温で300rpmで攪拌しながら、200mLの水に分散させる。次いで、この分散液に、1,6−ジアミノへキサンの10wt%水溶液2.5mLを添加する。約1時間後に、カプセルが形成される。
このように、カプセル封じ電気泳動ディスプレイと、カプセル封じ電気泳動ディスプレイを構成するのに有用な材料とが説明されている。本発明の別の局面および利点は、上記説明を考慮すれば明らかである。従って、本発明の範囲は、前掲の特許請求の範囲によってのみ制限される。

Claims (1)

  1. カプセル封じ電気泳動ディスプレイであって、該カプセル封じ電気泳動ディスプレイは、カプセル内に封じられた実質的に重なっていない電気泳動移動度を有する少なくとも3つの粒子種を含み、該マルチカラーディスプレイは、該カプセルに連続的に印加される電界のシーケンス応答して、該カプセル内の該少なくとも3つの粒子種のうちの1つを支配的に表示し、該電界のシーケンスは、時間および振幅の両方において制御され、該電界のシーケンスの時間および振幅は、該少なくとも3つの粒子種のうちの該1つの表示を引き起こすように予め決定されていることを特徴とする、カプセル封じ電気泳動ディスプレイ。
JP2014223984A 1997-08-28 2014-11-04 電気泳動ディスプレイおよび材料 Expired - Lifetime JP5908048B2 (ja)

Applications Claiming Priority (60)

Application Number Priority Date Filing Date Title
US5779897P 1997-08-28 1997-08-28
US5713397P 1997-08-28 1997-08-28
US5712297P 1997-08-28 1997-08-28
US5771697P 1997-08-28 1997-08-28
US5779997P 1997-08-28 1997-08-28
US5716397P 1997-08-28 1997-08-28
US5711897P 1997-08-28 1997-08-28
US5954397P 1997-09-19 1997-09-19
US5935897P 1997-09-19 1997-09-19
US08/935,800 US6120588A (en) 1996-07-19 1997-09-23 Electronically addressable microencapsulated ink and display thereof
US6562997P 1997-11-18 1997-11-18
US6563097P 1997-11-18 1997-11-18
US6560597P 1997-11-18 1997-11-18
US6614797P 1997-11-19 1997-11-19
US6624597P 1997-11-20 1997-11-20
US6624697P 1997-11-20 1997-11-20
US6611597P 1997-11-21 1997-11-21
US6633497P 1997-11-21 1997-11-21
US6641897P 1997-11-24 1997-11-24
US7239098P 1998-01-09 1998-01-09
US7094098P 1998-01-09 1998-01-09
US7093998P 1998-01-09 1998-01-09
US7093598P 1998-01-09 1998-01-09
US7137198P 1998-01-15 1998-01-15
US7445498P 1998-02-12 1998-02-12
US7697898P 1998-03-05 1998-03-05
US7695698P 1998-03-05 1998-03-05
US7695798P 1998-03-05 1998-03-05
US7695998P 1998-03-05 1998-03-05
US7695598P 1998-03-05 1998-03-05
US60/076,955 1998-03-05
US60/057,118 1998-03-05
US60/071,371 1998-03-05
US60/057,133 1998-03-05
US60/066,115 1998-03-05
US60/072,390 1998-03-05
US60/057,799 1998-03-05
US60/076,957 1998-03-05
US60/057,163 1998-03-05
US60/057,122 1998-03-05
US08/935,800 1998-03-05
US60/066,418 1998-03-05
US60/070,940 1998-03-05
US60/057,716 1998-03-05
US60/059,358 1998-03-05
US60/066,246 1998-03-05
US60/074,454 1998-03-05
US60/070,939 1998-03-05
US60/057,798 1998-03-05
US60/070,935 1998-03-05
US60/059,543 1998-03-05
US60/066,334 1998-03-05
US60/065,605 1998-03-05
US60/076,959 1998-03-05
US60/076,978 1998-03-05
US60/065,630 1998-03-05
US60/066,245 1998-03-05
US60/066,147 1998-03-05
US60/076,956 1998-03-05
US60/065,629 1998-03-05

Related Parent Applications (1)

Application Number Title Priority Date Filing Date
JP2011136593A Division JP2011180620A (ja) 1997-08-28 2011-06-20 電気泳動ディスプレイおよび材料

Publications (2)

Publication Number Publication Date
JP2015028665A JP2015028665A (ja) 2015-02-12
JP5908048B2 true JP5908048B2 (ja) 2016-04-26

Family

ID=42199910

Family Applications (19)

Application Number Title Priority Date Filing Date
JP2000508029A Expired - Lifetime JP4460150B2 (ja) 1997-08-28 1998-08-27 電気泳動ディスプレイのための新規のアドレッシング方式
JP2005246862A Expired - Lifetime JP4460507B2 (ja) 1997-08-28 2005-08-26 電気泳動ディスプレイおよび材料
JP2005246865A Expired - Lifetime JP4460508B2 (ja) 1997-08-28 2005-08-26 電気泳動ディスプレイのための新規のアドレッシング方式
JP2008335281A Expired - Lifetime JP4940227B2 (ja) 1997-08-28 2008-12-26 電気泳動ディスプレイのための新規のアドレッシング方式
JP2008335279A Withdrawn JP2009139960A (ja) 1997-08-28 2008-12-26 電気泳動ディスプレイのための新規のアドレッシング方式
JP2009016042A Withdrawn JP2009104176A (ja) 1997-08-28 2009-01-27 電気泳動ディスプレイおよび材料
JP2009043203A Expired - Lifetime JP4889129B2 (ja) 1997-08-28 2009-02-25 電気泳動ディスプレイおよび材料
JP2009043204A Withdrawn JP2009116366A (ja) 1997-08-28 2009-02-25 電気泳動ディスプレイおよび材料
JP2011136593A Withdrawn JP2011180620A (ja) 1997-08-28 2011-06-20 電気泳動ディスプレイおよび材料
JP2011249068A Withdrawn JP2012032838A (ja) 1997-08-28 2011-11-14 電気泳動ディスプレイおよび材料
JP2012005037A Withdrawn JP2012068686A (ja) 1997-08-28 2012-01-13 電気泳動ディスプレイのための新規のアドレッシング方式
JP2012005036A Expired - Fee Related JP5560294B2 (ja) 1997-08-28 2012-01-13 電気泳動ディスプレイのための新規のアドレッシング方式
JP2013213484A Pending JP2014006558A (ja) 1997-08-28 2013-10-11 電気泳動ディスプレイのための新規のアドレッシング方式
JP2014092627A Withdrawn JP2014142668A (ja) 1997-08-28 2014-04-28 電気泳動ディスプレイのための新規のアドレッシング方式
JP2014119310A Withdrawn JP2014160284A (ja) 1997-08-28 2014-06-10 電気泳動ディスプレイおよび材料
JP2014119309A Expired - Lifetime JP6076942B2 (ja) 1997-08-28 2014-06-10 電気泳動ディスプレイおよび材料
JP2014223984A Expired - Lifetime JP5908048B2 (ja) 1997-08-28 2014-11-04 電気泳動ディスプレイおよび材料
JP2015195586A Withdrawn JP2015232736A (ja) 1997-08-28 2015-10-01 電気泳動ディスプレイおよび材料
JP2016020613A Withdrawn JP2016103040A (ja) 1997-08-28 2016-02-05 電気泳動ディスプレイのための新規のアドレッシング方式

Family Applications Before (16)

Application Number Title Priority Date Filing Date
JP2000508029A Expired - Lifetime JP4460150B2 (ja) 1997-08-28 1998-08-27 電気泳動ディスプレイのための新規のアドレッシング方式
JP2005246862A Expired - Lifetime JP4460507B2 (ja) 1997-08-28 2005-08-26 電気泳動ディスプレイおよび材料
JP2005246865A Expired - Lifetime JP4460508B2 (ja) 1997-08-28 2005-08-26 電気泳動ディスプレイのための新規のアドレッシング方式
JP2008335281A Expired - Lifetime JP4940227B2 (ja) 1997-08-28 2008-12-26 電気泳動ディスプレイのための新規のアドレッシング方式
JP2008335279A Withdrawn JP2009139960A (ja) 1997-08-28 2008-12-26 電気泳動ディスプレイのための新規のアドレッシング方式
JP2009016042A Withdrawn JP2009104176A (ja) 1997-08-28 2009-01-27 電気泳動ディスプレイおよび材料
JP2009043203A Expired - Lifetime JP4889129B2 (ja) 1997-08-28 2009-02-25 電気泳動ディスプレイおよび材料
JP2009043204A Withdrawn JP2009116366A (ja) 1997-08-28 2009-02-25 電気泳動ディスプレイおよび材料
JP2011136593A Withdrawn JP2011180620A (ja) 1997-08-28 2011-06-20 電気泳動ディスプレイおよび材料
JP2011249068A Withdrawn JP2012032838A (ja) 1997-08-28 2011-11-14 電気泳動ディスプレイおよび材料
JP2012005037A Withdrawn JP2012068686A (ja) 1997-08-28 2012-01-13 電気泳動ディスプレイのための新規のアドレッシング方式
JP2012005036A Expired - Fee Related JP5560294B2 (ja) 1997-08-28 2012-01-13 電気泳動ディスプレイのための新規のアドレッシング方式
JP2013213484A Pending JP2014006558A (ja) 1997-08-28 2013-10-11 電気泳動ディスプレイのための新規のアドレッシング方式
JP2014092627A Withdrawn JP2014142668A (ja) 1997-08-28 2014-04-28 電気泳動ディスプレイのための新規のアドレッシング方式
JP2014119310A Withdrawn JP2014160284A (ja) 1997-08-28 2014-06-10 電気泳動ディスプレイおよび材料
JP2014119309A Expired - Lifetime JP6076942B2 (ja) 1997-08-28 2014-06-10 電気泳動ディスプレイおよび材料

Family Applications After (2)

Application Number Title Priority Date Filing Date
JP2015195586A Withdrawn JP2015232736A (ja) 1997-08-28 2015-10-01 電気泳動ディスプレイおよび材料
JP2016020613A Withdrawn JP2016103040A (ja) 1997-08-28 2016-02-05 電気泳動ディスプレイのための新規のアドレッシング方式

Country Status (4)

Country Link
EP (2) EP1010035B1 (ja)
JP (19) JP4460150B2 (ja)
AT (1) ATE280963T1 (ja)
WO (3) WO1999010767A1 (ja)

Families Citing this family (148)

* Cited by examiner, † Cited by third party
Publication number Priority date Publication date Assignee Title
US7023420B2 (en) 2000-11-29 2006-04-04 E Ink Corporation Electronic display with photo-addressing means
US7167155B1 (en) 1995-07-20 2007-01-23 E Ink Corporation Color electrophoretic displays
US7327511B2 (en) * 2004-03-23 2008-02-05 E Ink Corporation Light modulators
US7193625B2 (en) 1999-04-30 2007-03-20 E Ink Corporation Methods for driving electro-optic displays, and apparatus for use therein
US7071913B2 (en) 1995-07-20 2006-07-04 E Ink Corporation Retroreflective electrophoretic displays and materials for making the same
US6054809A (en) * 1996-08-14 2000-04-25 Add-Vision, Inc. Electroluminescent lamp designs
CA2264609A1 (en) * 1996-08-28 1998-03-05 Add-Vision, Inc. Transportable electroluminescent display system
US6839158B2 (en) 1997-08-28 2005-01-04 E Ink Corporation Encapsulated electrophoretic displays having a monolayer of capsules and materials and methods for making the same
US7075502B1 (en) 1998-04-10 2006-07-11 E Ink Corporation Full color reflective display with multichromatic sub-pixels
EP1557714B1 (en) * 1998-04-10 2013-11-06 E Ink Corporation Full color reflective display with multichromatic sub-pixels
WO1999053373A1 (en) * 1998-04-10 1999-10-21 E-Ink Corporation Full color reflective display with multichromatic sub-pixels
WO1999056171A1 (en) * 1998-04-27 1999-11-04 E-Ink Corporation Shutter mode microencapsulated electrophoretic display
AU4703999A (en) * 1998-06-22 2000-01-10 E-Ink Corporation Means of addressing microencapsulated display media
JP4568429B2 (ja) * 1998-07-08 2010-10-27 イー インク コーポレイション マイクロカプセル化された電気泳動デバイスにおいて改良されたカラーを得る方法
US7256766B2 (en) 1998-08-27 2007-08-14 E Ink Corporation Electrophoretic display comprising optical biasing element
US6924781B1 (en) 1998-09-11 2005-08-02 Visible Tech-Knowledgy, Inc. Smart electronic label employing electronic ink
WO2000016189A1 (en) * 1998-09-11 2000-03-23 Alexander Gelbman Smart electronic label employing electronic ink
US6753830B2 (en) 1998-09-11 2004-06-22 Visible Tech-Knowledgy, Inc. Smart electronic label employing electronic ink
KR100717556B1 (ko) 1998-10-07 2007-05-15 이 잉크 코포레이션 캡슐의 단층을 갖는 캡슐화 전기이동 디스플레이
EP1881400A1 (en) * 1998-11-02 2008-01-23 E-Ink Corporation Display devices made of electronic ink
US6597340B1 (en) * 1999-03-05 2003-07-22 Seiko Epson Corporation Electrophoresis display and its production method
US6380922B1 (en) * 1999-04-16 2002-04-30 The Gillette Company Electronic display
US7038655B2 (en) 1999-05-03 2006-05-02 E Ink Corporation Electrophoretic ink composed of particles with field dependent mobilities
US8009348B2 (en) * 1999-05-03 2011-08-30 E Ink Corporation Machine-readable displays
US7030412B1 (en) 1999-05-05 2006-04-18 E Ink Corporation Minimally-patterned semiconductor devices for display applications
FI19991780A7 (fi) * 1999-08-20 2001-03-14 Nokia Corp Elektroniikkalaitteen kuori
US6337761B1 (en) 1999-10-01 2002-01-08 Lucent Technologies Inc. Electrophoretic display and method of making the same
JP4508322B2 (ja) * 1999-10-22 2010-07-21 キヤノン株式会社 表示装置
US6440252B1 (en) 1999-12-17 2002-08-27 Xerox Corporation Method for rotatable element assembly
US6930818B1 (en) * 2000-03-03 2005-08-16 Sipix Imaging, Inc. Electrophoretic display and novel process for its manufacture
ES2273811T3 (es) 2000-02-14 2007-05-16 THE PROCTER & GAMBLE COMPANY Composiciones acuosas, estables para tratar superficies,especialmente tejidos.
JP4659169B2 (ja) * 2000-02-28 2011-03-30 学校法人東海大学 球体回転表示装置
US6947202B2 (en) 2000-03-03 2005-09-20 Sipix Imaging, Inc. Electrophoretic display with sub relief structure for high contrast ratio and improved shear and/or compression resistance
JP4743810B2 (ja) * 2000-06-05 2011-08-10 株式会社リコー 画像表示媒体
US7236290B1 (en) 2000-07-25 2007-06-26 E Ink Corporation Electrophoretic medium with improved stability
US6847347B1 (en) 2000-08-17 2005-01-25 Xerox Corporation Electromagnetophoretic display system and method
AU2001288943A1 (en) * 2000-09-08 2002-03-22 Cabot Corporation Electrophoretic displays containing modified particles
US6462859B1 (en) 2000-10-04 2002-10-08 3M Innovative Properties Company Electromagnetically responsive particle assembly and methods and articles for manufacture and use
US6897848B2 (en) 2001-01-11 2005-05-24 Xerox Corporation Rotating element sheet material and stylus with gradient field addressing
EP1461802A4 (en) * 2001-02-07 2008-10-01 Visible Tech Knowledgy Llc INTELLIGENT ELECTRONIC LABEL WITH ELECTRONIC DYE
KR100824249B1 (ko) * 2001-04-02 2008-04-24 이 잉크 코포레이션 화상 안정도가 개선된 전기영동 매체를 포함하는 전기영동 디스플레이
WO2002093245A1 (en) * 2001-05-15 2002-11-21 E Ink Corporation Electrophoretic displays containing magnetic particles
US6982178B2 (en) * 2002-06-10 2006-01-03 E Ink Corporation Components and methods for use in electro-optic displays
AU2002354672A1 (en) * 2001-07-09 2003-01-29 E Ink Corporation Electro-optical display having a lamination adhesive layer
US6967640B2 (en) 2001-07-27 2005-11-22 E Ink Corporation Microencapsulated electrophoretic display with integrated driver
US20030058223A1 (en) * 2001-09-21 2003-03-27 Tracy James L. Adaptable keypad and button mechanism therefor
JP4674019B2 (ja) * 2001-09-28 2011-04-20 株式会社リコー 画像表示媒体及びそれを有する画像表示装置
US7202847B2 (en) 2002-06-28 2007-04-10 E Ink Corporation Voltage modulated driver circuits for electro-optic displays
US6885032B2 (en) 2001-11-21 2005-04-26 Visible Tech-Knowledgy, Inc. Display assembly having flexible transistors on a flexible substrate
AU2002357842A1 (en) 2001-12-13 2003-06-23 E Ink Corporation Electrophoretic electronic displays with films having a low index of refraction
US6900851B2 (en) 2002-02-08 2005-05-31 E Ink Corporation Electro-optic displays and optical systems for addressing such displays
US7382514B2 (en) 2002-02-11 2008-06-03 Sipix Imaging, Inc. Core-shell particles for electrophoretic display
AU2003202761A1 (en) * 2002-02-19 2003-09-09 Koninklijke Philips Electronics N.V. Electrophoretic display device
WO2004006006A1 (ja) * 2002-07-09 2004-01-15 Bridgestone Corporation 画像表示装置
EP1573389B1 (en) * 2002-12-16 2018-05-30 E Ink Corporation Backplanes for electro-optic displays
AU2003288678A1 (en) 2003-01-17 2004-08-13 Koninklijke Philips Electronics N.V. Electrophoretic display
JP2004333864A (ja) 2003-05-07 2004-11-25 Canon Inc 電気泳動表示装置
EP1697811B2 (en) 2003-09-03 2021-02-24 Visible Tech-Knowledgy, Inc. Electronically updateable label and display
US7927706B2 (en) 2003-12-17 2011-04-19 Solutia Inc. Multiple layer glass panels having adjustable tint
DE102004019340A1 (de) * 2004-04-21 2005-03-17 Siemens Ag Verfahren sowie Anordnung zur Darstellung von personalisierten Informationen auf Kleidungsstücken
US20060028430A1 (en) * 2004-06-21 2006-02-09 Franz Harary Video device integratable with jacket, pants, belt, badge and other clothing and accessories and methods of use thereof
US11250794B2 (en) 2004-07-27 2022-02-15 E Ink Corporation Methods for driving electrophoretic displays using dielectrophoretic forces
US20080136774A1 (en) * 2004-07-27 2008-06-12 E Ink Corporation Methods for driving electrophoretic displays using dielectrophoretic forces
JP4096315B2 (ja) 2004-08-04 2008-06-04 セイコーエプソン株式会社 表示システム
JP2006209103A (ja) * 2004-12-28 2006-08-10 Bridgestone Corp 情報表示用パネルおよび情報表示装置
WO2006126120A1 (en) * 2005-05-27 2006-11-30 Koninklijke Philips Electronics N.V. Robust multi particle system for color electrophoretic displays with very low driving voltages comprising a low amount of electrolytes
DE102005031448A1 (de) * 2005-07-04 2007-01-11 Polyic Gmbh & Co. Kg Aktivierbare optische Schicht
CN100397228C (zh) * 2005-12-01 2008-06-25 北京化工大学 一种用于电子墨水的黑白电泳显示液的制备方法
US7417787B2 (en) * 2006-05-19 2008-08-26 Xerox Corporation Electrophoretic display device
KR20070112943A (ko) * 2006-05-24 2007-11-28 엘지.필립스 엘시디 주식회사 전자잉크 패널과 이를 구비한 전자잉크 표시장치 및 그의구동방법
US8018640B2 (en) * 2006-07-13 2011-09-13 E Ink Corporation Particles for use in electrophoretic displays
US7903083B2 (en) 2006-11-13 2011-03-08 Motorola Mobility, Inc. Mixed-mode encapsulated electrophoretic display for electronic device
JP2008149018A (ja) * 2006-12-19 2008-07-03 Daiman:Kk 遊技機
KR20090110896A (ko) * 2007-02-12 2009-10-23 코닌클리케 필립스 일렉트로닉스 엔.브이. 표지 시스템
WO2008099294A1 (en) * 2007-02-12 2008-08-21 Koninklijke Philips Electronics N.V. Textile product
EP2122453A1 (en) * 2007-02-12 2009-11-25 Koninklijke Philips Electronics N.V. Signage system
US20080239644A1 (en) * 2007-03-21 2008-10-02 Michael Cassidy Display systems manufactured by co-manufacturing printing processes
EP2487551A3 (en) 2007-03-30 2013-01-09 Nike International Ltd. RFID Triggered Personal Athletic Device
JP5169029B2 (ja) 2007-06-05 2013-03-27 富士ゼロックス株式会社 画像表示媒体、画像表示装置、及び画像表示プログラム
US8334425B2 (en) 2007-06-27 2012-12-18 Kimberly-Clark Worldwide, Inc. Interactive garment printing for enhanced functionality of absorbent articles
JP5083095B2 (ja) 2007-08-10 2012-11-28 富士ゼロックス株式会社 画像表示媒体及び画像表示装置
KR101313812B1 (ko) 2007-09-07 2013-09-30 삼성전자주식회사 액체막 형성방법, 이를 이용한 나노입자 배열방법 및 액체박막 기판
JP5320724B2 (ja) * 2007-11-06 2013-10-23 セイコーエプソン株式会社 電気泳動表示シート、電気泳動表示装置および電子機器
JP4631903B2 (ja) 2007-12-14 2011-02-16 富士ゼロックス株式会社 画像表示媒体、画像表示媒体の駆動装置、及び画像表示装置
JP5217410B2 (ja) * 2007-12-17 2013-06-19 富士ゼロックス株式会社 駆動装置、及び画像表示装置
JP5504632B2 (ja) * 2008-03-05 2014-05-28 セイコーエプソン株式会社 電気泳動装置、電気泳動装置の駆動方法、電子機器
DE102008026216B4 (de) 2008-05-30 2010-07-29 Polyic Gmbh & Co. Kg Elektronische Schaltung
US20100177080A1 (en) * 2009-01-13 2010-07-15 Metrologic Instruments, Inc. Electronic-ink signage device employing thermal packaging for outdoor weather applications
WO2010089057A2 (en) 2009-02-09 2010-08-12 Merck Patent Gmbh Particles for electrophoretic displays
CN102300885A (zh) * 2009-02-09 2011-12-28 默克专利有限公司 用于电泳显示器的有色颗粒
JP2012517487A (ja) 2009-02-09 2012-08-02 メルク パテント ゲゼルシャフト ミット ベシュレンクテル ハフツング 電気泳動ディスプレイのための粒子
EP2393850A1 (en) 2009-02-09 2011-12-14 Merck Patent GmbH Coloured particles for electrophoretic displays
ES2361548B1 (es) * 2009-10-06 2012-04-23 Viva Developments, S.L Dispositivo para la presentacion digital de la carga electrica almacenada en dispositivos de almacenamiento de energia electrica
EP2577392B1 (en) 2010-06-07 2019-06-26 Merck Patent GmbH Coloured polymer particles
JP5434804B2 (ja) 2010-06-07 2014-03-05 富士ゼロックス株式会社 表示媒体の駆動装置、駆動プログラム、及び表示装置
KR20130087005A (ko) 2010-06-07 2013-08-05 메르크 파텐트 게엠베하 백색 반사 중합체 입자
JP5423603B2 (ja) * 2010-07-26 2014-02-19 日立化成株式会社 懸濁粒子装置及びその駆動方法
US9487611B2 (en) 2010-08-07 2016-11-08 Merck Patent Gmbh Particles for electrophoretic displays
EP2646487B1 (en) 2010-11-30 2020-05-27 Merck Patent GmbH Particles for electrophoretic displays
US9128192B2 (en) * 2011-02-02 2015-09-08 The United States Of America As Represented By The Secretary Of The Navy Apparatus systems and methods of sensing chemical bio-chemical and radiological agents using electrophoretic displays
US20140084216A1 (en) 2011-05-09 2014-03-27 Merck Patent Gmbh Particles for electrophoretic displays
EP2707457B1 (en) 2011-05-09 2015-06-24 Merck Patent GmbH Reactive mesogen based polymer particles
US9176530B2 (en) 2011-08-17 2015-11-03 Apple Inc. Bi-stable spring with flexible display
US9151871B2 (en) 2011-08-24 2015-10-06 Merck Patent Gmbh Coloured polymer particles
WO2013079146A1 (en) 2011-11-30 2013-06-06 Merck Patent Gmbh Particles for electrophoretic displays
WO2013079158A1 (en) 2011-11-30 2013-06-06 Merck Patent Gmbh Electrophoretic fluids
EP2834705B1 (en) 2012-04-04 2018-12-05 Merck Patent GmbH Particles for electrophoretic displays comprising a core and a random-copolymer coating
US20150126680A1 (en) 2012-05-14 2015-05-07 Merck Patent Gmbh Particles for electrophoretic displays
US9494808B2 (en) 2012-05-14 2016-11-15 Merck Patent Gmbh Particles for electrophoretic displays
WO2013170933A1 (en) 2012-05-14 2013-11-21 Merck Patent Gmbh Particles for electrophoretic displays
US9645416B2 (en) 2012-05-14 2017-05-09 Merck Patent Gmbh Particles for electrophoretic displays
US9651846B2 (en) 2012-05-14 2017-05-16 Merck Patent Gmbh Particles for electrophoretic displays
EP2850489B1 (en) 2012-05-14 2016-11-09 Merck Patent GmbH Particles for electrophoretic displays
WO2013170936A1 (en) 2012-05-14 2013-11-21 Merck Patent Gmbh Particles for electrophoretic displays
US10048562B2 (en) 2012-06-22 2018-08-14 Merck Patent Gmbh Electrophoretic fluid
WO2014019651A1 (en) 2012-08-01 2014-02-06 Merck Patent Gmbh Electrophoretic fluids
US10007165B2 (en) 2012-08-01 2018-06-26 Merck Patent Gmbh Electrophoretic fluids
WO2014030338A1 (ja) 2012-08-22 2014-02-27 凸版印刷株式会社 電気泳動表示基板及びその検査方法並びに電気泳動表示装置
GB2508588A (en) * 2012-11-30 2014-06-11 Owen Mumford Ltd Medical delivery device comprising mechanical-electrical transducer
DE102013102066A1 (de) * 2013-03-01 2014-09-04 Christian Senninger Etikett, Anzeigevorrichtung und Verfahren zum Herstellen einer Anzeigevorrichtung zur Integration in ein graphisches Druckerzeugnis
JP2015018209A (ja) * 2013-04-12 2015-01-29 株式会社リコー 記録媒体、画像記録装置、画像記録セット
EP2984114B1 (en) 2013-04-12 2017-03-15 Merck Patent GmbH Particles for electrophoretic displays
JP6185755B2 (ja) * 2013-05-24 2017-08-23 株式会社ミマキエンジニアリング 印刷装置、印刷方法、及びインクセット
JP2015018210A (ja) * 2013-06-11 2015-01-29 株式会社リコー 記録媒体、画像記録装置、画像記録セット
US10308744B2 (en) 2013-06-12 2019-06-04 Merck Patent Gmbh Particles for electrophoretic displays
US10106686B2 (en) 2013-06-12 2018-10-23 Merck Patent Gmbh Particles for electrophoretic displays
EP3060960B1 (en) 2013-10-22 2018-12-05 Vlyte Innovations Limited A wide operating temperature range electrophoretic device
EP3077461B1 (en) 2013-12-02 2021-07-07 Merck Patent GmbH Process for the preparation of dispersed coloured or black particles
KR102278136B1 (ko) 2013-12-02 2021-07-19 메르크 파텐트 게엠베하 흑색 중합체 입자
EP3083834B1 (en) 2013-12-19 2018-05-30 Merck Patent GmbH Electrophoretic fluid
CN107108818B (zh) 2014-12-19 2021-01-01 默克专利股份有限公司 用于电泳显示器的颗粒
EP3234022B1 (en) 2014-12-19 2020-01-29 Merck Patent GmbH Particles for electrophoretic displays
JP6891117B2 (ja) 2014-12-19 2021-06-18 メルク パテント ゲゼルシャフト ミット ベシュレンクテル ハフツングMerck Patent Gesellschaft mit beschraenkter Haftung 電気泳動ディスプレイのための粒子
US20170017133A1 (en) * 2015-07-15 2017-01-19 Microsoft Technology Licensing, Llc Electronic paper display device
WO2017040609A1 (en) * 2015-08-31 2017-03-09 E Ink Corporation Electronically erasing a drawing device
JP2016026328A (ja) * 2015-10-30 2016-02-12 株式会社半導体エネルギー研究所 電気泳動表示装置
US10254620B1 (en) 2016-03-08 2019-04-09 E Ink Corporation Encapsulated photoelectrophoretic display
WO2018232099A1 (en) * 2017-06-16 2018-12-20 E Ink Corporation Electro-optic media including encapsulated pigments in gelatin binder
KR102462276B1 (ko) 2017-06-16 2022-11-01 이 잉크 코포레이션 가변 투과 전기영동 디바이스들
US10921676B2 (en) 2017-08-30 2021-02-16 E Ink Corporation Electrophoretic medium
CN111131761B (zh) * 2018-10-30 2022-03-25 杭州海康威视数字技术股份有限公司 分布式拼接显示系统和数据传输方法
WO2021037951A1 (en) 2019-08-29 2021-03-04 Merck Patent Gmbh Electrophoretic fluid
GB201914105D0 (en) 2019-09-30 2019-11-13 Vlyte Innovations Ltd A see-through electrophoretic device having a visible grid
CN114641723A (zh) * 2019-11-14 2022-06-17 伊英克公司 包括带相反电荷的粒子的电光介质以及包含该电光介质的可变透射装置
KR102757069B1 (ko) 2020-02-17 2025-01-20 삼성디스플레이 주식회사 잉크젯 프린팅 장치, 이를 이용한 잉크젯 헤드의 검사 방법
CN115210500A (zh) * 2020-03-17 2022-10-18 昕诺飞控股有限公司 人造天窗设备
WO2022234518A1 (en) * 2021-05-05 2022-11-10 Halion Displays Inc. Electrophoretic display devices
CN113960456B (zh) * 2021-12-20 2022-03-29 深圳市永达电子信息股份有限公司 电路接口微损伤自动检测方法

Family Cites Families (40)

* Cited by examiner, † Cited by third party
Publication number Priority date Publication date Assignee Title
NL285527A (ja) * 1961-11-15
JPS4933557B1 (ja) * 1969-06-12 1974-09-07
JPS5015356B1 (ja) * 1969-06-12 1975-06-04
JPS4840093B1 (ja) * 1969-10-18 1973-11-28
US3792308A (en) * 1970-06-08 1974-02-12 Matsushita Electric Industrial Co Ltd Electrophoretic display device of the luminescent type
JPS5126496A (ja) * 1974-08-29 1976-03-04 Matsushita Electric Industrial Co Ltd
JPS5310437B2 (ja) * 1974-10-05 1978-04-13
JPS5596922A (en) * 1979-01-19 1980-07-23 Sharp Corp Liquid crystal display element
US4419663A (en) * 1979-03-14 1983-12-06 Matsushita Electric Industrial Co., Ltd. Display device
US4305807A (en) * 1980-03-13 1981-12-15 Burroughs Corporation Electrophoretic display device using a liquid crystal as a threshold device
EP0072827A1 (en) * 1981-02-24 1983-03-02 Sa Patscentre Benelux Nv Display device
JPS6350886A (ja) * 1986-08-21 1988-03-03 株式会社リコー 電気泳動表示素子
JP2551783B2 (ja) * 1987-09-29 1996-11-06 エヌオーケー株式会社 電気泳動表示装置
US4814429A (en) * 1987-12-22 1989-03-21 General Electric Company Method for preparing cyclic polycarbonate oligomers
JPH01267525A (ja) * 1988-04-19 1989-10-25 Toyota Motor Corp 電気泳動表示素子
JPH0345530U (ja) * 1989-09-13 1991-04-26
JPH04324842A (ja) * 1991-04-25 1992-11-13 Tonen Corp エレクトロクロミック素子
US5375044A (en) * 1991-05-13 1994-12-20 Guritz; Steven P. W. Multipurpose optical display for articulating surfaces
JPH05228002A (ja) * 1991-07-12 1993-09-07 Jonathan C Mott 衝撃に応答する靴、及び衝撃に応答して光又は音を放出する物
JPH0535152A (ja) * 1991-08-01 1993-02-12 Seiko Epson Corp 電気泳動影像装置
JP3211276B2 (ja) * 1991-08-29 2001-09-25 セイコーエプソン株式会社 表示装置
WO1993012607A1 (fr) * 1991-12-13 1993-06-24 Kabushiki Kaisha Ace Denken Bloc-notes electronique
US5298833A (en) * 1992-06-22 1994-03-29 Copytele, Inc. Black electrophoretic particles for an electrophoretic image display
JPH06202168A (ja) * 1992-12-28 1994-07-22 Nippon Mektron Ltd 電気泳動表示装置
JPH06266309A (ja) * 1993-03-15 1994-09-22 Nippon Mektron Ltd 電気泳動マトリクス表示装置
JPH0736020A (ja) * 1993-07-19 1995-02-07 Toray Ind Inc 光学素子および表示板
JPH0764122A (ja) * 1993-08-23 1995-03-10 Toray Ind Inc 静電駆動装置、光学素子および表示板
EP0651602B1 (en) * 1993-10-29 1999-04-07 Matsushita Electric Industrial Co., Ltd. Conductive paste compound for via hole filling, printed circuit board which uses the conductive paste, and method of manufacturing the same
JPH08297470A (ja) * 1995-02-27 1996-11-12 Chemitec Kk マイクロカプセル磁気表示板及びその製造方法
JPH0916116A (ja) * 1995-06-26 1997-01-17 Nok Corp 電気泳動表示装置
JPH0931453A (ja) * 1995-07-18 1997-02-04 Fuji Photo Film Co Ltd マイクロカプセルとそれを用いた要素
US6124851A (en) * 1995-07-20 2000-09-26 E Ink Corporation Electronic book with multiple page displays
JPH0990887A (ja) * 1995-09-26 1997-04-04 Toppan Printing Co Ltd 磁気記録体及び磁気記録体の記録消去方法並びに磁気記録体の記録消去装置
US5582700A (en) * 1995-10-16 1996-12-10 Zikon Corporation Electrophoretic display utilizing phase separation of liquids
JPH09230391A (ja) * 1996-02-26 1997-09-05 Fujikura Ltd 電界配列性粒子の再分散方法
US5786875A (en) * 1996-03-15 1998-07-28 Brader; Lawrence Allen Thermal liquid crystal display using thermoelectric link
US5930026A (en) * 1996-10-25 1999-07-27 Massachusetts Institute Of Technology Nonemissive displays and piezoelectric power supplies therefor
US5961804A (en) * 1997-03-18 1999-10-05 Massachusetts Institute Of Technology Microencapsulated electrophoretic display
US6980196B1 (en) * 1997-03-18 2005-12-27 Massachusetts Institute Of Technology Printable electronic display
JP4460149B2 (ja) * 1997-08-28 2010-05-12 イー インク コーポレイション 電気泳動ディスプレイおよび材料

Also Published As

Publication number Publication date
JP2009116366A (ja) 2009-05-28
JP5560294B2 (ja) 2014-07-23
JP2012068686A (ja) 2012-04-05
JP2012032838A (ja) 2012-02-16
JP2014006558A (ja) 2014-01-16
EP1010037B1 (en) 2003-05-07
WO1999010768A1 (en) 1999-03-04
ATE280963T1 (de) 2004-11-15
JP2014160284A (ja) 2014-09-04
JP2011180620A (ja) 2011-09-15
JP2009116365A (ja) 2009-05-28
JP2016103040A (ja) 2016-06-02
JP2015028665A (ja) 2015-02-12
JP4460508B2 (ja) 2010-05-12
EP1010035A1 (en) 2000-06-21
JP2014142668A (ja) 2014-08-07
EP1010037A1 (en) 2000-06-21
JP2009104176A (ja) 2009-05-14
JP6076942B2 (ja) 2017-02-08
JP2009086687A (ja) 2009-04-23
JP2009139960A (ja) 2009-06-25
JP2014160283A (ja) 2014-09-04
JP4460150B2 (ja) 2010-05-12
JP2012078874A (ja) 2012-04-19
WO1999010767A1 (en) 1999-03-04
WO1999010769A1 (en) 1999-03-04
JP2006011483A (ja) 2006-01-12
EP1010035B1 (en) 2004-10-27
JP4940227B2 (ja) 2012-05-30
JP2015232736A (ja) 2015-12-24
JP4889129B2 (ja) 2012-03-07
JP2006058901A (ja) 2006-03-02
JP4460507B2 (ja) 2010-05-12
JP2002504696A (ja) 2002-02-12

Similar Documents

Publication Publication Date Title
JP5908048B2 (ja) 電気泳動ディスプレイおよび材料
US7071913B2 (en) Retroreflective electrophoretic displays and materials for making the same
US7109968B2 (en) Non-spherical cavity electrophoretic displays and methods and materials for making the same
US6249271B1 (en) Retroreflective electrophoretic displays and materials for making the same
US6120839A (en) Electro-osmotic displays and materials for making the same
US6515649B1 (en) Suspended particle displays and materials for making the same
US6017584A (en) Multi-color electrophoretic displays and materials for making the same
US6727881B1 (en) Encapsulated electrophoretic displays and methods and materials for making the same
US6262706B1 (en) Retroreflective electrophoretic displays and materials for making the same
US6392785B1 (en) Non-spherical cavity electrophoretic displays and materials for making the same
US6300932B1 (en) Electrophoretic displays with luminescent particles and materials for making the same
JP2009116366A6 (ja) 電気泳動ディスプレイおよび材料
JP2009116365A6 (ja) 電気泳動ディスプレイおよび材料
JP2009104176A6 (ja) 電気泳動ディスプレイおよび材料
US6392786B1 (en) Electrophoretic medium provided with spacers
US7242513B2 (en) Encapsulated electrophoretic displays having a monolayer of capsules and materials and methods for making the same
US6839158B2 (en) Encapsulated electrophoretic displays having a monolayer of capsules and materials and methods for making the same
CA2345619C (en) Encapsulated electrophoretic displays having a monolayer of capsules
JP4460149B2 (ja) 電気泳動ディスプレイおよび材料
EP1010036B1 (en) Electrophoretic displays and materials
CA2300830C (en) Electrophoretic displays and materials

Legal Events

Date Code Title Description
A621 Written request for application examination

Free format text: JAPANESE INTERMEDIATE CODE: A621

Effective date: 20141104

A131 Notification of reasons for refusal

Free format text: JAPANESE INTERMEDIATE CODE: A131

Effective date: 20151021

A601 Written request for extension of time

Free format text: JAPANESE INTERMEDIATE CODE: A601

Effective date: 20160120

A521 Request for written amendment filed

Free format text: JAPANESE INTERMEDIATE CODE: A523

Effective date: 20160210

TRDD Decision of grant or rejection written
A01 Written decision to grant a patent or to grant a registration (utility model)

Free format text: JAPANESE INTERMEDIATE CODE: A01

Effective date: 20160225

A61 First payment of annual fees (during grant procedure)

Free format text: JAPANESE INTERMEDIATE CODE: A61

Effective date: 20160322

R150 Certificate of patent or registration of utility model

Ref document number: 5908048

Country of ref document: JP

Free format text: JAPANESE INTERMEDIATE CODE: R150

EXPY Cancellation because of completion of term