JP5779028B2 - ヘッドランプの配光制御手段 - Google Patents

ヘッドランプの配光制御手段 Download PDF

Info

Publication number
JP5779028B2
JP5779028B2 JP2011163225A JP2011163225A JP5779028B2 JP 5779028 B2 JP5779028 B2 JP 5779028B2 JP 2011163225 A JP2011163225 A JP 2011163225A JP 2011163225 A JP2011163225 A JP 2011163225A JP 5779028 B2 JP5779028 B2 JP 5779028B2
Authority
JP
Japan
Prior art keywords
vehicle
light distribution
oncoming vehicle
light
oncoming
Prior art date
Legal status (The legal status is an assumption and is not a legal conclusion. Google has not performed a legal analysis and makes no representation as to the accuracy of the status listed.)
Expired - Fee Related
Application number
JP2011163225A
Other languages
English (en)
Other versions
JP2013023182A (ja
Inventor
正自 小林
正自 小林
Current Assignee (The listed assignees may be inaccurate. Google has not performed a legal analysis and makes no representation or warranty as to the accuracy of the list.)
Koito Manufacturing Co Ltd
Original Assignee
Koito Manufacturing Co Ltd
Priority date (The priority date is an assumption and is not a legal conclusion. Google has not performed a legal analysis and makes no representation as to the accuracy of the date listed.)
Filing date
Publication date
Application filed by Koito Manufacturing Co Ltd filed Critical Koito Manufacturing Co Ltd
Priority to JP2011163225A priority Critical patent/JP5779028B2/ja
Priority to CN201210252460.4A priority patent/CN102897083B/zh
Priority to EP12177889.8A priority patent/EP2551155B1/en
Publication of JP2013023182A publication Critical patent/JP2013023182A/ja
Application granted granted Critical
Publication of JP5779028B2 publication Critical patent/JP5779028B2/ja
Expired - Fee Related legal-status Critical Current
Anticipated expiration legal-status Critical

Links

Images

Classifications

    • BPERFORMING OPERATIONS; TRANSPORTING
    • B60VEHICLES IN GENERAL
    • B60QARRANGEMENT OF SIGNALLING OR LIGHTING DEVICES, THE MOUNTING OR SUPPORTING THEREOF OR CIRCUITS THEREFOR, FOR VEHICLES IN GENERAL
    • B60Q1/00Arrangement of optical signalling or lighting devices, the mounting or supporting thereof or circuits therefor
    • B60Q1/02Arrangement of optical signalling or lighting devices, the mounting or supporting thereof or circuits therefor the devices being primarily intended to illuminate the way ahead or to illuminate other areas of way or environments
    • B60Q1/04Arrangement of optical signalling or lighting devices, the mounting or supporting thereof or circuits therefor the devices being primarily intended to illuminate the way ahead or to illuminate other areas of way or environments the devices being headlights
    • B60Q1/14Arrangement of optical signalling or lighting devices, the mounting or supporting thereof or circuits therefor the devices being primarily intended to illuminate the way ahead or to illuminate other areas of way or environments the devices being headlights having dimming means
    • B60Q1/1415Dimming circuits
    • B60Q1/1423Automatic dimming circuits, i.e. switching between high beam and low beam due to change of ambient light or light level in road traffic
    • B60Q1/143Automatic dimming circuits, i.e. switching between high beam and low beam due to change of ambient light or light level in road traffic combined with another condition, e.g. using vehicle recognition from camera images or activation of wipers
    • FMECHANICAL ENGINEERING; LIGHTING; HEATING; WEAPONS; BLASTING
    • F21LIGHTING
    • F21SNON-PORTABLE LIGHTING DEVICES; SYSTEMS THEREOF; VEHICLE LIGHTING DEVICES SPECIALLY ADAPTED FOR VEHICLE EXTERIORS
    • F21S41/00Illuminating devices specially adapted for vehicle exteriors, e.g. headlamps
    • F21S41/10Illuminating devices specially adapted for vehicle exteriors, e.g. headlamps characterised by the light source
    • F21S41/14Illuminating devices specially adapted for vehicle exteriors, e.g. headlamps characterised by the light source characterised by the type of light source
    • F21S41/141Light emitting diodes [LED]
    • F21S41/143Light emitting diodes [LED] the main emission direction of the LED being parallel to the optical axis of the illuminating device
    • FMECHANICAL ENGINEERING; LIGHTING; HEATING; WEAPONS; BLASTING
    • F21LIGHTING
    • F21SNON-PORTABLE LIGHTING DEVICES; SYSTEMS THEREOF; VEHICLE LIGHTING DEVICES SPECIALLY ADAPTED FOR VEHICLE EXTERIORS
    • F21S41/00Illuminating devices specially adapted for vehicle exteriors, e.g. headlamps
    • F21S41/10Illuminating devices specially adapted for vehicle exteriors, e.g. headlamps characterised by the light source
    • F21S41/14Illuminating devices specially adapted for vehicle exteriors, e.g. headlamps characterised by the light source characterised by the type of light source
    • F21S41/141Light emitting diodes [LED]
    • F21S41/147Light emitting diodes [LED] the main emission direction of the LED being angled to the optical axis of the illuminating device
    • F21S41/148Light emitting diodes [LED] the main emission direction of the LED being angled to the optical axis of the illuminating device the main emission direction of the LED being perpendicular to the optical axis
    • FMECHANICAL ENGINEERING; LIGHTING; HEATING; WEAPONS; BLASTING
    • F21LIGHTING
    • F21SNON-PORTABLE LIGHTING DEVICES; SYSTEMS THEREOF; VEHICLE LIGHTING DEVICES SPECIALLY ADAPTED FOR VEHICLE EXTERIORS
    • F21S41/00Illuminating devices specially adapted for vehicle exteriors, e.g. headlamps
    • F21S41/60Illuminating devices specially adapted for vehicle exteriors, e.g. headlamps characterised by a variable light distribution
    • F21S41/63Illuminating devices specially adapted for vehicle exteriors, e.g. headlamps characterised by a variable light distribution by acting on refractors, filters or transparent cover plates
    • F21S41/64Illuminating devices specially adapted for vehicle exteriors, e.g. headlamps characterised by a variable light distribution by acting on refractors, filters or transparent cover plates by changing their light transmissivity, e.g. by liquid crystal or electrochromic devices
    • F21S41/645Illuminating devices specially adapted for vehicle exteriors, e.g. headlamps characterised by a variable light distribution by acting on refractors, filters or transparent cover plates by changing their light transmissivity, e.g. by liquid crystal or electrochromic devices by electro-optic means, e.g. liquid crystal or electrochromic devices
    • FMECHANICAL ENGINEERING; LIGHTING; HEATING; WEAPONS; BLASTING
    • F21LIGHTING
    • F21SNON-PORTABLE LIGHTING DEVICES; SYSTEMS THEREOF; VEHICLE LIGHTING DEVICES SPECIALLY ADAPTED FOR VEHICLE EXTERIORS
    • F21S41/00Illuminating devices specially adapted for vehicle exteriors, e.g. headlamps
    • F21S41/60Illuminating devices specially adapted for vehicle exteriors, e.g. headlamps characterised by a variable light distribution
    • F21S41/65Illuminating devices specially adapted for vehicle exteriors, e.g. headlamps characterised by a variable light distribution by acting on light sources
    • F21S41/657Illuminating devices specially adapted for vehicle exteriors, e.g. headlamps characterised by a variable light distribution by acting on light sources by moving light sources
    • FMECHANICAL ENGINEERING; LIGHTING; HEATING; WEAPONS; BLASTING
    • F21LIGHTING
    • F21SNON-PORTABLE LIGHTING DEVICES; SYSTEMS THEREOF; VEHICLE LIGHTING DEVICES SPECIALLY ADAPTED FOR VEHICLE EXTERIORS
    • F21S41/00Illuminating devices specially adapted for vehicle exteriors, e.g. headlamps
    • F21S41/60Illuminating devices specially adapted for vehicle exteriors, e.g. headlamps characterised by a variable light distribution
    • F21S41/67Illuminating devices specially adapted for vehicle exteriors, e.g. headlamps characterised by a variable light distribution by acting on reflectors
    • F21S41/675Illuminating devices specially adapted for vehicle exteriors, e.g. headlamps characterised by a variable light distribution by acting on reflectors by moving reflectors
    • BPERFORMING OPERATIONS; TRANSPORTING
    • B60VEHICLES IN GENERAL
    • B60QARRANGEMENT OF SIGNALLING OR LIGHTING DEVICES, THE MOUNTING OR SUPPORTING THEREOF OR CIRCUITS THEREFOR, FOR VEHICLES IN GENERAL
    • B60Q2300/00Indexing codes for automatically adjustable headlamps or automatically dimmable headlamps
    • B60Q2300/05Special features for controlling or switching of the light beam
    • B60Q2300/056Special anti-blinding beams, e.g. a standard beam is chopped or moved in order not to blind
    • BPERFORMING OPERATIONS; TRANSPORTING
    • B60VEHICLES IN GENERAL
    • B60QARRANGEMENT OF SIGNALLING OR LIGHTING DEVICES, THE MOUNTING OR SUPPORTING THEREOF OR CIRCUITS THEREFOR, FOR VEHICLES IN GENERAL
    • B60Q2300/00Indexing codes for automatically adjustable headlamps or automatically dimmable headlamps
    • B60Q2300/40Indexing codes relating to other road users or special conditions
    • B60Q2300/41Indexing codes relating to other road users or special conditions preceding vehicle
    • BPERFORMING OPERATIONS; TRANSPORTING
    • B60VEHICLES IN GENERAL
    • B60QARRANGEMENT OF SIGNALLING OR LIGHTING DEVICES, THE MOUNTING OR SUPPORTING THEREOF OR CIRCUITS THEREFOR, FOR VEHICLES IN GENERAL
    • B60Q2300/00Indexing codes for automatically adjustable headlamps or automatically dimmable headlamps
    • B60Q2300/40Indexing codes relating to other road users or special conditions
    • B60Q2300/42Indexing codes relating to other road users or special conditions oncoming vehicle
    • BPERFORMING OPERATIONS; TRANSPORTING
    • B60VEHICLES IN GENERAL
    • B60QARRANGEMENT OF SIGNALLING OR LIGHTING DEVICES, THE MOUNTING OR SUPPORTING THEREOF OR CIRCUITS THEREFOR, FOR VEHICLES IN GENERAL
    • B60Q2300/00Indexing codes for automatically adjustable headlamps or automatically dimmable headlamps
    • B60Q2300/40Indexing codes relating to other road users or special conditions
    • B60Q2300/45Special conditions, e.g. pedestrians, road signs or potential dangers

Landscapes

  • Engineering & Computer Science (AREA)
  • General Engineering & Computer Science (AREA)
  • Physics & Mathematics (AREA)
  • Microelectronics & Electronic Packaging (AREA)
  • Optics & Photonics (AREA)
  • Mechanical Engineering (AREA)
  • Chemical & Material Sciences (AREA)
  • Crystallography & Structural Chemistry (AREA)
  • Lighting Device Outwards From Vehicle And Optical Signal (AREA)

Description

本発明は、車両用前照灯の配光を制御して異なる配光パターンを生成する配光制御手段に関する。
対向車線を有する道路上を車で走行する際には、通常は前照灯を下向きに照射するロービームにより走行し、必要に応じて、例えば、夜間など前方遠側に、より視界が必要な場合に、前照灯を上向きに照射するハイビームにより走行するのが一般的である。
しかしながら、ハイビームによって対向車線側のカットオフラインよりも上側の領域にビームを照射した場合には、すれ違う際に対向車両の運転者にグレア(眩惑)を与えて視認を妨げてしまうという問題がある。
このグレアの問題を解決するため、近年、自動車のヘッドランプの配光制御システムとして、すれ違い時に対向車両の運転者に眩惑を与えないように、対向車両に照射されるビームを遮光することが可能なADB(Adaptive Driving Beam)と呼ばれる技術、更にその変形として液晶素子やMEMS素子、LEDアレイを使用して、車両前方のスクリーン上の領域(ゾーン)毎に配光を制御するAZB(Adaptive Zone Beaming)と呼ばれる技術が提案されている。
例えば、特許文献1(特開2009−218155号公報)には、水平方向に一列に設けられた複数の発光素子を備えて、各発光素子の発光の有無や光量を制御することにより多様な配光パターンを形成可能な車両用前照灯装置が開示されている。
かかる車両用前照灯装置は、運転者が確認しにくくなる車両前方の領域の発生を抑制しつつ、前走車や歩行者に与える眩惑(グレア)を抑制するために、車両に搭載したカメラ等により撮像した画像データに基づいて対向車の位置を特定し、対向車が存在すると推定される車両前方領域の位置を遮光し、或いは光量を低下させるように発光素子を制御している。
これによれば、すれ違い時においてもロービームに切り替えることなく対向車へのグレアを防止できるため、夜間においてもロービームを上回る路面照射性能を維持したまま走行することができ、特に対向車線側の路肩に存在する歩行者や小動物の視認性において高い効果を発揮している。
特開2009−218155号公報
しかしながら、特許文献1に記載されているような従来の配光制御には、以下のような問題点があった。
従来のADB技術では、ハイビームで走行中に対向車両とすれ違う際、対向車両を照射するビームを遮光している場合でも、対向車両の外側路面を照明するようになっていることから、自車両と対向車両との間に位置する対向車両側の路肩で横断を待機している歩行者を視認することができる点で有利であると考えられる。
しかしその一方で、運転者は、歩行者の膝下を視認できれば歩行者を認識できるため、歩行者が道路を横断しない状態では、対向車両側の歩道待機者(歩行者)の全身(カットオフラインよりも上側)を照射することに本来的な意味は無い。また、運転者の視野の範囲を幅広く照明することにより運転者の注視範囲を広げることができる一方で、注視範囲が広がると、広い範囲からの情報を得られる一方で、その他の場所、特に最も注視すべき自車線側前方における視認距離を低下させる虞がある。
更に、自車両と対向車との間の相対距離(車頭時間:(すれ違いまでの時間距離))がある一定の範囲内に留まる場合には、対向車線側の路肩にいる歩行者M2(図16参照)の横断行動については必ずしも考慮せずに済む場合がある。
図16は、自車両と対向車両とのすれ違い時における歩行者の横断行動を説明するための路面照射イメージを示す図である。
図17は、図16に対応した上記のAZB技術における自車両前方のスクリーンを示す図である。
図16において、車線幅3.5mの片側一車線道路を、自車両Cと対向車両Aがともに車速60km/hで走行しており、自車両Cと対向車両Aとの車頭時間が10秒(約170m)の位置に存在する状態が示されている。
また、図16に示す道路において、路肩200(センターラインCLより5m)には、横断待機者M1、M2や小動物(不図示)が存在している。
このような道路状況で、道路を横断しようとしている歩行者M2の歩行速度が5km/h(1.4m/s)である場合、道路の全幅10mを渡りきるのに約7秒を要する。
更に、渡りきるまでの余裕時間(リスク回避時間)を3秒必要とすれば、歩行者M2が道路を横断しようと判断するタイミングとしては、歩行者M2の遠方側の車線202に存在する車両(図では自車両C)に対しては約10秒が必要となる。
一方、歩行者M2側の車線201に存在する車両(図16では、対向車両A)に対しては、歩行者M2がセンターラインCLを超えるまでに要する3秒に加え、余裕時間をやや少ない2秒と仮定すれば、歩行者M2がセンターラインCLを超えるまでに約5秒必要となる。
従って、歩行者から見て左右両方向に自分に向かってくる車両が存在する場合(対向車両A、自車両C)に、車頭時間が15秒以下であると、歩行者は、横断することが不可能と判断して道路の横断行動に移らないと考えられる。上記のように、自車両Cと対向車両Aとの車頭時間は10秒となっており、15秒以下であるから、小動物の飛び出しこそ考えられるものの、歩行者M2は横断行動に移らないと考えられる。
以上の状況を考慮すると、自車両Cと対向車両Aとの距離がある一定の範囲にある場合、対向車線201側におけるロービームのカットオフラインよりも上側の領域(図17に示すAZBの第1象限)への光束は、第4象限(自車線202の遠側領域)に向けるか、或いは、第2象限、第3象限(ロービームのカットオフラインよりも下方)における自車線側の歩行者M1や道路線形の確認に利用することが望ましい。
小動物については、視認はできても回避は困難であるものの、路面(第2象限、第3象限)への照射光量を向上させて少しでも視認性の改善を図る必要はある。
もっとも、車頭時間が十分に大きい時(対向車両が図17のHV近傍に存在する場合)に第1象限(図17)の光量の減少させるとすれば、対向車線201側の歩行者の視認性が低下し、却って危険である。
例えば、自車両C・対向車両Bともに車速60km/hで走行しているとして、車頭時間が30秒の場合、車頭距離は約1000mとなるが、この場合には、グレア(眩惑)を与えないために図17における対向車両A部分(ハッチング部)203のビームのみを遮光(グレアを抑制)することになるが、自車両と対向車両との車頭時間が十分に長く、歩行待機者が横断してくることが予想される状況では対向車両側の(第1象限の)横断待機者を照射する必要がある。
本発明は、上記事情に鑑みてなされたものであり、前方への配光を制御して対向車両へのビームをマスクすることにより対向車両の運転者に眩惑を与えないようにするとともに、自車両と対向車両との間の距離に応じて、対向車両の路肩側への配光をも制御して、より重要な領域を運転者に注視させることが可能なヘッドランプの配光制御手段を提供することを目的とする。
上記の課題を鑑みて、請求項1の発明は、対向車両と自車両との相対距離に応じて前記対向車両に眩惑を与えないように照射制限された配光パターンを照射させるヘッドランプの配光制御手段であって、前記ヘッドランプは、マトリクス状に配設され、光源から出射された光の反射光量を制御することにより前記自車両前方の領域毎に光量制御が可能な光学素子を備え、前記配光制御手段は、前記相対距離が第1所定値以上では、前記対向車両の領域が照射制限されると共に、少なくとも前記対向車両よりも対向車線側が照射される配光パターンを照射させるように前記光学素子を制御し、前記相対距離が、前記第1所定値未満かつ前記第2所定値以上では、前記対向車両の領域及び前記対向車両よりも対向車線側への光を自車線側に配光し、前記対向車両の領域及び前記対向車両よりも対向車線側が照射制限された配光パターンを照射させるように前記光学素子を制御し、前記相対距離が、前記第2所定値未満では、前記対向車両に対する照射制限が解除された配光パターンを照射させるように前記光学素子を制御することを特徴とする。
上記のように構成したので、本発明によれば、前方への配光を制御して対向車両へのビームをマスクすることにより対向車両の運転者に眩惑を与えないようにするとともに、自車両と対向車両との間の距離に応じて、対向車両よりも路肩側への配光も制御して、より重要な領域を運転者に注視させることができる。
本発明の第1の実施形態に係る配光制御システムに適用可能な車載用前照灯ユニットの構成例を説明する図。 図2は、図1に示すA−A線における前照灯ユニットの断面図。 配光制御素子を備えた本実施形態のサブランプユニットを説明する図。 配光制御素子を備えた本実施形態のサブランプユニットを説明する図。 本発明の配光制御システムの機能構成を説明するブロック図。 本実施形態の配光制御システムの処理の流れを説明するフローチャート。 直線路上に存在する物体の模式図。 第1の実施形態におけるスクリーン上の対向車両の位置とサイズの関係を示す図。 第1の実施形態の配光制御システムにおける配光の例を示す図。 第1の実施形態における配光制御の例を示す図。 第1の実施形態の配光の変化を路面配光パターンで表示した図。 第2の実施形態に係る光量制御手段を説明する概略図。 第2の実施形態の配光制御システムにおける配光パターンを説明する図。 第2の実施形態における配光制御の例を示す図。 第2の実施形態の配光の変化を路面配光パターンで表示した図。 自車両と対向車両とのすれ違い時における歩行者の横断行動を説明するための路面照射イメージを示す図。 図16に対応した上記のAZB技術における自車両前方のスクリーンを示す図。
以下に、図面を参照して本発明の実施の形態例を詳細に説明する。
[第1の実施形態]
(車載用前照灯ユニットの構成)
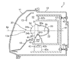
図1は、本発明の第1の実施形態に係る配光制御システムに適用可能な車載用前照灯ユニット1(以下、前照灯ユニットと記す)の構成例を説明する図である。図2は、図1に示すA−A線における前照灯ユニットの断面図である。
なお、以下に説明する前照灯ユニット1の構成はあくまで一例に過ぎず、後述のランプユニットの駆動機構などは、他の構成を採用しても良いことは言うまでもない。
本実施形態に係る前照灯ユニット1は、図1に示すように、ランプボディ10と透光カバー(カバー)11で形成された灯室12内に、主配光(メインビーム)の光量を確保可能なメインランプユニット20と、例えばLED(Light Emission Diode)等の半導体発光素子等を光源として配光パターンを可変形成可能なプロジェクタ型のサブランプユニット30と、を備えている。
また、メインランプユニット20、サブランプユニット30と、カバー11との間には、灯具前方から見た際の隙間を覆うように、エクステンション13が配置されている。このエクステンション13には、メインランプユニット20、サブランプユニット30をその前端部近傍において露出させている開口部13aが形成されている。
メインランプユニット20、サブランプユニット30は、何れも車両前後方向に延びる光軸Axを有しており、図2に示すように、エイミング機構40を介して上下方向及び左右方向に傾動可能にランプボディ10に支持されている。
すなわち、ランプボディ10には、エイミング機構40を介して支持部材41が固定され、支持部材41には、サブランプユニット30の照射方向を左右方向に変更するメカ式駆動装置である左右変更機構(ACT:アクチュエータ)42が固定されている。
左右変更機構42は、駆動源42aがスイブル回動軸42bを中心に鉛直軸周りにユニット搭載部材43を揺動回転するスイブル機構である。
支持部材41の水平部に設けられた左右変更機構42の駆動源42aの出力軸には、スイブル回動軸42bが連結されており、駆動源42aが駆動されて出力軸が回転することで、ユニット搭載部材43がスイブル回転軸42bを中心に回転駆動される。
更に、ユニット搭載部材43には、サブランプユニット30の照射方向を上下方向に変更する上下変更機構(アクチュエータ)44が固定されている。
上下変更機構44は、駆動源44aがユニット上下回転軸44bを中心に水平軸周りでベース部材を上下方向にレベリング駆動できるレベリング機構である。
ユニット搭載部材43の水平部分に設けられた駆動源44aの出力軸にはピニオンギア45が固定されており、ピニオンギア45は、ユニット上下回転軸44bに固定された扇形ギア46に噛合されている。
駆動源44aが駆動されて出力軸が回転されると、ピニオンギア45及び扇型ギア46を介してユニット上下回転軸44bが回転されることで、ベース部材31がユニット上下回転軸44bを中心として揺動回転させられる。
また、サブランプユニット30は、光源としての半導体発光素子(以下、光源と記載する)32と、リフレクタ(反射鏡)33と、投影レンズ34と、を備えている。
リフレクタ33は、光源32から出射された光を前方へ向けて光軸Ax寄りに反射させる反射面33aを有している。この反射面33aは、略楕円状の断面形状を有しており、その離心率は、鉛直断面から水平断面に向けて徐々に大きくなるように設定されている。これによって、反射面33aで反射した光源32からの光を、鉛直断面内においては投影レンズ34の後方側焦点F近傍に略集束させる。
投影レンズ34は、前方側表面34aが凸曲面状で、後方側表面34bが平面の平凸レンズとして構成されており、光軸Ax上に配置されている。そして、この投影レンズ34は、その後方側焦点Fを含む焦点面上の像を反転像として前方へ投影する。
投影レンズ34の前方側焦点34aを構成する凸曲面は、投影レンズ34の後方側焦点Fを光軸Ax上に位置させるように構成された非球面で構成されている。
また、本実施形態におけるサブランプユニット30は、光源32から投影レンズ34の間の光路上の上記焦点F近傍に、光源32から出射された光束の光量を制御して本発明に特徴的な付加配光パターンを形成して、上述のAZBを実現するマトリックス状の配光制御素子(光制御電子部材)35を更に備えている。
なお、メインランプユニット20も、配光制御素子35を除いては、サブランプユニット30と同様の構成を備えており、車両の進行方向に合わせて上下変更機構、左右変更機構により光の照射方向を変更可能である。
(配光制御素子の構成)
図3及び図4は、配光制御素子を備えた本実施形態のサブランプユニットを説明する図である。
なお、本実施形態のサブランプユニット30では、前方車両の有無、或いは存在位置に応じて配光パターンを変化させるADB(Adaptive Driving Beam)の中でも、特に、MEMS(Micro Electro Mechanical Systems:微小電気機械素子)方式(図3)や液晶方式(図4)を用いて、前方スクリーン上のゾーン毎に光量制御/配光制御を行って配光パターンを変化させることが可能な技術を採用していることは上記した通りである。
図3に示すMEMS素子35aは、マトリックス状に配置された各光学素子の光軸に対する角度を可変することにより、光源32からのビームの反射光量を制御する素子であり、また、図4に示す液晶素子35bは、マトリックス状に配置された各液晶素子(光制御箇所)における光源32からのビームの透過光量を制御する素子である。
これらの光量制御素子35を配光制御素子として使用することで、投影レンズ34から出射する光束の光量を制御して異なる付加配光パターンを形成することができる。
また、自車両前方の対向車両が存在する領域のビームを遮光/減光して対向車両へのグレアを防ぐという処理が可能であることもAZBの特徴となっている。
(配光制御システムの構成)
図5は、本実施形態の車載用前照灯装置を制御して異なる配光パターンを形成する配光制御システムの機能構成を説明するブロック図である。
本実施形態の配光制御システムは、車両の適所に搭載された車載カメラ52により取得した撮像データについて画像処理を行い、車両に搭載された各種の既存の視界支援システム(ADB、プリクラッシュセーフティーシステム(衝突事故防止システム)、LDWS(Lane Departure Warning System:車線維持支援システム)など)に必要なデータを算出し、車内LANなどを介して各種の車載機器に発信する視界支援システムECU51と、この視界支援システムECU51から送出されてくる路上光輝物体の属性(対向車、先行車、反射器、道路照明)、その位置(前方、側方)と、車速センサ53から得た車速を基にその走行場面に対応した配光を決定し、その配光を実現するために必要な配光可変ランプ(サブランプユニット30)の駆動制御量(上下・左右ビーム移動量、遮光部分の位置と範囲、その制御と復帰など)を決定すると共に、図2で説明した具体的な実現手段であるアクチュエーター(ACT;メカ式駆動装置)42、44や配光制御素子35の制御量・制御内容を決定する本発明に特徴的な配光制御ECU(配光制御手段)50と、を備えている。
配光制御ECU50及び視界支援システムECU51は、各種の演算処理を実行するCPU(Central Processing Unit)と、各種の制御プログラムを格納するROM(Read Only Memory)、制御プログラムやデータを展開しCPUの処理のためのワークエリアとして機能するRAM(Random Access Memory)などを備えている。
車載カメラ52は、CCD(Charge Coupled Device:電荷結合素子)やCMOS(Complementary Metal Oxide Semiconductor:相補性金属酸化膜半導体)などを用いた電子光学カメラである。また、これらを複数使用したステレオ(複眼)カメラでも良い。
車載カメラ52により取得された撮像データは、視界支援システムECU51により処理解析される。
車速センサ53は、自車両の車速データを、車内LANを介して各種の車載機器に発信するセンサである。
更に、図5のシステムは、レーダ54、舵角センサ又はGPSナビ55、HLスイッチ56を備えている。
レーダ54は、レーザレーダやミリ波レーダであり、反射物体(対向車両)からの反射波の到達時間を計測することにより対向車両との車頭距離(相対距離)を計測する。
また、計測した車頭距離の時間的な変化と、車速センサ53により得られる自車両の車速データに基づいて対向車両との相対的な車速を計測することができる。
舵角センサ又はGPSナビ55は、曲路走行判定やカーブの曲率の計測などを行うセンサである。舵角センサはハンドルの回転角度のセンサであり、GPSナビは、カーナビゲーションの地図データから同様の計測を行う。これらの装置を組み合わせて用いても良い。これらの装置から得られる情報は各種車載機器に発信される。
既存のADB技術において、配光制御ECU50は、これらの装置から得られる情報を基に、配光可変ランプとしてのサブランプユニット30の水平方向の照射方向をカーブに合わせて左右にスイブルする。
HLスイッチ56は、ヘッドライトのOn/Offやビームの制御モード(ADBのOn/Offなど)を、車内LANなどを介して各種車載機器に発信する。
すなわち、H−H線(カットオフライン)以下に拡散配光を有する配光非可変のメインランプユニット20による固定ビーム(ロービーム)を、HLスイッチのON命令によって点灯させる。
また、サブランプユニット30は、AUTOビームSWやハイビームSWに連動して前方車両の存在状況や曲路などで配光が制御される。
ドライバ57は、配光制御ECU50からの制御量・制御内容を、ACT42、44や配光制御素子35の動作に対応した命令に変換すると共にそれらを制御する。
(視界支援システムECUによる撮像データ処理)
視界支援システムECU51は、車載カメラ52による撮像データを以下のように処理・解析する。
(1)まず、車載カメラ52により取得された画像データについて画像処理や解析を行うことによりLM(レーンマーク;区画線)を検出すると共に、前方視野の各種対象物の輝度を検出する。
(2)次に、検出したレーンマークの情報を基に道路の線形や車線数を求めると共に、光輝物体の色情報(カラーカメラの場合)や光輝物体の属性(ヘッドランプの白色光(対向車)/テイルランプの赤色光(先行車))やその発光面積、そしてその路上位置情報を算出してRAMに記憶する。
(3)更に、撮像画像のフレーム間の光輝物体の位置、OF(オプティカルフロー)量などのデータを基に光輝物体の属性(対向車両、先行車両、道路付属施設の反射器など)や対向車両の車速などを決定する。なお、車載カメラ52が単眼カメラの場合には距離の検出精度が低いが、ステレオカメラとすることで精度を向上させることが可能である。
更に、車載カメラ52が単眼カメラである場合には距離の検出精度が低いので、これを補うために車間距離レーダ54により得られる距離情報を補填することが望ましい。
図6は、本実施形態の配光制御システムの処理の流れを説明するフローチャートである。
視界支援システムECU51は、上記した車載カメラ52、車速センサ53等から、前方視野画像データ、自車両の車速等のデータを取得する(ステップS101)。
次いで、視界支援システムECU51は、車載カメラ52から取得した画像データに基づいて、対向車両の検出処理を行う(ステップS102)。この処理には、対向車両の位置、対向車両の車速、自車両との相対距離等の演算も含まれる。
配光制御ECU50は、上述のAUTOビームSWやハイビームSWによってADB/Hiビーム/Lowビームの何れのビームが選択されているかを判断し(ステップS103)、ADBがONになっていれば(ステップS104でYes)、ステップS102で得られた対向車両の情報に基づいて配光制御の内容(サブランプユニット30の駆動方向、駆動量)を決定する(ステップS105)。
そして、配光制御ECU50は、決定した配光制御の内容をドライバ57用のデータに変換する処理を行い(ステップS106)、更に、配光制御素子35を駆動して本発明の配光制御を実行する(ステップS107)。
なお、ADBがONになっていなければ(ステップS104でNo)、設定結果に従って、Hiビーム、Lowビームとなるように、ランプユニットを制御する(ステップS108)。
視界支援システムECU51による画像解析処理について、図7を用いて更に詳述する。
図7は、直線路上に存在する物体のスクリーン上における模式図であり、日本等の国で実施されている左側通行の場合を例示している。
直線路では無限遠点の物体は消失点位置(スクリーン上のHV点)と一致し、有限距離の物体はこの消失点から放射状に存在する。
直線路では、対向車両のヘッドライト(白色光)60は水平線(H−H線)より下方、第4象限における対向車線61内に存在する。
自車線における前方車両のテールライト(赤色光)62はH−H線より下方(第3象限及び第4象限)の自車線63内に存在する。
ガードレールに取り付けられるデリニエーター(反射器)(白色光或いは橙色光)64はH−H線近傍に存在する。
また、道路照明装置(白色光又は淡黄色光)65はH−H線より上方の領域に存在する。
走行中、スクリーン上の移動物体はHV点から延びる放射線上を移動することとなる。従って走行中に前方路面を車載カメラ52により連続撮影した場合、路上物体のフレーム間の移動量(OF;オプティカルフローと呼ぶ)は遠方物体では小さく、近距離の物体は大きくなる。
図5についても述べたが、路上物体の属性(ヘッドランプか、テイルランプか、或いは道路照明であるか)は光輝物体の色光や輝度(明るさ)、またはOF量を基に判定することができる。
なお、図7において自車線、対向車線に付した符号63、61は、以下の説明で使用する図面においても引き続き用いるものとする。
図8は、車両前方のスクリーン上の対向車両の位置とサイズとの関係を示す図である。なお、本図はランプを視点として作成されたものであり、図7と同様に左側通行の場合を例示している。
一車線の幅を3.5m、運転者の眼の位置を地上高1.5m、3.5m右とし、ヘッドランプの地上高を0.7mとした場合における自車線(追越車線)とその両側車線(走行車線、対向車線)および対向車両の運転者の眼の位置の軌跡を示している。
図中、符号70〜74が付された矩形は、車両前方のスクリーン上における対向車両の正面サイズを表し、矩形70〜74を貫く線分75が対向車両の運転者の眼の位置の軌跡を表している。
なお、歩行者M1、M2が自車線側、対向車線側における約50m先の路肩に存在している。
図8は、自車線のセンターにセンサを設置した際のスクリーンを示しており、座標系における1マスは0.5°である。
かかる幾何配置において、自車両および対向車両の車速を各々60km/hとした場合、自車両との車頭時間が夫々20秒、10秒、5秒、2秒、1.5秒となる相対距離の地点に存在する対向車両のスクリーン上のサイズ及び運転者の眼の位置(地上高1.2m)は、以下のようになる。
なお、車両の正面サイズは鉛直(V−V線)方向1.5m、水平(H−H線)方向W2.0mである。
車頭時間が20秒(相対距離は約660m)の場合、矩形70で表される対向車両のスクリーン上の視角サイズは、V(鉛直方向)0.13°×H(水平方向)0.17°/U0.04°R0.30°となる。
車頭時間が10秒(相対距離は約330m)の場合、矩形71で表される対向車両のスクリーン上の視角サイズは、V0.26°×H0.35°/U0.08°R0.6 となる。
車頭時間5秒(相対距離は約165m)の場合、矩形72で表される対向車両の視角サイズは、V0.52°×H0.69°/U0.17°R1.22°である。
また、車頭時間が2秒(相対距離が約66m)の場合、矩形73で表される対向車両の視角サイズはV1.30°×H1.74°/U0.43°R3.04°である。
更に、車頭時間が1.5秒(相対距離は約50m)の場合、対向車両の視角サイズは、V1.71°×H2.29°/U0.57°R4.00°である。
このような道路上における対向車両の存在状況において、車頭時間が5秒以上前方の対向車(矩形70、71)は視角サイズで0.5°以下(20秒の車頭時間では0.2°)と非常に小さく、HV点に近接している。
そして、車頭時間が5秒を切った近距離では、対向車の視覚サイズは急激に大きくなると共にHV点から離れることが分かる。従って、車頭距離、相対車速が既知であれば、車頭時間(相対距離)により遮光サイズを変更する必要がある。
また、図7についても述べたが、OF(オプティカルフロー)は遠方車両では小さく、近距離の車両では大きい。
従って、車載カメラ52の分解能にもよるが、遠方の対向車両はOFが小さいため、対向車両の判別は難しく、遠方に存在する対向車両と道路照明65(図7)、路肩反射器(デリニエーター)64(図7)との判別も難しい。
領域76は、対向車両の存在時に光量を向上すべき領域である。対向車の存在時において、対向車線側に存在する歩行者や小動物の視認に重要な範囲は自車両の前方20m(2°)〜80m(0.5°)としている。
自車両が60km/hで走行している場合において相対距離20mは1.2秒先であり、視対象物を視認して回避できるほぼ限界の時間である。
80mは約5秒先であり、この距離の視対象物が視認できるのであれば、60km/hでの走行上、十分に安全である。
なお、この領域76は、メインランプユニット20による固定配光(ヘッドランプSW−ONで常時点灯するベースビームで現状のロービームにほぼ相当)によって主に照射されるべき領域でもある。
それに対し、図8における領域77は、対向車両との車頭時間の変化に応じて光量を改善すべき範囲である。
80mより前方位置を照明するためにはこの領域(H−H線上方を含めたH−H線近傍部分)77を照明する必要がある。この領域77は対向車両の後方から横断してくる歩行者などの視認に重要である。従って、対向車両の位置変化に連動して照明範囲を対向車線側に拡大することが重要となる。
図9は、本実施形態の配光制御システムにおける配光の例を示す図である。
図9(a)は、メインビームユニット(固定配光ランプ)20によるロービーム形態のベースビーム80を示しており、これは、ヘッドライトON時に常時点灯するランプである。
適切な光学系(図示せず)により現状のロービームと同様に水平線(H−H線)よりも下方にビームを拡散させたベース配光を形成する。先行車両や対向車両など、視界前方の車両が多い場合や、自車両の車速が徐行レベルの場合、或いは前方車両だけではなく店舗照明や道路照明などが混在することでセンサ(車載カメラ)による車両の検出が不能、或いは信頼性が低い場合には、この固定ビームのみで走行するのが望ましい。
ベースビーム80は、水平線(H−H線)の近傍に明暗の境界線を有しており、対向車線側における水平線よりも上方の光を抑制しているので、この固定配光のみでは対向車両(の運転者)に対してグレア(眩惑)を与えることはない。
図9(b)は、本実施形態のサブランプユニット(可変配光ランプ)30による付加ビームとしての全面マトリックスビーム81を示している。
また、図9(c)は、(a)のベースビーム70と(b)の全面マトリックスビーム81とを合成した本実施形態の走行用ビーム82を示している。
本実施形態では、すれ違い時には、図9(c)に示す合成した走行用ビーム82に含まれる図9(b)の付加ビーム(付加配光パターン)の成分を制御することで、走行用ビーム82において遮光/減光を行い、対向車両におけるグレアを防止した配光パターンを形成する。
なお、これはセンサ(車載カメラ)による車両の検出能力が十分な場合には行うことが可能であり、不十分な場合にはメインランプユニット20による固定ビームのみで走行することになる。
(対向車両の遮光サイズ)
本マトリックスビームでは対向車両部分のみ遮光或いは減光するが、対向車両の遮光サイズについては、基本的には1対のペアライト(ヘッドランプ)を包含する範囲を遮光する制御を行う。
ヘッドランプの取り付け間隔は車両サイズによるが、一般的に1.6m〜2.0mであり、車頭距離にもよるが、これを包含する1.2〜1.5倍程度が適当と考えられる。
遠距離の場合には、対向車位置の測定精度や処理時間誤差、路面の凹凸や加減速による車両の上下動(0.2〜0.5度)、電子制御素子のセグメント像サイズを考慮すると視角サイズで最低でも1.0度程度が最小遮光サイズとなる。鉛直方向も同等のサイズを遮光範囲とする。
先行車両についても同様の考え方で遮光すれば良い。
また、後に詳述するが、対向車両を検知した瞬間や対向車両との車頭時間が第1の車頭時間以上の時には対向車両部分のみを遮光する。
また、対向車両が第2の車頭時間未満となり、最も近接した場合にはビームを初期状態(対向車無し;遮光無しの状態)に復帰させる。
対向車両の近接状態が第1の車頭時間と第2の車頭時間との間である場合は、第2の車頭時間の位置にいる対向車両の側方位置を照明限界とする(対向車両の対向車線側を照明しない)と共に、第2の車頭時間の位置よりも遠方に存在する対向車両を遮光する。
第2の車頭時間の対向車両の上方、或いは側方に向かう光束は減光するか自車線側に向けるように制御する。
なお、夜間における歩行者や車間距離の検出性能は、車速が高くなるに従って不正確になる。そこで車速が増加するのに伴い、対向車両を検知して遮光を開始する第1の車頭時間を短時間に設定できるようにする。第2の車頭時間についても同様である。
このようにADBの配光を車頭時間、或いは車間距離のファクタで制御すれば、対向車両へのグレアを抑制しながら、視認に必要な箇所を有効に照明できる。
なお、第1、第2の車間距離、或いは車頭時間は、車速により調整する。例えば、車速の増大に伴い、減少させるように調整する。
第1、第2の車頭時間の具体的な値について説明する。
図8について述べたように、自車両と対向車両が共に車速60km/hですれ違う場合、車頭時間が10秒以上であると対向車両はHV点から0.5°と近接し、視角サイズも0.5°以下と非常に小さい。このような極小サイズの条件下では対向車両の判別は難しくなると共にその他の光輝物との判別も難しくなり、車頭時間が10秒以上では精細に制御することが難しくなる。そこで車載カメラによる検出上の問題をも考慮し、第1の車頭時間(相対距離の第1所定値に対応)は5秒とし、第2の車頭時間(相対距離の第2所定値に対応)は1.0秒とする。
図10は、本実施形態における配光制御の例を示す図であり、対向車両との距離が変化するのに伴い、遮光を含む合成配光パターン82が変化していくことを表している。
図10では、直線路において、対向車線を複数台の対向車両(対向車両A、対向車両B)が走行している場合の例を示している。
(a)は、いずれの対向車両も第1所定値以上の相対距離に存在する場合の遮光の例である。上記のように、第1所定値の相対距離は車頭時間にして5秒とする。
(a)において、対向車両Aは自車両から5秒、対向車両Bは自車両から10秒の位置に存在する。従って、双方の対向車両も、自車両との相対距離が第1所定値以上の場所を走行していることになる。
この場合、配光制御ECU50は、対向車両A、Bに対して個別に遮光を行うように配光制御素子35を制御する。
遮光を行う領域は、検出された対向車位置を中心に、それぞれ±0.5°の範囲の領域90A、90Bである。これにより、対向車両A、Bへのグレアを低減し、安全性を向上させることができる。
(b)は、対向車両A、Bが、第2所定値以上の相対距離に存在する場合の遮光の例を示している。上記のように第2所定値は、車頭時間にして1秒とする。
(b)において、対向車両Aは自車両との車頭時間が2秒の位置に、対向車両Bは自車両との車頭時間が5秒の位置に存在する。従って、対向車両Aは、自車両との相対距離にして第2所定値以上、第1所定値未満の場所を走行していることになる。
この場合、配光制御ECU50は、対向車両Aについては、ほぼ対向車両Aのサイズ全体に跨る領域92を遮光し、自車両との車頭時間が5秒の場所にいる対向車両Bについては、(a)の場合と同様に、±0.5°の範囲の領域90Bを遮光するように、配光制御素子35を制御する。
(b)における対向車両Aのように、車頭時間が2秒となるような距離にまで自車両に近接すると、その遮光サイズは拡大し(対向車両のサイズとなる)、そのような対向車両の外側を照明する意味がなくなる。
そこで、配光制御ECU50は、最も近接している対向車両Aの遮光すべき範囲91とその外側領域92の光束を自車線側に移動(配光)させ(対向車両Aの領域と対向車線Aよりも対向車線側の領域を照射制限し)、自車線63の路面を照明するようにする(これは配光制御素子35としてMEMS素子を用いた場合のみ。液晶を用いる場合は、減光のみが可能である)。
上記のように配光制御素子35としてMEMS素子(光束を再配光)を用いた場合では、自車線の視認性が向上する。
液晶では、対向車両Aの遮光すべき範囲91とその外側領域92は減光のみとなり、照明しても対向車両のグレアにより本質的に視認できない。しかしながら、無意味に照明されている範囲が減ることにより、運転者は無意識に自車線を注視するようになり、自車線上に存在する歩行者や障害物の視認性を向上させることができる。
(c)は、最近接している対向車両Aが第2の所定値未満の相対距離に離脱した場合の遮光例を示す図である。
対向車両が車頭距離1秒よりも近距離に接近するとスクリーン上の位置はHV点よりかなり離れ、ヘッドランプの照射光量は低下すると共に照射時間が少なくなるため、グレアの問題はなくなる。
最近接の対向車両が、この第2の所定値の相対距離に到達した直後に、サブランプユニット30を制御して近接車両に対する遮光を停止する(対向車無しの配光に復帰させる)。このようにすることで、すれ違い後に復帰させる場合に比べ路上の歩行者などの検出時間が早められる。
そして対向車両が車頭時間で1.0秒(30m)の距離にある場合のように、十分近距離に接近した場合には、グレア露光は短時間であり安全上の問題もないため、対向車両の遮光を停止する。
対向車両が車頭時間が1秒になるまで近接した場合、車間距離は約17mであり、これはヘッドランプより約6°側方位置となりグレア光量は低くなる。
また、対向車両とすれ違うまでのグレア露光時間1.0秒は非常に短時間であり、グレアが視認性に与える影響は少ない。このように対向車両がすれ違い直前の近接状態では遠方視認性を回復するように配光を調整(遮光を停止)しても良いと考えられる。
なお、図10(c)において、対向車両Bは、未だ自車両Aからの車頭時間が5秒の場所に存在する。従って、対向車両Bについては、ビームを復帰させず、領域90Bの遮光を続けることになる。
図11は、本実施形態の配光の変化を路面配光パターンで表示した図である。
図11(a)は、固定配光(ベースビーム)80のみによる路面配光パターンであり、図9(a)に示すロービームに該当する。運転者は、自車線63側の歩行者は視認できているが、反対車線61側の歩行者は視認できていないことになる。
図11(b)は、マトリックスビーム(可変配光)81のみによる路面配光パターンであり、図9(b)に示すビームに該当し、対向車線61、自車線63の路肩に存在する歩行者M1、M2の存在を運転者が視認可能な配光になっており、また対向車及び自車両の相対距離が十分に小さいので歩行者が横断してくることもない。
図11(c)は、図11(a)の固定配光と図11(b)の可変配光を合成した走行用ビーム路面配光であり、図9(c)に示すビームに該当する。なお、この場合、対向車両は存在しないので配光パターンに遮光領域は存在しない。また、対向車線61、自車線63の路肩に存在する歩行者の存在を運転者が視認可能な配光になっており、また対向車と自車両との相対距離が十分に小さいので歩行者が横断してくることもない。
図11(d)は、図10で説明した図11(c)の合成配光において対向車が存在する路面のビームを遮光した配光パターンである。対向車両が存在する場合にはその部分に対応するビームをカットするため、路面への照射光量もカットされる。従って、対向車両Aが存在する部分の路面が遮光されている。
更に対向車線61側の路肩61aにおける対向車両Aの外側領域が遮光されており、その分の光量が自車線63側に振り分けられているため、運転者は、対向車線に気を取られることなく、自車線の近側(図17で説明した第3象限)、遠側(第2象限)を注視することができる。なお、図10、図11(d)において、遮光により対向車両付近の路面照度は低下するが、自車両より近距離の対向車線61側の路肩61bの路面照射性能は、H−H線より上方を減光してもさほど低下しない。
なお、自車線側の路肩に存在する歩行者や小動物の視認性については、対向車線側に存在する視対象に比べ、グレア角(視対象の視線と対向車ヘッドライト光線とのなす角度)が大きいのでグレアの影響は少ない。従って、対向車両が遠距離であるか近距離であるかによらず、自車両ヘッドライトの照明光量改善による効果は大きい。
[第2の実施形態]
ところで、上述の前面マトリックスビームを採用した第1の実施形態の配光制御システムにも、以下のような解決すべき点がある。
第1の実施形態では、ADBで対向車位置の変化に合わせて対向車両部分のみを遮光するための配光制御素子35として、液晶素子やMEMS素子を使用していた。
しかし、液晶素子は偏光板を使用しているために液晶透過後の光量は入射前の1/2以下に低下するという問題があり、MEMS素子の場合は、素子間に無効部が存在するため光の損失が発生するという問題がある。これにより、路面照射性能が十分に得られないという問題があった。
そこで、本実施形態では、液晶素子やMEMS素子よりなる光量制御手段を改善することにより、上記の光損失の問題を解消している。
(配光制御素子の構成)
図12は、本実施の形態に係る光量制御手段を説明する概略図である。
図12に示す光量制御手段は、光源32の主光軸を含む範囲を非素子部(非制御部)35Bとし、その外側を素子部(制御部)35Aとしている。
非素子部35Bは、液晶やMEMSを設けない単純反射窓、透過窓であり、液晶素子やMEMS素子を設けないことにより、光の損失が生じず、光の利用効率が増し、中央部からは光束が増加したスポットビームを照射することができる。これにより中心光度の向上を図り、遠方の視認性確保を図ることができる。
なお、本実施形態の光量制御手段35の中央部の非素子部35Bは、図12に示した矩形形状の組み合わせに限定されるものではなく、長方形(単純矩形)などでも良い。
また、周辺部の素子部35Aは、第1の実施形態における場合と同様に、対向車両の存在やその位置に対応して、ビーム101は光量や制御範囲を細かく制御して減光や遮光することが可能である。
図13は本実施形態の配光制御システムにおける配光パターンを説明する図である。
メインランプユニット20による固定配光は、図9(a)に示した第1の実施形態と同様である。
図13(a)は、本実施形態におけるサブランプユニット30による可変ビーム(可変配光)100の例を示している。
また、図13(b)は、可変ビーム100と、メインランプユニット20による固定配光の合成配光103を示している。
図13(b)は、本実施形態において対向車両が存在しない場合の配光でもあり、主光軸はHV(正面)方向に向いている。これによりハイビームの配光を得ている。
図13に示すように、可変ビーム100は、図12における素子部35Aによる楕円状のビーム101と、その中央に位置する非素子部35Bによるスポットビーム102よりなっている。
上記のように、非制御部35Bは液晶素子やMEMS素子が設置されている制御部35Aと比較して光利用効率が高く、そのため非制御部35Bから出射するスポットビーム102は光度が高くなり、遠方への照射性能も高くなる。
しかしながら、スポットビーム102の最大光度部102aをHV点に向けた場合には、最大光度部102aが対向車両をも照射し、対向車両が近距離にいる場合を除きグレアとなる。
そのため、スポットビーム102は対向車両が遠方に存在する場合には、その中心部を自車線の路肩側(図13(a)内矢印方向)に向ける。
また、対向車両が十分接近し、対向車両がHV点から1度程度(車頭時間で5秒)離間し始めたら対向車両のHV点からの離間量に合わせ、スポットビーム102の最大光度部102aをHV点に戻すようにしても良い。
このようにすることで、対向車存在時には自車線遠方および路肩側の照射距離と照度が向上し、自車線遠方および路肩の視認性は、第1実施形態の全面マトリックスビームと比較して高くなる。
なお、対向車両が存在する場合にはその部分に対応するビームをカットするため、路面への照射光量も第1の実施形態と同様にカットされる。
そして対向車両が車頭時間で1.0秒(30m)程度、十分近距離に接近した場合には、グレア露光は短時間であり安全上の問題もないため対向車両の遮光を停止させ、スポットビームの最大光度部をHV点に(対向車無しの配光)復帰させる。
また、第1、第2の車間距離、或いは車頭時間を、車速の増大に伴い(調整)減少させることも第1の実施形態における場合と同じである。
図14は、本実施形態における配光制御の例を示す図であり、対向車両との距離が変化するのに伴い、遮光を含む配光パターンが変化していくことを表している。
図14では、直線路において、対向車線を複数台の対向車両(対向車両A、対向車両B)が走行している場合の例を示している。
なお、図14に示す例では、非素子部35B及びスポットビーム102の形状は、単純矩形としている。
図14(a)は、いずれの対向車両も第1所定値以上の相対距離に存在する場合の遮光の例である。なお、第1所定値の相対距離に対応する第1の車頭時間は、第1の実施形態と同様に車頭時間にして5秒とする。
(a)において、対向車両Aは自車両から5秒、対向車両Bは自車両から10秒の位置に存在する。従って、双方の対向車両も自車両との相対距離が第1所定値以上の場所を走行していることになる。
この場合は、配光制御ECU50は、対向車両にグレアを与えぬよう、サブランプユニット30を駆動して、光源の光軸を自車線側に退避させる(スポットビームが移動)ように制御するとともに、配光制御素子35の素子部35Aを制御して、対向車両A、Bに対して個別に遮光を行う。遮光を行う領域は検出された対向車位置を中心に、それぞれ±0.5°の範囲の領域90A、90Bである。これにより、対向車両A、Bへのグレアを低減し、安全性を向上させることができる。
この場合、対向車両Aについては、ほぼ対向車両Aのサイズ全体に跨る領域90Aを遮光し、自車両との車頭時間が5秒の場所にいる対向車両Bについては、(a)の場合と同様に、±0.5°の範囲の領域90Bを遮光する。
対向車両を検知した瞬間や対向車両との車頭時間が10秒以上等と対向車両が遠方に存在する時には、サブランプユニット30の主光軸を対向車線側に向けると共に、自車線内および自車線路肩への照射光量を高め、自車線近傍に存在する歩行者や小動物の視認性を高めることができる。更に、対向車線側については対向車両部分のみを遮光し、対向車両へのグレアを防止すると共に対向車線内や路肩に存在する視対象の視認性を改善することができる。
また、スクリーン上に複数の対向車両が検出された場合には投射型ランプの光軸は遠方に位置する対向車両を基準に制御する。
図14(b)は、対向車両Aが、第2所定値以上の相対距離に存在する場合の遮光の例を示している。なお、第2の車頭時間は、第1の実施形態の場合と同様に、車頭時間にして1秒とする。
(b)において、対向車両Aは自車両との車頭時間が2秒の位置に存在する。従って、対向車両Aは、自車両との相対距離が第2所定値以上第1所定値未満の場所を走行していることになる。
この場合、対向車両Aのスクリーン内右側(図中矢印方向)への移動に合わせてサブランプユニット30を駆動して光軸を対向車線側(HV点側)に移動させると共に、対向車両部分の領域92を減光、或いは遮光により対向車両部分を遮光するよう配光制御素子35(素子部35A)を動作させる。これにより対向車両Aの後方から飛び出す視対象の視認を速めることができる。
(b)における対向車両Aのように、車頭時間が2秒となるような距離にまで自車両に近接すると、その遮光サイズは拡大し(対向車両のサイズとなる)、そのような対向車両の外側を照明する意味がなくなる。
図14(c)は、最近接の対向車両Aが第2の所定値未満の相対距離に離脱した場合の遮光例を示す図である。
対向車両Aが1Sより近距離に接近するとスクリーン上の位置はHV点よりかなり離れ、ヘッドランプの照射光量が低下すると共に照射時間が少なくなるため、グレアの問題はなくなる。
そこで、対向車両との車頭時間、或いは車頭距離が第2所定値以下となった場合にはサブランプユニット30を駆動して光軸を進行方向正面に復帰させる。
対向車両が1秒以下程度に最近接した場合にはビームを初期状態(対向車無しの条件;ADBの主光軸をHVに向けると共に対向車両の遮光を解除)に復帰させ、遠方の視認性を確保する。
図15は、本実施形態の配光の変化を路面配光パターンで表示した図である。
図15(a)は、図13(b)の合成配光103による路面配光パターンであり対向車線61に対向車両は存在していない。従って、自車両Cのサブランプユニットの光軸Axは正面を向いている。
図15(b)は、対向車線61における第1所定値以上の相対位置に対向車両Aが存在する場合の路面配光パターンを示しており、図14(a)の配光に該当する。
対向車両Aに眩惑を与えないように、自車両Cの光軸Axは、自車線63側の路肩63aの方向に向けられている。
また、対向車両Aに対応する領域90Aが光量制御手段35を制御することにより遮光されている。
なお、対向車両部分の遮光範囲は視角サイズで最低でも1度程度は必要となることは第1の実施形態の場合と同じである。
図15(c)は、第1所定値未満第2所定値以上の相対位置に対向車両Aが存在する場合の路面配光パターンを示しており、図14(b)の配光に該当する。
対向車両Aが近接するにつれて、自車両Cの光軸Axを、対向車両Aにグレアにならない程度に対向車線61側に戻している。
この際、自車両Cの運転者は、対向車線61側の路肩61aにおける地点61cに存在する歩行者M2を視認できていない。
しかしながら、自車両Cと対向車Aとの相対距離が十分に小さいので、歩行者M2が道路を横断しようとする懸念は無い。
図15(d)は、対向車両Aが、第2所定値未満の相対位置に存在する場合の路面配光パターンを示しており、図14(c)の配光に該当する。
この時点では、そして対向車両が車頭時間で1.0秒(30m)など十分近距離に接近した場合には、グレア露光は短時間であり安全上の問題もないため対向車両の遮光を停止し、光軸Axも正面に戻す(図13に示す対向車両無しの配光に復帰させる)。
以上説明したように、ADBの配光を車頭時間、或いは車間距離のファクタで制御すれば、第1の実施形態と同様に、対向車両へのグレアを抑制しながら視認に必要な箇所を有効に照明できる。
複数の対向車両が検出された場合には、スポットビームは遠方に位置する対向車両を基準に制御する。
1 車載用前照灯ユニット、10 ランプボディ、11 カバー、12 灯室、13 エクステンション、13a 開口部、20 メインランプユニット、21 サブランプユニット、30 サブランプユニット、31 ベース部材、32 光源、33 リフレクタ、33a 反射面、34 投影レンズ、34a 前方側表面、34b 後方側表面、35 配光制御素子、35A 素子部、35B 非素子部、35a MEMS素子、35b 液晶素子、40 エイミング機構、41 支持部材、42 左右変更機構、42a 駆動源、42b スイブル回転軸、42b スイブル回動軸、43 ユニット搭載部材、44 上下変更機構、44a 駆動源、44b ユニット上下回転軸、45 ピニオンギア、46 扇形ギア、50 配光制御ECU、51 視界支援システムECU、52 車載カメラ、53 車速センサ、54 レーダ、55 GPSナビ、56 HLスイッチ、56 スイッチ、57 ドライバ、61 対向車線、63 自車線、63a 路肩、65 道路照明、70 ベースビーム、70 矩形、71 矩形、72 矩形、72 走行用ビーム、73 矩形、75 線分、76 領域、77 領域、80 ベースビーム、81 全面マトリックスビーム、82 走行用ビーム、90A 領域、90B 領域、91 領域、92 領域、100 可変ビーム、101 ビーム、102 スポットビーム、102a 最大光度部、103 合成配光

Claims (1)

  1. 対向車両と自車両との相対距離に応じて前記対向車両に眩惑を与えないように照射制限された配光パターンを照射させるヘッドランプの配光制御手段であって、
    前記ヘッドランプは、マトリクス状に配設され、光源から出射された光の反射光量を制御することにより前記自車両前方の領域毎に光量制御が可能な光学素子を備え、
    前記配光制御手段は、
    前記相対距離が第1所定値以上では、前記対向車両の領域が照射制限されると共に、少なくとも前記対向車両よりも対向車線側が照射される配光パターンを照射させるように前記光学素子を制御し、
    前記相対距離が、前記第1所定値未満かつ前記第2所定値以上では、前記対向車両の領域及び前記対向車両よりも対向車線側への光を自車線側に配光し、前記対向車両の領域及び前記対向車両よりも対向車線側が照射制限された配光パターンを照射させるように前記光学素子を制御し、
    前記相対距離が、前記第2所定値未満では、前記対向車両に対する照射制限が解除された配光パターンを照射させるように前記光学素子を制御することを特徴とする配光制御手段。
JP2011163225A 2011-07-26 2011-07-26 ヘッドランプの配光制御手段 Expired - Fee Related JP5779028B2 (ja)

Priority Applications (3)

Application Number Priority Date Filing Date Title
JP2011163225A JP5779028B2 (ja) 2011-07-26 2011-07-26 ヘッドランプの配光制御手段
CN201210252460.4A CN102897083B (zh) 2011-07-26 2012-07-20 前大灯的配光控制装置
EP12177889.8A EP2551155B1 (en) 2011-07-26 2012-07-25 Light distribution controller of headlamp

Applications Claiming Priority (1)

Application Number Priority Date Filing Date Title
JP2011163225A JP5779028B2 (ja) 2011-07-26 2011-07-26 ヘッドランプの配光制御手段

Publications (2)

Publication Number Publication Date
JP2013023182A JP2013023182A (ja) 2013-02-04
JP5779028B2 true JP5779028B2 (ja) 2015-09-16

Family

ID=46551445

Family Applications (1)

Application Number Title Priority Date Filing Date
JP2011163225A Expired - Fee Related JP5779028B2 (ja) 2011-07-26 2011-07-26 ヘッドランプの配光制御手段

Country Status (3)

Country Link
EP (1) EP2551155B1 (ja)
JP (1) JP5779028B2 (ja)
CN (1) CN102897083B (ja)

Families Citing this family (27)

* Cited by examiner, † Cited by third party
Publication number Priority date Publication date Assignee Title
DE102011088136A1 (de) * 2011-12-09 2013-06-13 Robert Bosch Gmbh Verfahren und Vorrichtung zur Steuerung einer Lichtaussendung eines Scheinwerfers eines Fahrzeugs
JP5935755B2 (ja) * 2013-05-16 2016-06-15 トヨタ自動車株式会社 照射装置、照射方法、プログラム及び媒体
CN103481813B (zh) * 2013-09-26 2017-04-26 浙江吉利汽车研究院有限公司 汽车远近光一体灯的切换装置及远近光切换方法
DE102013221953A1 (de) * 2013-10-29 2015-05-21 Volkswagen Aktiengesellschaft Leuchtvorrichtung für ein Kraftfahrzeug
CN103763831B (zh) * 2014-01-14 2018-06-19 张京涛 防眩光照明系统的控制方法及装置
JP6372376B2 (ja) * 2014-02-10 2018-08-15 株式会社デンソー 前照灯制御装置
JP6394043B2 (ja) * 2014-04-18 2018-09-26 株式会社デンソー 車両用前照灯の制御装置
US20150354772A1 (en) * 2014-06-05 2015-12-10 Au-Lite Lighting Inc. Vehicle light control device
KR20160014449A (ko) * 2014-07-29 2016-02-11 현대모비스 주식회사 차량의 멀티펑션 램프
JP5955357B2 (ja) 2014-08-08 2016-07-20 株式会社豊田中央研究所 照射制御装置
FR3025283B1 (fr) * 2014-08-27 2019-06-14 Psa Automobiles Sa. Dispositif d'eclairage a equipage deplacable et a reflecteur rotatif, pour un bloc optique de vehicule
JP6454951B2 (ja) * 2014-10-24 2019-01-23 スタンレー電気株式会社 車両用前照灯
JP6472983B2 (ja) * 2014-11-11 2019-02-20 株式会社小糸製作所 車両用灯具
DE102014019420A1 (de) * 2014-12-22 2016-06-23 GM Global Technology Operations LLC (n. d. Ges. d. Staates Delaware) Kraftfahrzeugscheinwerfersystem, Kraftfahrzeug, Verfahren zum Betrieb eines Kraftfahrzeugscheinwerfersystems sowie Computerprogrammprodukt
AT518068B1 (de) * 2016-02-05 2017-07-15 Zkw Group Gmbh Fahrzeug-Scheinwerfer und Verfahren zum Bestimmen der Nullposition einer Spiegeleinrichtung in dem Fahrzeug-Scheinwerfer
CN105744682B (zh) * 2016-03-30 2017-09-26 北京经纬恒润科技有限公司 一种照明控制方法及系统
CN107067401A (zh) * 2016-12-01 2017-08-18 浙江安谐智能科技有限公司 夜间行驶车辆的前照大灯精细分割方法
CN110382296B (zh) * 2017-03-10 2022-12-13 株式会社小糸制作所 照明装置
JP6809946B2 (ja) 2017-03-17 2021-01-06 トヨタ自動車株式会社 車両用前照灯装置
CN109398220A (zh) * 2017-08-18 2019-03-01 深圳市绎立锐光科技开发有限公司 车前大灯调节装置及系统
DE102017223431B4 (de) * 2017-12-20 2022-12-29 Audi Ag Verfahren zum Assistieren eines Fahrers eines Kraftfahrzeugs bei einem Überholvorgang; Kraftfahrzeug; sowie System
JP7092516B2 (ja) * 2018-02-22 2022-06-28 スタンレー電気株式会社 車両用前照灯ユニットの出射光色の調整方法
TWI668140B (zh) * 2018-04-17 2019-08-11 財團法人車輛研究測試中心 車輛頭燈自適應避光方法
US10369923B1 (en) 2018-04-30 2019-08-06 Automotive Research & Testing Center Operation method of adaptive driving beam headlamp system
US20200039420A1 (en) 2018-08-06 2020-02-06 Koito Manufacturing Co., Ltd. Vehicle lamp
CN114368340B (zh) * 2022-02-14 2023-11-28 太原理工大学 一种车辆远光灯智能调节装置和方法
US12133310B2 (en) * 2022-05-13 2024-10-29 Rivian Ip Holdings, Llc Traffic shielding using selective illumination

Family Cites Families (12)

* Cited by examiner, † Cited by third party
Publication number Priority date Publication date Assignee Title
DE19907943C2 (de) * 1999-02-25 2001-02-22 Bosch Gmbh Robert Kraftfahrzeugscheinwerfer mit einer Umlenkvorrichtung zum Ändern der Richtung zumindest eines Teils eines Lichtbündels
JP4262072B2 (ja) * 2003-12-05 2009-05-13 株式会社日立製作所 自動車用補助機器制御装置
US20080043481A1 (en) * 2004-02-25 2008-02-21 Hitachi, Ltd. Vehicle Headlight and Vehicle Operation Support Apparatus
CN100363201C (zh) * 2004-05-09 2008-01-23 卢功洋 汽车前大灯复合配光照明方法及控制装置
JP4537822B2 (ja) * 2004-10-14 2010-09-08 スタンレー電気株式会社 灯具
EP2447603B2 (de) * 2006-09-27 2017-03-01 Volkswagen Aktiengesellschaft Verfahren zum Steuern einer Scheinwerferanordnung
DE102007038077A1 (de) * 2007-08-11 2009-02-12 Daimler Ag Verfahren und Vorrichtung zur Fahrlichtsteuerung eines Fahrzeugs
JP5255301B2 (ja) 2008-03-12 2013-08-07 株式会社小糸製作所 車両用前照灯装置
JP2010162960A (ja) * 2009-01-13 2010-07-29 Koito Mfg Co Ltd 車両用前照灯装置
JP5362460B2 (ja) * 2009-06-26 2013-12-11 株式会社小糸製作所 車両用前照灯装置
JP5448615B2 (ja) * 2009-07-14 2014-03-19 株式会社小糸製作所 車両用前照灯
DE102009054249B4 (de) * 2009-11-21 2025-07-24 Volkswagen Ag Verfahren zum Steuern einer Scheinwerferanordnung für ein Fahrzeug und Scheinwerferanordnung

Also Published As

Publication number Publication date
EP2551155A3 (en) 2013-10-02
EP2551155A2 (en) 2013-01-30
CN102897083B (zh) 2016-03-23
EP2551155B1 (en) 2018-03-14
CN102897083A (zh) 2013-01-30
JP2013023182A (ja) 2013-02-04

Similar Documents

Publication Publication Date Title
JP5779028B2 (ja) ヘッドランプの配光制御手段
US9481292B2 (en) Method and control unit for influencing a lighting scene ahead of a vehicle
US12059996B2 (en) Vehicle headlight
US10618458B2 (en) Vehicle headlight control device
JPWO2020067113A1 (ja) 灯具システムおよび車両用灯具
US20170067609A1 (en) Vehicle lamp and vehicle lamp control system
WO2020067337A1 (ja) 車両用照明灯
US20170088036A1 (en) Headlamp device for a vehicle and method for controlling the headlamp device
CN105922928A (zh) 车辆用前照灯控制装置
EP2399777A2 (en) Control device, vehicle headlamp, and vehicle headlamp system
US10730427B2 (en) Lighting device
CN107054203A (zh) 用于控制车辆的前照灯组件的方法
KR102394952B1 (ko) 차량용 램프, 그리고 이에 적용되는 제어 방법
JPWO2018225684A1 (ja) 車両用灯具システム、車両用灯具の制御装置及び車両用灯具の制御方法
JP6812073B2 (ja) 車両の走行用前照灯
US11850992B2 (en) Lighting device
KR102823124B1 (ko) 공사장 운행 시의 차량 조명 조정 방법 및 차량
KR101356421B1 (ko) 차량의 광원제어시스템 및 광원제어방법
KR20130136107A (ko) 자동차
JP2023116083A (ja) 車両用前照灯装置
JP6815696B2 (ja) 車両の走行用前照灯
JP7481921B2 (ja) 車両用前照灯
JP6827674B2 (ja) 車両の走行用前照灯
WO2021039577A1 (ja) 車両用灯具
JP2024043263A (ja) 車両用照明装置

Legal Events

Date Code Title Description
A621 Written request for application examination

Free format text: JAPANESE INTERMEDIATE CODE: A621

Effective date: 20140604

A977 Report on retrieval

Free format text: JAPANESE INTERMEDIATE CODE: A971007

Effective date: 20150212

A131 Notification of reasons for refusal

Free format text: JAPANESE INTERMEDIATE CODE: A131

Effective date: 20150217

A521 Request for written amendment filed

Free format text: JAPANESE INTERMEDIATE CODE: A523

Effective date: 20150415

TRDD Decision of grant or rejection written
A01 Written decision to grant a patent or to grant a registration (utility model)

Free format text: JAPANESE INTERMEDIATE CODE: A01

Effective date: 20150707

A61 First payment of annual fees (during grant procedure)

Free format text: JAPANESE INTERMEDIATE CODE: A61

Effective date: 20150710

R150 Certificate of patent or registration of utility model

Ref document number: 5779028

Country of ref document: JP

Free format text: JAPANESE INTERMEDIATE CODE: R150

LAPS Cancellation because of no payment of annual fees