JP5696331B2 - チップ抵抗器およびその製造方法 - Google Patents

チップ抵抗器およびその製造方法 Download PDF

Info

Publication number
JP5696331B2
JP5696331B2 JP2011052637A JP2011052637A JP5696331B2 JP 5696331 B2 JP5696331 B2 JP 5696331B2 JP 2011052637 A JP2011052637 A JP 2011052637A JP 2011052637 A JP2011052637 A JP 2011052637A JP 5696331 B2 JP5696331 B2 JP 5696331B2
Authority
JP
Japan
Prior art keywords
resistor
protective film
surface electrode
electrode
cut groove
Prior art date
Legal status (The legal status is an assumption and is not a legal conclusion. Google has not performed a legal analysis and makes no representation as to the accuracy of the status listed.)
Expired - Fee Related
Application number
JP2011052637A
Other languages
English (en)
Other versions
JP2012190965A (ja
Inventor
松本 健太郎
健太郎 松本
Current Assignee (The listed assignees may be inaccurate. Google has not performed a legal analysis and makes no representation or warranty as to the accuracy of the list.)
Koa Corp
Original Assignee
Koa Corp
Priority date (The priority date is an assumption and is not a legal conclusion. Google has not performed a legal analysis and makes no representation as to the accuracy of the date listed.)
Filing date
Publication date
Application filed by Koa Corp filed Critical Koa Corp
Priority to JP2011052637A priority Critical patent/JP5696331B2/ja
Publication of JP2012190965A publication Critical patent/JP2012190965A/ja
Application granted granted Critical
Publication of JP5696331B2 publication Critical patent/JP5696331B2/ja
Expired - Fee Related legal-status Critical Current
Anticipated expiration legal-status Critical

Links

Images

Landscapes

  • Details Of Resistors (AREA)
  • Apparatuses And Processes For Manufacturing Resistors (AREA)
  • Non-Adjustable Resistors (AREA)

Description

本発明は、絶縁性基板上に抵抗体を配置し、該抵抗体を保護膜で被覆し、絶縁性基板の両端に抵抗体と接続する電極を配置したチップ抵抗器に関する。
チップ抵抗器の放熱性を改良するため、抵抗体のうち発熱量の大きい高抵抗部分を主電極に隣接して設け、且つ高抵抗部分を第1と第2の保護膜を介して最上層の補助電極で被覆し、補助電極をランドに接続するようにしたチップ抵抗器が提案されている(特許文献1参照)。
しかしながら、上記チップ抵抗器には以下の問題がある。まず、補助電極が第2保護膜の上に形成されているため、抵抗体で発生した熱が第1および第2の保護膜を介して補助電極に流れるため、良好な熱放散性が期待できない。また、第2保護膜の上面に補助電極が露出した状態で存在するため、外観の電極サイズが汎用品と異なってしまい、画像検出時の設定を該製品に合わせて変更する必要があり、現状工程への適合性に欠ける。さらに、補助電極が抵抗体のトリミングのための切り込み溝を被覆しているため電極材料が多く必要になる上、補助電極が切り込み溝の上部を覆ってしまうため、電極材料に含まれる金属が拡散して切り込み溝に入り込み、短絡を起こす可能性がある。
特開2008−053255号公報
本発明は、上述の事情に基づいてなされたもので、熱放散性に優れ、現状工程への適合性が高く、且つ信頼性に優れたチップ抵抗器とその製造方法を提供することを目的とする。
本発明のチップ抵抗器は、絶縁性基板と、その表面両端部に配置された一対の第1表電極と、該第1表電極に接続する抵抗体と、該抵抗体を被覆する第1保護膜と、該第1保護膜上に前記第1表電極と一部が接続するように配置された一対の第2表電極と、前記第1保護膜とともに前記抵抗体上に設けられた切り込み溝と、前記第2表電極の一部と、前記第1保護膜および前記切り込み溝を被覆する第2保護膜とを備え、前記第1保護膜と前記第2保護膜の間に形成される一対の前記第2表電極は、前記切り込み溝を被覆せず、前記抵抗体および前記第1保護膜上において該切り込み溝により狭くなる前記狭小部を被覆するように、少なくとも一方の第2表電極がチップ端から延びて前記切り込み溝を避けて、L字状をなすことを特徴とする。
ここで、前記切り込み溝は、前記第1保護膜とともに前記抵抗体に形成される、第2表電極に覆われない領域の範囲内に収まることが好ましい。さらに前記切り込み溝は、前記抵抗体の長手方向に対して略垂直に前記抵抗体の内側に向かって形成される第1切り込み部と、その終端から前記抵抗体の長手方向に、前記第2表電極のうち前記狭小部を被覆するように延長される電極に向けて形成される第2切り込み部とからなることが好ましい。
本発明の一実施例のチップ抵抗器の(a)は上面図であり、(b)はそのAA’線に沿った断面図である。 図1に示す抵抗器に抵抗値調整のための切り込み溝とそれによって狭小部を形成し、第2表電極で狭小部を覆った状態を示す上面図である。 本発明の一実施例のチップ抵抗器の製造工程を示す上面図と断面図であり、(a)は絶縁性基板を準備する段階を示し、(b)は該基板に一対の第1表電極を形成した段階を示す。 同じく、(a)は一対の第1表電極に接続した抵抗体を形成した段階を示し、(b)は該抵抗体を被覆する第1保護膜を形成した段階を示す。 同じく、(a)は第1保護膜とともに抵抗体の一部に切り込み溝を入れることにより狭小部を形成した段階を示し、(b)は第1保護膜上に第1表電極と一端を接続し、切り込み溝は覆わず、狭小部の一部を被覆する第2表電極を形成した段階を示す。 同じく、(a)は第2表電極と露出した第1保護膜および切り込み溝を被覆する第2保護膜を形成した段階を示し、(b)は絶縁性基板を短冊状に分割した段階を示す。 同じく、(a)は露出した端面に側面電極を形成した段階を示し、(b)は個片に分割した段階を示す。 同じく、(a)は電極部分にNiめっき層とSnめっき層を形成した段階を示し、(b)は完成段階のチップ抵抗器の拡大断面図を示す。 各種の切り込み溝と第2表電極のパターン例を示す上面図である。 第2表電極の分割溝に掛かる部分に凹部を設けた第2表電極パターン例を示す上面図である。
以下、本発明の実施形態について、図1乃至図10を参照して説明する。なお、各図中、同一または相当する部材または要素には、同一の符号を付して説明する。
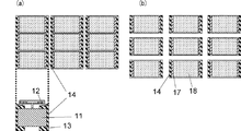
図1(a)(b)に示すように、本発明のチップ抵抗器は、アルミナ等の絶縁性基板11と、その表面両端部に配置した一対の銀−パラジウム等の第1表電極12と、該第1表電極に接続する酸化ルテニウム等の抵抗体15と、該抵抗体を被覆するガラス等の第1保護膜16とを備える。なお、絶縁性基板11の裏面両端部には一対の裏電極13が配置され、絶縁性基板11の両側面には表電極12と裏電極13を接続する側面電極14が配置されている。図示はしないがこれら電極の露出表面にはNiめっき層とSnめっき層が設けられている。
そして、第1保護膜16上に第1表電極12と一部が接続するように配置した第2表電極17と、第1保護膜16とともに抵抗体15に設けた抵抗値調整用の切り込み溝Xと、第2表電極の一部と、第1保護膜16および切り込み溝Xを被覆する樹脂等の第2保護膜18を備える。従って、チップ抵抗器の上面中央部は第2保護膜に被覆され、絶縁性基板上に抵抗体を配置し、該抵抗体を保護膜で被覆し、絶縁性基板の両端に電極を配置した通常のチップ抵抗器と外観が変わらない。
ここで、第2表電極17を第1保護膜16と第2保護膜18の間に形成し、図2に示すように、第2表電極17が抵抗体15および第1保護膜16の切り込み溝Xを被覆せず、該切り込み溝Xにより狭くなった狭小部Yを覆うように形成している。すなわち、第2表電極17は、一対の電極17a,17bからなり、少なくとも一方の第2表電極17aがチップ端19から延びて切り込み溝Xを避けて、狭小部Yを被覆するようにL字状をなしている。チップ端とは、絶縁性基板11における短手方向の両端を指す。もう一方の第2表電極17bはこの実施例では矩形をなしているが、後述するように、種々のパターンが採用可能である(図9参照)。
この実施例において、切り込み溝Xは、第2表電極に覆われない領域の範囲内に収まる。第2表電極に覆われない領域とは、図2に示すL字状をなす第2表電極によって囲まれた範囲Zのことである。また、切り込み溝Xは、抵抗体15の長手方向に対して略垂直に抵抗体15の内側に向かって形成した第1切り込み部X1と、その終端から抵抗体15の長手方向に、第2表電極の狭小部Yを被覆する第2表電極17aに向けて形成した第2切り込み部X2とからなる。第2切り込み部X2を入れる方向を第2表電極17aに向けることで、第2切り込み部X2の終端から生じるマイクロクラック部分を第2表電極17aによって覆うことができ、これによりマイクロクラックの伸長を電極17aで抑え込むことができ、抵抗値変化が起きにくくなり、信頼性を高めることができる。
以上の構成によるチップ抵抗器では、第2表電極17が、抵抗体15における抵抗値調整のための切り込み溝Xによって狭くなった狭小部Yの一部に掛かり、切り込み溝Xの部分を覆わず、第2表電極が第1保護膜16と第2保護膜18の間に形成されている、という点に特徴がある。
抵抗体15中を流れる電流は切り込み溝Xの部分には流れず、切り込み溝Xによって狭くなった狭小部Yに流れる。従って、第2表電極17が切り込み溝Xによって狭くなった狭小部Yを第1保護膜16のみを介して覆っていることにより、抵抗体において最も発熱する狭小部Yの放熱効果が向上し、チップ抵抗器の高定格・低TCR化が可能になる。
そして、第2表電極17は抵抗体全体を覆わず、狭小部Yを覆うため、切り込み溝Xに電極材料に含まれる金属が拡散して入り込み、短絡を起こす可能性が低減し、また、電極材料が従来技術に比べて少量で済むことで、短絡を起こす可能性がより低減する。
さらに、第2表電極17の上に第2保護膜18を形成することで、外観の電極サイズは汎用品と変わらない。このため、画像検出時に設定を変える必要がなく、既存の検査工程をそのまま適用することができる。そして、チップ抵抗器中央部上面が広く第2保護膜18により覆われているため、チップ抵抗器搭載時の吸着ノズルによる持ち帰り等のトラブルを防止できる。
また、第2表電極の面積が広くなるため、第2表電極形成後に抵抗値調整用の切り込み溝を形成する場合にプローブを接触させることが容易になる。第2表電極が第2保護膜に覆われているため、第2表電極の面積をより広くしても第2保護膜が第2電極間に入り込み、異物等による第2表電極間の短絡を防止することができる。従って、熱放散性に優れ、信頼性に優れ、且つ既存の製造工程への適合性の高いチップ抵抗器を提供することができる。
次に、本発明のチップ抵抗器の製造方法について、図3−8を参照して説明する。まず、分割溝21cが形成されたアルミナ等の多数個取り用の大判絶縁性基板21を準備する(図3(a)参照)。そして、各チップ区画の表面両端部に銀−パラジウムにガラスを混合したペーストを印刷または塗布し、約850℃で焼成し、一対の第1表電極12を形成する。裏電極13を形成する場合には、銀系のペースト材料を用いて形成する。第1表電極12と裏電極13の形成は同時でも、またどちらかが先であっても構わない(図3(b)参照)。
そして、第1表電極12に接続するように、酸化ルテニウムペースト等からなる抵抗体パターンを印刷し、約850℃で焼成して抵抗体15を形成する(図4(a)参照)。なお、第1表電極・裏電極形成工程と抵抗体形成工程とはどちらが先でも構わない。次に、抵抗値調整時の衝撃が抵抗体に与える影響を緩和するために、ガラスペーストを印刷し、約600℃で焼成して第1保護膜16を形成する(図4(b)参照)。
そして、その第1保護膜16と抵抗体15上に、抵抗値を調整するための切り込み溝Xを形成する。この切り込み溝Xは一例として、上述したように抵抗体15の長手方向に対して略垂直に抵抗体の内側に向かって形成される第1切り込み部X1と、その終端から一方の第2表電極17aが第1表電極と接続される一端側に向かって形成される第2切り込み部X2からなる(図5(a)参照)。
そして、第1保護膜16上に第1表電極12とチップ端19で接続し、切り込み溝Xを被覆せず且つ狭小部Yを被覆するように、銀系材料からなる第2表電極17を形成する(図5(b)参照)。このとき、望ましくは第2表電極17は抵抗体15における狭小部Yの面積の少なくとも70%を被覆する。そうすることで、切り込み溝Xの近傍まで第2表電極17が形成され、放熱効果が向上する。
また、第1保護膜16の焼成温度より第2表電極17の焼成温度を低く、または同じにする場合には、第2表電極17の焼成工程において第1保護膜16が溶融することを防止することができる。第2表電極17は、基板表面片端にのみ形成することも可能であるが、その場合には抵抗器の表面両端で高さが異なってしまうため、基板表面両端に一対で形成することが好ましい。なお、切り込み溝Xと第2表電極17については後述するように種々のパターンが採用可能である(図9参照)。
抵抗値調整工程と第2表電極形成工程の順番は逆になっても構わない。第2表電極形成後に抵抗値を調整する場合には、その後の工程において加熱される回数が減るため抵抗値が変化しにくくなるという効果を得ることができる。
その後、第2表電極17の一部と第1保護膜16および切り込み溝Xを覆う、エポキシ系樹脂等の樹脂系材料を用いた第2保護膜18を印刷し、200〜250℃で加温硬化して形成する(図6(a)参照)。第2保護膜18は、外部環境から抵抗体15を保護するために設けられており、樹脂系の材料によって形成することで、硬化に必要な温度が低くなる。それにより、抵抗値が変化しにくくなり、第2保護膜18の形成工程において第1保護膜16が溶融することを防ぐことができる。
次に、大判絶縁性基板21を短冊状に分割し(図6(b)参照)、短冊状に分割することで露出した絶縁性基板側面に側面電極14を形成する(図7(a)参照)。側面電極14はAg樹脂を塗布またはNi−Cr系材料をスパッタにより形成する。そして個片に分割し(図7(b)参照)、Niめっき層20aとSnめっき層20bとからなる電極めっき層20を形成することで、チップ抵抗器が完成する(図8(a)(b)参照)。なお、上記工程はチップ抵抗器のみではなく、ジャンパー製品にも応用することができる。
図9は種々の切り込み溝の形成パターン例及び第2表電極の形成パターン例を示す。(a)(b)はL字型の切り込み溝Xを用いたものである。(a)に示す例は、第2切り込み部X2が、第2表電極17のうち狭小部Yを覆う一方の第2表電極17aにおけるチップ端19方向へ向かって形成されている。(b)に示す例は、第2切り込み部X2が矩形の第2表電極17bの方向へ向かって形成される。従って(a)(b)は、第2切り込み部X2の向きがそれぞれ異なっている。
(c)(d)(e)(f)は抵抗体15の長手方向に対して略垂直なI字型の切り込み溝Xを用いたものである。(a)(b)(c)(d)は一方の第2表電極17aがチップ端19から延びて切り込み溝Xを避けて、狭小部Yを被覆するようにL字状をなしている。これに対して、(e)は他方の第2表電極17bがチップ端19から延びて切り込み溝Xを避けて、狭小部Yを被覆するようにL字状をなしている。また、(f)は両方の第2表電極17a,17bがチップ端19から延びて切り込み溝Xを避けて、狭小部Yを被覆するようにL字状をなしている。いずれの場合も、第2表電極17は抵抗体において抵抗値調整のための切り込み溝Xにより狭くなった狭小部Yを覆っているという点で共通する。
図10は図9(a)の変形例を示す。第2表電極17の電極材料が滲んで、大判絶縁性基板21上の分割溝21cに流れ込むことを防止するために、凹部17cを第2表電極17の一部に設けてもよい。
これまで本発明の一実施形態について説明したが、本発明は上述の実施形態に限定されず、その技術的思想の範囲内において種々異なる形態にて実施されてよいことは言うまでもない。
本発明は、チップ抵抗器、特に高電力用途のチップ抵抗器に好適に利用可能である。

Claims (6)

  1. 絶縁性基板と、
    該絶縁性基板の表面両端部に配置される一対の第1表電極と、
    該第1表電極に接続する抵抗体と、
    該抵抗体を被覆する第1保護膜と、
    該第1保護膜上に前記第1表電極と一部が接続するように配置される一対の第2表電極と、
    前記第1保護膜とともに前記抵抗体上に設けられる切り込み溝と、
    前記第2表電極の一部と、前記第1保護膜および前記切り込み溝を被覆する第2保護膜とを備え、
    前記第1保護膜と前記第2保護膜の間に形成される一対の前記第2表電極は、前記切り込み溝を被覆せず、
    前記抵抗体および前記第1保護膜上において該切り込み溝により狭くなる前記狭小部を被覆するように、少なくとも一方の第2表電極がチップ端から延びて前記切り込み溝を避けて、L字状をなすことを特徴とするチップ抵抗器。
  2. 前記切り込み溝は、前記抵抗体および前記第1保護膜上に形成される、前記第2表電極に覆われない領域の範囲内に収まることを特徴とする請求項1記載のチップ抵抗器。
  3. 前記切り込み溝は、前記抵抗体の長手方向に対して略垂直に前記抵抗体の内側に向かって形成される第1切り込み部と、その終端から前記抵抗体の長手方向に、前記第2表電極のうち前記狭小部を被覆するように延長される電極に向けて形成される第2切り込み部とからなることを特徴とする請求項1または2に記載のチップ抵抗器。
  4. 絶縁性基板に一対の第1表電極および該第1表電極に接続される抵抗体を形成する工程と、
    前記抵抗体を被覆する第1保護膜を形成する工程と、
    該第1保護膜とともに前記抵抗体に切り込み溝を形成する工程と、
    前記第1表電極と一端を接続し、前記切り込み溝を設けることにより前記抵抗体上に形成される狭小部を覆う第2表電極を形成する工程と、
    該第2表電極と、前記第1保護膜および前記切り込み溝を被覆する第2保護膜を形成する工程と、を有し、
    前記第2表電極は、一対の電極からなり、少なくとも一方の電極がチップ端から延びて前記切り込み溝を避けて、前記狭小部を被覆するようにL字状をなすことを特徴とするチップ抵抗器の製造方法。
  5. 前記切り込み溝は、前記抵抗体および前記第1保護膜上に形成される、前記第2表電極に覆われない領域の範囲内に収まるように形成することを特徴とする請求項に記載のチップ抵抗器の製造方法。
  6. 前記切り込み溝は、前記抵抗体の長手方向に対して略垂直に前記抵抗体の内側に向かって形成される第1切り込み部と、該第1切り込み部の終端から前記抵抗体の長手方向に、前記第2表電極のうち前記狭小部を被覆するように延長される電極に向けて形成される第2切り込み部の順に形成されることを特徴とする請求項4または5に記載のチップ抵抗器の製造方法。
JP2011052637A 2011-03-10 2011-03-10 チップ抵抗器およびその製造方法 Expired - Fee Related JP5696331B2 (ja)

Priority Applications (1)

Application Number Priority Date Filing Date Title
JP2011052637A JP5696331B2 (ja) 2011-03-10 2011-03-10 チップ抵抗器およびその製造方法

Applications Claiming Priority (1)

Application Number Priority Date Filing Date Title
JP2011052637A JP5696331B2 (ja) 2011-03-10 2011-03-10 チップ抵抗器およびその製造方法

Publications (2)

Publication Number Publication Date
JP2012190965A JP2012190965A (ja) 2012-10-04
JP5696331B2 true JP5696331B2 (ja) 2015-04-08

Family

ID=47083821

Family Applications (1)

Application Number Title Priority Date Filing Date
JP2011052637A Expired - Fee Related JP5696331B2 (ja) 2011-03-10 2011-03-10 チップ抵抗器およびその製造方法

Country Status (1)

Country Link
JP (1) JP5696331B2 (ja)

Families Citing this family (5)

* Cited by examiner, † Cited by third party
Publication number Priority date Publication date Assignee Title
JP2015079872A (ja) * 2013-10-17 2015-04-23 コーア株式会社 チップ抵抗器
JP6371080B2 (ja) * 2014-03-04 2018-08-08 Koa株式会社 チップ抵抗器の製造方法
US10083781B2 (en) * 2015-10-30 2018-09-25 Vishay Dale Electronics, Llc Surface mount resistors and methods of manufacturing same
CN112837872B (zh) * 2021-01-05 2025-08-22 广东风华高新科技股份有限公司 一种片式薄膜电阻器及其制备方法
CN115995319B (zh) * 2022-12-09 2025-08-26 珠海格力电器股份有限公司 电阻结构

Family Cites Families (3)

* Cited by examiner, † Cited by third party
Publication number Priority date Publication date Assignee Title
JPH0366103A (ja) * 1989-08-04 1991-03-20 Fujitsu Ltd 膜抵抗体の形成方法
JP2002025802A (ja) * 2000-07-10 2002-01-25 Rohm Co Ltd チップ抵抗器
JP2002110401A (ja) * 2000-09-29 2002-04-12 Matsushita Electric Ind Co Ltd 抵抗器およびその製造方法

Also Published As

Publication number Publication date
JP2012190965A (ja) 2012-10-04

Similar Documents

Publication Publication Date Title
JP7093382B2 (ja) チップ抵抗器
JP5696331B2 (ja) チップ抵抗器およびその製造方法
JP6822947B2 (ja) 角形チップ抵抗器及びその製造法
JPH1126204A (ja) 抵抗器およびその製造方法
CN107615410A (zh) 芯片电阻器
CN101681702A (zh) 片式电阻器
US11164688B2 (en) Chip resistor
US10109398B2 (en) Chip resistor and method for producing same
WO2019082523A1 (ja) チップ抵抗器およびチップ抵抗器の製造方法
JP2015079872A (ja) チップ抵抗器
JP6371080B2 (ja) チップ抵抗器の製造方法
US8854175B2 (en) Chip resistor device and method for fabricating the same
CN109830351B (zh) 一种贴片电阻器及其加工方法
JP2015230922A (ja) チップ抵抗器の製造方法
JP2008244211A (ja) 薄膜チップ抵抗器の製造方法
JP6453599B2 (ja) チップ抵抗器の製造方法
JP4693001B2 (ja) チップ型回路保護素子
JP6453598B2 (ja) チップ抵抗器
WO2018061961A1 (ja) チップ抵抗器
JP5157178B2 (ja) 角形チップ抵抗器
JP4512004B2 (ja) チップ抵抗器
JP2016139661A (ja) チップ抵抗器
JP4729398B2 (ja) チップ抵抗器
JP2007142165A (ja) チップ抵抗器とその製造方法
JP7636965B2 (ja) チップ抵抗器

Legal Events

Date Code Title Description
A621 Written request for application examination

Free format text: JAPANESE INTERMEDIATE CODE: A621

Effective date: 20140117

A977 Report on retrieval

Free format text: JAPANESE INTERMEDIATE CODE: A971007

Effective date: 20140922

A131 Notification of reasons for refusal

Free format text: JAPANESE INTERMEDIATE CODE: A131

Effective date: 20140930

A521 Written amendment

Free format text: JAPANESE INTERMEDIATE CODE: A523

Effective date: 20141119

TRDD Decision of grant or rejection written
RD13 Notification of appointment of power of sub attorney

Free format text: JAPANESE INTERMEDIATE CODE: A7433

Effective date: 20150108

A01 Written decision to grant a patent or to grant a registration (utility model)

Free format text: JAPANESE INTERMEDIATE CODE: A01

Effective date: 20150113

A61 First payment of annual fees (during grant procedure)

Free format text: JAPANESE INTERMEDIATE CODE: A61

Effective date: 20150120

R150 Certificate of patent or registration of utility model

Ref document number: 5696331

Country of ref document: JP

Free format text: JAPANESE INTERMEDIATE CODE: R150

S533 Written request for registration of change of name

Free format text: JAPANESE INTERMEDIATE CODE: R313533

R350 Written notification of registration of transfer

Free format text: JAPANESE INTERMEDIATE CODE: R350

R250 Receipt of annual fees

Free format text: JAPANESE INTERMEDIATE CODE: R250

R250 Receipt of annual fees

Free format text: JAPANESE INTERMEDIATE CODE: R250

R250 Receipt of annual fees

Free format text: JAPANESE INTERMEDIATE CODE: R250

LAPS Cancellation because of no payment of annual fees