JP5652359B2 - 電動圧縮機 - Google Patents

電動圧縮機 Download PDF

Info

Publication number
JP5652359B2
JP5652359B2 JP2011198075A JP2011198075A JP5652359B2 JP 5652359 B2 JP5652359 B2 JP 5652359B2 JP 2011198075 A JP2011198075 A JP 2011198075A JP 2011198075 A JP2011198075 A JP 2011198075A JP 5652359 B2 JP5652359 B2 JP 5652359B2
Authority
JP
Japan
Prior art keywords
coil
stator
electric compressor
housing
opening
Prior art date
Legal status (The legal status is an assumption and is not a legal conclusion. Google has not performed a legal analysis and makes no representation as to the accuracy of the status listed.)
Expired - Fee Related
Application number
JP2011198075A
Other languages
English (en)
Other versions
JP2013060822A (ja
Inventor
博史 深作
博史 深作
祥三 浜名
祥三 浜名
Current Assignee (The listed assignees may be inaccurate. Google has not performed a legal analysis and makes no representation or warranty as to the accuracy of the list.)
Toyota Industries Corp
Original Assignee
Toyota Industries Corp
Priority date (The priority date is an assumption and is not a legal conclusion. Google has not performed a legal analysis and makes no representation as to the accuracy of the date listed.)
Filing date
Publication date
Application filed by Toyota Industries Corp filed Critical Toyota Industries Corp
Priority to JP2011198075A priority Critical patent/JP5652359B2/ja
Priority to CN201210328454.2A priority patent/CN102996453B/zh
Priority to US13/608,318 priority patent/US9212661B2/en
Priority to EP12183720.7A priority patent/EP2568580A3/en
Publication of JP2013060822A publication Critical patent/JP2013060822A/ja
Application granted granted Critical
Publication of JP5652359B2 publication Critical patent/JP5652359B2/ja
Expired - Fee Related legal-status Critical Current
Anticipated expiration legal-status Critical

Links

Images

Classifications

    • FMECHANICAL ENGINEERING; LIGHTING; HEATING; WEAPONS; BLASTING
    • F04POSITIVE - DISPLACEMENT MACHINES FOR LIQUIDS; PUMPS FOR LIQUIDS OR ELASTIC FLUIDS
    • F04CROTARY-PISTON, OR OSCILLATING-PISTON, POSITIVE-DISPLACEMENT MACHINES FOR LIQUIDS; ROTARY-PISTON, OR OSCILLATING-PISTON, POSITIVE-DISPLACEMENT PUMPS
    • F04C18/00Rotary-piston pumps specially adapted for elastic fluids
    • F04C18/02Rotary-piston pumps specially adapted for elastic fluids of arcuate-engagement type, i.e. with circular translatory movement of co-operating members, each member having the same number of teeth or tooth-equivalents
    • F04C18/0207Rotary-piston pumps specially adapted for elastic fluids of arcuate-engagement type, i.e. with circular translatory movement of co-operating members, each member having the same number of teeth or tooth-equivalents both members having co-operating elements in spiral form
    • F04C18/0215Rotary-piston pumps specially adapted for elastic fluids of arcuate-engagement type, i.e. with circular translatory movement of co-operating members, each member having the same number of teeth or tooth-equivalents both members having co-operating elements in spiral form where only one member is moving
    • HELECTRICITY
    • H02GENERATION; CONVERSION OR DISTRIBUTION OF ELECTRIC POWER
    • H02KDYNAMO-ELECTRIC MACHINES
    • H02K3/00Details of windings
    • H02K3/32Windings characterised by the shape, form or construction of the insulation
    • H02K3/38Windings characterised by the shape, form or construction of the insulation around winding heads, equalising connectors, or connections thereto
    • HELECTRICITY
    • H02GENERATION; CONVERSION OR DISTRIBUTION OF ELECTRIC POWER
    • H02KDYNAMO-ELECTRIC MACHINES
    • H02K11/00Structural association of dynamo-electric machines with electric components or with devices for shielding, monitoring or protection
    • H02K11/30Structural association with control circuits or drive circuits
    • H02K11/33Drive circuits, e.g. power electronics
    • HELECTRICITY
    • H02GENERATION; CONVERSION OR DISTRIBUTION OF ELECTRIC POWER
    • H02KDYNAMO-ELECTRIC MACHINES
    • H02K3/00Details of windings
    • H02K3/04Windings characterised by the conductor shape, form or construction, e.g. with bar conductors
    • H02K3/24Windings characterised by the conductor shape, form or construction, e.g. with bar conductors with channels or ducts for cooling medium between the conductors
    • HELECTRICITY
    • H02GENERATION; CONVERSION OR DISTRIBUTION OF ELECTRIC POWER
    • H02KDYNAMO-ELECTRIC MACHINES
    • H02K3/00Details of windings
    • H02K3/44Protection against moisture or chemical attack; Windings specially adapted for operation in liquid or gas
    • HELECTRICITY
    • H02GENERATION; CONVERSION OR DISTRIBUTION OF ELECTRIC POWER
    • H02KDYNAMO-ELECTRIC MACHINES
    • H02K9/00Arrangements for cooling or ventilating
    • H02K9/19Arrangements for cooling or ventilating for machines with closed casing and closed-circuit cooling using a liquid cooling medium, e.g. oil
    • H02K9/197Arrangements for cooling or ventilating for machines with closed casing and closed-circuit cooling using a liquid cooling medium, e.g. oil in which the rotor or stator space is fluid-tight, e.g. to provide for different cooling media for rotor and stator
    • FMECHANICAL ENGINEERING; LIGHTING; HEATING; WEAPONS; BLASTING
    • F04POSITIVE - DISPLACEMENT MACHINES FOR LIQUIDS; PUMPS FOR LIQUIDS OR ELASTIC FLUIDS
    • F04CROTARY-PISTON, OR OSCILLATING-PISTON, POSITIVE-DISPLACEMENT MACHINES FOR LIQUIDS; ROTARY-PISTON, OR OSCILLATING-PISTON, POSITIVE-DISPLACEMENT PUMPS
    • F04C2240/00Components
    • F04C2240/40Electric motor
    • HELECTRICITY
    • H02GENERATION; CONVERSION OR DISTRIBUTION OF ELECTRIC POWER
    • H02KDYNAMO-ELECTRIC MACHINES
    • H02K7/00Arrangements for handling mechanical energy structurally associated with dynamo-electric machines, e.g. structural association with mechanical driving motors or auxiliary dynamo-electric machines
    • H02K7/14Structural association with mechanical loads, e.g. with hand-held machine tools or fans

Landscapes

  • Engineering & Computer Science (AREA)
  • Power Engineering (AREA)
  • Mechanical Engineering (AREA)
  • General Engineering & Computer Science (AREA)
  • Microelectronics & Electronic Packaging (AREA)
  • Compressor (AREA)

Description

本願発明は、電動圧縮機、特にステータに巻き付けられたコイルの漏洩電流の抑制と冷却に関する。
電動圧縮機はハウジングの内部に圧縮機構及び圧縮機構を駆動する電動モータを収容した構成を有し、車両用空調装置の冷媒回路の一部として車両に搭載されている。一般に車両では、車両に搭載された電気機器及び制御機器等への電動圧縮機の漏洩電流による影響を小さくする必要がある。
一方、電動圧縮機では、圧縮機の運転が停止されると、冷媒回路中の液化した冷媒や潤滑油の混合体(以下、液冷媒とする)が電動圧縮機の吸入ポートを通してハウジング内部に貯留され易い。電動モータのステータに巻き付けられたコイルは、液冷媒の貯留量の増加に伴い液冷媒中に浸漬される。コイルが液冷媒に浸漬された状態では、液冷媒の誘電率によりコイルとステータ及びステータを固定したハウジングとの間で絶縁性が低下し、ステータやステータを固定したハウジングに流れる漏洩電流が大きくなる。このため、電動圧縮機では、電動圧縮機の停止時における液冷媒の貯留時においても漏洩電流を抑制することが要求される。漏洩電流を抑制する手段としては、一般的に、絶縁性の高い潤滑油(例えばPOE系オイル)と冷媒との組み合わせで使用することにより、漏洩電流を抑制することができる。しかし、絶縁性の高い潤滑油を使用したとしても、電動圧縮機内に絶縁性の低い物質が混入すると漏洩電流を抑制することができない。また、圧縮機の仕様によっては、絶縁性の高くない潤滑油(例えばPAG系オイル)を使用する場合もあり、この場合、漏洩電流を抑制することができない。
例えば、特許文献1には、電動圧縮機における漏洩電流の抑制を目的とした発明が開示されている。特許文献1によると、電動機部(電動モータに相当)に電圧がかかっている状態において、電動機部に付着した冷凍機油(潤滑油に相当)を介して漏洩電流が発生する。即ち、冷凍機油中の冷媒溶解率が大きくなると冷凍機油中に比誘電率の大きい冷媒の溶け込み量が増加するため、大きな漏洩電流が生じる。
漏洩電流の抑制手段としては、2つの方法が開示されている。1つは、固定子鉄心(ステータに相当)と巻線(コイルに相当)との間の絶縁物を、固定子鉄心のティース部及び/又は巻線のコイルエンド部を包み込むように樹脂モールド成形により形成する方法である。他の1つは、絶縁物を、巻線の全体を包み込むように樹脂モールド成形により形成する方法である。従って、特許文献1は、絶縁物を樹脂モールド成形により形成することにより、ティース部及びコイルエンド部に冷凍機油が付着しても、樹脂モールド成形により絶縁性が向上しているため、漏洩電流を小さくすることができる。
特開2002−227767号公報
電動圧縮機の運転中、ステータに巻き付けられたコイルは発熱するため、コイル自体が劣化する、あるいは電動圧縮機のハウジング外周に設置された電動モータの電源供給部や制御部が伝熱により熱影響を受ける等の恐れがある。このため、電動モータのステータ及びコイルは、電動圧縮機のハウジング内に収容される構成を利用し、ハウジング内を循環する冷媒によって冷却されている。しかし、特許文献1の発明は、冷媒の溶け込んだ冷凍機油との接触による漏洩電流の発生を抑制するため、コイルエンド部あるいはコイル全体を包み込むように樹脂モールド成形し、絶縁する構成とした。このため、特許文献1に開示された電動圧縮機のコイルは、循環する冷媒から完全に隔絶された構成となり、コイルの発熱による影響を防止できない問題がある。
本願発明は、ステータに巻き付けられたコイルにおける漏洩電流の抑制と冷却の双方を可能にした電動圧縮機を提供する。
請求項1は、ハウジングの内部に圧縮機構及び電動モータが収容され、前記電動モータが収容されたハウジングの内部を冷媒が流通し、前記電動モータは回転軸に固定されたロータと前記ハウジングに固定されたステータと該ステータに巻き付けられたコイルとを備え、前記圧縮機構は前記ロータの回転軸に連結して駆動される電動圧縮機において、前記コイルのうち、前記ステータの両端面に突出するコイルエンドを樹脂により被覆した樹脂モールドを有し、前記樹脂モールドの一部に開口部を設け、前記開口部を通して前記コイルエンドの一部を前記ハウジングの内部に露出させ、前記開口部は、前記電動圧縮機の設置状態における重力方向から見て、上側に設けられていることを特徴とする。
請求項1によれば、コイルエンドを樹脂により被覆した樹脂モールドにより、電動圧縮機の停止時にハウジング内に貯留される液冷媒とコイルエンドとの接触によるコイルとステータ及びステータを固定するハウジングとの間の絶縁性の低下を抑制し、漏洩電流を抑制することができる。また、電動圧縮機の運転中にハウジング内を循環する冷媒とコイルエンドとを樹脂モールドの開口部を介して接触させることにより、コイルを冷却することが可能である。また、設置された電動圧縮機のコイルエンドは、下側に存在する部分が停止時にハウジング内に貯留される液冷媒に浸漬され、上側に存在する部分と液冷媒との接触が少ないため、漏洩電流抑制機能と冷却機能とをバランスよく行わせることができる。
請求項2は、前記電動圧縮機は横置き型であることを特徴とする。請求項2によれば、車載用として多用されている横置き型の電動圧縮機では、ステータの両端部のコイルエンドは停止時にハウジング内に貯留される液冷媒に浸漬されるが、樹脂モールドにより液冷媒との接触を防止され、コイルとステータ及びステータを固定するハウジングとの間の絶縁性の低下による漏洩電流を確実に抑制することができる。
請求項は、前記ステータに巻き付けられたコイルは分布巻きされた三相のコイルで構成され、前記開口部は前記上側に位置する少なくとも一相のコイルの一部と対応する位置に設けられていることを特徴とする。請求項によれば、分布巻きでは、ステータに巻き付けられたコイル束が隣接するコイル束と密着している。このため、コイル束間の熱伝導が高く、一相のコイルの一部を冷却するだけで、樹脂モールドの開口部に対応していない一相の他の部分及び他の相のコイルを十分に冷却することが可能である。
請求項は、前記分布巻きは波巻きであり、前記開口部は前記三相の各コイルの一部と対応する位置に設けられていることを特徴とする。請求項によれば、波巻きでは三相の各コイルは連続した状態でステータに巻き付けられているため、各相の一部を冷却すれば高い熱伝導により樹脂モールドの開口部を有しない位置のコイルを十分に冷却することができる。
本願発明は、電動圧縮機において、ステータに巻き付けられたコイルの漏洩電流の抑制と冷却の双方を可能にすることができる。
第1の実施形態を示す電動圧縮機の縦断面図である。 図1のステータの拡大断面図である。 ステータの側面図である。 液冷媒の滞留時の電動モータを示す部分断面図である。 第2の実施形態を示すもので、(a)はステータの断面図、(b)はステータの略左側面図である。 参考例1を示すもので、(a)はステータの断面図、(b)はステータの略左側面図である。 参考例2を示すステータの略左側面図である。
(第1の実施形態)
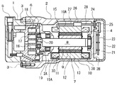
本願発明の第1の実施形態を図1〜図4に基づいて説明する。図1は横置き型にて設置したスクロール式の車載用電動圧縮機(以下、単に電動圧縮機とする)の例を示したもので、電動圧縮機の概要を以下に説明する。なお、横置き型とは、以下に記載される回転軸8が水平となるように電動圧縮機を車両に設置する形態を指す。また、回転軸8が垂直方向となるように設置する形態は縦置き型と呼称する。電動圧縮機は、フロント側のハウジング1とリア側のハウジング2とを複数のボルト3により固定した密閉状のハウジングを有する。ハウジング1、2は共にアルミニウム又はアルミニウム合金等の金属性材料により形成されている。ハウジング2には、吸入ポート4が形成され、また、ハウジング1には、吐出ポート5が形成され、吸入ポート4及び吐出ポート5はそれぞれ図示しない外部冷媒回路と接続されている。従って、ハウジング内は、吸入ポート4から吐出ポート5に向けて冷媒が流通する。
ハウジング1、2の内部2Aには、スクロール式の圧縮機構6及び圧縮機構6を駆動する電動モータ7が収容されている。電動モータ7は、三相交流モータで構成され、ハウジング2に軸受を介して回転可能に保持された回転軸8と回転軸8に固定されたロータ9とロータ9の外周に配置され、ハウジング2の内壁に固定されたステータ10とを有する。ロータ9は複数の磁性体からなる薄い鋼板を積層した積層鋼板により構成されるロータコア11と複数の永久磁石12とにより構成される。また、ステータ10は円筒状のステータコア13とステータコア13の内周に形成された複数のスロット14に絶縁紙(図示せず)を介して巻き付けられた三相のコイル15を有する。
圧縮機構6は、主要素として、ハウジング1、2の内壁に固定された固定スクロール16と、これに対向配置された可動スクロール17とにより構成されている。固定スクロール16と可動スクロール17との間には、冷媒を圧縮するための容積可変の圧縮室18が形成されている。可動スクロール17は、軸受及び偏心ブッシュ19を介して回転軸8の偏心ピン20に連結されることにより、回転軸8の回転に応じて公転運動し、圧縮室18の容積を変化させるよう構成されている。
ハウジング2の背面側の端面2Bには、インバータ収容室21を形成するインバータハウジング22が接合され、固定されている。インバータ収容室21内では、ハウジング2の端面2Bに電動モータ7を駆動するためのインバータ23及び気密端子24が取り付けられている。気密端子24は、インバータ収容室21内で、コネクタ25を介してインバータ23と電気的に接続される。また、気密端子24は、端子ピン28及びハウジング2の内部2Aでステータ10の外周部10Aに取り付けられたクラスタブロック26を介してステータ10のコイル15から引き出されているリード線27と電気的に接続される。
なお、電動圧縮機は、三相交流電力がインバータ23から気密端子24及びリード線27を介して電動モータ7のコイル15に通電されると、ロータ9が回転され、回転軸8によって圧縮機構6が作動される。
電動モータ7のステータ10について、図2及び図3を参照して詳細に説明する。図3に示すように、ステータコア13の内周には、ロータ9の極数(例えば、6極)に対応して、18個のスロット14が等分布に形成され、U相、V相、W相からなる三相のコイル15が分布巻きの一種である波巻きによりステータ10に巻き付けられている。従って、各相のコイル15はステータコア13の両側の端面13A、13Bに突出したコイルエンド15Aを有する。なお、図3では、説明上、三相のコイルエンド15Aが相互に空間を空けて配置された状態で示されているが、実際には、三相のコイルエンド15Aは整形された状態で、相互に密着し、環状に突出した形態である。
図3に示すステータコア13の一方の端面13Aに突出した三相のコイルエンド15Aからは、それぞれ2本の引き出し線A1、A2、B1、B2及びC1、C2が引き出されている。各引き出し線A1、B1及びC1は、中性点29用の引き出し線として使用され、3本を結んで、ステータ10の外周部10Aに留められている。また、各引き出し線A2、B2及びC2は、インバータ23及び気密端子24等の駆動回路に接続するためのリード線27として使用され、それぞれリード線27の端部をステータ10の外周部10Aに取り付けられたクラスタブロック26に装着されている。
ステータコア13の端面13A側及び端面13B側に突出するコイルエンド15Aには、図2に示すように、樹脂により被覆された樹脂モールド30が形成されている。樹脂モールド30は端面13A及び端面13Bと密着する状態で形成され、コイルエンド15Aを密閉している。また、樹脂モールド30は、電動圧縮機の設置状態における重力方向から見て、上側に位置するコイルエンド15Aの一部が開放されるように、開口部31を有する。
樹脂モールド30の開口部31は、図3に示すように、上側に位置するU相、V相及びW相の各コイルエンド15Aの一部と対応する位置に設けられ、各コイルエンド15Aの一部がハウジング2の内部2Aに露出するように構成されている。また、例えば、引き出し線C2のように、樹脂により被覆される箇所では、引き出し線C2が被覆されないように配置して、コイルエンド15Aの樹脂モールド30を形成している。なお、樹脂モールド30に使用する樹脂としては、エポキシ系、フェノール系、不飽和ポリエステル系、ポリイミド系などの樹脂が用いられる。
以上のように構成された第1の実施形態は以下の作用及び効果を有する。
電動圧縮機の運転が停止されると、ハウジング1、2内に残留する冷媒や潤滑油の混合体である液冷媒32及び吸入ポート4から流入する液冷媒32が、図4に示すように、ハウジング1、2の内部2Aの下側に貯留される。液冷媒32の貯留量は電動圧縮機の停止時間の経過に伴い増量する傾向にある。このため、ステータ10の下側に位置するコイルエンド15Aが液冷媒32中に浸漬される。
しかし、コイルエンド15Aは大部分が樹脂モールド30の樹脂により被覆されているため、液冷媒32との接触を遮断され、コイル15とステータ10及びステータ10を固定するハウジング2との間の絶縁性の低下に起因する漏洩電流を確実に抑制することができる。なお、液冷媒32の貯留量はハウジング1、2の内部2Aの上側にまでは達しないため、樹脂モールド30の開口部31を通して内部2Aに露出しているコイルエンド15Aが液冷媒32に浸漬される恐れはない。
一方、電動圧縮機の運転が再開されると、コイル15の発熱が生じるが、上側に位置する樹脂モールド30の開口部31を通して露出するコイルエンド15Aが吸入ポート4から流入し、圧縮機構6側へ流れる冷媒に晒され、冷却される。冷媒に晒されるコイルエンド15Aはコイルエンド15Aの一部であるが、各コイル15は波巻きによりステータ10に巻き付けられているため、樹脂モールド30の樹脂により被覆されているコイルエンド15Aも熱伝導により冷却される。さらに、U相、V相、W相の各コイルエンド15Aの少なくとも一部が冷媒に晒されるようになっており、3相とも冷却される。従って、コイル15は、従来と同様に、十分な冷却効果を得ることができ、コイル15の発熱による影響を確実に防止することができる。
(第2の実施形態)
図5は第2の実施形態を示したもので、第1の実施形態と同一の構成については同一の符号を付し、詳細な説明を省略する。第2の実施形態は、回転軸8の回転中心を通る水平面Xよりも下側に位置するステータコア13及びコイルエンド15Aを全て樹脂モールド33により被覆した構成を有する。従って、水平面Xよりも重力方向の上側には樹脂モールド33の開口部34が形成され、上側に位置する三相のコイル15のコイルエンド15Aは開口部34を通してハウジング1、2の内部2Aに露出される。なお、ステータコア13に樹脂モールド33を形成したステータ10は、ねじ止め等の手段によりハウジング2の内周壁に取り付けることができる。
第2の実施形態は、下側のコイルエンド15Aが電動圧縮機の停止中にハウジング1、2の内部2Aに貯留される液冷媒32に浸漬しても、樹脂モールド33により液冷媒32との接触を防止される。また、電動圧縮機の運転中、樹脂モールド33の開口部34から露出する上側のコイルエンド15Aは、吸入ポート4から圧縮機構6側へ流れる冷媒に十分に晒される。従って、第2の実施形態は第1の実施形態と同等の作用効果を得ることができる。また、第2の実施形態では、下側のステータ10及びコイルエンド15Aの全てが樹脂モールド33の樹脂により被覆されるため、下側に位置するコイル15全体のカバーが可能となり、液冷媒32との接触をより確実に防止することができる。
参考例1
図6は参考例1を示したもので、第1の実施形態と同一の構成については同一の符号を付し、詳細な説明を省略する。参考例1は、ステータコア13及びコイルエンド15Aの全体を樹脂モールド35により被覆した構成を有する。また、樹脂モールド35の開口部36は円形状に形成され、ステータコア13の両端面13A、13B側において、回転軸8の回転中心を通る水平面Xよりも上側に位置するコイルエンド15Aと対応する位置に複数設けている。なお、ステータコア13全体に樹脂モールド35を形成したステータ10は、第2の実施形態に示したねじ止めの外、接着剤等の手段によりハウジング2の内周壁に取り付けることができる。
参考例1は、第2の実施形態と同様に、水平面Xよりも下側に位置するステータコア13及びコイルエンド15Aが樹脂モールド35の樹脂により被覆されているので、電動圧縮機の停止中に貯留される液冷媒32と接触することがない。また、電動圧縮機の運転中は、樹脂モールド35の開口部36を通して内部2Aに露出する上側のコイルエンド15Aが、冷媒に十分に晒される。従って、参考例1は、第1の実施形態及び第2の実施形態と同等の作用効果を得ることができる。
また、参考例1では、開口部36を回転軸8の回転中心を通る水平面Xよりも上側に設けた構成を示したが、上側の開口部36に加えて、図6(b)に仮想線にて示すように、下側にも開口部37を複数設けることが可能である。この場合、下側に設けた開口部37の一部は貯留された液冷媒32に浸漬する可能性があるが、液冷媒32と接するコイルエンド15Aの面積はコイルエンド15A全体に比して小さいため、コイルとステータ及びステータを固定するハウジングとの間の絶縁性の低下を抑制する効果が大きい。逆に、電動圧縮機の運転中におけるコイルエンド15Aと冷媒との接触面積が参考例1よりも大きくなるため、コイル15のより大きな冷却効果を期待することができる。
参考例2
図7は参考例2を示したもので、参考例1と同一の構成については同一の符号を付し、詳細な説明を省略する。参考例2は、コイル15の巻線の方法を、コイルエンド15Bが相互に密着しない集中巻きとしている。また、樹脂モールド35の開口部38は集中巻きされた複数相のコイル15のコイルエンド15Bと対応する位置、つまり各スロット14間に対応する位置に設けられており、コイルエンド15Bの数と同数の開口部38が設けられている。従って、漏洩電流を低減するとともに、コイル15を確実に冷却することができる。
本願発明は、前記した実施形態の構成に限定されるものではなく、本願発明の趣旨の範囲内で種々の変更が可能であり、次のような、他の実施形態で実施することができる。
(1)第1の実施形態において、樹脂モールド30の開口部31はU相、V相、W相からなる三相のコイル15の内、一相のコイル15のコイルエンド15Aに対応する位置にのみ設ける構成としても良い。この場合、一相のコイルエンド15Aのみが冷媒に晒されて冷却されるが、三相の各コイルエンド15Aは相互に密着し、また波巻きにより巻き付けられているため、熱伝導により三相のコイル15は十分な冷却効果を得ることができる。
(2)第2の実施形態では、樹脂モールド33の樹脂がステータコア13及びコイルエンド15Aを被覆する構成で示したが、第1の実施形態のように、樹脂モールド33の樹脂がコイルエンド15Aのみを被覆する構成で実施しても良い。
(3)コイル15の巻線の方法は、第1の実施形態に示した波巻きに限らず、分布巻きの一種である同心巻きにしても良い。同心巻きの場合でも、ステータコア13のスロット14に巻きつけられたコイルのコイルエンドは相互に密着しているため、コイル間の熱伝導性が良く、第1、第2の実施形態と同様にコイルの十分な冷却効果を得ることができる。
(4)インバータ23は、ハウジング2の端面2Bに設ける構成に限らず、ハウジング2の外周面上に設けるように構成しても良い。また、この場合に、クラスタブロック26はステータ10の外周部10Aに取り付けた構成にしても、ステータ10から分離してハウジング2の内部2Aに自由状態で配置する構成にしても良い。
(5)前記実施形態における電動モータ7は、外側に配置したステータ10にロータ9を嵌合するインナーロータの構成を示したが、外側に配置したロータにステータを嵌合するアウターロータの構成であっても、本願発明を実施することができる。
(6)前記実施形態の電動モータ7は、ロータ9の極数を6極、ステータ10のスロット数を18スロットの例を示したが、それ以外の極数、スロット数でもよく、例えばロータの極数を4極、ステータのスロット数を12スロットで構成した電動モータで実施しても良い。
(7)前記実施形態では、電動モータ7が吸入ポート4側に配置され、吸入冷媒雰囲気下にあるよう構成したが、電動モータ7は吐出ポート5側に配置され、吐出冷媒雰囲気下にあるように構成しても良い。
(8)前記実施形態では、スクロール式電動圧縮機に実施した例を示したが、電動圧縮機はベーン式、スクリュー式等の他の回転式圧縮機やスワッシュ式、ワッブル式等の往復式圧縮機に電動モータを内蔵した電動圧縮機において本願発明を実施することができる。
(9)前記した各実施形態は縦置き方の車載用電動圧縮機においても実施することができ
る。
(10)前記実施形態では、車載用電動圧縮機において実施した例を示したが、車載用に限定されず、家庭用、工場用等の電動圧縮機においても実施することができる。
1、2 ハウジング
2A ハウジングの内部
4 吸入ポート
5 吐出ポート
6 圧縮機構
7 電動モータ
9 ロータ
10 ステータ
13 ステータコア
13A、13B 端面
15 コイル
15A、15B コイルエンド
16 固定スクロール
17 可動スクロール
23 インバータ
30、33、35 樹脂モールド
31、34、36、37、38 開口部
32 液冷媒
A1、A2、B1、B2、C1、C2 引き出し線
X 水平面

Claims (4)

  1. ハウジングの内部に圧縮機構及び電動モータが収容され、前記電動モータが収容されたハウジングの内部を冷媒が流通し、前記電動モータは回転軸に固定されたロータと前記ハウジングに固定されたステータと該ステータに巻き付けられたコイルとを備え、前記圧縮機構は前記ロータの回転軸に連結して駆動される電動圧縮機において、
    前記コイルのうち、前記ステータの両端面に突出するコイルエンドを樹脂により被覆した樹脂モールドを有し、前記樹脂モールドの一部に開口部を設け、前記開口部を通して前記コイルエンドの一部を前記ハウジングの内部に露出させ、前記開口部は、前記電動圧縮機の設置状態における重力方向から見て、上側に設けられていることを特徴とする電動圧縮機。
  2. 前記電動圧縮機は横置き型であることを特徴とする請求項1に記載の電動圧縮機。
  3. 前記ステータに巻き付けられたコイルは分布巻きされた三相のコイルで構成され、前記開口部は前記上側に位置する少なくとも一相のコイルの一部と対応する位置に設けられていることを特徴とする請求項1又は請求項2に記載の電動圧縮機。
  4. 前記分布巻きは波巻きであり、前記開口部は前記三相の各コイルの一部と対応する位置に設けられていることを特徴とする請求項3に記載の電動圧縮機。
JP2011198075A 2011-09-12 2011-09-12 電動圧縮機 Expired - Fee Related JP5652359B2 (ja)

Priority Applications (4)

Application Number Priority Date Filing Date Title
JP2011198075A JP5652359B2 (ja) 2011-09-12 2011-09-12 電動圧縮機
CN201210328454.2A CN102996453B (zh) 2011-09-12 2012-09-06 电动压缩机
US13/608,318 US9212661B2 (en) 2011-09-12 2012-09-10 Electric compressor with the stator coils coated with resin, the resin having openings exposing the coils to the interior of the housing
EP12183720.7A EP2568580A3 (en) 2011-09-12 2012-09-10 Electric compressor

Applications Claiming Priority (1)

Application Number Priority Date Filing Date Title
JP2011198075A JP5652359B2 (ja) 2011-09-12 2011-09-12 電動圧縮機

Related Child Applications (1)

Application Number Title Priority Date Filing Date
JP2014198335A Division JP5929991B2 (ja) 2014-09-29 2014-09-29 電動圧縮機

Publications (2)

Publication Number Publication Date
JP2013060822A JP2013060822A (ja) 2013-04-04
JP5652359B2 true JP5652359B2 (ja) 2015-01-14

Family

ID=46829668

Family Applications (1)

Application Number Title Priority Date Filing Date
JP2011198075A Expired - Fee Related JP5652359B2 (ja) 2011-09-12 2011-09-12 電動圧縮機

Country Status (4)

Country Link
US (1) US9212661B2 (ja)
EP (1) EP2568580A3 (ja)
JP (1) JP5652359B2 (ja)
CN (1) CN102996453B (ja)

Families Citing this family (19)

* Cited by examiner, † Cited by third party
Publication number Priority date Publication date Assignee Title
US9590462B2 (en) * 2012-10-30 2017-03-07 Panasonic Intellectual Property Management Co., Ltd. Electric compressor
EP2894773B1 (en) * 2013-03-15 2017-06-07 Panasonic Intellectual Property Management Co., Ltd. Resolver
DE102013214386A1 (de) * 2013-07-23 2015-01-29 Zf Friedrichshafen Ag Elektrische Maschine
JP6194877B2 (ja) * 2014-12-19 2017-09-13 トヨタ自動車株式会社 回転電機
JP6560033B2 (ja) * 2015-06-25 2019-08-14 株式会社日立製作所 回転電機、並びに回転電機の冷却システム
US10830222B2 (en) * 2015-08-25 2020-11-10 Panasonic Appliances Refrigeration Devices Singapore Refrigeration compressor having an outer-rotor type motor with the stator fixed to a member fixed to a cylinder block
US10886809B2 (en) * 2016-12-23 2021-01-05 Vestas Wind Systems A/S Electrical isolation mounting of electrical machine stator
DE102017208564A1 (de) * 2017-05-19 2018-11-22 Mahle International Gmbh Elektrische Maschine, insbesondere für ein Fahrzeug
JP2020051328A (ja) * 2018-09-27 2020-04-02 サンデン・オートモーティブコンポーネント株式会社 電動圧縮機
JP7313159B2 (ja) * 2019-02-27 2023-07-24 フォスター電機株式会社 振動アクチュエータ
DE102020121432B4 (de) 2020-08-14 2022-06-09 Dr. Ing. H.C. F. Porsche Aktiengesellschaft Antriebsstrang mit einer elektrischen Maschine und einem Wechselrichter, Kraftfahrzeug
CN112290719B (zh) * 2020-11-16 2025-04-08 珠海格力电器股份有限公司 电机及压缩机
JP7743195B2 (ja) 2021-03-23 2025-09-24 サンデン株式会社 電動圧縮機
JP2022162797A (ja) * 2021-04-13 2022-10-25 三菱重工サーマルシステムズ株式会社 電動圧縮機
DE102022107812A1 (de) 2022-04-01 2023-10-05 Hanon Systems Elektrischer Kältemittelverdichter mit Sauggaskühlung
DE102022209762A1 (de) * 2022-09-16 2024-03-21 Rolls-Royce Deutschland Ltd & Co Kg Elektrische Maschine mit offener Spulenwicklung zur Direktkühlung
US12212230B2 (en) 2022-11-21 2025-01-28 Trane International Inc. Devices, systems, and methods for reducing leakage current in power converters
DE102023105136B4 (de) * 2023-03-02 2025-10-02 Schaeffler Technologies AG & Co. KG Stator, Verfahren zur Herstellung eines Stators, Fluidleitkörper und elektrische Maschine
JP2024131733A (ja) * 2023-03-16 2024-09-30 三菱重工サーマルシステムズ株式会社 圧縮機

Family Cites Families (16)

* Cited by examiner, † Cited by third party
Publication number Priority date Publication date Assignee Title
JPH01130076A (ja) 1987-11-12 1989-05-23 Matsushita Electric Ind Co Ltd 密閉形冷凍圧縮機
DE3825035B4 (de) * 1988-07-09 2006-11-23 Flux-Geräte GmbH Bürstenloser, elektrisch kommutierter Motor für eine Faß- oder eine Behälterpumpe zum Betieb an einem Wechselspannungsnetz
JPH10271738A (ja) * 1997-03-21 1998-10-09 Shibaura Eng Works Co Ltd ポンプ用モータ
JP4176231B2 (ja) * 1999-03-23 2008-11-05 東芝キヤリア株式会社 密閉形電動圧縮機
JP4073622B2 (ja) 2000-12-18 2008-04-09 サンデン株式会社 電動式圧縮機
JP2002227767A (ja) * 2001-01-30 2002-08-14 Mitsubishi Electric Corp 密閉型圧縮機
JP2003184775A (ja) * 2001-09-10 2003-07-03 Hitachi Ltd アンモニア系冷媒用スクロール圧縮機及び冷凍装置
JP2004183499A (ja) * 2002-11-29 2004-07-02 Denso Corp 電動コンプレッサ
JP4586542B2 (ja) * 2005-01-17 2010-11-24 トヨタ自動車株式会社 回転電機
JP4287418B2 (ja) * 2005-09-02 2009-07-01 本田技研工業株式会社 モータの結線構造
JP4293207B2 (ja) * 2006-07-21 2009-07-08 株式会社日立製作所 電動ポンプ
JP2008042956A (ja) 2006-08-01 2008-02-21 Denso Corp 電動コンプレッサ
JP2008184995A (ja) 2007-01-31 2008-08-14 Denso Corp 電動コンプレッサ
BRPI0706119A2 (pt) * 2007-10-02 2009-06-02 Whirlpool Sa processo de isolamento elétrico de uma bobina de um dispositivo elétrico e arranjo de isolamento elétrico de uma bobina de um dispositivo elétrico
JP4985590B2 (ja) 2008-09-02 2012-07-25 株式会社豊田自動織機 電動コンプレッサ
JP5446531B2 (ja) * 2009-07-14 2014-03-19 株式会社豊田自動織機 回転電機における相間絶縁構造及び回転電機における相間絶縁シートの組み付け方法

Also Published As

Publication number Publication date
CN102996453B (zh) 2015-11-18
CN102996453A (zh) 2013-03-27
EP2568580A2 (en) 2013-03-13
EP2568580A3 (en) 2017-03-08
JP2013060822A (ja) 2013-04-04
US9212661B2 (en) 2015-12-15
US20130064697A1 (en) 2013-03-14

Similar Documents

Publication Publication Date Title
JP5652359B2 (ja) 電動圧縮機
JP5811422B2 (ja) 回転電機
JP5804450B2 (ja) 回転電機
US9136739B2 (en) Rotary electric machine
WO2015159658A1 (ja) 永久磁石式回転電機及びそれを用いた圧縮機
US9234527B2 (en) Motor driven compressor
US10038353B2 (en) Dual-rotor electric rotating machine
JPWO2017141877A1 (ja) 電動装置および電動過給機
WO2014103482A1 (ja) インバータ一体型電動圧縮機
JP6739529B2 (ja) 回転電機の固定子、回転電機及び圧縮機
JP5929991B2 (ja) 電動圧縮機
JP6818602B2 (ja) 制御装置付き回転電機
JP5634202B2 (ja) 電動圧縮機及びその制御装置
JP2018033197A (ja) インバータ一体形回転電機
EP2191991A1 (en) Electric compressor integrated with inverter
JP2012005204A (ja) モータ冷却構造
US20210159750A1 (en) Electric compressor
JP2018168831A (ja) 電動圧縮機
WO2023132201A1 (ja) 回転機
JP5645605B2 (ja) 電動圧縮機及びその制御装置
JP6518720B2 (ja) 永久磁石式回転電機及びそれを用いた圧縮機
JP2015116086A (ja) 回転電機、および車載用電動圧縮機
JP2008082279A (ja) 電動コンプレッサ
WO2018230267A1 (ja) インバータ一体型電動圧縮機
JP2017153248A (ja) モータおよびモータを用いた圧縮機

Legal Events

Date Code Title Description
A621 Written request for application examination

Free format text: JAPANESE INTERMEDIATE CODE: A621

Effective date: 20131001

A977 Report on retrieval

Free format text: JAPANESE INTERMEDIATE CODE: A971007

Effective date: 20140722

A131 Notification of reasons for refusal

Free format text: JAPANESE INTERMEDIATE CODE: A131

Effective date: 20140729

A521 Request for written amendment filed

Free format text: JAPANESE INTERMEDIATE CODE: A523

Effective date: 20140929

TRDD Decision of grant or rejection written
A01 Written decision to grant a patent or to grant a registration (utility model)

Free format text: JAPANESE INTERMEDIATE CODE: A01

Effective date: 20141021

A61 First payment of annual fees (during grant procedure)

Free format text: JAPANESE INTERMEDIATE CODE: A61

Effective date: 20141103

R151 Written notification of patent or utility model registration

Ref document number: 5652359

Country of ref document: JP

Free format text: JAPANESE INTERMEDIATE CODE: R151

LAPS Cancellation because of no payment of annual fees