JP5609727B2 - 洗車機 - Google Patents
洗車機 Download PDFInfo
- Publication number
- JP5609727B2 JP5609727B2 JP2011060097A JP2011060097A JP5609727B2 JP 5609727 B2 JP5609727 B2 JP 5609727B2 JP 2011060097 A JP2011060097 A JP 2011060097A JP 2011060097 A JP2011060097 A JP 2011060097A JP 5609727 B2 JP5609727 B2 JP 5609727B2
- Authority
- JP
- Japan
- Prior art keywords
- car wash
- brush
- vehicle
- wash machine
- cleaned
- Prior art date
- Legal status (The legal status is an assumption and is not a legal conclusion. Google has not performed a legal analysis and makes no representation as to the accuracy of the status listed.)
- Active
Links
Images
Landscapes
- Vehicle Cleaning, Maintenance, Repair, Refitting, And Outriggers (AREA)
Description
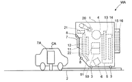
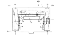
4 トップブラシ
4A 回転軸
5 サイドブラシ
6 ロッカーブラシ
7 操作パネル
7A リモートパネル
101 制御部
102 記憶部
103 入出力部
104 操作部
105 洗車機駆動部
106 ブラシ制御部
107 電流検知部
108 計測部
CA 被洗浄車両
d 離隔幅
Claims (4)
- 回転するブラシを有する洗車機本体と被洗浄車両とを前後方向に相対移動させながら前記被洗浄車両の洗車を行う洗車機であって、
前記ブラシの駆動電流を検知する電流検知部と、
前記ブラシと前記洗車機本体との距離を計測する計測部と、を備え、
前記ブラシの駆動電流が所定の離間閾値よりも大きい時には離間し、所定の接近閾値よりも小さい時には接近して、前記被洗浄車両と前記ブラシとの距離を可変とし、
前記ブラシが前記洗車機本体及び前記被洗浄車両に接触する干渉洗浄領域の前記離間閾値は、前記ブラシが前記洗車機本体から離れて前記被洗浄車両に接触する非干渉洗浄領域の前記離間閾値よりも大きく、
前記計測部の検知結果に基づいて前記干渉洗浄領域と前記非干渉洗浄領域とを判別し、前記干渉洗浄領域が前記ブラシと前記洗車機本体との距離に応じて複数の段階に分割され、前記ブラシが前記洗車機本体へ近づくほど各段階の前記離間閾値及び前記接近閾値を大きくしたことを特徴とする洗車機。 - 前記干渉洗浄領域の前記接近閾値は、前記非干渉洗浄領域の前記接近閾値よりも大きいことを特徴とする請求項1に記載の洗車機。
- 前記離間閾値が前記接近閾値より大きいことを特徴とする請求項2に記載の洗車機。
- 前記ブラシは被洗浄車両の上面を洗浄するトップブラシであり、
前記干渉洗浄領域では前記洗車機本体の天井面に前記トップブラシが接触することを特徴とする請求項1〜3のいずれかに記載の洗車機。
Priority Applications (1)
| Application Number | Priority Date | Filing Date | Title |
|---|---|---|---|
| JP2011060097A JP5609727B2 (ja) | 2011-03-18 | 2011-03-18 | 洗車機 |
Applications Claiming Priority (1)
| Application Number | Priority Date | Filing Date | Title |
|---|---|---|---|
| JP2011060097A JP5609727B2 (ja) | 2011-03-18 | 2011-03-18 | 洗車機 |
Publications (2)
| Publication Number | Publication Date |
|---|---|
| JP2012192900A JP2012192900A (ja) | 2012-10-11 |
| JP5609727B2 true JP5609727B2 (ja) | 2014-10-22 |
Family
ID=47085218
Family Applications (1)
| Application Number | Title | Priority Date | Filing Date |
|---|---|---|---|
| JP2011060097A Active JP5609727B2 (ja) | 2011-03-18 | 2011-03-18 | 洗車機 |
Country Status (1)
| Country | Link |
|---|---|
| JP (1) | JP5609727B2 (ja) |
Families Citing this family (2)
| Publication number | Priority date | Publication date | Assignee | Title |
|---|---|---|---|---|
| JP6307790B2 (ja) * | 2013-01-11 | 2018-04-11 | 株式会社ダイフク | 洗車機および昇降洗車具の駆動方法 |
| JP6107750B2 (ja) * | 2014-01-10 | 2017-04-05 | 株式会社ダイフク | 洗車機 |
Family Cites Families (9)
| Publication number | Priority date | Publication date | Assignee | Title |
|---|---|---|---|---|
| JPS59106350A (ja) * | 1982-12-09 | 1984-06-20 | Takeuchi Tekko Kk | 車両の上面洗浄方法 |
| JPS59118552A (ja) * | 1982-12-24 | 1984-07-09 | Takeuchi Tekko Kk | 洗車機における安全装置 |
| JPS6092140A (ja) * | 1983-10-26 | 1985-05-23 | Nisshin Seiki Kk | 洗車機 |
| JP3548086B2 (ja) * | 1990-03-30 | 2004-07-28 | タケウチテクノ株式会社 | 洗車装置 |
| JP3139755B2 (ja) * | 1990-03-30 | 2001-03-05 | タケノウチテクノ株式会社 | 洗車装置 |
| JP3120296B2 (ja) * | 1992-03-13 | 2000-12-25 | タケウチテクノ株式会社 | 車両の上面洗浄装置 |
| JPH07117637A (ja) * | 1993-10-21 | 1995-05-09 | Takeuchi Iron Works Corp | 洗車機における回転ブラシの移動制御装置 |
| JPH106936A (ja) * | 1996-06-26 | 1998-01-13 | Mk Seiko Co Ltd | 洗車機 |
| JP2001270427A (ja) * | 2000-03-24 | 2001-10-02 | Mk Seiko Co Ltd | 洗車機 |
-
2011
- 2011-03-18 JP JP2011060097A patent/JP5609727B2/ja active Active
Also Published As
| Publication number | Publication date |
|---|---|
| JP2012192900A (ja) | 2012-10-11 |
Similar Documents
| Publication | Publication Date | Title |
|---|---|---|
| JP5747829B2 (ja) | 洗車機 | |
| JP5974707B2 (ja) | 洗車機およびサイド送風ノズル駆動方法 | |
| JP5673407B2 (ja) | 洗車機 | |
| JP5609727B2 (ja) | 洗車機 | |
| JP6269395B2 (ja) | 洗車機 | |
| JP2014024460A (ja) | 洗車機 | |
| JP5783102B2 (ja) | 洗車機 | |
| JP2013022974A (ja) | 洗車機 | |
| JP5861585B2 (ja) | 洗車機 | |
| JP4285408B2 (ja) | 洗車機 | |
| JP5724882B2 (ja) | 洗車機 | |
| JP5895885B2 (ja) | 洗車機 | |
| JP5601310B2 (ja) | 洗車機 | |
| JP6222016B2 (ja) | 洗車機 | |
| JP2013166449A (ja) | 洗車機 | |
| JP5239902B2 (ja) | 洗車機 | |
| JP6265159B2 (ja) | 洗車機 | |
| JP5772602B2 (ja) | 洗車機 | |
| JP5482686B2 (ja) | 洗車機 | |
| JP2014024378A (ja) | 洗車機およびサイドブラシの駆動方法 | |
| JP5862500B2 (ja) | 洗車機および洗車方法 | |
| JP5594280B2 (ja) | 洗車機 | |
| JP5630445B2 (ja) | 洗車機 | |
| JP5664500B2 (ja) | 洗車機 | |
| JP2006224830A (ja) | 洗車機 |
Legal Events
| Date | Code | Title | Description |
|---|---|---|---|
| A621 | Written request for application examination |
Free format text: JAPANESE INTERMEDIATE CODE: A621 Effective date: 20130227 |
|
| A977 | Report on retrieval |
Free format text: JAPANESE INTERMEDIATE CODE: A971007 Effective date: 20140116 |
|
| A131 | Notification of reasons for refusal |
Free format text: JAPANESE INTERMEDIATE CODE: A131 Effective date: 20140128 |
|
| A521 | Request for written amendment filed |
Free format text: JAPANESE INTERMEDIATE CODE: A523 Effective date: 20140311 |
|
| TRDD | Decision of grant or rejection written | ||
| A01 | Written decision to grant a patent or to grant a registration (utility model) |
Free format text: JAPANESE INTERMEDIATE CODE: A01 Effective date: 20140805 |
|
| A61 | First payment of annual fees (during grant procedure) |
Free format text: JAPANESE INTERMEDIATE CODE: A61 Effective date: 20140818 |
|
| R150 | Certificate of patent or registration of utility model |
Ref document number: 5609727 Country of ref document: JP Free format text: JAPANESE INTERMEDIATE CODE: R150 |
|
| R250 | Receipt of annual fees |
Free format text: JAPANESE INTERMEDIATE CODE: R250 |
|
| R250 | Receipt of annual fees |
Free format text: JAPANESE INTERMEDIATE CODE: R250 |
|
| R250 | Receipt of annual fees |
Free format text: JAPANESE INTERMEDIATE CODE: R250 |
|
| RD03 | Notification of appointment of power of attorney |
Free format text: JAPANESE INTERMEDIATE CODE: R3D03 |
|
| R250 | Receipt of annual fees |
Free format text: JAPANESE INTERMEDIATE CODE: R250 |
|
| R250 | Receipt of annual fees |
Free format text: JAPANESE INTERMEDIATE CODE: R250 |
|
| R250 | Receipt of annual fees |
Free format text: JAPANESE INTERMEDIATE CODE: R250 |
|
| R250 | Receipt of annual fees |
Free format text: JAPANESE INTERMEDIATE CODE: R250 |
|
| R250 | Receipt of annual fees |
Free format text: JAPANESE INTERMEDIATE CODE: R250 |
|
| R250 | Receipt of annual fees |
Free format text: JAPANESE INTERMEDIATE CODE: R250 |
