JP5488024B2 - Acアダプタ - Google Patents

Acアダプタ Download PDF

Info

Publication number
JP5488024B2
JP5488024B2 JP2010031903A JP2010031903A JP5488024B2 JP 5488024 B2 JP5488024 B2 JP 5488024B2 JP 2010031903 A JP2010031903 A JP 2010031903A JP 2010031903 A JP2010031903 A JP 2010031903A JP 5488024 B2 JP5488024 B2 JP 5488024B2
Authority
JP
Japan
Prior art keywords
circuit board
wiring pattern
metal
adapter
connector
Prior art date
Legal status (The legal status is an assumption and is not a legal conclusion. Google has not performed a legal analysis and makes no representation as to the accuracy of the status listed.)
Expired - Fee Related
Application number
JP2010031903A
Other languages
English (en)
Other versions
JP2011171022A (ja
Inventor
大 佐々木
泰輔 古賀
Current Assignee (The listed assignees may be inaccurate. Google has not performed a legal analysis and makes no representation or warranty as to the accuracy of the list.)
Mitsumi Electric Co Ltd
Original Assignee
Mitsumi Electric Co Ltd
Priority date (The priority date is an assumption and is not a legal conclusion. Google has not performed a legal analysis and makes no representation as to the accuracy of the date listed.)
Filing date
Publication date
Application filed by Mitsumi Electric Co Ltd filed Critical Mitsumi Electric Co Ltd
Priority to JP2010031903A priority Critical patent/JP5488024B2/ja
Priority to US13/027,634 priority patent/US8467194B2/en
Priority to CN201110040026.5A priority patent/CN102163908B/zh
Publication of JP2011171022A publication Critical patent/JP2011171022A/ja
Application granted granted Critical
Publication of JP5488024B2 publication Critical patent/JP5488024B2/ja
Expired - Fee Related legal-status Critical Current
Anticipated expiration legal-status Critical

Links

Images

Classifications

    • HELECTRICITY
    • H01ELECTRIC ELEMENTS
    • H01RELECTRICALLY-CONDUCTIVE CONNECTIONS; STRUCTURAL ASSOCIATIONS OF A PLURALITY OF MUTUALLY-INSULATED ELECTRICAL CONNECTING ELEMENTS; COUPLING DEVICES; CURRENT COLLECTORS
    • H01R12/00Structural associations of a plurality of mutually-insulated electrical connecting elements, specially adapted for printed circuits, e.g. printed circuit boards [PCB], flat or ribbon cables, or like generally planar structures, e.g. terminal strips, terminal blocks; Coupling devices specially adapted for printed circuits, flat or ribbon cables, or like generally planar structures; Terminals specially adapted for contact with, or insertion into, printed circuits, flat or ribbon cables, or like generally planar structures
    • H01R12/50Fixed connections
    • H01R12/51Fixed connections for rigid printed circuits or like structures
    • H01R12/52Fixed connections for rigid printed circuits or like structures connecting to other rigid printed circuits or like structures
    • HELECTRICITY
    • H01ELECTRIC ELEMENTS
    • H01RELECTRICALLY-CONDUCTIVE CONNECTIONS; STRUCTURAL ASSOCIATIONS OF A PLURALITY OF MUTUALLY-INSULATED ELECTRICAL CONNECTING ELEMENTS; COUPLING DEVICES; CURRENT COLLECTORS
    • H01R12/00Structural associations of a plurality of mutually-insulated electrical connecting elements, specially adapted for printed circuits, e.g. printed circuit boards [PCB], flat or ribbon cables, or like generally planar structures, e.g. terminal strips, terminal blocks; Coupling devices specially adapted for printed circuits, flat or ribbon cables, or like generally planar structures; Terminals specially adapted for contact with, or insertion into, printed circuits, flat or ribbon cables, or like generally planar structures
    • H01R12/70Coupling devices
    • H01R12/71Coupling devices for rigid printing circuits or like structures
    • H01R12/72Coupling devices for rigid printing circuits or like structures coupling with the edge of the rigid printed circuits or like structures
    • H01R12/722Coupling devices for rigid printing circuits or like structures coupling with the edge of the rigid printed circuits or like structures coupling devices mounted on the edge of the printed circuits
    • H01R12/724Coupling devices for rigid printing circuits or like structures coupling with the edge of the rigid printed circuits or like structures coupling devices mounted on the edge of the printed circuits containing contact members forming a right angle

Landscapes

  • Coupling Device And Connection With Printed Circuit (AREA)
  • Combinations Of Printed Boards (AREA)

Description

本発明は、電子部品が実装された第1の回路基板と、第1の回路基板と電気的に接続された第2の回路基板と、第2の回路基板に設けられ、第2の回路基板と電気的に接続されたコネクタと、を備えたACアダプタに関する。
電子機器(例えば、携帯型電子機器)に電源を供給するACアダプタには、ACコードを差し込むためのコネクタを備えたACアダプタがある。このような、ACアダプタでは、ACコードの抜き差しの繰り返しにより発生する応力により、ACアダプタを構成する回路基板、及び回路基板に実装された電子部品が破損する虞がある。
そこで、従来のACアダプタでは、回路基板及び電子部品の破損を防止するために、回路基板を、電子部品が実装される第1の回路基板と、コネクタが接続される第2の回路基板とに分けている(例えば、図8及び図9参照)。
図8は、従来のACアダプタに設けられた第1の回路基板と第2の回路基板との接続部分を拡大した平面図であり、図9は、図8に示す構造体をJ視した図である。なお、図8及び図9では、説明の便宜上、ACアダプタ200を構成する絶縁ケースの図示を省略する。
図8及び図9を参照するに、従来のACアダプタ200は、第1の回路基板201と、電子部品202と、第2の回路基板204と、コネクタ205と、電線207,208と、絶縁ケース(図示せず)とを有する。
第1の回路基板201は、第2の回路基板204よりも面積の大きな基板である。第1の回路基板201は、板状とされた基板本体211と、基板本体211の面211Aに設けられた配線パターン212とを有する。
電子部品202は、基板本体211の面211Aに実装されており、配線パターン212と電気的に接続されている。電子部品202としては、例えば、コンデンサ、トランス、スイッチング素子等を用いることができる。
第2の回路基板204は、板状とされた基板本体215と、基板本体215の面215Aに設けられた配線パターン217,218とを有する。
コネクタ205は、基板本体215の面215Bに実装されている。コネクタ205は、配線パターン217,218と電気的に接続されている。コネクタ205には、ACコードのプラグ(図示せず)が接続される側に配置されたプラグ接続面205Aを有する。コネクタ205には、ACコードに設けられたプラグ(図示せず)が繰り返し抜き差しされる。
電線207,208は、ワイヤが絶縁材により被覆された構成とされている。ワイヤの両端は、絶縁材から露出されている。電線207を構成するワイヤの一方の端部は、第1の回路基板201を貫通すると共に、配線パターン212と電気的に接続されている。また、電線207を構成するワイヤの他方の端部は、第2の回路基板204を貫通すると共に、配線パターン218と電気的に接続されている。
電線208を構成するワイヤの一方の端部は、第1の回路基板201を貫通すると共に、配線パターン212と電気的に接続されている。また、電線208を構成するワイヤの他方の端部は、第2の回路基板204を貫通すると共に、配線パターン217と電気的に接続されている。
図示していない絶縁ケースは、コネクタ205のプラグ接続面205Aを露出した状態で、第1の回路基板201、電子部品202、第2の回路基板204、コネクタ205、及び電線207,208を収容するためのケースである(例えば、特許文献1参照。)。
特開2006−12618号公報
しかしながら、従来のACアダプタ200では、ワイヤを被覆する絶縁材を備えた高価な電線207,208を用いて、第1の回路基板201と第2の回路基板204とを電気的に接続させていたため、ACアダプタ200のコストが増加してしまうという問題があった。
また、従来のACアダプタ200では、電線207,208を、第1及び第2の回路基板201,204に接続する際、第1及び第2の回路基板201,204と電気的に接続される電線207,208の両端部を絶縁材から露出させる工程が必要であった。そのため、ACアダプタ200の製造コストが増加してしまうという問題があった。
そこで、本発明は上記の点に鑑みてなされたものであり、コスト(製造コストも含む)を低減することのできるACアダプタを提供することを目的とする。
本発明の一観点によれば、電子部品(22)と、該電子部品(22)が実装される第1の回路基板(21)と、該第1の回路基板(21)とは分離された第2の回路基板(24)と、該第2の回路基板(24)に設けられ、前記第2の回路基板(24)と電気的に接続されたコネクタ(25)と、前記第1の回路基板(21)と前記第2の回路基板(24)とを電気的に接続する第1及び第2の電気的接続部材と、前記第1の回路基板(21)、前記電子部品(22)、前記第2の回路基板(24)、及び前記コネクタ(25)を収容すると共に、プラグ(71)が挿入される側の前記コネクタ(25)の接続面を露出させる絶縁ケース(13,14)と、を備えたACアダプタ(10)であって、前記絶縁ケース(13)は、前記第1の電気的接続部材と前記第2の電気的接続部材との間に配置され、前記第1の電気的接続部材と前記第2の電気的接続部材との間を絶縁する突出部(77)を有しており、前記第1の電気的接続部材は、第1の金属線(27)であり、前記第2の電気的接続部材は、第2の金属線(28)であることを特徴とするACアダプタ(10)が提供される。
本発明によれば、第1の電気的接続部材と第2の電気的接続部材との間に配置され、第1の電気的接続部材と第2の電気的接続部材との間を絶縁する突出部(77)を有する絶縁ケース(13,14)を設けることにより、第1及び第2の電気的接続部材を構成する導体を絶縁材で被覆する必要がなくなる。これにより、第1及び第2の電気的接続部材として、絶縁材により被覆されていない安価な第1及び第2の金属線(27,28)を用いることが可能になるため、ACアダプタ(10)のコストを低減することができる。
また、第1及び第2の電気的接続部材として、絶縁材により被覆されていない第1及び第2の金属線(27,28)を用いることで、絶縁材を除去する工程が不要となるため、ACアダプタ(10)の製造コストを低減することができる。
また、前記第1の回路基板(21)は、前記電子部品(22)と電気的に接続された第1の配線パターン(32)を有し、前記第2の回路基板(24)は、前記コネクタ(25)と電気的に接続された第2の配線パターン(43,44)を有しており、前記第1の配線パターン(32)が形成された部分の前記第1の回路基板(21)を貫通する前記第1及び第2の金属線(27,28)の一方の端部を折り曲げ、第1の導電性ペースト(58)により、前記第1及び第2の金属線(27,28)の一方の端部を前記第1の配線パターン(32)に固定し、前記第2の配線パターン(43,44)が形成された部分の前記第2の回路基板(24)を貫通する前記第1及び第2の金属線(27,28)の他方の端部を折り曲げ、第2の導電性ペースト(45)により、前記第1及び第2の金属線(27,28)の他方の端部を前記第2の配線パターン(43,44)に固定してもよい。
このように、第1の配線パターン(32)が形成された部分の第1の回路基板(21)を貫通する第1及び第2の金属線(27,28)の一方の端部を折り曲げ、第1の導電性ペースト(58)により、第1及び第2の金属線(27,28)の一方の端部を第1の配線パターン(32)に固定し、第2の配線パターン(43,44)が形成された部分の第2の回路基板(24)を貫通する第1及び第2の金属線(27,28)の他方の端部を折り曲げ、第2の導電性ペースト(45)により、第1及び第2の金属線(27,28)の他方の端部を第2の配線パターン(43,44)に固定することにより、第1及び第2の回路基板(21,24)から第1及び第2の金属線(27,28)が抜けることを防止できる。
また、前記第1の金属線(27)は、前記第1の回路基板(21)に挿入される部分の前記第1の金属線(27)と前記第1の回路基板(21)に挿入されない部分の前記第1の金属線(27)との間に形成された第1の折り曲げ部(65)と、前記第2の回路基板(24)に挿入される部分の前記第1の金属線(27)と前記第2の回路基板(24)に挿入されない部分の前記第1の金属線(27)との間に形成された第2の折り曲げ部(66)と、を有し、前記第2の金属線(28)は、前記第1の回路基板(21)に挿入される部分の前記第2の金属線(28)と前記第1の回路基板(21)に挿入されない部分の前記第2の金属線(28)との間に形成された第3の折り曲げ部(65)と、前記第2の回路基板(24)に挿入される部分の前記第2の金属線(28)と前記第2の回路基板(24)に挿入されない部分の前記第2の金属線(28)との間に形成された第4の折り曲げ部(66)と、を有してもよい。
これにより、第1及び第2の回路基板(21,24)に挿入される第1及び第2の金属線(27,28)の長さを所定の長さにすることができる。
さらに、前記第1及び第2の金属線(27,28)として、メッキ銅線を用いるとよい。これにより、第1及び第2の金属線(27,28)のコストを低減することができる。
なお、上記参照符号は、あくまでも参考であり、これによって、本願発明が図示の態様に限定されるものではない。
本発明によれば、ACアダプタのコスト(製造コストも含む)を低減することができる。
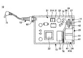
本発明の実施の形態に係るACアダプタを分解した平面図である。 図1に示す構造体のA−A線方向の断面図である。 図1に示す第2の回路基板を反転させた平面図である。 図1に示すACアダプタ本体のB−B線方向の断面図である。 図1に示す構造体のC−C線方向の断面図である。 ロアーケースに収納されたACアダプタ本体を示す平面図である。 他のACアダプタ本体の断面図である。 従来のACアダプタに設けられた第1の回路基板と第2の回路基板との接続部分を拡大した平面図である。 図8に示す構造体をJ視した図である。
次に、図面に基づいて本発明の実施の形態を説明する。
(実施の形態)
図1は、本発明の実施の形態に係るACアダプタを分解した平面図である。
図1を参照するに、本実施の形態のACアダプタ10は、ACアダプタ本体11と、DCコード12と、絶縁ケースを構成するロアーケース13及びアッパーケース14とを有する。
ACアダプタ本体11は、第1の回路基板21と、電子部品22と、第2の回路基板24と、コネクタ25と、第1の電気的接続部材である第1の金属線27と、第2の電気的接続部材である第2の金属線28とを有する。
図2は、図1に示す構造体のA−A線方向の断面図である。図2において、図1と同一構成部分には同一符号を付す。
図1及び図2を参照するに、第1の回路基板21は、複数の電子部品22を実装するための基板であり、基板本体31と、第1の配線パターンである配線パターン32とを有する。基板本体31は、電子部品22が実装される実装面31Aと、実装面31Aの反対側に配置され、配線パターン32が形成される面31Bと、切り欠き部34とを有する。切り欠き部34は、ロアーケース13に設けられた後述する突出部77を貫通させるためのものである。基板本体31としては、例えば、樹脂基板を用いることができる。
配線パターン32は、基板本体31の面31Bに設けられている。配線パターン32は、電子部品22と第1及び第2の金属線27,28とを電気的に接続するためのパターンである。
上記構成とされた第1の回路基板21は、基板本体31及び配線パターン32を貫通する2つの貫通穴(図示せず)を有する。このうち、一方の貫通穴は、第1の金属線27が挿入される穴であり、他方の貫通穴は、第2の金属線28が挿入される穴である。
電子部品22は、電子部品本体36と、電子部品本体36と一体的に構成されたピン端子37とを有する。電子部品本体36は、基板本体31の実装面31Aに載置されている。ピン端子37は、電子部品本体36と電気的に接続されている。ピン端子37は、基板本体31及び配線パターン32を貫通している。配線パターン32から突出した部分のピン端子37は、はんだ35により配線パターン32に固定されている。これにより、電子部品22は、配線パターン32と電気的に接続されている。電子部品22としては、例えば、コンデンサ、トランス、スイッチング素子等を用いることができる。
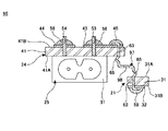
図3は、図1に示す第2の回路基板を反転させた平面図であり、図4は、図1に示すACアダプタ本体のB−B線方向の断面図である。図3及び図4において、図1と同一構成部分には同一符号を付す。なお、図4では、説明の便宜上、第1及び第2の回路基板21,24、及び第1の金属線27を断面で図示する。
図1、図3、及び図4を参照するに、第2の回路基板24は、コネクタ25を実装するための基板であり、基板本体41と、第2の配線パターンである配線パターン43,44とを有する。基板本体41は、コネクタ25が載置されるコネクタ載置面41Aと、コネクタ載置面41Aの反対側に配置され、配線パターン43,44が形成される面41Bと、切り欠き部42とを有する。切り欠き部42は、基板本体31に設けられた切り欠き部34と対向する部分の基板本体41に形成されている。基板本体41としては、例えば、樹脂基板を用いることができる。
配線パターン43,44は、基板本体41の面41Bに設けられている。配線パターン43は、コネクタ25と第1の金属線27とを電気的に接続している。配線パターン44は、コネクタ25と第2の金属線28とを電気的に接続している。
また、第2の回路基板24は、基板本体41及び配線パターン44を貫通し、第1の金属線27が挿入される貫通穴と、基板本体41及び配線パターン43を貫通し、第2の金属線28が挿入される貫通穴とを有する。
上記構成とされた第2の回路基板24は、第1の回路基板21よりも面方向のサイズが小さい基板である。
コネクタ25は、コネクタ本体51と、ピン端子53,54とを有する。コネクタ本体51は、基板本体41の面41Aに載置されている。コネクタ本体51は、ACコード(図示せず)が差し込まれる部分である。ピン端子53,54は、コネクタ本体51の下端に設けられており、コネクタ本体51と電気的に接続されている。
ピン端子53は、基板本体41及び配線パターン43を貫通している。ピン端子53は、はんだ56により配線パターン43に固定されている。これにより、コネクタ25は、配線パターン43と電気的に接続されている。
ピン端子54は、基板本体41及び配線パターン44を貫通している。ピン端子54は、はんだ56により配線パターン44に固定されている。これにより、コネクタ25は、配線パターン44と電気的に接続されている。
第1の金属線27は、湾曲部61と、第1の貫通部62と、第2の貫通部63と、折り曲げ部65と、折り曲げ部66とを有する。湾曲部61は、湾曲した形状とされており、基板本体31の実装面31A上に配置されている。湾曲部61は、第1及び第2の回路基板21,24に挿入されない部分である。
第1の貫通部62は、切り欠き部34の一方の側に位置する部分の基板本体31及び配線パターン32を貫通する貫通穴に配置されている。配線パターン32から突出した部分の第1の貫通部62は、外側に折り曲げられている。外側に折り曲げられた部分の第1の貫通部62は、第1の導電性ペーストであるはんだ58により配線パターン32に固定されている。これにより、第1の貫通部62は、配線パターン32と電気的に接続されている。
第2の貫通部63は、切り欠き部42の一方の側に位置する部分の基板本体41及び配線パターン44を貫通する貫通穴に配置されている。配線パターン44から突出した部分の第2の貫通部63は、外側に折り曲げられている。外側に折り曲げられた部分の第2の貫通部63は、第2の導電性ペーストであるはんだ58により配線パターン43に固定されている。これにより、第2の貫通部63は、配線パターン43と電気的に接続されている。
このように、配線パターン32から突出した部分の第1の貫通部62を外側に折り曲げて、はんだ58により配線パターン32に固定すると共に、配線パターン44から突出した部分の第2の貫通部63を外側に折り曲げて、はんだ45により配線パターン44に固定することにより、第1及び第2の回路基板21,24から第1の金属線27が抜けることを防止できる。
第1の折り曲げ部である折り曲げ部65は、第1の貫通部62と湾曲部61との間に配置されている。折り曲げ部65の一方の端部は、湾曲部61の一方の端部と接続されており、折り曲げ部65の他方の端部は、第1の貫通部62と接続されている。折り曲げ部65は、湾曲部61及び第1の貫通部62と一体的に構成されている。折り曲げ部65の形状は、例えば、くの字型にすることができる。
第2の折り曲げ部である折り曲げ部66は、第2の貫通部63と湾曲部61との間に配置されている。折り曲げ部66の一方の端部は、湾曲部61の一方の端部と接続されており、折り曲げ部66の他方の端部は、第2の貫通部63と接続されている。折り曲げ部66は、湾曲部61及び第2の貫通部63と一体的に構成されている。折り曲げ部66の形状は、例えば、くの字型にすることができる。
このように、第1の貫通部62と湾曲部61との間に折り曲げ部65を設けると共に、第2の貫通部63と湾曲部61との間に折り曲げ部66を設けることにより、第1及び第2の回路基板21,24に挿入される第1の金属線27の長さを所定の長さにすることができる。
上記構成とされた第1の金属線27の材料としては、例えば、コストの安いメッキ銅線(例えば、直径0.5mm)を用いることができる。この場合、メッキ銅線を折り曲げ加工することで第1の金属線27を形成する。
図5は、図1に示す構造体のC−C線方向の断面図である。図5において、図1に示す構造体と同一構成部分には同一符号を付す。
図5を参照するに、第2の金属線28は、先に説明した第1の金属線27と同様な構成とされている。
第2の金属線28を構成する第1の貫通部62は、切り欠き部34の他方の側に位置する部分の基板本体31及び配線パターン32を貫通する貫通穴に配置されている。
第2の金属線28を構成する第1の貫通部62のうち、外側に折り曲げられた部分の第1の貫通部62は、はんだ58により配線パターン32に固定されている。これにより、第2の金属線28は、配線パターン32と電気的に接続されている。
第2の金属線28を構成する第2の貫通部63は、切り欠き部42の他方の側に位置する部分の基板本体41及び配線パターン43を貫通する貫通穴に配置されている。
第2の金属線28を構成する第2の貫通部63のうち、外側に折り曲げられた部分の第2の貫通部63は、はんだ45により配線パターン43に固定されている。これにより、第2の金属線28は、配線パターン43と電気的に接続されている。
なお、第2の金属線28を構成する折り曲げ部65は、第3の折り曲げ部であり、第2の金属線28を構成する折り曲げ部66は、第4の折り曲げ部である。
上記構成とされた第2の金属線28は、先に説明した第1の金属線27と同様な効果を得ることができる。第2の金属線28の材料としては、例えば、コストの安いメッキ銅線(例えば、直径0.5mm)を用いることができる。この場合、メッキ銅線を折り曲げ加工することで第2の金属線28を形成する。
このように、コストの安いメッキ銅線よりなる第1及び第2の金属線27,28を用いて、電子部品22が実装された第1の回路基板21と、コネクタ25が接続され、第1の回路基板21から分離された第2の回路基板24とを電気的に接続することにより、ワイヤが絶縁材により被覆された電線を用いた従来のACアダプタ200と比較して、ACアダプタ10のコストを低減することができる。
また、第1及び第2の金属線27,28の材料としてメッキ銅線を用いることにより、絶縁材を剥いで電線の両端に位置する部分の導体を露出させる必要がなくなるため、ACアダプタ10の製造コストを低減することができる。
上記構成とされたACアダプタ本体11は、例えば、第1及び第2の回路基板21,24の母材となる1枚の回路基板を準備し、次いで、この回路基板に電子部品22及びコネクタ25を実装し、次いで、上記回路基板を切断して第1及び第2の回路基板21,24を形成し、次いで、第1及び第2の回路基板21,24の動作確認をし、次いで、第1及び第2の金属線27,28を第1及び第2の回路基板21,24に接続(具体的には、第1及び第2の金属線27,28に設けられた第1及び第2の貫通部62,63を、第1及び第2の回路基板21,24に形成された貫通穴に挿入し、その後、第1及び第2の貫通部62,63を折り曲げてはんだ45,58で固定)することで製造する。
図1を参照するに、DCコード12の一方の端部は、第1の回路基板21に設けられており、第1の回路基板21に設けられた配線パターン32と電気的に接続されている。DCコード12の他方の端部には、図示していない電子機器(例えば、携帯電子機器)に装着されるプラグ71が設けられている。上記構成とされたDCコード12は、ACアダプタ本体11を製造後に、第1の回路基板21に取り付けられる。
図1を参照するに、ロアーケース13は、絶縁性を有しており、板部74と、枠部75と、突出部77,78とを有する。板部74は、板状とされており、ACアダプタ本体11を収容した際、基板本体31,41の面31B,41B(図4参照)と対向する部分である。
枠部75は、板部74を囲むように設けられており、開口部81,82を有する。開口部81は、コネクタ25と対向する部分の枠部75に形成されている。開口部82は、DCコード12と対向する部分の枠部75に形成されている。
図6は、ロアーケースに収納されたACアダプタ本体を示す平面図である。図6において、図1に示す構造体と同一構成部分には、同一符号を付す。
図1及び図6を参照するに、突出部77は、第1及び第2の回路基板21,24に形成された切り欠き部34,42と対向する部分の板部74に設けられている。突出部77は、板部74と一体的に構成されている。突出部77は、ロアーケース13にACアダプタ本体11を収納した際、第1及び第2の回路基板21,24に形成された切り欠き部34,42を貫通し、第1の金属線27と第2の金属線28との間に配置される仕切り板である。
このように、第1の金属線27と第2の金属線28との間に位置する部分のロアーケース13に、絶縁性を有した突出部77を設けることにより、第1の金属線27と第2の金属線28との接触を防止することが可能となる。言い換えれば、絶縁性を有した突出部77を設けることにより、第1の回路基板21と第2の回路基板24とを電気的に接続する第1及び第2の金属線27,28として、絶縁材に被覆されていない安価なメッキ銅線を使用することができる。
また、板部74と突出部77とを一体的に構成することにより、別途、突出部77を形成する工程を設ける必要がないため、ACアダプタ10の製造コストが増加することを防止できる。
突出部78は、第1の回路基板21と第2の回路基板24との隙間に対応する部分の板部74に設けられている。突出部78は、板部74と一体的に構成されている。突出部78は、ロアーケース13内における第1及び第2の回路基板21,24の位置を規制するための仕切り板である。
アッパーケース14は、絶縁性を有しており、板部85と、枠部86と、開口部88,89とを有する。板部85は、板状とされており、ACアダプタ本体11を収容した際、基板本体31,41の実装面31A及びコネクタ載置面41Aと対向する部分である。
枠部86は、板部85を囲むように設けられている。開口部88は、コネクタ25と対向する部分の枠部86に形成されている。開口部89は、DCコード12と対向する部分の枠部86に形成されている。
上記構成とされたアッパーケース14は、ACアダプタ本体11が載置されたロアーケース13に装着されるケースである。
本実施の形態のACアダプタによれば、第1の金属線27と第2の金属線28との間に位置する部分のロアーケース13に、絶縁性を有した突出部77を設けることにより、第1の金属線27と第2の金属線28との接触を防止することが可能となる。これにより、第1の回路基板21と第2の回路基板24とを電気的に接続する第1及び第2の金属線27,28として、絶縁材に被覆されていない安価なメッキ銅線を使用することが可能となるため、ACアダプタ10のコストを低減することができる。
また、板部74と突出部77とを一体的に構成することにより、別途、突出部77を形成する工程を設ける必要がないため、ACアダプタ10の製造コストが増加することを防止できる。
図7は、他のACアダプタ本体の断面図である。図7は、図4に示すACアダプタ本体11と同じ位置で他のACアダプタ本体95を切断した図である。図7において、図4に示すACアダプタ本体11と同一構成部分には、同一符号を付す。
本実施の形態のACアダプタ10では、第1及び第2の金属線27,28を用いて、同一平面上に配置された第1の回路基板21と第2の回路基板24とを電気的に接続する場合を例に挙げて説明したが、図7に示すACアダプタ本体95のように、2本の金属線97(図7では、2本の金属線97を図示することが困難なため、1本の金属線97のみ図示する)を用いて、高さ方向において異なる位置に配置された第1の回路基板21と第2の回路基板24とを電気的に接続してもよい。
ACアダプタ本体95は、ACアダプタ本体11に設けられた第1及び第2の金属線27,28の代わりに、2つの金属線97を設け、第1及び第2の回路基板21,24を高さ方向において異なる位置に配置した以外は、ACアダプタ本体11と同様な構成とされている。
金属線97は、第1及び第2の金属線27,28に設けられた湾曲部61の代わりに、かぎ型形状とされた支持部98を設けた以外は、第1及び第2の金属線27,28と同様に構成されている。
ACアダプタ本体95では、基板本体31の実装面31Aを通過する平面と対向するように基板本体41のコネクタ載置面41Aが配置されている。
このような構成とされたACアダプタ本体95を備えたACアダプタは、先に説明したACアダプタ10と同様な効果を得ることができる。
以上、本発明の好ましい実施の形態について詳述したが、本発明はかかる特定の実施の形態に限定されるものではなく、特許請求の範囲内に記載された本発明の要旨の範囲内において、種々の変形・変更が可能である。
例えば、第1及び第2の金属線27,28に設けられた湾曲部61や第1及び第2の折り曲げ部65,66の形状は、本実施の形態で説明した形状に限定されない。
また、金属線97に設けられた支持部98の形状は、図7に示す形状に限定されない。
本発明は、電子部品が実装された第1の回路基板と、第1の回路基板と電気的に接続された第2の回路基板と、第2の回路基板に設けられ、第2の回路基板と電気的に接続されたコネクタと、を備えたACアダプタに適用可能である。
10 ACアダプタ
11,95 ACアダプタ本体
12 DCコード
13 ロアーケース
14 アッパーケース
21 第1の回路基板
22 電子部品
24 第2の回路基板
25 コネクタ
27 第1の金属線
28 第2の金属線
31,41 基板本体
31A 実装面
31B,41B 面
32,43,44 配線パターン
34,42 切り欠き部
35,45,56,58 はんだ
36 電子部品本体
37 ピン端子
41A コネクタ載置面
53,54 ピン端子
61 湾曲部
62 第1の貫通部
63 第2の貫通部
65,66 折り曲げ部
71 プラグ
74,85 板部
75,86 枠部
77,78 突出部
81,82,88,89 開口部
97 金属線
98 支持部

Claims (4)

  1. 電子部品と、該電子部品が実装される第1の回路基板と、該第1の回路基板とは分離された第2の回路基板と、該第2の回路基板に設けられ、前記第2の回路基板と電気的に接続されたコネクタと、前記第1の回路基板と前記第2の回路基板とを電気的に接続する第1及び第2の電気的接続部材と、前記第1の回路基板、前記電子部品、前記第2の回路基板、及び前記コネクタを収容すると共に、プラグが挿入される側の前記コネクタの接続面を露出させる絶縁ケースと、を備えたACアダプタであって、
    前記絶縁ケースは、前記第1の電気的接続部材と前記第2の電気的接続部材との間に配置され、前記第1の電気的接続部材と前記第2の電気的接続部材との間を絶縁する突出部を有しており、
    前記第1の電気的接続部材は、第1の金属線であり、
    前記第2の電気的接続部材は、第2の金属線であることを特徴とするACアダプタ。
  2. 前記第1の回路基板は、前記電子部品と電気的に接続された第1の配線パターンを有し、
    前記第2の回路基板は、前記コネクタと電気的に接続された第2の配線パターンを有しており、
    前記第1の配線パターンが形成された部分の前記第1の回路基板を貫通する前記第1及び第2の金属線の一方の端部を折り曲げ、第1の導電性ペーストにより、前記第1及び第2の金属線の一方の端部を前記第1の配線パターンに固定し、
    前記第2の配線パターンが形成された部分の前記第2の回路基板を貫通する前記第1及び第2の金属線の他方の端部を折り曲げ、第2の導電性ペーストにより、前記第1及び第2の金属線の他方の端部を前記第2の配線パターンに固定したことを特徴とする請求項1記載のACアダプタ。
  3. 前記第1及び第2の回路基板は、前記第1及び第2の金属線が挿入される貫通穴を有しており、
    前記第1の金属線は、前記第1の回路基板に挿入される部分の前記第1の金属線と前記第1の回路基板に挿入されない部分の前記第1の金属線との間に形成された第1の折り曲げ部と、前記第2の回路基板に挿入される部分の前記第1の金属線と前記第2の回路基板に挿入されない部分の前記第1の金属線との間に形成された第2の折り曲げ部と、を有し、
    前記第2の金属線は、前記第1の回路基板に挿入される部分の前記第2の金属線と前記第1の回路基板に挿入されない部分の前記第2の金属線との間に形成された第3の折り曲げ部と、前記第2の回路基板に挿入される部分の前記第2の金属線と前記第2の回路基板に挿入されない部分の前記第2の金属線との間に形成された第4の折り曲げ部と、を有することを特徴とする請求項1または請求項2記載のACアダプタ。
  4. 前記第1及び第2の金属線は、メッキ銅線であることを特徴とする請求項1ないし3のうち、いずれか1項記載のACアダプタ。
JP2010031903A 2010-02-17 2010-02-17 Acアダプタ Expired - Fee Related JP5488024B2 (ja)

Priority Applications (3)

Application Number Priority Date Filing Date Title
JP2010031903A JP5488024B2 (ja) 2010-02-17 2010-02-17 Acアダプタ
US13/027,634 US8467194B2 (en) 2010-02-17 2011-02-15 AC adapter
CN201110040026.5A CN102163908B (zh) 2010-02-17 2011-02-16 Ac适配器

Applications Claiming Priority (1)

Application Number Priority Date Filing Date Title
JP2010031903A JP5488024B2 (ja) 2010-02-17 2010-02-17 Acアダプタ

Publications (2)

Publication Number Publication Date
JP2011171022A JP2011171022A (ja) 2011-09-01
JP5488024B2 true JP5488024B2 (ja) 2014-05-14

Family

ID=44369512

Family Applications (1)

Application Number Title Priority Date Filing Date
JP2010031903A Expired - Fee Related JP5488024B2 (ja) 2010-02-17 2010-02-17 Acアダプタ

Country Status (3)

Country Link
US (1) US8467194B2 (ja)
JP (1) JP5488024B2 (ja)
CN (1) CN102163908B (ja)

Families Citing this family (1)

* Cited by examiner, † Cited by third party
Publication number Priority date Publication date Assignee Title
US9554476B2 (en) * 2014-08-14 2017-01-24 Continental Automotive Systems, Inc. Compliant staple pin for connecting multiple printed circuit boards

Family Cites Families (30)

* Cited by examiner, † Cited by third party
Publication number Priority date Publication date Assignee Title
US5917707A (en) * 1993-11-16 1999-06-29 Formfactor, Inc. Flexible contact structure with an electrically conductive shell
JPS62232876A (ja) * 1986-04-02 1987-10-13 松下電器産業株式会社 プリント基板配線方法
JP2606177B2 (ja) * 1995-04-26 1997-04-30 日本電気株式会社 印刷配線板
JPH08330006A (ja) * 1995-05-30 1996-12-13 Tabuchi Denki Kk 外部接続用コネクタの取付構造
JPH10208791A (ja) * 1997-01-21 1998-08-07 Canon Inc 筐体内部のフレームグラウンド間接続方法
US5742484A (en) * 1997-02-18 1998-04-21 Motorola, Inc. Flexible connector for circuit boards
US6040624A (en) * 1997-10-02 2000-03-21 Motorola, Inc. Semiconductor device package and method
JPH11167971A (ja) * 1997-12-05 1999-06-22 Olympus Optical Co Ltd 電子機器
US6118081A (en) * 1998-06-29 2000-09-12 Motorola, Inc. Component to substrate connection by runners and pads
JP2000077143A (ja) * 1998-09-01 2000-03-14 Shindengen Electric Mfg Co Ltd Acアダプター
US6031730A (en) * 1998-11-17 2000-02-29 Siemens Automotive Corporation Connector for electrically connecting circuit boards
US6324071B2 (en) * 1999-01-14 2001-11-27 Micron Technology, Inc. Stacked printed circuit board memory module
JP3032195B1 (ja) * 1999-02-10 2000-04-10 株式会社タムラ製作所 Acアダプタ―用コイルボビン
WO2000065888A1 (fr) * 1999-04-22 2000-11-02 Rohm Co., Ltd. Carte de circuit imprime, bloc batterie et procede de fabrication de carte de circuit imprime
US6594152B2 (en) * 1999-09-30 2003-07-15 Intel Corporation Board-to-board electrical coupling with conductive band
JP2001345133A (ja) * 2000-05-31 2001-12-14 Advantest Corp 基板間接続コネクタ構造
EP1296544B1 (en) * 2000-06-30 2011-08-03 Sanyo Electric Co., Ltd. Flexible printed circuit board and foldable cell phone terminal
JP2002133626A (ja) * 2000-10-25 2002-05-10 Mitsumi Electric Co Ltd アクチュエータアセンブリ
FR2819111B1 (fr) * 2000-12-28 2003-03-07 Thomson Csf Module d'interconnexion pour fond de boitier d'appareillage electrique
JP4667652B2 (ja) * 2001-06-12 2011-04-13 ローム株式会社 電池パック、およびその製造方法
US6797891B1 (en) * 2002-03-18 2004-09-28 Applied Micro Circuits Corporation Flexible interconnect cable with high frequency electrical transmission line
JP3936925B2 (ja) * 2003-06-30 2007-06-27 日本オプネクスト株式会社 光伝送モジュール
JP2005340385A (ja) * 2004-05-25 2005-12-08 Nitto Denko Corp 配線回路基板および配線回路基板の接続構造
JP4088974B2 (ja) * 2004-06-25 2008-05-21 船井電機株式会社 Acコードの接続構造
US6929515B1 (en) * 2004-07-09 2005-08-16 Robert Schneider In-line AC adapter for camping and marine electrical service
US7304373B2 (en) * 2004-10-28 2007-12-04 Intel Corporation Power distribution within a folded flex package method and apparatus
KR100659826B1 (ko) * 2005-12-20 2006-12-19 삼성에스디아이 주식회사 배터리 팩의 회로 기판
KR101106235B1 (ko) * 2006-12-07 2012-01-20 샌디스크 아이엘 엘티디 백-투-백 pcb usb 커넥터
US7388756B1 (en) * 2006-12-12 2008-06-17 The Boeing Company Method and system for angled RF connection using a flexible substrate
US7618283B1 (en) * 2008-04-23 2009-11-17 Tyco Electronics Corporation Bridge connector for connecting circuit boards

Also Published As

Publication number Publication date
JP2011171022A (ja) 2011-09-01
CN102163908B (zh) 2015-01-28
US20110199742A1 (en) 2011-08-18
US8467194B2 (en) 2013-06-18
CN102163908A (zh) 2011-08-24

Similar Documents

Publication Publication Date Title
JP4258432B2 (ja) 基板接合部材ならびにそれを用いた三次元接続構造体
EP2425689B1 (en) Connecting unit
KR101873950B1 (ko) 전자 장치의 패키지 케이스
US20110216512A1 (en) Low Cost PCB Carrier and Connectivity System For Enclosed Electronics
JP2020057788A (ja) プリント回路板及びそれを含むモータ
KR101425931B1 (ko) 인터포저 및 그 제조 방법
CN214754244U (zh) 内插件以及电子设备
KR20100107183A (ko) 인쇄회로기판 조립체 및 그 연결방법
KR100965508B1 (ko) 점퍼회로기판
JP5488024B2 (ja) Acアダプタ
JP5622051B2 (ja) 基板用端子およびそれを用いた基板用コネクタ
KR101391040B1 (ko) 인쇄회로 기판 및 그 제조 방법과 그를 이용한 전자 기기
TWM537337U (zh) 電源連接裝置及導電匯流件
JP5255592B2 (ja) 基板
JP2020512702A (ja) 電気部品、部品装置、及び部品装置の製造方法
JP5497389B2 (ja) 電気接続箱
JP2019040936A (ja) 基板組立体
CN108075334B (zh) 电源连接装置及导电汇流件
JP3161640U (ja) ユニバーサル基板
KR100721316B1 (ko) 인쇄회로기판용 커넥터 핀
JP2001284756A (ja) 電子ユニット
CN111192736A (zh) 线圈及线圈封装模块
JP2012160530A (ja) 基板装置
KR20170011575A (ko) 인쇄회로기판 어셈블리
JP2008112915A (ja) 回路基板の接続構造

Legal Events

Date Code Title Description
A621 Written request for application examination

Free format text: JAPANESE INTERMEDIATE CODE: A621

Effective date: 20130118

A977 Report on retrieval

Free format text: JAPANESE INTERMEDIATE CODE: A971007

Effective date: 20131126

TRDD Decision of grant or rejection written
A01 Written decision to grant a patent or to grant a registration (utility model)

Free format text: JAPANESE INTERMEDIATE CODE: A01

Effective date: 20140128

A61 First payment of annual fees (during grant procedure)

Free format text: JAPANESE INTERMEDIATE CODE: A61

Effective date: 20140210

R150 Certificate of patent or registration of utility model

Ref document number: 5488024

Country of ref document: JP

Free format text: JAPANESE INTERMEDIATE CODE: R150

LAPS Cancellation because of no payment of annual fees