JP5437148B2 - フローサイトメータおよびセルソータ - Google Patents

フローサイトメータおよびセルソータ Download PDF

Info

Publication number
JP5437148B2
JP5437148B2 JP2010099608A JP2010099608A JP5437148B2 JP 5437148 B2 JP5437148 B2 JP 5437148B2 JP 2010099608 A JP2010099608 A JP 2010099608A JP 2010099608 A JP2010099608 A JP 2010099608A JP 5437148 B2 JP5437148 B2 JP 5437148B2
Authority
JP
Japan
Prior art keywords
block
fluid flow
flow
forming block
channel
Prior art date
Legal status (The legal status is an assumption and is not a legal conclusion. Google has not performed a legal analysis and makes no representation as to the accuracy of the status listed.)
Expired - Fee Related
Application number
JP2010099608A
Other languages
English (en)
Other versions
JP2011232033A5 (ja
JP2011232033A (ja
Inventor
昌彦 神田
Original Assignee
ベイバイオサイエンス株式会社
Priority date (The priority date is an assumption and is not a legal conclusion. Google has not performed a legal analysis and makes no representation as to the accuracy of the date listed.)
Filing date
Publication date
Application filed by ベイバイオサイエンス株式会社 filed Critical ベイバイオサイエンス株式会社
Priority to JP2010099608A priority Critical patent/JP5437148B2/ja
Priority to US13/064,837 priority patent/US9034259B2/en
Publication of JP2011232033A publication Critical patent/JP2011232033A/ja
Publication of JP2011232033A5 publication Critical patent/JP2011232033A5/ja
Application granted granted Critical
Publication of JP5437148B2 publication Critical patent/JP5437148B2/ja
Expired - Fee Related legal-status Critical Current
Anticipated expiration legal-status Critical

Links

Images

Classifications

    • GPHYSICS
    • G01MEASURING; TESTING
    • G01NINVESTIGATING OR ANALYSING MATERIALS BY DETERMINING THEIR CHEMICAL OR PHYSICAL PROPERTIES
    • G01N15/00Investigating characteristics of particles; Investigating permeability, pore-volume or surface-area of porous materials
    • G01N15/10Investigating individual particles
    • G01N15/14Optical investigation techniques, e.g. flow cytometry
    • GPHYSICS
    • G01MEASURING; TESTING
    • G01NINVESTIGATING OR ANALYSING MATERIALS BY DETERMINING THEIR CHEMICAL OR PHYSICAL PROPERTIES
    • G01N15/00Investigating characteristics of particles; Investigating permeability, pore-volume or surface-area of porous materials
    • G01N15/10Investigating individual particles
    • G01N15/14Optical investigation techniques, e.g. flow cytometry
    • G01N15/149Optical investigation techniques, e.g. flow cytometry specially adapted for sorting particles, e.g. by their size or optical properties
    • GPHYSICS
    • G01MEASURING; TESTING
    • G01NINVESTIGATING OR ANALYSING MATERIALS BY DETERMINING THEIR CHEMICAL OR PHYSICAL PROPERTIES
    • G01N15/00Investigating characteristics of particles; Investigating permeability, pore-volume or surface-area of porous materials
    • G01N15/10Investigating individual particles
    • G01N15/14Optical investigation techniques, e.g. flow cytometry
    • G01N15/1404Handling flow, e.g. hydrodynamic focusing
    • G01N2015/1406Control of droplet point

Landscapes

  • Chemical & Material Sciences (AREA)
  • Dispersion Chemistry (AREA)
  • Physics & Mathematics (AREA)
  • Health & Medical Sciences (AREA)
  • Life Sciences & Earth Sciences (AREA)
  • Analytical Chemistry (AREA)
  • Biochemistry (AREA)
  • General Health & Medical Sciences (AREA)
  • General Physics & Mathematics (AREA)
  • Immunology (AREA)
  • Pathology (AREA)
  • Optical Measuring Cells (AREA)
  • Investigating Or Analysing Biological Materials (AREA)
  • Sampling And Sample Adjustment (AREA)
  • Investigating, Analyzing Materials By Fluorescence Or Luminescence (AREA)

Description

本願発明は、フローサイトメータおよびセルソータに関し、とりわけ異なる細胞粒子を含む流体フローを順次分析または分別する際、先の流体フローに含まれる細胞粒子が残留して、後の流体フローに含まれることを防止できるフローサイトメータおよびセルソータに関する。
バイオテクノロジの革新的な発展に伴い、医学や生物学を含むさまざま分野で多数の細胞などを自動的に分析するフローサイトメータおよびセルソータの需要がますます増大している。
フローサイトメータは、概略、生体(血液など)から採取された数多くの細胞粒子を蛍光標識試薬などで染色し、これらの細胞粒子を含むサンプル液をシース液で取り囲むシースフローを形成し、フローセル内で一列に配列した個々の細胞粒子にレーザ光を照射して、細胞粒子から生じる散乱光(前方散乱光および側方散乱光)と蛍光標識試薬に依存するさまざまな多色蛍光を測定することにより、細胞を分析するものである。
またフローサイトメータは、個々の細胞粒子から収集された散乱光および蛍光を細胞粒子に固有の識別情報として収集・分析し、サンプルから採取された大量の細胞粒子について統計的に評価することにより、生体の細胞レベルで認知される病変などを診断することを可能にするものである。
さらにセルソータは、個々の細胞粒子からの散乱光と蛍光(固有の識別情報)に基づいて、フローセルから噴出される個々の細胞粒子を含む液滴に選択的に電荷を与え、この液滴が落下する経路上に直流電場を形成することにより、特定の細胞粒子を分取・分別することを可能にするものである。
とりわけ近年、免疫細胞療法や自らの幹細胞による療法の有効性が認められ、こうした分野において研究開発が盛んに行われている。そして、こうした研究開発において、細胞粒子単位の分別技術は必須であるところ、1つのセルソータを用いて、数多くの異なる細胞粒子を連続的に分別するとき、先に分別処理した流体フローに含まれる細胞粒子がセルソータ内の各構成部品に残留して、後に別の流体フローを分別処理する際に混入する可能性があった。すなわちサンプルとしての細胞粒子がセルソータ内にキャリーオーバまたは残留して、別の流体フローを汚染するという問題が指摘されていた。あるいは分別すべき細胞粒子がHIVまたは肝炎ウィルスなどの感染症を引き起こす原因となる場合、係る細胞粒子がセルソータおよびソートチャンバ内に止まらず、空中にも浮遊し得るといったバイオハザードの問題も懸念されている。
たとえば特許文献1に記載されたセルソータは、HIVまたは肝炎ウィルスを含む流体フローがソートブロックから液滴およびエアロゾルとして漏れたとき、エラーを検出し、フィンを有する収集バスケットを用いて、液滴およびエアロゾルを吸引回収する液体収集装置を備えるものである。
特開2004−69706号公報
しかしながら、特許文献1に記載されたセルソータによれば、ソートブロックからの液滴およびエアロゾルをある程度、吸引回収することができるものの、特に一旦ソートチャンバ等に付着したエアロゾルを吸引回収することは困難である。また特許文献1のセルソータによれば、ソートチャンバ等に付着したエアロゾルが再び蒸散してソートブロック内に浮遊する感染症ウィルスは、液体収集装置が液滴およびエアロゾルを吸引している間においては回収できるが、液体収集装置が停止した後においては空中に拡散し、感染症に対する作業者を含む周囲の従業者が負うリスクを完全に払拭することはできなかった。換言すると、このセルソータによれば、液体収集装置が液滴およびエアロゾルを吸引している間においては、次の分別処理を行うことができなかった。
また特許文献1のセルソータは、サンプルとしての細胞粒子がソートチャンバより上流側にあるサンプル液導管を含むサンプル液供給機構、フローセル、およびストローブブロックにキャリーオーバまたは残留して、別の流体フローを汚染するという問題については、解決する手段を何ら提案するものではなかった。
そこで本願発明は、上記問題点に鑑みてなされたものであり、先に分別処理した流体フローに含まれる細胞粒子がシステム内の各構成部品(サンプル液供給機構、流体フロー形成ブロック、ストローブブロック、およびソートチャンバ)に残留して、後に別の流体フローを分別処理する際に混入する可能性を排除または実質的に低減することができるフローサイトメータおよびセルソータを提供することを目的とする。
本願発明の1つの態様に係るシステムは液体フローに含まれる細胞粒子を分析するシステムに関し、サンプル液導管を受容するフローチャンバ、およびフローチャンネルを含むフローセルを構成する流体フロー形成ブロックと、流体フロー形成ブロックから噴出されるジェットフローおよび複数の液滴の所定領域における画像を撮像する撮像部を有するストローブブロックとを備え、流体フロー形成ブロックおよびストローブブロックは、着脱自在に固定される。
またストローブブロックは、受容口とノズルとの間に延びるノズルチャンネルを含むノズルプレートを有し、フローチャンネルは、受容口に対向する吐出口と、フロー方向に垂直な所定の断面が該吐出口に向かって拡大するチャンネル拡大部とを有する。このとき、フローチャンネルの吐出口およびノズルプレートの受容口の前記所定断面における開口距離(L)が実質的に同じである。
ノズルプレートが流体フロー形成ブロックに着脱可能に固定するとき、流体フロー形成ブロックの吐出口がノズルプレートの受容口に対して所定の公差(d)内で位置合わせされ、開口距離(L)は、前記公差(d)の10倍以上であることが好ましい。
好適には、開口距離(L)は約0.3mm以上である。
さらに、サンプル液導管は、フローチャンネル中心軸に沿って配置され、その内部に延びる着脱可能に固定されるサンプルチューブを有することが好ましい。
このシステムは、流体フロー形成ブロックを着脱自在に保持し、ストローブブロックに着脱自在に固定されるブロックホルダを有してもよく、ブロックホルダはフローチャンネルの吐出口とストローブブロックの受容口との間に延びる連通路を有し、該連通路は所定断面における開口距離(L)が吐出口および受容口と実質的に同じとなるように構成してもよい。
このシステムは、フローチャンネルに流れる液体フローに含まれる細胞粒子に励起光を照射する光源を有し、流体フロー形成ブロックは、フローチャンネルに対向するように配置された半球面状または半非球面状の第1の集光レンズを有し、第1の集光レンズは細胞粒子からの蛍光を平行光に変換するものであってもよい。好適には、流体フロー形成ブロックは、第1の集光レンズにより平行光に変換された蛍光を光ファイバに集光する第2の集光レンズを有し、第2の集光レンズは、第1の集光レンズより大きい直径を有するものである。
好適には、このシステムは、流体フロー形成ブロックに着脱自在に固定され、流体フロー形成ブロックに所定の周波数の振動を与える振動器を有し、振動器は、ドーナツ形状を有する。
このシステムは、直流電圧が印加される一対の偏向板を含むソートチャンバをさらに備え、ソートチャンバは、流体フロー形成ブロックおよびストローブブロックに対して着脱自在に固定されることが好ましい。
同様に、一対の偏向板は、ソートチャンバに対して着脱自在に固定されることがより好ましい。
より好適には、ソートチャンバは、偏向板をソートチャンバから取り外した後にストローブブロックに対して取り外され、ストローブブロックは、ソートチャンバに取り付けられたときに、これらの間の隙間を埋めるために配置された袴状カバーを有する。
本願発明の1つの態様に係るシステムによれば、先に分別処理した流体フローに含まれる細胞粒子がシステム内の各構成部品(サンプル液供給機構、流体フロー形成ブロック、ストローブブロック、およびソートチャンバ)に残留して、後に別の流体フローを分別処理する際に混入する可能性を排除または実質的に低減することができる。また、このシステムによれば、感染症ウィルス等の細胞粒子(落下菌)により汚染された各構成部品の流水等による洗浄を支援し、システム内を無菌状態に維持することができる。
本願発明に係るセルソータの全体的構成を示す概略図である。 本願発明に係るセルソータの主要な構成部品を示す分解図である。 本願発明に係るサンプル液導管およびサンプルチューブの下端部を示す一部拡大断面図である。 従来技術に係る流体フロー形成ブロックおよびノズルプレートの一部を拡大した部分拡大断面図である。 本願発明に係る流体フロー形成ブロックおよびノズルプレートの一部を拡大した部分拡大断面図である。 本願発明に係る流体フロー形成ブロック、ブロックホルダおよびノズルプレートの一部を拡大した部分拡大断面図である。
以下、添付図面を参照して本願発明に係るセルソータなどの、液体フローに含まれる生物学的粒子を分析するシステムの実施形態を説明する。本願発明は、理解を容易にするために、セルソータについて例示的に説明するが、フローサイトメータにも同等に適用することができる。また方向を表す用語(例えば、「上方」および「下方」など)を適宜用いるが、これらの用語は説明のためのものであって、本願発明を限定するものでない。
図1は本願発明に係るセルソータ1の全体的構成を示す概略図であり、図2は主要な構成部品を示す分解図である。セルソータ1は、概略、流体フロー形成ブロック10と、ストローブブロック20と、ソートチャンバ30と、コレクションチューブ40を含むコレクションチューブホルダ42とを有する。また図示しないが、セルソータ1は、蛍光標識試薬などで染色された細胞粒子Pを含むサンプル液およびシース液を流体フロー形成ブロック10内に供給するフロー供給機構(サンプル液供給装置およびシース液供給装置)を有する。そして本願発明に係るセルソータ1の上記各構成部品は、詳細後述のように、着脱可能に固定することができるものである。上記各構成部品について以下説明する。
[1.流体フロー形成ブロック]
流体フロー形成ブロック10は、サンプル液インレット11およびシース液インレット12を有し、サンプル液インレット11に液密に固定されたステンレスなどの硬い金属材料からなるサンプル液導管13を収容する。流体フロー形成ブロック10は、サンプル液導管13を介してサンプル液をフローチャンバ14内に案内し、シース液インレット12からシース液をフローチャンバ14内に案内するものである。このときフローチャンバ14内に案内されたサンプル液は、シース液に包囲されるように流れ、流体フロー形成ブロック10のフローチャンネル15においては、その中心軸C(図5)に沿って、サンプル液に含まれる蛍光標識された個々の細胞粒子Pが一列に配列される。
また流体フロー形成ブロック10は、所定の周波数(たとえばf=60kHz)で振動するピエゾ圧電素子等を用いた振動器16を有する。この振動器16は、後述するノズルプレート22のノズル24から噴出されるジェットフローJFに振動を与えることにより、その下端部にあるブレイク・オフ・ポイントにおいてジェットフローJFから液滴Dが分離するものである。このとき各液滴Dが上述の蛍光標識された細胞粒子Pを1つずつ含むように、振動器16の周波数が決定される。
セルソータ1は、フローチャンネル12において一列に配列された個々の細胞粒子Pに少なくとも1つの(好適には複数の)レーザビーム(λ)などのコヒーレント光を照射する光源(図示せず)と、個々の細胞粒子Pからの散乱光および蛍光を検出して、各細胞粒子Pを特徴付ける固有の識別情報を検知する受光部とを有する光学的機構を備える。受光部は、流体フロー形成ブロック10のフローチャンネル15に対向するように固定され、細胞粒子からの蛍光を平行光に変換する半球面状または半非球面状の第1の集光レンズ35と、第1の集光レンズ35により平行光に変換された蛍光を光学的機構の光ファイバ(ファイバユニット)37に集光する第2の集光レンズ36とを有する。第2の集光レンズ36の径は、像収差が小さくなるように、第1の集光レンズ35の径より大きくなるように設計されている。
光学的機構に対する流体フロー形成ブロック10の交換または再配置時において、図1の紙面の左右方向に位置ずれが生じることにより、所定の位置に固定された光ファイバ(ファイバユニット)との距離が変動した場合であっても、第1の集光レンズ35により平行光に変換されるので、左右方向における位置ずれによる影響を排除することができる。すなわち、蛍光を平行光に変換することにより、左右方向における位置ずれに対する許容度を実質的に増大させることができる。
また、流体フロー形成ブロック10が光学的機構に対して図1の紙面の奥行き方向および上下方向の位置ずれが生じた場合、第1の集光レンズ35により補正されるので、同様に位置ずれに対する許容度を実質的に増大させることができる。
このように流体フロー形成ブロック10を光学的機構に対して着脱した際において、光軸調整の必要性を排除することができる。また、流体フロー形成ブロック10を光学的機構に対して着脱しない従来式のセルソータ1についても同様に適用することができる。
なお、光学的機構の詳細については、当業者に広く知られた任意のものを採用することができるので、ここではさらなる詳細な説明を省略する。
また本願発明によれば、サンプル液はサンプル液供給装置から可撓性のサンプルチューブ17を介して供給され、このサンプルチューブ17はサンプル液導管13に液密に挿通されるように構成されている(図3)。すなわち本願発明によれば、サンプル液について、異なる細胞粒子を含むものと交換したい場合、サンプル液供給装置およびサンプルチューブ17のみを交換すれば足り、サンプル液導管13は汚染されることなく、交換または洗浄する必要がない。またサンプル液導管13は、上述のように、サンプル液インレット11に固定され、かつ、フローチャンネル15の中心軸C(図5)に沿って正確に位置合わせされているので、サンプル液の交換の際、サンプルチューブ17をサンプル液導管13に挿通することにより、蛍光標識された個々の細胞粒子Pがフローチャンネル15の中心軸Cに沿って正確に一列に配列されるようにシースフローを形成することができる。
その結果、サンプル液導管13自体を交換して、再び位置合わせを行っていた従来技術に比較して、サンプル液導管13の位置合わせに係る煩雑な作業が不要となり、極めて簡便にサンプル液を交換することができる。またサンプル液導管13に挿通されるサンプルチューブ17を交換するので、サンプルチューブ17内に残留(キャリーオーバー)する細胞粒子Pを確実に排除することができる。
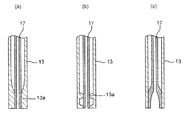
図3は、本願発明に係るサンプル液導管13およびサンプルチューブ17の下端部を示す一部拡大断面図である。図3(a)および(b)に示すように、このサンプル液導管13は、その下端部において狭窄部13aを設けることにより、サンプル液導管13およびサンプルチューブ17の液密封止性を改善し、サンプルチューブ17をフローチャンネル15の中心軸Cに位置合わせすることを支援するようにしてもよい。また図3(c)に示すように、下流側のサンプル液チューブ17の先端部の内径を大きくすることにより、サンプル液導管の先端部から放出される細胞粒子の速度を半径方向の位置によらず一定となるようにしてもよい。
なおサンプルチューブ17は、たとえば約250〜400μmの内径を有し、PEEK樹脂、テフロン樹脂(登録商標)、シリコーンゴムまたはタイゴン(登録商標)等の構成材料からなる可撓性チューブであってもよく、サンプル液導管13は、サンプルチューブ17より実質的に硬いガラス等の構成材料からなるものであってもよい。
また振動器16は、ドーナツ形状を有し、流体フロー形成ブロック10に対してロックねじ等でロックできるように、すなわち流体フロー形成ブロック10に着脱自在に固定されるものであってもよい。従来、電子部品等の精密機器を含む振動器16が固定された流体フロー形成ブロック10を滅菌処理することは困難であったところ、振動器16を流体フロー形成ブロック10から取り外せるように構成したので、本願発明の実施形態によれば、取り外した後の流体フロー形成ブロック10を容易に滅菌処理することができる。
[2.ストローブブロック]
本願発明に係るストローブブロック20は、レール・ロック機構(図示せず)を用いて、図2に示すように上下方向に移動させることにより、流体フロー形成ブロック10に着脱自在に固定することができる。
ストローブブロック20は、固定的な撮像領域におけるジェットフローJFおよびこれより分離される液滴Dの画像をCCD等の撮像装置21を用いて撮像し、液滴間距離等を計測するものである。このとき撮像装置21は、振動器16の周波数に同期して断続的に(ストロボのように)点滅するLEDを光源としてジェットフローJFおよび液滴Dを撮像するため、静止したように見える画像を得ることができる。このとき制御装置(図示せず)は、撮像機構で得られた液滴間距離等を用いて、分別すべき所望の細胞粒子Pを含む液滴DがジェットフローJFから分離する直前のタイミングを算出し、そのタイミングで、光学的機構で検知されたその液滴Dに含まれる細胞粒子Pの識別情報に応じた極性を有する電圧をノズルプレート22に選択的に印加する。
図4は、従来技術に係る流体フロー形成ブロック10’のフローチャンネル15’およびノズルプレート22’の一部を拡大した部分拡大断面図である。図4(a)は、所定の垂直断面におけるフローチャンネル15’の幅(距離)をl、ジェットフローFJの幅(距離)をlとし、フローチャンネル中心軸(一点鎖線)Cおよびジェットフロー中心軸(二点鎖線)Cとして図示している。
ノズルプレート22’(またはストローブブロック20’)は、流体フロー形成ブロック10’に対して、Oリングまたは位置決めピンを介して、図4(a)に示すように、完全に正確に位置合わせした状態で、すなわちフローチャンネル中心軸Cとジェットフロー中心軸Cとを完全に位置合わせした状態で液密封止されることが好ましい。しかしながら、実際には図4(b)に示すように、フローチャンネル中心軸Cとジェットフロー中心軸Cを完全に位置合わせすることは困難であり、約±30μmの機械的な位置合わせ公差(d)が生じてしまう。
すなわち、流体フロー形成ブロック10’のフローチャンネル15’に対して、Oリング等を用いて、ノズルプレート22’(またはストローブブロック20’)を位置合わせするとき、約±30μmの位置合わせ公差(d)は不可避であった。そしてフローチャンネル中心軸Cとジェットフロー中心軸Cとの間に公差(d)の位置ずれが生じると、個々の細胞粒子Pがフローチャンネル15’のジェットフロー中心軸Cからずれて(偏心した位置を)流れることになる。一般に、層流の周辺部における流速は、中心部における流速より小さいことが知られており、ジェットフロー中心軸Cから偏心した位置を流れる細胞粒子Pの流速は、ジェットフロー中心軸Cに沿って流れる細胞粒子Pの流速より遅くなる。したがって、上記のように、細胞粒子Pが液滴Dに1つずつ含まれるように、振動器16の周波数を調整していたところ、細胞粒子Pが減速すると、その細胞粒子Pの識別情報に基づいて、液滴間距離等により算出されるタイミング(液滴DがジェットフローJFから分離する直前のタイミング)でジェットフローJFに所定の電荷を与えても、その液滴D内に細胞粒子Pが含まれない可能性が高くなる。これにより、フローサイトメータとしての細胞粒子Pの分析精度およびセルソータとしての分別精度が阻害されていた。
たとえば、フローチャンネル15’のフロー方向に垂直な断面(水平断面、幅lに相当)は150μm×150μmまたは250μm×160μmの寸法を有し、ジェットフローFJのフロー方向に垂直な断面(水平断面、幅lに相当)は70μm,85μm,100μm,130μmである。このとき公差(d)は、寸法(l)に対して12%〜20%となる。このように約±30μmのわずかな位置合わせ公差(d)が生じても、フローチャンネル15’の幅lに対する公差(d)の相対値が実質的に大きくなり、個々の細胞粒子Pの速度に大きなばらつきが生じていた。
図5は、本願発明に係る流体フロー形成ブロック10のフローチャンネル15およびノズルプレート22の一部を拡大した部分拡大断面図である。ノズルプレート22は、ストローブブロック20に対し高精度に位置決めできる構造を有しているので、ノズル嵌合精度を向上することができる。ただし上述のように、ノズルプレート22(またはストローブブロック20)は、Oリング27または位置決めピンを用いて位置合わせして液密封止されるが、約±30μmの機械的な位置合わせ公差(d)が生じてしまう。
そこで本願発明に係る流体フロー形成ブロック10は、図5に示すように、フローチャンネル15と、これに連通する吐出口18とを有し、吐出口18に至るフローチャンネル15の一部が、フロー方向に垂直な断面(水平断面)が吐出口18に向かって拡大するように構成されている。すなわち本願発明に係る流体フロー形成ブロック10のフローチャンネル15は、チャンネル拡大部19を有する。
一方本願発明に係るノズルプレート22は、同様に図示したように、受容口23とノズル24との間に延びるノズルチャンネル25を有し、ノズルチャンネル25の少なくとも一部が、フロー方向に垂直な断面(水平断面)がノズル24に向かって縮小するように構成されている。すなわち本願発明に係るノズルプレート22のノズルチャンネル25は、チャンネル縮小部26を有する。
そして本願発明に係る流体フロー形成ブロック10の吐出口18およびノズルプレート22の受容口23のフロー方向に垂直な断面(水平断面)における開口距離(L、たとえば1mm)は実質的に同じとなるように構成されている。
このように本願発明によれば、吐出口18および受容口23の開口距離(L)が位置合わせ公差(d)より比較的に大きくなるように構成されているので、フローチャンネル中心軸(一点鎖線)Cとジェットフロー中心軸(二点鎖線)Cの間に公差(d)の位置ずれが生じた場合であっても、開口距離(L)に対する公差(d)の位置ずれが相対的に小さくなり、フローチャンネル中心軸Cに沿って流れる流体フローは偏向することなく、ジェットフロー中心軸Cに沿って流れる各細胞粒子Pの速度を一定に維持することができる。したがって本願発明によれば、不可避的な位置ずれに起因する各細胞粒子Pの速度および液滴Dの間隔の変動可能性(変動しやすさ)を相対的に減縮することができる。
具体的には、吐出口18および受容口23の水平断面における開口距離(L)が1mmで、位置合わせ公差(d)が±30μmであるとき、寸法(L)に対する公差(d)による相対的な位置ずれは3%となり、先に説明した従来技術の場合(12%以上)に比して格段に改善され、細胞粒子Pのジェットフロー中心軸Cに沿って配置することができる。こうして本願発明によれば、流体フロー形成ブロック10またはストローブブロック20(またはノズルプレート22)を置換したい場合や、ストローブブロック20を流水等で洗浄するために一時的に取り外したい場合に、フローチャンネル中心軸Cとジェットフロー中心軸Cの間に公差(d)の位置ずれが生じたとしても、各細胞粒子Pをジェットフロー中心軸Cに沿って精緻に配置するとともに、その速度を一定に維持して(悪影響を与えることなく)、分析精度および分別精度を良好に維持することができる。
好適には、ノズルプレート22(またはストローブブロック20)を流体フロー形成ブロック10に着脱可能に固定する際の位置合わせ公差(d)に対して、開口距離(L)を公差(d)の10倍以上に(相対的な位置ずれを10%以下に)設定すれば、これまでのセルソータ1より高い精度で細胞粒子Pを分析し、分別することができる。換言すると、位置合わせ公差(d)が±30μmであるとき、より好適には、開口距離(L)を公差(d)の20倍以上となるように(相対的な位置ずれを5%以下に)開口距離(L)を0.6mm以上とし、さらに好適には、開口距離(L)を公差(d)の40倍以上となるように(相対的な位置ずれを2.5%以下に)開口距離(L)を1.2mm以上となるように設計してもよい。なお位置合わせ公差(d)が大きい場合には、それに応じて開口距離(L)をより大きく設計してもよい。
また流体フロー形成ブロック10のチャンネル拡大部19およびノズルプレート22のチャンネル縮小部26は、図5においては、その水平断面における幅が直線的に増減するように示したが、これに限定されるものではなく、たとえばチャンネル拡大部19またはチャンネル縮小部26が上に凸となるような曲線を有するように形成してもよい。
択一的には、本願発明に係る流体フロー形成ブロック10は、図6に示すように、その周囲にこれを保持するためのブロックホルダ28を有していてもよい。ブロックホルダ28は、流体フロー形成ブロック10の外径とほぼ同じ内径を有してなり、流体フロー形成ブロック10を嵌合するように保持するものである。またブロックホルダ28は、Oリング27を介して流体フロー形成ブロック10と液密にかつ着脱可能に固定され、別のOリング27bを介してノズルプレート22と液密にかつ着脱可能に固定されている。さらに、ブロックホルダ28は、フローチャンネル15の吐出口18とノズルプレート22の受容口23との間に延びる連通路29を有し、連通路29の所定断面における開口距離(L)が吐出口18および受容口23と同一であるように構成されている。このように構成した流体フロー形成ブロック10も同様に、フローチャンネル中心軸Cとジェットフロー中心軸Cの間に公差(d)の位置ずれが生じたとしても、各細胞粒子Pをジェットフロー中心軸Cに沿って精緻に配置するとともに、その速度を一定に維持して(悪影響を与えることなく)、分析精度および分別精度を良好に維持することができる。
なお、とりわけ流体フロー形成ブロック10が石英ガラス等で形成されている場合、Oリング27を介して、ブロックホルダ28等を流体フロー形成ブロック10に着脱することにより、着脱時の衝撃により流体フロー形成ブロック10が破損する(クラックが入る)ことを防止することができる。
また図2に示すように、またはストローブブロック20は、ソートチャンバ30に対して上下方向に移動させることにより、ソートチャンバ30に着脱自在に固定されるが、ストローブブロック20は、下方に移動したとき、ソートチャンバ30との隙間を埋める袴状カバー(図示せず)を有している。ストローブブロック20が下方に移動した場合には袴状カバーは、ソートチャンバ30内に入り込む構造を有する。こうしてストローブブロック20とソートチャンバ30の密閉構造を実現でき、エアロゾルの発生を防ぐことができ、気流が変化することを防止し、ジェットフローJFおよび液滴Dの流れを安定させることができる。
以上のように、異なる粒子径を有する細胞粒子Pを分析するために流体フロー形成ブロック10を交換し、あるいはストローブブロック20を流水等で洗浄するために一時的に取り外した後においても、流体フロー形成ブロック10とストローブブロック20との間に不可避な位置合わせ公差が生じても、個々の細胞粒子Pをジェットフロー中心軸C上に一列に精緻に配列し、その速度を一定に維持して、細胞粒子Pの分析精度および分別精度を良好に維持することができ、フローチャンネル中心軸Cとジェットフロー中心軸Cとを実質的に一致させ、ノズル径(幅lに相当の70μm,85μm,100μm,130μm)に対してずれが生じないようにすることができる。すなわち異なる粒子径を有する細胞粒子Pを分析するために、異なるノズル径を有するノズルプレート22に交換しても、個々の細胞粒子Pをジェットフロー中心軸C上に一列に精緻に配列し(ずれをなくし)、その速度を一定に維持して、細胞粒子Pの分析精度および分別精度を良好に維持することができる。
[3.ソートチャンバ]
ソートチャンバ30は、たとえば7000Vの高電圧を印加した一対の偏向板31を有し、ノズルプレート22を介して各細胞粒子Pの識別情報に応じた極性を有する電圧が選択的に印加された、その細胞粒子Pを含む液滴Dが一対の偏向板31の間を自由落下するとき、偏向板31間の電場により偏向するように構成されている。
本願発明によれば、ソートチャンバ30の偏向板31は、ソートチャンバ30から自在に着脱することができる。またソートチャンバ30自体も流体フロー形成ブロック10およびストローブブロック20に対し、たとえばねじ機構および位置決めピン(ともに図示せず)を用いて精度よく着脱自在に固定することができる。好適には、ソートチャンバ30は、偏向板31を取り外した後に取り外される。
またソートチャンバ30は、前扉(図示せず)を有する密閉式の筐体であってもよく、偏向板31とともに、EOG(エチレンオキサイドガス)による滅菌処理を行うことができる。択一的には、偏向板31のみをソートチャンバ30から取り外して流水等で洗浄した後、再びソートチャンバ30に取り付けるようにしてもよい。
前掲特許文献1に記載されたセルソータにおいては、ソートチャンバ30や偏向板31に付着した液滴D(エアロゾルおよび細胞粒子P自体)を吸引により回収することは困難であり、こうした液滴Dが再び蒸散して感染症ウィルス等の細胞粒子P(落下菌)がソートブロック内に浮遊することを完全に排除できなかった。これに対し、本願発明に係るソートチャンバ30および偏向板31は、容易に着脱して洗浄できるように構成したので、確実に無菌状態に維持することができ、細胞粒子Pの空気中への拡散を抑制し、作業者を含む周囲の従業者の感染症のリスクを排除することができる。また本願発明によれば、汚染されたソートチャンバ30および偏向板31を別のものと直ちに交換して、次の分別処理を行うことができるので、洗浄が完了するまでの時間、待機することなく、分別処理を遅滞なく実施することができる。
[4.コレクションチューブおよびコレクションチューブホルダ]
複数のコレクションチューブ40を保持するコレクションチューブホルダ42は、ソートチャンバ30内に着脱可能に固定することができる。コレクションチューブ40は、細胞粒子Pの識別情報に基づいて、ソートチャンバ30の偏向板31により偏向された液滴Dを受容し、回収するものである。なお、コレクションチューブホルダ42は、図示しない保温器との間で循環する保温水を収容し、回収された液滴Dを一定温度に維持するように構成される。必要であれば、回収された液滴Dを所定の温度に冷却するようにしてもよい。
したがって、本願発明に係るコレクションチューブホルダ42取り外しが容易であるので、サンプル液を交換する際、または定期的な清浄過程において、コレクションチューブ40またはコレクションチューブホルダ42に付着した感染症のリスクを伴う細胞粒子Pを確実に排除し、完全な無菌状態に維持することができる。
1:セルソータ、
10:流体フロー形成ブロック、11:サンプル液インレット、12:シース液インレット、13:サンプル液導管、14:フローチャンバ、15:フローチャンネル、16:振動器、17:サンプルチューブ、18:吐出口、19:チャンネル拡大部、
20:ストローブブロック、21:撮像装置、22:ノズルプレート、23:受容口、24:ノズル、25:ノズルチャンネル、26:チャンネル縮小部、27:Oリング、28:ブロックホルダ、29:連通路、
30:ソートチャンバ、31:偏向板、35:第1の集光レンズ、36:第2の集光レンズ、37:光ファイバ(ファイバユニット)、
40:コレクションチューブ、42:コレクションチューブホルダ、
JF:ジェットフロー、D:液滴、C:フローチャンネル中心軸、CJ:ジェットフロー中心軸。

Claims (13)

  1. 液体フローに含まれる細胞粒子を分析するシステムであって、
    サンプル液導管を受容するフローチャンバ、およびフローチャンネルを含むフローセルを構成する流体フロー形成ブロックと、
    流体フロー形成ブロックから噴出されるジェットフローおよび複数の液滴の所定領域における画像を撮像する撮像部を有するストローブブロックとを備え、
    流体フロー形成ブロックおよびストローブブロックは、着脱自在に固定され
    ストローブブロックは、受容口とノズルとの間に延びるノズルチャンネルを含むノズルプレートを有し、
    フローチャンネルは、受容口に対向する吐出口と、フロー方向に垂直な所定の断面が該吐出口に向かって拡大するチャンネル拡大部とを有し、
    フローチャンネルの吐出口およびノズルプレートの受容口の前記所定断面における開口距離(L)が実質的に同じであり、
    ノズルチャンネルは、フロー方向に垂直な所定の断面が受容口からノズルに向かって縮小するチャンネル縮小部を有することを特徴とするシステム。
  2. ノズルプレートが流体フロー形成ブロックに着脱可能に固定されるとき、流体フロー形成ブロックの吐出口がノズルプレートの受容口に対して所定の公差(d)内で位置合わせされ、
    開口距離(L)は、前記公差(d)の10倍以上であることを特徴とする請求項に記載のシステム。
  3. 開口距離(L)は約0.3mm以上であることを特徴とする請求項に記載のシステム。
  4. サンプル液導管は、フローチャンネル中心軸に沿って配置され、その内部に延びる着脱可能に固定されるサンプルチューブを有することを特徴とする請求項1に記載のシステム。
  5. 流体フロー形成ブロックを着脱自在に保持し、ストローブブロックに着脱自在に固定されるブロックホルダを有し、
    ブロックホルダはフローチャンネルの吐出口とストローブブロックの受容口との間に延びる連通路を有し、該連通路は所定断面における開口距離(L)が吐出口および受容口と実質的に同じであることを特徴とする請求項に記載のシステム。
  6. フローチャンネルに流れる液体フローに含まれる細胞粒子に励起光を照射する光源を有し、
    流体フロー形成ブロックは、フローチャンネルに対向するように配置された半球面状または半非球面状の第1の集光レンズを有し、第1の集光レンズは細胞粒子からの蛍光を平行光に変換することを特徴とする請求項1に記載のシステム。
  7. 流体フロー形成ブロックは、第1の集光レンズにより平行光に変換された蛍光を光ファイバに集光する第2の集光レンズを有し、
    第2の集光レンズは、第1の集光レンズより大きい直径を有することを特徴とする請求項に記載のシステム。
  8. 流体フロー形成ブロックに着脱自在に固定され、流体フロー形成ブロックに所定の周波数の振動を与える振動器を有することを特徴とする請求項1に記載のシステム。
  9. 振動器は、ドーナツ形状を有することを特徴とする請求項に記載のシステム。
  10. 直流電圧が印加される一対の偏向板を含むソートチャンバをさらに備え、
    ソートチャンバは、流体フロー形成ブロックおよびストローブブロックに対して着脱自在に固定されることを特徴とする請求項1に記載のシステム。
  11. 一対の偏向板は、ソートチャンバに対して着脱自在に固定されることを特徴とする請求項10に記載のシステム。
  12. ソートチャンバは、偏向板をソートチャンバから取り外した後にストローブブロックに対して取り外されることを特徴とする請求項10に記載のシステム。
  13. ストローブブロックは、ソートチャンバに取り付けられたときに、これらの間の隙間を埋めるために配置された袴状カバーを有することを特徴とする請求項10に記載のシステム。
JP2010099608A 2010-04-23 2010-04-23 フローサイトメータおよびセルソータ Expired - Fee Related JP5437148B2 (ja)

Priority Applications (2)

Application Number Priority Date Filing Date Title
JP2010099608A JP5437148B2 (ja) 2010-04-23 2010-04-23 フローサイトメータおよびセルソータ
US13/064,837 US9034259B2 (en) 2010-04-23 2011-04-20 Flow cytometer and flow cytometry

Applications Claiming Priority (1)

Application Number Priority Date Filing Date Title
JP2010099608A JP5437148B2 (ja) 2010-04-23 2010-04-23 フローサイトメータおよびセルソータ

Publications (3)

Publication Number Publication Date
JP2011232033A JP2011232033A (ja) 2011-11-17
JP2011232033A5 JP2011232033A5 (ja) 2012-11-29
JP5437148B2 true JP5437148B2 (ja) 2014-03-12

Family

ID=44814866

Family Applications (1)

Application Number Title Priority Date Filing Date
JP2010099608A Expired - Fee Related JP5437148B2 (ja) 2010-04-23 2010-04-23 フローサイトメータおよびセルソータ

Country Status (2)

Country Link
US (1) US9034259B2 (ja)
JP (1) JP5437148B2 (ja)

Families Citing this family (36)

* Cited by examiner, † Cited by third party
Publication number Priority date Publication date Assignee Title
WO2013145905A1 (ja) * 2012-03-30 2013-10-03 ソニー株式会社 微小粒子分取装置及び該装置における流体ストリーム最適化方法
JP5994337B2 (ja) 2012-03-30 2016-09-21 ソニー株式会社 微小粒子分取装置及びディレイタイム決定方法
CN104204766B (zh) 2012-03-30 2016-08-31 索尼公司 微芯片型光学测量装置及其光学位置调整方法
JP5924077B2 (ja) 2012-03-30 2016-05-25 ソニー株式会社 微小粒子分取装置及び微小粒子分取装置における軌道方向判定方法
US9162229B2 (en) * 2012-06-07 2015-10-20 Bio-Rad Laboratories, Inc. Multi-directional sorting with reduced contamination in a flow cytometer
WO2014047206A1 (en) * 2012-09-18 2014-03-27 Cytonome/St, Llc Flow cell for particle sorting
US11668640B2 (en) 2015-03-06 2023-06-06 Inguran, Llc Nozzle assembly for a flow cytometry system and methods of manufacture
WO2014047358A1 (en) 2012-09-19 2014-03-27 Inguran, Llc Flow cytometer nozzle tip
HK1212446A1 (en) * 2012-09-19 2016-06-10 Inguran, Llc Nozzle assembly for a flow cytometer system and methods of manufacture
WO2014115409A1 (ja) 2013-01-28 2014-07-31 ソニー株式会社 微小粒子分取装置、微小粒子分取方法及びプログラム
JP2016521362A (ja) * 2013-04-12 2016-07-21 ベクトン・ディキンソン・アンド・カンパニーBecton, Dickinson And Company 細胞分取のための自動セットアップ
WO2015056516A1 (ja) 2013-10-16 2015-04-23 ソニー株式会社 粒子分取装置、粒子分取方法及びプログラム
EP3106857B1 (en) 2014-02-13 2020-04-22 Sony Corporation Particle sorting apparatus, particle sorting method, program, and particle sorting system
JP2015222202A (ja) * 2014-05-22 2015-12-10 ソニー株式会社 粒子分析装置
FR3022998B1 (fr) * 2014-06-30 2016-07-15 Alain Rousseau Techniques & Innovations Arteion Systeme et ensemble de cytometrie en flux, dispositif d’analyse comprenant un tel ensemble de cytometrie et ensemble comprenant un tel systeme de cytometrie
JP6657625B2 (ja) 2014-09-05 2020-03-04 ソニー株式会社 液滴分取装置、液滴分取方法及びプログラム
WO2016182034A1 (ja) * 2015-05-12 2016-11-17 株式会社オンチップ・バイオテクノロジーズ 単一粒子解析方法およびその解析のためのシステム
CN106335710B (zh) * 2015-07-08 2019-09-03 深圳迈瑞生物医疗电子股份有限公司 样本分析仪及其试剂低温存储装置
JP6729597B2 (ja) 2015-10-19 2020-07-22 ソニー株式会社 画像処理装置、微小粒子分取装置及び画像処理方法
CN109564151B (zh) 2016-03-17 2023-01-24 贝克顿·迪金森公司 使用高通量荧光流式细胞仪进行细胞分选
US11609177B2 (en) * 2016-04-15 2023-03-21 Becton, Dickinson And Company Enclosed droplet sorter and methods of using the same
JP6707257B2 (ja) 2016-05-06 2020-06-10 アライドフロー株式会社 処理装置
JP6975480B2 (ja) * 2016-05-06 2021-12-01 アライドフロー株式会社 処理装置及び処理装置の滅菌処理方法
JP6805560B2 (ja) 2016-06-10 2020-12-23 ソニー株式会社 接続部材及び微小粒子測定装置
JP6783153B2 (ja) * 2017-01-13 2020-11-11 アークレイ株式会社 フローセル及び測定装置
US10466158B2 (en) * 2017-04-11 2019-11-05 Sony Corporation Microparticle sorting apparatus and delay time determination method
US10914671B2 (en) * 2018-04-27 2021-02-09 Becton, Dickinson And Company Flow cytometers having enclosed droplet sorters with controlled aerosol content and methods of using the same
WO2020039540A1 (ja) * 2018-08-23 2020-02-27 アライドフロー株式会社 フローセル、フローチャンバ、粒子分別装置及び粒子分別装置用カートリッジ
CN112805548B (zh) * 2018-10-30 2025-03-11 贝克顿·迪金森公司 具有对准窗口的颗粒分选模块、系统及其使用方法
WO2020197787A1 (en) 2019-03-22 2020-10-01 Becton, Dickinson And Company Spectral unmixing of fluorescence imaging using radiofrequency-multiplexed excitation data
CN112730408B (zh) * 2020-12-24 2024-07-09 贝克曼库尔特生物科技(苏州)有限公司 液流检测系统和液流检测方法以及分选装置
CN214895849U (zh) 2021-01-28 2021-11-26 贝克曼库尔特生物科技(苏州)有限公司 气泡检测装置和样本处理仪
US11858008B2 (en) * 2021-03-26 2024-01-02 Cytonome/St, Llc Systems and methods for particle sorting with automated adjustment of operational parameters
CN113376080A (zh) * 2021-06-11 2021-09-10 宋卓 液流装置及包含该装置的分析分选设备
CN118475821A (zh) * 2021-09-14 2024-08-09 贝克顿·迪金森公司 自动化细胞分选台及其使用方法
WO2025057738A1 (ja) * 2023-09-11 2025-03-20 ソニーグループ株式会社 粒子分取システム、オリフィス部品及びプレート

Family Cites Families (10)

* Cited by examiner, † Cited by third party
Publication number Priority date Publication date Assignee Title
JP3499003B2 (ja) * 1994-07-05 2004-02-23 シスメックス株式会社 粒度分布測定装置
US5641457A (en) * 1995-04-25 1997-06-24 Systemix Sterile flow cytometer and sorter with mechanical isolation between flow chamber and sterile enclosure
US6880414B2 (en) 2002-08-08 2005-04-19 Becton Dickinson And Company Sort block and liquid collection device for sorting flow cytometer
US7201875B2 (en) * 2002-09-27 2007-04-10 Becton Dickinson And Company Fixed mounted sorting cuvette with user replaceable nozzle
JP3891925B2 (ja) 2002-12-03 2007-03-14 ベイバイオサイエンス株式会社 生物学的粒子の情報を得る装置
ES2930062T3 (es) * 2003-03-28 2022-12-05 Inguran Llc Aparato para detectar el punto de rotura de un sistema de generación de gotitas
JP4304120B2 (ja) * 2004-04-30 2009-07-29 ベイバイオサイエンス株式会社 生物学的粒子をソーティングする装置及び方法
JP4756948B2 (ja) 2005-08-08 2011-08-24 ベイバイオサイエンス株式会社 フローサイトメータおよびフローサイトメトリ方法
JP4990746B2 (ja) * 2007-12-14 2012-08-01 ベイバイオサイエンス株式会社 液体フローに含まれる生物学的粒子を分別する装置ならびにその方法
AU2010326180B2 (en) * 2009-12-04 2015-06-18 Life Technologies Corporation Apparatuses, systems, methods, and computer readable media for acoustic flow cytometry

Also Published As

Publication number Publication date
JP2011232033A (ja) 2011-11-17
US9034259B2 (en) 2015-05-19
US20110259749A1 (en) 2011-10-27

Similar Documents

Publication Publication Date Title
JP5437148B2 (ja) フローサイトメータおよびセルソータ
JP7354368B2 (ja) マイクロ流体チャネルを使用してマイクロ粒子のバルク選別を行う方法及び装置
JP2011232033A5 (ja)
KR101683066B1 (ko) 미소 입자 분취를 위한 장치 및 마이크로칩
US9109197B2 (en) Device for concentrating and separating cells
JP2022050698A (ja) 微粒子分注装置、微粒子解析装置、及び反応検出装置、並びにそれらを用いる方法
US7880108B2 (en) Deflection plate
JP2023104940A (ja) 単一粒子解析方法およびその解析のためのシステム
US11192113B2 (en) Treatment apparatus and sterilization treatment method for treatment apparatus
CN105980059A (zh) 颗粒分选装置、颗粒分选方法和存储程序的非临时性计算机可读存储介质
JPH0640061B2 (ja) フローサイトメータ用の捕獲管分類装置及びその方法
JP6207815B2 (ja) フィルタリング部材及びフィルタリング方法
JPWO2011077765A1 (ja) 検体識別分取装置および検体識別分取方法
US11738339B2 (en) Microfluidic devices and method for sampling and analysis of cells using optical forces and Raman spectroscopy
ES2980804T3 (es) Sistema fluídico de inmovilización y recogida de partículas en línea y método para usar el mismo
Van Den Engh High‐speed cell sorting
US11169072B1 (en) Flow cell, flow chamber, particle sorting apparatus, and particle sorting apparatus cartridge
JP6490755B2 (ja) フィルタリング部材
US20220323959A1 (en) Cartridge and particle sorting apparatus
JP6975480B2 (ja) 処理装置及び処理装置の滅菌処理方法
JP7528950B2 (ja) マイクロチップ、サンプル分取キット及び微小粒子分取装置
WO2023058401A1 (ja) 生体試料分析装置及び異常判定方法

Legal Events

Date Code Title Description
A521 Request for written amendment filed

Free format text: JAPANESE INTERMEDIATE CODE: A523

Effective date: 20121015

A621 Written request for application examination

Free format text: JAPANESE INTERMEDIATE CODE: A621

Effective date: 20121015

A977 Report on retrieval

Free format text: JAPANESE INTERMEDIATE CODE: A971007

Effective date: 20130827

A131 Notification of reasons for refusal

Free format text: JAPANESE INTERMEDIATE CODE: A131

Effective date: 20130910

A521 Request for written amendment filed

Free format text: JAPANESE INTERMEDIATE CODE: A523

Effective date: 20130918

TRDD Decision of grant or rejection written
A01 Written decision to grant a patent or to grant a registration (utility model)

Free format text: JAPANESE INTERMEDIATE CODE: A01

Effective date: 20131112

A61 First payment of annual fees (during grant procedure)

Free format text: JAPANESE INTERMEDIATE CODE: A61

Effective date: 20131211

R150 Certificate of patent or registration of utility model

Ref document number: 5437148

Country of ref document: JP

Free format text: JAPANESE INTERMEDIATE CODE: R150

Free format text: JAPANESE INTERMEDIATE CODE: R150

R250 Receipt of annual fees

Free format text: JAPANESE INTERMEDIATE CODE: R250

R250 Receipt of annual fees

Free format text: JAPANESE INTERMEDIATE CODE: R250

R250 Receipt of annual fees

Free format text: JAPANESE INTERMEDIATE CODE: R250

R250 Receipt of annual fees

Free format text: JAPANESE INTERMEDIATE CODE: R250

LAPS Cancellation because of no payment of annual fees