JP5407963B2 - 防水シートの張設方法及び防水シートの張設用台車 - Google Patents

防水シートの張設方法及び防水シートの張設用台車 Download PDF

Info

Publication number
JP5407963B2
JP5407963B2 JP2010063772A JP2010063772A JP5407963B2 JP 5407963 B2 JP5407963 B2 JP 5407963B2 JP 2010063772 A JP2010063772 A JP 2010063772A JP 2010063772 A JP2010063772 A JP 2010063772A JP 5407963 B2 JP5407963 B2 JP 5407963B2
Authority
JP
Japan
Prior art keywords
waterproof
sheet
waterproof sheet
wall
tunnel
Prior art date
Legal status (The legal status is an assumption and is not a legal conclusion. Google has not performed a legal analysis and makes no representation as to the accuracy of the status listed.)
Active
Application number
JP2010063772A
Other languages
English (en)
Other versions
JP2011196087A (ja
Inventor
正充 高波
俊昭 高橋
Current Assignee (The listed assignees may be inaccurate. Google has not performed a legal analysis and makes no representation or warranty as to the accuracy of the list.)
Zacros Corp
Original Assignee
Fujimori Kogyo Co Ltd
Priority date (The priority date is an assumption and is not a legal conclusion. Google has not performed a legal analysis and makes no representation as to the accuracy of the date listed.)
Filing date
Publication date
Application filed by Fujimori Kogyo Co Ltd filed Critical Fujimori Kogyo Co Ltd
Priority to JP2010063772A priority Critical patent/JP5407963B2/ja
Publication of JP2011196087A publication Critical patent/JP2011196087A/ja
Application granted granted Critical
Publication of JP5407963B2 publication Critical patent/JP5407963B2/ja
Active legal-status Critical Current
Anticipated expiration legal-status Critical

Links

Images

Landscapes

  • Lining And Supports For Tunnels (AREA)

Description

本発明は、トンネル内壁に複数の防水シートを連続的に張設していく防水シートの張設方法及び防水シートの張設用台車に関し、更に詳しくは、防水シートのトンネル内壁への1ロール毎の張設工程、隣接する防水シート同士の接合工程及び防水シートの張設用台車の移動工程の繰り返しからなる一連の防水シートの張設作業のうち、特に前記1ロール毎の張設工程によらず、独立して隣接する防水シート同士の接合工程及び防水シートの張設用台車の移動工程を実施可能にして防水シートの張設作業全体の作業性を向上させると共に、しかも前記防水シートの張設用台車を大型化することなく広い幅を有する防水シートの張設を可能にする防水シートの張設方法及び防水シートの張設用台車に関する。
従来、NATM工法に見られるように、トンネルの一次覆工コンクリートと二次覆工コンクリートとの間に防水シートを介装し、一次覆工コンクリート側からの湧水が二次覆工コンクリート側に漏水するのを防止することが行われている。
一般に、この防水シートは、透水性層と不透水性層からなり、透水性層を一次覆工コンクリート側に、不透水性層側を二次覆工コンクリート側になるよう介装することにより、地山からの湧水を透水性層によってトンネル外に導出すると共に、不透水性層によって二次覆工コンクリート側への漏水を防止している。
従って、当該施工にあたっては、防水シートによる二次覆工コンクリートに対する一次覆工コンクリートの液密な張設が必要であり、例えば、特開2000−291392号公報(特許文献1)及び特開2001−280096号公報(特許文献2)には、枚葉の防水シートを張設し、次いでその端部に新たな防水シート端部を接合していく張設方法が提案されている。
しかし、特許文献1の張設方法は、2〜4m程度の幅を有する防水シートを数ロール分、防水シートの張設用台車の載置台に載せて、1)1ロール目の防水シートをトンネル内壁に張設し、2)次いでその端部に新たな1ロールの防水シートを接合することを繰り返して数ロール分の防水シートの張設を進行させ、3)然る後その進行に合わせて防水シートの張設用台車を移動させる方法であるため、この一連の1)〜3)の工程のうち、どうしても最初の防水シート張設が律速工程となり、かつこの工程が済まない限り、次の防水シートの接合工程、及び防水シートの張設用台車の移動工程に進めないという作業性上の問題があった。つまり、このような場合、作業のスピードを上げるため、接合工程及び移動工程に人員配置をしていても全く役に立たないことが多く、防水シートの張設作業全体の作業性が極めて悪かった。
更に、特許文献2の張設方法は、上記課題に加えて4〜10m程度の広い幅を有する防水シートを使用しているため、1ロール毎の張設工程で施工距離を稼ぐことができるものの、その分防水シートの張設用台車が大型化してしまうという問題も包含していた。
特開2000−291392号公報 特開2001−280096号公報
本発明は、上記事情に鑑みてなされたもので、トンネル内壁に複数の防水シートを連続的に張設していく防水シートの張設方法及び防水シートの張設用台車であって、防水シートのトンネル内壁への1ロール毎の張設工程、隣接する防水シート同士の接合工程及び防水シートの張設用台車の移動工程の繰り返しからなる一連の防水シートの張設作業のうち、特に前記1ロール毎の張設工程によらず、独立して隣接する防水シート同士の接合工程及び防水シートの張設用台車の移動工程を実施可能にして防水シートの張設作業の作業性全体を向上させると共に、しかも前記防水シートの張設用台車を大型化することなく広い幅を有する防水シートの張設を可能にする防水シートの張設方法及び防水シートの張設用台車を提供することを目的とする。
本発明は、上記目的を達成するため、鋭意検討を行なった結果、防水シートの張設用台車の載置台に防水シートを逐次載置しこれを一旦蛇腹に形成せしめると共に、隣接する蛇腹に形成された防水シート同士をその幅方向の端部同士で接合し、然る後に前記蛇腹を展開しながらトンネル内壁に複数の防水シートを連続的に張設していくことによって、防水シートのトンネル内壁への1ロール毎の張設工程、隣接する防水シート同士の接合工程及び防水シートの張設用台車の移動工程の繰り返しからなる一連の防水シートの張設作業のうち、特に前記1ロール毎の張設工程によらず、独立して隣接する防水シート同士の接合工程及び防水シートの張設用台車の移動工程を実施可能にして防水シートの張設作業の作業性全体を向上させると共に、しかも前記防水シートの張設用台車を大型化することなく広い幅を有する防水シートの張設を可能にする防水シートの張設方法及び防水シートの張設用台車を提供することを見出し、本発明をなすに至った。
即ち、本発明は、下記防水シートの張設方法及び防水シートの張設用台車を提供する。
請求項1:
トンネル内壁に複数の防水シートを連続的に張設していく防水シートの張設方法であって、防水シートの張設用台車の載置台に防水シートを逐次載置しこれを一旦蛇腹に形成せしめると共に、隣接する蛇腹に形成された防水シート同士をその幅方向の端部同士で接合し、然る後に前記蛇腹を展開しながらトンネル内壁に複数の防水シートを連続的に張設していくことを特徴とする防水シートの張設方法。
請求項2:
前記トンネル内壁に予め面ファスナーが固定され、前記防水シートが不透水性層をなす不透水性シートの一面に透水性層をなす織布及び/又は不織布からなる透水性シートを積層したものであって、前記面ファスナーに前記防水シートの透水性シートを対向させて押圧することにより、前記面ファスナーに前記防水シートの透水性シートを係止させてトンネル内壁に防水シートを張設していくことを特徴とする請求項1記載の防水シートの張設方法。
請求項3:
前記面ファスナーが帯状であって、トンネル内壁の周長方向に連続的又は断続的に固定されている請求項2記載の防水シートの張設方法。
請求項4:
トンネル内壁に複数の防水シートを連続的に張設していく防水シートの張設用台車であって、前記防水シートの張設用台車の載置台がトンネル内壁に相応するアーチ形状をなし、防水シート張設方向に対して作業用空間部を介して前方部と後方部の2つに分割されていて、前記載置台の前方部に防水シートを載置しこれを一旦蛇腹に形成せしめると共に、前記作業用空間部で隣接する蛇腹に形成された防水シート同士をその幅方向の端部同士で接合し、然る後に前記載置台の後方部で前記蛇腹を展開しながらトンネル内壁に複数の防水シートを連続的に張設できるようにしたことを特徴とする防水シートの張設用台車。
本発明によれば、防水シートのトンネル内壁への1ロール毎の張設工程、隣接する防水シート同士の接合工程及び防水シートの張設用台車の移動工程の繰り返しからなる一連の防水シートの張設作業のうち、特に前記1ロール毎の張設工程によらず、独立して隣接する防水シート同士の接合工程及び防水シートの張設用台車の移動工程を実施可能にして防水シートの張設作業全体の作業性全体を向上させると共に、しかも前記防水シートの張設用台車を大型化することなく広い幅を有する防水シートの張設を可能にする防水シートの張設方法及び防水シートの張設用台車を提供することができる。
本発明に係り使用される防水シートの一部を拡大して示す断面図である。 本発明に係る防水シートの張設を行ったトンネルの断面図である。 本発明に係る防水シートの張設用台車の正面図である。 本発明に係る防水シートの張設用台車の側面図である。 本発明に係る防水シートの張設用台車の載置台に具備された防水シートの蛇腹形成機構及び防水シート同士の接合機構を示す説明図である。 本発明に係る防水シートの張設用台車の載置台に具備された防水シートの蛇腹形成機構及び防水シート同士の接合機構を示す説明図である。 本発明に係る防水シートの張設用台車の載置台に具備された防水シートの蛇腹形成機構及び防水シート同士の接合機構を示す説明図である。 本発明に係る防水シートの張設用台車の載置台に具備された防水シートの蛇腹形成機構及び防水シート同士の接合機構を示す説明図である。 本発明に係る防水シートの張設用台車の載置台に具備された防水シートの蛇腹形成機構及び防水シート同士の接合機構を示す説明図である。 本発明に係る防水シートの張設用台車によりトンネル内壁に複数の防水シートを連続的に張設していく様子を示す説明図である。 従来例による取付部材を介しての透水性シートと不透水性シートとの接合機構を示す断面図である。 他の従来例による取付部材を介しての透水性シートと不透水性シートとの接合機構を示す断面図である。
発明を実施するための形態及び実施例
本発明に係る防水シート1の張設用台車8は、トンネル内壁4に複数の防水シート1を連続的に張設していく防水シート1の張設用台車8であって、前記防水シート1の張設用台車8の載置台9がトンネル内壁に相応するアーチ形状をなし、防水シート張設方向に対して作業用空間部10を介して前方部9bと後方部9aの2つに分割されていて、前記載置台9の前方部9bに防水シート1を載置しこれを一旦蛇腹14に形成せしめると共に、前記作業用空間部10で隣接する蛇腹14に形成された防水シート1同士をその幅方向の端部同士で接合し(接合部15)、然る後に前記載置台9の後方部9aで前記蛇腹14を展開しながらトンネル内壁4に複数の防水シート1を連続的に張設できるようにしたことを特徴とする防水シート1の張設用台車8である。
その構成を図1〜10を参照してより詳細に説明する。
防水シート1は、図1に示すように、不透水性層をなす不透水性シート3の一面に透水性層をなす織布及び/又は不織布からなる透水性シート2を積層したものであり、特に制限されるものではなく、公知のものが使用できる。
例えば、不透水性シート3としては、エチレン−酢酸ビニル共重合体樹脂、ポリオレフィン(ポリエチレン、ポリプロピレン等)樹脂、ポリ塩化ビニル樹脂等によって形成され、厚さは0.4〜2.5mm程度、幅は1600〜4500mm程度のものが好適である。また、透水性シート2としては、ポリエチレン、ポリプロピレン、ポリエステル、ナイロン等の合成樹脂製織布及び/又は不織布等によって形成され、目付量は50〜500g/m2、好ましくは200〜450g/m2、厚さは3〜5mm程度、幅は1600〜4500mm程度のものが好適である。そして、防水シート1の製造方法としては、例えば、上記不透水性シート3の一面に上記透水性シート2を接着剤等で全面的に接着若しくは接合、又は部分的に接着若しくは接合して得ることができる。
また、図2及び10に示すように、防水シート1の張設を行うトンネル内壁4には、予め帯状の面ファスナー7がトンネル内壁4の周方向に沿ってコンクリート釘6によって所定間隔毎に固定されており、上記面ファスナー7に上記防水シート1の透水性シート2を対向させて押圧することにより、上記面ファスナー7に上記防水シート1の透水性シート2を係止させてトンネル内壁4に防水シート1を張設していくことができるように構成される。
防水シート1の張設用台車8は、図3及び4に示すように、トンネル内の地面に設置された図示しない台車用レール上を走行する車輪16とこの車輪16を回転させる図示しない自走装置によりトンネル内を走行する台車部17を備えたものであって、防水シート1の張設を行なうための各階の作業床18a,18b,18c及び上下階の上記作業床を結ぶ階段19a,19b,19cからなる作業足場部20が設けられている。そして、作業床18c上には、トンネル内壁4に相応するアーチ形状をなす防水シート1の載置台9が防水シート1の張設方向(トンネル長手方向)に対して作業用空間10を介して前方部9b及び後方部9aの2つに分割され、それぞれ昇降自在にかつ前後方向移動自在に設けられて防水シート載置部21を構築している。載置台前方部9b及び載置台後方部9aは略1/2円弧状であり、昇降手段は昇降シリンダー22による。また、載置台前方部9b及び載置台後方部9aの前後方向への移動は図示しない横送り機構による。
このような載置台前方部9b及び載置台後方部9aの材質としては、防水シート1の張設方向(トンネル長手方向)に対して防水シート1が滑りやすいものが好ましく、特に鉄板、アルミ板、ステンレス板、プラスチック板等が好適に使用される。また、載置台前方部9b及び載置台後方部9aの厚みについては、載置された蛇腹14を形成した防水シート1の重量に耐え得る強度が確保できれば良く、特に15〜35kgf/m2、より好ましく20〜30kgf/m2の強度を有するものが望ましい。
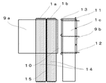
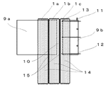
載置台前方部9bにおいて、防水シート1を蛇腹14に形成する。防水シート1を蛇腹14に形成する機構は、特に限定されないが、例えば、図5に示すように、載置台前方部9bの幅方向の一端に設けられた着脱自在なストッパー11に一の防水シート1aの幅方向の一端を引っ掛け、かつ載置台前方部9bの幅方向に沿ってその表面に設けられたスリット12に摺動自在に埋設されたカギ棒13のカギ状先端部を防水シート1aの幅方向の他端に引っ掛けて図中、左から右に手繰ることによって形成することができる。このようなカギ棒13の手繰りの機構は、人力の他、エア、油圧等の他の動力を利用しても良い。また、防水シート1aに所定の等間隔の蛇腹14が形成されるように、予め防水シート1aの長手方向に蛇腹をなすための所定の等間隔の折り畳み線加工を施しておくことが望ましい。このような折り畳み線の等間隔は、特に10〜30cm、より好ましくは15〜25cmが望ましい。
また、載置台前方部9b及び載置台後方部9aの高さは、防水シート1がトンネル内壁4上に予め固定された面ファスナー7に直接接触しない距離である約10cmに上記折り畳み線等から形成される蛇腹14の高さを加味して、面ファスナー7の表面から、特に20〜40cm、より好ましくは25〜35cm離れた距離に調整されることが望ましい。このような載置台前方部9b及び載置台後方部9aの高さの調整は、上記昇降手段によってなされる。
載置台前方部9bの幅w9bは、上記防水シート1が載置できれば良く、1600〜4500mm程度のものが好適である。また、載置台後方部9aの幅w9aも、上記蛇腹を形成した防水シート1が載置できれば良く、1600〜4500mm程度のものが好適である。特に、載置台後方部9aには、複数の防水シート1を接合したものを載置するが、蛇腹形成することによってその幅を小さくできるので、載置台後方部9aの幅w9aは載置台前方部9bの幅w9bに対して必ずしも大きくなければならないというわけではない。例えば、厚さ3.8mm、幅2200mmの防水シート1を使用し、これに等間隔200mm程度の蛇腹14を形成すると幅100mm程度に小さくなるので、載置台後方部9aの幅w9aが仮に2300mmあればトンネル長手方向50m分ものバッファーに相当する防水シート1を載置できることになり十分である。
作業用空間部10の間隔は、載置台前方部9bで蛇腹14を形成した防水シート1を落下させることなく載置台後方部9aに移動させることができ、かつ該作業用空間部10で作業性良く隣接する蛇腹14を形成した防水シート1同士をその幅方向の端部同士で接合できることを必須とする。このような作業用空間部10の間隔は、特に200〜400mm、より好ましくは250〜350mmが望ましい。また、上記防水シート1の移動及び隣接する防水シート1同士の接合のための位置合わせには、上記昇降手段及び横送り機構を利用することができる。つまり、昇降手段により、載置台前方部9bの高さよりも載置台後方部9aの高さを相対的に低くすることによって、載置台前方部9bで蛇腹14を形成した防水シート1をその重量を利用して載置台後方部9aにスムーズに移動させることができる。また、横送り機構により、隣接する防水シート1同士の接合のための位置合わせの微調整をすることができる。尚、隣接する防水シート1同士は、PFAFF社製等の自走式防水シート溶着機等により容易に熱融着して接合できる。
次に、本発明に係る防水シート1の張設用台車8を使用して、トンネル内壁4に防水シート1を張設する方法を詳細に説明する。
先ず、載置台前方部9bに一の防水シート1を透水性シート2側を上に向けて載置しこれを一旦蛇腹に形成する。防水シート1を蛇腹に形成する機構は特に限定されないが、例えば、図5に示すように、載置台前方部9bの幅方向の一端に設けられた着脱自在なストッパー11に一の防水シート1aの幅方向の一端を引っ掛け、かつ載置台前方部9bの幅方向に沿ってその表面に設けられたスリット12に摺動自在に埋設されたカギ棒13のカギ状先端部を防水シート1aの幅方向の他端に引っ掛けて図中、左から右に手繰ることによって形成することができる。尚、防水シート1に蛇腹14を形成した後は、図7に示すように、上記カギ棒13のカギ状先端部を載置台前方部9bの一端部の内側に向けて引っ掛けることによって、蛇腹14が形成された防水シート1を載置台後方部9aへスムーズに移動させることができる。また、上記ストッパー11は、載置台前方部9bに防水シート1を載置する際、該ストッパー11が邪魔になるときは必要に応じて取り外しても良い。
次いで、図6に示すように、この蛇腹14が形成された一の防水シート1aを載置台後方部9aへ移動させると共に、載置台前方部9bに二の防水シート1bを透水性シート2側を上に向けて載置しこれも上記蛇腹形成機構により蛇腹に形成し、図7に示すように、作業用空間部10で隣接する蛇腹に形成された2つの防水シート1a、1b同士をその幅方向の端部同士で重ね合わせ接合部15として接合する。更に、図8に示すように、この接合部15によって接合された蛇腹14が形成された防水シート1a、1bを載置台後方部9aへ移動させると共に、載置台前方部9bに三の防水シート1cを透水性シート2側を上に向けて載置しこれも上記蛇腹形成機構により蛇腹に形成し、図9に示すように、作業用空間部10で隣接する蛇腹に形成された2つの防水シート1b及び1c同士をその幅方向の端部同士で重ね合わせ接合部15として接合する。このような操作を逐次繰り返すことによって、連続的に複数の防水シート1に蛇腹形成とその接合を行なうことができる。尚、隣接する蛇腹に形成された2つの防水シート1同士の接合は、上記自走式防水シート溶着機等による。
然るにその一方で、図10に示すように、前記載置台後方部9aで蛇腹14が形成された一の防水シート1aから蛇腹14を逐次展開しながら、予めトンネル内壁4に固定された面ファスナー7に防水シート1の透水性シート2を対向させて押圧することにより、面ファスナー7に防水シート1の透水性シート2を係止させてトンネル内壁4に防水シート1を張設していくことができる。そして、防水シート1の張設の進行距離に合わせて、防水シートの調節用台車8を図示しない台車用レール上で図中、左から右へ走行させることによって、防水シート1の張設作業を進行させていくことができる。このような防水シート1の張設作業の後、図2に示すように、防水シート1の不透水性シート3側に二次覆工コンクリート5が逐次打設され完成となる。
このような一連の防水シートの張設方法によれば、少なくとも載置台後方部9aに載置された防水シート1の蛇腹14により、防水シート1の張設工程、隣接する防水シート1同士の接合工程及び防水シート1の張設用台車8の移動工程の各工程間にバッファーを持たせることができ、特に律速となる防水シート1の張設工程によらず、独立して防水シート1同士の接合工程及び防水シート1の張設用台車8の移動工程を実施できるようになるので、防水シート1の張設作業全体の作業性を向上させると共に、しかも防水シート1の張設用台車8を大型化することなく広い幅を有する防水シートの張設を可能にすることができる。
以上、本発明を好適な実施形態例に基づいて説明したが、本発明は、これらに限定されることはなく、本発明の要旨を逸脱しない範囲で種々変更して差支えない。
即ち、本発明は、特に請求項1又は4のように、トンネル内壁に複数の防水シートを連続的に張設するに際し、防水シートを蛇腹形成することにより、防水シートの張設作業全体の作業性を向上させること等を可能にするものであるから、これに組み合せる構成は、必ずしも請求項2又は3のようなトンネル内壁に予め固定された面ファスナーに不透水性シートと透水性シートとを積層一体化した防水シートを係止させる構成のみに限定されない。
例えば、請求項1又は4に組み合せる構成としては、図11(特開平10−184287号公報参照)のように、予め不織布からなる透水性シート24をトンネル内壁23に丸座盤状の合成樹脂製取付部材25を介して釘26を打ち付けることによって取り付け、然る後に該取付部材25に不透水性シート27を重ねて該取付部材25と不透水性シート27を赤外線等によって熱溶着させる構成としても良いし、或いは図12(特開平9−268897号公報参照)のように、予め不織布からなる透水性シート29をトンネル内壁28(一次覆工コンクリート)にベースプレート30とその上に設けられた貼着層31からなる取付部材32を介して釘33を打ち付けることによって取り付け、然る後に該取付部材32の貼着層31に不透水性シート34を重ねて該取付部材32と不透水性シート34を貼着させる構成としても構わない。また、特に図示しないが、予め不織布からなる透水性シートをトンネル内壁に適当な座盤を介して釘を打ち付けることによって取り付け、然る後に該透水性シートに不透水性シート上に接合一体化した面ファスナーを係止させて該透水性シートと不透水性シートとを接合させる構成としても構わない。要するに、トンネル内壁への防水シートの張設は、防水シートをトンネル内壁に固定可能で、自重および二次覆工コンクリート打設の引張りによる脱落が無い構成であれば特に限定されない。
但し、このような接合構成について言及すれば、上記熱溶着の場合は、取付部材と不透水性シートとの熱溶着を一般的には透けて見えない不透水性シート側から取付部材を探り当ててピンポイントでこれらを接合する必要があり、上記貼着の場合は、このようなピンポイントの接合に加えて一度貼り付けてしまうと貼り直しが難しいという課題を有する。一方、面ファスナーの場合は、帯状のものを採用することによって、一旦位置決めを行なえば、たとえ透けて見えない不透水性シートを用いても該不透水性シート側から面ファスナーの帯にそって手繰っていけば容易に接合でき、しかも面での接合となり、また剥がすことによって貼り直すこともできることから、作業性や接合強度の点で非常に有効であり、特に防水シートの蛇腹形成と組み合せることにより、防水シートの張設作業全体の作業性等を飛躍的に向上させることができる。尚、透けて見える不透水性シートを採用すれば更なる作業性向上が望めることはいうまでもない。
本発明によれば、防水シートのトンネル内壁への1ロール毎の張設工程、隣接する防水シート同士の接合工程及び防水シートの張設用台車の移動工程の繰り返しからなる一連の防水シートの張設作業のうち、特に前記1ロール毎の張設工程によらず、独立して隣接する防水シート同士の接合工程及び防水シートの張設用台車の移動工程を実施可能にして防水シートの張設作業全体の作業性を向上させると共に、しかも前記防水シートの張設用台車を大型化することなく広い幅を有する防水シートの張設を可能にする防水シートの張設方法及び防水シートの張設用台車を提供することができるので、NATM工法のトンネルの止水分野に有用である。
1 防水シート
2 透水性シート
3 不透水性シート
4 トンネル内壁(一次覆工コンクリート)
5 二次覆工コンクリート
6 コンクリート釘
7 面ファスナー
8 防水シートの張設用台車
9 載置部
10 作業空間部
11 ストッパー
12 スリット
13 カギ棒
14 蛇腹
15 接合部
16 車輪
17 台車部
18 作業床
19 階段
20 作業足場部
21 シート載置部
22 昇降シリンダー

Claims (4)

  1. トンネル内壁に複数の防水シートを連続的に張設していく防水シートの張設方法であって、防水シートの張設用台車の載置台に防水シートを逐次載置しこれを一旦蛇腹に形成せしめると共に、隣接する蛇腹に形成された防水シート同士をその幅方向の端部同士で接合し、然る後に前記蛇腹を展開しながらトンネル内壁に複数の防水シートを連続的に張設していくことを特徴とする防水シートの張設方法。
  2. 前記トンネル内壁に予め面ファスナーが固定され、前記防水シートが不透水性層をなす不透水性シートの一面に透水性層をなす織布及び/又は不織布からなる透水性シートを積層したものであって、前記面ファスナーに前記防水シートの透水性シートを対向させて押圧することにより、前記面ファスナーに前記防水シートの透水性シートを係止させてトンネル内壁に防水シートを張設していくことを特徴とする請求項1記載の防水シートの張設方法。
  3. 前記面ファスナーが帯状であって、トンネル内壁の周長方向に連続的又は断続的に固定されている請求項2記載の防水シートの張設方法。
  4. トンネル内壁に複数の防水シートを連続的に張設していく防水シートの張設用台車であって、前記防水シートの張設用台車の載置台がトンネル内壁に相応するアーチ形状をなし、防水シート張設方向に対して作業用空間部を介して前方部と後方部の2つに分割されていて、前記載置台の前方部に防水シートを載置しこれを一旦蛇腹に形成せしめると共に、前記作業用空間部で隣接する蛇腹に形成された防水シート同士をその幅方向の端部同士で接合し、然る後に前記載置台の後方部で前記蛇腹を展開しながらトンネル内壁に複数の防水シートを連続的に張設できるようにしたことを特徴とする防水シートの張設用台車。
JP2010063772A 2010-03-19 2010-03-19 防水シートの張設方法及び防水シートの張設用台車 Active JP5407963B2 (ja)

Priority Applications (1)

Application Number Priority Date Filing Date Title
JP2010063772A JP5407963B2 (ja) 2010-03-19 2010-03-19 防水シートの張設方法及び防水シートの張設用台車

Applications Claiming Priority (1)

Application Number Priority Date Filing Date Title
JP2010063772A JP5407963B2 (ja) 2010-03-19 2010-03-19 防水シートの張設方法及び防水シートの張設用台車

Publications (2)

Publication Number Publication Date
JP2011196087A JP2011196087A (ja) 2011-10-06
JP5407963B2 true JP5407963B2 (ja) 2014-02-05

Family

ID=44874646

Family Applications (1)

Application Number Title Priority Date Filing Date
JP2010063772A Active JP5407963B2 (ja) 2010-03-19 2010-03-19 防水シートの張設方法及び防水シートの張設用台車

Country Status (1)

Country Link
JP (1) JP5407963B2 (ja)

Families Citing this family (3)

* Cited by examiner, † Cited by third party
Publication number Priority date Publication date Assignee Title
JP6052860B2 (ja) * 2012-09-18 2016-12-27 藤森工業株式会社 防水シートの敷設方法及び固定部材
JP6556990B2 (ja) * 2014-09-29 2019-08-07 藤森工業株式会社 防水シートの取付方法
JP6045739B1 (ja) * 2016-03-14 2016-12-14 東急建設株式会社 トンネル用防水シート及びトンネルの防水構造

Family Cites Families (5)

* Cited by examiner, † Cited by third party
Publication number Priority date Publication date Assignee Title
JPS61204498A (ja) * 1985-03-08 1986-09-10 石川島播磨重工業株式会社 不透水膜被覆工法及び装置
JPH07310499A (ja) * 1994-05-18 1995-11-28 K F C:Kk トンネルの防水シート施工法及びその施工架
JP4262387B2 (ja) * 2000-04-03 2009-05-13 前田建設工業株式会社 トンネルへの防水シート展張方法およびその装置
JP3925833B2 (ja) * 2001-01-25 2007-06-06 大成建設株式会社 防水シートの敷設装置及び防水シートの敷設方法
JP2008063734A (ja) * 2006-09-05 2008-03-21 Hks:Kk トンネル用防水シート

Also Published As

Publication number Publication date
JP2011196087A (ja) 2011-10-06

Similar Documents

Publication Publication Date Title
KR101962938B1 (ko) Yps 공법에 특화된 방수시트 도포장치
JP5407963B2 (ja) 防水シートの張設方法及び防水シートの張設用台車
JPH1136795A (ja) トンネル防水シート張り台車
JP6994393B2 (ja) トンネル用防水シートの展張装置
JP6556990B2 (ja) 防水シートの取付方法
KR20120020018A (ko) 채널형 배수유도시트가 일체화된 터널 공사용 방수시트 및 그 제조 장치와 방법 및 이를 이용한 터널의 방수공법
JP7342058B2 (ja) トンネル防水工法
JP2928171B2 (ja) トンネル用止水シートの取付構造および取付方法
JP6731442B2 (ja) 防水シート敷設装置及び防水シートの敷設方法
KR101231060B1 (ko) 벨크로띠를 구비한 터널공사용 방수시트와 그 제조장치 및 제조방법 및 이를 이용하는 터널의 방수공법
JP3158356B2 (ja) トンネル内への防水シートの装着方法及びその方法の実施に用いる防水シート
JP2012021391A (ja) トンネル覆工コンクリートの養生方法
JP6259178B2 (ja) トンネル覆工コンクリートの養生装置と養生方法
JP2002266596A (ja) トンネル用防水シートの展張工法及びその装置
JPH1096396A (ja) トンネル用止水シートの取付構造および取付方法
JPH10196294A (ja) トンネル掘削面へのシ−ト防水材の施工法
JP6934672B2 (ja) トンネル用防水シート及びトンネル
JP7166071B2 (ja) 防水シート敷設装置
JP7345451B2 (ja) トンネル防水工法
JP2023129737A (ja) 廃棄物処分場の遮水シートの施工方法
JP2002129898A (ja) 防水シート及びトンネルの防排水施工方法
JP2001280096A (ja) トンネルへの防水シート展張方法およびその装置
JPH11245325A (ja) 防水シート
JPH1136793A (ja) トンネル周面へのシート防水材の取付け方法
JPH10115198A (ja) トンネル用止水シートの取付装置及び取付方法

Legal Events

Date Code Title Description
A621 Written request for application examination

Free format text: JAPANESE INTERMEDIATE CODE: A621

Effective date: 20130121

A977 Report on retrieval

Free format text: JAPANESE INTERMEDIATE CODE: A971007

Effective date: 20130927

TRDD Decision of grant or rejection written
A01 Written decision to grant a patent or to grant a registration (utility model)

Free format text: JAPANESE INTERMEDIATE CODE: A01

Effective date: 20131008

A61 First payment of annual fees (during grant procedure)

Free format text: JAPANESE INTERMEDIATE CODE: A61

Effective date: 20131021

R150 Certificate of patent or registration of utility model

Ref document number: 5407963

Country of ref document: JP

Free format text: JAPANESE INTERMEDIATE CODE: R150

R250 Receipt of annual fees

Free format text: JAPANESE INTERMEDIATE CODE: R250

R250 Receipt of annual fees

Free format text: JAPANESE INTERMEDIATE CODE: R250

R250 Receipt of annual fees

Free format text: JAPANESE INTERMEDIATE CODE: R250

R250 Receipt of annual fees

Free format text: JAPANESE INTERMEDIATE CODE: R250