JP5259791B2 - 発光装置、車両用前照灯、照明装置、及び車両 - Google Patents

発光装置、車両用前照灯、照明装置、及び車両 Download PDF

Info

Publication number
JP5259791B2
JP5259791B2 JP2011176173A JP2011176173A JP5259791B2 JP 5259791 B2 JP5259791 B2 JP 5259791B2 JP 2011176173 A JP2011176173 A JP 2011176173A JP 2011176173 A JP2011176173 A JP 2011176173A JP 5259791 B2 JP5259791 B2 JP 5259791B2
Authority
JP
Japan
Prior art keywords
light
light emitting
intensity distribution
emitting device
excitation
Prior art date
Legal status (The legal status is an assumption and is not a legal conclusion. Google has not performed a legal analysis and makes no representation as to the accuracy of the status listed.)
Expired - Fee Related
Application number
JP2011176173A
Other languages
English (en)
Other versions
JP2012109209A (ja
Inventor
幸司 高橋
Current Assignee (The listed assignees may be inaccurate. Google has not performed a legal analysis and makes no representation or warranty as to the accuracy of the list.)
Sharp Corp
Original Assignee
Sharp Corp
Priority date (The priority date is an assumption and is not a legal conclusion. Google has not performed a legal analysis and makes no representation as to the accuracy of the date listed.)
Filing date
Publication date
Application filed by Sharp Corp filed Critical Sharp Corp
Priority to JP2011176173A priority Critical patent/JP5259791B2/ja
Priority to US13/280,572 priority patent/US8733957B2/en
Publication of JP2012109209A publication Critical patent/JP2012109209A/ja
Application granted granted Critical
Publication of JP5259791B2 publication Critical patent/JP5259791B2/ja
Expired - Fee Related legal-status Critical Current
Anticipated expiration legal-status Critical

Links

Images

Classifications

    • FMECHANICAL ENGINEERING; LIGHTING; HEATING; WEAPONS; BLASTING
    • F21LIGHTING
    • F21SNON-PORTABLE LIGHTING DEVICES; SYSTEMS THEREOF; VEHICLE LIGHTING DEVICES SPECIALLY ADAPTED FOR VEHICLE EXTERIORS
    • F21S41/00Illuminating devices specially adapted for vehicle exteriors, e.g. headlamps
    • F21S41/10Illuminating devices specially adapted for vehicle exteriors, e.g. headlamps characterised by the light source
    • F21S41/14Illuminating devices specially adapted for vehicle exteriors, e.g. headlamps characterised by the light source characterised by the type of light source
    • F21S41/16Laser light sources
    • FMECHANICAL ENGINEERING; LIGHTING; HEATING; WEAPONS; BLASTING
    • F21LIGHTING
    • F21SNON-PORTABLE LIGHTING DEVICES; SYSTEMS THEREOF; VEHICLE LIGHTING DEVICES SPECIALLY ADAPTED FOR VEHICLE EXTERIORS
    • F21S41/00Illuminating devices specially adapted for vehicle exteriors, e.g. headlamps
    • F21S41/10Illuminating devices specially adapted for vehicle exteriors, e.g. headlamps characterised by the light source
    • F21S41/14Illuminating devices specially adapted for vehicle exteriors, e.g. headlamps characterised by the light source characterised by the type of light source
    • F21S41/17Discharge light sources
    • F21S41/173Fluorescent light sources
    • FMECHANICAL ENGINEERING; LIGHTING; HEATING; WEAPONS; BLASTING
    • F21LIGHTING
    • F21SNON-PORTABLE LIGHTING DEVICES; SYSTEMS THEREOF; VEHICLE LIGHTING DEVICES SPECIALLY ADAPTED FOR VEHICLE EXTERIORS
    • F21S41/00Illuminating devices specially adapted for vehicle exteriors, e.g. headlamps
    • F21S41/10Illuminating devices specially adapted for vehicle exteriors, e.g. headlamps characterised by the light source
    • F21S41/14Illuminating devices specially adapted for vehicle exteriors, e.g. headlamps characterised by the light source characterised by the type of light source
    • F21S41/176Light sources where the light is generated by photoluminescent material spaced from a primary light generating element
    • FMECHANICAL ENGINEERING; LIGHTING; HEATING; WEAPONS; BLASTING
    • F21LIGHTING
    • F21SNON-PORTABLE LIGHTING DEVICES; SYSTEMS THEREOF; VEHICLE LIGHTING DEVICES SPECIALLY ADAPTED FOR VEHICLE EXTERIORS
    • F21S41/00Illuminating devices specially adapted for vehicle exteriors, e.g. headlamps
    • F21S41/20Illuminating devices specially adapted for vehicle exteriors, e.g. headlamps characterised by refractors, transparent cover plates, light guides or filters
    • F21S41/24Light guides
    • FMECHANICAL ENGINEERING; LIGHTING; HEATING; WEAPONS; BLASTING
    • F21LIGHTING
    • F21SNON-PORTABLE LIGHTING DEVICES; SYSTEMS THEREOF; VEHICLE LIGHTING DEVICES SPECIALLY ADAPTED FOR VEHICLE EXTERIORS
    • F21S41/00Illuminating devices specially adapted for vehicle exteriors, e.g. headlamps
    • F21S41/60Illuminating devices specially adapted for vehicle exteriors, e.g. headlamps characterised by a variable light distribution
    • F21S41/67Illuminating devices specially adapted for vehicle exteriors, e.g. headlamps characterised by a variable light distribution by acting on reflectors
    • F21S41/675Illuminating devices specially adapted for vehicle exteriors, e.g. headlamps characterised by a variable light distribution by acting on reflectors by moving reflectors
    • FMECHANICAL ENGINEERING; LIGHTING; HEATING; WEAPONS; BLASTING
    • F21LIGHTING
    • F21YINDEXING SCHEME ASSOCIATED WITH SUBCLASSES F21K, F21L, F21S and F21V, RELATING TO THE FORM OR THE KIND OF THE LIGHT SOURCES OR OF THE COLOUR OF THE LIGHT EMITTED
    • F21Y2101/00Point-like light sources
    • FMECHANICAL ENGINEERING; LIGHTING; HEATING; WEAPONS; BLASTING
    • F21LIGHTING
    • F21YINDEXING SCHEME ASSOCIATED WITH SUBCLASSES F21K, F21L, F21S and F21V, RELATING TO THE FORM OR THE KIND OF THE LIGHT SOURCES OR OF THE COLOUR OF THE LIGHT EMITTED
    • F21Y2115/00Light-generating elements of semiconductor light sources
    • F21Y2115/30Semiconductor lasers

Landscapes

  • Engineering & Computer Science (AREA)
  • General Engineering & Computer Science (AREA)
  • Physics & Mathematics (AREA)
  • Optics & Photonics (AREA)
  • Non-Portable Lighting Devices Or Systems Thereof (AREA)

Description

本発明は、任意の投光パターンを実現することが可能な発光装置、車両用前照灯、照明装置、及び車両に関する。
近年、励起光源としてLED(Light Emitting Diode)やLD(Laser Diode)等の半導体発光素子を用い、これらの励起光源から生じた励起光を、蛍光体を含む発光部に照射してインコヒーレントな照明光を発生させる発光装置の研究が盛んになってきている。
このような発光装置に関する技術の例として特許文献1が開示されている。
特許文献1の光源装置は、短波長のレーザ光を出射するレーザダイオードと、該レーザダイオードからのレーザ光を平行光線束とするコリメータと、該コリメータからの平行光線束のレーザ光を集光するコンデンサと、該コンデンサで集光したレーザ光を吸収し自然放出光としてインコヒーレント光を放出する蛍光体とを有する。これにより、特許文献1の光源装置では、光量が大きいがコヒーレント光であるレーザ光が蛍光体によって吸収作用を受け、蛍光体からはインコヒーレント光を自然放出している。
特開2003−295319号公報(平成15年10月15日公開)
しかしながら、従来の技術には次のような問題がある。
すなわち、特許文献1の光源装置では、蛍光体は、反射鏡のほぼ焦点に位置し、その焦点位置においてのみレーザ光が照射されている。つまり、特許文献1の光源装置では、焦点位置の周辺部にレーザ光が照射されておらず、焦点位置にのみレーザ光が照射されているため、配光状態が限定された投光しか実現しえない。
本発明は、上記の問題を解決するためになされたものであり、その目的は、任意の投光パターンを実現することが可能な発光装置、車両用前照灯、照明装置、及び車両を提供することにある。
本発明に係る発光装置は、上記の課題を解決するために、励起光を出射する励起光源と、上記励起光源から出射された励起光を受けて蛍光を発する発光部と、上記発光部が発生させた蛍光を投光する投光部とを備え、上記発光部は、上記投光部の焦点位置およびその周辺部分を含むように配置されるとともに、上記焦点位置における部分が最も強く励起され、上記焦点位置の周辺部分は、上記励起光が照射される上記発光部の面である照射面における上記励起光の光強度分布に応じた強さで励起されることを特徴としている。
上記構成によれば、発光部は、投光部の焦点位置およびその周辺部分を含むように配置されている。そして、発光部は、焦点位置における部分が最も強く励起され、焦点位置の周辺部分は、励起光が照射される上記発光部の面である照射面における励起光の光強度分布に応じた強さで励起される。
したがって、発光部は、投光部の焦点位置における部分が最も強く励起されるため、その部分から発生した蛍光を投光部で投光させることにより、真正面を狭い立体角で明るく照らすことができる。
また、投光部の焦点位置の周辺部分における発光部は、照射面における励起光の光強度分布に応じた強さで励起されるため、その周辺部分から発生した蛍光を投光部で投光させることにより、広い立体角で真正面の周辺部を適度に照らすことができる。そして、その励起光の光強度分布は、発光装置の用途、使用状況に応じて与えることにより、投光先の投光パターンを任意に変更することができる。つまり、本発明に係る発光装置は、従来の課題である、焦点位置の周辺部にレーザ光が照射されておらず、焦点位置にのみレーザ光が照射されていることにより配光状態が限定された投光しか実現しえなかったという問題を解決することができる。
このように、本発明に係る発光装置は、自装置の用途、使用状況に応じて任意の投光パターンを実現することができるため、従来の発光装置に比べて格段にユーザの利便性を高めることができる。
さらに、本発明に係る発光装置では、上記励起光の光強度分布を制御することにより、自装置から出射される光の投光パターンを制御する構成であってよい。
上記構成によれば、自装置から出射される光の投光パターンを制御するためには励起光の光強度分布のみを制御すればよく、他の追加的な構成を必要としないため、発光装置をシンプルな構造で実現することができる。
さらに、本発明に係る発光装置では、上記励起光の光強度分布は、上記焦点位置付近の光強度が最も強く、上記焦点位置の周辺部分の光強度は、上記焦点位置付近の光強度よりも弱い構成であってよい。
上記構成によれば、発光部は、投光部の焦点位置における部分が最も強く励起されるため、その部分から発生した蛍光を投光部で投光させることにより、真正面を狭い立体角で明るく照らすことができる。
また、投光部の焦点位置の周辺部分における発光部は、照射面における励起光の光強度分布に応じた強さで励起されるため、その周辺部分から発生した蛍光を投光部で投光させることにより、広い立体角で真正面の周辺部を適度に照らすことができる。
さらに、本発明に係る発光装置では、上記照射面上に、第1方向と、その第1方向に垂直な第2方向を規定したときに、上記励起光は、上記第1方向における光強度分布が、上記第2方向における光強度分布よりも広い範囲で形成される構成であってよい。
本発明に係る発光装置は、様々な用途に適用することができる。そこで、その用途に応じた使用状況を提供できれば、より汎用性の高い発光装置をユーザに提供することができる。
その一例として、本発明に係る発光装置が自動車の前照灯に用いられる場合を考える。自動車の前照灯は、安全運転のために道路中央と左右の歩道や道路標識などを効率的に照らす必要がある。そのため、投光パターンは、円形ではなく、左右方向に伸びた楕円形状とすることが好ましい。
この点、本発明に係る発光装置では、上記励起光が、上記第1方向における光強度分布が、上記第2方向における光強度分布よりも広い範囲で形成される。
これにより、本発明に係る発光装置は、自動車の前照灯に適用されるには、道路中央と左右の歩道や道路標識などを効率的に照らすことができる。また、本発明に係る発光装置が自動車の前照灯とは異なる用途に適用される場合も考えられる。その場合には、第1方向および第2方向における光強度分布の範囲を適宜変更することで、本発明に係る発光装置を種々の用途に好適に適用することができる。
さらに、本発明に係る発光装置では、上記第1方向における光強度分布は、上記第2方向における光強度分布よりも3倍以上広く形成される構成であってよい。
上記構成によれば、本発明に係る発光装置は、特に自動車の前照灯に好適に適用することができる。
さらに、本発明に係る発光装置では、上記励起光源から出射された励起光の上記光強度分布を制御する光強度分布制御手段を備える構成であってよい。
上記構成によれば、本発明に係る発光装置は、光強度分布制御手段を備える。したがって、光強度分布制御手段は、発光装置の用途、使用状況に応じて励起光の光強度分布を制御すればよく、それにより任意の投光パターンをユーザに提供することができる。
さらに、本発明に係る発光装置では、上記光強度分布制御手段は、光学特性の異なる複数のレンズからなる構成であってよい。
本発明に係る発光装置は、光学特性の異なる複数のレンズを光強度分布制御手段として用いることにより、励起光源から出射された励起光を複数の集光点に集光することができ、それにより、励起光に光強度分布を形成することができる。そして、光学特性の異なる複数のレンズ自体は極めてシンプルな構成で実現できるため、本発明に係る発光装置は、励起光源から出射された励起光の光強度分布を制御する光強度分布制御手段を極めて容易に実現することができる。
さらに、本発明に係る発光装置では、上記光強度分布制御手段は、上記励起光源から出射された励起光を上記発光部に向けて集光する集光レンズと、その集光レンズを通過した上記励起光の経路によって光の透過率が異なるアパーチャとからなる構成であってよい。
励起光の経路によって光の透過率が異なるアパーチャを用いることで、アパーチャを通過した後の励起光に、透過率の違いに基づく光強度分布を形成することができる。そして、アパーチャの透過率は、自在に変更しうるものである。それゆえ、本発明に係る発光装置は、集光レンズを通過した励起光の経路によって光の透過率が異なるアパーチャを用いることにより、また、そのアパーチャの透過率を適宜変更することにより、光強度分布を自在に形成・制御することができる。
さらに、本発明に係る発光装置では、上記励起光源が複数設けられているときに、上記光強度分布制御手段は、上記励起光源から出射された励起光を上記発光部に向けて集光する集光レンズを、上記励起光源ごとに設けてなる構成であってよい。
本発明に係る発光装置は、たとえ励起光源が複数設けられているときであっても、励起光源ごとに集光レンズを設けることにより、それら集光レンズを通過した励起光の集光点の位置に基づく光強度分布を容易に形成することができる。そして、使用する集光レンズを変更することで、光学特性の違いに基づく光強度分布の変更、制御を容易に行うことができる。
さらに、本発明に係る発光装置では、上記光強度分布制御手段は、上記励起光源から出射された励起光を平行光にする凸レンズと、入射する上記平行光を2つの焦点位置に向けて反射する凹面鏡とからなる構成であってよい。
入射する平行光を2つの焦点位置に向けて反射する凹面鏡を用いることにより、励起光源から出射された励起光を複数の集光点に集光することができ、それにより、励起光に光強度分布を形成することができる。また、使用する凹面鏡を変えることで、集光点を変更することによる光強度分布の制御が可能となる。それゆえ、本発明に係る発光装置は、上記の凸レンズと凹面鏡とを備えることにより、励起光源から出射された励起光の光強度分布を容易に制御することができる。
さらに、本発明に係る発光装置は、凹面鏡によって平行光を反射させることで光強度分布を制御する構成である。したがって、集光レンズを用いた光強度分布制御手段(励起光源、集光レンズ、発光体を直線上に配置する構成)がレイアウト上の制約により実施できない場合などには、平行光を凹面鏡によって反射させることにより、柔軟性の高い装置レイアウトを実現することができる。
さらに、本発明に係る発光装置では、上記光強度分布制御手段は、上記励起光源から出射された励起光を平行光にする凸レンズと、入射する上記平行光を1つの焦点位置に向けて反射する凹面鏡と、上記凹面鏡によって反射された上記励起光の経路によって光の透過率が異なるアパーチャとからなる構成であってよい。
励起光の経路によって光の透過率が異なるアパーチャを用いることで、アパーチャを通過した後の励起光に、透過率の違いに基づく光強度分布を形成することができる。そして、アパーチャの透過率は、自在に変更しうるものである。それゆえ、本発明に係る発光装置は、励起光の経路によって光の透過率が異なるアパーチャを用いることにより、また、そのアパーチャの透過率を適宜変更することにより、光強度分布を自在に形成・制御することができる。
また、集光レンズを用いた光強度分布制御手段(励起光源、集光レンズ、発光体を直線上に配置する構成)がレイアウト上の制約により実施できない場合などには、平行光を凹面鏡によって反射させることにより、柔軟性の高い装置レイアウトを実現することができる。
さらに、本発明に係る発光装置では、上記励起光源が複数設けられているときに、上記光強度分布制御手段は、上記励起光源から出射された励起光を平行光にする凸レンズと、入射する上記平行光を1つの焦点位置に向けて反射する凹面鏡とを、上記励起光源ごとに設けてなるものである構成であってよい。
本発明に係る発光装置は、たとえ励起光源が複数設けられているときであっても、励起光源ごとに凸レンズと凹面鏡とを備えることにより、それら凹面鏡によって反射された励起光の集光点の位置に基づく光強度分布を容易に形成することができる。そして、使用する凹面鏡を変更することで、光学特性の違いによる光強度分布の変更、制御を容易に実現することができる。
さらに、集光レンズを用いた光強度分布制御手段(励起光源、集光レンズ、発光体を直線上に配置する構成)がレイアウト上の制約により実施できない場合などには、平行光を凹面鏡によって反射させることにより、柔軟性の高い装置レイアウトを実現することができる。
このように、光強度分布制御手段は、種々の構成によって実現することができる。つまり、光強度分布制御手段は、発光装置のサイズ、形状等に応じて取りうる構成を適宜決めることができるため、発光装置の設計の自由度を高めることもできる。
さらに、本発明に係る発光装置では、上記投光部は、上記発光部が発生させた蛍光を反射する反射鏡であることが好ましい。
さらに、本発明に係る発光装置では、上記発光部が発生させた蛍光の光線の角度を変更する凸レンズであることが好ましい。
上記構成によれば、上記発光部が発生させた蛍光の発光装置外部への投光は、種々の態様で実現することができる。したがって、反射鏡または凸レンズの選択は、発光装置の用途、設計条件等に応じて行われてよく、それゆえ、設計自由度の高い発光装置をユーザに提供することができる。
さらに、本発明に係る発光装置は、上記励起光を集光すると凸レンズと、上記凸レンズを透過した上記励起光の光線の角度を一方向のみ変更させ、その励起光を上記発光部に導光するシリンドリカルレンズと、を備える構成であってよい。
さらに、本発明に係る発光装置は、上記励起光を透過させ、その励起光を上記発光部に導光する楕円形の凸レンズを備える構成であってよい。
本発明に係る発光装置は、様々な用途に適用することができる。そこで、その用途に応じた使用状況を提供できれば、より汎用性の高い発光装置をユーザに提供することができる。
その一例として、本発明に係る発光装置が自動車の前照灯に用いられる場合を考える。自動車の前照灯は、安全運転のために道路中央と左右の歩道や道路標識などを効率的に照らす必要がある。そのため、投光パターンは、円形ではなく、左右方向に伸びた楕円形状とすることが好ましい。
この点、本発明に係る発光装置は、上記構成を備えることで、左右方向に伸びた楕円形状の投光パターンを実現することができる。これにより、本発明に係る発光装置は、自動車の前照灯に適用されるには、道路中央と左右の歩道や道路標識などを効率的に照らすことができる。また、本発明に係る発光装置が自動車の前照灯とは異なる用途に適用される場合も考えられる。その場合には、凸レンズ、シリンドリカルレンズの仕様を適宜変更することで、用途に応じた柔軟な変更が可能となる。
さらに、本発明に係る発光装置では、上記反射鏡は、放物線の対称軸を中心に放物線を回転させることによって形成される曲面を、回転軸を含む平面で切断することによって得られる部分曲面の少なくとも一部を含んでいる構成であってよい。
反射鏡の少なくとも一部を放物面(パラボラ)にすることで、発光部の蛍光を所定の立体角内に効率的に投光することができ、その結果、蛍光の利用効率を高めることができる。
また、例えば反射鏡の半分をパラボラとし、残り半分をパラボラ以外の構造(例えば、反射板)とすると、反射鏡に反射した蛍光のうちの、制御できなかった迷光が出射される範囲が反射鏡のパラボラ側とその反対側とで異なる。具体的には、迷光は反射鏡のパラボラ側により多く出射される。この特性を利用して、反射鏡のパラボラ側の広い範囲を照らすこともできる。
これにより、本発明に係る発光装置は、使用状況に応じて、さらにバリエーション豊かな投光パターンを実現することができる。
なお、上記構成において、照射面に対して垂直な方向の発光部の厚さによって投光パターンを変化させることができる。つまり、発光部の上記厚さを厚くすることにより、円形に近い投光パターンを実現でき、発光部の上記厚さを薄くすることにより、横長状の投光パターンを実現することができる。
さらに、本発明に係る発光装置では、上記反射鏡は、円、楕円または放物線の対称軸を回転軸として当該円、楕円または放物線を回転させることによって形成される曲面の少なくとも一部を含んでいる構成であってよい。
上記構成によれば、例えば反射鏡を円形パラボラとすることで、例えば、横長の蛍光体(照射面の幅が広い蛍光体)を用いると横長状の投光パターンを実現することができるなど、発光部の厚さではなく、発光部の形状によって投光パターンを制御しやすくなるという効果を得ることができる。
さらに、上記いずれかに記載の発光装置を含む車両用前照灯であってよい。
さらに、上記いずれかに記載の発光装置を含む照明装置であってよい。
本発明に係る発光装置は、車両用前照灯や照明装置などに好適に適用することができる。これにより、例えば本発明に係る発光装置を車両用前照灯に適用した場合、当該車両用前照灯は、車両の走行状態に応じた投光パターンを実現することができ、ユーザの利便性を高めることができる。
さらに、車両用前照灯を備えた車両であって、上記車両用前照灯は、励起光を出射する励起光源と、上記励起光源から出射された励起光を受けて蛍光を発する発光部と、上記発光部が発生させた蛍光を反射する反射曲面を有する反射鏡と、上記反射曲面と対向する面を有するとともに、上記発光部を支持する支持部材とを備え、上記車両用前照灯は、上記反射曲面が鉛直下側に位置するように上記車両に配設されていることを特徴としている。
車両用前照灯が車両に配設された状態において、車両用前照灯の鉛直下側部分は反射曲面を有する反射鏡であり、鉛直上側部分は、支持部材であるため、発光部が発した蛍光のうち、反射鏡で制御できなかった蛍光は車両用前照灯の反射鏡側、すなわち、鉛直下側により多く出射される。それゆえ、反射鏡によって制御された光で遠方(車両の正面)を照らすとともに、反射鏡で制御できなかった蛍光によって車両の近傍かつ下方向を照らすことができる。従って、反射鏡で制御できなかった蛍光を有効利用できるとともに、車両の正面を明るく照らしつつ、車両用前照灯の照明範囲を広げることができる。
本発明に係る発光装置は、以上のように、励起光を出射する励起光源と、上記励起光源から出射された励起光を受けて蛍光を発する発光部と、上記発光部が発生させた蛍光を投光する投光部とを備え、上記発光部は、上記投光部の焦点位置およびその周辺部分を含むように配置されるとともに、上記焦点位置における部分が最も強く励起され、上記焦点位置の周辺部分は、上記励起光が照射される上記発光部の面である照射面における上記励起光の光強度分布に応じた強さで励起される構成である。
また、本発明に係る車両は、以上のように、上記車両用前照灯は、励起光を出射する励起光源と、上記励起光源から出射された励起光を受けて蛍光を発する発光部と、上記発光部が発生させた蛍光を反射する反射曲面を有する反射鏡と、上記反射曲面と対向する面を有するとともに、上記発光部を支持する支持部材とを備え、上記車両用前照灯は、上記反射曲面が鉛直下側に位置するように上記車両に配設されている構成である。
それゆえ、任意の投光パターンを実現することが可能となるという効果を奏する。
本発明の一実施形態に係るヘッドランプの概略構成を示す断面図である。 パラボラミラーの回転放物面を示す概念図である。 (a)はパラボラミラーの上面図、(b)はパラボラミラーの正面図、(c)はパラボラミラーの側面図である。 自動車におけるヘッドランプの配設方向を示す概念図である。 車両前照灯に適用されたヘッドランプが道路に向かって投光するときの投光パターンの一例を示す図であり、(a)は、パラボラミラーの焦点位置およびその周辺部分を含むように配置された発光部に対して、レーザ光源ユニットからレーザ光が照射される様子を示す図であり、(b)は、(a)のa−b方向におけるレーザ光の光強度分布の一例を示す図であり、(c)は、(b)の光強度分布を有するレーザ光によって発光部が励起されることにより、投光先である道路における投光状態(投光パターン)を示す図である。 円形パラボラを有するヘッドランプが道路に対して投光する場合の投光パターンの一例を示す図であり、(a)は、円形パラボラの焦点位置およびその周辺部分を含むように配置された発光部に対して、複数のレーザ素子からレーザ光が照射される様子を示す図であり、(b)は、(a)に記載されたA方向から見たときの発光部上のレーザ光の光強度分布を示す図であり、(c)は、(b)のy−z方向におけるレーザ光の光強度分布の一例を示す図であり、(d)は、(c)の光強度分布を有するレーザ光によって発光部が励起されることにより、投光先である道路における投光状態(投光パターン)を示す図である。 照射面におけるレーザ光の光強度分布を制御するために、光学特性の異なる2つのレンズからなる複合レンズを用いる実施例を説明するための図である。 照射面におけるレーザ光の光強度分布を制御するために、光学特性の異なる集光レンズ、及び集光レンズを用いる実施例を説明するための図である。 照射面におけるレーザ光の光強度分布を制御するために、レーザ素子から出射されたレーザ光を発光部に向けて集光する集光レンズと、集光レンズを通過したレーザ光の経路によって光の透過率が異なるアパーチャとを用いる実施例を説明するための図であり、(a)はその装置概略図を、(b)はアパーチャの概略図である。 レーザ素子が複数設けられているときに、照射面におけるレーザ光の光強度分布を制御するために、レーザ素子から出射されたレーザ光を発光部に向けて集光する集光レンズを、レーザ素子ごとに設けてなる構成で実現する実施例を説明するための図である。 照射面におけるレーザ光の光強度分布を制御するために、レーザ素子から出射されたレーザ光を平行光にする凸レンズと、入射する平行光を2つの焦点位置に向けて反射する凹面鏡とを用いる実施例を説明するための図である。 照射面におけるレーザ光の光強度分布を制御するために、レーザ素子から出射されたレーザ光を平行光にする凸レンズと、入射する平行光を1つの焦点位置に向けて反射する凹面鏡と、凹面鏡によって反射されたレーザ光の経路によって光の透過率が異なるアパーチャとを用いる実施例を説明するための図である。 レーザ素子が複数設けられているときに、照射面におけるレーザ光の光強度分布を制御するために、レーザ素子から出射されたレーザ光を平行光にする凸レンズと、入射する平行光を1つの焦点位置に向けて反射する凹面鏡とを、レーザ素子ごとに設けてなる構成で実現する実施例を説明するための図である。 本発明の一実施例のヘッドランプを示す概略図であり、(a)は側面図であり、(b)は上面図である。 本発明の別の実施例のヘッドランプを示す概略図である。 本発明の別の実施例のヘッドランプを示す概略図である。 図5の変形例を示す図である。 図17に記載のヘッドランプが壁に向かって投光したときに壁に映る投光イメージの一例を示す図である。 図17のa−b方向におけるレーザ光の光強度分布の一例を示す図である。 図17のc−d方向におけるレーザ光の光強度分布の一例を示す図である。 本実施の形態に係るヘッドランプを自動車の前照灯に用いたときの投光形状を示す概略図である。 シリンドリカルレンズの斜視図である。 A方向(水平方向)から視たレーザ光源ユニット内部における光路を説明するための図である。 B方向(高さ方向)から視たレーザ光源ユニット内部における光路を説明するための図である。 発光部で発生した蛍光をヘッドンランプの外部に照射するために凸レンズを用いる構成を説明するための図である。 図25の構成を上記照射面に垂直な方向から視た様子を示す図である。 発光部で発生した蛍光をヘッドランプの外部に照射するために凸レンズを用いる他の構成を説明するための図である。 図27の構成を上記照射面に垂直な方向から視た様子を示す図である。 発光部で発生した蛍光をヘッドンランプの外部に照射するためにパラボラミラーおよび凸レンズを用いる構成を説明するための図である。 図29の構成を上記照射面に垂直な方向から視た様子を示す図である。
以下、図面を参照しつつ、本実施の形態に係るヘッドランプ1等について説明する。なお、以下ではヘッドランプについて主に説明しているが、ヘッドランプは本願発明を適用する照明装置の一例であり、本願を任意の照明装置に適用可能であることは言うまでもない。以下の説明では、同一の部品および構成要素には同一の符号を付している。それらの名称および機能も同じである。したがって、それらについての詳細な説明は繰り返さない。
本発明の実施の一形態について図1等に基づいて説明すれば、以下のとおりである。
〔ヘッドランプ1の構成〕
図1は、本発明の一実施形態に係るヘッドランプ1の概略構成を示す断面図である。図1に示すように、ヘッドランプ1は、レーザ素子(励起光源、半導体レーザ)2、レンズ3、発光部4、パラボラミラー(反射鏡)5、金属ベース7、およびフィン8を備えている。
(レーザ素子2)
レーザ素子2は、励起光を出射する励起光源として機能する発光素子である。このレーザ素子2は、複数設けられていてもよい。この場合、複数のレーザ素子2のそれぞれから励起光としてのレーザ光が発振される。レーザ素子2を1つのみ用いてもよいが、高出力のレーザ光を得るためには、複数のレーザ素子2を用いる方が容易である。
レーザ素子2は、1チップに1つの発光点を有するものであってもよく、1チップに複数の発光点を有するものであってもよい。レーザ素子2のレーザ光の波長は、例えば、405nm(青紫色)または450nm(青色)であるが、これらに限定されず、発光部4に含める蛍光体の種類に応じて適宜選択されればよい。
また、励起光源(発光素子)として、レーザ素子の代わりに、発光ダイオード(LED)を用いることも可能である。
(レンズ3)
レンズ3は、レーザ素子2から出射したレーザ光が発光部4に適切に照射されるように、当該レーザ光の照射範囲を調節(例えば、拡大)するためのレンズであり、レーザ素子2のそれぞれに配設されている。
(発光部4)
発光部4は、レーザ素子2から出射されたレーザ光を受けて蛍光を発するものであり、レーザ光を受けて発光する蛍光体を含んでいる。具体的には、発光部4は、封止材の内部に蛍光体が分散されているもの、または蛍光体を固めたものである。発光部4は、レーザ光を蛍光に変換するため、波長変換素子であると言える。
この発光部4は、金属ベース7の上、かつ、パラボラミラー5の焦点位置およびその周辺部分を含むように配置されている。そのため、発光部4から出射した蛍光は、パラボラミラー5の反射曲面に反射することで、その光路が制御される。さらに、発光部4は、パラボラミラー5の焦点位置における部分が最も強く励起され、焦点位置の周辺部分は、レーザ光が照射される発光部4の面である照射面におけるレーザ光の光強度分布に応じた強さで励起される。その詳細については、後述する。
発光部4の蛍光体として、例えば、酸窒化物系蛍光体(例えば、サイアロン蛍光体)またはIII−V族化合物半導体ナノ粒子蛍光体(例えば、インジュウムリン:InP)を用いることができる。これらの蛍光体は、レーザ素子2から発せられた高い出力(および/または光密度)のレーザ光に対しての熱耐性が高く、レーザ照明光源に最適である。ただし、発光部4の蛍光体は、上述のものに限定されず、窒化物蛍光体など、その他の蛍光体であってもよい。
また、ヘッドランプの照明光は、所定の範囲の色度を有する白色にしなければならないことが、法律により規定されている。そのため、発光部4には、照明光が白色となるように選択された蛍光体が含まれている。
例えば、青色、緑色および赤色の蛍光体を発光部4に含め、405nmのレーザ光を照射すると白色光が発生する。または、黄色の蛍光体(または緑色および赤色の蛍光体)を発光部4に含め、450nm(青色)のレーザ光(または、440nm以上490nm以下の波長範囲にピーク波長を有する、いわゆる青色近傍のレーザ光)を照射することでも白色光が得られる。
発光部4の封止材は、例えば、ガラス材(無機ガラス、有機無機ハイブリッドガラス)、シリコーン樹脂等の樹脂材料である。ガラス材として低融点ガラスを用いてもよい。封止材は、透明性の高いものが好ましく、レーザ光が高出力の場合には、耐熱性の高いものが好ましい。
(パラボラミラー5)
パラボラミラー5は、発光部4が発生させた蛍光を反射し、所定の立体角内を進む光線束(照明光)を形成する。このパラボラミラー5は、例えば、金属薄膜がその表面に形成された部材であってもよいし、金属製の部材であってもよい。
図2は、パラボラミラー5の回転放物面を示す概念図であり、図3(a)はパラボラミラー5の上面図、(b)は正面図、(c)は側面図である。図3(a)〜(c)は、説明図面をわかりやすく例示するよう直方体の部材の内部をくり抜くことでパラボラミラー5を形成した例を示している。
図2に示すように、パラボラミラー5は、放物線の対称軸を回転軸として当該放物線を回転させることによって形成される曲面(放物曲面)を、上記回転軸を含む平面で切断することによって得られる部分曲面の少なくとも一部をその反射面に含んでいる。図3(a)および(c)において、符号5aで示す曲線が放物曲面を示している。また、図3(b)に示すように、パラボラミラー5を正面から見た場合、その開口部5b(照明光の出口)は半円である。
また、レーザ素子2は、パラボラミラー5の外部に配置されており、パラボラミラー5には、レーザ光を透過または通過させる窓部6が形成されている。この窓部6は、開口部であってもよいし、レーザ光を透過可能な透明部材を含むものであってもよい。例えば、レーザ光を透過し、白色光(発光部4の蛍光)を反射するフィルターを設けた透明板を窓部6として設けてもよい。この構成では、発光部4の蛍光が窓部6から漏れることを防止できる。
窓部6は、複数のレーザ素子2に共通のものが1つ設けられていてもよいし、各レーザ素子2に対応した複数の窓部6が設けられていてもよい。
なお、パラボラミラー5の一部にパラボラではない部分を含めてもよい。また、本発明の発光装置が有する反射鏡は、閉じた円形の開口部を有するパラボラミラーまたはその一部を含むものであってもよい。また、上記反射鏡は、パラボラミラーに限定されず、楕円面ミラーや半球面ミラーであってもよい。すなわち、上記反射鏡は、回転軸を中心として図形(楕円、円、放物線)を回転させることによって形成される曲面の少なくとも一部をその反射面に含んでいるものであればよい。
(金属ベース7)
金属ベース7は、発光部4を支持する板状の支持部材であり、金属(例えば、銅や鉄)からなっている。それゆえ、金属ベース7は熱伝導性が高く、発光部4の発熱を効率的に放熱することができる。なお、発光部4を支持する部材は、金属からなるものに限定されず、金属以外の熱伝導性が高い物質(ガラス、サファイアなど)を含む部材でもよい。ただし、発光部4と当接する金属ベース7の表面は反射面として機能することが好ましい。上記表面が反射面であることにより、発光部4の上面から入射したレーザ光が蛍光に変換された後に、当該反射面で反射させてパラボラミラー5へ向かわせることができる。または、発光部4の上面から入射したレーザ光を上記反射面で反射させて、再度発光部4の内部に向かわせて蛍光に変換することができる。
金属ベース7は、パラボラミラー5によって覆われているため、金属ベース7は、パラボラミラー5の反射曲面(放物曲面)と対向する面を有していると言える。金属ベース7の発光部4が設けられている側の表面は、パラボラミラー5の回転放物面の回転軸と概ね平行であり、当該回転軸を概ね含んでいることが好ましい。
(フィン8)
フィン8は、金属ベース7を冷却する冷却部(放熱機構)として機能する。このフィン8は、複数の放熱板を有するものであり、大気との接触面積を増加させることにより放熱効率を高めている。金属ベース7を冷却する冷却部は、冷却(放熱)機能を有するものであればく、ヒートパイプ、水冷方式や、空冷方式のものであってもよい。
〔ヘッドランプ1の配設方法〕
図4は、ヘッドランプ1を自動車(車両)10の前照灯に適用した場合の、ヘッドランプ1の配設方向を示す概念図である。図4に示すように、ヘッドランプ1は、パラボラミラー5が鉛直下側に位置するように自動車10のヘッドに配設されてもよい。この配設方法では、上述のパラボラミラー5の投光特性により、自動車10の正面が明るく照らされるとともに、自動車10の前方下側も適度に照らしている。
なお、ヘッドランプ1を自動車用の走行用前照灯(ハイビーム)に適用してもよいし、すれ違い用前照灯(ロービーム)に適用してもよい。また、自動車10の走行中に、走行状態に応じて、発光部4の照射面に照射されるレーザ光の光強度分布の制御を行ってよい。これにより、自動車10の走行中に任意の投光パターンにより投光することができ、ユーザの利便性を高めることができる。
〔本発明の適用例〕
本発明の発光装置は、車両用前照灯のみならず、その他の照明装置に適用されてもよい。本発明の照明装置の一例として、ダウンライトを挙げることができる。ダウンライトは、家屋、乗物などの構造物の天井に設置される照明装置である。その他にも、本発明の照明装置は、車両以外の移動物体(例えば、人間・船舶・航空機・潜水艇・ロケットなど)のヘッドランプとして実現されてもよいし、サーチライト、プロジェクタ、ダウンライト以外の室内照明器具(スタンドランプなど)として実現されてもよい。
〔ヘッドランプ1等における発光部の励起について〕
次に、ヘッドランプ1等における発光部の励起について、図5、図6により説明する。
図5は、車両前照灯に適用されたヘッドランプ1が道路に向かって投光するときの投光パターンの一例を示す図である。ここで、図5(a)は、パラボラミラー5の焦点位置およびその周辺部分を含むように配置された発光部4に対して、レーザ光源ユニット35からレーザ光が照射される様子を示す図である。図5(b)は、図5(a)のa−b方向におけるレーザ光の光強度分布の一例を示す図である。図5(c)は、図5(b)の光強度分布を有するレーザ光によって発光部4が励起されることにより、投光先である道路における投光状態(投光パターン)を示す図である。
図5(a)において、レーザ光源ユニット35は、発光部4におけるパラボラミラー5の焦点位置に対応する部分を最も強く励起し、焦点位置の周辺部分を、レーザ光が照射される発光部4の面である照射面におけるレーザ光の光強度分布に応じた強さで励起している。レーザ光源ユニット35は、そのように動作するものであれば、仕様は特に限定されない。そのため、レーザ光源ユニット35は、図7〜図13を参照して説明する光強度分布を制御する制御手段の何れか、またはその組み合わせ、あるいは、図7〜図13に記載された構成以外の他の制御手段を備える構成で実現されてもよく、ガウシアン分布を有するレーザ光を出射する構成で実現されてもよい。
レーザ光は、図5(a)のa−b方向において図5(b)に示す光強度分布を有しており、その光強度分布に応じた強さで発光部4を励起する。例えば、図5(b)では、図中2mmの範囲で示される光照射領域の光強度が強く、その2mmの範囲を除く6mmの光照射領域の光強度が弱い。
そして、図5(b)の特性を有するレーザ光によって発光部4を励起することで、投光先である道路において、図5(c)に示す投光パターンが得られる。
ここで、図5(c)の投光パターンをX1、X2、X3に分けて考える。
X1は、図5(b)の2mmの範囲で示されるパラボラミラー5の焦点位置を含む光照射領域における光強度によって発光部4を励起したときに得られる投光パターンであり、パラボラミラー5の真正面を狭い立体角で明るく照らすことが可能であり、X2、X3よりも明るい投光をもたらす。したがって、X1による投光パターンを走行中の車両に適用することにより、道路の中央部を十分に明るく照らすことができる。
一方、X2およびX3は、図5(b)の2mmの範囲を除く6mmの光照射領域における光強度によって発光部4を励起したときに得られる投光パターンであり、発光部4のうちで励起されている範囲がパラボラミラー5の焦点位置からずれていることにより広い立体角で投光され、X1よりも拡がった投光パターンとなる。したがって、X2およびX3による投光パターンを走行中の車両に適用することにより、道路の周辺部(歩道、街路樹など)を適度の明るさで照らすことができる。
このように、図5(b)の特性を有するレーザ光によって発光部4を励起することで、投光先の明るさに変化を与えることができ、その結果、ヘッドランプ1の使途、及びその使用状況に応じた投光パターンをユーザに提供することができる。
図6は、円形パラボラミラー51を有するヘッドランプ21が道路に対して投光する場合の投光パターンの一例を示す図である。このうち、図6(a)は、円形パラボラミラー51の焦点位置およびその周辺部分を含むように配置された発光部4に対して、複数のレーザ素子2からレーザ光が照射される様子を示す図である。図6(b)は、図6(a)に記載されたA方向から見たときのレーザ光の光強度分布を示す図である。図6(c)は、図6(b)のy−z方向におけるレーザ光の光強度分布の一例を示す図である。図6(d)は、図6(c)の光強度分布を有するレーザ光によって発光部4が励起されることにより、投光先である道路における投光状態(投光パターン)を示す図である。
ここで、図6(a)では、レーザ素子2から出射されたレーザ光は、光ファイバー12を介して発光部4に照射されている。また、図6(b)は、発光部4上のレーザ光の強度分布を示すものであり、×印を囲う領域Cに最も強い強度のレーザ光が照射され、その外側の領域Dには、相対的に強度の弱いレーザ光が照射されている様子を示す。すなわち、図6(c)の2mmの範囲で示される光照射領域が、最も強いレーザ光が照射される領域Cに対応し、図6(c)の2mmの範囲を除く光照射領域が、相対的に強度の弱いレーザ光が照射される領域Dに対応する。
ここで、図6(d)の投光パターンをX1、X2に分けて考える。
X1は、図6(c)の2mmの範囲で示されるパラボラミラー5の焦点位置を含む光照射領域における光強度によって発光部4を励起することで得られる投光パターンであり、パラボラミラー5の真正面を狭い立体角で明るく照らすことが可能であり、X2よりも明るい投光をもたらす。したがって、X1による投光パターンを走行中の車両に適用することにより、道路の中央部を十分に明るく照らすことができる。
一方、X2は、図6(c)の2mmの範囲を除く光照射領域における光強度によって発光部4を励起したことで得られる投光パターンであり、発光部4のうちで励起されている範囲がパラボラミラー5の焦点位置からずれていることにより広い立体角で投光され、X1よりも拡がった投光パターンとなる。したがって、X2による投光パターンを走行中の車両に適用することにより、道路の周辺部(歩道、街路樹など)を適度の明るさで照らすことができる。
このように、図6(c)の特性を有するレーザ光によって発光部4を照射することで、投光先の明るさに変化を与えることができ、その結果、ヘッドランプ21の使途、及びその使用状況に応じた投光パターンをユーザに提供することができる。
なお、図6における円形パラボラミラー51は、回転放物面を反射曲面として有し、閉じた円形の開口部を有している。すなわち、円形パラボラミラー51は、放物線の対称軸を回転軸として当該放物線を回転させることによって形成される曲面の少なくとも一部をその反射面に含んでいる。
〔照射面に照射されるレーザ光の光強度分布の制御について〕
以下、レーザ光が照射される発光部4の面である照射面におけるレーザ光の光強度分布を制御するための構成について、図7〜図13を用いて説明する。
なお、図7〜図13は、発光部4の照射面におけるレーザ光の光強度分布を制御するための実施例を示すものであるが、その他の方法により光強度分布の制御を行ってもよい。
また、図7〜図13において、P(P1、P2と称する場合もある)はレーザ光が出射される位置を示し、一例として、光ファイバの端部、レーザ光の光源などが挙げられる。また、Q(Q1、Q2と称する場合もある)はレーザ光の集光点を示す。さらに、Lは、仮にレーザ光が発光部4を透過して直進した場合の仮想的な軌跡である仮想軌跡を示す。また、Rは、発光部4の照射面が配置される位置を示し、このとき、発光部4は、反射鏡の焦点位置およびその周辺部分を含むように配置されている。
〔複合レンズ、及び複数の集光レンズ〕
図7は、照射面におけるレーザ光の光強度分布を制御するために、光学特性の異なる2つのレンズからなる複合レンズ(光強度分布制御手段)60を用いる実施例を説明するための図である。
ここで、複合レンズ60は、その仕様は特に限定されず、例えば、光学特性の異なる凸レンズ及び凹レンズを張り合わせてなるものであってよい。
図7に示すように、位置Pから出射されたレーザ光は、複合レンズ60に入射することにより、集光点Q1および集光点Q2に集光するように経路を変える。そこで、Rの位置に発光部4を配置することにより、発光部4の照射面には、集光点Q1に集光するレーザ光と集光点Q2に集光するレーザ光とによって光強度分布が形成される。
すなわち、図示する構成により、反射鏡の焦点位置における部分を最も強く励起し、焦点位置の周辺部分を照射面におけるレーザ光の光強度分布に応じた強さで励起することができる。また、複合レンズ60の仕様、Pの位置などを適宜変更することにより、光強度分布の形状を適宜制御することもでき、それにより、ヘッドランプの投光パターンを自在に制御することができる。
ここで、図7の複合レンズ60の変形例を図8に記載する。図8は、照射面におけるレーザ光の光強度分布を制御するために、光学特性の異なる集光レンズ61、及び集光レンズ62を用いる実施例を説明するための図である。なお、集光レンズ61、及び集光レンズ62の仕様は特に限定されない。
図8に示すように、位置Pから出射されたレーザ光は、集光レンズ61に入射することにより、集光点Q2に集光するように経路を変える。そして、その経路を変えたレーザ光のうち、一部は、集光レンズ62に入射することなく集光点Q2に集光する経路をとる。一方、その他のレーザ光は集光レンズ62に入射し、集光点Q1に集光するように経路を変える。そこで、Rの位置に発光部4を配置することにより、発光部4の照射面には、集光点Q1に集光するレーザ光と集光点Q2に集光するレーザ光とによって光強度分布が形成される。
すなわち、図示する構成により、反射鏡の焦点位置における部分を最も強く励起し、焦点位置の周辺部分を照射面におけるレーザ光の光強度分布に応じた強さで励起することができる。また、集光レンズ61、及び集光レンズ62の仕様、Pの位置などを適宜変更することにより、光強度分布の形状を適宜制御することもでき、それにより、ヘッドランプの投光パターンを自在に制御することができる。また、光強度分布を形成するために3つ以上の集光レンズを用いてもよい。
〔集光レンズ+アパーチャ〕
図9は、照射面におけるレーザ光の光強度分布を制御するために、レーザ素子2から出射されたレーザ光を発光部4に向けて集光する集光レンズ63と、集光レンズ63を通過したレーザ光の経路によって光の透過率が異なるアパーチャ64とを用いる実施例を説明するための図である。同図において、図9(a)はその装置概略図を、図9(b)はアパーチャ64の概略図を示す。
ここで、集光レンズ63の仕様は特に限定されない。また、アパーチャ64は、図9(b)では、中心に開口部64aを有し、その周辺部は例えば透過率50%の半透明(スリガラス状等)の領域64bで構成されている。ただし、アパーチャ64の仕様は特に限定されず、他の構成によって実現されてもよい。
図9(a)に示すように、位置Pから出射されたレーザ光は、集光レンズ63に入射することにより、集光点Qに集光するように経路を変える。そして、その経路上に、図9(b)に示すアパーチャ64を配置する。これにより、発光部4の照射面には、アパーチャ64の開口部を通過したレーザ光とアパーチャ64の透過率50%の半透明部を通過したレーザ光とが照射される。そして、両レーザ光には透過率の差に起因する光強度が存在することから、照射面に光強度分布が形成される。
その結果、図示する構成により、反射鏡の焦点位置における部分を最も強く励起し、焦点位置の周辺部分を照射面におけるレーザ光の光強度分布に応じた強さで励起することができる。また、集光レンズ63やアパーチャ64の仕様、Pの位置などを適宜変更することにより、光強度分布の形状を適宜制御することもでき、それにより、ヘッドランプの投光パターンを自在に制御することができる。
〔複数の集光レンズ〕
図10は、レーザ素子2が複数設けられているときに、照射面におけるレーザ光の光強度分布を制御するために、レーザ素子2から出射されたレーザ光を発光部4に向けて集光する集光レンズを、レーザ素子2ごとに設けてなる構成で実現する実施例を説明するための図である。図10では、位置P1に置かれたレーザ素子2に対して集光レンズ65が、位置P2に置かれたレーザ素子2に対して集光レンズ66が、それぞれ設けられている。なお、集光レンズ65、集光レンズ66の仕様は特に限定されない。
図10に示すように、位置P1から出射されたレーザ光は、集光レンズ65に入射することにより、集光点Q1に集光するように経路を変える。また、位置P2から出射されたレーザ光は、集光レンズ66に入射することにより、集光点Q2に集光するように経路を変える。そこで、Rの位置に発光部4を配置することにより、発光部4の照射面には、集光点Q1に集光するレーザ光と集光点Q2に集光するレーザ光とによって、光強度分布が形成される。
すなわち、図示する構成により、集光点Q1に集光するレーザ光によって反射鏡の焦点位置における部分を最も強く励起することができる。また、集光点Q1および集光点Q2に集光するレーザ光の組み合わせにより、焦点位置の周辺部分を照射面におけるレーザ光の光強度分布に応じた強さで励起することができる。そして、集光レンズ65、集光レンズ66の仕様、P1、P2の位置などを適宜変更することにより、光強度分布の形状を適宜制御することもでき、それにより、ヘッドランプの投光パターンを自在に制御することができる。
〔平行レンズ+凹面鏡〕
図11は、照射面におけるレーザ光の光強度分布を制御するために、レーザ素子2から出射されたレーザ光を平行光にする凸レンズ67と、入射する平行光を2つの焦点位置に向けて反射する凹面鏡68とを用いる実施例を説明するための図である。ここで、凸レンズ67および凹面鏡68の仕様は、下記の動作を実施するものであれば特に限定されない。
図11に示すように、位置Pから出射されたレーザ光は、凸レンズ67に入射することにより平行光になる。そして、その平行光は凹面鏡68に入射して、入射した平行光は、2つの集光点Q1、Q2に向けて反射される。そこで、Rの位置に発光部4を配置することにより、発光部4の照射面には、集光点Q1に集光するレーザ光と集光点Q2に集光するレーザ光とによって、光強度分布が形成される。
すなわち、図示する構成により、集光点Q1に集光するレーザ光によって反射鏡の焦点位置における部分を最も強く励起することができる。また、集光点Q1および集光点Q2に集光するレーザ光の組み合わせにより、焦点位置の周辺部分を照射面におけるレーザ光の光強度分布に応じた強さで励起することができる。そして、凸レンズ67、凹面鏡68の仕様、Pの位置などを適宜変更することにより、光強度分布の形状を適宜制御することもでき、それにより、ヘッドランプの投光パターンを自在に制御することができる。
〔平行レンズ+凹面鏡+アパーチャ〕
図12は、照射面におけるレーザ光の光強度分布を制御するために、レーザ素子2から出射されたレーザ光を平行光にする凸レンズ67と、入射する平行光を1つの焦点位置に向けて反射する凹面鏡69と、凹面鏡69によって反射されたレーザ光の経路によって光の透過率が異なるアパーチャ64とを用いる実施例を説明するための図である。ここで、凸レンズ67、凹面鏡69、アパーチャ64の仕様は、下記の動作を実施するものであれば特に限定されない。
図12に示すように、位置Pから出射されたレーザ光は、凸レンズ67に入射することにより平行光になる。そして、その平行光は凹面鏡69に入射して、入射した平行光は、集光点Qに向けて反射される。そして、その経路上に、図9(b)に示すアパーチャ64を配置する。これにより、発光部4の照射面には、アパーチャ64の開口部を通過したレーザ光とアパーチャ64の透過率50%の半透明部を通過したレーザ光とが照射される。このとき、両者の間には透過率の差に起因する光強度が存在することから、発光部4の照射面には光強度分布が形成される。
その結果、図示する構成により、反射鏡の焦点位置における部分を最も強く励起し、焦点位置の周辺部分を照射面におけるレーザ光の光強度分布に応じた強さで励起することができる。また、凸レンズ67、凹面鏡69、アパーチャ64の仕様、Pの位置などを適宜変更することにより、光強度分布の形状を適宜制御することもでき、それにより、ヘッドランプの投光パターンを自在に制御することができる。
〔複数の平行レンズおよび凹面鏡〕
図13は、レーザ素子2が複数設けられているときに、照射面におけるレーザ光の光強度分布を制御するために、レーザ素子2から出射されたレーザ光を平行光にする凸レンズと、入射する平行光を1つの焦点位置に向けて反射する凹面鏡とを、レーザ素子2ごとに設けてなる構成で実現する実施例を説明するための図である。図13では、位置P1に置かれたレーザ素子2に対して凸レンズ67aが、位置P2に置かれたレーザ素子2に対して凸レンズ67bが、それぞれ設けられている。また、凸レンズ67aに対応付けて凹面鏡69aが、凸レンズ67bに対応付けて凹面鏡69bが、それぞれ設けられている。ここで、凸レンズ67a、凸レンズ67b、凹面鏡69a、凹面鏡69bの仕様は特に限定されない。
図13に示すように、位置P1から出射されたレーザ光は、凸レンズ67aに入射することにより平行光になる。そして、その平行光は凹面鏡69aに入射して、入射した平行光は、集光点Q1に向けて反射される。また、位置P2から出射されたレーザ光は、凸レンズ67bに入射することにより平行光になる。そして、その平行光は凹面鏡69bに入射して、入射した平行光は、集光点Q2に向けて反射される。そこで、Rの位置に発光部4を配置することにより、集光点Q1に集光するレーザ光と集光点Q2に集光するレーザ光とによって、発光部4の照射面に光強度分布が形成される。
すなわち、図示する構成により、集光点Q1に集光するレーザ光によって反射鏡の焦点位置における部分を最も強く励起することができる。また、集光点Q1および集光点Q2に集光するレーザ光の組み合わせにより、焦点位置の周辺部分を照射面におけるレーザ光の光強度分布に応じた強さで励起することができる。そして、凸レンズ67a、凸レンズ67b、凹面鏡69a、凹面鏡69b、P1、P2の位置などを適宜変更することにより、光強度分布の形状を適宜制御することもでき、それにより、ヘッドランプの投光パターンを自在に制御することができる。
以上、レーザ光が照射される発光部4の面である照射面におけるレーザ光の光強度分布を制御するための構成について、図7〜図13を用いて説明した。しかしながら、ヘッドランプ1等は、図7〜図13を参照して説明した光強度分布を制御する制御手段の何れか、またはその組み合わせ、あるいは、図7〜図13に記載された構成以外の他の制御手段を備える構成などで実現されてよい。それにより、ヘッドランプ1等は、励起光の光強度分布をヘッドランプの使用状況等に応じて制御することで任意の投光パターンを実現することができる。
〔実施例〕
次に本発明のより具体的な実施例について図14〜図16に基づいて説明する。なお、上述の実施形態における部材と同様の部材には同様の符号を付し、その説明を省略する。また、ここに記載された材質、形状、および各種の数値は、あくまで一例であり、本発明を限定するものではない。
〔実施例1〕
図14は、本発明の一実施例のヘッドランプ22を示す概略図であり、図14(a)は側面図を、図14(b)は上面図をそれぞれ示す。図14に示すように、ヘッドランプ22は、複数のレーザ素子2と集光レンズ11とのセット、複数の光ファイバー12、複合レンズ60(図7参照)、反射ミラー14、発光部4、パラボラミラー5、および金属ベース7を備えている。
集光レンズ11は、レーザ素子2から発振されたレーザ光を、光ファイバー12の一方の端部である入射端部に入射させるためのレンズである。レーザ素子2と集光レンズ11とのセットは、複数の光ファイバー12のそれぞれと一対一で対応付けられている。すなわち、レーザ素子2は、集光レンズ11を介して光ファイバー12と光学的に結合されている。
光ファイバー12は、レーザ素子2が発振したレーザ光を発光部4へと導く導光部材である。この光ファイバー12は、中芯のコアを、当該コアよりも屈折率の低いクラッドで覆った2層構造をしており、入射端部から入射したレーザ光は、光ファイバー12の内部を通り、他方の端部である出射端部から出射する。光ファイバー12の出射端部はフェルール等により束ねられている。
光ファイバー12の出射端部から出射から出射したレーザ光は、複合レンズ60によってレーザ光の光強度分布が制御され、続いて、反射ミラー14によって反射されることで光路を変更し、パラボラミラー5の窓部6を通って発光部4へ導かれる。
なお、複合レンズ60は、図8〜図13を参照して説明した構成で実現されてもよい。このことは、図15、図16により説明する実施例においても同様である。
(レーザ素子2の詳細)
レーザ素子2は、405nmのレーザ光を出射する、1W出力のものであり、合計10個設けられている。そのため、レーザ光の総出力は10Wとなる。
(発光部4の詳細)
発光部4は、白色で発光するように、例えば3種類のRGB蛍光体が混合されている。このとき、赤色蛍光体は、CaAlSiN:Euであり、緑色蛍光体は、β−SiAlON:Euであり、青色蛍光体は(BaSr)MgAl1017:Euとすることができる。
発光部4の形状は、例えば、直径2mmで、厚さ0.2mmの円盤状である。上記蛍光体の粉末が焼結されて固められている。
発光部4は、パラボラミラー5の焦点位置およびその周辺部分を含むように配置されるとともに、焦点位置における部分が最も強く励起され、焦点位置の周辺部分は、照射面におけるレーザ光の光強度分布に応じた強さで励起されるよう配置されている。
(金属ベース7の詳細)
金属ベース7は、銅からなるものであり、発光部4が配置される側の表面にアルミニウムが蒸着されている。ただし、鉄などからなるものであってもよい。
(ヘッドランプ22の効果)
図14(b)は、ヘッドランプ22の上面図を示し、発光部4がレーザ光で励起されている様子を示す。同図において、照射面上の領域Aは、パラボラミラー5の焦点位置を含むとともに、レーザ光によって強く励起されている領域である。照射面上の領域Bは、パラボラミラー5焦点位置の周辺部分に該当し、領域Aに比べると相対的に弱い強度で照射されている領域である。
図14(b)に示すように、ヘッドランプ22では、複合レンズ60がレーザ光の光強度分布を制御することによって、照射面の領域Aを強い強度で励起し、照射面の領域Bを弱い強度で励起している。その結果、ヘッドランプ22から出射される光の投光パターンを制御している。
また、ヘッドランプ22は、ハーフのパラボラミラー5を用いると、パラボラミラー5に反射した蛍光のうちの、制御できなかった迷光が出射される範囲がパラボラミラー5のパラボラ側とその反対側とで異なり、迷光はパラボラミラー5のパラボラ側により多く出射される。したがって、その特性を利用して、パラボラミラー5のパラボラ側を道路側に向けた車両前照灯にヘッドランプ22を適用することにより、真正面を十分に明るく照らしつつ、パラボラミラー5のパラボラ側(道路側)も適切に照らすことができ、運転時の安全性を高めることができる。
さらに、ハーフのパラボラミラー5では、照射面に対して垂直な方向の発光部4の厚さによって投光パターンを変化させることができる。具体的には、発光部4の厚さを厚くすることにより、円形に近い投光パターンを実現でき、発光部4の厚さを薄くすることにより、横長状の投光パターンを実現することができる。このように、ヘッドランプ22は、発光部4の厚さを変化させることによっても、投光パターンに変化を与えることができるという効果を有する。
〔実施例2〕
図15は、本発明の別の実施例のヘッドランプ23を示す概略図である。図15に示すように、ヘッドランプ23は、複数のレーザ素子2と集光レンズ11とのセット、複数の光ファイバー12、複合レンズ60、反射ミラー14、発光部4、ガラス板55、および円形パラボラミラー51を備えている。
実施例1との大きな違いは、ヘッドランプ23では、発光部4が透明なガラス板55上に塗布されており、そのガラス板55は、円形パラボラミラー51の内面に内接するように配置されている点である。また、ヘッドランプ23は円形パラボラミラー51用いるため、横長の発光部4(照射面の幅が広い蛍光体)を用いると横長状の投光パターンを実現することができるなど、発光部4の厚さではなく、発光部4の形状によって投光パターンを制御しやすくなるという効果を有する。
〔実施例3〕
図16は、本発明の別の実施例のヘッドランプ24を示す概略図である。図16に示すように、ヘッドランプ24は、複数のレーザ素子2と集光レンズ11とのセット、複数の光ファイバー12、複合レンズ60、発光部4、ガラス板55、および円形パラボラミラー51を備えている。
ヘッドランプ24では、円形パラボラミラー51の頂上部に開口部51aが設けられており、この開口部51aを通して、発光部4の裏側(ガラス板55に対向する面の反対側)からレーザ光を照射する。
それゆえ、実施例1および実施例2で用いられる反射ミラー14を必要とせず、製作費を低減できるとともに、設計レイアウトの自由度を高めることができるなどの効果を奏する。
〔ヘッドランプ1等によって得られる効果〕
以下、ヘッドランプ1等によって得られる効果を説明する。
ヘッドランプ1等は、レーザ光を出射するレーザ素子2と、レーザ素子2から出射されたレーザ光を受けて蛍光を発する発光部4と、発光部4が発生させた蛍光を反射するパラボラミラー5とを備え、発光部4は、パラボラミラー5の焦点位置およびその周辺部分を含むように配置されるとともに、焦点位置における部分が最も強く励起され、焦点位置の周辺部分は、レーザ光が照射される発光部4の面である照射面におけるレーザ光の光強度分布に応じた強さで励起される。
上記構成によれば、発光部4は、パラボラミラー5の焦点位置およびその周辺部分を含むように配置されている。そして、発光部4は、焦点位置における部分が最も強く励起され、焦点位置の周辺部分は、レーザ光が照射される発光部4の面である照射面におけるレーザ光の光強度分布に応じた強さで励起される。
したがって、発光部4は、パラボラミラー5の焦点位置における部分が最も強く励起されるため、その部分から発生した蛍光をパラボラミラー5で反射させることにより、真正面を狭い立体角で明るく照らすことができる。
また、パラボラミラー5の焦点位置の周辺部分における発光部4は、照射面におけるレーザ光の光強度分布に応じた強さで励起されるため、その周辺部分から発生した蛍光をパラボラミラー5で反射させることにより、広い立体角で真正面の周辺部を適度に照らすことができる。そして、そのレーザ光の光強度分布は、ヘッドランプの用途、使用状況に応じて与えることにより、投光先の投光パターンを任意に変更することができる。つまり、ヘッドランプ1等は、従来の課題である、焦点位置の周辺部にレーザ光が照射されておらず、焦点位置にのみレーザ光が照射されていることにより配光状態が限定された投光しか実現しえなかったという問題を解決することができる。
このように、ヘッドランプ1等は、自装置の用途、使用状況に応じて任意の投光パターンを実現することができるため、従来のヘッドランプに比べて格段にユーザの利便性を高めることができる。
さらに、ヘッドランプ1等では、レーザ光の光強度分布を制御することにより、自装置から出射される光の投光パターンを制御する構成であってよい。
上記構成によれば、自装置から出射される光の投光パターンを制御するためには励起光の光強度分布のみを制御すればよく、他の追加的な構成を必要としないため、発光装置をシンプルな構造で実現することができる。
さらに、ヘッドランプ1等では、レーザ素子2から出射されたレーザ光の光強度分布を制御する光強度分布制御手段を備える構成であってよい。
上記構成によれば、ヘッドランプ1等は、複合レンズ60等を備える。したがって、複合レンズ60等は、ヘッドランプ1等の用途、使用状況に応じてレーザ光の光強度分布を制御すればよく、それにより任意の投光パターンをユーザに提供することができる。
また、複合レンズ60等は、ヘッドランプ1等のサイズ、形状等に応じて取りうる構成を適宜決めることができることため、ヘッドランプ1等の設計の自由度を高めることもできる。
さらに、ヘッドランプ1等では、パラボラミラー5は、放物線の対称軸を中心に放物線を回転させることによって形成される曲面を、回転軸を含む平面で切断することによって得られる部分曲面の少なくとも一部を含んでいる構成であってよい。
パラボラミラー5の少なくとも一部を放物面(パラボラ)にすることで、発光部4の蛍光を所定の立体角内に効率的に投光することができ、その結果、蛍光の利用効率を高めることができる。
また、例えばパラボラミラー5の半分をパラボラとし、残り半分をパラボラ以外の構造(例えば、反射板)とすると、パラボラミラー5に反射した蛍光のうちの、制御できなかった迷光が出射される範囲がパラボラミラー5のパラボラ側とその反対側とで異なる。具体的には、迷光はパラボラミラー5のパラボラ側により多く出射される。この特性を利用して、パラボラミラー5のパラボラ側を適切に照らすことができる。
これにより、ヘッドランプ1等は、使用状況に応じて、さらにバリエーション豊かな投光パターンを実現することができる。
なお、上記構成において、照射面に対して垂直な方向の発光部4の厚さによって投光パターンを変化させることができる。つまり、発光部4の厚さを厚くすることにより、円形に近い投光パターンを実現でき、発光部4の厚さを薄くすることにより、横長状の投光パターンを実現することができる。
さらに、ヘッドランプ1等では、パラボラミラーは、円、楕円または放物線の対称軸を回転軸として当該円、楕円または放物線を回転させることによって形成される曲面の少なくとも一部を含んでいる構成であってよい。
上記構成によれば、例えばパラボラミラーを円形パラボラとすることで、例えば、横長の蛍光体(照射面の幅が広い蛍光体)を用いると横長状の投光パターンを実現することができるなど、発光部4の厚さではなく、発光部4の形状によって投光パターンを制御しやすくなるという効果を得ることができる。
ヘッドランプ1等は、車両用前照灯や照明装置などに好適に適用することができる。これにより、例えばヘッドランプ1等を車両用前照灯に適用した場合、当該車両用前照灯は、車両の走行状態に応じた投光パターンを実現することができ、ユーザの利便性を高めることができる。
さらに、車両用前照灯を備えた自動車10であって、車両用前照灯は、レーザ光を出射するレーザ素子2と、レーザ素子2から出射されたレーザ光を受けて蛍光を発する発光部4と、発光部4が発生させた蛍光を反射する反射曲面を有するパラボラミラー5と、その反射曲面と対向する面を有するとともに、発光部4を支持する支持部材とを備え、上記車両用前照灯は、上記反射曲面が鉛直下側に位置するように自動車10に配設されていることを特徴としている。
車両用前照灯が自動車10に配設された状態において、車両用前照灯の鉛直下側部分は反射曲面を有するパラボラミラー5であり、鉛直上側部分は、支持部材であるため、発光部4が発した蛍光のうち、パラボラミラー5で制御できなかった蛍光は車両用前照灯のパラボラミラー5側、すなわち、鉛直下側により多く出射される。それゆえ、パラボラミラー5によって制御された光で遠方(自動車10の正面)を照らすとともに、パラボラミラー5で制御できなかった蛍光によって自動車10の近傍かつ下方向を照らすことができる。従って、パラボラミラー5で制御できなかった蛍光を有効利用できるとともに、自動車10の正面を明るく照らしつつ、車両用前照灯の照明範囲を広げることができる。
〔他の実施形態〕
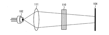
図17は、図5の投光パターンの変形例を示し、車両前照灯に適用されたヘッドランプ101が道路に向かって楕円形の投光を行うときの一例を示す図である。
図示するように、発光部104上における互いに直交する方向の線分をa−b線およびc−d線としたときに、発光部104は、a−b線およびc−d線の交点とパラボラミラー105の焦点位置とが重なるように位置決めされる。そして、レーザ光源ユニット135は、発光部104における、パラボラミラー105の焦点位置に対応する部分を最も強く励起し、焦点位置の周辺部分をレーザ光の光強度分布に応じた強さで励起する。
このことを、図19、図20を用いて具体的に説明する。図19は、図17のa−b線(a−b方向)におけるレーザ光の光強度分布の一例を示す図である。図20は、図17のc−d線(c−d方向)におけるレーザ光の光強度分布の一例を示す図である。
図19に示すように、レーザ光源ユニット135は、図17のa−b方向において、3mmの範囲で示される光照射領域の光強度が強く、そして、その3mmの両側3mmずつの範囲で示される光照射領域の光強度が弱くなるようレーザ光を照射する。さらに、図20に示すように、レーザ光源ユニット135は、図17のc−d方向において、1mmの範囲で示される光照射領域の光強度が強く、そして、その1mmの両側1mmずつの範囲で示される光照射領域の光強度が弱くなるようレーザ光を照射する。つまり、a−b方向は、c−d方向に比べて、光照射領域および光強度の強い領域が3倍拡がっている。
このレーザ光が発光部104に照射されることで、図18の投光が得られる。図18は、図17に記載のヘッドランプ101が壁に向かって投光したときに壁に映る投光イメージの一例を示す図である。同図では、図面縦方向を壁の高さ方向とし、図面横方向を壁の水平方向としたときの投光パターンが示されている。図示するように、壁面には、高さ:横幅が約1:3の楕円形状の投光パターンが映し出される。これは、図17、図18の光強度分布を有するレーザ光により発光部104が励起されることで得られる投光パターンである。
なお、図19、および図20に記載された数値範囲は、あくまで一例であって、ここに記載する数値に限定されない。したがって、楕円形状の投光パターンであっても、高さ:横幅の比率は1:3に限られない。ただし、ヘッドランプ101が自動車の前照灯として用いられる場合には、高さ:横幅の比率は、1:3〜1:4となることが好ましい。このことを図21により説明する。
図21は、ヘッドランプ101を自動車の前照灯に用いたときの投光形状を示す概略図である。自動車の前照灯においては、楕円の投光パターンは、道路中央と左右の歩道や道路標識などを効率的に照らすうえで必要な形状である。この比率が小さいと左右の歩道や同慮標識が十分に照らされず、広すぎると過度な照射となる。このため、ヘッドランプ101が自動車の前照灯として用いられる場合には、楕円の形状は、高さ:横幅の比率を1:3〜1:4とすることが好ましい。
〔シリンドリカルレンズ〕
次に、レーザ光を所望の楕円形に制御する方法等を図22等により説明する。図22は、シリンドリカルレンズ110の斜視図である。シリンドリカルレンズは、一方向のみ光線の角度を変更する(像の倍率を変更する)ことが可能なレンズとして知られている。ここで、図中のBは高さ方向を示し、図中のAは、Bに対して平行な水平方向を示す。
このシリンドリカルレンズ110を用いて、レーザ光を楕円形状で発光部104に投光する方法を図23、図24により説明する。図23は、A方向(水平方向)から視たレーザ光源ユニット内部における光路を説明するための図である。図24は、B方向(高さ方向)から視たレーザ光源ユニット内部における光路を説明するための図である。
ここで、レーザ光源ユニットの内部には、レーザ素子102、集光レンズ111、およびシリンドリカルレンズ110がその順序で配置されている。そして、レーザ素子102から出射したレーザ光は、集光レンズ111およびシリンドリカルレンズ110を透過して発光部104に照射される。
このとき、図23に示すように、A方向(水平方向)から光路を視ると、集光レンズ111で集光されたレーザ光は、シリンドリカルレンズ110でさらに集光される。つまり、シリンドリカルレンズ110を用いることで、シリンドリカルレンズ110を用いない場合よりも、高さ方向においてレーザ光をさらに集光することができる。
一方、図24に示すように、B方向(高さ方向)から光路を視ると、集光レンズ111で集光されたレーザ光は、シリンドリカルレンズ110で集光されることなく、発光部4に到達する。つまり、たとえシリンドリカルレンズ110を用いたとしても、水平方向のおける集光倍率は殆ど変わらない。
このように、シリンドリカルレンズ110を用いることで、レーザ光を、高さ方向においては集光し、水平方向においては殆ど集光しない構成を実現することができる。その結果、発光部104上のレーザ光のスポット形状の縦横比を自由に変更することができる、つまり、レーザ光を所望の楕円形状に制御することができる。
なお、レーザ光を所望の楕円形状に制御する手段は、集光レンズとシリンドリカルレンズとの組み合わせに限定されない。例えば、その手段は、レーザ光を透過させ、そのレーザ光を発光部104に導光する楕円形の凸レンズであっても、レーザ光を所望の楕円形状に制御することができる。
〔凸レンズを用いて投光する構成〕
次に、パラボラミラーの代わりに、凸レンズを用いて投光する構成を図25により説明する。図25は、発光部104で発生した蛍光をヘッドンランプの外部に照射するために凸レンズ108を用いる構成を説明するための図である。
本実施形態に係るヘッドランプでは、発光部104で発生した蛍光をヘッドランプの外部に照射するために、パラボラミラー5ではなく、凸レンズ108を用いる。このとき、発光体104は、凸レンズ108の焦点位置に重なるように配置されている。さらに、発光体104は、凸レンズ108の焦点位置における部分が最も強く励起され、焦点位置の周辺部分は、レーザ光が照射される発光部104の面である照射面におけるレーザ光の光強度分布に応じた強さで励起される。
この構成において、レーザ光の照射により発光部104で発生した蛍光は、発光部104における、レーザ光照射面に対して垂直な方向が最も光強度が強くなる。そのため、当該垂直な方向に凸レンズ108を配置することで、蛍光を効率よく集光することができ、かつ、集光した光をヘッドランプの外部に効率的に照射することができる。
なお、参考として、図25の構成を上記照射面に垂直な方向から視た様子を図26に示す。同図では、見易さを考慮して、凸レンズ108を点線で示し、発光部104および金属ベース107を実線で示している。図示するように、レーザ光は、楕円形状で発光部104に照射されている。図中、黒丸で示す位置が、凸レンズ108の焦点位置に該当する。
なお、レーザ素子の数量、束ね方、平行ビームを得る方法、レーザスポット形状の制御などは、上述した方法を適宜用いればよい。さらに、レーザ光の出力、波長、蛍光体材料なども、上述した構成を適宜組み合わせて用いればよい。
また、説明したように、発光体104は、凸レンズ108の焦点位置における部分が最も強く励起され、焦点位置の周辺部分は、レーザ光が照射される発光部104の面である照射面におけるレーザ光の光強度分布に応じた強さで励起される。このとき得られる効果も、上述したのと同様の効果が得られる。
次に、パラボラミラーの代わりに、凸レンズを用いて投光する他の構成を図27により説明する。図27は、発光部104で発生した蛍光をヘッドランプの外部に照射するために凸レンズ108を用いる他の構成を説明するための図である。なお、同図では、図26の金属ベース107が硝子板109に置き換えられている。また、レーザ光は、金属ベース107から見て、凸レンズ108とは反対側から発光部104に照射される。参考として、図27の構成を上記照射面に垂直な方向から視た様子を図28に示す。このような構成によっても、図25に記載のヘッドランプと同様の効果を実現することができる。
図25〜図28から分かるように、凸レンズを用いて投光する構成は、種々の態様により実現することができる。したがって、発光部に対するレーザ素子の取付位置等に制約が存在する場合であっても、凸レンズを用いて投光する構成は、設計条件に応じて種々の態様で実現することができる。すなわち、本実施形態に係るヘッドランプは、設計自由度の高い装置をユーザに提供することができる。
〔パラボラミラーおよびレンズを併用して投光する構成〕
次に、パラボラミラー105および凸レンズ108を用いて投光する構成を図29により説明する。図29は、発光部104で発生した蛍光をヘッドンランプの外部に照射するためにパラボラミラー105および凸レンズ108を用いる構成を説明するための図である。
図29に示すヘッドランプは、少なくとも、発光部104、パラボラミラー105、金属ベース107、および凸レンズ108を備える。
発光部104は、金属ベース107に取り付けられ、かつ、パラボラミラー105の第一焦点位置に重なるように配置されている。発光部104は、パラボラミラー105の第一焦点位置における部分が最も強く励起され、焦点位置の周辺部分は、レーザ光が照射される発光部104の面である照射面におけるレーザ光の光強度分布に応じた強さで励起される。
凸レンズ108は、凸レンズ108の焦点位置とパラボラミラー105の第二焦点位置とが重なるように設けられる。これにより、あたかも図25の発光部104が凸レンズ108の焦点位置に存在する、つまり、凸レンズ108の焦点位置に仮想光源が存在し、その仮想光源が投光するものとみなすことができる。参考として、図29の構成を上記照射面に垂直な方向から視た様子を図30に示す。このような構成によっても、図29に記載のヘッドランプと同様の効果を実現することができる。
このように、発光部104、パラボラミラー105、金属ベース107、および凸レンズ108を上記位置関係にしたがって配置することにより、蛍光を効率よく集光することができ、かつ、集光した光をヘッドランプの外部に効率的に照射することができる。
本発明に係る発光装置は、上記の課題を解決するために、励起光を出射する励起光源と、上記励起光源から出射された励起光を受けて蛍光を発する発光部と、上記発光部が発生させた蛍光を反射する反射鏡とを備え、上記発光部は、上記反射鏡の焦点位置およびその周辺部分を含むように配置されるとともに、上記焦点位置における部分が最も強く励起され、上記焦点位置の周辺部分は、上記励起光が照射される上記発光部の面である照射面における上記励起光の光強度分布に応じた強さで励起されることを特徴としている。
上記構成によれば、発光部は、反射鏡の焦点位置およびその周辺部分を含むように配置されている。そして、発光部は、焦点位置における部分が最も強く励起され、焦点位置の周辺部分は、励起光が照射される上記発光部の面である照射面における励起光の光強度分布に応じた強さで励起される。
したがって、発光部は、反射鏡の焦点位置における部分が最も強く励起されるため、その部分から発生した蛍光を反射鏡で反射させることにより、真正面を狭い立体角で明るく照らすことができる。
また、反射鏡の焦点位置の周辺部分における発光部は、照射面における励起光の光強度分布に応じた強さで励起されるため、その周辺部分から発生した蛍光を反射鏡で反射させることにより、広い立体角で真正面の周辺部を適度に照らすことができる。そして、その励起光の光強度分布は、発光装置の用途、使用状況に応じて与えることにより、投光先の投光パターンを任意に変更することができる。つまり、本発明に係る発光装置は、従来の課題である、焦点位置の周辺部にレーザ光が照射されておらず、焦点位置にのみレーザ光が照射されていることにより配光状態が限定された投光しか実現しえなかったという問題を解決することができる。
このように、本発明に係る発光装置は、自装置の用途、使用状況に応じて任意の投光パターンを実現することができるため、従来の発光装置に比べて格段にユーザの利便性を高めることができる。
本発明は、任意の投光パターンを実現することが可能な発光装置に関し、特に、車両用前照灯、照明装置、及び車両に好適に適用することができる。
1、21、22、23、24、101 ヘッドランプ
2、102 レーザ素子
3 レンズ
4、104 発光部
5、105 パラボラミラー
5b 開口部
6 窓部
7、107 金属ベース
10 自動車(車両)
11、111 集光レンズ
12 光ファイバー
14 反射ミラー
35、135 レーザ光源ユニット
51 円形パラボラミラー
51a 開口部
55 ガラス板
60 複合レンズ(光強度分布制御手段)
61、62、63、65、66 集光レンズ(光強度分布制御手段)
64 アパーチャ(光強度分布制御手段)
67、67a、67b 凸レンズ(光強度分布制御手段)
68、69、69a、69b 凹面鏡(光強度分布制御手段)
108 凸レンズ
109 硝子板
110 シリンドリカルレンズ
111 集光レンズ(凸レンズ)
A、B 領域
P、P1、P2 位置
Q、Q1、Q2 集光点

Claims (20)

  1. 励起光を出射する励起光源と、
    上記励起光源から出射された励起光を受けて蛍光を発する発光部と、
    上記発光部が発生させた蛍光を投光する投光部とを備え、
    上記発光部は、上記投光部の焦点位置およびその周辺部分を含むように配置されるとともに、上記焦点位置における部分が最も強く励起され、上記焦点位置の周辺部分は、上記励起光が照射される上記発光部の面である照射面における上記励起光の光強度分布に応じた強さで励起され
    上記励起光の光強度分布を制御することにより、自装置から出射される光の投光パターンを制御することを特徴とする発光装置。
  2. 上記励起光の光強度分布は、上記焦点位置付近の光強度が最も強く、上記焦点位置の周辺部分の光強度は、上記焦点位置付近の光強度よりも弱いことを特徴とする請求項に記載の発光装置。
  3. 上記照射面上に、第1方向と、その第1方向に垂直な第2方向を規定したときに、
    上記励起光は、上記第1方向における光強度分布が、上記第2方向における光強度分布よりも広い範囲で形成されることを特徴とする請求項1または2に記載の発光装置。
  4. 上記第1方向における光強度分布は、上記第2方向における光強度分布よりも3倍以上広く形成されることを特徴とする請求項に記載の発光装置。
  5. 上記励起光源から出射された励起光の上記光強度分布を制御する光強度分布制御手段を備えることを特徴とする請求項1からの何れか1項に記載の発光装置。
  6. 上記光強度分布制御手段は、光学特性の異なる複数のレンズからなることを特徴とする請求項に記載の発光装置。
  7. 上記光強度分布制御手段は、上記励起光源から出射された励起光を上記発光部に向けて集光する集光レンズと、その集光レンズを通過した上記励起光の経路によって光の透過率が異なるアパーチャとからなることを特徴とする請求項に記載の発光装置。
  8. 上記励起光源が複数設けられているときに、
    上記光強度分布制御手段は、上記励起光源から出射された励起光を上記発光部に向けて集光する集光レンズを、上記励起光源ごとに設けてなることを特徴とする請求項に記載の発光装置。
  9. 上記光強度分布制御手段は、上記励起光源から出射された励起光を平行光にする凸レンズと、入射する上記平行光を2つの焦点位置に向けて反射する凹面鏡とからなることを特徴とする請求項に記載の発光装置。
  10. 上記光強度分布制御手段は、上記励起光源から出射された励起光を平行光にする凸レンズと、入射する上記平行光を1つの焦点位置に向けて反射する凹面鏡と、上記凹面鏡によって反射された上記励起光の経路によって光の透過率が異なるアパーチャとからなることを特徴とする請求項に記載の発光装置。
  11. 上記励起光源が複数設けられているときに、
    上記光強度分布制御手段は、上記励起光源から出射された励起光を平行光にする凸レンズと、入射する上記平行光を1つの焦点位置に向けて反射する凹面鏡とを、上記励起光源ごとに設けてなるものであることを特徴とする請求項に記載の発光装置。
  12. 上記投光部は、上記発光部が発生させた蛍光を反射する反射鏡であることを特徴とする請求項1から11の何れか1項に記載の発光装置。
  13. 上記投光部は、上記発光部が発生させた蛍光の光線の角度を変更する凸レンズであることを特徴とする請求項1から11の何れか1項に記載の発光装置。
  14. 上記励起光を集光すると凸レンズと、
    上記凸レンズを透過した上記励起光の光線の角度を一方向のみ変更させ、その励起光を上記発光部に導光するシリンドリカルレンズと、を備えることを特徴とする請求項1または2に記載の発光装置。
  15. 上記励起光を透過させ、その励起光を上記発光部に導光する楕円形の凸レンズを備えることを特徴とする請求項1または2に記載の発光装置。
  16. 上記反射鏡は、放物線の対称軸を中心に放物線を回転させることによって形成される曲面を、回転軸を含む平面で切断することによって得られる部分曲面の少なくとも一部を含んでいることを特徴とする請求項12に記載の発光装置。
  17. 上記反射鏡は、円、楕円または放物線の対称軸を回転軸として当該円、楕円または放物線を回転させることによって形成される曲面の少なくとも一部を含んでいることを特徴とする請求項12に記載の発光装置。
  18. 請求項1から17のいずれか1項に記載の発光装置を含むことを特徴とする車両用前照灯。
  19. 請求項1から17のいずれか1項に記載の発光装置を含むことを特徴とする照明装置。
  20. 請求項18に記載の車両用前照灯を備えた車両であって、
    上記車両用前照灯は、
    記発光部が発生させた蛍光を反射する反射曲面を有する反射鏡と、
    上記反射曲面と対向する面を有するとともに、上記発光部を支持する支持部材とを備え、
    上記車両用前照灯は、上記反射曲面が鉛直下側に位置するように上記車両に配設されていることを特徴とする車両。
JP2011176173A 2010-10-29 2011-08-11 発光装置、車両用前照灯、照明装置、及び車両 Expired - Fee Related JP5259791B2 (ja)

Priority Applications (2)

Application Number Priority Date Filing Date Title
JP2011176173A JP5259791B2 (ja) 2010-10-29 2011-08-11 発光装置、車両用前照灯、照明装置、及び車両
US13/280,572 US8733957B2 (en) 2010-10-29 2011-10-25 Light emitting device, vehicle headlamp, and illumination device

Applications Claiming Priority (3)

Application Number Priority Date Filing Date Title
JP2010244574 2010-10-29
JP2010244574 2010-10-29
JP2011176173A JP5259791B2 (ja) 2010-10-29 2011-08-11 発光装置、車両用前照灯、照明装置、及び車両

Publications (2)

Publication Number Publication Date
JP2012109209A JP2012109209A (ja) 2012-06-07
JP5259791B2 true JP5259791B2 (ja) 2013-08-07

Family

ID=45996591

Family Applications (1)

Application Number Title Priority Date Filing Date
JP2011176173A Expired - Fee Related JP5259791B2 (ja) 2010-10-29 2011-08-11 発光装置、車両用前照灯、照明装置、及び車両

Country Status (2)

Country Link
US (1) US8733957B2 (ja)
JP (1) JP5259791B2 (ja)

Families Citing this family (23)

* Cited by examiner, † Cited by third party
Publication number Priority date Publication date Assignee Title
JP5487077B2 (ja) 2010-10-29 2014-05-07 シャープ株式会社 発光装置、車両用前照灯および照明装置
JP5336564B2 (ja) 2010-10-29 2013-11-06 シャープ株式会社 発光装置、照明装置、車両用前照灯および車両
JP2012119193A (ja) 2010-12-01 2012-06-21 Sharp Corp 発光装置、車両用前照灯、照明装置、及び車両
JP5788194B2 (ja) 2011-03-03 2015-09-30 シャープ株式会社 発光装置、照明装置、及び車両用前照灯
US9108568B2 (en) 2011-06-29 2015-08-18 Sharp Kabushiki Kaisha Light-projecting device, and vehicle headlamp including light-projecting device
JP2013125693A (ja) * 2011-12-15 2013-06-24 Koito Mfg Co Ltd 車両用灯具
US9534756B2 (en) 2012-04-03 2017-01-03 Sharp Kabushiki Kaisha Light-emitting device, floodlight, and vehicle headlight
JP6138420B2 (ja) 2012-04-06 2017-05-31 シャープ株式会社 発光装置および車両用前照灯
JP5995541B2 (ja) * 2012-06-08 2016-09-21 Idec株式会社 光源装置および照明装置
GB2504334A (en) 2012-07-26 2014-01-29 Sharp Kk Headlight system with adaptive beams
DE102012109088B4 (de) 2012-09-26 2019-05-09 Schott Ag Faseroptisches Konversionsmodul
DE102012112994A1 (de) * 2012-12-21 2014-06-26 Osram Opto Semiconductors Gmbh Scheinwerfervorrichtung
FR3010486B1 (fr) * 2013-09-10 2018-01-05 Valeo Vision Module d'eclairage pour vehicule
US10415791B2 (en) * 2014-08-26 2019-09-17 The Boeing Company Remote source light-guiding light assembly
CN104298058A (zh) * 2014-09-11 2015-01-21 海信集团有限公司 一种激光光源及投影显示装置
DE102015113552B4 (de) 2015-08-17 2018-12-13 Schott Ag Verfahren zur Justierung eines auf einem optischen Konverter erzeugten Leuchtflecks sowie Vorrichtung mit justiertem Leuchtfleck und deren Verwendungen
WO2017029255A2 (de) 2015-08-17 2017-02-23 Schott Ag Verfahren zur justierung eines auf einem optischen konverter erzeugten leuchtflecks, vorrichtung mit leuchtfleck und deren verwendung sowie konverter-kühlkörperverbund mit metallischer lotverbindung
EP3358244B1 (en) * 2015-09-29 2019-06-19 Panasonic Intellectual Property Management Co., Ltd. Light source device and projection device
KR102513407B1 (ko) * 2015-12-15 2023-03-23 엘지이노텍 주식회사 발광 장치 및 이를 포함하는 차량용 조명 장치
JP6208305B2 (ja) * 2016-08-12 2017-10-04 シャープ株式会社 発光装置、車両用前照灯及び照明装置
JP6897401B2 (ja) * 2017-08-01 2021-06-30 セイコーエプソン株式会社 光源装置およびプロジェクター
EP3757449A1 (de) * 2019-06-27 2020-12-30 ZKW Group GmbH Beleuchtungsvorrichtung eines kraftfahrzeugscheinwerfers
US11629835B2 (en) * 2019-07-31 2023-04-18 Toyota Jidosha Kabushiki Kaisha Auto-calibration of vehicle sensors

Family Cites Families (55)

* Cited by examiner, † Cited by third party
Publication number Priority date Publication date Assignee Title
JP2596709B2 (ja) 1994-04-06 1997-04-02 都築 省吾 半導体レーザ素子を用いた照明用光源装置
JPH07318998A (ja) 1994-05-19 1995-12-08 Mitsubishi Materials Corp 可視光光源装置
US5962971A (en) 1997-08-29 1999-10-05 Chen; Hsing LED structure with ultraviolet-light emission chip and multilayered resins to generate various colored lights
US6412971B1 (en) 1998-01-02 2002-07-02 General Electric Company Light source including an array of light emitting semiconductor devices and control method
JP2002087153A (ja) 2000-07-11 2002-03-26 Koito Mfg Co Ltd 車両用コーナリングランプ
JP4054594B2 (ja) 2002-04-04 2008-02-27 日東光学株式会社 光源装置及びプロジェクタ
FR2850617B1 (fr) 2003-01-31 2006-03-17 Valeo Vision Dispositif d'eclairage comportant des moyens pour compenser la defaillance d'un code virage
JP4124445B2 (ja) 2003-02-03 2008-07-23 株式会社小糸製作所 光源及び車両用前照灯
JP2004311101A (ja) 2003-04-03 2004-11-04 Koito Mfg Co Ltd 車両用前照灯及び半導体発光素子
JP4024721B2 (ja) * 2003-06-20 2007-12-19 株式会社小糸製作所 車両用灯具及び光源モジュール
JP4402425B2 (ja) 2003-10-24 2010-01-20 スタンレー電気株式会社 車両前照灯
JP4047266B2 (ja) 2003-11-19 2008-02-13 株式会社小糸製作所 灯具
JP5302491B2 (ja) 2003-12-22 2013-10-02 日亜化学工業株式会社 発光装置及び内視鏡装置
JP2005209794A (ja) 2004-01-21 2005-08-04 Koito Mfg Co Ltd 発光モジュール及び灯具
JP2005209795A (ja) 2004-01-21 2005-08-04 Koito Mfg Co Ltd 発光モジュール及び灯具
JP4365253B2 (ja) 2004-04-02 2009-11-18 株式会社小糸製作所 車両用前照灯および自動車用前照灯
US7144131B2 (en) 2004-09-29 2006-12-05 Advanced Optical Technologies, Llc Optical system using LED coupled with phosphor-doped reflective materials
JP4401348B2 (ja) 2004-12-28 2010-01-20 シャープ株式会社 発光デバイスならびにそれを用いた照明機器および表示機器
JP2006253019A (ja) 2005-03-11 2006-09-21 Nissan Motor Co Ltd 車両用灯具
JP2007030570A (ja) 2005-07-22 2007-02-08 Arumo Technos Kk 照明装置及びこれを用いた車輌用ヘッドランプ
US7382091B2 (en) 2005-07-27 2008-06-03 Lung-Chien Chen White light emitting diode using phosphor excitation
WO2007044472A2 (en) 2005-10-07 2007-04-19 Osram Sylvania Inc. Led with light transmissive heat sink
JP2007142173A (ja) 2005-11-18 2007-06-07 Koha Co Ltd 照明装置
JP4694427B2 (ja) 2006-07-05 2011-06-08 株式会社小糸製作所 車両用前照灯
JP5601556B2 (ja) 2007-06-29 2014-10-08 東芝ライテック株式会社 照明装置および照明器具
JP4881255B2 (ja) 2007-08-13 2012-02-22 株式会社小糸製作所 車両用前照灯
JP2009067083A (ja) 2007-09-10 2009-04-02 Nissan Motor Co Ltd 車両用前照灯装置およびその制御方法
JP2009096250A (ja) 2007-10-15 2009-05-07 Toyota Motor Corp 車両用照明装置
JP4884354B2 (ja) 2007-11-22 2012-02-29 三菱電機株式会社 車載用ヘッドランプ
US7810954B2 (en) 2007-12-03 2010-10-12 Lumination Llc LED-based changeable color light lamp
JP4617367B2 (ja) 2008-03-13 2011-01-26 シャープ株式会社 前照灯およびそれを光源として用いた車両用赤外線暗視装置
WO2009122339A1 (en) 2008-04-03 2009-10-08 Koninklijke Philips Electronics N.V. Improved white light-emitting device
JP5271590B2 (ja) 2008-04-22 2013-08-21 株式会社小糸製作所 車両用灯具
JP2009302186A (ja) 2008-06-11 2009-12-24 Nec Lighting Ltd 発光装置
JP5024206B2 (ja) 2008-07-14 2012-09-12 市光工業株式会社 車両用灯具
JP5527571B2 (ja) 2008-09-30 2014-06-18 カシオ計算機株式会社 発光装置及び光源装置並びにこの光源装置を用いたプロジェクタ
US8342720B2 (en) 2008-10-10 2013-01-01 Stanley Electric Co., Ltd. Vehicle light and road illumination device
US8445824B2 (en) 2008-10-24 2013-05-21 Cree, Inc. Lighting device
JP5028466B2 (ja) * 2008-11-27 2012-09-19 サムソン エルイーディー カンパニーリミテッド. 車用ヘッドライト
JP2010140663A (ja) * 2008-12-09 2010-06-24 Koito Mfg Co Ltd 車両用照明灯具
JP5229477B2 (ja) * 2008-12-25 2013-07-03 市光工業株式会社 車両用灯具
JP5406566B2 (ja) 2009-03-11 2014-02-05 スタンレー電気株式会社 車両用前照灯
JP2010212615A (ja) 2009-03-12 2010-09-24 Kyocera Corp 基地局装置の放熱構造
JP5266605B2 (ja) * 2009-03-27 2013-08-21 スタンレー電気株式会社 車両用灯具
EP3489326A1 (en) 2009-04-09 2019-05-29 Signify Holding B.V. Lamp for laser applications
CN101893204B (zh) 2009-05-20 2012-03-07 绎立锐光科技开发(深圳)有限公司 光源及其光转换方法、光转换装置及该光源的应用系统
US9500325B2 (en) 2010-03-03 2016-11-22 Cree, Inc. LED lamp incorporating remote phosphor with heat dissipation features
JP5059208B2 (ja) 2010-04-07 2012-10-24 シャープ株式会社 照明装置および車両用前照灯
EP2386792B1 (de) 2010-05-12 2013-09-11 Zizala Lichtsysteme GmbH LED-Lichtmodul
JP5255040B2 (ja) 2010-10-29 2013-08-07 シャープ株式会社 発光装置、車両用前照灯、照明装置および車両、ならびに、発光装置の組立方法
JP5487077B2 (ja) 2010-10-29 2014-05-07 シャープ株式会社 発光装置、車両用前照灯および照明装置
JP5336564B2 (ja) 2010-10-29 2013-11-06 シャープ株式会社 発光装置、照明装置、車両用前照灯および車両
JP2012119193A (ja) 2010-12-01 2012-06-21 Sharp Corp 発光装置、車両用前照灯、照明装置、及び車両
JP5788194B2 (ja) 2011-03-03 2015-09-30 シャープ株式会社 発光装置、照明装置、及び車両用前照灯
US9108568B2 (en) 2011-06-29 2015-08-18 Sharp Kabushiki Kaisha Light-projecting device, and vehicle headlamp including light-projecting device

Also Published As

Publication number Publication date
US8733957B2 (en) 2014-05-27
US20120106183A1 (en) 2012-05-03
JP2012109209A (ja) 2012-06-07

Similar Documents

Publication Publication Date Title
JP5259791B2 (ja) 発光装置、車両用前照灯、照明装置、及び車両
US9863595B2 (en) Light-emitting unit with optical plate reflecting excitation light and transmitting fluorescent light, and light-emitting device, illumination device, and vehicle headlight including the unit
JP5336564B2 (ja) 発光装置、照明装置、車両用前照灯および車両
CN102753883B (zh) 包括磷光体、辐射源、光学系统和散热器的灯
JP5589007B2 (ja) 発光装置、照明装置および車両用前照灯
JP6258083B2 (ja) 発光ユニット、発光装置、照明装置および車両用前照灯
US8974089B2 (en) Light emitting device, illumination device, and vehicle headlamp
JP2013026162A (ja) 照明装置、および車両用前照灯
JP6161877B2 (ja) 発光装置、車両用前照灯および照明装置
JP6352429B2 (ja) 発光装置、照明装置、車両用前照灯および制御システム
JP6067629B2 (ja) 発光装置、照明装置および車両用前照灯
JP6271216B2 (ja) 発光ユニットおよび照明装置
JP2014010917A (ja) 照明装置および車両用前照灯
JP5891858B2 (ja) 発光装置及び車両用灯具
JP5840179B2 (ja) 発光装置
JP2017195061A (ja) 照明装置及び車両用前照灯
JP6125776B2 (ja) 投光装置
JP2013161552A (ja) 投光装置およびレーザ照射装置
JP2014170758A (ja) 照明装置、および車両用前照灯
JP4702686B2 (ja) 灯具
JP6072447B2 (ja) 照明装置及び車両用前照灯
JP2004363060A (ja) 灯具
JP6305967B2 (ja) 発光装置、照明装置および車両用前照灯
JPWO2016208288A1 (ja) 発光装置および制御システム

Legal Events

Date Code Title Description
A131 Notification of reasons for refusal

Free format text: JAPANESE INTERMEDIATE CODE: A131

Effective date: 20121002

A521 Request for written amendment filed

Free format text: JAPANESE INTERMEDIATE CODE: A523

Effective date: 20121130

TRDD Decision of grant or rejection written
A01 Written decision to grant a patent or to grant a registration (utility model)

Free format text: JAPANESE INTERMEDIATE CODE: A01

Effective date: 20130326

A61 First payment of annual fees (during grant procedure)

Free format text: JAPANESE INTERMEDIATE CODE: A61

Effective date: 20130424

FPAY Renewal fee payment (event date is renewal date of database)

Free format text: PAYMENT UNTIL: 20160502

Year of fee payment: 3

R150 Certificate of patent or registration of utility model

Ref document number: 5259791

Country of ref document: JP

Free format text: JAPANESE INTERMEDIATE CODE: R150

Free format text: JAPANESE INTERMEDIATE CODE: R150

S111 Request for change of ownership or part of ownership

Free format text: JAPANESE INTERMEDIATE CODE: R313113

S531 Written request for registration of change of domicile

Free format text: JAPANESE INTERMEDIATE CODE: R313531

S111 Request for change of ownership or part of ownership

Free format text: JAPANESE INTERMEDIATE CODE: R313113

S531 Written request for registration of change of domicile

Free format text: JAPANESE INTERMEDIATE CODE: R313531

R350 Written notification of registration of transfer

Free format text: JAPANESE INTERMEDIATE CODE: R350

LAPS Cancellation because of no payment of annual fees