JP5259688B2 - 走査型電子顕微鏡 - Google Patents

走査型電子顕微鏡 Download PDF

Info

Publication number
JP5259688B2
JP5259688B2 JP2010274626A JP2010274626A JP5259688B2 JP 5259688 B2 JP5259688 B2 JP 5259688B2 JP 2010274626 A JP2010274626 A JP 2010274626A JP 2010274626 A JP2010274626 A JP 2010274626A JP 5259688 B2 JP5259688 B2 JP 5259688B2
Authority
JP
Japan
Prior art keywords
lens barrel
electron
lens
electron beam
observation object
Prior art date
Legal status (The legal status is an assumption and is not a legal conclusion. Google has not performed a legal analysis and makes no representation as to the accuracy of the status listed.)
Expired - Fee Related
Application number
JP2010274626A
Other languages
English (en)
Other versions
JP2012124052A (ja
Inventor
謙司 松本
Current Assignee (The listed assignees may be inaccurate. Google has not performed a legal analysis and makes no representation or warranty as to the accuracy of the list.)
Honda Motor Co Ltd
Original Assignee
Honda Motor Co Ltd
Priority date (The priority date is an assumption and is not a legal conclusion. Google has not performed a legal analysis and makes no representation as to the accuracy of the date listed.)
Filing date
Publication date
Application filed by Honda Motor Co Ltd filed Critical Honda Motor Co Ltd
Priority to JP2010274626A priority Critical patent/JP5259688B2/ja
Priority to US13/313,606 priority patent/US8610061B2/en
Priority to DE102011087955.2A priority patent/DE102011087955B4/de
Publication of JP2012124052A publication Critical patent/JP2012124052A/ja
Application granted granted Critical
Publication of JP5259688B2 publication Critical patent/JP5259688B2/ja
Expired - Fee Related legal-status Critical Current
Anticipated expiration legal-status Critical

Links

Images

Classifications

    • HELECTRICITY
    • H01ELECTRIC ELEMENTS
    • H01JELECTRIC DISCHARGE TUBES OR DISCHARGE LAMPS
    • H01J37/00Discharge tubes with provision for introducing objects or material to be exposed to the discharge, e.g. for the purpose of examination or processing thereof
    • H01J37/02Details
    • H01J37/18Vacuum locks ; Means for obtaining or maintaining the desired pressure within the vessel
    • HELECTRICITY
    • H01ELECTRIC ELEMENTS
    • H01JELECTRIC DISCHARGE TUBES OR DISCHARGE LAMPS
    • H01J37/00Discharge tubes with provision for introducing objects or material to be exposed to the discharge, e.g. for the purpose of examination or processing thereof
    • H01J37/02Details
    • H01J37/16Vessels; Containers
    • HELECTRICITY
    • H01ELECTRIC ELEMENTS
    • H01JELECTRIC DISCHARGE TUBES OR DISCHARGE LAMPS
    • H01J2237/00Discharge tubes exposing object to beam, e.g. for analysis treatment, etching, imaging
    • H01J2237/02Details
    • H01J2237/024Moving components not otherwise provided for
    • HELECTRICITY
    • H01ELECTRIC ELEMENTS
    • H01JELECTRIC DISCHARGE TUBES OR DISCHARGE LAMPS
    • H01J2237/00Discharge tubes exposing object to beam, e.g. for analysis treatment, etching, imaging
    • H01J2237/16Vessels
    • H01J2237/162Open vessel, i.e. one end sealed by object or workpiece
    • HELECTRICITY
    • H01ELECTRIC ELEMENTS
    • H01JELECTRIC DISCHARGE TUBES OR DISCHARGE LAMPS
    • H01J2237/00Discharge tubes exposing object to beam, e.g. for analysis treatment, etching, imaging
    • H01J2237/20Positioning, supporting, modifying or maintaining the physical state of objects being observed or treated
    • H01J2237/2005Seal mechanisms
    • H01J2237/2006Vacuum seals

Landscapes

  • Chemical & Material Sciences (AREA)
  • Analytical Chemistry (AREA)
  • Analysing Materials By The Use Of Radiation (AREA)

Description

本発明は、電子線の照射に従い試料を走査することによって前記試料の観察を行うことのできるようにした走査型の電子顕微鏡に関する。特に、従来では試料室内に入りきらないがために加工を必要としていた大きさの観察対象物であっても、該観察対象物に加工を施すことなく現状状態そのままでの観察を可能とする走査型電子顕微鏡に関する。
従来から、電子銃により発生された電子線を1乃至複数段に構成された電子レンズによって段階的に集束して細くに絞ることで電子線束を生成し、該生成した集束後の電子線(電子ビーム)を観察対象の試料上に照射することに従い前記試料を走査し、この走査に伴って該試料から放出される二次電子や反射電子等を検出することにより、使用者が前記試料の組成や表面の凹凸などの観察を行うことのできるようにした走査型電子顕微鏡(SEM)が知られている。こうした従来の走査型電子顕微鏡の一例を挙げるとすれば、例えば下記に示す特許文献1に記載された走査型電子顕微鏡などがある。
特許第4349964号公報
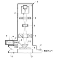
従来知られた走査型電子顕微鏡の構成例を図6に示す。この図6に示された走査型電子顕微鏡は、電子線Zを発生する電子銃2と、前記電子銃2から発生された電子線Zを集束しまた集束後の該電子線Z(電子ビーム)を偏向するための走査偏向手段(この例では段階的に構成されるコンデンサレンズ3及び走査コイル5及び対物レンズ6が該当する)と、電子線Zの照射に伴って観察対象の試料Xから放出される二次電子を検出するための二次電子検出器S1であって、シンチレータ8とライトガイドFと光電子増倍管Mとを含んでなるものと、電子線Zの照射に伴って観察対象の試料Xから放出される反射電子を検出するための反射電子検出器S2と、前記電子銃2と前記走査偏向手段(3,5,6)及び前記反射電子検出器S2と前記シンチレータ8が内部に敷設される一方で、前記シンチレータ8とライトガイドFを介して接続される長尺形状の光電子倍増管S1が鏡筒1の側面部から突出した状態に敷設される顕微鏡本体部たる鏡筒1と、観察対象の試料Xを収納する試料室300と、前記鏡筒1内及び試料室300内を真空状態に保つための真空ポンプ(図示せず)と、前記各部を制御するための各種制御装置(図示せず)とにより構成されている。
図6に示した従来の走査型電子顕微鏡の動作について説明する。まず、使用者は試料室300の側面に設けられた開閉扉Kを開放して試料室300内に観察対象の試料Xを収納する。その後、前記開放した開閉扉Kを閉じて試料室300を閉鎖状態とする。真空ポンプを動作させることにより、前記鏡筒1内及び試料室300内が真空状態に保たれる。すなわち、電子線Zの照射前に前記試料室300及び鏡筒1内を満たしていた空気(大気)を外部に排出させて内部を真空状態として、試料室300内に収納されている試料Xを外気から遮断する。こうして真空状態に保たれた前記鏡筒1内において、電子銃2で発生されかつ適宜に加速された電子線Zは1乃至複数段に構成された電子レンズ(電子線に干渉できる電場や磁場を利用した静電レンズや電磁レンズであって、上記コンデンサレンズ3や対物レンズ6などが相当する)で集束されて細くに絞られ、また走査コイル5によって偏向されることによって、真空状態に保たれている試料室300内に収納された試料Xに照射され試料表面を走査する。
前記走査に伴う試料Xへの電子線Zの照射に応じて、前記試料Xから二次電子及び反射電子が放出される。そこで、該試料Xから放出される二次電子及び反射電子を前記各検出器S1,S2により検出する。該各検出器S1,S2により検出された二次電子及び反射電子に応じた各検知信号に基づいて図示を省略したCRTなどの表示器上に組成像(コンポ像)や凹凸像(トポ像)などが映し出されることから、使用者は該表示器に映し出されたこれらの像を見て試料Xの観察を行うことができる。なお、前記走査コイル5による電子線Zの偏向制御だけでは観察可能な範囲は限られることから、試料室300内において試料Xは垂直方向及び水平方向に移動可能であってさらには傾斜及び回転可能でもある載置台O(ステージなどとも呼ばれる)に載せられており、該載置台Oを駆動制御することで試料X上における大幅な観察位置(観察面)の変更を行うことができるようになっている。
ところで、自動車産業界においては、例えば車体に塗布されている塗料の種類の特定やその成分の分析さらには経年変化の調査、CVT(無段階変速機)のプーリの継続的な使用に伴う経年劣化の調査など、多様な分野にわたって自動車に用いられている各種材料や部品等の観察を行う必要がある。そのために、上記したような走査型電子顕微鏡が使用されている。ただし、上述したように、従来の走査型電子顕微鏡では、電子線照射時に試料室及び鏡筒内を真空状態に保つ必要があるので、閉鎖可能な試料室内に観察対象の試料を収納しなければならない。そのため、観察対象物がそのままでは試料室に収納することのできない大きいもの(例えば上記車体やプーリなどの自動車部材)であるような場合には、その観察対象物を切断等することによって前記試料室内に収納可能な大きさの試料に加工しなければならなかった。つまりは、観察対象物から試料室に収納可能な大きさの試料を切り出すなどしなければ、当該観察対象物の観察を行うことは不可能であった。
しかし、自動車部材のような観察対象物を切断等により一旦加工してしまうと、その観察対象物が有していた機能がどうしても失われてしまうことになるので、当該観察対象物を本来の用途で続けて使用することが難しくなる。言い換えるならば、観察対象物からの試料の切り出しは観察対象物の破壊である。例えば、車のボンネット上に塗布されている塗料を観察するために、ボンネットつまりは観察対象物から試料室に収納可能な大きさの試料を切り出してしまうと当該ボンネットに孔が開くことになり、該ボンネットを本来の用途で続けて使うことができなくなる。そのため、従来の走査型電子顕微鏡は、車両の使用に伴い劣化や摩耗等の影響をうける観察対象物(上記自動車部材)の時間的変化などを継続的に観察するには向いていなかった。これは、従来の走査型電子顕微鏡は、少なくとも試料室内に収納でき且つ載置台の駆動に応じて観察位置を変更することが可能な大きさの試料しか観察を行うことしかできないことに起因する問題である。
そこで、上記した問題を解決するために、従来の走査型電子顕微鏡において閉鎖可能な試料室をなくすことが考えられる(所謂暴露型の電子顕微鏡)。そうすれば、観察対象物を破壊しなくてすむが、試料室をなくした上で電子線照射による車体やプーリなどの大きな観察対象物の観察を可能な暴露型の電子顕微鏡を構成するには、本体部たる鏡筒の小型化及び軽量化が必須である。
しかし、従来の走査型電子顕微鏡は鏡筒内に磁場コイルで形成されたコンデンサレンズ及び対物レンズを具備してなるものであって、こうした磁場コイルの構造上の観点からコンデンサレンズや対物レンズをどうしても現状より小さく形成することができず、そのため鏡筒自体の小型化・軽量化が難しいものであった。また、鏡筒の側面部に長尺形状の光電子倍増管を直接敷設する関係上、比較的に全長が大きく大型で重量の重い光電子倍増管を支持するため、鏡筒自体にそれに耐えうる強度が必要とされるなどのことから、鏡筒を軽量化するのが難しかった。さらには、試料室をなくすことに伴う鏡筒内及び試料表面上における真空状態の確保や、小型化・軽量化することに伴い生じ易くなる鏡筒の振動による観察時の影響(例えば表示器に映し出される組成像や凹凸像がぶれて映し出されてしまい観察しにくいなどの影響が生じ得る)などが新たな問題として生じ得る。以上のことから、例えば車体やプーリなどの試料室に入りきらない大きな観察対象物を現状状態そのままで観察可能とした、試料室のない小型・軽量な走査型電子顕微鏡は未だ実現されていないしまた提案もされていない。
本発明は上述の点に鑑みてなされたもので、従来では試料室内に入りきらないがために加工を必要としていた大きさの観察対象物であっても、該観察対象物に加工を施すことなく現状状態そのままでの観察を可能とした、小型・軽量な走査型電子顕微鏡を提供することを目的とする。
本発明に係る走査型電子顕微鏡は、電子線を発生する電子銃(2)と、前記電子銃(2)から発生される電子線(Z)を集束する集束レンズ(3)と、前記集束した電子線を偏向する走査コイル(5)と、前記偏向した電子線の焦点を観察対象物(X)にあわせる対物レンズ(6)と、前記対物レンズ(6)を前記走査コイル(5)と共に一体的に移動させる移動機構(Q)と、前記電子線の照射に伴い観察対象物(X)から放出される二次電子を検出する二次電子検出器(S1)及び前記電子線の照射に伴い観察対象物(X)から放出される反射電子を検出する反射電子検出器(S2)の少なくともいずれか一方と、前記電子銃(2)から発生された電子線(Z)の進行方向側の先端部(1a)が開口した鏡筒(1)であって、当該鏡筒(1)内に少なくとも前記電子銃(2)と前記集束レンズ(3)と前記走査コイル(5)と前記対物レンズ(6)と前記移動機構(Q)とを含んでなるものと、前記鏡筒(1)の開口先端部(1a)に設けられ前記観察対象物(X)と接触させるシール部材(7)と、前記鏡筒(1)内を真空に引くことに従い前記シール部材(7)を介して前記鏡筒(1)に観察対象物(X)を吸着させる真空手段とを備えてなり、前記移動機構(Q)は、前記対物レンズ及び前記走査コイルを球面体上で移動させるための駆動モータと、前記球面体を形成する球面座とを少なくとも含み、該球面座はその球面体の中心点が前記集束レンズの焦点位置に一致する曲率に形成されてなり、前記移動機構によって前記対物レンズと前記走査コイルとを一体的に移動することにより、前記鏡筒に観察対象物を吸着させたまま前記鏡筒内における前記電子線の進行方向を制御して視野移動することを特徴とする。
本発明によれば、鏡筒(1)の開口先端部(1a)に観察対象物(X)と接触させるシール部材(7)を設けておき、真空手段により前記鏡筒(1)内が真空に引かれた場合に、前記シール部材(7)を介して当該鏡筒(1)に観察対象物(X)を吸着させることにより、前記鏡筒(1)を観察対象物(X)に直接接触させた状態で密着固定する。前記鏡筒(1)は少なくとも電子銃(2)と集束レンズ(3)と走査コイル(5)と対物レンズ(6)と移動機構(Q)とを内部に含んでなり、移動機構(Q)によって対物レンズ(6)と走査コイル(5)とを一体的に移動できるようにしてある。こうすると、観察対象物(X)に対して直接鏡筒(1)の開口先端部(1a)を吸着させて観察対象物(X)と顕微鏡本体部である鏡筒(1)とが相対的に移動しないように密着固定される電子顕微鏡において、観察対象物(X)に鏡筒(1)を吸着させたまま前記鏡筒内における電子線の進行方向を制御して視野移動させることができるようになる。すなわち、鏡筒(1)を観察対象物(X)に対し直接マウントして電子線(Z)を照射する際に、わざわざ観察対象物(X)から吸着させた鏡筒(1)を取り外すことなしに、観察対象物(X)に鏡筒(1)を吸着させたままで当該観察対象物表面の任意の位置に対して電子線を照射させることができる。これにより、試料室に入りきらない大きさの観察対象物(X)加工を施すことなく現状状態そのままでの観察を行うことが容易かつ効率的にできるようになる。
なお、上記で括弧内に記した図面参照符号は、後述する実施形態において対応する構成要素等を参考のために例示したものである。
本発明によれば、真空ポンプにより鏡筒内を真空に引くことに応じてシール部材を介して当該鏡筒に観察対象物を吸着させ、前記鏡筒を観察対象物に直接接触させた状態で密着固定できるようにしたことから、これにより従来においては試料室に入りきらない大きさの観察対象物であっても加工を施すことなく現状状態そのままでの観察を行うことができる、という効果を奏する。
本発明に係る走査型電子顕微鏡の全体構成の一実施例を示す概念図である。 永久磁石を用いて構成されてなるコンデンサレンズ(又は対物レンズ)の一実施例を示す断面図である。 永久磁石を用いて構成されてなるコンデンサレンズ(又は対物レンズ)の別の実施例を示す断面図である。 観察対象物表面の凹凸具合毎に異なる形状からなるシール部材の一実施例を示す断面図である。 反射電子検出器の一実施例を示す概念図である。 従来知られた走査型電子顕微鏡の構成例を示す概念図である。
以下、この発明の実施の形態を添付図面に従って詳細に説明する。
図1は、本発明に係る走査型電子顕微鏡の全体構成の一実施例を示す概念図である。図1に示された走査型電子顕微鏡は、観察対象物(試料)Xに対する電子線Zの照射及び走査等を行う顕微鏡本体部を形成する鏡筒1と、該鏡筒1とは別途独立に配置されており前記電子線Zの照射に伴い前記観察対象物Xから放出される二次電子及び反射電子のそれぞれを検出する二次電子検出器S1及び反射電子検出器S2と、当該鏡筒1内における電子線Zの発生や走査などの電子線制御を指示すると共に、該電子線制御に応じて前記各検出器S1,S2から出力される前記検出した二次電子及び反射電子それぞれに応じた検知信号(検出値など)に基づいて組成像(コンポ像とも呼ぶ)や凹凸像(トポ像とも呼ぶ)などを表示して使用者に提示する制御装置群Aに大きく分けることができる。
顕微鏡本体部たる鏡筒1は例えば円柱形状をしており、その内部に電子線Zを発生する電子銃2と、前記電子銃2から発生されかつ加速された電子線Zを当該鏡筒1の径方向中心に集束するコンデンサレンズ3及び前記集束後の電子線Z(電子ビーム)を集束且つ偏向制御する走査レンズ部4(なお、この実施形態ではコンデンサレンズ3及び走査レンズ部4が走査偏向手段に該当する)とを含んでなる。上記コンデンサレンズ3は電子レンズであるが、従来装置において用いていた磁場コイルの代わりに永久磁石を用いて構成されてなるものである(後述する図2参照)。また、後述するように走査レンズ部4に含まれる対物レンズ6も、磁場コイルの代わりに永久磁石を用いて構成されてなるものである。
ここで、永久磁石を用いて構成されてなるコンデンサレンズ3(又は対物レンズ6)の一例を図2に示す。図2は、永久磁石を用いて構成されてなるコンデンサレンズ3(又は対物レンズ6)の一実施例を示す断面図である。
図2に示すコンデンサレンズ3(又は対物レンズ6、以下同じ)は、鏡筒1の内径にほぼ一致する大きさの直径を有する円柱形状に形成されてなり、その中央部には電子線Zを通すための中央孔3aを有する。この中央孔3aは磁場解析に応じてシミュレーションされた電子線Zの中心軸が通る位置からの距離に応じた磁束密度の分布に従いその直径の大きさが決められており、当該中央孔3aの範囲内の電子線Zが集束される一方で範囲外の電子線Zは集束されない。すなわち、集束される電子線量は中央孔3aの直径に比例する。このコンデンサレンズ3は、中央部に前記孔3aを有する円板状の2つの永久磁石J1,J2を、それぞれが中央部に前記孔3aを有する断面コの字状の第1コア10と円板状の第2コア11とにより電子線Zの進行方向つまりは鏡筒1の長尺方向に沿って挟みこんだサンドイッチ構造となっている。
ここで、磁場コイルの代わりに永久磁石J1,J2を用いる理由を述べる。一般的に走査型電子顕微鏡により元素分析などを行うには、電子線Zの照射に伴い観察対象物Xから放射されるX線放射量を所定のレベル以上確保する必要がある。そのため、より多くの電子線Zを集束する強力な磁場を前記中心孔3a付近に形成するために磁場コイル(コイル磁石)が用いられていた。しかし、通常の磁場コイルはコアに巻線を多数回巻き付ける構造であることに鑑みると小型化することが非常に難しく、それゆえ鏡筒1を小型化・軽量化するには向いていない。そこで、本実施形態においては磁場コイルに比べて小型化・軽量化しやすい永久磁石J1,J2を用いてコンデンサレンズ3を小型化・軽量化し、これにより鏡筒1自体の小型化・軽量化を実現するようにしている。
ただし、永久磁石J1,J2を用いたコンデンサレンズ3(又は対物レンズ6)では、磁場コイルを用いたものに比べると集束できる電子線Zの量が少ない。そうであるならば、観察対象物Xに対して電子線Zを照射しても元素分析のために必要とされるレベル以上のX線放出量が得られないので元素分析を行うことはできない。そこで、本発明に係る走査型電子顕微鏡は元素分析を行わないもの、つまりは二次電子及び反射電子を利用しての観察用途のみに使用を限定する。用途を限定することにより、観察に必要とされる二次電子及び反射電子を得るのに必要最低限の量の電子線Zを集束できればよいので、コンデンサレンズ3(及び対物レンズ6)は永久磁石J1,J2を用いて構成されてなるものであってよい。
ところで、上記したような永久磁石J1,J2を用いたコンデンサレンズ3の場合、永久磁石J1,J2の特性から磁場コイルが用いられた従来のコンデンサレンズのような磁場制御を電気的に行うことはできない。そこで、本実施形態において用いられるコンデンサレンズ3(又は対物レンズ6)については永久磁石J1,J2や各コア10,11の形状が異なるものを多数用意しておき、これらを必要に応じて交換することで磁場制御を行うことのできるようにしている。そうしたコンデンサレンズ3(又は対物レンズ6)の一例を図3に示す。図3は、永久磁石を用いて構成されてなるコンデンサレンズ3(又は対物レンズ6)の別の実施例を示す断面図である。
図3(a)に示すコンデンサレンズ3(又は対物レンズ6)は、図2に示したものと比較して断面コの字状の第1コア10の形状が異なっている。ここに示した第1コア10は、中心孔3aに面する側のコア先端部10aが共に断面中央に配置された第2コア11側に曲げられた形状に形成されている。これにより、第1コア10の先端部10aと第2コア20との間隔が狭くなると共に、第1コア10の先端部10aが永久磁石J1,J2に近くなる。他方、図3(b)に示すコンデンサレンズ3(又は対物レンズ6)は、図3(a)に示したものと比較すれば全体形状はほぼ同一であるが、永久磁石J1,J2の厚みを大きくしている。このようにして、永久磁石J1,J2と第1コア10との距離(間隙)を図2に示したものと比較してより近くすることによって、あるいは永久磁石J1,J2をより体積の大きいものにすることによって、より強力な磁場を中心孔3a付近に形成させることができ(磁場制御)、より多くの電子線Zを集束させることができる。
図1の説明に戻って、前記コンデンサレンズ3により集束された電子線Z(電子ビーム)は、走査レンズ部4によってその進行方向の向きが偏向制御される。この集束後の電子線Zを偏向制御する走査レンズ部4は、上段側に電子線Zを偏向するための走査コイル5を、下段側に該偏向された電子線Zを絞るための対物レンズ6をそれぞれ配置したものである。勿論、走査レンズ部4,該走査レンズ部4内に配置される走査コイル5及び対物レンズ6の径方向中央には、電子線Zを通すための孔4a,5a,6aがそれぞれ設けてある。そして、この走査コイル5と対物レンズ6とが一体化された走査レンズ部4の視野移動を行うための移動機構として、前記走査レンズ部4を一定の球面体上で移動させるための駆動モータ(図示せず)及び前記球面体等を含んでなる球面座Qを有する。この球面座Qの球面体はその中心点がコンデンサレンズ3の焦点位置(図中G点参照)に一致する曲率に形成されてなり、前記焦点位置Gを基準として走査レンズ部4の下方に配置される。これによれば、前記駆動モータの動作に伴い前記焦点位置Gを基点に、前記走査レンズ部4は鏡筒1の径方向のどの方向にも前記球面上を滑らかに移動する(つまり視野移動する)。したがって、後述するようにして鏡筒1に観察対象物Xを密着固定させた状態で電子線Zを照射するようにした本実施形態においても、観察対象物Xを動かすことなく観察対象物X表面の任意の位置(ただし狭い範囲)に対し電子線Zを照射させることができる。
本実施形態では、従来のビーム偏向のための機構は大型であり鏡筒1の小型化・軽量化に対して実用的でない点を解決するためだけでなく、従来の走査コイルだけによる単なるビーム偏向では偏向時の収差が増大してしまい高い分解能が望めない点を解決するために、ビーム偏向に起因する収差を発生させない特殊な電子光学系として、上記の走査コイル5と対物レンズ6とを一体化した走査レンズ部4からなる電子光学系を採用したうえで、前記走査レンズ部4を移動する機構として球面座Qを用いている。すなわち、この構成によれば、前記球面座Qによる前記走査レンズ部4の移動によってビーム偏向時における対物レンズ6の主面の法線方向を電子線Zの進入方向と合わせることが可能となるので、視野を移動させた場合に現れるビーム偏向に起因する収差をできる限り少なくすることができる。また、電子銃2及びコンデンサレンズ3の光学軸から観察対象物Xに電子線Zを最終的に照射する走査レンズ部4の光学軸を外すことができることから、例えば電子銃2が熱電子放射型電子銃である場合には熱電子カソードの明るさが観察対象物Xまで到達することに起因する観察時に生じ得る悪影響を除去することができる。
鏡筒1は排出路Pを有してなり、該排出路Pは例えばフレキシブルなチューブ(例えばゴム管など)を介して図示を省略した真空ポンプと接続される。したがって、真空ポンプの動作に伴って前記排出路Pを介して鏡筒1内を満たしていた空気が外部へと排出されて、鏡筒1内部が真空状態に保たれるようになっている。
図1から理解できるように、本実施形態における鏡筒1において、電子銃4から発生された電子線Zの進行先の先端部1a側にはそもそも試料室が具えられておらずまた載置台も具えられていない。鏡筒1の先端部1aは単に開口しているだけである。ただし、鏡筒1の開口先端部1aには当該先端部の形状にあわせて形成された環状のシール部材7が設置されている。このシール部材7は弾力のある部材(例えばゴムなど)で形成されてなり、鏡筒1内部と外部との間で空気の出入りができないように鏡筒1と観察対象物Xとを密着させるためのものである。このシール部材7を介して鏡筒1と観察対象物Xとを密着させてから上記したようにして真空ポンプの駆動に伴って鏡筒1内部が真空状態に保たれると、その作用によって鏡筒1に観察対象物Xが吸着されて互いに密着した状態を維持させることができる。したがって、鏡筒1内の真空状態が解除されない限り、鏡筒1と観察対象物Xとは互いに離れることがない。
ところで、観察対象物Xの表面の凹凸具合によっては前記シール部材7を介しての鏡筒1と観察対象物Xとの密着度が低いがために、鏡筒1内を真空状態に保ち観察対象物Xを吸着させたとしても鏡筒1と観察対象物Xとが確実に固定されない恐れがある。そこで、観察対象物X表面の凹凸具合ごとに異なる形状のシール部材7を予め用意しておき、これらを観察対象物X表面の凹凸具合に応じて適宜に交換することのできるようになっている。図4は、観察対象物X表面の凹凸具合毎に異なる形状からなるシール部材7の一実施例を示す断面図である。
図4(a)に示すシール部材7は比較的に滑らかな表面の観察対象物Xとの固定に用いるものであり、当該シール部材7は断面円状部分から円弧部7aが観察対象物Xとの接触側(すなわち観察面側)に突出した形状に形成されてなる。鏡筒1内部の真空状態の進行に応じて、この突出した円弧部7aが押し潰されるように変形する。それにより、前記円弧部7aと観察対象物Xとの接触面がより大きくなるように拡がった状態で鏡筒1に観察対象物Xが吸着され、また円弧部7aと観察対象物X表面との間には隙間がなく鏡筒1内部と外部との間で空気の出入りがない高真空状態に鏡筒1内を保つことができることから、鏡筒1と観察対象物Xとは確実に密着固定される。
図4(b)に示すシール部材7は小さな凹凸のある少し粗い表面の観察対象物Xとの固定に用いるものであり、当該シール部材7は観察対象物Xとの接触側(すなわち観察面側)に断面円状部分から鏡筒1の外周側に向かって拡げられるように、また先端部側が薄い押え板部7bを有した形状に形成されてなる。鏡筒1内部の真空状態の進行に応じて、この押え板部7bが観察対象物Xに押し潰されてより外周側へと拡げられるように変形する。それにより、前記押え板部7bと観察対象物Xとの接触面がより大きくなるように拡がった状態で鏡筒1に観察対象物Xが吸着され、また押え板部7bと観察対象物X表面との間には隙間がなく鏡筒1内部と外部との間で空気の出入りがない高真空状態に鏡筒1内を保つことができることから、小さな凹凸のある少し粗い表面の観察対象物Xであっても鏡筒1と観察対象物Xとは確実に密着固定される。
図4(c)に示すシール部材は凹凸の大きな粗い表面の観察対象物Xとの固定に用いるものであり、当該シール部材7は観察対象物Xとの接触側(すなわち観察面側)に断面円状部分から鏡筒1の外周側及び内周側それぞれに向かって拡げられるように枝別れした2又の押え板部7cを有した形状に形成されてなる。鏡筒1内部の真空状態の進行に応じて、この押え板部7cが観察対象物Xに押し潰されてより外周側及び内周側へと拡げられるように変形する。それにより、前記枝別れした2又の押え板部7cが観察対象物X表面上の凹凸に沿って密着されるようにして互いの接触面がより大きい状態で鏡筒1に観察対象物Xが吸着され、こうした押え板部7cと観察対象物X表面との間には隙間がなく鏡筒1内部と外部との間で空気の出入りがない高真空状態に鏡筒1内を保つことができることから、凹凸の大きな粗い表面の観察対象物Xであっても鏡筒1と観察対象物Xとは確実に密着固定される。
なお、上記の各シール部材7は必ずしも上記した表面の観察対象物Xとの固定のみに用いることに限らない。例えば、図4(c)に示したシール部材7を、比較的に滑らかな表面の観察対象物Xとの固定や小さな凹凸のある少し粗い表面の観察対象物Xとの固定に用いてもよい。
観察対象物Xの表面に電子線Zが照射されると、鏡筒1にシール部材7を介して密着固定(詳しくは吸着)されている観察対象物Xから二次電子及び反射電子が放出される。該観察対象物Xから発せられた二次電子及び反射電子は、二次電子検出器S1及び反射電子検出器S2によりそれぞれ検出される。
前記二次電子検出器S1は、シンチレータ8とライトガイドFと光電子増倍管Mとを含んでなる。そのうちのシンチレータ8は鏡筒1内部に敷設される一方で、前記シンチレータ8とライトガイドFを介して接続される長尺形状の光電子倍増管Mは鏡筒1の側面部に敷設されることなく、鏡筒1と別途独立した状態で鏡筒1の外部に分離配置される。この実施例において、鏡筒1内部に敷設された前記シンチレータ8と鏡筒1外部に分離配置された前記光電子倍増管Mとを接続するライトガイドFとしては、フレキシブルな光ファイバーケーブル(光信号伝送路)が用いられる。フレキシブルな光ファイバーケーブルを用いることで、前記光電子倍増管Mを鏡筒1外部の任意の位置に配置しても観察対象物Xに対する鏡筒1の移動が大きく制限されることのないようにしている。
前記シンチレータ8で取得(受光)された二次電子は、光ファイバーケーブル内を通って光電子倍増管Mへと伝送される。光電子倍増管Mは伝送されてきた二次電子を電気的な検知信号へと変換し、該検知信号を電気的に接続された後述するコントローラ部E(図1参照)に出力する。このように、本実施例においては、長尺形状の光電子倍増管Mを鏡筒1に直接敷設することなく、光電子倍増管Mを鏡筒1外部に分離配置してフレキシブルな光ファイバーケーブルからなるライトガイドFを介して鏡筒1内部に配置されるシンチレータ8と接続するようにしたことにより、鏡筒1を従来のような側面部が大きく突出した形状(図6参照)に形成する必要がないので鏡筒1を小型化できると共に、鏡筒1自体に光電子倍増管Mを支持させなくてよいので鏡筒1の強度が小さくてすむ、つまりは鏡筒1を軽量化できる。
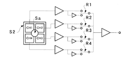
他方、前記反射電子検出器S2は鏡筒1内部において観察対象物Xの直上に位置するように敷設されており、反射電子検出器S2の中央部には走査レンズ部4によってその進行方向の向きが偏向制御された電子線Zを通すための孔Saが設けられている。ここで、前記反射電子検出器S2について図5を用いて説明する。図5は、反射電子検出器の一実施例を示す概念図である。ここに示す反射電子検出器S2は反射電子の検知領域を4分割にした4分割反射電子検出器であって、図示のように電子線Zを通すための孔Saを中心にこれを囲むようにして4分割された検知領域(チャンネルCH1〜CH4)毎に設けられている極性切換チャンネルR1〜R4によって極性「+」,「−」を自由に設定できるようにしてある。例えば、4チャンネルCH1〜CH4全ての極性切換チャンネルR1〜R4を「+」に設定した場合には組成像が表示され、4チャンネルCH1〜CH4のうちの2チャンネル又は1チャンネルの極性切換チャンネル(R1〜R4)を「−」にその他のチャンネルの極性切換チャンネル(R1〜R4)を「+」に設定した場合には凹凸像が表示される。すなわち、図5に示す反射電子検出器S2は、前記極性切換チャンネルR1〜R4の設定に従って組成像(コンポ像)及び凹凸像(トポ像)のいずれをも表示することが可能となっている。当該反射電子検出器S2は検出した反射電子に応じた電気的な検知信号を生成し、該検知信号を信号線L及びコネクタ9を介して電気的に接続された後述するコントローラ部E(図1参照)に出力する。
また、従来では試料の観察対象位置(観察面)を移動する際に電子線Zの中心軸は固定位置であるがゆえに、載置台Oを移動させることによって前記載置台O上の試料を移動させるようにしている。そして載置台Oに取り付けられているファラデーカップにより計測される電子線の強度分布に従い、載置台Oの移動に伴う試料と電子線Zの中心軸との相対的位置を把握するようにしている。しかし、本願発明では載置台Oを具えていない代わりに走査レンズ部4を球面座Qにより移動させることによって電子線Zの偏向制御を行っており、従来あった電子線Zの中心軸を割り出すためのファラデーカップを有していない。そのため、ファラデーカップに代わって走査レンズ部4の移動にあわせて変位する電子線Zの中心軸の位置を正しく把握させるための機構が必要である。
そこで、この実施形態においては、コンデンサレンズ3によって集束された電子線Zの中心軸のある位置を把握してその位置に走査レンズ部4の中心が位置するように調整(つまり光軸調整;センタリング)を行うために、上記した4分割反射電子検出器S2を使用する。その場合、電子線Zを照射することに応じて得られる反射電子が前記分割した4つの各検知領域(チャンネルCH1〜CH4)に均等に分散した状態として検出された場合に、コンデンサレンズ3によって集束された電子線Zの中心軸と一致する位置に走査レンズ部4の中心が正しくセンタリングされたと判定すればよい。
ところで、前記球面座Qによる走査レンズ部4の動作に従っての電子線Zの走査だけでは移動範囲が限られることから、観察対象物Xを密着固定した状態のままでは観察可能な範囲が限られる。従来においては試料室内において試料(観察対象物X)は垂直方向及び水平方向に移動可能であってさらには傾斜及び回転可能な載置台O(図6参照)に載せられており、該載置台Oを駆動制御することで試料(観察対象物X)上における大幅な観察位置の変更を行うことのできるようになっていることは既に述べたとおりである。
しかし、図1から理解できるように、本願発明に係る装置では鏡筒1の開口先端部側(図中では下方側)にそもそも試料室が具えられておらずまた載置台も具えられていない。本願発明に係る装置では鏡筒1の開口先端部に観察対象物Xを吸着により密着固定させて電子線Zの照射を行うようにしているため、装置自体を観察対象物X上の任意の観察位置に移動させる必要がある。そうするには一旦観察対象物Xから鏡筒1を離す必要が有るが、本発明では鏡筒1と観察対象物Xとは鏡筒1内が高真空状態に保たれることによってシール部材7を介して吸着されているだけであるから、例えば鏡筒1自体を傾けるなどして鏡筒1と観察対象物Xとの密着状態を解除して鏡筒1内に外部から空気を入れてやるようにすれば、鏡筒1内の真空状態が解除されて鏡筒1と観察対象物Xとを離すことができ、鏡筒1を観察対象物Xの任意の位置に観察面を移動することが簡単にできるようになる。
上記のようにして真空状態を解除して鏡筒1を観察対象物Xの任意の位置に移動させた場合、観察を行うために再度鏡筒1内を高真空状態にする必要があるのは当然である。その際の時間の削減を目的として、本実施形態では鏡筒1内を2つの部屋100,200に分ける隔壁Hを設けてある。上記隔壁Hの中央部には電子線Zを通すための孔Haが空いている。鏡筒1と真空ポンプ(図示せず)とを繋ぐための上記した排出路Pは、この隔壁Hによって分けられる2つの部屋100,200毎に設けられる。前記2つの部屋100,200のうち鏡筒1の開口先端部1a側(図中では下段側)の部屋200と真空ポンプとを繋ぐ排出路の途中には、遮断扉T(シャッター)が設けてある。
前記遮断扉Tは鏡筒1と観察対象物Xとを相対的に移動させることのない電子線Zの照射時(つまり観察時)においては排出路Pを開放した状態に制御されるようになっており、上段側の部屋100(第1の部屋)と同様に開口先端部1a側の部屋200(第2の部屋)についても真空ポンプによって高真空状態が保たれるようになっている。他方、前記遮断扉Tは鏡筒1と観察対象物Xとを相対的に移動させる電子線Zが照射されていない時(つまり観察していない時)においては排出路Pを閉鎖した状態に制御されるようになっており、開口先端部1a側の部屋200を上段側の部屋100に比べて低真空状態とすることによって鏡筒1と観察対象物Xとを離しやすくするようにしている。また、鏡筒1内を2つの部屋100,200に分けていることから、鏡筒1を観察対象物1の任意の位置に移動した後に再度鏡筒1内を高真空状態にする際には、上段側の部屋100に比較して低真空状態となった開口先端部1a側の部屋200をできる限り速くに高真空状態とすればよいことから、鏡筒1内を高真空状態にするのに係る時間を節約することができる。
図1の説明に戻って、観察対象物Xに電子線Zを照射するために、上記した鏡筒1内に内装される電子銃2や走査偏向手段(この実施形態ではコンデンサレンズ3及び走査レンズ部4が該当する)に対する制御命令は、制御装置群Sに含まれるコントローラ部Eから行われる。前記コントローラ部Eは例えばCPU、ROM、RAM等を含んでなるコンピュータであって、鏡筒1内における電子線Zの走査に伴う観察対象物X表面への電子線Zの照射を制御するために、電子線制御部B及び走査レンズ部移動制御部Cに対して制御命令を送る。
前記電子線制御部Bは、コントローラ部Eからの制御命令に従って電子線Zの発生オン/オフを行うよう鏡筒1内の電子銃2を制御する。走査レンズ部移動制御部Cは、コントローラ部Eからの制御命令に従って電子線Zの偏向を行うよう鏡筒1内における球面座Qによる走査レンズ部4の移動操作を行う動作機構を制御する。また、コントローラ部Eは鏡筒1の外部に別途配置されている各検出器S1,S2から検出された二次電子及び反射電子に応じた信号を受信し、該受信した信号に基づいて組成像(コンポ像)や凹凸像(トポ像)などを表示部Dに表示する。使用者は、該表示部Dに表示されたこれらの像を見て観察対象物Xの観察を行うことができる。
なお、ここでは図示を省略したが、制御装置群Sは各部を動作させるための電源、真空ポンプのオン/オフを制御する真空ポンプ制御部、鏡筒1と真空ポンプとを繋ぐ排出路Pの途中に配置された遮断扉Tの開閉を制御する扉制御部などを含んでいてよい。勿論、上記した以外の制御部など他の構成要素を含んでいてよい。
以上のように、本実施形態においては鏡筒1の開口先端部1aに観察対象物Xと直接接触するシール部材7を設ける。真空ポンプにより鏡筒1内が真空に引かれると、前記シール部材7が観察対象物Xに接触した状態のまま変形して鏡筒1に当該観察対象物Xを吸着させる。このとき、鏡筒1内及び観察対象物X表面上における真空状態が確保される。前記シール部材7を用いての観察対象物Xの吸着により、前記鏡筒1を観察対象物Xに直接接触させた状態で密着固定することができる。すなわち、従来の走査型電子顕微鏡が有していた閉鎖可能な試料室をなくしたかわりに、観察対象物Xに対して直接鏡筒1の開口先端部1aを吸着させて観察対象物Xと顕微鏡本体部である鏡筒1とが相対的に移動しないように密着固定させる。
こうすると、試料室のない小型・軽量な鏡筒を有する電子顕微鏡であるにも関わらず、鏡筒1内及び観察対象物X表面上における真空状態を容易に確保することができるし、また鏡筒1あるいは観察対象物X自体が振動したとしても鏡筒1と観察対象物Xとは相対的に移動しないことから画像のぶれ等の観察時の悪影響は生じない。こうして、鏡筒1を観察対象物Xに対し直接マウントして電子線Zを照射できるようにしたので、従来においては試料室に入りきらない大きさの観察対象物Xであっても特に加工を施すことなく現状状態そのままでの観察を行うことができるようになる。
二次電子検出器S1を構成するシンチレータ8を鏡筒1内部に配置する一方で、光電子倍増管Mを鏡筒1外部に鏡筒1とは別途独立に分離配置したことから、鏡筒1に直接光電子倍増管Mを敷設する場合に比べて鏡筒1を小型化することができ、また鏡筒1自体に強度が必要とされないことから鏡筒1を軽量化することができる。また、コンデンサレンズ3と対物レンズ6を永久磁石J1,J2を用いて形成したことにより、磁場コイルで形成されたコンデンサレンズ及び対物レンズを用いる場合に比べてコンデンサレンズや対物レンズを小さく形成することができ、それにより鏡筒1自体の小型化・軽量化を図れる。さらには、走査コイル5と対物レンズ6とを一体構成した走査レンズ部4を球面座Qに従って一定の球面上を移動させて、鏡筒1内における電子線Zの進行方向を制御して視野移動させるようにしたので、試料室のない鏡筒1であるにも関わらず、観察対象物X上における大幅な観察位置(観察面)の変更を行うことができる。
また、本願発明に係る走査型電子顕微鏡の鏡筒1は小型・軽量であるので、本装置はアーム部の先端などに取り付けやすく、また開口先端部の向きが下方のみに制限されずにどのような向きであっても観察を行うことができることから、例えば自動車(完成車)全体つまりは自動車の上面、下面、側面などやエンジン内部あるいは室内などに使用されている部材を観察しやすい、という利点がある。
以上、図面に基づいて実施形態の一例を説明したが、本発明はこれに限定されるものではなく、様々な実施形態が可能であることは言うまでもない。また、本発明は走査型電子顕微鏡の使用目的に限定するものではない。例えば、電子ビーム描画装置にも利用可能である。その他、本発明の要旨を逸脱しない範囲で、種々変形して実施することが可能である。
1…鏡筒
1a…開口先端部
2…電子銃
3…コンデンサレンズ
4…走査レンズ部
5…走査コイル
6…対物レンズ
7…シール部材
8…シンチレータ
9…コネクタ
10,11…コア
300…試料室
A…制御装置群
B…電子線制御部
C…走査レンズ部移動制御部
D…表示部
E…コントローラ部
F…ライトガイド
H…隔壁
J1,J2…永久磁石
K…開閉扉
L…信号線
M…光電子倍増管
O…載置台
P…排出路
Q…球面座
R1〜R4…極性切換スイッチ
S1…二次電子検出器
S2…反射電子検出器
T…遮断扉
X…試料(観察対象物)
Z…電子線(電子ビーム)

Claims (6)

  1. 電子線を発生する電子銃と、
    前記電子銃から発生される電子線を集束する集束レンズと、
    前記集束した電子線を偏向する走査コイルと、
    前記偏向した電子線の焦点を観察対象物にあわせる対物レンズと、
    前記対物レンズを前記走査コイルと共に一体的に移動させる移動機構と、
    前記電子線の照射に伴い観察対象物から放出される二次電子を検出する二次電子検出器及び前記電子線の照射に伴い観察対象物から放出される反射電子を検出する反射電子検出器の少なくともいずれか一方と、
    前記電子銃から発生された電子線の進行方向側の先端部が開口した鏡筒であって、当該鏡筒内に少なくとも前記電子銃と前記集束レンズと前記走査コイルと前記対物レンズと前記移動機構とを含んでなるものと、
    前記鏡筒の開口先端部に設けられ前記観察対象物と接触させるシール部材と、
    前記鏡筒内を真空に引くことに従い前記シール部材を介して前記鏡筒に観察対象物を吸着させる真空手段と
    を備えてなり、
    前記移動機構は、前記対物レンズ及び前記走査コイルを球面体上で移動させるための駆動モータと、前記球面体を形成する球面座とを少なくとも含み、該球面座はその球面体の中心点が前記集束レンズの焦点位置に一致する曲率に形成されてなり、
    前記移動機構によって前記対物レンズと前記走査コイルとを一体的に移動することにより、前記鏡筒に観察対象物を吸着させたまま前記鏡筒内における前記電子線の進行方向を制御して視野移動することを特徴とする電子顕微鏡。
  2. 前記二次電子検出器はシンチレータとライトガイドと光電子増倍管とを少なくとも含んでなるものであって、前記光電子増倍管を前記鏡筒外部に前記鏡筒とは別途独立に分離配置すると共に、前記鏡筒内部に敷設された前記シンチレータにより取得された二次電子を前記光電子増倍管に伝送する前記ライトガイドをフレキシブルな素材からなる光信号伝送路で形成したことを特徴とする請求項1に記載の電子顕微鏡。
  3. 前記集束レンズ及び前記対物レンズの少なくともいずれか一方は永久磁石を用いて形成してなることを特徴とする請求項1又は2に記載の電子顕微鏡。
  4. 前記集束レンズ及び前記対物レンズの少なくともいずれか一方は、前記電子銃から発生された電子線を通すための孔を有する永久磁石をコアが囲むと共に、該コアの前記孔に面した端部を前記永久磁石側に傾いた形状に形成してなることを特徴とする請求項3に記載の電子顕微鏡。
  5. 前記反射電子検出器は、電子線照射に従い観察対象物から放出される反射電子を検出する検知領域を4分割した検出器であることを特徴とする請求項1乃至のいずれかに記載の電子顕微鏡。
  6. 前記鏡筒内を2つの部屋に隔離する隔壁と、前記真空手段と前記2つの部屋それぞれとを結ぶ排出路と、前記2つの部屋のうち開口先端部側の部屋と前記真空手段とを結ぶ排出路を開閉する扉とを設けたことを特徴とする請求項1乃至のいずれかに記載の電子顕微鏡。
JP2010274626A 2010-12-09 2010-12-09 走査型電子顕微鏡 Expired - Fee Related JP5259688B2 (ja)

Priority Applications (3)

Application Number Priority Date Filing Date Title
JP2010274626A JP5259688B2 (ja) 2010-12-09 2010-12-09 走査型電子顕微鏡
US13/313,606 US8610061B2 (en) 2010-12-09 2011-12-07 Scanning electron microscope
DE102011087955.2A DE102011087955B4 (de) 2010-12-09 2011-12-08 Raster-Elektronen-Mikroskop

Applications Claiming Priority (1)

Application Number Priority Date Filing Date Title
JP2010274626A JP5259688B2 (ja) 2010-12-09 2010-12-09 走査型電子顕微鏡

Publications (2)

Publication Number Publication Date
JP2012124052A JP2012124052A (ja) 2012-06-28
JP5259688B2 true JP5259688B2 (ja) 2013-08-07

Family

ID=46144852

Family Applications (1)

Application Number Title Priority Date Filing Date
JP2010274626A Expired - Fee Related JP5259688B2 (ja) 2010-12-09 2010-12-09 走査型電子顕微鏡

Country Status (3)

Country Link
US (1) US8610061B2 (ja)
JP (1) JP5259688B2 (ja)
DE (1) DE102011087955B4 (ja)

Families Citing this family (10)

* Cited by examiner, † Cited by third party
Publication number Priority date Publication date Assignee Title
US8476585B2 (en) * 2011-03-02 2013-07-02 Gatan, Inc. Microtome utilizing a movable knife in a retardation field scanning electron microscope and a retardation field scanning electron microscope including the same
JP5759815B2 (ja) * 2011-07-19 2015-08-05 株式会社日立ハイテクノロジーズ 電子顕微鏡
US8735815B2 (en) 2012-06-22 2014-05-27 Edax, Inc. Method and apparatus for electron pattern imaging
JP6309195B2 (ja) * 2013-02-18 2018-04-11 株式会社ホロン 走査型電子顕微鏡および検査装置
DE102017123288B4 (de) * 2017-10-06 2019-11-21 Airbus Defence and Space GmbH Vorrichtung und Verfahren zum Prüfen elektronischer Bauelemente
JP6669795B2 (ja) * 2018-03-15 2020-03-18 株式会社ホロン 走査型電子顕微鏡および検査装置
CN112349570B (zh) * 2020-11-09 2023-09-26 宁波工程学院 一种新型的扫描电子显微镜
US12542253B2 (en) * 2023-02-28 2026-02-03 ICT Integrated Circuit Testing Gesellschaft für Halbleiterprüftechnik mbH Charged particle optics, charged particle beam apparatus, and method for scanning a charged particle beam
WO2025131453A1 (en) * 2023-12-18 2025-06-26 Asml Netherlands B.V. Module and charged particle-optical device
EP4576154A1 (en) * 2023-12-18 2025-06-25 ASML Netherlands B.V. Source module and charged particle-optical device

Family Cites Families (19)

* Cited by examiner, † Cited by third party
Publication number Priority date Publication date Assignee Title
FR2316035A1 (fr) 1975-07-02 1977-01-28 Sciaky Sa Installation d'usinage sous vide par faisceau electronique
JPS5632656A (en) * 1979-08-23 1981-04-02 Mitsubishi Heavy Ind Ltd Scanning electron microscope device
CS267642B1 (en) 1987-12-18 1990-02-12 Josef Ing Melkes Portable rastering electron microscope
JPH04349964A (ja) 1991-02-06 1992-12-04 Toshiba Lighting & Technol Corp 溶液の塗付装置
JPH06215716A (ja) * 1993-01-18 1994-08-05 Hitachi Ltd 走査電子顕微鏡
JPH07142022A (ja) * 1993-11-19 1995-06-02 Hitachi Ltd 集束イオンビーム装置及び荷電粒子検出器
SG74599A1 (en) 1997-09-27 2000-08-22 Inst Of Material Res & Enginee Portable high resolution scanning electron microscope column using permanent magnet electron lenses
EP1332509A4 (en) * 2000-10-18 2007-06-06 Fei Co CONCENTRATION ION BEAM SYSTEM
JP4372339B2 (ja) * 2000-12-28 2009-11-25 株式会社島津製作所 凹凸像形成装置及び電子線分析装置
US6797953B2 (en) * 2001-02-23 2004-09-28 Fei Company Electron beam system using multiple electron beams
JP2004031207A (ja) * 2002-06-27 2004-01-29 Canon Inc 電子線照射装置および走査型電子顕微鏡装置
NL1023260C1 (nl) 2003-04-24 2004-10-27 Fei Co Deeltjes-optisch apparaat met een permanent magnetische lens en een elektrostatische lens.
JP4349964B2 (ja) 2003-09-10 2009-10-21 株式会社日立ハイテクノロジーズ 小型電子銃
NL1026006C2 (nl) 2004-04-22 2005-10-25 Fei Co Deeltjes-optisch apparaat voorzien van lenzen met permanent magnetisch materiaal.
JP4581100B2 (ja) * 2006-01-20 2010-11-17 財団法人大阪産業振興機構 電子顕微鏡用の標体の作製方法およびそれを用いた試料観察方法、ならびに試料観察装置
JP4795847B2 (ja) * 2006-05-17 2011-10-19 株式会社日立ハイテクノロジーズ 電子レンズ及びそれを用いた荷電粒子線装置
CZ298798B6 (cs) 2007-07-30 2008-01-30 Tescan, S. R. O. Zarízení pro prostorové zobrazování vzorku v reálném case
JP2010274626A (ja) 2009-06-01 2010-12-09 Pilot Ink Co Ltd 塗布具
US8994885B2 (en) * 2010-04-19 2015-03-31 Citizen Holdings Co., Ltd. Pre-edging lens and method for manufacturing edged lens

Also Published As

Publication number Publication date
US20120145899A1 (en) 2012-06-14
US8610061B2 (en) 2013-12-17
DE102011087955A1 (de) 2012-06-14
DE102011087955B4 (de) 2019-06-19
JP2012124052A (ja) 2012-06-28

Similar Documents

Publication Publication Date Title
JP5259688B2 (ja) 走査型電子顕微鏡
JP3776887B2 (ja) 電子線装置
JP6814282B2 (ja) 荷電粒子線装置
JP2002042713A (ja) 対物レンズ内検出器を備えた走査電子顕微鏡
JP4354197B2 (ja) 走査電子顕微鏡
JP2004031207A (ja) 電子線照射装置および走査型電子顕微鏡装置
US11640897B2 (en) Charged particle beam device
JP2008198471A (ja) 荷電粒子ビーム装置
JP2012169091A (ja) 走査型電子顕微鏡
JP2003151484A (ja) 走査型荷電粒子ビーム装置
US10460904B2 (en) Imaging device for imaging an object and for imaging a structural unit in a particle beam apparatus
JP4621097B2 (ja) 電子線装置およびその制御方法
JP2002324510A (ja) 走査電子顕微鏡
JP4988308B2 (ja) ガス増幅形検出器およびそれを用いた電子線応用装置
WO2021001935A1 (ja) 荷電粒子線装置
JP2001006591A (ja) 荷電粒子ビーム装置
US4121100A (en) Electron microscope
JP5896870B2 (ja) 走査電子顕微鏡
JP4146103B2 (ja) 電界放射型電子銃を備えた電子ビーム装置
JP7604603B1 (ja) 対物レンズ及びそれを含む荷電粒子線装置
JP4079503B2 (ja) 分析電子顕微鏡
JP4365765B2 (ja) 電子銃及び電子ビーム装置
JP7307768B2 (ja) 走査電子顕微鏡および対物レンズ
JP5210088B2 (ja) 電子ビーム装置
JPH11154478A (ja) 電子顕微鏡装置

Legal Events

Date Code Title Description
A977 Report on retrieval

Free format text: JAPANESE INTERMEDIATE CODE: A971007

Effective date: 20121019

A131 Notification of reasons for refusal

Free format text: JAPANESE INTERMEDIATE CODE: A131

Effective date: 20121030

A521 Request for written amendment filed

Free format text: JAPANESE INTERMEDIATE CODE: A523

Effective date: 20121221

A131 Notification of reasons for refusal

Free format text: JAPANESE INTERMEDIATE CODE: A131

Effective date: 20130129

A521 Request for written amendment filed

Free format text: JAPANESE INTERMEDIATE CODE: A523

Effective date: 20130228

TRDD Decision of grant or rejection written
A01 Written decision to grant a patent or to grant a registration (utility model)

Free format text: JAPANESE INTERMEDIATE CODE: A01

Effective date: 20130416

A61 First payment of annual fees (during grant procedure)

Free format text: JAPANESE INTERMEDIATE CODE: A61

Effective date: 20130424

FPAY Renewal fee payment (event date is renewal date of database)

Free format text: PAYMENT UNTIL: 20160502

Year of fee payment: 3

R150 Certificate of patent or registration of utility model

Ref document number: 5259688

Country of ref document: JP

Free format text: JAPANESE INTERMEDIATE CODE: R150

Free format text: JAPANESE INTERMEDIATE CODE: R150

LAPS Cancellation because of no payment of annual fees