JP5259265B2 - 回転コネクタ装置 - Google Patents

回転コネクタ装置 Download PDF

Info

Publication number
JP5259265B2
JP5259265B2 JP2008160647A JP2008160647A JP5259265B2 JP 5259265 B2 JP5259265 B2 JP 5259265B2 JP 2008160647 A JP2008160647 A JP 2008160647A JP 2008160647 A JP2008160647 A JP 2008160647A JP 5259265 B2 JP5259265 B2 JP 5259265B2
Authority
JP
Japan
Prior art keywords
wheel
rotation
attachment
steering
engagement
Prior art date
Legal status (The legal status is an assumption and is not a legal conclusion. Google has not performed a legal analysis and makes no representation as to the accuracy of the status listed.)
Expired - Fee Related
Application number
JP2008160647A
Other languages
English (en)
Other versions
JP2010000868A (ja
Inventor
浩 大石
Current Assignee (The listed assignees may be inaccurate. Google has not performed a legal analysis and makes no representation or warranty as to the accuracy of the list.)
Valeo Japan Co Ltd
Original Assignee
Niles Co Ltd
Priority date (The priority date is an assumption and is not a legal conclusion. Google has not performed a legal analysis and makes no representation as to the accuracy of the date listed.)
Filing date
Publication date
Application filed by Niles Co Ltd filed Critical Niles Co Ltd
Priority to JP2008160647A priority Critical patent/JP5259265B2/ja
Priority to US12/457,618 priority patent/US7798816B2/en
Priority to DE102009025371A priority patent/DE102009025371A1/de
Publication of JP2010000868A publication Critical patent/JP2010000868A/ja
Application granted granted Critical
Publication of JP5259265B2 publication Critical patent/JP5259265B2/ja
Expired - Fee Related legal-status Critical Current
Anticipated expiration legal-status Critical

Links

Images

Classifications

    • BPERFORMING OPERATIONS; TRANSPORTING
    • B62LAND VEHICLES FOR TRAVELLING OTHERWISE THAN ON RAILS
    • B62DMOTOR VEHICLES; TRAILERS
    • B62D1/00Steering controls, i.e. means for initiating a change of direction of the vehicle
    • B62D1/02Steering controls, i.e. means for initiating a change of direction of the vehicle vehicle-mounted
    • B62D1/16Steering columns
    • BPERFORMING OPERATIONS; TRANSPORTING
    • B62LAND VEHICLES FOR TRAVELLING OTHERWISE THAN ON RAILS
    • B62DMOTOR VEHICLES; TRAILERS
    • B62D15/00Steering not otherwise provided for
    • B62D15/02Steering position indicators ; Steering position determination; Steering aids
    • B62D15/021Determination of steering angle
    • B62D15/0215Determination of steering angle by measuring on the steering column
    • B62D15/022Determination of steering angle by measuring on the steering column on or near the connection between the steering wheel and steering column
    • GPHYSICS
    • G01MEASURING; TESTING
    • G01BMEASURING LENGTH, THICKNESS OR SIMILAR LINEAR DIMENSIONS; MEASURING ANGLES; MEASURING AREAS; MEASURING IRREGULARITIES OF SURFACES OR CONTOURS
    • G01B21/00Measuring arrangements or details thereof, where the measuring technique is not covered by the other groups of this subclass, unspecified or not relevant
    • G01B21/22Measuring arrangements or details thereof, where the measuring technique is not covered by the other groups of this subclass, unspecified or not relevant for measuring angles or tapers; for testing the alignment of axes
    • GPHYSICS
    • G01MEASURING; TESTING
    • G01DMEASURING NOT SPECIALLY ADAPTED FOR A SPECIFIC VARIABLE; ARRANGEMENTS FOR MEASURING TWO OR MORE VARIABLES NOT COVERED IN A SINGLE OTHER SUBCLASS; TARIFF METERING APPARATUS; MEASURING OR TESTING NOT OTHERWISE PROVIDED FOR
    • G01D11/00Component parts of measuring arrangements not specially adapted for a specific variable
    • G01D11/24Housings ; Casings for instruments
    • G01D11/245Housings for sensors

Landscapes

  • Engineering & Computer Science (AREA)
  • Chemical & Material Sciences (AREA)
  • Combustion & Propulsion (AREA)
  • Transportation (AREA)
  • Mechanical Engineering (AREA)
  • Physics & Mathematics (AREA)
  • General Physics & Mathematics (AREA)
  • Steering Controls (AREA)
  • Measurement Of Length, Angles, Or The Like Using Electric Or Magnetic Means (AREA)

Description

本発明は、自動車の車体とステアリング・ホイールとの間を電気的に接続する回転コネクタ装置に関する。
従来のこの種の回転コネクタ装置としては、例えば図10、図11に示すものがある。この従来の回転コネクタ装置101は、ステアリング・シャフトに装着された車体側のコンビネーション・スイッチ103に取り付けられている。回転コネクタ装置101とコンビネーション・スイッチ103との間には、自動車の各種制御のためにステアリング・ホイール111の操作角を検出する舵角センサ105が介設されている。
回転コネクタ装置101の回転側部材であるディスク107には、一対の嵌合ボス109が突設され、ステアリング・ホイール111側に係合し、ディスク107がステアリング・ホイール111に連動回転可能となっている。
回転コネクタ装置101と舵角センサ105とは、嵌合部113により結合されている。嵌合部113は、ディスク107とは別体であり、ディスク107に装着されて舵角センサ105まで延びている。嵌合部113の外周面には、係合溝113aが形成され、舵角センサ105の減速歯車の内周面に形成されたジョイント突部105aに係合する。
従って、ステアリング・ホイール111が回転すると嵌合ボス109、ディスク107、係合溝113a、及びジョイント突部105aを介して舵角センサ105に回転伝達され、操舵角を検出することができる。
しかし、嵌合部113は、ディスク107に装着されると共に係合溝113及びジョイント突部105aの係合を介してディスク107から舵角センサ105へ回転を伝達する構造であるため、ステアリング・ホイール111とディスク107との間、嵌合部113と舵角センサ105との間に加え、ディスク107と嵌合部113との間の3カ所の係合を介して回転伝達することになるため、それぞれの部材間に発生するガタにより回転角伝達に大きな誤差を生じる恐れがある。
このような大きな誤差は、ステアリング・ホイール111の操舵に対して舵角センサ105の舵角検出誤差の増大となって現れ、タイムリーな車両制御に限界を生じるという問題があった。
特開2000−3640号公報
解決しようとする問題点は、ステアリング・ホイール111と舵角センサ105との間の回転伝達に大きな誤差を生じて舵角検出誤差の増大となって現れ、タイムリーな車両制御に限界を生じる点である。
本発明の回転コネクタ装置は、ステアリング・ホイールと舵角センサとの間の回転伝達の誤差を抑制して舵角検出誤差の増大を抑え、タイムリーな車両制御を行わせるため、静止側に支持されステアリング・シャフトを貫通させる固定側部材と、前記ステアリング・シャフトを貫通させる回転側部材と、前記固定側部材に対して前記回転側部材を回転自在に結合するとともに該回転側部材と連動回転するアタッチメントとを備え、前記アタッチメントに、舵角センサと係合して回転を伝達するセンサ係合部を設けた回転コネクタ装置であって、前記アタッチメントに、ステアリング・ホイールと係合するホイール係合部を設けたことを最も主要な特徴とする。
本発明は、かかる主要な特徴により、ステアリング・ホイールと舵角センサとの間は、ステアリング・ホイールとアタッチメントとの間、アタッチメントと舵角センサとの間の2カ所の係合により回転伝達をすることができ、舵角検出誤差の増大を抑え、タイムリーな車両制御を行わせることができる。
ステアリング・ホイールと舵角センサとの間の回転伝達の誤差を抑制して舵角検出誤差の増大を抑え、タイムリーな車両制御を行わせるという目的を、アタッチメントにステアリング・ホイールと係合するホイール係合部を設けることで実現した。
図1は、本発明の一実施形態を適用した回転コネクタ装置の分解斜視図、図2は、回転コネクタ装置をステアリング・ホイール側から見た斜視図、図3(a)は、回転コネクタ装置を舵角センサ側から見た斜視図、(b)は、舵角センサを回転コネクタ装置側から見た平面図である。
この図1〜図3に示す回転コネクタ装置1は、自動車のステアリング・ホイール側のホーン、エア・バッグ装置等を車体側へ電気的に接続するものである。回転コネクタ装置1は、固定側部材としてのボディ3と回転側部材としてのロータ5と遊動スペーサ7と図示しないフラット・ケーブルとを備えている。
前記ボディ3は、ボトム・カバー9に、ケース11を係合させたものである。ボトム・カバー9は、ステアリング・コラム(図示せず)に固定したコンビネーション・スイッチ側に固定される。
前記ボトム・カバー9は、樹脂等によってドーナツ形状に形成され、中央部にステアリング・シャフトを貫通させる固定側孔部13が形成され、側部に固定側コネクタ部15を構成する固定側ターミナル支持部17が形成されている。固定側ターミナル支持部17に、固定側ターミナル21を保持した固定側ホルダ19が支持され、固定側コネクタ部15が構成される。
前記ロータ5は、ステアリング・ホイールの下面側に配置され、ステアリング・ホイールに対し連動回転可能となっている。ロータ5は、樹脂等によってドーナツ形状に形成され、中央部にステアリング・シャフトを貫通させる回転側孔部23が形成され、側部に回転側コネクタ部25を構成する回転側ターミナル支持部27が形成されている。回転側ターミナル支持部27に、回転側ターミナル31を保持した回転側ホルダ29が支持され、回転側コネクタ部25が構成される。
このロータ5は、ボディ3のボトム・カバー9にアタッチメント33を介し回転自在に結合されている。この結合のために、回転側孔部23の内周には、結合突起35が例えば周方向90°配置で4個所に形成されている。
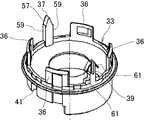
図4は、アタッチメントの斜視図である。
前記アタッチメント33は、樹脂によって筒状に形成され、図1〜図4のように、軸方向の一側に周方向90°配置で4箇所の弾性舌片36と該弾性舌片36間に対向配置された2箇所のステアリングホイール係合部としてホイール係合突起37,39とを備え、軸方向の他側に2個所の舵角センサ係合部としてセンサ係合凹部41,43が対向配置されている。センサ係合凹部43は、センサ係合凹部41よりも周方向の幅が若干大きく形成され、予備的な係合を行う。
アタッチメント33がボトム・カバー9側から固定側孔部13及び回転側孔部23間に装着され、弾性舌片36が回転側孔部23内の結合突起35を係止することでロータ5がボディ3に回転自在に結合される。
ホイール係合突起37,39は、回転側孔部23内周に沿ってステアリング・シャフトの軸方向へ突設された構成となり、このホイール係合突起37,39がステアリング・ホイール側のホイール係合凹部53,55に係合し、アタッチメント33及びロータ5を、ステアリング・ホイールに対し連動回転可能とする。ホイール係合突起37,39及びホイール係合凹部53,55の関係は、後述する。センサ係合凹部41,43は、静止側の舵角センサ45のセンサ係合突部47,49に係合する。
このとき、センサ係合凹部41は、センサ係合突部47に密に係合して該センサ係合突部47を回転させ、センサ係合凹部43は、センサ係合突部49に遊嵌して予備的な係合を行う。この係合により、静止側のコンビネーション・スイッチに支持された舵角センサ45にステアリング・ホイール側の回転を伝達する構成となる。
前記遊動スペーサ7は、ロータ5とボディ3との間に回転自在に配設されている。フラット・ケーブルは、遊動スペーサ7を介して巻回されている。フラット・ケーブルの両端は、固定側ターミナル21と回転側ターミナル31とに結合されている。
図5は、アタッチメントの一方のホイール係合突起を示す要部斜視図、図6は、アタッチメントの一方のホイール係合突起とステアリング・ホイールのホイール係合凹部との係合を示す要部正面図、図7は、アタッチメントの一方のホイール係合突起を示す要部拡大斜視図、図8は、アタッチメントの他方のホイール係合突起とステアリング・ホイールのホイール係合凹部との係合を示す要部斜視図、図9は、同要部正面図である。
図1〜図6のように、前記アタッチメント33の一方のホイール係合突起37は、ステアリング・ホイール51の一方のホイール係合凹部53に緩み無く密に係合し、ロータ5をステアリング・ホイール51に対し連動回転可能とする。図1〜図4,図8,図9のように、アタッチメント33の他方のホイール係合突起39は、ステアリング・ホイール51の他方のホイール係合凹部55に弾性的に係合し、予備的な係合を維持する。
図1〜図7のように、一方のホイール係合突起37は、先端部57が先細に形成され、両側に潰し用の突縁部59が形成されている。
図1〜図4,図8,図9のように、他方のホイール係合突起39には、先端部に弾接用の一対の弾性片部61が形成されている。
従って、コンビネーション・スイッチに舵角センサ45及び回転コネクタ装置1を取り付けると回転コネクタ装置1側のセンサ係合凹部41,43が、舵角センサ45のセンサ係合突部47,49に係合する。
また、ステリング・シャフトにステアリング・ホイール51を結合すると、アタッチメント33の一方のホイール係合突起37がステアリング・ホイール51側のホイール係合凹部53にステアリング・シャフトの軸方向から差し込まれるように係合し、この係合により突縁部59が回転側孔部23のほぼ周方向に沿って潰される。従って、ホイール係合突起37は、ステアリング・ホイール51の一方のホイール係合凹部53に緩み無く密に係合し、ロータ5を、ステアリング・ホイール51に対し連動回転可能とする。また、ステアリング・ホイール51の回転をアタッチメント33から舵角センサ45のセンサ係合突部47,49へ伝達する。
アタッチメント33の他方のホイール係合突起39は、ステアリング・ホイール51の他方のホイール係合凹部55に弾性片部61の変形により弾性的に係合し、予備的な係合を維持する。この予備的な係合により一方のホイール係合突起37が破損したときにも他方のホイール係合突起39により係合を維持することができる。
従って、ステアリング・ホイール51が回転すると、ホイール係合凹部53、ホイール係合突起37、アタッチメント33を介してロータ5が連動回転する。また、ステアリング・ホイール51が回転すると、ホイール係合凹部53、ホイール係合突起37、アタッチメント33、センサ係合凹部41、舵角センサ45のセンサ係合突部47に回転が伝達される。舵角センサ45は、この回転に基づき所定の演算を行ってステアリング・ホイール51の操舵角を検出する。
[実施例の効果]
本発明の実施例では、コンビネーション・スイッチ側に支持されステアリング・シャフトを貫通させるボディ3と、前記ステアリング・シャフトを貫通させるロータ5と、前記ボディ3に対して前記ロータ5を回転自在に結合するとともに該ロータ5と連動回転するアタッチメント33とを備え、前記アタッチメント33に、舵角センサ45と係合して回転を伝達するセンサ係合凹部41,43を設けた回転コネクタ装置1であって、前記アタッチメント33に、ステアリング・ホイールと係合するホイール係合突起37,39を設けた。
このため、ステアリング・ホイール51と舵角センサ45との間は、ステアリング・ホイール51とアタッチメント33との間、アタッチメント33と舵角センサ45との間の2カ所の係合により回転角伝達をすることができ、舵角検出誤差の増大を抑え、タイムリーな車両制御を行わせることができる。
前記ボディ3とロータ5とは、前記ステアリング・シャフトを貫通させる固定側孔部13と同回転側孔部23とを各別に備え、前記アタッチメント33は、筒状であって前記固定側孔部13及び回転側孔部23に嵌合装着され、前記ホイール係合突起37,39を、前記回転側孔部23内周に沿って前記ステアリング・シャフトの軸方向へ突設した。
このため、ステアリング・ホイール51をステアリング・シャフトに取り付けるだけでホイール係合突起37,39をステアリング・ホイール51のホイール係合凹部53,55に係合させることができる。
回転コネクタ装置の分解斜視図である。(実施例1) 回転コネクタ装置をステアリング・ホイール側から見た斜視図である。(実施例1) (a)は、回転コネクタ装置を舵角センサ側から見た斜視図、(b)は、舵角センサを回転コネクタ装置側から見た平面図である。(実施例1) アタッチメントの斜視図である。(実施例1) アタッチメントの一方のホイール係合突起を示す要部斜視図である。(実施例1) アタッチメントの一方のホイール係合突起とステアリング・ホイールのホイール係合凹部との係合を示す要部正面図である。(実施例1) アタッチメントの一方のホイール係合突起を示す要部拡大斜視図である。(実施例1) アタッチメントの他方のホイール係合突起とステアリング・ホイールのホイール係合凹部との係合を示す要部斜視図である。(実施例1) アタッチメントの他方のホイール係合突起とステアリング・ホイールのホイール係合凹部との係合を示す要部正面図である。(実施例1) ステアリング・ホイールと回転コネクタ装置及び舵角センサとの関係を示す側面図である。(従来例) 回転コネクタ装置、舵角センサ、及びコンビネーション・スイッチとの関係を示す分解斜視図である。(従来例)
符号の説明
1 回転コネクタ装置
3 ボディ(固定側部材)
5 ロータ(回転側部材)
13 固定側孔部
23 回転側孔部
33 アタッチメント
37,39 ホイール係合突起(ホイール係合部)
41,43 センサ係合凹部(センサ係合部)
45 舵角センサ
51 ステアリング・ホイール

Claims (2)

  1. 静止側に支持されステアリング・シャフトを貫通させる固定側部材と、前記ステアリング・シャフトを貫通させる回転側部材と、前記固定側部材に対して前記回転側部材を回転自在に結合するとともに該回転側部材と連動回転するアタッチメントとを備え、
    前記アタッチメントに、舵角センサと係合して回転を伝達するセンサ係合部を設けた回転コネクタ装置であって、
    前記アタッチメントに、ステアリング・ホイールと係合するホイール係合部を設けた、
    ことを特徴とする回転コネクタ装置。
  2. 請求項1記載の回転コネクタ装置であって、
    前記固定側部材と回転側部材とは、前記ステアリング・シャフトを貫通させる固定側孔部と同回転側孔部とを各別に備え、
    前記アタッチメントは、筒状であって前記固定側孔部及び回転側孔部に嵌合装着され、
    前記ホイール係合部を、前記回転側孔部内周に沿って前記ステアリング・シャフトの軸方向へ突設した、
    ことを特徴とする回転コネクタ装置。
JP2008160647A 2008-06-19 2008-06-19 回転コネクタ装置 Expired - Fee Related JP5259265B2 (ja)

Priority Applications (3)

Application Number Priority Date Filing Date Title
JP2008160647A JP5259265B2 (ja) 2008-06-19 2008-06-19 回転コネクタ装置
US12/457,618 US7798816B2 (en) 2008-06-19 2009-06-17 Rotary connector device
DE102009025371A DE102009025371A1 (de) 2008-06-19 2009-06-18 Drehverbindervorrichtung

Applications Claiming Priority (1)

Application Number Priority Date Filing Date Title
JP2008160647A JP5259265B2 (ja) 2008-06-19 2008-06-19 回転コネクタ装置

Publications (2)

Publication Number Publication Date
JP2010000868A JP2010000868A (ja) 2010-01-07
JP5259265B2 true JP5259265B2 (ja) 2013-08-07

Family

ID=41335186

Family Applications (1)

Application Number Title Priority Date Filing Date
JP2008160647A Expired - Fee Related JP5259265B2 (ja) 2008-06-19 2008-06-19 回転コネクタ装置

Country Status (3)

Country Link
US (1) US7798816B2 (ja)
JP (1) JP5259265B2 (ja)
DE (1) DE102009025371A1 (ja)

Families Citing this family (17)

* Cited by examiner, † Cited by third party
Publication number Priority date Publication date Assignee Title
JP5123070B2 (ja) * 2008-06-19 2013-01-16 ナイルス株式会社 回転コネクタ装置
JP5241016B2 (ja) * 2009-01-29 2013-07-17 矢崎総業株式会社 回転コネクタ
EP2542391B1 (en) * 2010-03-02 2014-06-25 ABB Research Ltd. A system for electrically connecting a tool to a robot wrist and a method therefor
JP5203408B2 (ja) * 2010-03-26 2013-06-05 古河電気工業株式会社 回転コネクタ装置
JP5041447B2 (ja) * 2010-03-30 2012-10-03 古河電気工業株式会社 回転コネクタ装置
JP5331052B2 (ja) * 2010-04-22 2013-10-30 古河電気工業株式会社 回転コネクタの嵌合構造
KR101789820B1 (ko) * 2011-04-15 2017-10-25 엘지이노텍 주식회사 앵글센서
JP2016013763A (ja) * 2014-07-02 2016-01-28 パイオニア株式会社 非接触電力伝送装置
EP2987682B1 (de) * 2014-08-20 2020-12-16 Nexans Anordnung für in einem Kraftfahrzeug montierte elektrische Leitungen
JP6498893B2 (ja) * 2014-09-12 2019-04-10 古河電気工業株式会社 回転コネクタ装置
CN109690881B (zh) * 2016-09-12 2021-08-10 古河电气工业株式会社 旋转连接器装置
JP2019066232A (ja) * 2017-09-29 2019-04-25 ダイハツ工業株式会社 舵角センサの取付構造
KR102689415B1 (ko) * 2018-05-28 2024-07-29 후루카와 덴키 고교 가부시키가이샤 회전 커넥터 장치 및 회전 커넥터 장치의 회전체
JP7054646B2 (ja) * 2018-05-29 2022-04-14 株式会社東海理化電機製作所 回転構造体
EP3896803B1 (en) * 2018-12-13 2025-06-25 Furukawa Electric Co., Ltd. Rotary connector device
WO2023008414A1 (ja) * 2021-07-28 2023-02-02 古河電気工業株式会社 回転コネクタ装置および回転コネクタ装置の製造方法
CN114735070A (zh) * 2022-05-09 2022-07-12 浙江吉利控股集团有限公司 一种包含新型线束转换装置的方向盘

Family Cites Families (13)

* Cited by examiner, † Cited by third party
Publication number Priority date Publication date Assignee Title
JPH0711424Y2 (ja) * 1990-10-05 1995-03-15 古河電気工業株式会社 回転コネクタ
JPH0858602A (ja) * 1994-08-26 1996-03-05 Yazaki Corp ハンドルとステアリングコラム間の電気的接続装置
US5630723A (en) * 1994-11-30 1997-05-20 Nihon Plast Co., Ltd. Cable type electric connector
JPH08193842A (ja) * 1995-01-11 1996-07-30 Niles Parts Co Ltd ケーブルリールに備えた回転検出装置
JP3637120B2 (ja) * 1995-11-01 2005-04-13 ナイルス株式会社 回転コネクタを備えたコンビネーションスイッチ装置
JP4105291B2 (ja) 1998-06-16 2008-06-25 富士重工業株式会社 ステアリング機構およびその組付け方法
JP2000304522A (ja) * 1999-04-23 2000-11-02 Tokai Rika Co Ltd ステアリングロールコネクタ
JP2000318516A (ja) * 1999-05-11 2000-11-21 Harness Syst Tech Res Ltd ステアリング用回転接続装置及びステアリング部の構造
JP2001167858A (ja) * 1999-12-13 2001-06-22 Niles Parts Co Ltd 回転コネクタ装置
JP4024025B2 (ja) * 2001-10-11 2007-12-19 ナイルス株式会社 回転コネクタ装置
JP2005011544A (ja) * 2003-06-16 2005-01-13 Alps Electric Co Ltd 回転コネクタ
JP4602176B2 (ja) * 2005-07-01 2010-12-22 矢崎総業株式会社 回転コネクタ装置
JP4152414B2 (ja) * 2006-02-09 2008-09-17 矢崎総業株式会社 回転コネクタ装置

Also Published As

Publication number Publication date
US7798816B2 (en) 2010-09-21
JP2010000868A (ja) 2010-01-07
US20090317994A1 (en) 2009-12-24
DE102009025371A1 (de) 2009-12-24

Similar Documents

Publication Publication Date Title
JP5259265B2 (ja) 回転コネクタ装置
KR101398046B1 (ko) 축 연결 기구
JP5825519B2 (ja) 操舵装置
JP5123070B2 (ja) 回転コネクタ装置
CN102822011B (zh) 旋转连接器装置
CN103262364B (zh) 旋转连接器装置
US10315685B2 (en) Steering system for a motor vehicle
JP2011207402A5 (ja)
WO2015190054A1 (ja) 電動式パワーステアリング装置用の軸連結機構
JPS59230861A (ja) テイルトステアリング装置
KR20120104791A (ko) 아우터 롤러
JP2013224064A (ja) アース機構及びこれを備えたステアリング装置
WO2018192454A1 (zh) 一种汽车助力转向传感器
JP5682775B2 (ja) 車両用操舵装置
JP2015217704A (ja) 電動パワーステアリング装置
JP5411524B2 (ja) 回転角度センサ及びそれを備える車両
JP5607463B2 (ja) 電動パワーステアリング装置
JP7594158B1 (ja) 電動パワーステアリング装置
JP5203408B2 (ja) 回転コネクタ装置
CN224145692U (zh) 胎压监测装置及车辆
JP2020118255A (ja) ジョイント装置、及びモータ
JP5195267B2 (ja) 車両用ステアリング装置
JP2020111108A (ja) ステアリング装置
JP5335341B2 (ja) モータ
JP2007239787A (ja) ウォームギヤ機構及びウォームギヤ機構を搭載した電動パワーステアリング装置

Legal Events

Date Code Title Description
A621 Written request for application examination

Free format text: JAPANESE INTERMEDIATE CODE: A621

Effective date: 20110601

A977 Report on retrieval

Free format text: JAPANESE INTERMEDIATE CODE: A971007

Effective date: 20121102

A131 Notification of reasons for refusal

Free format text: JAPANESE INTERMEDIATE CODE: A131

Effective date: 20121113

TRDD Decision of grant or rejection written
A01 Written decision to grant a patent or to grant a registration (utility model)

Free format text: JAPANESE INTERMEDIATE CODE: A01

Effective date: 20130416

A61 First payment of annual fees (during grant procedure)

Free format text: JAPANESE INTERMEDIATE CODE: A61

Effective date: 20130424

FPAY Renewal fee payment (event date is renewal date of database)

Free format text: PAYMENT UNTIL: 20160502

Year of fee payment: 3

R150 Certificate of patent or registration of utility model

Ref document number: 5259265

Country of ref document: JP

Free format text: JAPANESE INTERMEDIATE CODE: R150

Free format text: JAPANESE INTERMEDIATE CODE: R150

S111 Request for change of ownership or part of ownership

Free format text: JAPANESE INTERMEDIATE CODE: R313111

R350 Written notification of registration of transfer

Free format text: JAPANESE INTERMEDIATE CODE: R350

R250 Receipt of annual fees

Free format text: JAPANESE INTERMEDIATE CODE: R250

R250 Receipt of annual fees

Free format text: JAPANESE INTERMEDIATE CODE: R250

R250 Receipt of annual fees

Free format text: JAPANESE INTERMEDIATE CODE: R250

R250 Receipt of annual fees

Free format text: JAPANESE INTERMEDIATE CODE: R250

LAPS Cancellation because of no payment of annual fees