JP5259188B2 - Memsデバイス用のバネ構造体 - Google Patents

Memsデバイス用のバネ構造体 Download PDF

Info

Publication number
JP5259188B2
JP5259188B2 JP2007538568A JP2007538568A JP5259188B2 JP 5259188 B2 JP5259188 B2 JP 5259188B2 JP 2007538568 A JP2007538568 A JP 2007538568A JP 2007538568 A JP2007538568 A JP 2007538568A JP 5259188 B2 JP5259188 B2 JP 5259188B2
Authority
JP
Japan
Prior art keywords
electrode
movable
substrate
movable element
independent
Prior art date
Legal status (The legal status is an assumption and is not a legal conclusion. Google has not performed a legal analysis and makes no representation as to the accuracy of the status listed.)
Expired - Fee Related
Application number
JP2007538568A
Other languages
English (en)
Other versions
JP2008517784A (ja
Inventor
ペーター、ヘー.ステーネケン
ヨーゼフ、トーマス、マルティヌス、ファン、ベーク
テオ、レイクス
Current Assignee (The listed assignees may be inaccurate. Google has not performed a legal analysis and makes no representation or warranty as to the accuracy of the list.)
TDK Electronics AG
Original Assignee
Epcos AG
Priority date (The priority date is an assumption and is not a legal conclusion. Google has not performed a legal analysis and makes no representation as to the accuracy of the date listed.)
Filing date
Publication date
Application filed by Epcos AG filed Critical Epcos AG
Publication of JP2008517784A publication Critical patent/JP2008517784A/ja
Application granted granted Critical
Publication of JP5259188B2 publication Critical patent/JP5259188B2/ja
Anticipated expiration legal-status Critical
Expired - Fee Related legal-status Critical Current

Links

Images

Classifications

    • HELECTRICITY
    • H01ELECTRIC ELEMENTS
    • H01HELECTRIC SWITCHES; RELAYS; SELECTORS; EMERGENCY PROTECTIVE DEVICES
    • H01H59/00Electrostatic relays; Electro-adhesion relays
    • H01H59/0009Electrostatic relays; Electro-adhesion relays making use of micromechanics
    • HELECTRICITY
    • H01ELECTRIC ELEMENTS
    • H01GCAPACITORS; CAPACITORS, RECTIFIERS, DETECTORS, SWITCHING DEVICES, LIGHT-SENSITIVE OR TEMPERATURE-SENSITIVE DEVICES OF THE ELECTROLYTIC TYPE
    • H01G5/00Capacitors in which the capacitance is varied by mechanical means, e.g. by turning a shaft; Processes of their manufacture
    • H01G5/16Capacitors in which the capacitance is varied by mechanical means, e.g. by turning a shaft; Processes of their manufacture using variation of distance between electrodes
    • HELECTRICITY
    • H01ELECTRIC ELEMENTS
    • H01GCAPACITORS; CAPACITORS, RECTIFIERS, DETECTORS, SWITCHING DEVICES, LIGHT-SENSITIVE OR TEMPERATURE-SENSITIVE DEVICES OF THE ELECTROLYTIC TYPE
    • H01G5/00Capacitors in which the capacitance is varied by mechanical means, e.g. by turning a shaft; Processes of their manufacture
    • H01G5/16Capacitors in which the capacitance is varied by mechanical means, e.g. by turning a shaft; Processes of their manufacture using variation of distance between electrodes
    • H01G5/18Capacitors in which the capacitance is varied by mechanical means, e.g. by turning a shaft; Processes of their manufacture using variation of distance between electrodes due to change in inclination, e.g. by flexing, by spiral wrapping
    • HELECTRICITY
    • H01ELECTRIC ELEMENTS
    • H01GCAPACITORS; CAPACITORS, RECTIFIERS, DETECTORS, SWITCHING DEVICES, LIGHT-SENSITIVE OR TEMPERATURE-SENSITIVE DEVICES OF THE ELECTROLYTIC TYPE
    • H01G5/00Capacitors in which the capacitance is varied by mechanical means, e.g. by turning a shaft; Processes of their manufacture
    • H01G5/40Structural combinations of variable capacitors with other electric elements not covered by this subclass, the structure mainly consisting of a capacitor, e.g. RC combinations
    • HELECTRICITY
    • H01ELECTRIC ELEMENTS
    • H01HELECTRIC SWITCHES; RELAYS; SELECTORS; EMERGENCY PROTECTIVE DEVICES
    • H01H1/00Contacts
    • H01H1/12Contacts characterised by the manner in which co-operating contacts engage
    • H01H1/14Contacts characterised by the manner in which co-operating contacts engage by abutting
    • H01H1/24Contacts characterised by the manner in which co-operating contacts engage by abutting with resilient mounting
    • HELECTRICITY
    • H01ELECTRIC ELEMENTS
    • H01HELECTRIC SWITCHES; RELAYS; SELECTORS; EMERGENCY PROTECTIVE DEVICES
    • H01H59/00Electrostatic relays; Electro-adhesion relays
    • H01H59/0009Electrostatic relays; Electro-adhesion relays making use of micromechanics
    • H01H2059/0063Electrostatic relays; Electro-adhesion relays making use of micromechanics with stepped actuation, e.g. actuation voltages applied to different sets of electrodes at different times or different spring constants during actuation

Landscapes

  • Engineering & Computer Science (AREA)
  • Power Engineering (AREA)
  • Microelectronics & Electronic Packaging (AREA)
  • Micromachines (AREA)
  • Waveguide Switches, Polarizers, And Phase Shifters (AREA)

Description

この発明は、第1の電極(e1)と第2の電極(e2)とを備え、第2の電極が可動要素の一部であり且つ可動要素の変形可能部分の弾性変形によって第1の位置と第2の位置との間において第1の電極に対して移動することができ、第2の電極がその第1の位置において所定の間隙だけ第1の電極(e1)から離間されるマイクロ電気機械(MEMS)デバイスに関する。
また、本発明は、そのようなMEMSデバイスを組み込む集積回路、及び、そのようなデバイスを介して通信サービスを提供する方法に関する。
用語「MEMS」(マイクロ電気機械システム又は構造体又はスイッチ)は様々なデバイスを包含している。MEMSデバイスの一般的な構成は、第1の電極が第2の電極に対向して配置された自立構造のビームを備えている。第1及び第2の電極は、空隙によって互いに離間されている。第1の電極は、動作電圧を印加して静電気力を与えることにより第2の電極の方へ移動することができ又は第2の電極から離隔することができる。基本的には、誘導力等の他の力を使用することができる。
いくつかの一般的な用途は、
− マイクロフォン又はラウドスピーカ(特定のタイプの膜を使用する)としての使用 − センサ、特に気圧センサとしての使用
− 共振器としての使用
− ディスプレイのピクセルスイッチとして、又は、光スイッチのためのミラーを駆動するものとしての使用、
− RF用途における使用、特にスイッチ又は可変キャパシタンスとしての使用、
である。
商業的に重要な用途のうちの一つは、電話又はコンピュータ等のモバイル無線機器のフロントエンドにおける集積バンドスイッチングを伴う可変インピーダンスマッチングのための使用である。
二つの一般的な構造は、以下の通りである。
1.シリコン基板におけるMEMSデバイス。この場合、電極は、基板表面に対して垂直に向けられる。この構造は、センサ用途又は共振器用途において使用されるが、他の用途も除外されない。
2.薄膜要素としてのMEMSデバイス。ここでは、ビームが基板と略平行に方向付けられる。このタイプのMEMSデバイスは、RF MEMSのために使用される。ビームに関しては、以下のような少なくとも二つの構造がある。
− ダブルクランプビーム、例えば二つ以上の側で基板表面に対して接続されるビーム。そのため、ビームの中心において基板への偏りが起こる。このタイプのビームは、両端が組み込まれたビームとして知られており、不静定である。
− シングルクランプビーム。この場合、ビームの端部において基板への偏りが起こる。このタイプのビームは、片持ち梁と呼ばれており、静定である。
ビームには、概して、穴が設けられており、これらの穴は、空隙を形成するためのビームと基板との間の犠牲層のエッチングの結果として存在する。また、これらの穴は、ビームを開放している間又は閉じている間にビームと基板との間の空隙に対して空気を流入出できるようにすることにより、空気ダンピング(空気制動)を減少させるのに役立つ。しかしながら、英国特許出願公開公報第GB−A−2,353,410号(特許文献1)に記載されているように、ビームが基板に対して組み付けられ、そのため、エッチングのために穴が不要になる製造技術がある。
冒頭で述べた種類のデバイスは、米国特許出願公開公報第US2002/0149071号(特許文献2)から知られている。この文献のMEMSデバイスは、二つの別個の動作電極を基板上に備えており、これらの動作電極間には割り込み信号ラインが存在する。
ここで、可動要素は、動作電極によって静電的に動作させられる一つの金属層であり、信号ラインの二つの部分を接続するためにスイッチ電極を含んでいる。スイッチ電極は、二つの動作電極間のブリッジとして配置されている。これらの電極は、フレキシブル要素を介して基板上の支持体に対して接続されている。実際には、このMEMSデバイスは、リレーとして動作する。
MEMSスイッチの主な故障メカニズムのうちの一つは、動作電圧が除去されるときにビーム又は膜が対向電極から解放されないスティクション(stiction:固着)である。接触面上で窪み形成等の表面粗さ又はコーティングを使用することによりスティクションに対処することは知られている。
既知のデバイスは、大きい動作電極を有しており、これらはスティクションに影響される。そのようなスティッキング(固着)は、主に、移動可能な動作ステージと基板上の動作電極との間に水分又は異物が存在する場合に起こる。スティッキングは、使用時又は製造プロセス中に起こる場合もある。従来においては、そのようなスティッキングを防止するために、動作ステージの底面に突起が形成され又はテフロン加工の薄膜が形成されている。スティクションを制限するため、既知のデバイスは、フレキシブル要素上に又はフレキシブル要素と対向する基板上に突起を更に備えている。突起は、デバイスが閉じられるときに接触抵抗を増大させる。また、突起はスティクションに抗する対抗力を与える。
しかしながら、特にRF用途においては、スイッチの切り換え速度が最も重要である。また、既知のデバイスは、スティクションに抗する対抗力を与えるが、この対抗力はあまり大きくない。フレキシブル要素の柔軟性は、突起の作用に対する動作電極の大きな表面積を確かに考慮すると、これを妨げる。
また、工業的用途においては、デバイスの良好な寿命が必須条件である。その点において、既知のデバイスは比較的弱い。この分野において知られているように、静電気的動作を伴うMEMS要素は、例えば可動要素が基板上に即座に落下する特定のプルイン電圧VPIよりも上で、プルイン作用を示す。フレキシブル要素上の突起は、そのような状況下では、損傷する傾向が高い特徴、従って、望ましくない特徴を有している。
英国特許出願公開公報第GB−A−2,353,410号 米国特許出願公開公報第US2002/0149071号 米国特許第US6,418,006号公報 米国特許第US6,777,284号公報 国際公開公報第WO−IB2004/050863号
従って、本発明の目的は、冒頭で述べた種類のデバイスであって、高速で且つ工業的に実行可能なデバイスを提供することである。
第1の態様において、本発明は、可動要素が、弾性カップリングにより可動要素の主要部に対して結合される独立可動部を備えるマイクロ電気機械デバイスであって、弾性カップリングが、第2の電極がその第2の位置にあるときに可動要素に対して第1の電極から離隔する方向において力を及ぼす、マイクロ電気機械デバイスを提供する。
主要部に対して弾性的に結合される独立可動部を使用することにより、この独立可動部が概して主要部と共に移動するようになる。それは、可動部の他の部分と何等異ならないため、固有の弱点ではない。また、主要部に対するその独立結合により、設計の必要性に従って弾性カップリングのバネ定数を設定することができる。その上、電気通信又は可動要素の懸架を損なうことなく、スティクションに対する対抗力を大きくすることができる。この出願の関連においては、弾性カップリングによって定められる境界条件により許容される限りにおいて、独立可動部が可動要素の一部として移動できるとともに単独でも移動できることが理解される。
本発明のデバイスの利点は、切り換え速度を変化させることができるとともに高めることもできるという点である。これは、特にRF用途において当てはまる。スイッチ開放遅延の多くは、開放の初期段階に関係している。これは、電極が最も接近するときに静電気引力が最大となるからである。独立可動部に異なるバネ力を与えることができ、また、独立可動部は、例えば、異なる開放率に寄与し得る。請求項に記載された構造体の利点は、非線形バネ応答である。既知のデバイスと比較して、独立可動部の使用は、各バネ構成の最適化を独立に行うことができる等の利点を有している。また、装置を摩耗や高レベルの応力に晒す必要がなければ、長い寿命期間に亘って信頼性及び精度を向上させることができる。
また、可動要素内の力の適用によっても、また、独立可動部と基板との間の力によっても独立可動部を移動させることができるのが分かる。そのような力の例としては、電圧差の印加による電気的な相互作用、磁気的な相互作用、独立可動部に局所的な収縮を形成するための圧電力、弾性カップリングだけの機械的な力が挙げられる。また、基板と対向する独立可動部の表面は、基板表面の材料に対して固有の引力又は斥力を有するように選択されてもよく又は化学的に改質されてもよい。
一見したところでは関連すると思われるMEMSデバイスが、米国特許第US6,418,006号(特許文献3)から知られている。また、このMEMSデバイスは、調整可能な第1の電極と、別個の動作電極とを有している。調整可能な電極と可動要素との間の間隙は、動作電極と可動要素との間の間隙よりも小さい。この場合、可動要素の面積、大きな間隙部分、小さな間隙部分は、効果的に非常に厳格に形成される。その上、小さな間隙部分は、トレイ形状に形成される。しかしながら、この既知のデバイスは、実際には非常に異なっている。可動要素は、動作電極と接触することができず、また、小さな間隙部分は、決して可動要素の主要部に対して独立に移動することができない。その結果、この既知のデバイスでは、本発明において与えられるスティクションに抗する対抗力を得ることができない。
好ましい実施の形態において、弾性カップリングは、変形可能部分よりも大きいバネ定数を有している。このようにすると、カップリングは、スティクション力よりも適切に大きくてもよい効果的な対抗力を与えることができる。スティクションの効果的な障壁は、図面の記載で更に詳細に説明するように、解放電圧Vrelとして表されてもよい。基本的には、必要に応じて他の電極のバネ定数が高いといった逆のことも考えられる。独立可動部の面積は、他の電極よりも小さいことが好ましく、それにより、弾性カップリングの大きなバネ定数に寄与し得る。
本発明の更なる有利な特徴として、電極のプルイン(引き込み)に抵抗するためにフレキシブル要素が配置され、また、弾性カップリングのバネ定数及び独立可動部の位置がプルインに対する更なる抵抗を与えるように設定される。これにより、解放電圧を高くすることができ、従って、スティクションの虞を低減することができる。また、Vrelに対するVPIの比率を減少させることができ、そのため、可動要素を移動させるために幅広い範囲の電圧を利用することができる。
独立可動部は、第2の電極よりも小さい表面積を有していることが好ましい。これにより、独立可動部に対して集中的な力を与えることができ、そのため、独立可動要素を基板から効果的に引き離すことができる。また、独立可動部を小さく形成することにより、そのような弾性的に結合された独立可動部を複数設けることができる。また、これにより、解放電圧VRELが減少し、切り換え速度が増大する。また、大きな表面積に亘ってスティクション力が比較的均一に釣り合わされる。
他の更なる特徴として、弾性カップリングは、電極の独立可動部の少なくとも二つの側に配置される。これにより、例えば振動や製造のばらつきに影響され難い、より安定した信頼できる構造体を提供することができる。実際には、この場合、独立可動部は、主要部に形成される。特に、可動要素のほぼ全体が金属層として具現化され且つ独立可動部の形成のために必要な穴を製造中にエッチング穴として使用することができる実施の形態と組み合わせると有益である。
他の更なる特徴として、独立可動部は、少なくとも三つの側で他のそれぞれの電極により取り囲まれる。いくつかの独立可動部を電極の側面に設けることが有利であると思われる。この場合、電極の形状は、実際には、電極の側面での大きな渦電流の形成を防止することができるような形状になっている。そのような渦電流は、一般に高い周波数で起こる厄介な副作用である。あるいは、独立可動部が主要部の中心に設けられてもよい。これにより、可動要素の安定性の低下が最小となり、短いバネで大きなバネ定数k2が得られる。
好ましい実施の形態では、独立可動部が基板に向けて突出している。このようにすると、独立可動部は、可動要素の主要部の前に基板と接触するようになる。独立可動部が基板と接触するときに更なる戻し力が与えられてもよい。この可動部の突出は、可動部に接続される別個の中間層として適切に具現化される。この中間層は、その上側に被さる可動部の外側において又は中間層と直接に接触する可動部の部位の少なくとも外側において横方向に延在していてもよい。突出のために中間層を使用すると、中間層の材料の選択により又は中間層の横方向の延在又はパターンにより機械的特性を最適化できる。そのような横方向の延在部は、一般に可動部と比べて厚さが薄く、従って、より弾力性がある。そのような突出の更なる利点は、大きな設計自由度である。少なくとも第2の電極として機能する領域の部分においてそのような突出部分を主要部に設けることも排除しない。
具体的には、独立可動部は、第1の電極と第2の電極との間の間隔よりも小さい間隔を基板との間に有する休止位置を有している。間隔が小さいため、独立可動部が独立に移動されず可動要素の一部としてのみ移動される場合であっても、独立可動要素が早期に基板と接触することになる。電極が独立可動部と反対側の基板上に配置されてもよいことは理解されるであろう。その場合、実際に二つのマイクロ電気機械要素が異なる動作電圧及び特性をもって一つのデバイス中に形成されるという点において、電気的性質においても有利である。
従って、第1の更なる実施の形態では、独立可動部が第3の電極を備え、第2の電極対を形成するために第3の電極と対向する第4の電極が基板上に配置される一方、第2の電極が可動要素の主要部の一部として配置される。第2の電極対は、休止位置では、第1の電極対とは別の間隔を有することが好ましい。この実施の形態はいくつかの構造が可能であり、そのうちの一つにおいては、第2の電極対がガルバニックスイッチを形成し、第1の電極対がアクチュエータを形成し、任意的にはRFキャパシタも形成する。あるいは、両方の電極対が可変キャパシタを形成してもよく、また、これらを直列に又は並列に配置することができる。可動要素の限られた数の位置だけを使用する場合であっても、そのような組み合わせにより、結果として得られるキャパシタンスを複数の値に調整することができる。
可動要素は、実質的には一つの金属ビームであることが適当であり、その場合、第2及び第3の電極は互いに接続されて同じ電圧で存在する。このとき、弾性カップリングは、多数のブリッジとして具現化される。この最良の形態に代わる手段が存在し、これらの手段は、先ず第1に、電極及びその表面上での相互接続を伴う電気絶縁ビームに基づく可動要素の使用を含んでいる。特定の変形は、圧電材料をビームとして又はビームの一部として使用することである。他の代替的手段は、弾性カップリングのために、また、任意的には独立可動部のためにも電気絶縁手段を使用することである。独立可動部が第3の電極を含む場合、それに対する接触は、ワイヤボンディングを使用して達成されてもよい。これとの関連においては、別個の中間層の使用が特に適しており、この中間層は、電極及び他の機能パターンの形成を可能にし、従って、機能性と機械的構成とを垂直に分離する。
更なる実施の形態では、可動要素の変形可能部分が主要部から分離される。特に、主要部は、変形可能部分によって基板上の支持体に対して結合されている。この別個の変形可能部分は、基板と金属との間の熱膨張係数の差にデバイスが影響されないようにするという点において有益である。このサスペンション(k1)の内側に独立可動部を含ませると、このサスペンションの利点は維持される。
具体的に、デバイスには、動きに応じて可動要素に対して力を与えるように結合され且つ可動要素と基板上の一つ以上の突起との間に存在する一つ以上のフレキシブル要素が設けられている。そのようなフレキシブル要素の使用はそれ自体は知られているが、特に、フレキシブル要素と弾性カップリングとの組み合わせが興味深い構成となることが分かった。これは、フレキシブル要素及び弾性カップリングの機械的な力が互いに増強し得るが互いに釣り合うからである。そのようなフレキシブル支持体は、可動要素における電極の少なくとも二つの側に配置される。これは、例えば振動や製造のばらつきにほとんど影響されない、より安定で信頼できる構造体を与えることができる。この構造体は、高いバネ定数を得るため、また、製造中又は動作中にデバイスが高温に影響されないようにするために使用することができる。
本発明のMEMSデバイスは、限られた数の状態を有するガルバニックスイッチ又は容量スイッチであることが最も好ましいがこれに限定されず、また、この場合、第1の電極は、同時に動作電極としての機能を果たす。第1の位置での第1の電極と第2の電極との間の間隙は、変化させられてもよい。
また、本発明のデバイスは、可動要素と基板上に配置された電極とを有する複数のマイクロ電気機械要素を備えていてもよい。これらの要素は、同じ構造を有していてもよいが、そうである必要はない。一つの実施の形態において、構造は、異なる範囲を与えるために電極のサイズが異なっている。他の実施の形態において、構造は、要素の異なる機能を考慮して異なっている。即ち、この場合、一方の要素は例えばインピーダンスマッチング回路で可変キャパシタを構成し、一方、他方の要素はバンドスイッチを構成する。
一つのデバイスが複数のMEMS要素を備える場合、間隙サイズは同じである必要はなく変化させられてもよい。また、本発明のMEMSデバイスは、双安定型のものであってもよい。その場合、基板上の第1の電極と基板上の別個の要素の第3の電極との間において第2の電極を切り換えることができる。また、この実施の形態において、独立可動部は、基板に対するスティクション(固着)に抗する対抗力を与えることが最も適切であるが、別個の要素に対するスティクションに抗する対抗力を与えるように独立可動部を構成することも排除しない。しかしながら、第2及び第3の電極間の接触は、スティクションにほとんど影響されないと思われる。
本発明のデバイスは、薄膜キャパシタ、レジスタ、インダクタ、ダイオード等の更なる要素を備えていることが適当である。これらの要素は、用途に適するように且つ用途において望ましいように任意の構造に従って互いに接続される。可動要素が金属層中に形成される場合、特に中間金属層が存在する場合には、薄膜キャパシタ及びインダクタをデバイス中に容易に組み込むことができるのが分かる。このとき、薄膜キャパシタは、基板上の導電層中の電極と中間層との間に形成される。その場合、基板上の選択された領域においてのみ誘電体層が除去され、これは技術的に達成することができる。インダクタは、十分なQ係数に達することができる十分な厚さを有する可動要素の金属層中に形成される。
また、本発明のデバイスには、トランジスタの回路が設けられてもよい。この場合、デバイスは集積回路であり、マイクロ電気機械要素は、相互接続構造体の一部として形成され又は不動態層の上端にも形成される。そのような要素を相互接続構造体中に組み込むことは、例えば米国特許第US6,777,284号(特許文献4)から知られている。この実施の形態は、マイクロ電気機械要素が共振器又は可変キャパシタとして使用される場合に特に適すると思われる。
第2の態様において、本発明は、基板と、可動要素と、可動要素を基板に向けて移動するための駆動手段とを有し、可動要素が、可動要素の残余の部分に対して弾性的に結合された独立可動部を有しているマイクロ電気機械デバイスを提供する。独立可動部は、独立可動部が基板に接触するときに更なる戻り力を与えるために基板に向けて突出していることが好ましい。更なる好ましい実施の形態においては、動きに応じて可動要素に戻り力を与えるため、複数のフレキシブル要素が存在する。
これにより、可動要素を引き離す戻り力を移動範囲の一部に亘って増大させることができる。これは、特定の用途に適するようにデバイスを設計する際に更なる自由度を与えることができる。例えば、範囲の一部は、スティクションの危険が存在する場所となるように、又は、開放が最も遅れる場所即ち例えば静電気力が最も大きい場所となるように設定することができる。ストッパを使用する前述した非線形バネ構成と比較すると、独立可動部の使用は、各バネ構成の最適化を独立に行うことができる等の利点を有する。また、摩耗や高レベルの応力に晒される可能性があるストッパが必要なければ、長い寿命期間に亘って信頼性及び精度を高めることができる。また、基板上に接触点又は固定点がほとんど存在しない場合には、構造を更に簡単にすることができる。
この態様の更なる特徴は、第1の態様に関して説明した特徴である。両方の態様の大きな違いは、駆動手段の存在である。静電駆動手段が好ましい。なぜなら、そのような動作原理を有するマイクロ電気機械デバイスは、頑強な方法、従って、容易に工業化できる方法で製造できるからである。圧電動作手段は、駆動電圧が低いという利点を有している。
第3の態様は、基板と、可動要素と、可動要素を基板に向けて移動するための駆動手段とを有し、基板が、当該基板に対して弾性的に結合される可動部を有し、可動部が可動要素と接触するときに更なる戻り力を与えるために可動部に向けて突出しているマイクロ電気機械デバイスを提供する。
可動部は、基板に取り付けられてもよく、可動要素に取り付けられなくてもよい。この場合、弾性カップリングは、例えば、基板と可動部との間の弾性層又は圧電層によって具現化される。あるいは、可動部は、片持ち構造を有することができる。
更なる特徴として、弾性カップリングは、フレキシブル要素のバネ定数よりも高いバネ定数を有している。
他の更なる特徴として、可動要素の少なくとも二つの側にフレキシブル支持体が配置される。これにより、例えば振動や製造のばらつきに影響され難い、より安定した信頼できる構造体を提供することができる。
他の更なる特徴として、独立可動部の少なくとも二つの側に弾性カップリングが配置される。これにより、例えば振動や製造のばらつきに影響され難い、より安定した信頼できる構造体を提供することができる。
本発明の他の態様は、切り換えのためのデバイスの使用を含んでいる。本発明のデバイスの使用の結果として、切り換え速度がかなり高められる。
本発明の他の態様は、そのようなデバイス及び少なくとも一つの半導体デバイスを有するモジュールを含んでいる。マイクロ電気機械要素及びデバイス、例えば本発明のデバイスは、当然、個々のトランジスタと比較して大きい。従って、システム・イン・ア・パッケージコンセプトとして組み合わせを提供することが適切である。モジュールに関しては、様々なコンセプトが存在し、それ自体は知られている。興味深い改良点は、本発明のデバイス内部のキャビティ内に更なる半導体デバイスを設けた点である。そのようなキャビティは、特に基板中に形成される。この基板は半導体基板であることが好ましいが、無論、ガラス又はアルミナ、高分子、多層基板又は他の基板も排除しない。特に、基板は少なくとも部分的に除去され、それにより、半導体デバイスの背面がヒートシンクに対して直接に接続される。半導体デバイスがこの背面から薄肉化されることにより、デバイスの基板を通じて熱抵抗が低減されることが適当である。そのようなモジュールは、参照することにより本願に組み込まれる出願の国際公開公報第WO−IB2004/050863号(特許文献5)に記載されている。このモジュールで使用される半導体デバイスは、先ず第1に、本発明のデバイスのためのドライバである。更なる若しくはこれに代わる半導体デバイスは、例えば電力増幅器及びトランジスタであり、又は、共振器として使用する場合には本発明のデバイスのための検出回路である。電力増幅器モジュールの場合、本発明のデバイスは、可変キャパシタ及び/又は異なる周波数帯域間及びモジュール内において送信モードと受信モードとの間を切り換えるスイッチを有するインピーダンスマッチング回路(の一部として)適切に使用される。
本発明の更なる態様は、そのようなデバイスを有する携帯機器、及び、そのような携帯機器を介して通信サービスを提供する方法を含んでいる。これは、改良されたデバイスの究極目的が料金を請求できる改良された通信サービスを可能にすることであるという認識である。サービスの価格は、ある場合には無料で提供できるデバイスの販売価格よりもかなり高くなる可能性があり、そのため、価値はサービスによってもたらされる。
任意の更なる特徴は、互いに組み合わせることができるとともに、本発明の任意の態様と組み合わせることができる。特に他の従来の技術と比較すると他の利点は、当業者には明らかである。本発明の請求項の範囲から逸脱することなく多数の変形及び変更をなすことができる。従って、本発明の形態が単なる例示であり本発明の範囲を限定しようとするものではないことは明確に理解されるべきである。ここで、添付の概略図を参照しながら、一例として、本発明がどのようにして効果的な状態に置かれるのかについて説明する。
本発明の特徴は、本発明の好ましい実施の形態を示す添付図面を参照することにより更に良く理解できるようになる。
特定の実施の形態に関して特定の図面を参照しながら本発明を説明するが、本発明は、これらに限定されず、請求項のみによって限定される。描かれている図面は、単なる概略であり、限定的なものではない。図面中、いくつかの要素のサイズは、説明のため、誇張され且つ一定の倍率で描かれていない場合がある。単数名詞を参照する際に不定冠詞又は定冠詞、例えば「a」又は「an」、「the」が使用される場合、これは、何か他のことが具体的に述べられていない限り複数のそのような名詞を含んでいる。
また、明細書本文中及び請求項中の第1、第2、第3等の用語は、同様の要素同士を区別するために使用されるが、必ずしも順番又は時間的順序を表すものではない。そのように使用される用語が適切な状況下では置き換え可能であり、また、ここに記載された本発明の実施の形態が、ここで説明され又は図示された順序以外の順序で動作可能であることは、理解されるべきである。
また、明細書本文中及び請求項中の上端、下端、上側、下側等の用語は、記述的な目的で使用されるが、必ずしも相対的な位置を表すためのものではない。そのように使用される用語が適切な状況下では置き換え可能であり、また、ここに記載された本発明の実施の形態がここで説明され又は図示された方向以外の方向において動作可能であることは、理解されるべきである。
尚、請求項中で使用される用語「備える、含む(comprising)」は、その後に記載される手段に限定されるものと解釈されるべきではなく、他の要素又はステップを排除するものではない。従って、「手段A及びBを備えるデバイス」という表現の範囲は、構成要素A及びBのみからなるデバイスに限定されるべきではない。つまり、本発明に関しては、デバイスの単なる関連する構成要素がA及びBであるということである。
図1は、参考のため、可動要素30が湾曲要素40により基板10の上方において支持される既知の構成を示している。これらは、アンカー又は支持要素20に対して可動要素を伸縮自在に取り付けるためのものである。湾曲要素は、可動要素の移動中に可動要素を支持する湾曲要素が所定量だけ弾性的に変形させられるときに湾曲要素の反発力を急激に大きく増大させるためにストッパ60の形態をなす反発要素を有している。所定のサイズを有する反発要素は、湾曲要素と湾曲要素に対向する基板上に固定された固定要素との間に配置されたストッパである。ストッパは、湾曲要素が所定量だけ弾性的に変形させられる際に湾曲要素の中央部がストッパと接触するように、湾曲要素と対向する固定要素の部位に配置されていてもよい。また、ストッパは、湾曲要素が所定量だけ弾性的に変形させられる際にストッパが固定要素と接触するように、固定要素と対向する湾曲要素の中央部に形成されていてもよい。
スティクション(固着)の原因のうちの一つは誘電体層の帯電であり、それによりΔV=ρ/εの有効電圧の変動が引き起こされる。ここで、ρは誘電体における表面電荷であり、zは誘電体の厚さであり、εは誘電体の誘電率である。帯電電圧がスイッチの解放電圧よりも大きい場合(即ち、ΔV>Vrel)にはスティクションが起こる。従って、Vrelが増大すると、スイッチの信頼性が高まる。しかしながら、従来のスイッチにおいては、(VPI/Vrel=4/27(Cdown/Cupである。従って、Vrelが増大することにより(通常は望ましくない)VPIの増大が引き起こされる。図1の構成は、これを軽減することができるが、著しい実用的欠点を有している。
図2に示される本発明の第1の実施の形態は、VPIをわずかに減少(即ち、スティクションを減少)させつつVrelを増大させることができる二重バネ構造体を有するMEMS構造を伴っている。従来のMEMSスイッチは、間隙gだけ離間され且つバネkにより吊り下げられた二つの電極e,eを備えている。側面図で概略的に示される図2の構造は、一つの上端電極を有する代わりに、電気的に接続されるがバネkの形態をなす弾性カップリングにより機械的に分離された二つの部品e,eからなる分割された上端電極を有している。電極eは、独立に移動できる部分の一例である。電極e,eの面積はそれぞれA,Aである。構造は、連続的な下端電極eを基板10上に備えている。デバイスの用途に応じて、可動要素を例えばミラー、電気スイッチ接点、又は、キャパシタプレート等に対して取り付けることができる。
PIに対する影響:
図示の実施の形態において、バネkのバネ定数は、バネkのそれよりも十分に大きい。このように電極eの有効バネ定数は、電極eのそれよりもわずかに小さいため、プルイン電圧はわずかに小さいが、この影響はごくわずかであり、kがkよりも十分に大きい場合には無視することができる。実際にこれはいくつかの用途において有益となり得る。
relに対する影響:
電極に対して高い電圧を印加することにより電極を互いに接近させる(スイッチの用途において、これはスイッチの閉状態に対応する)と、上端電極e,eに作用する静電気力がこれらの電極の面積に比例する。電極eの面積Aが従来のスイッチのそれ(A+A)よりも小さいため、静電気力も小さい。従って、同じバネ定数を有する従来のスイッチと比較すると、提案されたスイッチの電極eは、高い解放電圧を有する。注目に値する有効性の指標は、比率VPI /Vrel をk/kと比較することである。A=Aとなる場合、これは、従来の単一バネデバイスにおいては直線であり、2バネデバイスにおいては直線より下方の曲線である。k/k=8の場合には、従来のスイッチに比較して相対解放電圧が約40%増大され、それにより、スイッチの信頼性が更に高くなる。
他の結果:
二重バネ構造体の構造は、MEMSデバイスの開放速度も高める。これは、スティクション作用が低減されるとともに、スイッチの加速のために多くの力を利用することができるからである。これは、特にスイッチデバイスにおいて重要である。この機構は、開放動作の初期の部分においてのみ意味がある。前述したように、二重バネ構造体は、静電MEMSスイッチの信頼性を高めることができる。当該構造は、約1.4の係数分だけ比率VPI/Vrelを減少させることができ、それにより、MEMSデバイスの信頼性を著しく高めることができる。
図3は、図2の構成に類似するが両側が支持された可動要素と両側が弾性カップリングにより支持された独立に移動できる部分(独立可動部)とを有する構成の概略図を示している。これは、構造的利点をもたらすことができる。電極の独立可動部eは、他の電極eに対して引っ込められた休止位置で示されている。これは、電極部分eが電極の引力に抗し且つスティクションに抗する大きな分離力を有し得るようにするのに役立つ。
図3の構成に対応するそのようなデバイスの構造の平面図が図4に示されている。この図は、製造中に間隙をエッチングできるようにし且つ空気流が空気ダンピング(空気制動)を低減できるようにするために多数の穴を有する正方形電極eを示している。正方形の各辺には四つのアンカー(41)が示されている。可撓性のある支持部材が各アンカーから正方形の可動要素eの各角部へと延在している。これらのそれぞれのバネ定数は、例えば長さ、厚さ、材料のタイプによって設定することができる。独立可動部eも正方形であり、この独立可動部eは、他の電極e2の中心にある正方形の開口内に配置されている。独立可動部の各角部は、開口の各角部から部分eの隣接する角部へと向かう細長いバーの形態をなす弾性カップリングにより支持されている。これらのカップリングは、支持部材よりも短く、そのため、高いバネ定数を有している。また、部分eは、エッチング及び空気の流れを可能にするために規則正しいパターンで穴を有している。下端電極e1は、大部分が他の電極の下側に隠れており、他の電極の組み合わせとほぼ同じ形状をなしている。下端電極は、図の上端及び下端に接触領域を有している。
図5は、本発明のデバイス100の概略的な一つの断面図を示しているが、多くの他の断面も可能である。図は、基板10の上端に、金属、例えばAl等の導電材料からなる層42を示している。この層42には、基板10上に配置された第1の電極eが形成されている。第1の電極eは、空隙60によって可動要素40から分離されている。空隙60は、中間金属層によって互いに分離されてもよい第1及び第2の絶縁層の堆積により形成される。絶縁層は、その後にエッチングにより除去され、このエッチングにおいては可動要素40の貫通穴を適切に利用することができる。犠牲層の除去においては、例えば国際公開公報第WO2004/037713A1号に記載されているようにドライエッチング技術及びウェットエッチング技術の両方を適用することができる。この場合、可動要素40は、アルミニウム又はアルミニウム合金等の導電材料を含んでいる。しかしながら、CuやNi等の他の導電材料を使用することができ、また、可動要素を導電性にする必要はない。可動要素40は、基板10に対する支持部41と主要部80とを備えるとともに、本発明に従って独立可動部70も備えている。この独立可動部70は、弾性カップリングk2を用いて主要部80に接続されている。また、可動要素40は、この実施の形態ではフレキシブル要素k1を備えているが、これは必ずしも必要ではない。しかしながら、弾性カップリングk2がフレキシブル要素k1よりも大きな弾性率を有していることが好ましく、そのためには、カップリング手段k2及びフレキシブル要素k1の長さが主要なパラメータである。導電性の可動要素40のこの実施例において、カップリング手段k2及びフレキシブル要素k1は、いずれも金属層中に組み込まれている。これは処理のために有利である。この実施例でも、主要部80が第2の電極e2を構成するとともに、独立可動部70が第3の電極e3を構成する。第1の電極e1は、第2及び第3の電極e2,e3の両方と対向するように横方向に延在している。ここで、第3の電極e3は、弾性カップリングk2の動きにより独立に移動することができるとともに、第1の電極e1によって引き付けられる。第3の電極は、第2の電極e2よりも第1の電極e1の方へと移動しやすい。
この第3の電極e3は、デバイス100の寿命に有利な影響を及ぼすと考えられる。MEMSデバイスの寿命は、主に帯電作用に依存しており、金属疲労又は同様の材料特性には依存しない。上記帯電作用を回避するためには、解放電圧ができる限り高くなければならず、これが第3の電極の本来の目的である。第2及び第3の導電層が、e2,e3,k1,k2をそれぞれ形成する。
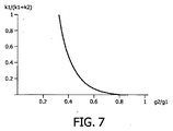
図6は、切り換え速度の増大を生み出すことができる他の実施の形態を示している。MEMSスイッチの切り換え速度は、通常、空気ダンピングによって大きく減少させられる。静電スイッチの閉塞速度は、高い動作電圧を印加することによって高めることができる。しかしながら、静電気力が常に引き付けているため、開放速度は構造体のバネ定数及び空気ダンピングによって完全に決定される。(膜領域の寸法が、通常は間隙距離よりも十分に大きい)MEMSスイッチにおいて、支配的な空気ダンピング力は、以下によって与えられるスクイーズ(squeeze)膜ダンピング力である。
sfd=bv/z (1)
ここで、vは速度であり、zは電極間の距離である。空気ダンピングの影響を減少させるための一つの方法は、膜に穴を設けて定数bを減少させることである。
図6は、以下のように従来の構造を改良することができるスタンプ構造体を使用する他の方法を示している。即ち、この方法は、基板と可動要素とを引き離すバネ力を高めてスティクションを回避するのを補助することにより、開放速度を増大させて信頼性を高めることができる。これは、VPIに影響を与えないようにしつつVrelを増大させる(即ち、スティクションを減少させる)ことを伴う。
間隙gだけ離間され且つバネkによって吊り下げられた二つの電極e,eを備える従来のMEMSスイッチに加えて、スイッチは、電極e2を有する可動要素と‘スタンプ’と称される独立可動部とを備えている。このスタンプは、バネkの形態をなす弾性カップリングにより上端(又は下端)電極に接続されるとともに、間隙gだけ基板から離間されている。スタンプは、間隙g2が電極間の間隙よりも小さくなるように間隙内に突出している。スタンプの下側の接触領域Aは、電極として使用されず、そのため、デバイス面積がわずかに増大される。
PIに対する影響:
プルイン電圧及び解放電圧を従来支配している方程式は、以下の通りである。即ち、VPI=8k /(27Aε)及びVrel =2gAε/Cdownである。最初に、提案されたスイッチのプルイン電圧及び解放電圧と従来のスイッチのそれとの間の差について検討する。gがg/3よりも大きい場合には、上端膜のプルイン電圧VPIが影響を受けないため、VPIにおいては、スタンプが基板に接触するまでスイッチが閉じている。この時点で、電極間の間隙はg−gであり、スイッチの有効バネ定数はk+kである。プルイン方程式から分かるように、スタンプを有する構造体のプルイン電圧は、以下が成り立つ限りスタンプが無い構造体と同じである。
>(k+k)(g−g/(k+k))
図7は、(k+k)がg/gと共にどのように変化するのかを示している。例えばg=g/2であり且つk=kである場合には、プルイン電圧が増大されない。VPIがスタンプによって影響されない領域が、図7のラインの右側に示されている。
即ち、その領域のVPIは、独立可動部を有する本発明のMEMS要素においては、そのような可動部が無い従来のMEMS要素の場合と同じである。尚、VPIが増大される場合であっても、VPI/Vrelの比率は、スタンプの影響を有利に受ける。
relに対する影響:
スタンプは、以下のファクタ分だけVrel を増大させる。
rel.stamp/V rel.conventional
=1+(k/k)[1−g/g] (2)
従って、スタンプ構造体がMEMSデバイスの信頼性を高めることができるのが分かる。
例えばg=0.6gであり且つk=9kである場合には、スタンプの結果として解放電圧が90%だけ増大する一方で、プルイン電圧は影響を受けないままである。
速度に対する影響:
スタンプは、スイッチをその閉動作中にわずかに減速するが、この影響はあまり大きくない。これは、スイッチがほぼ閉じられているときにだけスタンプの力が大きく、それに対し、この領域では静電気力が非常に大きく、静電気力がバネ力を容易に補償し得るからである。閉塞中のスイッチの速度は、電極が一緒に閉じられるときに最大となるのが分かる。
開放時、スタンプの開放力は、スイッチ動作の第1段階において非常に役立つ。これは、この範囲では、空気ダンピング力が最も大きいからである(方程式(1)参照)。スイッチ動作の最初の開放段階におけるそのいくらかの余分な力は、切り換え時間を大きく減少させることができ、一般的なスイッチが間隙の最初のたった20%を移動するために開放時間の約80%を費やすということを示すことにより確認される。先と同様にg=0.6gであり且つk=9kである場合には、閉じられた状態におけるバネ力が4.6の係数分だけ増大され、それにより、確実にスイッチの速度が著しく増大し、切り換え時間を2−3の係数分だけ短くすることができるのが分かる。
前述したように、スタンプ構造体が組み込まれた新規なMEMS構造は、静電MEMSスイッチの速度及び信頼性を高めることができる。この新規な構造は、2を上回る係数分だけ速度を高めることが期待されるとともに、約2の係数分だけ比率VPI/Vrelを減少させることができ、従って、MEMSデバイスの信頼性を高めることができる。
スタンプ両側で支持されたデバイスの概略図が図8に示されている。そのようなデバイスの構造の平面図が図9に示されている。図8において、スタンプは、両側が弾性カップリングk2により支持されている。バネの形態をなすこれらのカップリングは、可動要素に対して固定されている。可動要素は、スタンプ配置するための開口を中央に持つ電極e2を有している。前述したように、スタンプは、間隙g2が電極間の間隙g1よりも小さくなるように間隙内に突出している。また、基板上の電極e1は、スタンプの接触領域のための間隙を中央に有している。可動要素は、固定部20に取り付けられたバネk1の形態をなすフレキシブルな支持体によって支持されている。図9は、同様の構成を有する集積回路の平面図を示している。これは、スタンプが電極の独立可動部よりも小さい面積である点を除き、図5に対応している。図示のスタンプは、空気ダンピングを減少させるために穴を必要としない。図示のように、スタンプは四つではなく二つのバネk2だけを有している。
図10は、図8及び図9のデバイスを断面図で示している。この図は、図のそれと類似しており、両方の図において同じ参照符号は同じ部分を示している。先と同様に、これも単なる一つの実施の形態であり、可動要素40を異なるように構成してもよい。この実施例において、独立可動部70は、基板10に向かって突出している。この突出は、可動要素40の金属層が局所的に厚く且つ更なる中間層50のスタンプが存在するという両方の点から形成される。図10に示されるように、スタンプ50と基板10との間の結果として得られる間隔g2は、第1及び第2の電極e1,e2間の間隔よりも狭い。ここで、スタンプ50及び独立可動要素70のいずれも電極として使用されず、主に機械的機能を有している。一つのスタンプ50の代わりに複数のスタンプが存在してもよく、また、第2の電極e2に一つ以上のスタンプが設けられていてもよいことが理解される。
図11は、更なるデバイスを断面図で示している。このデバイスも図10のデバイスに類似しており、そのため、同じ参照符号が同等の要素を示している。ここで、独立可動部70又は実際にはスタンプ50は、基板10上の第4の電極(e4)と対向している第3の電極e3として機能する。この実施の形態は、第2の電極対e3−e4がガルバニックスイッチとして使用される場合には非常に適しており、これに対し、第1の電極対e1−e2は可変キャパシタ及び/又はアクチュエータとして使用するためのものである。しかしながら、いずれの電極対も容量性機能を有していてもよい。
デバイスの利点が特に第2の閉状態におけるその位置に起因していることが理解される。通常、独立可動部70及び可動要素の主要部(例えば、第2の電極e2)は、基板に対して取り付けられる。その結果、両方の部分同士の間の弾性カップリングk2は、圧縮応力下にあり、対抗力を与える。これは、この実施例では、可動要素が基板に向かう突出部を独立可動部において有していることによるものである。両方の部分が基板に対して取り付けられると、独立可動部が主要部に対して相対的に上側に押し上げられる。結果として得られる応力を支持するのは弾性カップリングであり、弾性カップリングはそれをもってスティクションに抗する対抗力を与える。
任意の実施の形態において前述したMEMSデバイスは、例えば、集積回路、携帯電話等のモバイル機器、又は、無線モバイルコンピュータデバイスに組み込むことができる。基板に対して垂直に移動することができる要素に関して説明したが、基本的には、動きは平行にすることができ又は平行成分を有することができる。前述したように、MEMSデバイスは、可動要素(30)と、可動要素を移動させるための一対の電極(e1,e2)と、電極のプルイン(引き込み)に対する更なる抵抗を与えるために他のそれぞれの電極に対して弾性的に結合された独立可動部(e3)を有する一つの電極とを有している。これは、高い解放電圧Vrelを可能にし、従って、スティクションの危険を低減することができる。また、Vrelに対するVPIの比率も減少させることができ、そのため、可動要素の移動のために幅広い範囲の電圧を利用することができる。これにより、高速切り換えが可能になる。独立可動部の面積は他の電極よりも小さく、また、弾性カップリングのバネ定数はフレキシブルな支持体のそれよりも大きい。あるいは、可動要素は、それが基板と接触するときにプルインに対する更なる抵抗を与えるために、基板に対して弾性的に結合され且つ基板に向けて突出する可動スタンプ部分を有することができる。
従って、要約すると、本発明は、可動要素30と、可動要素を移動させるための一対の電極e1,e2と、電極のプルインに対する更なる抵抗を与えるために他のそれぞれの電極に対して弾性的に結合された独立可動部e3を有する一つの電極とを有するMEMSデバイスを提供する。これは、高い解放電圧Vrelを可能にし、従って、スティクションの危険を低減することができる。また、Vrelに対するVPIの比率も減少させることができ、そのため、可動要素の移動のために幅広い範囲の電圧を利用することができる。これにより、高速切り換えが可能になる。独立可動部の面積は他の電極よりも小さく、また、弾性カップリングのバネ定数はフレキシブルな支持体のそれよりも大きい。あるいは、可動要素は、それが基板と接触するときにプルインに対する更なる抵抗を与えるために基板に対して弾性的に結合され且つ基板に向けて突出する可動スタンプ部分を有することができる。
米国特許出願公開公報第US2002/0149071号から知られる構成を示している。 第1の実施の形態に係る構成の概略図を示している。 第2の実施の形態に係る構成の概略図を示している。 図3の実施の形態に対応する実施の形態を有するデバイスの平面図を示している。 図4のデバイスに対応するデバイスを概略断面図で示している。 第3の実施の形態の概略図を示している。 図6に示されるk1,k2,g1,g2の様々な値に関してVPIがどのように影響を受けるかを表すグラフを示している。 第4の実施の形態の概略図を示している。 図8のデバイスに対応するデバイスの平面図を示している。 図9のデバイスに対応するデバイスを概略断面図で示している。 デバイスの第5の実施の形態を概略断面図で示している。

Claims (10)

  1. 基板(10)上の第1の電極(e1)と、第2の電極(e2)とを備えるマイクロ電気機械デバイスであって
    前記第2の電極(e2)は、可動要素(k1,k2,70,80)の一部であり、前記可動要素の変形可能部分(k1,k2)の弾性変形によって第1の位置と十分に近接した第2の位置との間で前記第1の電極(e1)に向かって及び前記第1の電極(e1)から移動可能であるとともに、前記第1の位置において所定の間隙だけ前記第1の電極(e1)から離間し、
    前記可動要素は、弾性カップリング(k2)により前記可動要素(k1,k2,70,80)の主要部に対して結合される第1の独立可動部(80)及び第2の独立可動部(70)を備え、それにより、前記弾性カップリング(k2)は、前記第2の電極(e2)前記第2の位置にあるときに前記可動要素(k1,k2,70,80)に対して前記第1の電極(e1)から離隔する方向力を及ぼし、
    前記第1の電極(e1)及び前記第2の電極(e2)は、RFキャパシタの電極であり、
    前記可動要素(k1,k2,70,80)の前記第1の独立可動部(80)の一部として、電圧源と接触可能な第3の電極(e3)が配置され、
    前記第3の電極(e3)と対向して第2の電極対を形成する第4の電極(e4)が、前記基板上(10)に配置されることを特徴とするマイクロ電気機械デバイス。
  2. 前記弾性カップリングは、前記変形可能部分よりも大きいバネ定数を有していることを特徴とする請求項1に記載のデバイス。
  3. 前記弾性カップリングは、前記第1の独立可動部の少なくとも二つの側に配置されていることを特徴とする請求項1に記載のデバイス。
  4. 前記第1の独立可動部は、少なくとも三つの側において前記主要部によって取り囲まれていることを特徴とする請求項3に記載のデバイス。
  5. 前記第1の独立可動部は、前記基板に向かって突出していることを特徴とする請求項1に記載のデバイス。
  6. 前記主要部は、前記変形可能部分に対して結合されていることを特徴とする請求項1に記載のデバイス。
  7. 前記変形可能部分は、一つ以上の可撓性要素として存在することを特徴とする請求項1に記載のデバイス。
  8. 前記第1の電極及び前記第2の電極の対は、ガルバニックスイッチを形成することを特徴とする請求項1に記載のデバイス。
  9. 前記可動要素は、実質的に金属層により構成され、前記第1の独立可動部と前記主要部との間の弾性カップリングは、少なくとも一つのブリッジとして構成されることを特徴とする請求項1に記載のデバイス。
  10. 基板(10)と、
    RFキャパシタの一部である可動要素(k1,k2,70,80)と、
    前記可動要素(k1,k2,70,80)を前記基板(10)に向けて移動させるための駆動手段(e1,e2)とを有し、
    前記可動要素(k1,k2,70,80)は、前記可動要素(k1,k2,70,80)の残余の部分に対して弾性的に結合された第1の独立可動部(80)及び第2の独立可動部(70)と、前記基板(10)に対する支持部(41)と、を有し、
    前記可動要素(k1,k2,70,80)の前記第1の独立可動部(80)の一部として、電圧源と接触可能な第3の電極(e3)が配置され、
    前記第3の電極(e3)と対向して第2の電極対を形成する第4の電極(e4)前記基板(10)上に配置されることを特徴とするマイクロ電気機械デバイス。
JP2007538568A 2004-10-27 2005-10-24 Memsデバイス用のバネ構造体 Expired - Fee Related JP5259188B2 (ja)

Applications Claiming Priority (3)

Application Number Priority Date Filing Date Title
EP04105335 2004-10-27
EP04105335.6 2004-10-27
PCT/IB2005/053475 WO2006046192A1 (en) 2004-10-27 2005-10-24 Spring structure for mems device

Publications (2)

Publication Number Publication Date
JP2008517784A JP2008517784A (ja) 2008-05-29
JP5259188B2 true JP5259188B2 (ja) 2013-08-07

Family

ID=35717471

Family Applications (1)

Application Number Title Priority Date Filing Date
JP2007538568A Expired - Fee Related JP5259188B2 (ja) 2004-10-27 2005-10-24 Memsデバイス用のバネ構造体

Country Status (6)

Country Link
US (1) US8098120B2 (ja)
EP (1) EP1807856B1 (ja)
JP (1) JP5259188B2 (ja)
CN (1) CN101048840B (ja)
AT (1) ATE536623T1 (ja)
WO (1) WO2006046192A1 (ja)

Families Citing this family (32)

* Cited by examiner, † Cited by third party
Publication number Priority date Publication date Assignee Title
US8063886B2 (en) * 2006-07-18 2011-11-22 Iee International Electronics & Engineering S.A. Data input device
JP4867007B2 (ja) * 2006-08-30 2012-02-01 国立大学法人 鹿児島大学 Memsスイッチ及び携帯無線端末機器
EP2168239A2 (en) 2007-06-13 2010-03-31 Nxp B.V. Tunable mems capacitor
JP5189881B2 (ja) * 2007-06-27 2013-04-24 株式会社エヌ・ティ・ティ・ドコモ 可変回路、通信システム
US8363380B2 (en) * 2009-05-28 2013-01-29 Qualcomm Incorporated MEMS varactors
JP5348032B2 (ja) * 2010-03-16 2013-11-20 セイコーエプソン株式会社 光フィルター並びにそれを用いた分析機器及び光機器
US9203489B2 (en) 2010-05-05 2015-12-01 Google Technology Holdings LLC Method and precoder information feedback in multi-antenna wireless communication systems
KR101136820B1 (ko) 2010-05-28 2012-04-19 주식회사 넥스비보 미소기계 구동기
JP5593903B2 (ja) * 2010-07-16 2014-09-24 富士通株式会社 可変容量素子
JP5177209B2 (ja) 2010-11-24 2013-04-03 株式会社デンソー ファブリペロー干渉計
JP5807353B2 (ja) * 2011-03-18 2015-11-10 セイコーエプソン株式会社 光フィルター及び光フィルターモジュール並びに分析機器及び光機器
US9085454B2 (en) * 2011-07-05 2015-07-21 Duality Reality Energy, LLC Reduced stiffness micro-mechanical structure
US9813262B2 (en) 2012-12-03 2017-11-07 Google Technology Holdings LLC Method and apparatus for selectively transmitting data using spatial diversity
US9591508B2 (en) 2012-12-20 2017-03-07 Google Technology Holdings LLC Methods and apparatus for transmitting data between different peer-to-peer communication groups
US9979531B2 (en) 2013-01-03 2018-05-22 Google Technology Holdings LLC Method and apparatus for tuning a communication device for multi band operation
US10229697B2 (en) 2013-03-12 2019-03-12 Google Technology Holdings LLC Apparatus and method for beamforming to obtain voice and noise signals
US9300227B2 (en) * 2013-06-05 2016-03-29 Silicon Laboratories Inc. Monolithic body MEMS devices
US9386542B2 (en) 2013-09-19 2016-07-05 Google Technology Holdings, LLC Method and apparatus for estimating transmit power of a wireless device
CN104555882B (zh) * 2013-10-10 2016-03-23 原相科技股份有限公司 微机电元件与微机电补偿结构
US9638654B2 (en) 2013-11-25 2017-05-02 Oil States Industries, Inc. Method and system for health monitoring of composite elastomeric flexible elements
US9301177B2 (en) 2013-12-18 2016-03-29 Google Technology Holdings LLC Method and system to improve antenna tuner reliability
US9549290B2 (en) 2013-12-19 2017-01-17 Google Technology Holdings LLC Method and apparatus for determining direction information for a wireless device
JP2015156611A (ja) * 2014-02-21 2015-08-27 セイコーエプソン株式会社 振動子及びその製造方法、並びに電子装置
CN103943417A (zh) * 2014-04-09 2014-07-23 苏州锟恩电子科技有限公司 一种电容式rf mems开关
US9491007B2 (en) 2014-04-28 2016-11-08 Google Technology Holdings LLC Apparatus and method for antenna matching
US9478847B2 (en) 2014-06-02 2016-10-25 Google Technology Holdings LLC Antenna system and method of assembly for a wearable electronic device
US9334153B1 (en) * 2014-11-03 2016-05-10 Hrl Laboratories, Llc MEMS device connected to a substrate by flexible support structures
DE102017200111B3 (de) * 2017-01-05 2018-03-15 Robert Bosch Gmbh Mikromechanische Schallwandleranordnung und entsprechendes Herstellungsverfahren
CN106851509B (zh) * 2017-03-06 2021-02-19 瑞声声学科技(深圳)有限公司 Mems麦克风
FR3067853A1 (fr) 2017-06-15 2018-12-21 Commissariat A L'energie Atomique Et Aux Energies Alternatives Condensateur a capacite variable electromecanique a quatre electrodes
FR3138657A1 (fr) * 2022-08-08 2024-02-09 Airmems Commutateur MEMS à multiples déformations et commutateur comprenant un ou plusieurs commutateurs MEMS
CN116027543A (zh) * 2022-10-31 2023-04-28 上海集成电路研发中心有限公司 微电子元件及其制备方法、电子设备

Family Cites Families (14)

* Cited by examiner, † Cited by third party
Publication number Priority date Publication date Assignee Title
US149071A (en) * 1874-03-31 Improvement in implements for harvesting corn
DE4205340C1 (en) * 1992-02-21 1993-08-05 Siemens Ag, 8000 Muenchen, De Micro-mechanical electrostatic relay with parallel electrodes - has frame shaped armature substrate with armature contacts above base electrode contacts on base substrate
EP1024512B8 (en) 1997-10-21 2005-03-23 Omron Corporation Electrostatic micro-relay
US6115231A (en) * 1997-11-25 2000-09-05 Tdk Corporation Electrostatic relay
GB2353410B (en) 1999-08-18 2002-04-17 Marconi Electronic Syst Ltd Electrical switches
US6418006B1 (en) * 2000-12-20 2002-07-09 The Board Of Trustees Of The University Of Illinois Wide tuning range variable MEMs capacitor
KR100738064B1 (ko) 2001-02-27 2007-07-12 삼성전자주식회사 비선형적 복원력의 스프링을 가지는 mems 소자
CN1463470A (zh) 2001-04-13 2003-12-24 皇家菲利浦电子有限公司 制造电子器件的方法
US7303934B2 (en) 2002-10-24 2007-12-04 Nxp B.V. Method for manufacturing a micro-electromechanical device and micro-electromechanical device obtained therewith
JP4182861B2 (ja) 2002-12-05 2008-11-19 オムロン株式会社 接点開閉器および接点開閉器を備えた装置
KR100422305B1 (ko) 2002-12-05 2004-03-10 씨제이 주식회사 리보플라빈을 생산하는 미생물 및 이를 이용한리보플라빈의 생산방법
ATE434839T1 (de) * 2002-12-13 2009-07-15 Wispry Inc Varactorvorrichtungen und verfahren
US7709285B2 (en) 2003-10-31 2010-05-04 Epcos Ag Method of manufacturing a MEMS device and MEMS device
US7265477B2 (en) * 2004-01-05 2007-09-04 Chang-Feng Wan Stepping actuator and method of manufacture therefore

Also Published As

Publication number Publication date
US20080135385A1 (en) 2008-06-12
EP1807856A1 (en) 2007-07-18
CN101048840A (zh) 2007-10-03
US8098120B2 (en) 2012-01-17
ATE536623T1 (de) 2011-12-15
CN101048840B (zh) 2010-06-16
JP2008517784A (ja) 2008-05-29
EP1807856B1 (en) 2011-12-07
WO2006046192A1 (en) 2006-05-04

Similar Documents

Publication Publication Date Title
JP5259188B2 (ja) Memsデバイス用のバネ構造体
Chu et al. A low actuation voltage electrostatic actuator for RF MEMS switch applications
KR101230284B1 (ko) 가요성이고 자유로운 스위치 멤브레인의 무선 주파수 미세전자기계 시스템 스위치
US8203402B2 (en) Electronic device
WO2005042400A1 (en) Electronic device
US8018307B2 (en) Micro-electromechanical device and module and method of manufacturing same
JP5588663B2 (ja) マイクロ電気機械システムスイッチ
US8194386B2 (en) Arrangement of MEMS devices having series coupled capacitors
JP5031573B2 (ja) Memsデバイスにおける空気制動の低減
Chiou et al. Extending the traveling range with a cascade electrostatic comb-drive actuator
US7750419B2 (en) Tuneable electronic devices and electronic arrangements comprising such tuneable devices
JP4739173B2 (ja) マイクロスイッチング素子
JP2004181552A (ja) マイクロマシンキャパシタ
CN100521030C (zh) 微机电装置和模块及其驱动方法
JP4628275B2 (ja) マイクロスイッチング素子およびマイクロスイッチング素子製造方法
Maninder et al. Parametric optimization of symmetric toggle RF MEMS switch for X-band applications
Mahmoudi et al. A combined thermo-electrostatic MEMS-based switch with low actuation voltage
KR20040111354A (ko) 마이크로-전자기계 시스템을 갖춘 마이크로스위치

Legal Events

Date Code Title Description
A711 Notification of change in applicant

Free format text: JAPANESE INTERMEDIATE CODE: A711

Effective date: 20080626

A621 Written request for application examination

Free format text: JAPANESE INTERMEDIATE CODE: A621

Effective date: 20080806

A711 Notification of change in applicant

Free format text: JAPANESE INTERMEDIATE CODE: A711

Effective date: 20100624

A131 Notification of reasons for refusal

Free format text: JAPANESE INTERMEDIATE CODE: A131

Effective date: 20110624

A521 Request for written amendment filed

Free format text: JAPANESE INTERMEDIATE CODE: A523

Effective date: 20110926

A02 Decision of refusal

Free format text: JAPANESE INTERMEDIATE CODE: A02

Effective date: 20111216

A521 Request for written amendment filed

Free format text: JAPANESE INTERMEDIATE CODE: A523

Effective date: 20120329

A911 Transfer to examiner for re-examination before appeal (zenchi)

Free format text: JAPANESE INTERMEDIATE CODE: A911

Effective date: 20120406

A912 Re-examination (zenchi) completed and case transferred to appeal board

Free format text: JAPANESE INTERMEDIATE CODE: A912

Effective date: 20120525

A601 Written request for extension of time

Free format text: JAPANESE INTERMEDIATE CODE: A601

Effective date: 20130208

A602 Written permission of extension of time

Free format text: JAPANESE INTERMEDIATE CODE: A602

Effective date: 20130218

A521 Request for written amendment filed

Free format text: JAPANESE INTERMEDIATE CODE: A523

Effective date: 20130228

A61 First payment of annual fees (during grant procedure)

Free format text: JAPANESE INTERMEDIATE CODE: A61

Effective date: 20130424

FPAY Renewal fee payment (event date is renewal date of database)

Free format text: PAYMENT UNTIL: 20160502

Year of fee payment: 3

R150 Certificate of patent or registration of utility model

Ref document number: 5259188

Country of ref document: JP

Free format text: JAPANESE INTERMEDIATE CODE: R150

Free format text: JAPANESE INTERMEDIATE CODE: R150

R250 Receipt of annual fees

Free format text: JAPANESE INTERMEDIATE CODE: R250

R250 Receipt of annual fees

Free format text: JAPANESE INTERMEDIATE CODE: R250

S111 Request for change of ownership or part of ownership

Free format text: JAPANESE INTERMEDIATE CODE: R313113

R350 Written notification of registration of transfer

Free format text: JAPANESE INTERMEDIATE CODE: R350

LAPS Cancellation because of no payment of annual fees