JP5122425B2 - 洗浄装置および洗浄方法 - Google Patents

洗浄装置および洗浄方法 Download PDF

Info

Publication number
JP5122425B2
JP5122425B2 JP2008298394A JP2008298394A JP5122425B2 JP 5122425 B2 JP5122425 B2 JP 5122425B2 JP 2008298394 A JP2008298394 A JP 2008298394A JP 2008298394 A JP2008298394 A JP 2008298394A JP 5122425 B2 JP5122425 B2 JP 5122425B2
Authority
JP
Japan
Prior art keywords
cleaning
substrate
processed
wafer
cleaning unit
Prior art date
Legal status (The legal status is an assumption and is not a legal conclusion. Google has not performed a legal analysis and makes no representation as to the accuracy of the status listed.)
Expired - Fee Related
Application number
JP2008298394A
Other languages
English (en)
Other versions
JP2009147325A (ja
Inventor
居 武 彦 折
Current Assignee (The listed assignees may be inaccurate. Google has not performed a legal analysis and makes no representation or warranty as to the accuracy of the list.)
Tokyo Electron Ltd
Original Assignee
Tokyo Electron Ltd
Priority date (The priority date is an assumption and is not a legal conclusion. Google has not performed a legal analysis and makes no representation as to the accuracy of the date listed.)
Filing date
Publication date
Application filed by Tokyo Electron Ltd filed Critical Tokyo Electron Ltd
Priority to JP2008298394A priority Critical patent/JP5122425B2/ja
Publication of JP2009147325A publication Critical patent/JP2009147325A/ja
Application granted granted Critical
Publication of JP5122425B2 publication Critical patent/JP5122425B2/ja
Expired - Fee Related legal-status Critical Current
Anticipated expiration legal-status Critical

Links

Images

Landscapes

  • Cleaning Or Drying Semiconductors (AREA)

Description

本発明は、被処理基板の周縁部を洗浄する洗浄装置および洗浄方法に関連している。
従来から、被処理基板であるウエハの周縁部を、エッチング液(洗浄液)を用いてエッチングする方法が知られている。このようなウエハを洗浄する方法としては、例えば、ウエハを保持して周方向に回転駆動する保持駆動機構と、エッチング液が収容されるとともに保持駆動機構によって回転駆動されるウエハの周縁部がエッチング液に浸漬してエッチングされるエッチング槽と、を備えたものが知られている(特許文献1参照)。
特開2004−296810号公報
一般的に、ウエハの表面にはパーティクルが付着し、ウエハの裏面にはポリマーなどの不純物(以下、このような不純物をポリマーとして表現する)が付着する傾向がある。そして、ウエハの裏面に付着するポリマーはウエハの表面に付着するパーティクルと比較して、ウエハから除去されにくくなっている。このため、従来の洗浄装置を用いても、ウエハの裏面に付着したポリマーを確実に除去することは難しい。この点、裏面に付着したポリマーを除去しようとして強い薬液を含む洗浄液を使用すると、ウエハの表面側が浸食されてしまう。
本発明は、このような点を考慮してなされたものであり、被処理基板を洗浄する場合に、被処理基板の一方の面と他方の面とで除去する対象物が異なる場合であっても各対象物を確実に除去することができ、また、当該被処理基板を浸食することなく、被処理基板に付着したポリマーを確実に除去することができる洗浄装置および洗浄方法を提供することを目的とする。
本発明による洗浄装置は、
被処理基板の周縁部を洗浄する洗浄装置において、
被処理基板の一方の面の周縁部に当接し、当該被処理基板の面内方向で回転駆動される第一洗浄部と、
被処理基板の他方の面の周縁部に当接し、当該被処理基板の面内方向で回転駆動される第二洗浄部と、を備え、
第二洗浄部から被処理基板の他方の面に加わる摩擦力が、第一洗浄部から被処理基板の一方の面に加わる摩擦力よりも大きくなっている。
このような構成によって、被処理基板を洗浄する場合に、被処理基板の一方の面と他方の面とで除去する対象物が異なる場合であっても各対象物を確実に除去することができ、また、当該被処理基板を浸食することなく、被処理基板に付着したポリマーを確実に除去することができる。
本発明による洗浄装置において、
第二洗浄部は、第一洗浄部よりも速い速度で回転することが好ましい。
本発明による洗浄装置において、
第二洗浄部が被処理基板の他方の面に当接する面積は、第一洗浄部が被処理基板の一方の面に当接する面積よりも大きいことが好ましい。
本発明による洗浄装置において、
第一洗浄部と第二洗浄部とは異なる材料からなり、
第二洗浄部を構成する材料の被処理基板に対する摩擦係数は、第一洗浄部を構成する材料の被処理基板に対する摩擦係数よりも大きいことが好ましい。
本発明による洗浄装置において、
第二洗浄部は、所定の方向から見た場合に、第一洗浄部とは逆方向に回転することが好ましい。
このような構成によって、第二洗浄部から被処理基板の他方の面に加わる摩擦力をさらに大きくすることができ、被処理基板の裏面に付着したポリマーをより確実に除去することができる。
本発明による洗浄装置において、
洗浄液を収容する収容槽と、
収容槽に連結され、収容槽内に洗浄液を供給する供給部と、
収容槽に連結され、収容槽内に収容された洗浄液を排出する排出部と、
収容槽の上方部に連結され、収容槽の上方部から洗浄液を吸引して排出する吸引部と、をさらに備え、
第一洗浄部および第二洗浄部は、ウエハWの面内方向が略鉛直方向に向くように、当該被処理基板を支持することが好ましい。
このような構成によって、被処理基板の周縁部を洗浄した洗浄液が、被処理基板が回転することに伴って、被処理基板に付着したまま上方へ移動することがなく、洗浄液が被処理基板を伝って垂れることによって、被処理基板に悪影響が出ることを防止することができる。
本発明による洗浄方法は、
被処理基板の周縁部を洗浄する洗浄方法において、
前記被処理基板の面内方向で回転駆動される第一洗浄部と、前記被処理基板の面内方向で回転駆動される第二洗浄部とを有する洗浄装置を用いた洗浄方法であって、
被処理基板を第一洗浄部と第二洗浄部との間に載置する工程であって、被処理基板の一方の面の周縁部に第一洗浄部を当接させ、被処理基板の他方の面の周縁部に第二洗浄部を当接させる工程と、
第二洗浄部によって、第一洗浄部から被処理基板の一方の面に加わる摩擦力よりも大きな摩擦力を被処理基板の他方の面に加える工程と、
を備えている。
このような方法によって、被処理基板を洗浄する場合に、被処理基板の一方の面と他方の面とで除去する対象物が異なる場合であっても各対象物を確実に除去することができ、また、当該被処理基板を浸食することなく、被処理基板に付着したポリマーを確実に除去することができる。
本発明によれば、被処理基板のポリマーが付着する傾向にある他方の面に加わる摩擦力を、パーティクルが付着する傾向にある一方の面に加わる摩擦力よりも大きくすることによって、被処理基板を洗浄する場合に、被処理基板の一方の面と他方の面とで除去する対象物が異なる場合であっても各対象物を確実に除去することができ、また、当該被処理基板を浸食することなく、被処理基板に付着したポリマーを確実に除去することができる。
発明を実施するための形態
第1の実施の形態
以下、本発明に係る洗浄装置および洗浄方法の第1の実施の形態について、図面を参照して説明する。ここで、図1乃至図3は本発明の第1の実施の形態を示す図である。
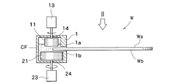
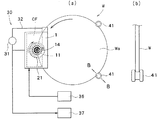
図1および図2(a)に示すように、本実施の形態の洗浄装置は、被処理基板である半導体ウエハW(以下、単にウエハWとも呼ぶ)の周縁部を洗浄液によって洗浄するためのものである。ここで、図1は、本実施の形態による洗浄装置の側方断面図である。また、図2(a)は、本実施の形態による洗浄装置を図1の矢印II方向から見た上方平面図であり、図2(b)は、図2(a)を直線B−Bで保持部材41(後述)を切断した縦断面図である。
図1に示すように、洗浄装置は、洗浄液CFを収容する収容槽1と、収容槽1内の上方側に配置され、ウエハWの表面(一方の面)Waの周縁部に当接し、当該ウエハWの面内方向で回転駆動される第一洗浄ブラシ(第一洗浄部)11と、収容槽1内の下方側に配置され、ウエハWの裏面(他方の面)Wbの周縁部に当接し、当該ウエハWの面内方向で回転駆動される第二洗浄ブラシ(第二洗浄部)21と、を備えている。
このうち、洗浄液CFは、純水や、純水と薬液の混合液などからなっている。なお、この薬液は、HFなどの酸性溶液や、NHなどのアルカリ性溶液からなっている。
また、図1および図2(a)に示すように、第二洗浄ブラシ21は、第一洗浄ブラシ11よりも大きさが大きくなっており、第二洗浄ブラシ21がウエハWの裏面Wbに当接する面積は、第一洗浄ブラシ11がウエハWの表面Waに当接する面積よりも大きくなっている。
また、図1に示すように、第一洗浄ブラシ11は、第一回転軸14を介して第一駆動モータ13に連結されており、他方、第二洗浄ブラシ21は、第二回転軸24を介して第二駆動モータ23に連結されている。
図2(a)に示すように、第二洗浄ブラシ21は、図1に示した矢印IIの示す方向(所定の方向)から見た場合に、第一洗浄ブラシ11と同じ方向に回転するようになっている。具体的には、図1に示した矢印IIの示す方向から見た場合に、第二洗浄ブラシ21は、第二駆動モータ23によって、時計回りに回転駆動され、同様に、第一洗浄ブラシ11は、第一駆動モータ13によって、時計回りに回転駆動される(図2(a)の矢印参照)。
また、図2(a)において、第二駆動モータ23の回転駆動速度は第一駆動モータ13の回転駆動速度よりも大きくなっており、第二洗浄ブラシ21は、第一洗浄ブラシ11よりも速い速度で回転するようになっている。
また、図2(a)に示すように、第二洗浄ブラシ21の上面と概ね同じ高さ位置に、ウエハWの裏面Wbを支持するための保持部材41が二つ配置されている。この保持部材41と第二ブラシ21とによって、ウエハWの裏面Wbが支持され、ウエハWの面内方向は略水平方向を向くようになっている。なお、この保持部材41は、図2(b)に示すように凹部を有しており、当該凹部内にウエハWが配置され保持されるようになっている。
また、図2(a)に示すように、収容槽1には、収容槽1内に洗浄液CFを供給する供給部36と、この収容槽1内に収容された洗浄液CFを排出する排出部37が連結されている。また、図2(a)に示すように、収容槽1には、収容槽1から洗浄液を吸引して排出する吸引部30が連結されていることが好ましい。この吸引部30は、図2(a)に示すように、収容槽1の上方部に連結され排出部37へと導かれた吸引管32と、この吸引管32に設けられ、収容槽1から洗浄液を吸引して排出する吸引ポンプ31とからなっている。また、このうち吸引管32は、ウエハWの表面Wa側と裏面Wb側の両方向に分岐して収容槽1に連結されており、ウエハWの表面Waと裏面Wbの両側から洗浄液CFを吸引して排出することができるようになっている。
また、図1に示すように、収容槽1の縦断面は、ウエハWが挿入される開口を有する略コの字形状からなっている。そして、この収容槽1は、上端から下方に向かって延在する上方突出部1aと、下端から上方に向かって延在する下方突出部1bと、を有している。
次に、このような構成からなる本実施の形態の作用について述べる。
まず、ウエハWが、第二洗浄ブラシ21と保持部材41の上に載置される。このとき、ウエハWは第二洗浄ブラシ21と第一洗浄ブラシ11との間に配置されており、パーティクルが付着する傾向にあるウエハWの表面Waが第一洗浄ブラシ11に当接され、ポリマーが付着する傾向にあるウエハWの裏面Wbが第二洗浄ブラシ21に当接される。
次に、第一駆動モータ13によって第一洗浄ブラシ11が回転駆動され、第二駆動モータ23によって第二洗浄ブラシ21が回転駆動される(図1および図2(a)参照)。具体的には、図1に示した矢印IIの示す方向から見た場合に、第二洗浄ブラシ21は時計回りに回転駆動され、同様に、第一洗浄ブラシ11は時計回りに回転駆動される(図2(a)の矢印参照)。
このように、第一洗浄ブラシ11および第二洗浄ブラシ21が回転駆動されることによって、第一洗浄ブラシ11と第二洗浄ブラシ21からの摩擦力により、ウエハWが面内で回転される。このとき、ウエハWは、図1に示した矢印IIの示す方向から見た場合に、反時計回りに回転される(図2(a)参照)。
ここで、図1および図2(a)に示すように、第二洗浄ブラシ21は第一洗浄ブラシ11よりも大きさが大きくなっており、第二洗浄ブラシ21がウエハWの裏面Wbに当接する面積は、第一洗浄ブラシ11がウエハWの表面Waに当接する面積よりも大きくなっている。
このため、ウエハWから除去されにくいポリマーの付着する傾向のある裏面Wbに大きな摩擦力を加えることができ、かつ、ウエハWから除去されやすいパーティクルの付着する傾向にある表面Waに、裏面Wbに加わる摩擦力よりも小さな摩擦力を加えることができる。
また、第二駆動モータ23の回転駆動速度は第一駆動モータ13の回転駆動速度よりも大きくなっており、第二洗浄ブラシ21は、第一洗浄ブラシ11よりも速い速度で回転するようになっている。このため、やはり、ウエハWから除去されにくいポリマーの付着する傾向のある裏面Wbに大きな摩擦力を加えることができ、かつ、ウエハWから除去されやすいパーティクルの付着する傾向にある表面Waに、裏面Wbに加わる摩擦力よりも小さな摩擦力を加えることができる。
このように、本実施の形態によれば、第一洗浄ブラシ11からウエハWの裏面Wbに加わる摩擦力を、第二洗浄ブラシ21から被処理基板の表面Waに加わる摩擦力よりも大きくすることができるので、ウエハWの表面Waと裏面Wbとで除去する対象物が異なる場合であっても各対象物を確実に除去することができ、より具体的には、ウエハWの表面Waに付着したパーティクルと、ウエハWの裏面Wbに付着したポリマーを確実に除去することができる。また、洗浄液CFに含まれる薬液の濃度を必要以上に濃くすることなく(場合によっては純水によって)、ウエハWの裏面Wbに付着したポリマーを確実に除去することもでき、洗浄液CFに含まれる薬液によってウエハWの表面Waが浸食されることを防止することができる。
また、ウエハWの表面Waには、裏面Wbに加わる摩擦力よりも小さな摩擦力を加えることができるので、ウエハWの表面Waが第一洗浄ブラシ11によって傷つけられることを防止することができる。
すなわち、従来技術によれば、薬液の濃度が薄い洗浄液を用いた場合には、ウエハを洗浄してもウエハの裏面に付着したポリマーを除去することができない。他方、裏面に付着したポリマーを除去しようとして強い薬液を含む洗浄液を使用すると、ウエハの表面が浸食されてしまう。
これに対して、本実施の形態によれば、第一洗浄ブラシ11からウエハWの裏面Wbに加わる摩擦力を大きくしているので、薬液の濃度が薄い洗浄液を用いたとしても(場合によっては純水を用いたとしても)、ウエハWの裏面Wbに付着したポリマーを確実に除去することができる。また、このように薬液の濃度が薄い洗浄液を用いることができるので、ウエハWの表面Waが浸食されてしまうこともない。
また、本実施の形態では、ウエハWの表面Waに加わる摩擦力を小さくしているので、ウエハWの表面Waが第一洗浄ブラシ11によって傷つけられることを防止することもできる。
なお、図2(a)に示すように、収容槽1から洗浄液が吸引されて排出されているので、ウエハWの周縁部を洗浄した洗浄液CFが、ウエハWが回転することに伴って、ウエハWに付着したまま移動することを防止することができる。このため、洗浄液CFがウエハWの表面Waや裏面Wbの非除去対象面(洗浄液CFで洗浄する対象となっていない面)にまで洗浄液CFが広がってしまうことを防止することができ、ウエハWに悪影響が出ることを防止することができる。
また、図1に示すように、収容槽1は、上端から下方に向かって延在する上方突出部1aと、下端から上方に向かって延在する下方突出部1bと、を有しており、上方突出部1aと下方突出部1bとの間の間隙は非常に小さくなっている。このため、ウエハWの表面Waや裏面Wbに洗浄液CFが広がってしまうことをより確実に防止することができ、ウエハWに悪影響が及ぼすことを確実に防止することができる。
また、上述のように、ウエハWは、面内方向が水平になるようにして支持されるとともに、面内方向で回転されるので、ウエハWの周縁部に付着した洗浄液は、ウエハWが回転することにより発生する遠心力によって周縁外方に散布される。このため、本実施の形態によれば、ウエハWの周縁部を洗浄した洗浄液CFが、ウエハWの表面Waや裏面Wbに広がることをより確実に防止することができ、ウエハWに悪影響をより確実に防止することができる。
ところで、上記では、第二洗浄ブラシ21がウエハWの裏面Wbに当接する面積が、第一洗浄ブラシ11がウエハWの表面Waに当接する面積よりも大きくなり、かつ、第二洗浄ブラシ21が、第一洗浄ブラシ11よりも速い速度で回転するようになっている態様を用いて説明したが、ウエハWの裏面Wbに対するポリマーの付着力がそれほど強くない場合には、これらのうちの一方だけでもよい。
すなわち、図2(a)において、第二洗浄ブラシ21を、第一洗浄ブラシ11と同じ速度で回転させてもよいし、他方、図3に示すように、第二洗浄ブラシ21を第一洗浄ブラシ11と同じ大きさのものとして、第二洗浄ブラシ21がウエハWの裏面Wbに当接する面積を、第一洗浄ブラシ11がウエハWの表面Waに当接する面積と概ね等しくしつつ、第二洗浄ブラシ21を、第一洗浄ブラシ11よりも速い速度で回転させるようにしてもよい。
第2の実施の形態
次に、図4により、本発明の第2の実施の形態について説明する。図4に示す第2の実施の形態は、第一洗浄ブラシ11と第二洗浄ブラシ21aとが異なる材料からなり、第二洗浄ブラシ21aを構成する材料のウエハWに対する摩擦係数が、第一洗浄ブラシ11を構成する材料のウエハWに対する摩擦係数よりも大きくなっている。また、第二洗浄ブラシ21aが第一洗浄ブラシ11と概ね同じ大きさからなり、第二洗浄ブラシ21aがウエハWの裏面Wbに当接する面積が、第一洗浄ブラシ11がウエハWの表面Waに当接する面積と概ね等しくなっている。さらに、第二洗浄ブラシ21aは、第一洗浄ブラシ11と同じ速度で回転するようになっている。その他の構成は図1および図2(a)(b)に示す第1の実施の形態と略同一である。
図4に示す第2の実施の形態において、図1および図2(a)(b)に示す第1の実施の形態と同一部分には同一符号を付して詳細な説明は省略する。
図4において、第一洗浄ブラシ11と第二洗浄ブラシ21aとは異なる材料からなり、第二洗浄ブラシ21aを構成する材料のウエハWに対する摩擦係数は、第一洗浄ブラシ11を構成する材料のウエハWに対する摩擦係数よりも大きくなっている。
このため、第1の実施の形態と同様、ウエハWから除去されにくいポリマーの付着する傾向のある裏面Wbに大きな摩擦力を加えることができ、かつ、ウエハWから除去されやすいパーティクルの付着する傾向にある表面Waに、裏面Wbに加わる摩擦力よりも小さな摩擦力を加えることができる。
この結果、洗浄液CFに含まれる薬液の濃度を必要以上に濃くすることなく(場合によっては純水によって)、ウエハWの裏面Wbに付着したポリマーを確実に除去することができ、洗浄液CFに含まれる薬液によってウエハWの表面Waが浸食されることを防止することができる。
また、ウエハWの表面Waには、裏面Wbに加わる摩擦力よりも小さな摩擦力を加えることができるので、ウエハWの表面Waが第一洗浄ブラシ11によって傷つけられることを防止することができる。
なお、ウエハWの裏面Wbにポリマーが強い力で付着している場合には、第二洗浄ブラシ21aを第一洗浄ブラシ11よりも大きくして、第二洗浄ブラシ21aがウエハWの裏面Wbに当接する面積を、第一洗浄ブラシ11がウエハWの表面Waに当接する面積よりも大きくしたり、また、第二洗浄ブラシ21aを、第一洗浄ブラシ11よりも速い速度で回転させるようにしたりしてもよい。
さらには、これらの両方を実施してもよく、第二洗浄ブラシ21aを第一洗浄ブラシ11よりも大きくして、第二洗浄ブラシ21aがウエハWの裏面Wbに当接する面積を、第一洗浄ブラシ11がウエハWの表面Waに当接する面積よりも大きくし、かつ、第二洗浄ブラシ21aを、第一洗浄ブラシ11よりも速い速度で回転させるようにしてもよい。
第3の実施の形態
次に、図5により、本発明の第3の実施の形態について説明する。図5に示す第3の実施の形態は、第二洗浄ブラシ21が、図1に示した矢印IIの示す方向(所定の方向)から見た場合に、第一洗浄ブラシ11とは逆方向に回転する。また、第二洗浄ブラシ21は、第一洗浄ブラシ11と同じ速度で回転するようになっている。なお、本実施の形態では、保持部材41の代わりに、ウエハWの略中心を吸着して保持する吸着保持部43と、当該吸着保持部43を回転駆動するモータ45とがさらに設けられている。その他の構成は図1および図2(a)(b)に示す第1の実施の形態と略同一である。
図5に示す第3の実施の形態において、図1および図2(a)(b)に示す第1の実施の形態と同一部分には同一符号を付して詳細な説明は省略する。
本実施の形態では、図1に示した矢印IIの示す方向(所定の方向)から見た場合に、第二洗浄ブラシ21が時計回りに回転駆動され、第一洗浄ブラシ11が反時計回りに回転駆動されている。このように、第一洗浄ブラシ11と第二洗浄ブラシ21とを逆方向で回転させることによって、ウエハWには、第一洗浄ブラシ11によって、第二洗浄ブラシ21による摩擦力とは逆方向の摩擦力も働くこととなる。このため、第二洗浄ブラシ21からウエハWの裏面Wbに加わる摩擦力をさらに大きくすることができ、ウエハWの裏面Wbに付着したポリマーをより確実に除去することができる。
なお、本実施の形態によっても、やはり、ウエハWから除去されにくいポリマーの付着する傾向のある裏面Wbに大きな摩擦力を加えることができ、かつ、ウエハWから除去されやすいパーティクルの付着する傾向にある表面Waに、裏面Wbに加わる摩擦力よりも小さな摩擦力を加えることができる。
また、洗浄液CFに含まれる薬液の濃度を必要以上に濃くすることなく(場合によっては純水によって)、ウエハWの裏面Wbに付着したポリマーを確実に除去することができ、洗浄液CFに含まれる薬液によってウエハWの表面Waが浸食されることを防止することができる。
また、ウエハWの表面Waには、裏面Wbに加わる摩擦力よりも小さな摩擦力を加えることができるので、ウエハWの表面Waが第一洗浄ブラシ11によって傷つけられることを防止することができる。
ところで、本実施の形態において、第二洗浄ブラシ21は、第一洗浄ブラシ11よりも大きさが大きくなっており、第二洗浄ブラシ21がウエハWの裏面Wbに当接する面積が、第一洗浄ブラシ11がウエハWの表面Waに当接する面積よりも大きくなっているので、第二洗浄ブラシ21からウエハWの裏面Wbに加わる摩擦力が第一洗浄ブラシ11からウエハWの表面Waに加わる摩擦力よりも大きくなっている。このため、ウエハWは、第二洗浄ブラシ21の回転方向による駆動力によって回転することになる。
なお、上記では、第二洗浄ブラシ21からウエハWの裏面Wbに加わる摩擦力を第一洗浄ブラシ11からウエハWの表面Waに加わる摩擦力よりも大きくする方法として、第二洗浄ブラシ21のウエハWの裏面Wbに当接する面積を、第一洗浄ブラシ11のウエハWの表面Waに当接する面積よりも大きくする態様を用いて説明したが、これに限られない。
例えば、第二洗浄ブラシ21を、第一洗浄ブラシ11よりも速い速度で回転させるようにしてもよいし、また、第二洗浄ブラシ21を、ウエハWに対する摩擦係数が第一洗浄ブラシ11を構成する材料のウエハWに対する摩擦係数よりも大きくなる材料から生成することによって、第二洗浄ブラシ21からウエハWの裏面Wbに加わる摩擦力を第一洗浄ブラシ11からウエハWの表面Waに加わる摩擦力よりも大きくしてもよい。
さらには、ウエハWの裏面Wbに付着したポリマーをより確実に除去するために、第二洗浄ブラシ21のウエハWの裏面Wbに当接する面積を第一洗浄ブラシ11のウエハWの表面Waに当接する面積よりも大きくすること、第二洗浄ブラシ21を第一洗浄ブラシ11よりも速い速度で回転させること、および、第二洗浄ブラシ21をウエハWに対する摩擦係数が第一洗浄ブラシ11を構成する材料のウエハWに対する摩擦係数よりも大きくなる材料から生成すること、のうちの2つを適宜組み合わせても良いし、これらの全てを組み合わせても良い。
ところで、上記の第1の実施の形態および第2の実施の形態においては、第二洗浄ブラシ21の上面と概ね同じ高さ位置に、ウエハWの裏面Wbを支持するための保持部材41が二つ配置され、この保持部材41と第二ブラシ21とによって、ウエハWの裏面Wbが支持される態様を用いて説明したが、これに限られない。例えば、第3の実施の形態と同様に、保持部材41の代わりに、ウエハWの略中心を吸着して保持する吸着保持部43を設けても良い(図6参照)。なお、図6では、図1および図2(a)(b)に示した第1の実施の形態に対応する構成のものを示している。また、この場合には、第3の実施の形態のようにモータ45を設ける必要はない。
また、上記の第1の実施の形態、第2の実施の形態および第3の実施の形態では、ウエハWの面内方向が略水平方向を向くようになっている態様を用いて説明したが、これに限らず、図7に示すように、第一洗浄ブラシ11および第二洗浄ブラシ21が、ウエハWの面内方向が略鉛直方向に向くように、当該ウエハWを支持するようにしてもよい。なお、図7では、図1および図2(a)(b)に示した第1の実施の形態に対応する構成のものを示している。また、この図7は、このような態様の洗浄装置の正面図を示している。
このように、ウエハWの面内方向が略鉛直方向を向く場合には、ウエハWの周縁部を洗浄した洗浄液CFが、ウエハWが回転することに伴って、ウエハWに付着したまま上方へ移動する可能性がある。このように、洗浄液CFがウエハWに付着したまま上方へ移動すると、当該洗浄液CFがウエハWの表面Waや裏面Wbを伝って垂れてきてしまい、ウエハWに悪影響を及ぼしてしまう。
このため、図7に示すように、収容槽1の上方部に、収容槽1の上方部から洗浄液を吸引して排出する吸引部30が連結されていることが好ましい。この吸引部30は、図7に示すように、収容槽1の上方部に連結され排出部37へと導かれた吸引管32と、この吸引管32に設けられ、収容槽1から洗浄液を吸引して排出する吸引ポンプ31とからなっている。
このように、収容槽1の上方部に吸引部30を連結させることによって、収容槽1の上方部から洗浄液が吸引されて排出されるので、ウエハWの周縁部を洗浄した洗浄液CFが、ウエハWが回転することに伴って、ウエハWに付着したまま上方へ移動することがない。このため、洗浄液CFがウエハWの表面Waや裏面Wbを伝って垂れることによって、ウエハWに悪影響が出ることを防止することができる。
ところで、図7に示すようにウエハWを面内方向が略鉛直方向を向くように保持する場合には、ウエハWの周縁部を支持する保持部材41は、ウエハWの大きさなどの状況に応じて選択的に設けられる。
本発明の第1の実施の形態による洗浄装置の側方断面図。 本発明の第1の実施の形態による洗浄装置を図1の矢印II方向から見た上方平面図と、保持部材を示す縦断面図。 本発明の第1の実施の形態による洗浄装置の別の例を示す上方平面図。 本発明の第2の実施の形態による洗浄装置を示す上方平面図。 本発明の第3の実施の形態による洗浄装置を示す上方平面図。 本発明による洗浄装置の別の態様を示す上方平面図。 本発明による洗浄装置のさらに別の態様を示す正面図。
符号の説明
1 収容槽
11 第一洗浄ブラシ(第一洗浄部)
13 第一駆動モータ
14 第一回転軸
21,21a 第二洗浄ブラシ(第二洗浄部)
23 第二駆動モータ
24 第二回転軸
30 吸引部
31 吸引ポンプ
32 吸引管
36 供給部
37 排出部
41 保持部材
43 吸着保持部
CF 洗浄液
W ウエハ(被処理基板)
Wa ウエハ(被処理基板)の表面(一方の面)
Wb ウエハ(被処理基板)の裏面(他方の面)

Claims (7)

  1. 被処理基板の周縁部を洗浄する洗浄装置において、
    被処理基板の一方の面の周縁部に当接し、当該被処理基板の面内方向で回転駆動される第一洗浄部と、
    被処理基板の他方の面の周縁部に当接し、当該被処理基板の面内方向で回転駆動される第二洗浄部と、
    洗浄液を収容する収容槽と、を備え、
    第二洗浄部から被処理基板の他方の面に加わる摩擦力は、第一洗浄部から被処理基板の一方の面に加わる摩擦力よりも大きくなり、
    前記第一洗浄部は前記被処理基板の前記一方の面の周縁部を前記収容槽内で洗浄し、
    前記第二洗浄部は前記被処理基板の前記他方の面の周縁部を前記収容槽内で洗浄することを特徴とする洗浄装置。
  2. 第二洗浄部は、第一洗浄部よりも速い速度で回転することを特徴とする請求項1に記載の洗浄装置。
  3. 第二洗浄部が被処理基板の他方の面に当接する面積は、第一洗浄部が被処理基板の一方の面に当接する面積よりも大きいことを特徴とする請求項1または2のいずれかに記載の洗浄装置。
  4. 第一洗浄部と第二洗浄部とは異なる材料からなり、
    第二洗浄部を構成する材料の被処理基板に対する摩擦係数は、第一洗浄部を構成する材料の被処理基板に対する摩擦係数よりも大きいことを特徴とする請求項1乃至3のいずれか1項に記載の洗浄装置。
  5. 第二洗浄部は、所定の方向から見た場合に、第一洗浄部とは逆方向に回転することを特徴とする請求項1乃至4のいずれか1項に記載の洗浄装置。
  6. 収容槽に連結され、収容槽内に洗浄液を供給する供給部と、
    収容槽に連結され、収容槽内に収容された洗浄液を排出する排出部と、
    収容槽の上方部に連結され、収容槽の上方部から洗浄液を吸引して排出する吸引部と、をさらに備え、
    第一洗浄部および第二洗浄部は、ウエハWの面内方向が略鉛直方向に向くように、当該被処理基板を支持することを特徴とする請求項1乃至5のいずれか1項に記載の洗浄装置。
  7. 被処理基板の周縁部を洗浄する洗浄方法において、
    前記被処理基板の面内方向で回転駆動される第一洗浄部と、前記被処理基板の面内方向で回転駆動される第二洗浄部と、洗浄液を収容する収容槽とを有し、前記第一洗浄部は前記被処理基板の前記一方の面の周縁部を前記収容槽内で洗浄し、前記第二洗浄部は前記被処理基板の前記他方の面の周縁部を前記収容槽内で洗浄する洗浄装置を用いた洗浄方法であって、
    被処理基板を第一洗浄部と第二洗浄部との間に載置する工程であって、被処理基板の一方の面の周縁部に第一洗浄部を当接させ、被処理基板の他方の面の周縁部に第二洗浄部を当接させる工程と、
    第二洗浄部によって、第一洗浄部から被処理基板の一方の面に加わる摩擦力よりも大きな摩擦力を被処理基板の他方の面に加える工程と、
    を備えたことを特徴とする洗浄方法。
JP2008298394A 2007-11-21 2008-11-21 洗浄装置および洗浄方法 Expired - Fee Related JP5122425B2 (ja)

Priority Applications (1)

Application Number Priority Date Filing Date Title
JP2008298394A JP5122425B2 (ja) 2007-11-21 2008-11-21 洗浄装置および洗浄方法

Applications Claiming Priority (3)

Application Number Priority Date Filing Date Title
JP2007301886 2007-11-21
JP2007301886 2007-11-21
JP2008298394A JP5122425B2 (ja) 2007-11-21 2008-11-21 洗浄装置および洗浄方法

Publications (2)

Publication Number Publication Date
JP2009147325A JP2009147325A (ja) 2009-07-02
JP5122425B2 true JP5122425B2 (ja) 2013-01-16

Family

ID=40917530

Family Applications (1)

Application Number Title Priority Date Filing Date
JP2008298394A Expired - Fee Related JP5122425B2 (ja) 2007-11-21 2008-11-21 洗浄装置および洗浄方法

Country Status (1)

Country Link
JP (1) JP5122425B2 (ja)

Families Citing this family (1)

* Cited by examiner, † Cited by third party
Publication number Priority date Publication date Assignee Title
JP6529798B2 (ja) * 2015-03-20 2019-06-12 株式会社Screenホールディングス 基板処理装置および基板処理方法

Family Cites Families (5)

* Cited by examiner, † Cited by third party
Publication number Priority date Publication date Assignee Title
KR0175278B1 (ko) * 1996-02-13 1999-04-01 김광호 웨이퍼 세정장치
JPH11238714A (ja) * 1998-02-20 1999-08-31 Tokyo Electron Ltd 洗浄方法
JP4086398B2 (ja) * 1999-01-28 2008-05-14 大日本スクリーン製造株式会社 基板洗浄装置
JP4283068B2 (ja) * 2003-08-29 2009-06-24 株式会社荏原製作所 基板洗浄装置の洗浄部材の初期化方法、基板洗浄装置並びに基板研磨及び洗浄システム
JP2007157936A (ja) * 2005-12-02 2007-06-21 Dainippon Screen Mfg Co Ltd 基板処理装置および基板処理方法

Also Published As

Publication number Publication date
JP2009147325A (ja) 2009-07-02

Similar Documents

Publication Publication Date Title
KR101014507B1 (ko) 기판처리장치
KR101379570B1 (ko) 격리된 베벨 에지 세정을 위한 방법 및 장치
KR101280768B1 (ko) 기판처리장치 및 기판처리방법
KR101660075B1 (ko) 파티클 오염 제거 방법
KR101340769B1 (ko) 세정 장치 및 세정 방법
WO2015061741A1 (en) Systems, methods and apparatus for post-chemical mechanical planarization substrate buff pre-cleaning
JP2010114123A (ja) 基板処理装置及び基板洗浄方法
JP2009021409A (ja) 凍結処理装置、凍結処理方法および基板処理装置
JP4033709B2 (ja) 基板洗浄方法及びその装置
KR20180035902A (ko) 기판 처리 방법 및 기판 처리 장치
US20100147335A1 (en) Liquid processing apparatus, liquid processing method, and storage medium
JP5122425B2 (ja) 洗浄装置および洗浄方法
TW202129736A (zh) 基板清洗裝置及基板清洗方法
JP2008308709A (ja) 半導体装置の製造方法及び製造装置
JP4813449B2 (ja) 洗浄装置および洗浄方法
TWI576170B (zh) 晶圓清潔系統及利用晶圓清潔系統清潔晶圓的方法
JP5038695B2 (ja) 処理装置および表面処理治具
US20100307539A1 (en) Substrate liquid processing apparatus, substrate liquid processing method, and storage medium having substrate liquid processing program stored therein
JP5016455B2 (ja) 基板処理装置および基板処理方法
JP4963411B2 (ja) 半導体装置または半導体ウェハの製造方法
JP2023050877A (ja) 洗浄装置
JP5016462B2 (ja) 基板処理装置および基板処理方法
JP6513492B2 (ja) 基板処理方法、基板処理装置及び記憶媒体
JP2009123951A (ja) 基板処理装置および基板処理方法
KR20250037930A (ko) 기판 세정 장치

Legal Events

Date Code Title Description
A621 Written request for application examination

Free format text: JAPANESE INTERMEDIATE CODE: A621

Effective date: 20110105

A977 Report on retrieval

Free format text: JAPANESE INTERMEDIATE CODE: A971007

Effective date: 20120413

A131 Notification of reasons for refusal

Free format text: JAPANESE INTERMEDIATE CODE: A131

Effective date: 20120420

A521 Written amendment

Free format text: JAPANESE INTERMEDIATE CODE: A523

Effective date: 20120614

TRDD Decision of grant or rejection written
A01 Written decision to grant a patent or to grant a registration (utility model)

Free format text: JAPANESE INTERMEDIATE CODE: A01

Effective date: 20120928

A01 Written decision to grant a patent or to grant a registration (utility model)

Free format text: JAPANESE INTERMEDIATE CODE: A01

A61 First payment of annual fees (during grant procedure)

Free format text: JAPANESE INTERMEDIATE CODE: A61

Effective date: 20121024

FPAY Renewal fee payment (event date is renewal date of database)

Free format text: PAYMENT UNTIL: 20151102

Year of fee payment: 3

R150 Certificate of patent or registration of utility model

Free format text: JAPANESE INTERMEDIATE CODE: R150

R250 Receipt of annual fees

Free format text: JAPANESE INTERMEDIATE CODE: R250

LAPS Cancellation because of no payment of annual fees