JP5116785B2 - 交流電動機の駆動装置及び電動機車両 - Google Patents
交流電動機の駆動装置及び電動機車両 Download PDFInfo
- Publication number
- JP5116785B2 JP5116785B2 JP2010040219A JP2010040219A JP5116785B2 JP 5116785 B2 JP5116785 B2 JP 5116785B2 JP 2010040219 A JP2010040219 A JP 2010040219A JP 2010040219 A JP2010040219 A JP 2010040219A JP 5116785 B2 JP5116785 B2 JP 5116785B2
- Authority
- JP
- Japan
- Prior art keywords
- current
- motor
- change rate
- current change
- drive device
- Prior art date
- Legal status (The legal status is an assumption and is not a legal conclusion. Google has not performed a legal analysis and makes no representation as to the accuracy of the status listed.)
- Expired - Fee Related
Links
Images
Classifications
-
- H—ELECTRICITY
- H02—GENERATION; CONVERSION OR DISTRIBUTION OF ELECTRIC POWER
- H02P—CONTROL OR REGULATION OF ELECTRIC MOTORS, ELECTRIC GENERATORS OR DYNAMO-ELECTRIC CONVERTERS; CONTROLLING TRANSFORMERS, REACTORS OR CHOKE COILS
- H02P21/00—Arrangements or methods for the control of electric machines by vector control, e.g. by control of field orientation
- H02P21/04—Arrangements or methods for the control of electric machines by vector control, e.g. by control of field orientation specially adapted for very low speeds
-
- B—PERFORMING OPERATIONS; TRANSPORTING
- B60—VEHICLES IN GENERAL
- B60L—PROPULSION OF ELECTRICALLY-PROPELLED VEHICLES; SUPPLYING ELECTRIC POWER FOR AUXILIARY EQUIPMENT OF ELECTRICALLY-PROPELLED VEHICLES; ELECTRODYNAMIC BRAKE SYSTEMS FOR VEHICLES IN GENERAL; MAGNETIC SUSPENSION OR LEVITATION FOR VEHICLES; MONITORING OPERATING VARIABLES OF ELECTRICALLY-PROPELLED VEHICLES; ELECTRIC SAFETY DEVICES FOR ELECTRICALLY-PROPELLED VEHICLES
- B60L15/00—Methods, circuits, or devices for controlling the traction-motor speed of electrically-propelled vehicles
- B60L15/02—Methods, circuits, or devices for controlling the traction-motor speed of electrically-propelled vehicles characterised by the form of the current used in the control circuit
- B60L15/025—Methods, circuits, or devices for controlling the traction-motor speed of electrically-propelled vehicles characterised by the form of the current used in the control circuit using field orientation; Vector control; Direct Torque Control [DTC]
-
- B—PERFORMING OPERATIONS; TRANSPORTING
- B60—VEHICLES IN GENERAL
- B60L—PROPULSION OF ELECTRICALLY-PROPELLED VEHICLES; SUPPLYING ELECTRIC POWER FOR AUXILIARY EQUIPMENT OF ELECTRICALLY-PROPELLED VEHICLES; ELECTRODYNAMIC BRAKE SYSTEMS FOR VEHICLES IN GENERAL; MAGNETIC SUSPENSION OR LEVITATION FOR VEHICLES; MONITORING OPERATING VARIABLES OF ELECTRICALLY-PROPELLED VEHICLES; ELECTRIC SAFETY DEVICES FOR ELECTRICALLY-PROPELLED VEHICLES
- B60L15/00—Methods, circuits, or devices for controlling the traction-motor speed of electrically-propelled vehicles
- B60L15/02—Methods, circuits, or devices for controlling the traction-motor speed of electrically-propelled vehicles characterised by the form of the current used in the control circuit
- B60L15/08—Methods, circuits, or devices for controlling the traction-motor speed of electrically-propelled vehicles characterised by the form of the current used in the control circuit using pulses
-
- H—ELECTRICITY
- H02—GENERATION; CONVERSION OR DISTRIBUTION OF ELECTRIC POWER
- H02P—CONTROL OR REGULATION OF ELECTRIC MOTORS, ELECTRIC GENERATORS OR DYNAMO-ELECTRIC CONVERTERS; CONTROLLING TRANSFORMERS, REACTORS OR CHOKE COILS
- H02P21/00—Arrangements or methods for the control of electric machines by vector control, e.g. by control of field orientation
- H02P21/14—Estimation or adaptation of machine parameters, e.g. flux, current or voltage
- H02P21/141—Flux estimation
-
- H—ELECTRICITY
- H02—GENERATION; CONVERSION OR DISTRIBUTION OF ELECTRIC POWER
- H02P—CONTROL OR REGULATION OF ELECTRIC MOTORS, ELECTRIC GENERATORS OR DYNAMO-ELECTRIC CONVERTERS; CONTROLLING TRANSFORMERS, REACTORS OR CHOKE COILS
- H02P21/00—Arrangements or methods for the control of electric machines by vector control, e.g. by control of field orientation
- H02P21/14—Estimation or adaptation of machine parameters, e.g. flux, current or voltage
- H02P21/18—Estimation of position or speed
-
- H—ELECTRICITY
- H02—GENERATION; CONVERSION OR DISTRIBUTION OF ELECTRIC POWER
- H02P—CONTROL OR REGULATION OF ELECTRIC MOTORS, ELECTRIC GENERATORS OR DYNAMO-ELECTRIC CONVERTERS; CONTROLLING TRANSFORMERS, REACTORS OR CHOKE COILS
- H02P6/00—Arrangements for controlling synchronous motors or other dynamo-electric motors using electronic commutation dependent on the rotor position; Electronic commutators therefor
- H02P6/14—Electronic commutators
- H02P6/16—Circuit arrangements for detecting position
- H02P6/18—Circuit arrangements for detecting position without separate position detecting elements
- H02P6/182—Circuit arrangements for detecting position without separate position detecting elements using back-emf in windings
-
- B—PERFORMING OPERATIONS; TRANSPORTING
- B60—VEHICLES IN GENERAL
- B60L—PROPULSION OF ELECTRICALLY-PROPELLED VEHICLES; SUPPLYING ELECTRIC POWER FOR AUXILIARY EQUIPMENT OF ELECTRICALLY-PROPELLED VEHICLES; ELECTRODYNAMIC BRAKE SYSTEMS FOR VEHICLES IN GENERAL; MAGNETIC SUSPENSION OR LEVITATION FOR VEHICLES; MONITORING OPERATING VARIABLES OF ELECTRICALLY-PROPELLED VEHICLES; ELECTRIC SAFETY DEVICES FOR ELECTRICALLY-PROPELLED VEHICLES
- B60L2200/00—Type of vehicles
- B60L2200/26—Rail vehicles
-
- B—PERFORMING OPERATIONS; TRANSPORTING
- B60—VEHICLES IN GENERAL
- B60L—PROPULSION OF ELECTRICALLY-PROPELLED VEHICLES; SUPPLYING ELECTRIC POWER FOR AUXILIARY EQUIPMENT OF ELECTRICALLY-PROPELLED VEHICLES; ELECTRODYNAMIC BRAKE SYSTEMS FOR VEHICLES IN GENERAL; MAGNETIC SUSPENSION OR LEVITATION FOR VEHICLES; MONITORING OPERATING VARIABLES OF ELECTRICALLY-PROPELLED VEHICLES; ELECTRIC SAFETY DEVICES FOR ELECTRICALLY-PROPELLED VEHICLES
- B60L2210/00—Converter types
- B60L2210/20—AC to AC converters
-
- Y—GENERAL TAGGING OF NEW TECHNOLOGICAL DEVELOPMENTS; GENERAL TAGGING OF CROSS-SECTIONAL TECHNOLOGIES SPANNING OVER SEVERAL SECTIONS OF THE IPC; TECHNICAL SUBJECTS COVERED BY FORMER USPC CROSS-REFERENCE ART COLLECTIONS [XRACs] AND DIGESTS
- Y02—TECHNOLOGIES OR APPLICATIONS FOR MITIGATION OR ADAPTATION AGAINST CLIMATE CHANGE
- Y02T—CLIMATE CHANGE MITIGATION TECHNOLOGIES RELATED TO TRANSPORTATION
- Y02T10/00—Road transport of goods or passengers
- Y02T10/60—Other road transportation technologies with climate change mitigation effect
- Y02T10/64—Electric machine technologies in electromobility
-
- Y—GENERAL TAGGING OF NEW TECHNOLOGICAL DEVELOPMENTS; GENERAL TAGGING OF CROSS-SECTIONAL TECHNOLOGIES SPANNING OVER SEVERAL SECTIONS OF THE IPC; TECHNICAL SUBJECTS COVERED BY FORMER USPC CROSS-REFERENCE ART COLLECTIONS [XRACs] AND DIGESTS
- Y02—TECHNOLOGIES OR APPLICATIONS FOR MITIGATION OR ADAPTATION AGAINST CLIMATE CHANGE
- Y02T—CLIMATE CHANGE MITIGATION TECHNOLOGIES RELATED TO TRANSPORTATION
- Y02T10/00—Road transport of goods or passengers
- Y02T10/60—Other road transportation technologies with climate change mitigation effect
- Y02T10/72—Electric energy management in electromobility
Landscapes
- Engineering & Computer Science (AREA)
- Power Engineering (AREA)
- Transportation (AREA)
- Mechanical Engineering (AREA)
- Control Of Ac Motors In General (AREA)
- Control Of Motors That Do Not Use Commutators (AREA)
Description
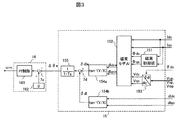
2,2B,2C,2D,2F 制御器
3 インバータ
4,4G,4H 電流及び電流変化率検出器
4J 電流検出器
5,5a,5b,5c,5d 三相誘導電動機
5C 永久磁石型動機電動機(PMモータ)
6 Id*,Iq*発生器
7a,7b,7c,7f,7g,7h 加減算器
8 d軸電流制御器(IdACR)
9 q軸電流制御器(IqACR)
10 dq逆変換器
11 PWM(パルス幅変調)発生器
12 すべり演算器
13 電気角位相演算器
14a,14b,14c dq変換器
15,15B,15E,15J 磁束推定器
16 速度推定器
17,17a,17b サンプル/ホールド
18,18J トリガ発生器
19 Δθe選択器
20 スイッチ
31 インバータ主回路
32 インバータ電源
33 ゲート・ドライバ
41 コア
42 ホール素子
43 アンプ
44 補助巻線
45 アンプ
46 アンプ
47 インダクタンス
48 微分演算器
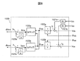
151 磁束初期値演算器
152 磁束モデル演算器
152E ΔL演算器
153 dq変換器
154a,154b アークタンジェント演算器
155 フィルタ
161 比例積分制御器(PI制御器)
162 零発生器
1521a,1521b 抵抗設定器
1522a,1522b 積分器
1523a Idマップ
1523b Iqマップ
1524a,1524b 不完全微分器
1525a,1525b 遅れ要素
1526 ΔLdマップ
1527 ΔLqマップ
Claims (10)
- 直流を交流に電力変換するインバータと、前記インバータに接続された交流電動機と、前記インバータに対してパルス幅変調信号を出力し前記インバータを制御する制御器を有する交流電動機の駆動装置であって、
前記インバータの線間電圧波形のPWMパルス列に対して、正側パルス列または負側パルス列の前後に極性の反転した微小パルスを波形の少なくとも一部分に設け、かつ、前記交流電動機の電流及び電流変化率を検出する手段を備え、前記電流の検出値及び前記電流変化率の検出値に基づいて前記交流電動機を制御することを特徴とする交流電動機の駆動装置。 - 直流を交流に電力変換するインバータと、前記インバータに接続された交流電動機と、前記インバータに対してパルス幅変調信号を出力し前記インバータを制御する制御器を有し、
前記インバータの線間電圧波形は、交流出力の基本波周期360度に対して、180度期間を連続した正方向のパルス列とし、残りの180度期間を負方向のパルス列として前記交流電動機に電圧を印加し、かつ、前記交流電動機の電流及び電流変化率を検出する手段を備え、前記電流の検出値及び前記電流変化率の検出値に基づいて前記交流電動機を制御する交流電動機の駆動装置において、
前記インバータの出力するパルス列として、インバータのスイッチング状態が、三相すべてが同一とならない状態(三相すべての上アームがオン、あるいは三相すべての下アームオンでない状態)の2種類のスイッチング状態を連続して出力する期間を備えるものとし、該連続した2種類のスイッチング状態のうち、少なくとも一方のスイッチング状態において、前記電流変化率の検出を行い、該電流変化率の検出値に基づいて前記交流電動機の制御を行うことを特徴とする交流電動機の駆動装置。 - 請求項2に記載の交流電動機の駆動装置において、
前記2種類連続して出力されるスイッチング状態において、それぞれの出力期間において、前記電流変化率の検出を行い、該2つの状態におけるそれぞれの電流変化率の検出値に基づいて前記交流電動機の制御を行うことを特徴とする交流電動機の駆動装置。 - 請求項1又は請求項2に記載の交流電動機の駆動装置において、
前記電流検出手段、ならびに前記電流変化率検出手段の検出値をサンプリングする際、すべてのサンプリングを、実質的に同時に行うように同一のトリガ信号によって行うことを特徴とする交流電動機の駆動装置。 - 請求項1又は請求項2に記載の交流電動機の駆動装置において、
前記電流を検出する手段として、環状の磁性体コアに前記交流電動機の動力線を貫通させる構造のものを用いるものとし、該磁性体コアに補助巻線を設け、さらに該補助巻線の両端の電圧を検出する手段を備え、該電圧をもって電流変化率の検出値とすることを特徴とする交流電動機の駆動装置。 - 請求項1又は請求項2に記載の交流電動機の駆動装置において、
前記電流変化率を検出する手段として、前記交流電動機の電流検出手段の両端の電圧を検出する手段を設け、該電圧をもって電流変化率の検出値とすることを特徴とする交流電動機の駆動装置。 - 請求項1又は請求項2に記載の交流電動機の駆動装置において、
前記電流変化率を検出する手段として、前記交流電動機に直列にインダクタンスを接続し、該インダクタンスの両端の電圧を検出する手段を設け、該電圧をもって電流変化率の検出値とすることを特徴とする交流電動機の駆動装置。 - 請求項1又は請求項2に記載の交流電動機の駆動装置において、
前記電流及び電流変化率を検出する手段に代えて、電流を検出する手段を備えるようにするとともに、前記電流変化率を、前記電流を検出する手段の出力に対して、アナログ回路、もしくはアナログとデジタル混在の回路による信号処理を行うことによって得ることを特徴とする交流電動機の駆動装置。 - 請求項1又は請求項2に記載の交流電動機の駆動装置において、
前記電流及び電流変化率を検出する手段に代えて、電流を検出する手段を備えるようにするとともに、前記電流変化率を、前記インバータのスイッチング状態が同一である期間(PWMパルスが変化していない期間)において、前記電流を検出する手段により電流値を複数回サンプリングし、該サンプリング値に基づいて得ることを特徴とする交流電動機の駆動装置。 - 請求項1又は請求項2に記載の交流電動機の駆動装置を備えることを特徴とする電動機車両。
Priority Applications (4)
| Application Number | Priority Date | Filing Date | Title |
|---|---|---|---|
| JP2010040219A JP5116785B2 (ja) | 2010-02-25 | 2010-02-25 | 交流電動機の駆動装置及び電動機車両 |
| CN201110042092.6A CN102170261B (zh) | 2010-02-25 | 2011-02-17 | 交流电动机的驱动装置以及电动机车辆 |
| US13/030,168 US8674647B2 (en) | 2010-02-25 | 2011-02-18 | Drive device for alternating current motor and electric motor vehicle |
| EP11250193.7A EP2362538A3 (en) | 2010-02-25 | 2011-02-18 | Drive device for an alternating current motor and an electric motor vehicle |
Applications Claiming Priority (1)
| Application Number | Priority Date | Filing Date | Title |
|---|---|---|---|
| JP2010040219A JP5116785B2 (ja) | 2010-02-25 | 2010-02-25 | 交流電動機の駆動装置及び電動機車両 |
Publications (2)
| Publication Number | Publication Date |
|---|---|
| JP2011176975A JP2011176975A (ja) | 2011-09-08 |
| JP5116785B2 true JP5116785B2 (ja) | 2013-01-09 |
Family
ID=44115580
Family Applications (1)
| Application Number | Title | Priority Date | Filing Date |
|---|---|---|---|
| JP2010040219A Expired - Fee Related JP5116785B2 (ja) | 2010-02-25 | 2010-02-25 | 交流電動機の駆動装置及び電動機車両 |
Country Status (4)
| Country | Link |
|---|---|
| US (1) | US8674647B2 (ja) |
| EP (1) | EP2362538A3 (ja) |
| JP (1) | JP5116785B2 (ja) |
| CN (1) | CN102170261B (ja) |
Families Citing this family (41)
| Publication number | Priority date | Publication date | Assignee | Title |
|---|---|---|---|---|
| JP5396876B2 (ja) * | 2009-01-21 | 2014-01-22 | 株式会社安川電機 | 交流電動機の制御装置 |
| JP5446627B2 (ja) * | 2009-09-08 | 2014-03-19 | 株式会社安川電機 | エレベータの制御装置及びその制御方法 |
| KR101549283B1 (ko) | 2011-10-12 | 2015-09-01 | 엘에스산전 주식회사 | 영구자석 동기 전동기 구동 시스템의 파라미터 추정장치 |
| US9088238B2 (en) * | 2012-03-06 | 2015-07-21 | Dyson Technology Limited | Method of determining the rotor position of a permanent-magnet motor |
| CN104205614B (zh) * | 2012-03-22 | 2016-10-12 | 日产自动车株式会社 | 三相交流感应电机的控制装置以及三相交流感应电机的控制方法 |
| CN102694498B (zh) * | 2012-05-31 | 2015-02-25 | 湖南南车时代电动汽车股份有限公司 | 永磁同步电机在零速或极低速下的抗转子扰动装置及方法 |
| CN102710205B (zh) * | 2012-06-13 | 2016-05-25 | 深圳市汇川技术股份有限公司 | 异步电机定向控制系统及方法 |
| FR2994355B1 (fr) * | 2012-08-06 | 2014-08-29 | Renault Sa | Systeme de commande du couple electromagnetique d'une machine electrique notamment pour vehicule automobile |
| GB2505189B (en) * | 2012-08-20 | 2020-01-15 | Nidec Control Techniques Ltd | Modulation of switching signals in power converters |
| JP5939316B2 (ja) * | 2013-01-25 | 2016-06-22 | 日産自動車株式会社 | 誘導モータ制御装置および誘導モータ制御方法 |
| KR101759371B1 (ko) | 2013-04-04 | 2017-07-18 | 엘에스산전 주식회사 | 유도전동기의 센서리스 벡터 제어 장치 |
| WO2015015597A1 (ja) * | 2013-07-31 | 2015-02-05 | 株式会社日立製作所 | モータ制御装置 |
| TWI499193B (zh) * | 2013-08-16 | 2015-09-01 | Univ Nat Cheng Kung | 電力轉換裝置及其控制方法 |
| JP6429453B2 (ja) * | 2013-11-26 | 2018-11-28 | キヤノン株式会社 | モータ制御装置及び画像形成装置 |
| US9419553B2 (en) * | 2014-07-25 | 2016-08-16 | Denso Corporation | Apparatus for controlling rotary machine |
| KR101535036B1 (ko) * | 2014-08-25 | 2015-07-24 | 현대자동차주식회사 | 구동모터의 전류지령에 대한 토크 보상장치 및 방법 |
| WO2016032509A1 (en) * | 2014-08-29 | 2016-03-03 | Nissan Motor Co., Ltd. | Variable magnetization machine controller |
| CN104467608A (zh) * | 2014-12-12 | 2015-03-25 | 广西科技大学 | 异步电机电动汽车控制系统 |
| CN104539216A (zh) * | 2014-12-12 | 2015-04-22 | 广西科技大学 | 异步电机电动汽车控制装置 |
| CN104467606A (zh) * | 2014-12-12 | 2015-03-25 | 广西科技大学 | 用于汽车的异步电机电动控制器 |
| US9509240B2 (en) * | 2014-12-30 | 2016-11-29 | Tesla Motors, Inc. | Electric motor using multiple reference frames for flux angle |
| US9780711B2 (en) | 2015-02-03 | 2017-10-03 | Mitsubishi Electric Research Laboratories, Inc. | Method and system for controlling an angualr speed of an induction motor |
| US9831812B2 (en) * | 2015-02-27 | 2017-11-28 | Nutech Ventures | Direct torque control of AC electric machines |
| DE102015205691A1 (de) * | 2015-03-30 | 2016-10-06 | Siemens Aktiengesellschaft | Verfahren zur Geräuschreduzierung eines elektrischen Motors |
| GB2545023B (en) * | 2015-12-04 | 2018-06-06 | General Electric Technology Gmbh | Improvements in or relating to converters |
| US9985563B2 (en) | 2016-01-11 | 2018-05-29 | Mitsubishi Electric Research Laboratories, Inc. | Method and system for controlling angular speeds of motors in speed sensorless induction motors |
| US9966891B2 (en) | 2016-03-16 | 2018-05-08 | Mitsubishi Electric Research Laboratories, Inc. | System and method for controlling speed of electric motor |
| US9673743B1 (en) | 2016-09-08 | 2017-06-06 | Limiter Power Management System (PTY) LTD. | Efficient motor control |
| JP6334017B1 (ja) * | 2017-01-25 | 2018-05-30 | ファナック株式会社 | 誘導電動機の制御装置 |
| WO2019082277A1 (ja) * | 2017-10-24 | 2019-05-02 | 三菱電機株式会社 | 異常診断装置、異常診断方法及び異常診断システム |
| CN107933935B (zh) * | 2017-11-29 | 2024-02-23 | 深圳市科比特航空科技有限公司 | 无人机控制系统 |
| GB201813335D0 (en) * | 2018-08-15 | 2018-09-26 | Technelec Ltd | Flux linkage to current observer for synchronous machines |
| KR102803780B1 (ko) * | 2019-08-02 | 2025-05-07 | 현대자동차주식회사 | 전류의 누설을 검출하는 장치 및 이를 포함한 전류 누설 검출시스템 |
| TWI723605B (zh) * | 2019-10-31 | 2021-04-01 | 國立中央大學 | 馬達控制系統及其最大功率因數控制器的控制方法 |
| JP7362523B2 (ja) * | 2020-03-17 | 2023-10-17 | 日立Astemo株式会社 | 同期機制御装置および同期機制御方法、並びに電気車 |
| JP7492445B2 (ja) | 2020-11-27 | 2024-05-29 | オリエンタルモーター株式会社 | モータ制御装置 |
| JP7545872B2 (ja) * | 2020-11-27 | 2024-09-05 | オリエンタルモーター株式会社 | 交流モータ制御装置およびそれを備えた駆動システム |
| DE112021007713T5 (de) * | 2021-07-28 | 2024-03-14 | Tianjin Saixiang Technology Co., Ltd. | Verfahren und system zur adaptiven stromsteuerung für einen ac-servomotor |
| CN115629332A (zh) * | 2022-11-09 | 2023-01-20 | 珠海格力电器股份有限公司 | 逆变器故障检测方法、装置及电子设备 |
| US12438474B2 (en) * | 2023-03-23 | 2025-10-07 | Ge Energy Power Conversion Technology Limited | AC-DC-AC converter for motor drive applications |
| CN116404941B (zh) * | 2023-06-08 | 2024-02-13 | 宁德时代新能源科技股份有限公司 | 一种电机控制方法、装置和可读存储介质 |
Family Cites Families (22)
| Publication number | Priority date | Publication date | Assignee | Title |
|---|---|---|---|---|
| IT1241678B (it) | 1990-03-01 | 1994-01-31 | Omb Sas Di Rebecchi Dante & C | Macchina pressatrice e selezionatrice per rifiuti solidi, metallici, ferrosi e non, come contenitori, lattine bottiglie e simili |
| US5015939A (en) * | 1990-08-10 | 1991-05-14 | Synektron Corporation | Control circuit for switched reluctance motor |
| KR920010163B1 (ko) * | 1990-12-18 | 1992-11-19 | 삼성전자 주식회사 | 공기조화기의 압축기 운전주파수제어장치 및 그 방법 |
| US5097190A (en) * | 1991-02-11 | 1992-03-17 | General Electric Company | Rotor position estimator for a switched reluctance machine |
| ZA949795B (en) * | 1993-12-17 | 1995-08-18 | Hitachi Ltd | Electric power conversion equipment. |
| JP3312520B2 (ja) | 1995-01-24 | 2002-08-12 | 富士電機株式会社 | 電動機の磁極位置検出装置 |
| US6172498B1 (en) * | 1998-09-29 | 2001-01-09 | Rockwell Technologies, Llc | Method and apparatus for rotor angle detection |
| JP2001169560A (ja) | 1999-12-02 | 2001-06-22 | Mitsubishi Electric Corp | 電力変換装置 |
| JP4596092B2 (ja) | 2000-03-31 | 2010-12-08 | 株式会社安川電機 | 誘導電動機の磁束位置推定方法および制御装置 |
| JP2002078391A (ja) * | 2000-08-30 | 2002-03-15 | Hitachi Ltd | 交流電動機の駆動システム |
| JP3692046B2 (ja) * | 2001-03-16 | 2005-09-07 | 株式会社東芝 | モータ制御装置 |
| JP4687846B2 (ja) | 2001-03-26 | 2011-05-25 | 株式会社安川電機 | 同期電動機の磁極位置推定方法および制御装置 |
| JP3661642B2 (ja) * | 2001-12-27 | 2005-06-15 | 株式会社日立製作所 | モータの制御装置及びその制御方法 |
| US7412339B2 (en) * | 2002-05-24 | 2008-08-12 | Virginia Tech Intellectual Properties, Inc. | Method and apparatus for identifying an operational phase of a motor phase winding and controlling energization of the phase winding |
| JP4581544B2 (ja) * | 2004-08-02 | 2010-11-17 | 国産電機株式会社 | 回転電機の回転子位置判定方法、回転子位置判定装置及び回転電機の制御装置 |
| JP4455981B2 (ja) * | 2004-11-30 | 2010-04-21 | 株式会社日立産機システム | 同期電動機の駆動装置 |
| JP2006230169A (ja) * | 2005-02-21 | 2006-08-31 | Toshiba Corp | 同期機の制御装置 |
| US7477034B2 (en) * | 2005-09-29 | 2009-01-13 | Agile Systems Inc. | System and method for commutating a motor using back electromotive force signals |
| JP4657892B2 (ja) * | 2005-11-04 | 2011-03-23 | 本田技研工業株式会社 | Dcブラシレスモータのロータ角度推定装置およびロータ角度推定方法 |
| JP4749874B2 (ja) * | 2006-01-30 | 2011-08-17 | 日立オートモティブシステムズ株式会社 | 電力変換装置及びそれを用いたモータ駆動装置 |
| JP5011815B2 (ja) * | 2006-05-15 | 2012-08-29 | パナソニック株式会社 | ブラシレスdcモータの制御装置およびそれを搭載した換気送風機 |
| JP2007336641A (ja) * | 2006-06-13 | 2007-12-27 | Denso Corp | 同期モータの位置センサレス駆動装置 |
-
2010
- 2010-02-25 JP JP2010040219A patent/JP5116785B2/ja not_active Expired - Fee Related
-
2011
- 2011-02-17 CN CN201110042092.6A patent/CN102170261B/zh not_active Expired - Fee Related
- 2011-02-18 EP EP11250193.7A patent/EP2362538A3/en not_active Withdrawn
- 2011-02-18 US US13/030,168 patent/US8674647B2/en active Active
Also Published As
| Publication number | Publication date |
|---|---|
| CN102170261A (zh) | 2011-08-31 |
| EP2362538A3 (en) | 2016-02-17 |
| US8674647B2 (en) | 2014-03-18 |
| EP2362538A2 (en) | 2011-08-31 |
| US20110204831A1 (en) | 2011-08-25 |
| CN102170261B (zh) | 2014-01-08 |
| JP2011176975A (ja) | 2011-09-08 |
Similar Documents
| Publication | Publication Date | Title |
|---|---|---|
| JP5116785B2 (ja) | 交流電動機の駆動装置及び電動機車両 | |
| US7772789B2 (en) | Motor controller | |
| JP5150585B2 (ja) | 永久磁石同期電動機の駆動装置 | |
| JP5324159B2 (ja) | モータ制御装置 | |
| JP4674525B2 (ja) | 磁極位置推定方法及びモータ制御装置 | |
| CN103391041B (zh) | 角度估计控制系统以及方法 | |
| CN101542891B (zh) | 同步电动机的无传感器控制装置 | |
| JP6015486B2 (ja) | 同期電動機の可変速制御装置 | |
| CN101149423A (zh) | 永磁同步电机永磁磁场畸变实时检测与分析方法及其装置 | |
| JP2008086129A (ja) | 交流電動機の制御装置および定数測定装置 | |
| JPH0951700A (ja) | 回転電機の制御装置 | |
| JP2009268268A (ja) | モータ制御装置及び発電機制御装置 | |
| JP5120621B2 (ja) | 永久磁石形同期電動機の制御装置 | |
| CN107508521A (zh) | 一种永磁同步电机的无速度传感器控制方法和系统 | |
| CN111857197B (zh) | 三相交流电机及其负载的模拟方法及装置 | |
| JP4928855B2 (ja) | 同期機のセンサレス制御装置 | |
| JP6536473B2 (ja) | 回転電機の制御装置 | |
| Zhao | Position/speed sensorless control for permanent-magnet synchronous machines | |
| JP2008206330A (ja) | 同期電動機の磁極位置推定装置および磁極位置推定方法 | |
| JP2002272195A (ja) | 同期電動機の制御装置 | |
| CN107615641B (zh) | 感应电机的功率转换装置、二次时间常数测量方法和速度控制方法 | |
| JP2014117069A (ja) | 交流回転機の制御装置および交流回転機の制御方法 | |
| JP2011239518A (ja) | ステッピングモータの回転子の位置及び速度を推定する方法及び装置 | |
| JP4061446B2 (ja) | 同期電動機の抵抗値同定方法とその制御装置 | |
| İnan et al. | Speed-Sensorless DTC of BLDC Motor with EKF-based Estimator Capable of Load Torque Estimation for Electric Vehicle |
Legal Events
| Date | Code | Title | Description |
|---|---|---|---|
| A621 | Written request for application examination |
Free format text: JAPANESE INTERMEDIATE CODE: A621 Effective date: 20111128 |
|
| A977 | Report on retrieval |
Free format text: JAPANESE INTERMEDIATE CODE: A971007 Effective date: 20120413 |
|
| A131 | Notification of reasons for refusal |
Free format text: JAPANESE INTERMEDIATE CODE: A131 Effective date: 20120424 |
|
| A521 | Request for written amendment filed |
Free format text: JAPANESE INTERMEDIATE CODE: A523 Effective date: 20120625 |
|
| A131 | Notification of reasons for refusal |
Free format text: JAPANESE INTERMEDIATE CODE: A131 Effective date: 20120731 |
|
| A521 | Request for written amendment filed |
Free format text: JAPANESE INTERMEDIATE CODE: A523 Effective date: 20120906 |
|
| TRDD | Decision of grant or rejection written | ||
| A01 | Written decision to grant a patent or to grant a registration (utility model) |
Free format text: JAPANESE INTERMEDIATE CODE: A01 Effective date: 20121002 |
|
| A01 | Written decision to grant a patent or to grant a registration (utility model) |
Free format text: JAPANESE INTERMEDIATE CODE: A01 |
|
| A61 | First payment of annual fees (during grant procedure) |
Free format text: JAPANESE INTERMEDIATE CODE: A61 Effective date: 20121016 |
|
| R150 | Certificate of patent or registration of utility model |
Ref document number: 5116785 Country of ref document: JP Free format text: JAPANESE INTERMEDIATE CODE: R150 Free format text: JAPANESE INTERMEDIATE CODE: R150 |
|
| FPAY | Renewal fee payment (event date is renewal date of database) |
Free format text: PAYMENT UNTIL: 20151026 Year of fee payment: 3 |
|
| LAPS | Cancellation because of no payment of annual fees |
