JP5100989B2 - 部品内蔵配線板 - Google Patents

部品内蔵配線板 Download PDF

Info

Publication number
JP5100989B2
JP5100989B2 JP2005222518A JP2005222518A JP5100989B2 JP 5100989 B2 JP5100989 B2 JP 5100989B2 JP 2005222518 A JP2005222518 A JP 2005222518A JP 2005222518 A JP2005222518 A JP 2005222518A JP 5100989 B2 JP5100989 B2 JP 5100989B2
Authority
JP
Japan
Prior art keywords
insulating layer
wiring pattern
wiring
wiring board
component
Prior art date
Legal status (The legal status is an assumption and is not a legal conclusion. Google has not performed a legal analysis and makes no representation as to the accuracy of the status listed.)
Expired - Fee Related
Application number
JP2005222518A
Other languages
English (en)
Other versions
JP2007042706A (ja
Inventor
賢司 笹岡
Current Assignee (The listed assignees may be inaccurate. Google has not performed a legal analysis and makes no representation or warranty as to the accuracy of the list.)
Dai Nippon Printing Co Ltd
Original Assignee
Dai Nippon Printing Co Ltd
Priority date (The priority date is an assumption and is not a legal conclusion. Google has not performed a legal analysis and makes no representation as to the accuracy of the date listed.)
Filing date
Publication date
Application filed by Dai Nippon Printing Co Ltd filed Critical Dai Nippon Printing Co Ltd
Priority to JP2005222518A priority Critical patent/JP5100989B2/ja
Publication of JP2007042706A publication Critical patent/JP2007042706A/ja
Application granted granted Critical
Publication of JP5100989B2 publication Critical patent/JP5100989B2/ja
Anticipated expiration legal-status Critical
Expired - Fee Related legal-status Critical Current

Links

Images

Landscapes

  • Production Of Multi-Layered Print Wiring Board (AREA)

Description

本発明は、絶縁板中に電気/電子部品を埋設して有する部品内蔵配線板に係り、特に、部品内蔵によって配線板としての信頼性が低下することを防止するのに好適な部品内蔵配線板に関する。
部品内蔵配線板の従来技術として下記特許文献1に開示されたものがある。同文献図1に示されるその構造によると、電気部品の配線層への電気的接続には半田(または導電性組成物)が用いられている。その製造方法は、あらかじめ、コアとなる配線板に半田(または導電性組成物)を用いて電気部品を電気的・機械的に接続する。またこれとは別の絶縁樹脂層に穴あけを行いこの穴に導電性組成物を充填し、先に部品実装したコア板と位置合わせ配置して積層・一体化する。
コアとなる配線板への電気部品の半田による接続では、その接続ランドが電気部品の外側にも広がりこれにより電気部品の側面にはフィレットが形成されている。同文献には、接続ランドと部品とのサイズの関係や、実装材料(半田)の量および配置についてはこれ以上の開示はない。
特開2003−197849号公報
実装材料として半田を使用して内層に部品を実装した構造の部品内蔵配線板では、2次実装時に内部の半田が再溶融することがあり、これにより半田が体積膨張する。このような体積膨張は、周囲の樹脂にクラックやデラミネーションなどの欠陥を発生させる元凶となり得る。
本発明は、絶縁板中に電気/電子部品を埋設して有する部品内蔵配線板において、部品内蔵によっても配線板としての信頼性が低下しにくい部品内蔵配線板を提供することを目的とする。
上記の課題を解決するため、本発明に係る部品内蔵配線板は、第1の絶縁層と、前記第1の絶縁層に対して積層状に位置する第2の絶縁層と、端子である電極を両端に備えた、前記第2の絶縁層に埋め込まれているチップ部品と、前記第1の絶縁層と前記第2の絶縁層とに挟まれて設けられ、かつ、前記チップ部品の前記端子の板厚み方向投影図形に内包される大きさのパターンを該チップ部品の実装用ランドとして有する配線パターンと、前記チップ部品の前記端子と前記配線パターンの前記実装用ランドとを接続する半田部とを具備し、前記チップ部品の周りに空隙の発生がないように、前記チップ部品が、前記第2の絶縁層に埋め込まれておりかつ前記チップ部品の前記端子が、前記半田部を介して前記配線パターンの前記実装用ランドに接続されていることを特徴とする。
すなわち、第2の絶縁層に埋め込まれた電気/電子部品であるチップ部品は、その実装用ランドが第1および第2の絶縁層に挟まれて位置する配線パターンによって提供され、ここで、この実装用ランドが、チップ部品の端子の板厚み方向投影図形に内包される大きさとなっている。これにより、チップ部品と実装用ランドとを接続する半田の量を極めて少なくでき、かつ接続後の半田部はチップ部品の端子の板厚み方向投影図形より外には広がらない。つまり、半田部の再溶融が生じた場合であってもその体積膨張は小さく抑えられ、周囲の樹脂(絶縁層)にクラックやデラミネーションなどの欠陥を発生させることを効果的に防止する。よって配線板としての信頼性が低下しにくい。
本発明によれば、絶縁板中に電気/電子部品を埋設して有する部品内蔵配線板において、部品内蔵によっても配線板としての信頼性が低下しにくい部品内蔵配線板を提供することができる。
本発明の実施態様として、前記第2の絶縁層が、少なくとも2つの絶縁層の積層であり、前記少なくとも2つの絶縁層の間に挟まれて設けられた第2の配線パターンと、前記第2の絶縁層の積層方向一部を貫通して前記配線パターンの面と前記第2の配線パターンの面との間に挟設され、かつ導電性組成物からなり、かつ積層方向に一致する軸を有し該軸の方向に径が変化している形状である層間接続体とをさらに具備する、としてもよい。この層間接続体は、チップ部品を埋め込んでいる第2の絶縁層の積層方向一部を貫通する層間接続体の一例であり、例えば導電性組成物のスクリーン印刷により形成された導電性バンプを由来とする層間接続体である。
また、実施態様として、前記第2の絶縁層が、少なくとも2つの絶縁層の積層であり、前記少なくとも2つの絶縁層の間に挟まれて設けられた第2の配線パターンと、前記第2の絶縁層の積層方向一部を貫通して前記配線パターンの面と前記第2の配線パターンの面との間に挟設され、かつ金属からなり、かつ積層方向の一致する軸を有し該軸の方向に径が変化している形状である層間接続体とをさらに具備する、としてもよい。この層間接続体は、チップ部品を埋め込んでいる第2の絶縁層の積層方向一部を貫通する層間接続体の別の例であり、例えば金属板をエッチングすることにより形成された導体バンプを由来とする層間接続体である。
また、実施態様として、前記第1の絶縁層の前記配線パターンが位置する側とは反対側に設けられた第2の配線パターンと、前記第1の絶縁層を貫通して前記配線パターンの面と前記第2の配線パターンの面との間に挟設され、かつ導電性組成物からなり、かつ積層方向に一致する軸を有し該軸の方向に径が変化している形状である層間接続体とをさらに具備する、としてもよい。この層間接続体は、チップ部品を埋め込んでいる第2の絶縁層とは別の第1の絶縁層を貫通する層間接続体の一例であり、例えば導電性組成物のスクリーン印刷により形成された導電性バンプを由来とする層間接続体である。
また、実施態様として、前記第1の絶縁層の前記配線パターンが位置する側とは反対側に設けられた第2の配線パターンと、前記第1の絶縁層を貫通して前記配線パターンの面と前記第2の配線パターンの面との間に挟設され、かつ金属からなり、かつ積層方向に一致する軸を有し該軸の方向に径が変化している形状である層間接続体とをさらに具備する、としてもよい。この層間接続体は、チップ部品を埋め込んでいる第2の絶縁層とは別の第1の絶縁層を貫通する層間接続体の別の例であり、例えば金属板をエッチングすることにより形成された導体バンプを由来とする層間接続体である。
また、実施態様として、前記第1の絶縁層の前記配線パターンが位置する側とは反対側に設けられた第2の配線パターンと、前記第1の絶縁層を貫通して前記配線パターンの面と前記第2の配線パターンの面との間に挟設され、かつ導電性組成物からなり、かつ積層方向に一致する軸を有し該軸の方向に径が変化していない形状である層間接続体とをさらに具備する、としてもよい。この層間接続体は、チップ部品を埋め込んでいる第2の絶縁層とは別の第1の絶縁層を貫通する層間接続体のさらに別の例であり、例えば第1の絶縁層を貫通する穴に導電性組成物を充填して形成される層間接続体である。
また、実施態様として、前記第1の絶縁層の前記配線パターンが位置する側とは反対側に設けられた第2の配線パターンと、前記第1の絶縁層を貫通して前記配線パターンの面と前記第2の配線パターンの面との間に挟設され、かつ金属からなり、かつ積層方向に一致する軸を有し該軸の方向に径が変化していない形状である層間接続体とをさらに具備する、としてもよい。この層間接続体は、チップ部品を埋め込んでいる第2の絶縁層とは別の第1の絶縁層を貫通する層間接続体のさらに別の例であり、例えば金属めっきにより形成された導体バンプを由来とする層間接続体である。
また、実施態様として、前記半田部により前記チップ部品が前記配線パターンに接続される該チップ部品の側とは反対の側の該チップ部品の表面が、表出している、とすることができる。部品内蔵配線板として厚みをできるだけ抑えた構成である。
また、実施態様として、前記半田部により前記チップ部品が前記配線パターンに接続される該チップ部品の側とは反対の側の該チップ部品の表面が、前記第2の絶縁層により隠されている、とすることもできる。部品内蔵配線板として内蔵部品を内部に完全に閉じ込めた構成である。
以上を踏まえ、以下では本発明の実施形態を図面を参照しながら説明する。図1は、本発明の一実施形態に係る部品内蔵配線板の構成を模式的に示す断面図である。図1に示すように、この部品内蔵配線板は、絶縁層11(第1の絶縁層)、同12、同13、同14(12、13、14で第2の絶縁層)、同15、配線層21(第2の配線パターン)、同22(配線パターン)、同23(もうひとつの第2の配線パターン)、同24、同25、同26(=合計6層)、層間接続体31、同32、同34、同35、スルーホール導電体33、チップ部品41(電気/電子部品)、半田部51を有する。
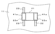
チップ部品41は、ここでは例えばチップコンデンサであり、その平面的な大きさは例えば0.6mm×0.3mmである。両端に端子(電極)41aを有し、その下側が配線層22による内蔵部品実装用ランド22aに対向位置している。チップ部品41の端子41aと実装用ランド22aとは半田部51により電気的・機械的に接続されている。
ここで、チップ部品41の端子41aと実装用ランド22aとの配置および大きさの関係は、図2に示すようになっている。図2は、図1に示した部品内蔵配線板におけるチップ部品41付近の構造を示す平面図である。すなわち、チップ部品41の端子41aそれぞれの板厚み方向投影図形に内包される大きさに実装用ランド22aが形成されている。このようなチップ部品41の端子41aと実装用ランド22aとの関係によれば、それら間の接続を行う半田部51は、少ない量で形成できる。
したがって、2次実装時(この部品内蔵配線板の外側の配線層21、26に部品実装されるとき)に半田部51が再溶融することがあっても、その体積膨張はわずかなものに抑制され、絶縁層11、12、配線層22などにクラックやデラミネーションが発生することを効果的に防止できる。なお、半田部51は、実装用ランド22aに連なる配線層22にも広がっている可能性があるが、その連なるパターンの幅は、この実施形態では例えば0.15mm程度であり、非常に少ないはみ出し量にしかなり得ず問題となる影響を発生しない。
部品内蔵配線板としてのほかの構造について述べると、上記言及した外側の配線層21、26とは別の配線層22、23、24、25はそれぞれ内層の配線層であり、順に、配線層21と配線層22の間に絶縁層11が、配線層22と配線層23の間に絶縁層12が、配線層23と配線層24との間に絶縁層13が、配線層24と配線層25との間に絶縁層14が、配線層25と配線層26との間に絶縁層15が、それぞれ位置しこれらの配線層21〜26を隔てている。各配線層21〜26は、例えばそれぞれ厚さ18μmの金属(銅)箔からなっている。
なお、内層の配線層22〜25は、絶縁層12または絶縁層14の側に沈み込んで位置し、絶縁層11、13、15の側に配線層の沈み込みはない。これは製造工程に依拠してこのようになっており、配線層22、25については製造工程の違いでまた別の沈み込みの位置となる場合がある(後述する)。
各絶縁層11〜15は、絶縁層13を除き例えばそれぞれ厚さ100μm、絶縁層13のみ例えば厚さ300μmで、それぞれ例えばガラスエポキシ樹脂からなるリジッドな素材である。特に絶縁板13は、内蔵されたチップ部品41に相当する位置部分が開口部となっており、チップ部品41を内蔵するための空間を提供する。絶縁層12、14は、内蔵されたチップ部品41のための絶縁層13の上記開口部および絶縁層13のスルーホール導電体33内部の空間を埋めるように変形進入しており内部に空隙となる空間は存在しない。
配線層21と配線層22とは、それらのパターンの面の間に挟設されかつ絶縁層11を貫通する層間接続体31により導通し得る。同様に、配線層22と配線層23とは、それらのパターンの面の間に挟設されかつ絶縁層12を貫通する層間接続体32により導通し得る。配線層23と配線層24とは、絶縁層13を貫通して設けられたスルーホール導電体33により導通し得る。配線層24と配線層25とは、それらのパターンの面の間に挟設されかつ絶縁層14を貫通する層間接続体34により導通し得る。配線層25と配線層26とは、それらのパターンの面の間に挟設されかつ絶縁層15を貫通する層間接続体5により導通し得る。
層間接続体31、32、34、35は、それぞれ、導電性組成物のスクリーン印刷により形成される導電性バンプを由来とするものであり、その製造工程に依拠して軸方向(図1の図示で上下の積層方向)に径が変化している。その直径は、太い側で例えば200μmである。
この実施形態に係る部品内蔵配線板は、2次実装時に半田部51が再溶融することがあっても、その体積膨張はわずかなものに抑制され、絶縁層11、12、配線層22などにクラックやデラミネーションが発生することを効果的に防止できる。クラックやデラミネーションは過度の場合、配線パターン同士をショートさせることもあり、信頼性のほか製品歩留まりにも影響がある。したがって、本実施形態により信頼性向上および歩留まり向上が見込める。また、実装用ランド22aそれぞれの大きさを従来のものより小さく形成しているので、絶縁板11上の領域の利用効率が向上し実装密度の高い部品内蔵配線板を提供できる。さらに、部品内蔵に使用する半田の量を減少させるのでコスト減の意味でも利点がある。
次に、図1に示した部品内蔵配線板の製造工程を図3ないし図5を参照して説明する。図3ないし図5は、それぞれ、図1に示した部品内蔵配線板の製造過程の一部を模式的断面で示す工程図である。これらの図において図1中に示した構成要素と同一または同一相当のものには同一符号を付してある。
図3から説明する。図3は、図1中に示した各構成のうち絶縁板11を中心とした部分の製造工程を示している。まず、図3(a)に示すように、厚さ例えば18μmの金属箔(電解銅箔)22A上に例えばスクリーン印刷により、層間接続体31となるペースト状の導電性組成物をほぼ円錐形のバンプ状(底面径例えば200μm、高さ例えば160μm)に形成する。この導電性組成物は、ペースト状の樹脂中に銀、金、銅などの金属微細粒または炭素微細粒を分散させたものである。説明の都合で金属箔22Aの下面に印刷しているが上面でもよい(以下の各図も同じである)。層間接続体31の印刷後これを乾燥させて硬化させる。
次に、図3(b)に示すように、金属箔22A上に厚さ例えば公称100μmのFR−4のプリプレグ11Aを積層して層間接続体31を貫通させ、その頭部が露出するようにする。露出に際してあるいはその後その先端を塑性変形でつぶしてもよい(いずれにしても層間接続体31の形状は、積層方向に一致する軸を有しその軸方向に径が変化する形状である。)。続いて、図3(c)に示すように、プリプレグ31A上に金属箔(電解銅箔)21Aを積層配置して加圧・加熱し全体を一体化する。このとき、金属箔21Aは層間接続体31と電気的導通状態となり、プリプレグ11Aは完全に硬化して絶縁層11になる。
次に、図3(d)に示すように、片側の金属箔22Aに例えば周知のフォトリソグラフィによるパターニングを施し、これを、実装用ランド22aを含む配線パターン22に加工する。そして、加工により得られた実装用ランド22a上に、図3(e)に示すように、例えばスクリーン印刷によりクリーム半田51Aを印刷する。クリーム半田51Aは、フラックス中に微細な半田粒を分散させたものでありスクリーン印刷を用いれば容易に所定パターンに印刷できる。スクリーン印刷に代えてディスペンサを使用することもできる。
次に、チップ部品41をクリーム半田51Aを介して実装用ランド22a上に例えばマウンタで載置し、さらにその後クリーム半田51Aを例えばリフロー炉でリフローさせる。これにより、図3(f)に示すように、半田部51を介してチップ部品41が実装用ランド22a上に接続された状態の配線板素材1が得られる。この配線板素材1を用いる後の工程については図5で後述する。
次に、図4を参照して説明する。図4は、図1中に示した各構成のうち絶縁板13および同12を中心とした部分の製造工程を示している。まず、図4(a)に示すように、両面に例えば厚さ18μmの金属箔(電解銅箔)23A、24Aが積層された例えば厚さ300μmのFR−4の絶縁層13を用意し、その所定位置にスルーホール導電体を形成するための貫通孔62をあけ、かつ内蔵するチップ部品41に相当する部分に開口部61を形成する。
次に、無電解めっきおよび電解めっきを行い、図4(b)に示すように、貫通孔62の内壁にスルーホール導電体33を形成する。このとき開口部61の内壁にも導電体が形成される。さらに、図4(c)に示すように、金属箔23A、24Aを周知のフォトリソグラフィを利用して所定にパターニングして配線層23、24を形成する。配線層23、24のパターニング形成により、開口部61の内壁に形成された導電体も除去される。
次に、図4(d)に示すように、配線層23上の所定の位置に層間接続体32となる導電性バンプ(底面径例えば200μm、高さ例えば160μm)をペースト状導電性組成物のスクリーン印刷により形成する。続いて、図4(e)に示すように、絶縁層12とすべきFR−4のプリプレグ12A(公称厚さ例えば100μm)を配線層23側にプレス機を用い積層する。プリプレグ12Aには、絶縁層13と同様の、内蔵するチップ部品41に相当する部分の開口部をあらかじめ設けておく。
この積層工程では、層間接続体32の頭部をプリプレグ12Aに貫通させる。なお、図(e)における層間接続体32の頭部の破線は、この段階でその頭部を塑性変形させてつぶしておく場合と塑性変形させない場合の両者あり得ることを示す。この工程により、配線層23はプリプレグ12A側に沈み込んで位置することになる。以上により得られた配線板素材を配線板素材2とする。
なお、以上の図4に示した工程は、以下のような手順とすることも可能である。図4(a)の段階では、貫通孔62のみ形成し内蔵部品用の開口部61を形成せずに続く図4(b)から図4(d)までの工程を行う。次に、図4(e)に相当する工程として、プリプレグ12A(開口のないもの)の積層を行う。そして、絶縁層13およびプリプレグ12Aに部品内蔵用の開口部を同時に形成する、という工程である。
次に、図5を参照して説明する。図5は、上記で得られた配線板素材1、2などを積層する配置関係を示す図である。ここで、図示上側の配線板素材3は、下側の配線板素材1と同様な工程を適用し、かつそのあと層間接続体34およびプリプレグ14Aを図示中間の配線板素材2における層間接続体32およびプリプレグ12Aと同様にして形成し得られたものである。ただし、部品(チップ部品41)およびこれを接続するための部位(実装用ランド22a)のない構成であり、さらにプリプレグ14Aにはチップ部品41用の開口部も設けない。そのほかは、金属箔(電解銅箔)26A、絶縁層15、層間接続体35、配線層25、プリプレグ14A、層間接続体34とも、それぞれ配線板素材1の金属箔21A、絶縁層11、層間接続体31、配線層22、配線板素材2のプリプレグ12A、層間接続体32と同じである。
図5に示すような配置で各配線板素材1、2、3を積層配置してプレス機で加圧・加熱する。これにより、プリプレグ12A、14Aが完全に硬化し全体が積層・一体化する。このとき、加熱により得られるプリプレグ12A、14Aの流動性により、チップ部品41の周りの空間およびスルーホール導電体33内部の空間にはプリプレグ12A、14Aが変形進入し空隙は発生しない。また、配線層22、24は、層間接続体32、34にそれぞれ電気的に接続される。この積層工程の後、上下両面の金属箔26A、21Aを周知のフォトリソグラフィを利用して所定にパターニングし、図1に示したような部品内蔵配線板を得ることができる。
変形例として、中間の絶縁層13に設けられたスルーホール導電体33については、層間接続体31や同32と同様なものとする構成も当然ながらあり得る。また、外側の配線層21、26は、最後の積層工程のあとにパターニングして得る以外に、各配線板素材1、3の段階で(例えば図3(d)の段階で)形成するようにしてもよい。
また、図5に示した積層工程において、配線板素材1、2については、プリプレグ12Aおよび層間接続体32の部分を配線板素材2の側ではなく配線板素材1の側に設けておくようにしてもよい。すなわち、層間接続体32の形成およびプリプレグ12Aの積層を、配線板素材1の配線層22上(絶縁板11上)であらかじめ行うようにする。この場合、実装されたチップ部品41が、一見、層間接続体32をスクリーン印刷で形成するときに干渉要因となるように見えるが、チップ部品41として十分薄い部品の場合は実際上干渉要因とはならない。プリプレグ12Aの積層工程のときには、チップ部品41の厚さを吸収できるクッション材を介在させて加圧・加熱すれば面内方向均一にプリプレグ12Aを積層できる。
次に、本発明の別の実施形態に係る部品内蔵配線板について図6を参照して説明する。図6は、本発明の別の実施形態に係る部品内蔵配線板の構成を模式的に示す断面図であり、すでに説明した図中に示した構成要素と同一または同一相当のものには同一符号を付してある。その部位については加える事項がない限り説明を省略する。
この実施形態では、導電性組成物の印刷による層間接続体32、34に代わり、金属板エッチングにより形成された層間接続体72、74を有している。これらの層間接続体72、74の配線層22側または配線層25側には、図示するように、エッチングストッパ層が残存している。また、絶縁層11(15)の絶縁層12(14)との境界は、図1に示した実施形態と比較して配線層22(25)の厚さ分だけ深い方に移動している。以下、このような構成になっている理由を含めて製造工程を説明する。
図7は、図6に示した部品内蔵配線板の製造過程の一部を模式的断面で示す工程図であり、図6における絶縁層11、配線層21、22(実装用ランド22aを含む)、層間接続体31、72の部分の製造工程を示したものである。図6における絶縁層15、配線層25、26、層間接続体35、74の部分の製造工程もほぼ同様である。なお、図6中に示した構成要素と同一または同一相当のものには同一符号を付してある。
まず、例えば厚さ18μmの金属箔(電解銅箔)22Aにごく薄い厚さ例えば2μmの例えばニッケル合金からなる層(エッチングストッパ層ES)が積層された積層膜を用意し、このエッチングストッパ層ES側に厚さ例えば120μmの金属板(銅板)72Aを積層一体化して、図7(a)に示すように3層構造のクラッド材を得る。
次に、図7(b)に示すように、金属箔22Aを周知のフォトリソグラフィを利用し銅のみエッチング可能なエッチング液で所定にパターニングする。これにより配線層22を形成する。さらに、図7(c)に示すように、配線層22上の所定の位置に層間接続体31をペースト状の導電性組成物のスクリーン印刷により形成する。続いて、図7(d)に示すように、絶縁層11とすべきプリプレグ11Aを配線層22側にプレス機を用い積層する。このとき層間接続体31の頭部をプリプレグ11Aに貫通させる。この積層工程により、配線層22はプリプレグ11A側に沈み込んで位置することになる。なお、図7(d)における層間接続体31の頭部の破線は、この段階で層間接続体31の頭部を塑性変形させてつぶしておく場合と塑性変形させない場合の両者あり得ることを示す。
次に、積層されたプリプレグ11A上に、配線層21とすべき厚さ例えば18μmの金属箔(電解銅箔)21Aを配置してプレス機で積層方向に加圧・加熱する。これにより、図7(e)に示すように、プリプレグ11Aが完全に硬化して絶縁層11となり積層・一体化がされる。このとき金属箔21Aは層間接続体31に電気的に接続される。
次に、金属板72A上に所定位置のエッチングレジストを形成する。このエッチングレジストは、エッチングによる層間接続体72を形成すべきところに残存させる。そして銅のみをエッチング可能なエッチング液を用いてエッチング加工し、図7(f)に示すように、金属板のエッチング加工による層間接続体72を形成する。その形状は、エッチングレジストの形状や大きさ、エッチング加工時間によって変わり、一般には積層方向に一致する軸を有しこの軸の方向に径が変化する形状になる。
そして、形成された層間接続体72をマスクにエッチングストッパ層ESをエッチング除去することにより、図7(g)に示すような形態の配線板素材を得ることできる。以下の工程としては、図3(e)以下に示したチップ部品の実装、および図4(e)に示したプリプレグ12Aの積層(ただし、プリプレグ12Aは図7(g)における配線層22の側に積層する)を行う。得られた配線板素材は、図5に示した積層工程における下側の配線板素材1に代えて用いることができる。中間の配線板素材2に相当するものには、層間接続体32の形成およびプリプレグ12Aの積層のないものを使用する。以上により図6に示した部品内蔵配線板を得ることができる。
次に、本発明のさらに別の実施形態について図8を参照して説明する。図8は、本発明のさらに別の実施形態に係る部品内蔵配線板の構成を模式的に示す断面図である。すでに説明した図中に示した構成要素と同一または同一相当のものには同一符号を付してある。その部位については加える事項がない限り説明を省略する。この実施形態は、図1に示した部品内蔵配線板の層間接続体31、35に代えて、金属からなり、積層方向に一致する軸を有しその軸方向に径が変化する形状の層間接続体81、85を用いたものである。
以下、図8に示した部品内蔵配線板の製造工程について図9を参照して説明する。図9は、図8に示した部品内蔵配線板の一部製造過程を模式的断面で示す工程図であり、配線層22(より厳密には配線層22に加工される金属箔22A)と層間接続体81とからなる部分の製造工程を示すものである。
まず、例えば厚さ18μmの金属箔(電解銅箔)22Aにごく薄い厚さ例えば2μmの例えばニッケル合金からなる層(エッチングストッパ層ES)が積層された積層膜を用意し、このエッチングストッパ層ES側に金属板(銅板)81Aを積層一体化して、図9(a)に示すような3層構造のクラッド材を得る。そして、金属板81A上の所定位置にエッチングマスク89を形成する。
次に、エッチングマスク89が形成された3層クラッド材の金属板81Aを、銅のみエッチング可能なエッチング液でエッチングする。これにより図9(b)に示すように、層間接続体81を得ることができる。そして形成された層間接続体81をマスクにエッチングストッパ層ESをエッチング除去する。これにより図9(c)に示す素材が得られる。以下の工程は、この図9(c)に示した素材を図3(a)に示す素材に代えて、図3(b)以下の工程を行えばよい。以上の説明は、配線層25と層間接続体85とからなる部分について同様である。
次に、本発明のさらに別の実施形態について図10を参照して説明する。図10は、本発明のさらに別の実施形態に係る部品内蔵配線板の構成を模式的に示す断面図である。図10において、すでに説明した構成部分と同一または同一相当の部分には同一符号を付し、その説明は省略する。この実施形態は、図1に示した部品内蔵配線板の層間接続体31、35に代えて、導電性組成物からなり、積層方向に一致する軸を有しその軸方向に径が変化しない形状の層間接続体91、95を用いたものである。
以下、図10に示した部品内蔵配線板の製造工程について図11を参照して説明する。図11は、図10に示した部品内蔵配線板の一部製造過程を模式的断面で示す工程図であり、絶縁層11とその両面の配線層21、22、および絶縁層11を貫通する層間接続体91の部分の製造工程を示すものである。
まず、図11(a)示すように、例えば厚さ公称100μmのプリプレグ11Aの所定位置に穴あけを行い、その穴内部を導電性組成物で充填し層間接続体91とする。次に、図11(b)に示すように、プリプレグ11Aの両面に厚さ例えば18μmの金属箔(電解銅箔)21A、22Aを積層し加圧・加熱して一体化する。この積層・一体化で各金属箔21A、22Aは層間接続体91との電気的導通状態を確立し、プリプレグ11Aは完全に硬化して絶縁層11となる。
次に、図11(c)に示すように、片側の金属箔22Aに例えば周知のフォトリソグラフィによるパターニングを施し、これを配線層22(実装用ランド22aを含む)に加工する。そして、この図11(c)に示す素材を図3(d)に示す素材の代わりに用い、その後の工程は図3(e)以下における説明と同様である。以上の説明は、絶縁層15とその両面の配線層25、26、および絶縁層15を貫通する層間接続体95の部分について同様である。
次に、本発明のさらに別の実施形態について図12を参照して説明する。図12は、本発明のさらに別の実施形態に係る部品内蔵配線板の構成を模式的に示す断面図である。図12において、すでに説明した構成部分と同一または同一相当の部分には同一符号を付し、その説明は省略する。この実施形態は、図1に示した部品内蔵配線板の層間接続体31、35に代えて、金属からなり、積層方向に一致する軸を有しその軸方向に径が変化しない形状の層間接続体101、105を用いたものである。
以下、図12に示した部品内蔵配線板の製造工程について図13を参照して説明する。図13は、図12に示した部品内蔵配線板の一部製造過程を模式的断面で示す工程図であり、上記説明のうち、配線層22(より厳密には配線層22に加工される金属箔22A)と層間接続体101とからなる部分の製造工程を示すものである。
まず、図13(a)に示すように、例えば厚さ18μmの金属箔(電解銅箔)22A上に、所定位置にマスク除去部109Aを有するめっき阻止マスク109を形成する。マスク除去部109Aの形状は例えばほぼ円筒状である。次に、金属箔22Aを電気供給路としてそのめっき阻止マスク109側に電解めっき工程を施し、図13(b)に示すように、マスク除去部109A内に例えば銅のめっき層を成長させる。この成長させためっき層が層間接続体101になる。めっき層成長後、めっき阻止マスク109を除去すると図13(c)に示すような素材が得られる。以下の工程は、この図13(c)に示した素材を図3(a)に示す素材に代えて、図3(b)以下の工程を行えばよい。以上の説明は、配線層25と層間接続体104とからなる部分について同様である。
以上、図8ないし図13では、絶縁層11およびその両面の配線層21、22からなる両面配線板の部分と、絶縁層15およびその両面の配線層25、26からなる両面配線板の部分とについての諸例を、その層間接続体の構成という観点から示した。これらの説明以外の層間接続体を有する両面配線板を用いてもよいことは無論である。例えば、層間接続体として、周知の、穴あけおよびめっき工程によるスルーホール内壁導電体としてもよい。さらにその他様々な構成の層間接続体を有する両面配線板を用いることができる。
次に、本発明のさらに別の実施形態について図14を参照して説明する。図14は、本発明のさらに別の実施形態に係る部品内蔵配線板の構成を模式的に示す断面図である。図14において、すでに説明した構成部分と同一または同一相当の部分には同一符号を付し、その説明は省略する。この実施形態は、図1に示した部品内蔵配線板において絶縁層14から上の部分(層間接続体34、配線層25、絶縁層15、層間接続体35、配線層26)がない構成のものであり、これによりチップ部品41の実装側と反対側が表出している。部品内蔵配線板として厚みをできるだけ抑えた構成である。
図15は、図14に示した部品内蔵配線板の製造過程の一部を模式的断面で示す工程図である。すでに示した図中に示した構成要素と同一または同一相当のものには同一符号を付してある。図15は、図5に相当する積層工程を示し、図示するように、配線板素材1、2については図1ないし5により説明した実施形態と同じものを使用できる。
この積層工程において積層上側には離型シート141を用いる。これにより、上側面には、配線層24のようなわずかな突起を吸収して離型シート141が密着する。そして、積層時の加熱によりプリプレグ12Aが流動性を得て、チップ部品41の周りの空間およびスルーホール導電体33内部の空間にプリプレグ12Aが変形進入する。積層工程の後、離型シートは除去される。チップ部品41の高さは絶縁層13の上側に合わせされており、これによりチップ部品41の表面が表出することになる。
本発明の一実施形態に係る部品内蔵配線板の構成を模式的に示す断面図。 図1に示した部品内蔵配線板におけるチップ部品41付近の構造を示す平面図。 図1に示した部品内蔵配線板の製造過程の一部を模式的断面で示す工程図。 図1に示した部品内蔵配線板の製造過程の別の一部を模式的断面で示す工程図。 図1に示した部品内蔵配線板の製造過程のさらに別の一部を模式的断面で示す工程図。 本発明の別の実施形態に係る部品内蔵配線板の構成を模式的に示す断面図。 図6に示した部品内蔵配線板の製造過程の一部を模式的断面で示す工程図。 本発明のさらに別の実施形態に係る部品内蔵配線板の構成を模式的に示す断面図。 図8に示した部品内蔵配線板の製造過程の一部を模式的断面で示す工程図。 本発明のさらに別の実施形態に係る部品内蔵配線板の構成を模式的に示す断面図。 図10に示した部品内蔵配線板の製造過程の一部を模式的断面で示す工程図。 本発明のさらに別の実施形態に係る部品内蔵配線板の構成を模式的に示す断面図。 図12に示した部品内蔵配線板の製造過程の一部を模式的断面で示す工程図。 本発明のさらに別の実施形態に係る部品内蔵配線板の構成を模式的に示す断面図。 図14に示した部品内蔵配線板の製造過程の一部を模式的断面で示す工程図。
符号の説明
1…配線板素材、2…配線板素材、3…配線板素材、11…絶縁層、11A…プリプレグ、12…絶縁層、12A…プリプレグ、13…絶縁層、14…絶縁層、14A…プリプレグ、15…絶縁層、21…配線層(金属配線パターン)、21A…金属箔(銅箔)、22…配線層(金属配線パターン)、22a…内蔵部品実装用ランド、22A…金属箔(銅箔)、23…配線層(金属配線パターン)、23A…金属箔(銅箔)、24…配線層(金属配線パターン)、24A…金属箔(銅箔)、25…配線層(金属配線パターン)、26…配線層(金属配線パターン)、31…層間接続体(導電性組成物印刷による導電性バンプ)、32…層間接続体(導電性組成物印刷による導電性バンプ)、33…スルーホール導電体、34…層間接続体(導電性組成物印刷による導電性バンプ)、35…層間接続体(導電性組成物印刷による導電性バンプ)、41…チップ部品(電気/電子部品)、41a…端子(電極)、51…半田、51a…クリーム半田、61…開口部、62…貫通孔、72,74…層間接続体(金属板エッチングにより形成された金属バンプ)、72A…金属板(銅板)、81,85…層間接続体(金属板エッチングにより形成された金属バンプ)、81A…金属板(銅板)、89…エッチングマスク、91,95…層間接続体(導電性組成物充填)、101,105…層間接続体(めっきにより形成された導体バンプ)、109…めっき阻止マスク、109A…マスク除去部、141…離型シート、ES…エッチングストッパ。

Claims (9)

  1. 第1の絶縁層と、
    前記第1の絶縁層に対して積層状に位置する第2の絶縁層と、
    端子である電極を両端に備えた、前記第2の絶縁層に埋め込まれているチップ部品と、
    前記第1の絶縁層と前記第2の絶縁層とに挟まれて設けられ、かつ、前記チップ部品の前記端子の板厚み方向投影図形に内包される大きさのパターンを該チップ部品の実装用ランドとして有する配線パターンと、
    前記チップ部品の前記端子と前記配線パターンの前記実装用ランドとを接続する半田部とを具備し、
    前記チップ部品の周りに空隙の発生がないように、前記チップ部品が、前記第2の絶縁層に埋め込まれておりかつ前記チップ部品の前記端子が、前記半田部を介して前記配線パターンの前記実装用ランドに接続されていること
    を特徴とする部品内蔵配線板。
  2. 前記第2の絶縁層が、少なくとも2つの絶縁層の積層であり、
    前記少なくとも2つの絶縁層の間に挟まれて設けられた第2の配線パターンと、
    前記第2の絶縁層の積層方向一部を貫通して前記配線パターンの面と前記第2の配線パターンの面との間に挟設され、かつ導電性組成物からなり、かつ積層方向に一致する軸を有し該軸の方向に径が変化している形状である層間接続体と
    をさらに具備することを特徴とする請求項1記載の部品内蔵配線板。
  3. 前記第2の絶縁層が、少なくとも2つの絶縁層の積層であり、
    前記少なくとも2つの絶縁層の間に挟まれて設けられた第2の配線パターンと、
    前記第2の絶縁層の積層方向一部を貫通して前記配線パターンの面と前記第2の配線パターンの面との間に挟設され、かつ金属からなり、かつ積層方向に一致する軸を有し該軸の方向に径が変化している形状である層間接続体と
    をさらに具備することを特徴とする請求項1記載の部品内蔵配線板。
  4. 前記第1の絶縁層の前記配線パターンが位置する側とは反対側に設けられた第2の配線パターンと、
    前記第1の絶縁層を貫通して前記配線パターンの面と前記第2の配線パターンの面との間に挟設され、かつ導電性組成物からなり、かつ積層方向に一致する軸を有し該軸の方向に径が変化している形状である層間接続体と
    をさらに具備することを特徴とする請求項1記載の部品内蔵配線板。
  5. 前記第1の絶縁層の前記配線パターンが位置する側とは反対側に設けられた第2の配線パターンと、
    前記第1の絶縁層を貫通して前記配線パターンの面と前記第2の配線パターンの面との間に挟設され、かつ金属からなり、かつ積層方向に一致する軸を有し該軸の方向に径が変化している形状である層間接続体と
    をさらに具備することを特徴とする請求項1記載の部品内蔵配線板。
  6. 前記第1の絶縁層の前記配線パターンが位置する側とは反対側に設けられた第2の配線パターンと、
    前記第1の絶縁層を貫通して前記配線パターンの面と前記第2の配線パターンの面との間に挟設され、かつ導電性組成物からなり、かつ積層方向に一致する軸を有し該軸の方向に径が変化していない形状である層間接続体と
    をさらに具備することを特徴とする請求項1記載の部品内蔵配線板。
  7. 前記第1の絶縁層の前記配線パターンが位置する側とは反対側に設けられた第2の配線パターンと、
    前記第1の絶縁層を貫通して前記配線パターンの面と前記第2の配線パターンの面との間に挟設され、かつ金属からなり、かつ積層方向に一致する軸を有し該軸の方向に径が変化していない形状である層間接続体と
    をさらに具備することを特徴とする請求項1記載の部品内蔵配線板。
  8. 前記半田部により前記チップ部品が前記配線パターンに接続される該チップ部品の側とは反対の側の該チップ部品の表面が、表出していることを特徴とする請求項1記載の部品内蔵配線板。
  9. 前記半田部により前記チップ部品が前記配線パターンに接続される該チップ部品の側とは反対の側の該チップ部品の表面が、前記第2の絶縁層により隠されていることを特徴とする請求項1記載の部品内蔵配線板。
JP2005222518A 2005-08-01 2005-08-01 部品内蔵配線板 Expired - Fee Related JP5100989B2 (ja)

Priority Applications (1)

Application Number Priority Date Filing Date Title
JP2005222518A JP5100989B2 (ja) 2005-08-01 2005-08-01 部品内蔵配線板

Applications Claiming Priority (1)

Application Number Priority Date Filing Date Title
JP2005222518A JP5100989B2 (ja) 2005-08-01 2005-08-01 部品内蔵配線板

Publications (2)

Publication Number Publication Date
JP2007042706A JP2007042706A (ja) 2007-02-15
JP5100989B2 true JP5100989B2 (ja) 2012-12-19

Family

ID=37800442

Family Applications (1)

Application Number Title Priority Date Filing Date
JP2005222518A Expired - Fee Related JP5100989B2 (ja) 2005-08-01 2005-08-01 部品内蔵配線板

Country Status (1)

Country Link
JP (1) JP5100989B2 (ja)

Families Citing this family (11)

* Cited by examiner, † Cited by third party
Publication number Priority date Publication date Assignee Title
JP5141084B2 (ja) * 2007-04-19 2013-02-13 大日本印刷株式会社 電子部品実装配線板、及び電子部品実装配線板における電子部品の剥離防止方法
JP5649771B2 (ja) * 2008-04-17 2015-01-07 大日本印刷株式会社 部品内蔵配線板
JP2009283689A (ja) * 2008-05-22 2009-12-03 Dainippon Printing Co Ltd 部品内蔵配線板の製造方法、部品内蔵配線板
JP2010267845A (ja) * 2009-05-15 2010-11-25 Dainippon Printing Co Ltd 部品内蔵配線板、部品内蔵配線板の製造方法
JP5397012B2 (ja) * 2009-05-19 2014-01-22 大日本印刷株式会社 部品内蔵配線板、部品内蔵配線板の製造方法
JP2013093366A (ja) * 2011-10-24 2013-05-16 Yamaichi Electronics Co Ltd フレキシブル配線基板およびその製造方法
JP5354078B2 (ja) * 2012-09-18 2013-11-27 大日本印刷株式会社 部品内蔵配線板の製造方法、部品内蔵配線板
CN103904048B (zh) * 2012-12-27 2017-03-01 欣兴电子股份有限公司 内置式芯片封装结构
JP2013225711A (ja) * 2013-08-07 2013-10-31 Dainippon Printing Co Ltd 部品内蔵配線板
JP5733378B2 (ja) * 2013-12-03 2015-06-10 大日本印刷株式会社 部品内蔵配線板、部品内蔵配線板の製造方法
JP6007956B2 (ja) * 2014-09-05 2016-10-19 大日本印刷株式会社 部品内蔵配線板

Family Cites Families (5)

* Cited by examiner, † Cited by third party
Publication number Priority date Publication date Assignee Title
JPS63169793A (ja) * 1987-01-07 1988-07-13 株式会社村田製作所 プリント基板へのチツプ部品の取付構造
JP2003037205A (ja) * 2001-07-23 2003-02-07 Sony Corp Icチップ内蔵多層基板及びその製造方法
JP2004039723A (ja) * 2002-07-01 2004-02-05 Matsushita Electric Ind Co Ltd 回路部品内蔵モジュールおよびその製造方法
JP4294967B2 (ja) * 2003-02-13 2009-07-15 デンカAgsp株式会社 多層配線基板及びその製造方法
JP4024188B2 (ja) * 2003-07-16 2007-12-19 大日本印刷株式会社 半導体チップ内蔵配線板の製造方法

Also Published As

Publication number Publication date
JP2007042706A (ja) 2007-02-15

Similar Documents

Publication Publication Date Title
JP4945974B2 (ja) 部品内蔵配線板
JP4597631B2 (ja) 部品内蔵配線板、部品内蔵配線板の製造方法
US8737085B2 (en) Wiring board with a built-in component and method for manufacturing the same
JP5100989B2 (ja) 部品内蔵配線板
JP5130661B2 (ja) 部品内蔵配線板、部品内蔵配線板の製造方法。
JP2006156669A (ja) 部品内蔵配線板、部品内蔵配線板の製造方法
JP2009147026A (ja) 回路基板およびその製造方法
KR20130053289A (ko) 인쇄회로기판의 제조방법
JP2008311612A (ja) 多層プリント基板およびその製造方法
JP5651936B2 (ja) 容量素子具有配線板、容量素子具有配線板の製造方法
JP4598140B2 (ja) 部品内蔵配線板、部品内蔵配線板の製造方法
JP4657870B2 (ja) 部品内蔵配線板、部品内蔵配線板の製造方法
JP2009283689A (ja) 部品内蔵配線板の製造方法、部品内蔵配線板
JP2013102047A (ja) 部品内蔵配線板、部品内蔵配線板の製造方法
JP2010098021A (ja) 部品内蔵配線基板および部品内蔵配線基板の製造方法
JP5130666B2 (ja) 部品内蔵配線板
JP2011071560A (ja) 部品内蔵配線板の製造方法
JP3905802B2 (ja) プリント配線板及びその製造方法
JP5108253B2 (ja) 部品実装モジュール
JP5245491B2 (ja) 部品内蔵配線板の製造方法、部品内蔵配線板
JP2011249457A (ja) 部品内蔵配線板、部品内蔵配線板の製造方法
JP2009130095A (ja) 部品内蔵配線板、部品内蔵配線板の製造方法
JP2006041000A (ja) 部品内蔵型プリント配線板及びその製造方法
JP5354078B2 (ja) 部品内蔵配線板の製造方法、部品内蔵配線板
JP5779908B2 (ja) 部品内蔵配線板

Legal Events

Date Code Title Description
A621 Written request for application examination

Free format text: JAPANESE INTERMEDIATE CODE: A621

Effective date: 20080307

A977 Report on retrieval

Free format text: JAPANESE INTERMEDIATE CODE: A971007

Effective date: 20100818

A131 Notification of reasons for refusal

Free format text: JAPANESE INTERMEDIATE CODE: A131

Effective date: 20100824

A02 Decision of refusal

Free format text: JAPANESE INTERMEDIATE CODE: A02

Effective date: 20110329

A521 Request for written amendment filed

Free format text: JAPANESE INTERMEDIATE CODE: A523

Effective date: 20110627

A911 Transfer to examiner for re-examination before appeal (zenchi)

Free format text: JAPANESE INTERMEDIATE CODE: A911

Effective date: 20110704

A912 Re-examination (zenchi) completed and case transferred to appeal board

Free format text: JAPANESE INTERMEDIATE CODE: A912

Effective date: 20110909

A01 Written decision to grant a patent or to grant a registration (utility model)

Free format text: JAPANESE INTERMEDIATE CODE: A01

A61 First payment of annual fees (during grant procedure)

Free format text: JAPANESE INTERMEDIATE CODE: A61

Effective date: 20120926

FPAY Renewal fee payment (event date is renewal date of database)

Free format text: PAYMENT UNTIL: 20151005

Year of fee payment: 3

R150 Certificate of patent or registration of utility model

Free format text: JAPANESE INTERMEDIATE CODE: R150

Ref document number: 5100989

Country of ref document: JP

Free format text: JAPANESE INTERMEDIATE CODE: R150

LAPS Cancellation because of no payment of annual fees