JP5089999B2 - 位置検出回路及びその応用装置 - Google Patents

位置検出回路及びその応用装置 Download PDF

Info

Publication number
JP5089999B2
JP5089999B2 JP2007013269A JP2007013269A JP5089999B2 JP 5089999 B2 JP5089999 B2 JP 5089999B2 JP 2007013269 A JP2007013269 A JP 2007013269A JP 2007013269 A JP2007013269 A JP 2007013269A JP 5089999 B2 JP5089999 B2 JP 5089999B2
Authority
JP
Japan
Prior art keywords
magnetic field
output
gain
position detection
field change
Prior art date
Legal status (The legal status is an assumption and is not a legal conclusion. Google has not performed a legal analysis and makes no representation as to the accuracy of the status listed.)
Expired - Fee Related
Application number
JP2007013269A
Other languages
English (en)
Other versions
JP2008180560A (ja
Inventor
晋 山崎
Current Assignee (The listed assignees may be inaccurate. Google has not performed a legal analysis and makes no representation or warranty as to the accuracy of the list.)
Olympus Corp
Original Assignee
Olympus Corp
Priority date (The priority date is an assumption and is not a legal conclusion. Google has not performed a legal analysis and makes no representation as to the accuracy of the date listed.)
Filing date
Publication date
Application filed by Olympus Corp filed Critical Olympus Corp
Priority to JP2007013269A priority Critical patent/JP5089999B2/ja
Priority to US12/018,961 priority patent/US7599810B2/en
Publication of JP2008180560A publication Critical patent/JP2008180560A/ja
Application granted granted Critical
Publication of JP5089999B2 publication Critical patent/JP5089999B2/ja
Expired - Fee Related legal-status Critical Current
Anticipated expiration legal-status Critical

Links

Images

Classifications

    • HELECTRICITY
    • H02GENERATION; CONVERSION OR DISTRIBUTION OF ELECTRIC POWER
    • H02PCONTROL OR REGULATION OF ELECTRIC MOTORS, ELECTRIC GENERATORS OR DYNAMO-ELECTRIC CONVERTERS; CONTROLLING TRANSFORMERS, REACTORS OR CHOKE COILS
    • H02P6/00Arrangements for controlling synchronous motors or other dynamo-electric motors using electronic commutation dependent on the rotor position; Electronic commutators therefor
    • H02P6/14Electronic commutators
    • H02P6/16Circuit arrangements for detecting position
    • HELECTRICITY
    • H02GENERATION; CONVERSION OR DISTRIBUTION OF ELECTRIC POWER
    • H02PCONTROL OR REGULATION OF ELECTRIC MOTORS, ELECTRIC GENERATORS OR DYNAMO-ELECTRIC CONVERTERS; CONTROLLING TRANSFORMERS, REACTORS OR CHOKE COILS
    • H02P29/00Arrangements for regulating or controlling electric motors, appropriate for both AC and DC motors
    • H02P29/60Controlling or determining the temperature of the motor or of the drive
    • H02P29/68Controlling or determining the temperature of the motor or of the drive based on the temperature of a drive component or a semiconductor component
    • H02P29/685Controlling or determining the temperature of the motor or of the drive based on the temperature of a drive component or a semiconductor component compensating for Hall sensor temperature non-linearity

Landscapes

  • Engineering & Computer Science (AREA)
  • Power Engineering (AREA)
  • Physics & Mathematics (AREA)
  • Nonlinear Science (AREA)
  • Measurement Of Length, Angles, Or The Like Using Electric Or Magnetic Means (AREA)
  • Transmission And Conversion Of Sensor Element Output (AREA)
  • Adjustment Of Camera Lenses (AREA)

Description

この発明は、物体間の相対位置を検知する位置検出回路、及び当該位置検出回路を用いた応用装置に関する。
物体間の相対位置を検知する方式として、比較的安価という観点から永久磁石とホール素子(磁界変化検出素子)を用いた検出方式が多く利用されている。その際、ホール素子は温度特性を持っているため、環境温度が変化した際に、ホール素子の感度が変化し位置検出精度が低下してしまうという問題がある。この問題を解決するために、特開平7−181557号(特許文献1)には、ホール素子の温度特性と逆極性の温度特性を有するトランジスタと分圧抵抗及び調整抵抗から構成され、ホール素子の駆動電源の電流を温度変化に応じて変化させる温度補正手段が開示されている。
特開平7−181557号公報
しかしながら、上記特許文献1開示のものではホール素子の温度特性の補正を行うことは可能であるが、位置検出に用いる磁石の個体毎のばらつきが検出精度に影響するという観点については考慮がなされていない。より高い精度で位置検出を行うためには、位置検出に用いる磁石の個体ばらつきを考慮することが好ましく、そのためには個体毎のばらつきに応じて個々に補正を行う必要がある。しかしながら、個々に補正を行う作業は非常に手間と時間が掛かるため、より簡単に磁石の個体ばらつきの補正を行う補正方法、及び位置検出方法が望まれる。
本発明は、従来の位置検出手法における上記問題点を解消するためになされたもので、容易に個体ばらつきと磁界変化検出素子の温度特性による位置検出の誤差の影響を抑制でき、検出精度を向上させた位置検出回路及びその応用装置を提供することを目的とする。
上記の課題を解決するために、本発明の基本構成は、離散して配置され、対向して配置される磁界発生手段が生成する磁界の強さに応じた信号を出力する複数の磁界変化検出素子と、一方の前記磁界変化検出素子からの出力と他方の前記磁界変化検出素子からの出力との和を所定の一定値とするための補正パラメータを演算する補正パラメータ演算部と、前記一方の磁界変化検出素子からの出力と前記他方の磁界変化検出素子からの出力との出力差と前記補正パラメータとに基づき、前記磁界発生手段と前記磁界変化検出素子との相対的な位置関係を演算し出力する位置演算部とを備えて位置検出回路を構成するものである。
発明に対応する実施例には、実施例1〜4が対応する。なお、磁界発生手段は永久磁石、磁界変化検出素子はホール素子、補正パラメータ演算部は加算増幅器及び積分回路、位置演算部はゲイン調節器及び減算増幅器にそれぞれ対応する。
このように構成した位置検出回路では、一方の磁界変化検出素子からの出力と他方の磁界変化検出素子からの出力との出力差と、一方の磁界変化検出素子からの出力と他方の磁界変化検出素子からの出力との和を所定の一定値とするための補正パラメータとに基づき、磁界発生手段と磁界変化検出素子との相対的な位置関係が演算され出力される。
請求項に係る発明は、離散して配置され、対向して配置される磁界発生手段が生成する磁界の強さに応じた信号を出力する複数の磁界変化検出素子と、一方の前記磁界変化検出素子からの出力に対してゲインを掛ける第1のゲイン調節器と、他方の前記磁界変化検出素子からの出力に対してゲインを掛ける第2のゲイン調節器と、前記第1及び第2のゲイン調節器の各出力の差を演算し、前記磁界発生手段と前記磁界変化検出素子との相対的な位置関係を示す信号として出力する減算増幅器とを備える位置演算部と、第1及び第2のゲイン調節器の各々からの出力の和を所定の一定値とするための補正パラメータを演算し、該補正パラメータに基づき、前記第1及び第2のゲイン調節器の前記ゲインを調整する補正パラメータ演算部と、を備えて位置検出回路を構成するものである。
この請求項に係る発明に対応する実施例には、実施例1及び3が対応する。このように構成した位置検出回路では、一方の磁界変化検出素子及び他方の磁界変化検出素子からのそれぞれの出力に対して補正パラメータに応じたゲインが掛けられ、ゲインが掛けられた一方の磁界変化検出素子及び他方の磁界変化検出素子からのそれぞれの各出力の差が演算され、相対的な位置関係を表す信号として出力される。ここで、補正パラメータは、ゲインが掛けられた、一方の磁界変化検出素子及び他方の磁界変化検出素子からのそれぞれの出力の和を所定の一定値とするように演算される。
請求項に係る発明は、離散して配置され、対向して配置される磁界発生手段が生成する磁界の強さに応じた信号を出力する複数の磁界変化検出素子と、一方の前記磁界変化検出素子からの出力と他方の前記磁界変化検出素子からの出力との各出力の差を演算する減算増幅器と、前記減算増幅器からの出力に対してゲインを掛ける第1のゲイン調節器とを備え、前記第1のゲイン調節器からの出力を、前記磁界発生手段と前記磁界変化検出素子との相対的な位置関係を示す信号として出力する位置演算部と、一方の前記磁界変化検出素子からの出力と他方の前記磁界変化検出素子からの出力との各出力の和を演算する加算増幅器と、前記加算増幅器からの出力に対してゲインを掛ける第2のゲイン調節器とを備え、前記第2のゲイン調節器からの出力を、所定の一定値とするための補正パラメータを演算し、該補正パラメータに基づき、前記第1及び第2のゲイン調節器の前記ゲインを調整する補正パラメータ演算部とを備えて位置検出回路を構成するものである。
この請求項に係る発明に対応する実施例には、実施例2及び4が対応する。このように構成した位置検出回路では、一方の磁界変化検出素子からの出力と他方の磁界変化検出素子からの出力との出力差が演算され、この出力差に対して補正パラメータに応じたゲインが掛けられ、磁界発生手段と磁界変化検出素子との相対的な位置関係が演算され出力される。
請求項に係る発明は、請求項1または請求項2に係る位置検出回路において、前記一方及び他方の磁界変化検出素子からの各出力をそれぞれデジタル信号に変換するA/D変換器を更に備え、前記位置演算部及び補正パラメータ演算部は各々、前記A/D変換器からの出力に対して演算を実行することを特徴とするものである。
この請求項に係る発明に対応する実施例には、実施例3及び4が対応する。このように構成した位置検出回路では、一方及び他方の磁界変化検出素子からの各出力はそれぞれデジタル信号に変換され、これらデジタル信号に対して位置演算部及び補正パラメータ演算部による演算が実行される。
請求項に係る発明は、対物レンズを保持するレンズ鏡筒と、前記レンズ鏡筒を移動可能に支持する支持腕と、前記支持腕に対する前記レンズ鏡筒の位置を調節する調節部と、前記レンズ鏡筒又は前記支持腕の一方に取り付けられ、磁界を発生する磁界発生手段と、前記磁界発生手段に対向する、前記レンズ鏡筒又は前記支持腕のいずれか他方の側面に配置された請求項1〜のいずれか1項に係る位置検出回路とを備えて顕微鏡を構成するものである。
この請求項に係る発明の実施例には、実施例5が対応する。このように構成された顕微鏡においては、レンズ鏡筒と支持腕との相対的な位置が演算され出力される。
請求項に係る発明は、撮像装置のぶれ補正装置であって、撮影レンズ又は前記撮影レンズを介して入射される被写体像を電気信号に変換する撮像素子のいずれか一方を前記撮像装置の筐体に対して移動可能に保持する可動保持部と、前記可動保持部又は前記筐体に対して固定された部材のいずれか一方に取り付けられ、磁界を発生する磁界発生手段と、前記磁界発生手段に対向する、前記可動保持部又は前記筐体に対して固定された部材のいずれか他方の側面に配置された請求項1〜のいずれか1項に係る位置検出回路と、前記筐体のぶれ量を計測するぶれ量計測手段と、前記位置演算部からの出力に基づき、前記ぶれ量を相殺するように前記可動保持部を移動させる移動制御手段とを有して撮像装置のぶれ補正装置を構成するものである。
この請求項に係る発明の実施例には、実施例6が対応する。なお、可動保持部は可動基板、磁界発生手段は永久磁石、ぶれ量計測手段はジャイロセンサ、移動量制御手段は移動制御部にそれぞれ対応する。
このように構成された撮像装置のぶれ補正装置においては、位置演算部からの出力に基づき、筐体のぶれ量を相殺するように可動保持部が移動させられる。
請求項1から請求項に係る発明によれば、容易に個体ばらつきと磁界変化検出素子の温度特性による位置検出誤差の影響を抑制でき、位置検出精度が向上する。更に、個々の磁界変化検出素子について補正を行う必要がないので補正作業に要する手間と時間が削減できる。また、請求項に係る発明によれば、容易に個体ばらつきと磁界変化検出素子の温度特性による位置検出誤差の影響を抑制でき、容易に高い精度でレンズ鏡筒の位置検出を行うことができる。また、請求項に係る発明によれば、容易に個体ばらつきと磁界変化検出素子の温度特性による位置検出誤差の影響を抑制し、高い精度で撮像素子の位置を検出できるので、容易に高い精度でぶれ補正を行うことができる。
次に、この発明を実施するための最良の形態について説明する。
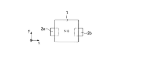
まず、本発明に係る位置検出回路の実施例1について説明する。図1は、実施例1に係る位置検出回路の構成を示すブロック図であり、図2及び図3は、位置検出に用いる構成要素の物理的な配置の斜視図及び上面図である。次に、各図に示された構成について説明する。この実施例では、磁界変化検出素子にはホール素子2a,2bを、ゲイン調節器にはVCA3a,3bを用い、磁力発生体には方形状の永久磁石7を用いるものとする。図1に示すように、この実施例に係る位置検出回路は、ホール素子2a,2bと、ホール素子信号処理回路1を備えている。更に、ホール素子信号処理回路1はVCA3a,3bと、減算増幅器4と、加算増幅器5と、設定回路6とを備えており、設定回路6は、積分回路6aと基準電圧6bにより構成されている。
ここで、ホール素子2a,2bは、図2及び図3に示すように、x軸方向に離散して配置された1つのホール素子対とする。永久磁石7は、一対のホール素子2a,2bの中心を通る軸上に永久磁石7の中心が位置するように、一対のホール素子2a,2bと対向して取り付けられている。ここで、永久磁石7の中心とは、永久磁石7の一対のホール素子2a,2bと対向する面における二つの対角線が交わる点である。また、永久磁石7はz軸方向の上面側がN極、z軸方向の下面側がS極に磁化されている。なお、N極とS極の配置は回路設計の変更により、N極側をz軸方向の下面側、S極側をz軸方向の上面側とすることも可能である。この永久磁石7の移動による磁界の変化によって、一対のホール素子2a,2bの出力信号Vha,Vhbが変化する。
VCA3a,3bは、一対のホール素子2a,2bの出力信号Vha,VhbをVCA3a,3bのゲイン倍に増幅し、出力信号Voa,Vobを出力する。減算増幅器4は、VCA3a,3bの各出力信号Voa,Vobの差を減算増幅器4のゲイン倍に増幅し、位置信号ΔVとして出力する。加算増幅器5は、VCA3a,3bの各出力信号Voa,Vobの和を加算増幅器5のゲイン倍に増幅して出力する。積分回路6aには、加算増幅器5の出力信号、及び所定の値に設定された一定の基準電圧6bが入力されており、積分回路6aは基準電圧6bを基に加算増幅器5の出力信号を積分し、積分結果をVCA3a,3bにフィードバックさせている。
次に、このように構成された実施例1に係る位置検出回路の動作について説明する。一対のホール素子2a,2bの出力信号Vha,Vhbは、それぞれVCA3a,3bに入力される。VCA3a,3bでは、一対のホール素子2a,2bの出力信号Vha,VhbにVCA3a,3bのゲインαを掛けた出力信号Voa=α・Vha,Vob=α・Vhbを、減算増幅器4及び加算増幅器5に出力する。減算増幅器4では、VCA3a,3bの各出力信号Voa,Vobの差を減算増幅器4のゲインβ倍に増幅し、ΔV=β(Voa−Vob)=β・α(Vha−Vhb)を位置信号として出力する。また、加算増幅器5では、VCA3a,3bの各出力信号Voa,Vobの和を加算増幅器5のゲインγ倍に増幅して、γ(Voa+Vob)=γ・α(Vha+Vhb)を積分回路6aに出力する。積分回路6aには、加算増幅器5の出力信号γ(Voa+Vob),及び一定の基準電圧6bが入力されており、積分回路6aは基準電圧6bを基に加算増幅器5の出力信号を積分し、積分信号をVCA3a,3bにフィードバックさせてVCA3a,3bのゲインαを調節する。
より詳細には、VCA3a,3bのゲインの調節は、基準電圧6bと加算増幅器5の出力信号を比較し、基準電圧6bの方が大きい場合には、VCA3a,3bのゲインαを大きくする方向にフィードバック制御し、逆に基準電圧6bよりも加算増幅器5の出力信号の方が大きい場合には、VCA3a,3bのゲインαを小さくする方向にフィードバック制御する。
このように、VCA3a,3bのゲインαを積分回路6aの出力信号によって、加算増幅器5の出力信号(Voa,Vobの和)が一定となるようにフィードバック制御することにより、減算増幅器4の出力信号ΔVを標準化するように調整を行うことができ、一対のホール素子2a,2bの出力信号を線形性のよい位置信号として出力できる。
次に、このように加算増幅器5の出力信号が一定となるようにフィードバック制御し、減算増幅器4の出力信号を位置信号として出力することにより、磁石の個体ばらつきによる位置検出誤差の影響を容易に抑制できることを説明する。使用する磁石をnとして、当該磁石が所定の位置Xにある場合のVCA3a,3bの出力信号Voa,Vobは、次式(1),(2)のように表すことができる。
Voa(n) =α(n) ×Vha(n) =α(n) ×η(n) ×Va0 ・・・・・・・(1)
Vob(n) =α(n) ×Vhb(n) =α(n) ×η(n) ×Vb0 ・・・・・・・(2)
ここで、α(n)はVCA3a,3bのゲイン、Vha(n) ,Vhb(n) は一対のホール素子2a,2bの出力信号、η(n) は標準磁石に対する使用磁石の残留磁束密度係数(残留磁束密度の比)、Va0,Vb0は標準磁石が所定の位置にあるときの一対のホール素子2a,2bの出力信号を示す。なお、ホール素子の出力は位置Xによっても変化する関数であるが、ここでは磁石の個体ばらつきの影響についてのみ着目するために省略した。
このとき、加算増幅器5 の出力信号を一定とするように制御しているため、ηの特性が異なる磁石iと、磁石jを使用した際の加算増幅器5の出力信号の関係は次式(3)のようになる。
Voa(i) +Vob(i) =Voa(j) +Vob(j) ・・・・・・・・・(3)
(3)式に(1)式、(2)式を代入し、整理すると次のようになる。
α(i) =η(j) /η(i) ×α(j) ・・・・・・・・・・・・・(4)
また、磁石iと磁石jを用いた場合の減算増幅器4の出力信号(位置信号)ΔV(i) ,ΔV(j) は次式(5),(6)のようになる。
ΔV(i) =β{Voa(i) −Vob(i) }
=β×α(i) ×η(i) ×(Va0+Vb0) ・・・・・・・・・(5)
ΔV(j) =β{Voa(j) −Vob(j) }
=β×α(j) ×η(j) ×(Va0−Vb0) ・・・・・・・・・(6)
ここで、(5)式に(4)式を代入し、整理すると次式(7)のようになる。
ΔV(i) =η(j) /η(i) ×α(j) ×β×η(i) ×(Va0−Vb0)
=β×α(j) ×η(j) ×(Va0−Vb0)=ΔV(j) ・・・・(7)
以上のことから、本実施例によれば、加算増幅器5の出力信号を一定とするようにVCA3a,3bのゲインを制御することで、磁石iを用いた際の位置信号ΔV(i) と、磁石jを用いた際の位置信号ΔV(j) は等しくなり、容易に磁石の個体ばらつきによる位置検出誤差を抑制することが可能となる。更に、Voa(n) ,Vob(n) を温度の関数Voa(t) ,Vob(t) として扱い、上記と同様にして式を展開すると、磁石とホール素子の温度特性についても補正できることがわかる。
したがって、磁石の個体毎のばらつきやホール素子の温度による誤差を補正するためのパラメータを求める作業や、個々の装置に応じて補正する作業を行うことなく、容易に補正処理を行うことができ、高い精度で位置検出を行うことができる。
次に、本発明の実施例2について説明する。図4は、本実施例に係る位置検出回路の構成を示すブロック図である。図4に示す実施例2で用いている一対のホール素子とホール素子信号処理回路を構成している各要素は、図1に示した実施例1と同一であるため同一の符号を付し、その説明を省略する。以下では、図1に示した実施例1との相違点を中心として、図4に示すように構成された実施例2に係る位置検出回路の動作について説明する。図1に示した実施例1との相違点は、ホール素子信号処理回路8において減算増幅器4とVCA3aの配置を、また加算増幅器5とVCA3bの配置をそれぞれ入れ替えた点である。すなわち、一対のホール素子2a,2bの出力信号Vha,Vhbは、それぞれ減算増幅器4及び加算増幅器5に入力され、減算増幅器4の出力信号にVCA3aのゲインαが掛けられた出力信号ΔV=α・β(Vha−Vhb)を位置信号として出力する。また、加算増幅器5の出力信号はVCA3bのゲインαが掛けられて積分回路6aに出力される。
積分回路6aには、所定の値に設定された基準電圧6bが入力されており、基準電圧6bとVCA3bの出力信号を比較し、積分回路6aは基準電圧6bを基にVCA3bの出力信号を積分して、基準電圧6bの方が大きい場合にはVCA3a,3bのゲインαを大きくする方向にフィードバック制御し、逆に基準電圧6bよりもVCA3bの出力信号の方が大きい場合には、VCA3a,3bのゲインαを小さくする方向にフィードバック制御する。
このように、VCA3a,3bのゲインαを積分回路6aの出力信号によって、VCA3bの出力信号(Vha,Vhbの和にゲインを掛けたもの)が一定となるようにフィードバック制御することにより、VCA3aの出力信号ΔVを標準化するように調整を行うことができるので、前述した実施例1と同様に磁石の個体毎のばらつきやホール素子の温度による誤差を補正するためのパラメータを求める作業や、個々の装置に応じて補正する作業を行うことなく、容易に補正処理を行うことができ、高い精度で位置検出を行うことができる。更に、積分回路6aからVCA3a,3bへのフィードバック経路が小さいため、実施例1よりも位置検出回路の静定時間を短縮することが可能である。
次に、本発明の実施例3について説明する。図5は、本実施例に係る位置検出回路の構成を示すブロック図である。図5において、一対のホール素子は、図1及び図4に示した実施例1及び2と同一の構成であるので、同一の符号を付し、その説明を省略する。図5に示すように、この実施例に係る位置検出回路は一対のホール素子2a,2bと、ホール素子信号処理回路10を備え、ホール素子信号処理回路10は増幅器9a,9bと、A/D変換器11a,11bと、増幅手段12a,12bと、減算増幅手段13と、加算増幅手段14と、増幅率設定手段15とを備えている。
次に、このように構成された実施例3に係る位置検出回路の動作について説明する。一対のホール素子2a,2bの出力信号Vha,Vhbは増幅器9a,9bにそれぞれ入力される。増幅器9a,9bは、出力信号Vha,Vhbに増幅器9a,9bのゲインαを掛けた信号Voa=α・Vha,及びVob=α・VhbをA/D変換器11a,11bに出力し、A/D変換器11a,11bによってアナログ信号がデジタル信号に変換される。変換されたデジタル信号を増幅手段12a,12b,減算増幅手段13,加算増幅手段14,増幅率設定手段15によって実施例1と同様に信号処理し、位置信号ΔVを生成する。ここで、増幅手段12a,12bのゲインをβ,減算増幅手段13のゲインをξ,加算増幅手段14のゲインをγとする。つまり、図1に示したVCA3a,3bは図5における増幅手段12a,12bに、図1に示した減算増幅器4は図5における減算増幅手段13に、図1に示した加算増幅器5は図5における加算増幅手段14に、図1に示した積分回路6aと基準電圧6bは図5における増幅率設定手段15にそれぞれ対応した処理を行う。
したがって、前述した実施例1と同様に、増幅手段12a,12bのゲインを増幅率設定手段15の出力信号によって、加算増幅手段14の出力信号(Voa,Vobの和)が一定となるようにフィードバック制御することにより、減算増幅手段13の出力信号(位置信号)ΔVを標準化するように演算処理を行うことができる。これにより、実施例1及び実施例2と同様に、磁石の個体毎のばらつきやホール素子の温度による誤差を補正するためのパラメータを求める作業や、個々の装置に応じて補正する作業を行うことなく、容易に補正処理を行うことができ、高い精度で位置検出を行うことができる。更に、増幅手段12a,12b以降はデジタル信号による処理としているため、増幅手段12a及び12b以降のホール素子信号処理回路はいわゆるマイクロコンピュータにて構成することが可能となるため、実施例1及び実施例2よりも位置検出回路の規模を小さくできる。
次に、本発明の実施例4について説明する。図6は、本実施例に係る位置検出回路の構成を示すブロック図である。図6で用いている一対のホール素子、ホール素子信号処理回路を構成している各要素は、図5に示した実施例3と同一の構成であるため、同一の符号を付し、その説明を省略する。以下では図5に示した実施例3との相違点を中心として、図6に示すように構成された実施例4に係る位置検出回路の動作について説明する。図5に示した実施例3との相違点は、ホール素子信号処理回路16において減算増幅手段13と増幅手段12aの配置を、また加算増幅手段14と増幅手段12bの配置をそれぞれ入れ替えた点である。つまり、A/D変換器11a,11bで変換されたデジタル信号を増幅手段12a,12b,減算増幅手段13,加算増幅手段14,増幅率設定手段15によって実施例2と同様に信号処理し、位置信号ΔVを生成する。このとき、図4に示したVCA3a,3bは図6における増幅手段12a,12bに、図4に示した減算増幅器4は図6における減算増幅手段13に、図4に示した加算増幅器5は図6における加算増幅手段14に、図4に示した積分回路6aと基準電圧6bは図6における増幅率設定手段15にそれぞれ対応した処理を行う。
したがって、前述の図4に示した実施例2と同様に、増幅手段12a,12bのゲインβを、増幅率設定手段15の出力信号によって、増幅手段12bの出力信号(Vha,Vhbの和にゲインを掛けたもの)が一定となるようにフィードバック制御することにより、増幅手段12aの出力信号(位置信号)ΔVを標準化するように調整を行うことができる。これにより、実施例1,実施例2、及び実施例3と同様に磁石の個体毎のばらつきやホール素子の温度による誤差を補正するためのパラメータを求める作業や、個々の装置に応じて補正する作業を行うことなく、容易に補正処理を行うことができ、高い精度で位置検出を行うことができる。更に、増幅率設定手段15から増幅手段12a,12bへのフィードバック経路が小さく、演算規模が小さいため、実施例3よりも位置検出回路の制定時間を短縮することが可能である。
次に、実施例5について説明する。この実施例5においては、一次元の位置検出に本発明に係る位置検出回路を用いる場合について、具体的な利用形態として顕微鏡を例に説明する。図7は、本発明に係る位置検出回路を備えた顕微鏡を示す図である。まず、図7に基づいて、その構成について説明する。図7に示すように、この顕微鏡は、一対のホール素子2a,2bと、永久磁石7と、支持腕17と、対物レンズを保持しているレンズ鏡筒18と、ホール素子信号処理回路19aと、高さ調節部20と、ステージ21から構成されている。レンズ鏡筒18は永久磁石7を内部に備え、支持腕17は一対のホール素子2a,2bとホール素子信号処理回路19aを内部に備えている。
ここで、一対のホール素子2a,2bは、図7に示すようにy軸方向に離散して配置され、永久磁石7は、一対のホール素子2a,2bの中心を通る軸上に永久磁石7の中心が位置するように、一対のホール素子2a,2bと対向して取り付けられている。ここで、永久磁石7の中心とは、永久磁石7の一対のホール素子2a,2bと対向する面における二つの対角線が交わる点である。また、一対のホール素子2a,2bは、ホール素子信号処理回路19aに接続されて、一対のホール素子2a,2bとホール素子信号処理回路19aで位置検出回路19を構成しており、位置検出回路19としては、本発明の実施例1から実施例4で示したいずれかの構成の位置検出回路を備えている。レンズ鏡筒18は高さ調節部20を調節することによって、位置をy軸(高さ)方向に所定の範囲内で移動できる。
次に、このように構成された顕微鏡のレンズ鏡筒18の位置検出動作について説明する。高さ調節部20を調節することによってレンズ鏡筒18の高さを変化させると、永久磁石7と一対のホール素子2a,2bの位置関係が変化する。一対のホール素子2a,2bは、永久磁石7との位置関係の変化に応じた電圧をホール素子信号処理回路19aに出力する。ホール素子信号処理回路19aは、実施例1から実施例4に示したいずれか構成の位置検出回路における信号処理を行い、レンズ鏡筒18のy軸方向の位置情報を求める。
したがって、このような位置検出回路を備える顕微鏡は、前述した実施例1から実施例4に示した構成のものと同様に、磁石の個体毎のばらつきやホール素子の温度による誤差を補正するためのパラメータを求める作業や、個々の装置に応じて補正する作業を行うことなく、高い精度でレンズ鏡筒18の位置情報を求めることができる。なお、図7に示した顕微鏡では、レンズ鏡筒18の内部に永久磁石7を備え、支持腕17の内部に一対のホール素子2a,2bとホール素子信号処理回路19aを備えるように構成したものを示したが、レンズ鏡筒18の内部に一対のホール素子2a,2bとホール素子信号処理回路19aを備え、支持腕17の内部に永久磁石7を備えた構成としてもよい。
次に、実施例6について説明する。この実施例6においては、二次元の位置検出に本発明に係る位置検出回路を用いる場合について、具体的な利用形態としてデジタルスチルカメラのぶれ補正装置を例に説明する。図8,図9は、本発明に係る位置検出回路を用いたぶれ補正装置を示す側面図、及び上面図である。まず、図8及び図9に基づいて、その構成について説明する。図8,図9に示すように、このぶれ補正装置は、4個のホール素子、言い換えれば一対のホール素子2a,2bと他の一対のホール素子2c,2dの2組の一対のホール素子と、永久磁石7と、可動基板22と、固定基板23と、ホール素子信号処理回路24aと、撮像素子25と、フレキシブル基板26と、ジャイロセンサ27と、移動制御部28から構成されている。
可動基板22は、デジタルスチルカメラの筐体29に対して可動に取り付けられ、撮像素子25と永久磁石7を備えている。撮像素子25は、可動基板22の入射光Lの入射側において、入射光が撮像素子25の撮像面に結像するように取り付けられている。永久磁石7は、可動基板22において、撮像素子25が取り付けられている面の裏面に、撮像素子25から離れて取り付けられている。可動基板22は、移動制御部28を構成するモータ等の駆動手段28bの駆動によって、x軸方向及びy軸方向に平行移動が可能になっている。
一方、固定基板23は筐体29に固定され、2組の一対のホール素子(2a,2bと2c,2d)と、ホール素子信号処理回路24aと、ジャイロセンサ27を備えている。2組の一対のホール素子は、一方の一対のホール素子2a,2bがx軸方向に離散して配置され、他方の一対のホール素子2c,2dがy軸方向に離散して配置されている。更に、2組の一対のホール素子は、一方の一対のホール素子2a,2bの距離の中点と、他方の一対のホール素子2c,2dの距離の中点で互いに直交し、永久磁石7と対向する位置に取り付けられている。ここで、永久磁石7の中心とは、永久磁石7の2組の一対のホール素子と対向する面において二つの対角線が交わる点である。
一方の一対のホール素子2a,2bは、可動基板22のx軸方向の位置情報を求め、他方の一対のホール素子2c,2dは、可動基板22のy軸方向の位置情報を求めている。ホール素子信号処理回路24aは、2組の一対のホール素子が取り付けられている面の裏面に、2組の一対のホール素子の近傍に取り付けられており、固定基板23内で結線されて、位置検出回路24を構成している。またホール素子信号処理回路24aとしては、2組の一対のホール素子の信号処理を行うために、実施例1から実施例4で示したいずれかの構成の位置検出回路のホール素子信号処理回路を2組(x軸方向分、y軸方向分)備えている。ジャイロセンサ27は、ホール素子信号処理回路24aと同一面に取り付けられ、ジャイロセンサ27とホール素子信号処理回路24aの出力は、移動制御部28を構成するマイクロコンピュータ28aに接続されている。可動基板22と固定基板23は、フレキシブル基板26によって接続され、撮像素子25の出力信号を処理する回路(不図示)と信号の送受信が可能になっている。
次に、この様に構成されたぶれ補正装置の動作について説明する。ぶれ補正装置を内蔵したカメラ本体に振動が発生する(ぶれる)と、ぶれ補正装置も振動し、ジャイロセンサ27がx軸周り、y軸周りの角速度を検知して、角速度信号をマイクロコンピュータ28aに出力する。このとき、位置検出回路24は、可動基板22(撮像素子25)のx軸、y軸の位置情報を求め、マイクロコンピュータ28aに出力している。
マイクロコンピュータ28aは、ジャイロセンサ27の角速度信号から、撮像素子25上のぶれによる像の移動量(ぶれ量)、移動速度(ぶれ速度)を算出する。そして、算出したぶれ量と可動基板22(撮像素子25)の現在の位置情報を用いて、発生したぶれ量を抑制する方向に対して、ぶれ速度に追従する速さで可動基板22(撮像素子25)を移動させる(補正する)ために、モータ等の駆動手段28bに印加すべき電圧を決定する。すなわち、マイクロコンピュータ28aは、位置検出回路24から入力される可動基板22(撮像素子25)の現在の位置情報と、発生したぶれを抑制するために可動基板22(撮像素子25)を補正すべき位置とを比較し、補正すべき位置に可動基板24(撮像素子25)が移動するようにフィードバック制御を行う。
例えば、ぶれ補正を行い、撮像素子25の位置を位置検出回路24により検出した結果、撮像素子25の位置が補正すべき位置に対して行き過ぎているときには、位置検出回路24の出力信号を基に撮像素子25の移動量を補正すべき位置に戻す方向に調節し、補正すべき位置に撮像素子25を移動させる。また同様にして、撮像素子25の位置を位置検出回路24により検出した結果、撮像素子25の移動が補正すべき位置に対して少なすぎたときには、位置検出回路24の出力信号を基に撮像素子25の移動量を補正すべき位置に近づく方向に調節し、補正すべき位置に撮像素子25を移動させる。
したがって、このような構成のぶれ補正装置は、前述した実施例1から実施例4に示したものと同様に、磁石の個体毎のばらつきやホール素子の温度による誤差を補正するためのパラメータを求める作業や、個々の装置に応じて補正する作業を行うことなく高い精度で可動基板(撮像素子)の位置を検出でき、高い精度で容易にぶれ補正を行うことができる。なお、本実施例では、可動基板22と共に撮像素子25を移動させてぶれ補正を行う形態について説明したが、撮像素子25を固定とし、補正レンズを移動させてぶれ補正を行う形態としてもよい。
また、本実施例では、静止画を撮像するデジタルスチルカメラを例として説明したが、動画を撮像する撮像機器(ビデオカメラやデジタルビデオカメラ)に用いても同様の効果が得られる。また、本実施例では、2組の一対のホール素子を固定基板23に、永久磁石7を可動基板22に配置して構成したものについて説明したが、2組の一対のホール素子と永久磁石7を入れ替えて配置してもよい。すなわち、2組の一対のホール素子を可動基板22に、永久磁石7を固定基板23に配置する構成としても同様の効果が得られる。
また、上記各実施例では、磁気センサとしてホール素子を用いて構成した位置検出回路について説明したが、本発明に用いられる磁気センサはホール素子に限られない。具体的には、MIセンサ、磁気共鳴型磁界検出素子やMR素子などの磁界の変化を検出することにより可動基板の位置情報を求めることができる素子を、磁気センサとして用いても同様の効果が得られる。
本発明に係る位置検出回路の実施例1の構成を示すブロック図である。 図1に示した実施例1における位置検出に用いる構成要素の配置態様の斜視図である。 図2に示した構成要素の配置態様の上面図である。 実施例2に係る位置検出回路の構成を示すブロック図である。 実施例3に係る位置検出回路の構成を示すブロック図である。 実施例4に係る位置検出回路の構成を示すブロック図である。 実施例5に係る位置検出回路を備えた顕微鏡の概略構成を示す図である。 実施例6に係る位置検出回路を備えたぶれ補正装置の概略構成を示す側面図である。 図8に示したぶれ補正装置の上面図である。
符号の説明
1 ホール素子信号処理回路
2a,2b ホール素子(磁界変化検出素子)
3a,3b VCA(ゲイン調節器)
4 減算増幅器
5 加算増幅器
6 設定回路
6a 積分回路
6b 基準電圧
7 永久磁石(磁力発生体)
8 ホール素子信号処理回路
9a,9b 増幅器
10 ホール素子信号処理回路
11a,11b A/D変換器
12a,12b 増幅手段
13 減算増幅手段
14 加算増幅手段
15 増幅率設定手段
16 ホール素子信号処理回路
17 支持腕
18 レンズ鏡筒
19 位置検出回路
19a ホール素子信号処理回路
20 高さ調節部
21 ステージ
22 可動基板
23 固定基板
24 位置検出回路
24a ホール素子信号処理回路
25 撮像素子
26 フレキシブル基板
27 ジャイロセンサ
28 移動制御部
28a マイクロコンピュータ
28b 駆動手段
29 筐体

Claims (5)

  1. 離散して配置され、対向して配置される磁界発生手段が生成する磁界の強さに応じた信号を出力する複数の磁界変化検出素子と、
    一方の前記磁界変化検出素子からの出力に対してゲインを掛ける第1のゲイン調節器と、他方の前記磁界変化検出素子からの出力に対してゲインを掛ける第2のゲイン調節器と、前記第1及び第2のゲイン調節器の各出力の差を演算し、前記磁界発生手段と前記磁界変化検出素子との相対的な位置関係を示す信号として出力する減算増幅器とを備える位置演算部と、
    第1及び第2のゲイン調節器の各々からの出力の和を所定の一定値とするための補正パラメータを演算し、該補正パラメータに基づき、前記第1及び第2のゲイン調節器の前記ゲインを調整する補正パラメータ演算部と、
    を備える位置検出回路。
  2. 離散して配置され、対向して配置される磁界発生手段が生成する磁界の強さに応じた信号を出力する複数の磁界変化検出素子と、
    一方の前記磁界変化検出素子からの出力と他方の前記磁界変化検出素子からの出力との各出力の差を演算する減算増幅器と、前記減算増幅器からの出力に対してゲインを掛ける第1のゲイン調節器とを備え、前記第1のゲイン調節器からの出力を、前記磁界発生手段と前記磁界変化検出素子との相対的な位置関係を示す信号として出力する位置演算部と、
    一方の前記磁界変化検出素子からの出力と他方の前記磁界変化検出素子からの出力との各出力の和を演算する加算増幅器と、前記加算増幅器からの出力に対してゲインを掛ける第2のゲイン調節器とを備え、前記第2のゲイン調節器からの出力を、所定の一定値とするための補正パラメータを演算し、該補正パラメータに基づき、前記第1及び第2のゲイン調節器の前記ゲインを調整する補正パラメータ演算部と、
    を備える位置検出回路。
  3. 前記一方及び他方の磁界変化検出素子からの各出力をそれぞれデジタル信号に変換するA/D変換器を更に備え、前記位置演算部及び補正パラメータ演算部は各々、前記A/D変換器からの出力に対して演算を実行する
    ことを特徴とする請求項1または請求項2に係る位置検出回路。
  4. 対物レンズを保持するレンズ鏡筒と、
    前記レンズ鏡筒を移動可能に支持する支持腕と、
    前記支持腕に対する前記レンズ鏡筒の位置を調節する調節部と、
    前記レンズ鏡筒又は前記支持腕の一方に取り付けられ、磁界を発生する磁界発生手段と、
    前記磁界発生手段に対向する、前記レンズ鏡筒又は前記支持腕のいずれか他方の側面に配置された請求項1〜のいずれか1項に係る位置検出回路と
    を備えた顕微鏡。
  5. 撮像装置のぶれ補正装置であって、
    撮影レンズ又は前記撮影レンズを介して入射される被写体像を電気信号に変換する撮像素子のいずれか一方を前記撮像装置の筐体に対して移動可能に保持する可動保持部と、
    前記可動保持部又は前記筐体に対して固定された部材のいずれか一方に取り付けられ、磁界を発生する磁界発生手段と、
    前記磁界発生手段に対向する、前記可動保持部又は前記筐体に対して固定された部材のいずれか他方の側面に配置された請求項1〜のいずれか1項に係る位置検出回路と、
    前記筐体のぶれ量を計測するぶれ量計測手段と、
    前記位置演算部からの出力に基づき、前記ぶれ量を相殺するように前記可動保持部を移動させる移動制御手段と
    を有する撮像装置のぶれ補正装置。
JP2007013269A 2007-01-24 2007-01-24 位置検出回路及びその応用装置 Expired - Fee Related JP5089999B2 (ja)

Priority Applications (2)

Application Number Priority Date Filing Date Title
JP2007013269A JP5089999B2 (ja) 2007-01-24 2007-01-24 位置検出回路及びその応用装置
US12/018,961 US7599810B2 (en) 2007-01-24 2008-01-24 Position detecting circuit and apparatus using the same

Applications Claiming Priority (1)

Application Number Priority Date Filing Date Title
JP2007013269A JP5089999B2 (ja) 2007-01-24 2007-01-24 位置検出回路及びその応用装置

Publications (2)

Publication Number Publication Date
JP2008180560A JP2008180560A (ja) 2008-08-07
JP5089999B2 true JP5089999B2 (ja) 2012-12-05

Family

ID=39642101

Family Applications (1)

Application Number Title Priority Date Filing Date
JP2007013269A Expired - Fee Related JP5089999B2 (ja) 2007-01-24 2007-01-24 位置検出回路及びその応用装置

Country Status (2)

Country Link
US (1) US7599810B2 (ja)
JP (1) JP5089999B2 (ja)

Families Citing this family (32)

* Cited by examiner, † Cited by third party
Publication number Priority date Publication date Assignee Title
US7998062B2 (en) * 2004-03-29 2011-08-16 Superdimension, Ltd. Endoscope structures and techniques for navigating to a target in branched structure
EP2316328B1 (en) 2003-09-15 2012-05-09 Super Dimension Ltd. Wrap-around holding device for use with bronchoscopes
EP2113189B1 (en) 2003-09-15 2013-09-04 Covidien LP System of accessories for use with bronchoscopes
US8764725B2 (en) 2004-02-09 2014-07-01 Covidien Lp Directional anchoring mechanism, method and applications thereof
JP4941108B2 (ja) * 2007-05-31 2012-05-30 コニカミノルタオプト株式会社 位置検出装置および位置決め装置
US8905920B2 (en) 2007-09-27 2014-12-09 Covidien Lp Bronchoscope adapter and method
WO2009122273A2 (en) 2008-04-03 2009-10-08 Superdimension, Ltd. Magnetic interference detection system and method
WO2009147671A1 (en) 2008-06-03 2009-12-10 Superdimension Ltd. Feature-based registration method
US8218847B2 (en) 2008-06-06 2012-07-10 Superdimension, Ltd. Hybrid registration method
US8932207B2 (en) 2008-07-10 2015-01-13 Covidien Lp Integrated multi-functional endoscopic tool
JP4855454B2 (ja) * 2008-10-14 2012-01-18 旭化成エレクトロニクス株式会社 位置検出装置及びその位置検出装置を用いた電子機器
JP5124879B2 (ja) * 2008-10-31 2013-01-23 旭化成エレクトロニクス株式会社 位置検出装置、および、その位置検出装置を用いた電子機器
US8611984B2 (en) 2009-04-08 2013-12-17 Covidien Lp Locatable catheter
CN101930150B (zh) * 2009-06-18 2012-01-04 三洋电机株式会社 聚焦控制电路
WO2011159834A1 (en) 2010-06-15 2011-12-22 Superdimension, Ltd. Locatable expandable working channel and method
US10952593B2 (en) 2014-06-10 2021-03-23 Covidien Lp Bronchoscope adapter
JP6368185B2 (ja) * 2014-07-31 2018-08-01 旭化成エレクトロニクス株式会社 線形運動デバイスの位置センサ及びその位置センサを用いた線形運動デバイスの位置制御装置
US10426555B2 (en) 2015-06-03 2019-10-01 Covidien Lp Medical instrument with sensor for use in a system and method for electromagnetic navigation
US10478254B2 (en) 2016-05-16 2019-11-19 Covidien Lp System and method to access lung tissue
US10792106B2 (en) 2016-10-28 2020-10-06 Covidien Lp System for calibrating an electromagnetic navigation system
US10517505B2 (en) 2016-10-28 2019-12-31 Covidien Lp Systems, methods, and computer-readable media for optimizing an electromagnetic navigation system
US10418705B2 (en) 2016-10-28 2019-09-17 Covidien Lp Electromagnetic navigation antenna assembly and electromagnetic navigation system including the same
US10638952B2 (en) 2016-10-28 2020-05-05 Covidien Lp Methods, systems, and computer-readable media for calibrating an electromagnetic navigation system
US10446931B2 (en) 2016-10-28 2019-10-15 Covidien Lp Electromagnetic navigation antenna assembly and electromagnetic navigation system including the same
US10615500B2 (en) 2016-10-28 2020-04-07 Covidien Lp System and method for designing electromagnetic navigation antenna assemblies
US10722311B2 (en) 2016-10-28 2020-07-28 Covidien Lp System and method for identifying a location and/or an orientation of an electromagnetic sensor based on a map
US10751126B2 (en) 2016-10-28 2020-08-25 Covidien Lp System and method for generating a map for electromagnetic navigation
US11219489B2 (en) 2017-10-31 2022-01-11 Covidien Lp Devices and systems for providing sensors in parallel with medical tools
KR102278971B1 (ko) 2018-11-14 2021-07-20 아사히 가세이 일렉트로닉스 가부시끼가이샤 카메라 모듈
CN110006324B (zh) * 2019-05-14 2023-12-15 桂林电子科技大学 环模模孔参数的检测方法和装置
KR102894850B1 (ko) * 2019-12-27 2025-12-03 삼성전기주식회사 조리개 모듈의 위치 검출 장치
CN112325755A (zh) * 2020-11-03 2021-02-05 上海艾为电子技术股份有限公司 一种位置传感系统、获取位置传感信号的方法及电子设备

Family Cites Families (16)

* Cited by examiner, † Cited by third party
Publication number Priority date Publication date Assignee Title
JPS61169910A (ja) * 1985-01-24 1986-07-31 Nec Corp 位置ずれ検出方法
JP2570654B2 (ja) * 1987-12-08 1997-01-08 日本精工株式会社 変位検出装置
JPH07181557A (ja) * 1993-12-24 1995-07-21 Canon Electron Inc 駆動制御装置
JPH095018A (ja) * 1995-06-26 1997-01-10 Olympus Optical Co Ltd 移動量測長装置
JP3900609B2 (ja) * 1997-08-29 2007-04-04 株式会社ニコン 断面形状測定装置
JPH11230702A (ja) * 1998-02-10 1999-08-27 Tadano Ltd センス信号出力回路
JP4378814B2 (ja) * 1999-07-16 2009-12-09 株式会社日本自動車部品総合研究所 回転角検出装置
JP2002054903A (ja) * 2000-08-10 2002-02-20 Nippon Densan Corp 変位検出装置
JP2002139349A (ja) * 2000-11-06 2002-05-17 Sony Corp 位置検出装置および方法、サーボ装置およびサーボ方法並びにモータ
JP4340467B2 (ja) * 2003-04-22 2009-10-07 旭化成エレクトロニクス株式会社 回転角度センサ
JP4049125B2 (ja) * 2004-05-20 2008-02-20 コニカミノルタオプト株式会社 位置検出装置、手振れ補正機構、および撮像装置
JP2005331401A (ja) * 2004-05-20 2005-12-02 Konica Minolta Photo Imaging Inc 位置検出装置、手振れ補正機構及び撮像装置
JP2006113874A (ja) * 2004-10-15 2006-04-27 Konica Minolta Opto Inc 位置決め装置
JP4574406B2 (ja) * 2005-03-18 2010-11-04 株式会社小松製作所 油圧作業機械における油圧シリンダのストローク位置計測装置
JP2007155537A (ja) * 2005-12-06 2007-06-21 Sakae Tsushin Kogyo Kk 無接触型直線変位検出装置
KR101057951B1 (ko) * 2006-04-27 2011-08-18 아사히 가세이 일렉트로닉스 가부시끼가이샤 위치 검출 장치 및 위치 검출 방법

Also Published As

Publication number Publication date
JP2008180560A (ja) 2008-08-07
US20080177500A1 (en) 2008-07-24
US7599810B2 (en) 2009-10-06

Similar Documents

Publication Publication Date Title
JP5089999B2 (ja) 位置検出回路及びその応用装置
KR101240906B1 (ko) 촬상 장치의 제어 회로
KR102196231B1 (ko) 손떨림 보정 장치 및 그 조정 방법, 손떨림 보정 회로 및 손떨림 보정 방법과, 카메라 모듈 및 그 광학 요소의 위치 제어 방법
US7248037B2 (en) Position sensing device for determining a relative position of a magnet with respect to a magnetic field sensing element pair
JP6869049B2 (ja) アクチュエータドライバ、撮像装置、キャリブレーション方法
US8482621B2 (en) Image stabilization control circuit for imaging apparatus
JP2013205550A (ja) 位置検出装置及び位置制御装置
JP2005331399A (ja) 位置検出装置、手振れ補正機構、および撮像装置
JP6535524B2 (ja) 撮像装置
KR20100056388A (ko) 진동 보상 제어 회로 및 촬상 장치
US11683588B2 (en) Methods and apparatus for optical image stabilization
US20050265705A1 (en) Anti-shake apparatus
KR101862505B1 (ko) 광학식 이미지 안정화 모듈 및 이를 포함하는 카메라 모듈
JP4530691B2 (ja) 像ブレ補正装置
JP2021177245A (ja) 撮像装置およびアクチュエータドライバ
JP4679170B2 (ja) 像ブレ補正装置
JP4598465B2 (ja) 撮像素子支持機構
US7405750B2 (en) Position-detecting apparatus
JP6917799B2 (ja) 撮像装置
KR101329741B1 (ko) 손떨림 보정 제어 방법 및 손떨림 보정 제어 장치
JP2010204575A (ja) 振れ補正装置及び撮像装置
JP5521624B2 (ja) ブレ補正機能付き撮像装置
JP2011066486A (ja) 位置検出回路及びぶれ補正装置
JP2008180561A (ja) 位置検出回路及び撮像装置
JP4714474B2 (ja) 可動体の位置検出装置及び像ブレ補正装置

Legal Events

Date Code Title Description
A621 Written request for application examination

Free format text: JAPANESE INTERMEDIATE CODE: A621

Effective date: 20100122

A977 Report on retrieval

Free format text: JAPANESE INTERMEDIATE CODE: A971007

Effective date: 20110713

A131 Notification of reasons for refusal

Free format text: JAPANESE INTERMEDIATE CODE: A131

Effective date: 20110719

A521 Request for written amendment filed

Free format text: JAPANESE INTERMEDIATE CODE: A523

Effective date: 20110905

TRDD Decision of grant or rejection written
A01 Written decision to grant a patent or to grant a registration (utility model)

Free format text: JAPANESE INTERMEDIATE CODE: A01

Effective date: 20120821

A01 Written decision to grant a patent or to grant a registration (utility model)

Free format text: JAPANESE INTERMEDIATE CODE: A01

A61 First payment of annual fees (during grant procedure)

Free format text: JAPANESE INTERMEDIATE CODE: A61

Effective date: 20120912

FPAY Renewal fee payment (event date is renewal date of database)

Free format text: PAYMENT UNTIL: 20150921

Year of fee payment: 3

R151 Written notification of patent or utility model registration

Ref document number: 5089999

Country of ref document: JP

Free format text: JAPANESE INTERMEDIATE CODE: R151

FPAY Renewal fee payment (event date is renewal date of database)

Free format text: PAYMENT UNTIL: 20150921

Year of fee payment: 3

S531 Written request for registration of change of domicile

Free format text: JAPANESE INTERMEDIATE CODE: R313531

R350 Written notification of registration of transfer

Free format text: JAPANESE INTERMEDIATE CODE: R350

R250 Receipt of annual fees

Free format text: JAPANESE INTERMEDIATE CODE: R250

LAPS Cancellation because of no payment of annual fees