JP5048858B2 - オーバーチューブ及び処置システム - Google Patents

オーバーチューブ及び処置システム Download PDF

Info

Publication number
JP5048858B2
JP5048858B2 JP2011168307A JP2011168307A JP5048858B2 JP 5048858 B2 JP5048858 B2 JP 5048858B2 JP 2011168307 A JP2011168307 A JP 2011168307A JP 2011168307 A JP2011168307 A JP 2011168307A JP 5048858 B2 JP5048858 B2 JP 5048858B2
Authority
JP
Japan
Prior art keywords
balloon
balloons
overtube
air supply
pattern
Prior art date
Legal status (The legal status is an assumption and is not a legal conclusion. Google has not performed a legal analysis and makes no representation as to the accuracy of the status listed.)
Active
Application number
JP2011168307A
Other languages
English (en)
Other versions
JP2011240152A (ja
Inventor
紘介 甕
喜生 小貫
康人 倉
Current Assignee (The listed assignees may be inaccurate. Google has not performed a legal analysis and makes no representation or warranty as to the accuracy of the list.)
Olympus Medical Systems Corp
Original Assignee
Olympus Medical Systems Corp
Priority date (The priority date is an assumption and is not a legal conclusion. Google has not performed a legal analysis and makes no representation as to the accuracy of the date listed.)
Filing date
Publication date
Application filed by Olympus Medical Systems Corp filed Critical Olympus Medical Systems Corp
Publication of JP2011240152A publication Critical patent/JP2011240152A/ja
Application granted granted Critical
Publication of JP5048858B2 publication Critical patent/JP5048858B2/ja
Active legal-status Critical Current
Anticipated expiration legal-status Critical

Links

Images

Classifications

    • AHUMAN NECESSITIES
    • A61MEDICAL OR VETERINARY SCIENCE; HYGIENE
    • A61BDIAGNOSIS; SURGERY; IDENTIFICATION
    • A61B1/00Instruments for performing medical examinations of the interior of cavities or tubes of the body by visual or photographical inspection, e.g. endoscopes; Illuminating arrangements therefor
    • A61B1/005Flexible endoscopes
    • A61B1/01Guiding arrangements therefore
    • AHUMAN NECESSITIES
    • A61MEDICAL OR VETERINARY SCIENCE; HYGIENE
    • A61BDIAGNOSIS; SURGERY; IDENTIFICATION
    • A61B1/00Instruments for performing medical examinations of the interior of cavities or tubes of the body by visual or photographical inspection, e.g. endoscopes; Illuminating arrangements therefor
    • A61B1/00002Operational features of endoscopes
    • A61B1/00004Operational features of endoscopes characterised by electronic signal processing
    • A61B1/00006Operational features of endoscopes characterised by electronic signal processing of control signals
    • AHUMAN NECESSITIES
    • A61MEDICAL OR VETERINARY SCIENCE; HYGIENE
    • A61BDIAGNOSIS; SURGERY; IDENTIFICATION
    • A61B1/00Instruments for performing medical examinations of the interior of cavities or tubes of the body by visual or photographical inspection, e.g. endoscopes; Illuminating arrangements therefor
    • A61B1/00002Operational features of endoscopes
    • A61B1/00039Operational features of endoscopes provided with input arrangements for the user
    • A61B1/00042Operational features of endoscopes provided with input arrangements for the user for mechanical operation
    • AHUMAN NECESSITIES
    • A61MEDICAL OR VETERINARY SCIENCE; HYGIENE
    • A61BDIAGNOSIS; SURGERY; IDENTIFICATION
    • A61B1/00Instruments for performing medical examinations of the interior of cavities or tubes of the body by visual or photographical inspection, e.g. endoscopes; Illuminating arrangements therefor
    • A61B1/00064Constructional details of the endoscope body
    • A61B1/00071Insertion part of the endoscope body
    • A61B1/0008Insertion part of the endoscope body characterised by distal tip features
    • A61B1/00082Balloons
    • AHUMAN NECESSITIES
    • A61MEDICAL OR VETERINARY SCIENCE; HYGIENE
    • A61BDIAGNOSIS; SURGERY; IDENTIFICATION
    • A61B1/00Instruments for performing medical examinations of the interior of cavities or tubes of the body by visual or photographical inspection, e.g. endoscopes; Illuminating arrangements therefor
    • A61B1/00147Holding or positioning arrangements
    • A61B1/00154Holding or positioning arrangements using guiding arrangements for insertion
    • AHUMAN NECESSITIES
    • A61MEDICAL OR VETERINARY SCIENCE; HYGIENE
    • A61BDIAGNOSIS; SURGERY; IDENTIFICATION
    • A61B1/00Instruments for performing medical examinations of the interior of cavities or tubes of the body by visual or photographical inspection, e.g. endoscopes; Illuminating arrangements therefor
    • A61B1/273Instruments for performing medical examinations of the interior of cavities or tubes of the body by visual or photographical inspection, e.g. endoscopes; Illuminating arrangements therefor for the upper alimentary canal, e.g. oesophagoscopes, gastroscopes
    • A61B1/2736Gastroscopes
    • AHUMAN NECESSITIES
    • A61MEDICAL OR VETERINARY SCIENCE; HYGIENE
    • A61BDIAGNOSIS; SURGERY; IDENTIFICATION
    • A61B1/00Instruments for performing medical examinations of the interior of cavities or tubes of the body by visual or photographical inspection, e.g. endoscopes; Illuminating arrangements therefor
    • A61B1/00002Operational features of endoscopes
    • A61B1/00043Operational features of endoscopes provided with output arrangements

Landscapes

  • Health & Medical Sciences (AREA)
  • Life Sciences & Earth Sciences (AREA)
  • Surgery (AREA)
  • Engineering & Computer Science (AREA)
  • Heart & Thoracic Surgery (AREA)
  • Medical Informatics (AREA)
  • Nuclear Medicine, Radiotherapy & Molecular Imaging (AREA)
  • Optics & Photonics (AREA)
  • Pathology (AREA)
  • Radiology & Medical Imaging (AREA)
  • Physics & Mathematics (AREA)
  • Biomedical Technology (AREA)
  • Veterinary Medicine (AREA)
  • Biophysics (AREA)
  • Molecular Biology (AREA)
  • Animal Behavior & Ethology (AREA)
  • General Health & Medical Sciences (AREA)
  • Public Health (AREA)
  • Mechanical Engineering (AREA)
  • Signal Processing (AREA)
  • Gastroenterology & Hepatology (AREA)
  • Endoscopes (AREA)
  • Surgical Instruments (AREA)
  • Media Introduction/Drainage Providing Device (AREA)

Description

本発明は、複数個のバルーンを具備したオーバーチューブと、当該オーバーチューブを用いて、胆道、膵管、十二指腸などの被検体内の複雑な管腔内の病変部を処置する処置システムに関する。
胆・膵疾患、例えば胆道癌や膵臓癌、胆石症、総胆管結石など、に対する内視鏡的検査や治療は急速に発展しつつある。これらは従来の外科的治療と比べて、低侵襲であり、患者の負担も少ない。そして、これらの検査法及び治療法の中には、内視鏡的逆行性胆膵造影法(endoscopic retrograde cholangiopancreatography: ERCP)や内視鏡的十二指腸乳頭括約筋切開術(Endoscopic sphincterotomy)が含まれる。これらの内視鏡的検査及び治療は、胃切除後症例への適用も進みつつある。
かかる状況下において、被検体の体内に内視鏡の挿入部を挿入する際、オーバーチューブが併用される。このオーバーチューブの例として、特許文献1に記載の内視鏡用挿入補助具が知られている。この補助具は、内視鏡の挿入部を被検体の体腔に挿入するときに、その挿入部を挿通させてガイドとして用いる筒状体である。この筒状体の先端側の所定位置には、内視鏡を通過させるための開口が内外を貫通するように穿設され、さらに、その開口よりも先端側の側面の所定位置には、流体を給排することで膨張・収縮可能なバルーンが設けられている。このため、体腔内の所望位置において、このバルーンを膨張させると、オーバーチューブの先端の位置を体腔壁に対して固定することができる。
しかしながら、この例は、バルーンが1個であるため、必ずしも確実な位置固定ができるとは限らない。例えば十二指腸の内径とバルーンの膨張径とが合わなかったり、臓器への固定点が1箇所になるため、蠕動運動などに対する耐性も弱かったりして、確実な固定ができずに、オーバーチューブが抜ける可能性がある。一方、位置の固定を強固にしようとしてバルーンの膨張度を上げると、その分、患者に負担が掛かる。このため、内視鏡用オーバーチューブの使用に際しても、より有効な位置固定機能を得ることが望まれていた。また、Roux-en-Y再建法が施された患者(被検体)に膵胆処置を行なう場合に有効な位置固定の方法は、未解決の課題であった。
一方、カテーテルをガイドしたり、その位置を体内で固定したりするのに、バルーンを装備したカテーテルやチューブなどの器具も知られている。
例えば、特許文献2には、チューブ本体に適当な間隔で例えば3個の膨張可能なバルーンを形成し、使用時には、各バルーンに出血の胃への進入防止、止血、血流の逆流防止などの役割を持たせることが開示されている。また、特許文献3には、胃バルーンと食道バルーンを用いた吸引管の例が開示されており、胃バルーンは膨張時には2つの球を連ねた形状を成して、胃の噴門を囲む胃壁に当接する。このときの接触面積は球体状バルーンよりも小さく、これにより、吸引管の引っ張り具合に好適であるとしている。
さらに、特許文献4には、可撓性を有するチューブの先端に2つの膨張・収縮可能なバルーンを取り付けた内視鏡用バルーン装置を開示している。この2つのバルーンのうち、胃の出入り口において、胃の内側に位置させるバルーンが胃の外に位置するバルーンよりも大きく膨張される。これにより、胃の内部を効果的に大きく膨張させ、胃の出入り口で栓の機能を果たすようにしている。
さらに、特許文献5には、複数のバルーンを、可撓性を有する連結部で縦列に連結したバルーンカテーテルが開示されている。このバルーンカテーテルは脳血管などに挿入され、ステントの埋め込みなどに使用される。この複数のバルーンのうち、病変部以外のバルーンは膨張しないように膨張度を制御できる。
特開昭62−22623号公報 実開昭56−26104号公報 特開平8−299432号公報 特開2003−88495号公報 特開2003−230629号公報
しかしながら、上述した特許文献2から5に記載のバルーンカテーテルやバルーン装置で採用されているバルーンをそのままオーバーチューブに採用することはできない。つまり、被検体の体腔や管腔においてオーバーチューブの位置を固定するための構造になっていないからである。
本発明によれば、その1つの態様として、内視鏡を挿通させる挿通チャンネルを有する可撓管部と、前記可撓管部の外周面の、前記可撓管部の軸方向に異なる位置に取り付けられ、それぞれ独立して膨張・収縮可能に構成された複数のバルーンと、を備え、前記複数のバルーンは、前記被検体の十二指腸に固定される第1バルーンと、前記第1バルーンよりも基端側に設けられ、前記被検体の空腸に固定される第2バルーンと、を含み、同一量に規定された最大量の流体を供給して膨張させたときの前記複数のバルーンの膨張径及び前記バルーンの取り付け位置は、前記複数のバルーンが固定される被検体の体腔又は管腔の径及び位置にもとづいて設定されており、且つ、前記第バルーンの前記膨張径は前記第バルーンの前記膨張径未満であり、さらに、前記第1バルーンと前記第2バルーンとの間の距離は200mm以上500mm以下であり、前記複数のバルーンを選択的に膨張させることによって前記体腔又は管腔の異なる複数の所定位置に固定できることを特徴とするオーバーチューブが提供される。
本発明によれば、その1つの態様として、内視鏡を挿通させる挿通チャンネルを有する可撓管部と、前記可撓管部の外周面の、前記可撓管部の軸方向に異なる位置に取り付けられ、それぞれ独立して膨張・収縮可能に構成された複数のバルーンと、を備え、前記複数のバルーンは、前記被検体の十二指腸に固定される第1バルーンと、前記第1バルーンよりも基端側に設けられ、前記被検体の空腸に固定される第2バルーンと、を含み、前記複数のバルーンの膨張径及び取り付け位置は、前記複数のバルーンが固定される被検体の体腔又は管腔の径及び位置にもとづいて設定されており、前記複数のバルーンを選択的に膨張させることによって前記体腔又は管腔の異なる複数の所定位置に固定できることを特徴とするオーバーチューブが提供される。
また、別の態様によれば、内視鏡と、本発明のオーバーチューブと、前記オーバーチューブに取り付けられた複数のバルーンの選択的な膨張を制御する制御器とを備えた処置システムが提供される。
本発明のオーバーチューブ及び処置システムによれば、体腔内で容易に確実な固定ができる。
本発明に係る処置システムの第1の実施例の概略構成を示す斜視図である。 図1中のA−A線に沿った面から見た図である。 図1中のB−B線に沿った断面図である。 バルーンと送気チャンネルとの関係を説明する部分断面図である。 第1の実施例におけるオーバーチューブ及び内視鏡の被検体への挿入状態とバルーンによる位置固定とを説明する図である。 第1の実施例におけるオーバーチューブ及び内視鏡の被検体への挿入状態とバルーンによる位置固定とを説明する図である。 第1の実施例におけるオーバーチューブ及び内視鏡の被検体への挿入状態とバルーンによる位置固定とを説明する図である。 変形例1に係るオーバーチューブ及び内視鏡の被検体への挿入状態とバルーンによる位置固定とを説明する図である。 変形例2に係るオーバーチューブ及び内視鏡の被検体への挿入状態とバルーンによる位置固定とを説明する図である。 変形例2に係るオーバーチューブ及び内視鏡の被検体への挿入状態とバルーンによる位置固定とを説明する図である。 変形例2に係るオーバーチューブ及び内視鏡の被検体への挿入状態とバルーンによる位置固定とを説明する図である。 変形例2に係るオーバーチューブ及び内視鏡の被検体への挿入状態とバルーンによる位置固定とを説明する図である。 変形例2に係るオーバーチューブ及び内視鏡の被検体への挿入状態とバルーンによる位置固定とを説明する図である。 変形例2に係るオーバーチューブ及び内視鏡の被検体への挿入状態とバルーンによる位置固定とを説明する図である。 変形例3に係るオーバーチューブと送気装置としてのシリンジを説明する図である。 (a)は、変形例4に係るオーバーチューブを示す部分側面図、(b)は、図16(a)中のC−Cに沿った断面図である。 (a)から(d)は、それぞれ変形例4におけるオーバーチューブ及び内視鏡の被検体への挿入状態とバルーンによる位置固定とを説明する図である。 変形例5に係るオーバーチューブを示す部分側面図である。 (a)及び(b)は、それぞれ変形例5におけるオーバーチューブ及び内視鏡の被検体への挿入状態とバルーンによる位置固定とを説明する図である。 変形例6に係るオーバーチューブを示す部分側面図である。 (a)及び(b)は、それぞれ変形例6におけるオーバーチューブ及び内視鏡の被検体への挿入状態とバルーンによる位置固定とを説明する図である。 変形例7に係るオーバーチューブを示す部分側面図である。 (a)及び(b)は、それぞれ変形例7におけるオーバーチューブ及び内視鏡の被検体への挿入状態とバルーンによる位置固定とを説明する図である。 変形例8に係るマーカの付設を説明する図である。 (a)から(d)は、それぞれ変形例8におけるオーバーチューブ及び内視鏡の被検体への挿入状態とバルーンによる位置固定とを説明する図である。 (a)から(d)は、それぞれマーカの付設を位置固定パターン毎に説明する図である。 本発明に係る処置システムの第2の実施例の概略構成を示す斜視図である。 第2の実施例におけるコントロールボックス内の電気的な構成要素を示す機能ブロック図である。 コントローラのCPUで実行される送気制御の概略を説明するフローチャートである。 第2の実施例の変形例を示す処置システムの概略構成の斜視図である。
以下、図面を参照して本発明に係るオーバーチューブを用いた処置システムの各種の実施例及びその変形例を説明する。
この実施例によれば、本発明に係るオーバーチューブを用いた処置システムは、通常の患者の胃、十二指腸球部、十二指腸などの体腔や管腔の診断・処置に適用可能であるほか、Roux-en-Y再建法が施された患者のファーター乳頭部への膵胆処置にも適用可能である。
(第1の実施例)
図1〜7を参照して、第1の実施例に係る処置システム及び処置方法を説明する。
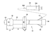
図1に、この処置システムの主要部の構成を示す。同図に示すように、この処置システム1は、バルーンを装着したオーバーチューブ11と、このオーバーチューブ11のバルーンの膨張・収縮を制御する送気装置12と、オーバーチューブ11と共に被検体の体腔や管腔(例えば、経口的に胃や十二指腸)に挿入される内視鏡13とを備える。内視鏡13は、オーバーチューブ11の挿通チャンネルに挿入部が挿通され、かつ、その挿通状態でオーバーチューブ11を先導するように被検体の体腔や管腔に挿入される。
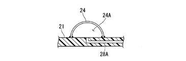
オーバーチューブ11は、ポリウレタン、熱可塑性エラストマー、フッ素系樹脂、シリコンなどの樹脂材料から成る。このオーバーチューブ11は、全体が略円筒状に形成され且つ可撓性を有する可撓管部21と、この可撓管部21の一端(先端)に一体に形成された先端部22と、可撓管部21の他端に一体に形成されたグリップ23とを備える。以下、先端部22の側を先端側と呼び、反対に、グリップ23の側を基端側と呼ぶ。
可撓管部21は、円筒状の筒体であるので、図2に示すように、その内側に内視鏡13の挿入部を挿通させる挿通チャンネルP1を形成する。また、この可撓管部21の長手方向(以下、軸方向と呼ぶ)の2箇所の互いに異なる位置であって、可撓管部21の外表面に複数のバルーン24、25がそれぞれ装着されている。本実施例では、2個のバルーン24、25が用意されている。これらのバルーン24、25は樹脂材料(シリコン、ラテックス、ポリウレタン、ナイロンなどの熱可塑性樹脂)で形成された自在に撓む薄膜状の袋体であり、可撓管部21の外表面に気密に装着されている。このため、バルーン24、25は送気及び排気により膨張及び収縮可能に形成されている。したがって、このバルーン24、25は、被検体の体腔や管腔内で膨張させて、オーバーチューブ11の位置、すなわち挿通させている内視鏡13の位置を固定させるのに使用される。
また、図2に示すように、可撓管部21には、2個のアーム状の送水口金26、27と、2個のアーム状の送気口金28、29とを備える。これらの口金26〜29は、可撓管部21の基端側外表面にその円周を4等分する位置に、それぞれ基端側に傾いて突設されている。
このうち、送水口金26、27はそのまま可撓管部21の内周面、すなわち内側の挿通チャンネルP1に開口している。このため、図示しないシリンジなどの送水源から送水口金26、27に供給された水(例えば生理食塩水)は、その内周面を濡らすことができる。
また、送気口金28、29は、可撓管部21の内部に形成された送気チャンネル28A、29A(図3参照)に繋がる。この送気チャンネル28A、29Aは、2つのバルーン24、25の内腔24A、25Aにそれぞれ連通している。この様子を、バルーン25を例にとり、図4に示す。また、送気口金28、29はチューブ30A、30Bを介して送気装置12の2つの送気ポート41、42にそれぞれ接続されている。送気装置12は、2つの送気・排気用スイッチ43、44を備え、これらのスイッチ43、44を操作することで、例えば空気を送気ポート41、42から個別に供給可能になっている。したがって、送気装置12から空気が供給されると、その空気はチューブ30A(30B)を介して送気口金28(29)に至り、さらに送気チャンネル28A(29A)を介してバルーン24(25)の内腔24A(25A)に至る。これにより、バルーン24(25)は膨張する。この膨張した状態は、図1の仮想線で模式的に示される。なお、送気装置12には、バルーン24、25の圧力を表示する圧力表示モニタ45,46が設けられている。
バルーン24、25は、それぞれ、バルーン毎に予め定めた一定量の空気が供給されると、予め定めたサイズに膨張するように、その内腔容積が設定されている。さらに、その内容積は、固定を目指す目的部位(体腔や管腔)の径の大きさについて、個人差を吸収する範囲の値に設定されている。
一方、スイッチ43、44を操作して排気動作を行なうと、バルーン24、25内の空気は逆の経路で排気される。この結果、バルーン24、25は収縮する。この収縮した状態は、図1の実線で模式的に示される。この収縮状態では、バルーン24、25は可撓管部21の外表面に密着し、殆どフラットな姿勢をとる。
本実施例では、それぞれ所定量の空気を供給したときの、先端側の最初のバルーン24を十二指腸の内径に、その次のバルーン25を十二指腸球部の内径に殆ど合致するように、バルーン24、25の形状が決定されている。なお、形状は、最膨張時のバルーンの径(可撓管部21の径を含む直径)D及び軸方向の長さLにより決まる。また、バルーン24、25の間の距離Hも、目的とする固定部位(例えば十二指腸の所望位置と十二指腸球部の位置)の間の長さに対応して設定されている。
内視鏡13は、可撓性を有する細長い挿入部13Aと、この挿入部13Aの基端側に一体に形成されて手元操作部13Bとを備える。手元操作部13Bには、送気・送水及び吸引を行なう各種のスイッチ類31、32のほか、その挿入部13Aを湾曲させる操作レバー33、処置用の鉗子(図示せず)を挿入部13Aに挿通させるための鉗子栓34が装備されている。このうち、操作レバー33については、その操作位置をロックする別のレバー(図示せず)が手元操作部13Bに設けられている。また、挿入部13Aの先端の所定長さの部分は硬性を有する先端部40として形成されており、その先端部40にCCDカメラや照明源(いずれも図示せず)が内蔵されている。
次に、本実施例に係る処置システムにより実行される処置方法の一例を説明する。
まず、内視鏡13の挿入部13Aをオーバーチューブ11の挿通チャンネルP1に挿入する。このとき、バルーン24、25は収縮させている。なお、かかる挿入前に、オーバーチューブ11の送水口金26、27を介して、又は、内視鏡の挿入部13Aの先端の送水チャンネル(図示せず)から送水を行ない、挿通チャンネルP1の壁面を濡らす。これにより、挿入部13Aの挿通チャンネルP1に対する挿通性が良くなる。その上で、挿入部13Aを挿通チャンネルP1に挿入し、挿入部13Aの先端部40をオーバーチューブ11の先端部22より少し突出させる(図1の仮想線参照)。これにより、挿入部13AのCCDカメラによる視野が確保される。
この状態で、図5に示す如く、内視鏡13の画像(直視、側視、又は斜視による画像)を見ながら、経口的にオーバーチューブ11及び内視鏡13の挿入部13Aを、食道F1、胃F2、幽門輪F3、十二指腸球部F4,及び十二指腸F5に挿入する。そして、図5に示す如く、挿入部13Aの先端部40が十二指腸F5に在るファーター乳頭部F6の近傍に到達したところで挿入を停止させる。
次いで、内視鏡13の挿入部13Aに沿って、オーバーチューブ11を、ファーター乳頭部F6を臨む、挿入部13Aの先端部40の所定位置まで手動で挿入させる。これにより、図6に示す挿入状態となる。
次いで、送気装置12のスイッチ43、44を順に操作して、バルーン24、25に所定量の空気を送る。これに応答して、バルーン24、25が順次膨張し、一方のバルーン24が十二指腸F5の内壁に、残りのバルーン25が十二指腸球部F4の内壁に押圧力を持って当接する。この膨張の際、X線透視下で透視しながら、各バルーンが所望の位置に位置するように、その位置を調整する。これにより、図7に示す如く、オーバーチューブ11が十二指腸F5及び十二指腸球部F4内の2箇所の位置で固定される。したがって、体腔の蠕動運動や術者の不意な操作によってオーバーチューブ11の位置がずれることがなく、内視鏡13の挿入部13Aを常にファーター乳頭部F6を臨む位置に置くことができる。したがって、内視鏡13を用いてファーター乳頭部F6の診断や処置を確実に行なうことができる。
このように、本実施例では、2つのバルーン24、25の膨張時の径D1、D2が十二指腸F5及び十二指腸球部F4の内径に合致するように、また、両バルーン24、25の相互間の距離Hが、十二指腸F5の所定位置及び十二指腸球部F4の間の距離にほぼ合致するように設定されている。このため、図7に示す如く、両バルーン24、25を膨張させることで、オーバーチューブ11は両バルーン24、25の位置で確実に固定できる。これにより、内視鏡13による診断や処置も容易化される。
さらに、オーバーチューブ11に装備するバルーンの数は必ずしも2個に限定されるものではなく、例えば3個又は3個以上であってもよい。これにより、体腔や管腔に沿ったより多くの位置でオーバーチューブ11を固定でき、内視鏡13を体腔や管腔の動きに因る影響から守ることができる。
(変形例1)
図8に、上述した実施例の変形例1を示す。この変形例1は、オーバーチューブ11の2つのバルーン24、25を装備する点では上述の実施例と同じであるが、バルーン24、25の位置が異なる。この両バルーン24、25の軸方向の位置を接近させ、一方の先頭側のバルーン24を十二指腸球部F4に、残りの後ろ側のバルーン25を胃F2の後壁の位置にそれぞれ位置決めしている。これにより、膨張時には、図8に示す如く、バルーン24、25が幽門輪F3を挟んで位置し、且つ、その前後の位置でオーバーチューブ11の位置を確実に固定できる。
(変形例2)
図9〜14に、上述した実施例の変形例2を示す。この変形例2は、変形例1と同様に、オーバーチューブ11の2つのバルーン24、25を装備する点では上述の実施例と同じであるが、バルーン24、25の位置が異なる。具体的には、この変形例2に係るオーバーチューブ11は、Roux-en-Y再建法が施された患者のファーター乳頭部への膵胆処置のために設計されたものである。
この変形例2では、両バルーン24、25の相互間の距離Hが、第1の実施例及び変形例1の場合に比べて、比較的長く形成されている(図14参照)。
まず、図9に示す如く、内視鏡13を挿通させたオーバーチューブ11を経口的に再建された胃F2’を介して空腸g1に挿入し、内視鏡13の挿入部13Aの先端部40が空腸・空腸吻合部g2を臨む所定の位置で一旦、挿入を止める。
次いで、図10に示す如く、先端側のバルーン24を膨張させて、空腸g1内の空腸・空腸吻合部g2の手前の所定位置で一旦オーバーチューブ11の先端を空腸g1に対して位置を固定する。
次いで、図11に示す如く、医師は内視鏡13を操作して、その挿入部13Aの先端部40を湾曲させながら内視鏡13を推し進め、その挿入部40を空腸・空腸吻合部g2に挿入する。このとき、バルーン11の先端の位置は空腸g1に対して固定されているため、かかる挿入操作が容易になる。
この後、図12に示す如く、内視鏡13の挿入部13Aを進めて空腸吻合屈曲部g3及び十二指腸F5を通過させ、挿入部13Aの先端40がファーター乳頭部F6を臨む所定位置まで到達させる。
次いで、それまで膨張させていたバルーン24を収縮させて、内視鏡13に沿ってオーバーチューブ11を推し進め、図13に示す如く、ファーター乳頭部F6を臨む位置まで到達させる。このとき、後ろ側に位置する2番目のバルーン25は、それまで先頭のバルーン24が位置していた位置に到達するように、両バルーン24、25の間の距離Hが調整されている。そこで、再び、先頭のバルーン24を膨張させ、ファーター乳頭部F6の手前の位置で、オーバーチューブ11の先端部位の位置を十二指腸F5に対して固定する。さらに、後ろ側のバルーン25を空腸・空腸吻合部g2の手前の位置で膨張させ、その位置で空腸g1に対してオーバーチューブ11を固定する。この様子を図14に示す。
この結果、オーバーチューブ11は、位置固定上のキーポイントとなる2箇所の位置で確実に位置固定される。このため、内視鏡13による膵胆処理を確実に実行することができる。このようにして、Roux-en-Y再建法が施された患者のファーター乳頭部へのアプローチも容易になり、その処置の迅速化及び労力軽減に寄与できる。
(変形例3)
図15に、上述した実施例の変形例3を示す。この変形例3は、送気をより簡単にしたオーバーチューブに関する。
図15に示すオーバーチューブ51は、可撓管部52と、その両端に位置して当該可撓管部52と一体に形成された先端部53及びグリップ54を備える。可撓管部52は、2つの膨張・収縮可能な第1、第2のバルーン55、56を先端側からこの順に備えている。また、可撓管部52には、バルーン55、56に送気するための送気口金57、58が装着されている。これらの構成要素は、前述した第1の実施例と同等である。
ここで、第1及び第2のバルーン55、56は、軸方向長さLが異なっているので、同一の所定量の空気を充填したときには膨張するバルーン径D1、D2が異なることになる。例えば、第1のバルーン55のバルーン長をL1、及びバルーン径をD1とし、第2のバルーン56のバルーン長をL2、及びバルーン径をD2とすると、L1>L2の場合、D2>D1となる。なお、両バルーン55、56は、固定位置間の距離に応じた長さHだけ軸方向に互いに離間している。
また、バルーン径D1、D2は、それぞれのバルーンが目的とする臓器(異なる臓器)に固定するときに最適な径になるように、バルーン長L1、L2及び空気充填量がそれぞれ所定値に設定されている。
この第1、第2のバルーン55、56に送気する送気装置として、同容量のシリンジ59が使用される。なお、シリンジ59の本数としては、個別に2本用意してもよいし、同一のシリンジを両バルーン55、56に用いてもよい。このシリンジ59には、図15に示すように、目盛Xが付されており、規定量を示す目盛Xの位置に孔59Aが穿設されている。この孔59Aにより、シリンジ59は規定量の空気しか送気できないようになっている。
したがって、第1、第2のバルーン55、56を膨張させるときには、シリンジ59の先端部59Bを送気口金57、58にそれぞれ差し込んで、ピストンを一回押し込む。これにより、規定量の空気がバルーン55、56に夫々供給される。一方、第1、第2のバルーン55、56を収縮させるときにも、このシリンジ59を使用する。
以上のことから、第1及び第2のバルーン55、56は、構造も操作も簡単なシリンジ59を使って常に同一量の空気を送ることで膨張させることができる。このため、誤って必要以上の空気量を送気してしまうという誤操作を防止できる。したがって、第1の実施例と同等の作用効果を発揮できるとともに、各バルーンを簡単に最適な膨張径まで膨張させることができる。つまり、各バルーンへの充填量を確認したり、覚えたりする手間が不要になり、送気操作の作業が簡単になる。加えて、誤操作が防止されるという2次的なメリットがある。
(変形例4)
図16(a)、16(b)、及び17を参照して、変形例4を説明する。
この変形例4は、上述した変形例3を更に発展させたもので、図16(a)に示すように、オーバーチューブ61は、可撓管部62と、その両端に位置して当該可撓管部62と一体に形成された先端部63及びグリップ64を備える。可撓管部62は、4つの膨張・収縮可能な第1〜第4のバルーン65〜68を先端側からこの順に備えている。また、可撓管部62には、バルーン65〜68に送気するための送気口金69〜72(口金72は、図16(b)を参照)が装着されている。送気口金69〜72のそれぞれは送気チャンネル69A〜72Aをそれぞれ介してバルーン65〜68に個別に連通している。これらの構成要素自体は、前述した第1の実施例のものと同等である。
この第1〜第4のバルーン65〜68はそれぞれその位置を固定させる対象部位(つまり、体腔や管腔の内部の部位)が予め決まっており、その部位の種類に応じてバルーン径D及びバルーン長L、並びに、バルーン間の軸方向の離間距離Hが予め決まっている。しかも、その対象部位にそれぞれのバルーンの位置(すなわちオーバーチューブ61の位置)を固定させるときのパターン(以下、位置固定パターン)は、ここでは4種類のパターン(図17(a)から図17(d)に示す第1ないし第4パターン)に分類されている。
まず、第1〜第4のバルーン65〜68のそれぞれに同一規定量(最大量)の空気を供給して膨張させたときの形状について説明する。この同一規定量の送気のために、この例においても、前述したシリンジ59を使用することができる。
まず、バルーン径については、
・第1のバルーン65は、十二指腸に固定するためのバルーンであり、規定量の送気による膨張時には、バルーン径D1=20〜50mmの許容範囲の所望値に、
・第2のバルーン66は、十二指腸球部に固定するためのバルーンであり、規定量の送気による膨張時には、バルーン径D2=20〜60mmの許容範囲の所望値に、
・第3のバルーン67は、胃(幽門輪)に固定するためのバルーンであり、規定量の送気による膨張時には、バルーン径D3=30〜70mmの許容範囲の所望値に、
・第4のバルーン68は、空腸に固定するためのバルーンであり、規定量の送気による膨張時には、バルーン径D4=20〜40mmの許容範囲の所望値になるように、各バルーンの長さが予めそれぞれ設定されている。
このため、バルーン径はそれぞれの許容範囲の最高値でみると、D3>D2>D1>D4の関係にある。
一方、バルーン間の離間距離については、
・第1、第2のバルーン65、66間の離間距離H1=30〜100mmの許容範囲の所望値に、
・第2、第3のバルーン66、67間の離間距離H2=5〜20mmの許容範囲の所望値に、
・第1、第4のバルーン65、68間の離間距離H4=200〜500mmの許容範囲の所望値に(ただし、第2及び第3のバルーン66、67のバルーン長分の長さを含む)、
・第3、第4のバルーン67、68間の離間距離H3は、離間距離H1、H2、H4に応じて決まる値に、それぞれ設定されている。
このため、離間距離については、H4>H1>H2の関係にある。
なお、上述のバルーン径及び離間距離について許容範囲を設定している理由は、患者の個人差を考慮したものである。このため、各バルーンのバルーン径について複数種類のオーバーチューブ61が予め用意されており、また、バルーン間の離間距離について複数種類のオーバーチューブ61が予め用意されている。さらに、空気の注入量が規定量I1のとき、各バルーンの最大値まで膨張可能なオーバーチューブを用意し、必要に応じて注入する空気をその規定量I1より少ない規定量I2(全バルーンとも)にするように対応してもよい。
これらの第1〜第4のバルーン65〜68のうちのどのバルーンを体腔又は管腔のどの部位に固定させたいのかというニーズに応じて、4種類の位置固定パターンが準備されている。具体的には、
・第1の位置固定パターン(第1パターン)は、図17(a)に示すように、第1のバルーン65を十二指腸F5に固定させ、第2のバルーン66を十二指腸球部F4に固定させ、残りの第3、第4のバルーン67、68を使用しない(膨張させない)パターン、
・第2の位置固定パターン(第2パターン)は、Roux-en-Y再建法が施された患者のファーター乳頭部への膵胆処置に適用するもので、図17(b)に示すように、第1のバルーン65を十二指腸F5に固定させ、第2及び第3のバルーン66、67を使用せず、第4のバルーン68を空腸g1に固定させるパターン、
・第3の位置固定パターン(第3パターン)は、図17(c)に示すように、第1のバルーン65を使用せず、第2のバルーン66を十二指腸球部F4に固定させ、第3のバルーン67を胃(幽門輪)F3に固定させ、第4のバルーン68を使用しないパターン、
・第4の位置固定パターン(第4パターン)は、Roux-en-Y再建法が施された患者のファーター乳頭部への膵胆処置に適用するもので、図17(d)に示すように、第1のバルーン65を十二指腸F5に固定させ、第2のバルーン66を十二指腸空腸曲F7に固定させ、残りの第3、第4のバルーン67、68を使用しない(膨張させない)パターン、である。
したがって、医師は、診断や処置の目的部位へアプローチするルートや体腔又は管腔の大きさの個人差に応じて、適宜なオーバーチューブ61を選択して使用できる。オーバーチューブ61の挿入時には、所望の位置固定パターンに基づき、使用するバルーンだけについて送気を行なう。これにより、第1〜第4の何れかの位置固定パターンで確実な位置固定機能が得られる。とくに、1つのオーバーチューブで第1〜第4のパターンまで各種の態様の位置固定に応じることができる。このため、オーバーチューブの品種を個人差だけを考慮したものを用意しておけばよく、処置位置の分だけ増やす必要は無くなるので、在庫品種を減らすことができる。さらに、通常の内視鏡的逆行性胆膵造影法(ERCP)やRoux-en-Y再建法が施された患者の膵胆処置にも適用でき、幅の広い用途がある。
なお、上述した第1〜第4のバルーン65〜68は、必ずしも、この4個のバルーンが常に装備されている必要はなく、この第1〜第4のバルーン65〜68のうちの少なくとも2つ以上のバルーンによる組み合わせであれば、任意の組み合わせで実施することができる。
(変形例5)
図18及び19を参照して、変形例5を説明する。
この変形例5は、変形例4と同様に、上述した変形例3を更に発展させたもので、図18に示すように、オーバーチューブ81は、可撓管部82と、その両端に位置して当該可撓管部82と一体に形成された先端部83及びグリップ84を備える。可撓管部82は、3つの膨張・収縮可能な第1〜第3のバルーン85〜87を先端側からこの順に備えている。また、可撓管部82には、バルーン85〜87に送気するための送気口金88〜90が装着されている。送気口金88〜90のそれぞれは図示しない送気チャンネルをそれぞれ介してバルーン85〜87に個別に連通している。これらの構成要素自体は、前述した第1の実施例のものと同等である。
前述の変形例4と同様に、この第1〜第3のバルーン85〜87はそれぞれその位置を固定させる対象部位が予め決まっており、その部位の種類に応じてバルーン径D及びバルーン間の軸方向の離間距離Hが予め決まっている。しかも、それらの位置固定の役割はここでは2種類のパターンに分類されている。
まず、第1〜第3のバルーン85〜87のそれぞれに同一規定量(最大量)の空気を供給して膨張させたときの形状について説明する。この同一規定量の送気のために、この例においても、前述したシリンジ59を使用することができる。
バルーン径については、
・第1のバルーン85は、十二指腸F5に固定するためのバルーンであり、規定量の送気による膨張時には、バルーン径D1=20〜50mmの許容範囲の所望値に、
・第2のバルーン86は、噴門部F9に固定するためのバルーンであり、規定量の送気による膨張時には、バルーン径D2=30〜70mmの許容範囲の所望値に、
・第3のバルーン87は、食道F1に固定するためのバルーンであり、規定量の送気による膨張時には、バルーン径D3=15〜25mmの許容範囲の所望値に、それぞれ設定されている。
このため、バルーン径はそれぞれの許容範囲の最高値でみると、D2>D1>D3の関係にある。
一方、バルーン間の離間距離については、
・第1、第2のバルーン85、86間の離間距離H1=150〜300mmの許容範囲の所望値に、
・第2、第3のバルーン86、87間の離間距離H2=5〜20mmの許容範囲の所望値に、それぞれ設定されている。
このため、離間距離については、H1>H2の関係にある。
この場合も、上述のバルーン径及び離間距離について許容範囲を設定している理由は、患者の個人差を考慮したものである。
これらの第1〜第3のバルーン85〜87のうちのどのバルーンを体腔又は管腔のどの位置に固定させたいのかというニーズに応じて、2種類の位置固定パターンが準備されている。具体的には、
・第1の位置固定パターン(第1パターン)は、図19(a)に示すように、第1のバルーン85を使用せず、第2のバルーン86を噴門部F9に固定させ、残りの第3のバルーン87を食道F1に固定させるパターン、
・第2の位置固定パターン(第2パターン)は、図19(b)に示すように、第1のバルーン85を十二指腸F5に固定させ、第2のバルーン86を使用せず、第3のバルーン87を食道F1に固定させるパターン、である。
したがって、医師は、通常の患者、すなわちRoux-en-Y再建法などの吻合術が実施されていない患者に対して、診断や処置の目的部位や内臓器官の大きさの個人差に応じて適宜なオーバーチューブ81を選択して使用できる。オーバーチューブ81の挿入時には、位置固定パターンに基づき、使用するバルーンだけについて送気を行なう。これにより、1つのオーバーチューブ81を用いて、第1〜第2の何れかの位置固定パターンに基づいて確実な位置固定機能が発揮される。したがって、通常の患者にERCPを施術する際、変形例4と同等の作用効果が得られる。
(変形例6)
図20及び21を参照して、変形例6を説明する。この変形例6は、同じバルーンであっても、位置固定をさせる部位の種類に応じて内腔体積を変えるようにしたオーバーチューブに関する。
図20に示すオーバーチューブ91は、可撓管部92と、その両端に位置して当該可撓管部92と一体に形成された先端部93及びグリップ94を備える。可撓管部92は、3つの膨張・収縮可能な第1〜第3のバルーン95、96、97を先端側からこの順に備えている。また、可撓管部92には、バルーン95〜97に送気するための送気口金98A〜98Cが装着されている。これらの構成要素の構造は、前述した第1の実施例と同等である。
第1のバルーン95は十二指腸F5に固定するために装備され、第2のバルーン96は十二指腸球部F4に固定するために装備され、第3のバルーン97は胃(幽門輪)F3に固定するために装備されている。
ここで、第1〜第3のバルーン95、96、97の軸方向の相互間の距離、及び、軸方向に直交する方向の膨張時のそれらの径については、以下のように設定されている。すなわち、バルーン間距離については、「第2のバルーン96(十二指腸球部に固定用)と第3のバルーン97(胃に固定用)との間の距離」<「第1のバルーン95(十二指腸に固定用)と第2のバルーン96との間の距離」のような関係を維持するように設定されている。また、径については、第1のバルーン95(十二指腸に固定用)、第2のバルーン96(十二指腸球部に固定用)、及び、第3のバルーン97(胃に固定用)の順に大きい所望値になるようにそれぞれ設定されている。
これら第1〜第3のバルーン95、96、97をどのように位置固定用に使用する(膨張させる)のかというニーズに応じて2つの位置固定パターンが用意されている。
具体的には、第1の位置固定パターン(第1パターン)は、図21(a)に示すように、第1のバルーン95を十二指腸F5に固定するために使用し、第2のバルーン96を十二指腸球部F4に固定するために使用し、第3のバルーン97を使用しない(膨張させない)という使い方である。
さらに、第2の位置固定パターン(第2パターン)は、図21(b)に示すように、第1のバルーン95を使用せず、第2のバルーン96を十二指腸球部F4に固定するために使用し、第3のバルーン97を胃(幽門輪)F3に固定するために使用するという使い方である。
これにより、1つのオーバーチューブ91を用いて、第1〜第2の何れかの位置固定パターンに基づいて確実な位置固定機能が発揮される。
なお、第3のバルーン97は胃F2及び空腸g1の両方への固定を兼ねるバルーンとして装備することもできる。そのように、空腸g1に固定する第3の位置固定パターンの場合、この第3のバルーン97は、胃F2に固定する場合の内腔体積以下の体積になるように、図示しない送気装置からの空気量を調整すればよい。この変形によれば、1つのバルーンを多種類の部位への位置固定に使用することで、位置固定パターンの種類を増やすことができ、バルーン、すなわちオーバーチューブの汎用性が高まる。
(変形例7)
図22及び23を参照して、変形例7を説明する。この変形例7は、上述した変形例6を更に変形させた構成を示す。このため、変形例6において示した構成要素と同じ又は同等な構成要素には同一符号を用いる。
図22に、この変形例7に係るオーバーチューブ91’を示す。このオーバーチューブ91’は、以下の点で変形例6のオーバーチューブ91と相違する。すなわち、変形例6で用いた第3のバルーン97は胃(幽門輪)F3に固定するためのバルーンであったが、この変形例7に係るオーバーチューブ91’の第3のバルーン97’は、空腸g1に固定するために装備されている。また、第1のバルーン95(十二指腸に固定用)、第2のバルーン96(十二指腸球部に固定用)、及び、第3のバルーン97’(空腸に固定用)それぞれの軸方向の相互間距離の大小関係も、変形例6のものから後述するように変えてある。その他の構成は、変形例6のものと同様である。
ここで、第1〜第3のバルーン95、96、97’の軸方向の相互間距離、及び、軸方向に直交する方向の膨張時のそれらの径については、以下のように設定されている。すなわち、バルーン間距離については、「第1のバルーン95(十二指腸に固定用)と第2のバルーン96(十二指腸球部に固定用)との間の距離」<「第2のバルーン96と第3のバルーン97’(空腸に固定用)との間の距離」の関係を維持するように設定されている。また、径については、第3のバルーン97’(空腸に固定用)、第1のバルーン95(十二指腸に固定用)、及び、第2のバルーン96(十二指腸球部に固定用)の順に大きい所望値になるようにそれぞれ設定されている。
このため、本変形例7の場合も、これら第1〜第3のバルーン95、96、97’をどのように位置固定用に使用する(膨張させる)のかというニーズに応じて2つの位置固定パターンが用意されている。
具体的には、第1の位置固定パターン(第1パターン)は、図23(a)に示すように、第1のバルーン95を十二指腸F5に固定するために使用し、第2のバルーン96を十二指腸球部F4に固定するために使用し、第3のバルーン97’を使用しない(膨張させない)という使い方である。
第2の位置固定パターン(第2パターン)は、図23(b)に示すように、第1のバルーン95を十二指腸F5に固定するために使用し、第2のバルーン96を使用せず、第3のバルーン97’を空腸g1に固定するために使用するという使い方である。
これにより、1つのオーバーチューブ91’を用いて、第1〜第2の何れかの位置固定パターンに基づいて確実な位置固定機能が発揮される。
(変形例8)
図24〜26に基づいて変形例8を説明する。この変形例8は、術者の誤操作を防止する観点から位置固定パターン毎に使用する送気ポートにマーカを付設する構成に関する。
図24には、例えば前述した図16A、16Bに示す4つのバルーン65〜68を具備したオーバーチューブ61の、4つのアーム状の送気口金69〜72を軸方向から見た外観図を示す。これらの送気ポート69〜72のそれぞれのアーム部分には、位置固定パターン毎に共通するマーカMが付されている。このマーカMと位置固定パターンとの関係を例示する。
いま、位置固定パターンが
・第1の位置固定パターンであり、図25(a)に示すように、第1のバルーン65を十二指腸F5に固定させ、第2のパターン66を十二指腸球部F4に固定させ、残りの第3、第4のバルーン67、68を使用しない(膨張させない)パターン、
・第2の位置固定パターンであり、図25(b)に示すように、第1のバルーン65を十二指腸F5に固定させ、第2及び第3のバルーン66、67を使用せず、第4のバルーン68を空腸g1に固定させるパターン、
・第3の位置固定パターンであり、図25(c)に示すように、第1のバルーン65を使用せず、第2のパターン66を十二指腸球部F4に固定させ、第3のバルーン67を胃(幽門輪)F3に固定させ、第4のバルーン68を使用しないパターン、及び、
・第4の位置固定パターンであり、図25(d)に示すように第1のバルーン65を十二指腸F5に固定させ、第2のパターン66を十二指腸空腸曲F7に固定させ、残りの第3、第4のバルーン67、68を使用しない(膨張させない)パターン、
の4パターンであるとする。
これに対して、マーカMについては、
・第1の位置固定パターンに対応すべく、図26(a)に示すように、第1及び第2のバルーン65、66に夫々連通する第1及び第2の送気口金69、70のアーム部分に共通のマーカ「丸印(○)」が付され、
・第2の位置固定パターンに対応すべく、図26(b)に示すように、第1及び第4のバルーン65、68に夫々連通する第1及び第4の送気口金69、72のアーム部分に共通のマーカ「三角印(△)」が付され、
・第3の位置固定パターンに対応すべく、図26(c)に示すように、第2及び第3のバルーン66、67に夫々連通する第2及び第3の送気口金70、71のアーム部分に共通のマーカ「星印(☆)」が付され、及び、
・第4の位置固定パターンに対応すべく、図26(d)に示すように、第1及び第2のバルーン65、66に夫々連通する第2及び第3の送気口金69、70のアーム部分に共通のマーカ「四角印(□)」が付されている。
このため、送気口金のアームには、多様なパターンが使用されるほど多種類のマーカが付されるが、複数のアームの間で付されている同じ種類のマーカは同じ位置固定パターンで使用される送気口金であることを表す。したがって、術者には、シリンジなどの送気手段を差し込む又は接続するときに、どの送気口金を使用したらよいかについて明確な目印が提供される。このため、送気を行なうときの誤接続など誤操作の防止に寄与大である。
なお、マーカを付す位置は必ずしも送気口金のアームの部分に限らず、送気口金の近くの部位であれば、可撓管部の外面であってよい。また、マーカは必ずしも○や△の図形でなくてもよい。例えば番号であってもよい。
(第2の実施例)
図27〜29(及び図16A、16B、17A〜17D)を参照して、本発明に係る処置システムの第2の実施例を説明する。
この第2の実施例は、前述した複数種の位置固定パターンが事前にプリセットされており、所望のパターンを選択するだけでパターンに沿ったバルーンにそれぞれ規定量の送気を行なうことが可能な構成に関する。
なお、前述した実施例及び変形例と同等又は同一の構成要素には同一の符号を付して、説明を簡単化することとする。
図27に示すように、この実施例に係る処置システム101は、バルーンを4つ設けた上述のオーバーチューブ61と、この4個のバルーンの送気・排気を制御するコントロールボックス102とを備える。このうち、オーバーチューブ61は第1〜第4のバルーン65〜68を備えており、その構成は前述した変形例4に示すものと全く同じである。このため、図16A、16Bと同様に、同じ符号を用いている。
このオーバーチューブ61のうち、第1〜第4のバルーン65〜68にそれぞれ連通する口金69〜72は、4本のチューブ103、104、105、106を介して、コントロールボックス102の送気ポート107、108、109、110にそれぞれ接続されている。
コントロールボックス102は、詳細には、図28に示すように、CPU121A,メモリ121Bなどを備えたコンピュータが実行するソフトウエア処理により送気制御を行うコントローラ(制御器)121と、このコントローラ121から出力される制御信号に応答して、指定された送気ポート107(〜110)から自動的に送気を行なう送気装置(流体供給手段)122とを備える。また、コントローラ121には、前述した位置固定パターンをパターン別に指示可能なパターン選択スイッチ111,112,113,114からの出力信号が供給されるようになっている。このパターン選択スイッチ111〜114は、コントロールボックス102の筐体の前面に配置され、オペレータが手動で操作可能になっている。
本実施例では、第1のパターン選択スイッチ111が操作(オン)されると、第1の位置固定パターンが指定される。この第1の位置固定パターンは、前述した図17(a)と同一である。第2のパターン選択スイッチ112が操作されると、第2の位置固定パターンが指定される。この第2の位置固定パターンは、前述した図17(c)と同一である。同様に、第3のパターン選択スイッチ113が操作されると、第3の位置固定パターンが指定される。この第3の位置固定パターンは、前述した図17(c)と同一である。さらに、第4のパターン選択スイッチ114が操作されると、第4の位置固定パターンが指定される。この第4の位置固定パターンは、前述した図17(d)と同一である。なお、一度押したスイッチ111(〜114)を再度押すと、その再操作は排気を指定したことになる。
また、かかるコントロールボックス102の筐体の前面には、圧力表示モニタ115、116、117、118が装備されている。このモニタ115〜118は、送気装置122から送られてくる圧力信号を表示できるようになっている。送気装置122は、コントローラ121からの制御信号(バルーン選択信号を含む)に応じて、バルーン選択に対応した送気ポート107(〜110)から規定量の送気を行なうように構成されている。また、この送気に伴うバルーン内腔の圧力値を示す信号を圧力表示モニタ115(〜118)に出力する。
このコントローラ121では、CPU121Aはメモリ121Bに予め格納された送気制御のためのプログラムをワークエリアに読み出し、そのプログラムに記載された手順を順次実行して送気制御を行うように構成されている。
この例によれば、CPU121Aは、まず、何れかのパターン選択スイッチがオペレータによる操作されたか否かをスイッチ111、112、113、114からの出力信号を順次、監視しながら、待機している(図29、ステップS1)。このステップS1の判断により何れかのスイッチ111(〜114)が操作(ON)されたことが分かると、CPU121Aは、そのスイッチがどのスイッチか、すなわちどのパターン選択かを順次判断する(ステップS2〜S4)。つまり、第4のパターン選択スイッチ114が操作されたか否かで第4の位置固定パターンが指定されたか否かが判定される(ステップS2)。第3のパターン選択スイッチ113が操作されたか否かで第3の位置固定パターンが指定されたか否かが判定される(ステップS3)。第2のパターン選択スイッチ112が操作されたか否かで第2の位置固定パターンが指定されたか否かが判定される(ステップS4)。このため、ステップS2、S3、S4で何れもNOの判断のときは、第1の位置固定パターンが指定された状態である。
これに応答して、CPU121Aは、第1の位置固定パターンで作動(膨張)させるバルーンの特定及び先頭からの並び順を特定する(ステップS5)。この場合、作動させるバルーンは図17(a)に示すように、第1及び第2のバルーン65、66であり、それらの先頭からの並び順は第1のバルーン65、第2のバルーン66の順である。なお、上述したが、第3及び第4のバルーン67、68は作動させない。
そこで、最初のバルーン、すなわち第1のバルーン65に送気すべく送気装置122に制御信号を送る(ステップS6)。これにより、送気装置122は、送気ポート107から規定量の送気を行ない、第1のバルーン65を膨張させる。送気装置122からの返信により、この送気が完了したことが分かると(ステップS7、YES)、CPU121Aは次に作動させるべきバルーンが残っているか否かを判断する(ステップS8)。この場合には、未だ第2のバルーン66が残っているので、この第2のバルーン66に送気するように送気装置122に指示する(ステップS9)。これにより、送気装置122は送気ポート108を介して送気を行い、第2のバルーン66を膨張させる。CPU121Aは、ステップS7〜S9の処理を繰り返して、作動すべき全てのバルーンへの送気を完了させて(ステップS8、NO)、送気制御を終える。
一方、ステップS4でYES、すなわち、第2の位置固定パターンが指定されたと判断した場合、上述したステップS5〜S9と同様の処理を行って第2の位置固定パターンに係るバルーン作動(膨張)を指示する(ステップSS2)。この場合には、図17(b)に示すように、第1及び第4のバルーン65、68が作動対象となり、それらの先頭からの並び順は第1のバルーン65、第4のバルーン68の順である。これらのバルーン65、68に対してのみ送気が実行される。
また、ステップS3でYES、すなわち、第3の位置固定パターンが指定されたと判断した場合、上述したステップS5〜S9と同様の処理を行って第3の位置固定パターンに係るバルーン作動(膨張)を指示する(ステップSS3)。この場合には、図17(c)に示すように、第2及び第3のバルーン66、67が作動対象となり、それらの先頭からの並び順は第2のバルーン66、第3のバルーン67の順である。これらのバルーン66、67に対してのみ送気が実行される。
さらに、ステップS2でYES、すなわち、第4の位置固定パターンが指定されたと判断した場合、上述したステップS5〜S9と同様の処理を行って第4の位置固定パターンに係るバルーン作動(膨張)を指示する(ステップSS4)。この場合には、図17(d)に示すように、第1の位置固定パターンのときと同様に、第1及び第2のバルーン65、66が作動対象となり、それらの先頭からの並び順は第1のバルーン65、第2のバルーン66の順である。これらのバルーン65、66に対してのみ送気が実行される。
このように本実施例によれば、複数のバルーンの送気の組み合わせが予めプリセットされており、その組み合わせを選択するだけで必要な複数のバルーンがその先頭から順に膨張して容易に位置固定を行う。このため、第1の実施例と同等の作用効果を得ることができるほか、オペレータの送気に関する労力を大幅に軽減させることができる。
(変形例)
図30に、第2の実施例の変形例を示す。この変形例は、上述した複数の位置固定パターンにおける各バルーンの作動状況を横割りに編成したものである。つまり、第2の実施例の場合、位置固定パターン毎に作動させる複数のバルーンを決めて当該複数のバルーンがどこの位置固定を担うのかについて予めプリセットしていた。これを横割りとすると、本変形例の場合には、バルーン毎に位置固定可能な3つのモードが設定されている。このため、各バルーンについて、3つのモードの中から1つずつ所望のモードを選択し、それらの組み合わせで送気を自動制御するようにする。
図30に示す処置システム130は、オーバーチューブ131と、このオーバーチューブ131が備える第1、第2のバルーン132、133の送気制御を担うコントロールボックス134とを備える。オーバーチューブ131はまた、一方の端に位置する先端部135と、他方の端に位置するグリップ136とを備えるとともに、2つのバルーン132、133に送気するための送気口金137、138を備える。この送気口金137、138はチューブ139、140をそれぞれ介してコントロールボックス134の送気ポート141、142に接続されている。
このコントロールボックス134には、第1のバルーン132に対する3つの選択ボタンB11、B12、B13が選択的に押圧操作可能に設置されると共に、第2のバルーン133に対する3つの選択ボタンB21、B22、B23が選択的に押圧操作可能に設置されている。
この第1のバルーン132に対する3つの選択ボタンB11、B12、B13のうち、
・ボタンB11は十二指腸F5に固定させるための所定量の送気を担うスイッチ、
・ボタンB12は十二指腸球部F4に固定させるための所定量の送気を担うスイッチ、
・ボタンB13は空腸g1に固定させるための所定量の送気を担うスイッチ、
である。
また、第2のバルーン133に対する3つの選択ボタンB21、B22、B23のうち、
・ボタンB21は十二指腸球部F4に固定させるための所定量の送気を担うスイッチ、
・ボタンB22は胃(幽門輪)F3に固定させるための所定量の送気を担うスイッチ、
・ボタンB23は空腸g1に固定させるための所定量の送気を担うスイッチ、
である。
このため、オペレータはオーバーチューブ131を内視鏡と共に被検体に経口的に挿入した後、ボタンB11とボタンB21、ボタンB21とボタンB22、及びボタンB13とボタンB23の3通りの選択パターンの中から所望のパターンに属する2つの選択ボタンを所望のタイミングで手動操作する。つまり、第1の選択パターンはボタンB11とボタンB21との組み合わせであり、第2の選択パターンはボタンB21とボタンB22との組み合わせであり、第3の選択パターンはボタンB13とボタンB23との組み合わせである。このため、例えば第1の選択パターンを選択する場合、オペレータは例えば最初にボタンB11を押し、次いでボタンB21を押すことになる。なお、第1のバルーン132についてボタンB11を押した場合、第2のバルーン133についてはボタンB21以外のボタン(B22、B23)は無効化するようにインターロック機能を付加してもよい。
コントロールボックス134は、その前面に第1及び第2のバルーン132、133の圧力を表示する圧力表示モニタ143、144を設けるとともに、前述した第2の実施例と同様に、コントローラ及び送気装置を備えている。このため、各ボタンで選択された固定位置について事前にプリセットされている所定量の空気を第1及び第2のバルーン132、133に供給する。これにより、第1及び第2のバルーン132、133の内圧を所定圧に設定する。なお、このバルーン毎及び固定位置毎に送気する空気の量、すなわち内圧を変更してもよいし、全て同一になるようにバルーンの内腔体積が同じ値に調整してもよい。
この変形例によっても、オーバーチューブ131を各臓器に確実に固定することができる。
なお、本発明は前述した実施例及びその変形例に記載された構成に限定されるものではなく、特許請求の範囲に記載の発明の要旨を逸脱しない範囲で、従来周知の構成と組み合わせて更に適宜な形態で実行することができる。
1、101 処置システム
11、51、61、81、91、91’ オーバーチューブ
13 内視鏡
21、52、62、82、92 可撓管部
24、25、55、56、65、66、67、68、85、86、87、95、96、96’、97、97’ バルーン
69、70、71、72 口金
121 コントローラ(制御器)
122 送気装置(流体供給手段)
F1 食道
F2 胃
F4 十二指腸球部
F5 十二指腸
F9 噴門部
g1 空腸
M マーカ
P1 挿通チャンネル

Claims (5)

  1. 内視鏡を挿通させる挿通チャンネルを有する可撓管部と、
    前記可撓管部の外周面の、前記可撓管部の軸方向に異なる位置に取り付けられ、それぞれ独立して膨張・収縮可能に構成された複数のバルーンと、
    を備え、
    前記複数のバルーンは、
    前記被検体の十二指腸に固定される第1バルーンと、
    前記第1バルーンよりも基端側に設けられ、前記被検体の空腸に固定される第2バルーンと、
    を含み、
    同一量に規定された最大量の流体を供給して膨張させたときの前記複数のバルーンの膨張径及び前記バルーンの取り付け位置は、前記複数のバルーンが固定される被検体の体腔又は管腔の径及び位置にもとづいて設定されており、且つ、前記第バルーンの前記膨張径は前記第バルーンの前記膨張径未満であり、さらに、前記第1バルーンと前記第2バルーンとの間の距離は200mm以上500mm以下であり、前記複数のバルーンを選択的に膨張させることによって前記体腔又は管腔の異なる複数の所定位置に固定できることを特徴とするオーバーチューブ。
  2. 前記複数のバルーンは、膨張時の内腔体積が同一であり、前記可撓管部の軸線方向における寸法が異なる少なくとも2つ以上のバルーンを含むことを特徴とする請求項1に記載のオーバーチューブ。
  3. 前記可撓管部に設けられ、前記複数のバルーンに流体を個別に供給するための複数の口金をさらに備え、
    前記複数の口金には、各々の前記所定位置に固定する際に選択的に膨張される前記複数のバルーンに対応するように、共通のマーカが設けられていることを特徴とする請求項1に記載のオーバーチューブ。
  4. 内視鏡と、
    請求項1に記載のオーバーチューブと、
    前記オーバーチューブに取り付けられた複数のバルーンの選択的な膨張を制御する制御器と、
    を備えたことを特徴とする処置システム。
  5. 請求項4に記載の処置システムにおいて、
    前記複数のバルーンに流体を供給する流体供給手段をさらに備え、
    前記制御器は、前記所定位置に応じて前記複数のバルーンのうちの少なくとも2つに、前記流体供給手段を介して選択的に流体を供給して膨張させることを特徴とする処置システム。
JP2011168307A 2007-04-04 2011-08-01 オーバーチューブ及び処置システム Active JP5048858B2 (ja)

Applications Claiming Priority (2)

Application Number Priority Date Filing Date Title
US11/732,660 2007-04-04
US11/732,660 US20080249358A1 (en) 2007-04-04 2007-04-04 Therapeutic method and therapeutic system that use overtube with balloons

Related Parent Applications (1)

Application Number Title Priority Date Filing Date
JP2008097380A Division JP4995136B2 (ja) 2007-04-04 2008-04-03 オーバーチューブ及び処置システム

Publications (2)

Publication Number Publication Date
JP2011240152A JP2011240152A (ja) 2011-12-01
JP5048858B2 true JP5048858B2 (ja) 2012-10-17

Family

ID=39561982

Family Applications (2)

Application Number Title Priority Date Filing Date
JP2008097380A Expired - Fee Related JP4995136B2 (ja) 2007-04-04 2008-04-03 オーバーチューブ及び処置システム
JP2011168307A Active JP5048858B2 (ja) 2007-04-04 2011-08-01 オーバーチューブ及び処置システム

Family Applications Before (1)

Application Number Title Priority Date Filing Date
JP2008097380A Expired - Fee Related JP4995136B2 (ja) 2007-04-04 2008-04-03 オーバーチューブ及び処置システム

Country Status (4)

Country Link
US (1) US20080249358A1 (ja)
EP (1) EP1977679B1 (ja)
JP (2) JP4995136B2 (ja)
DE (1) DE602008002169D1 (ja)

Families Citing this family (31)

* Cited by examiner, † Cited by third party
Publication number Priority date Publication date Assignee Title
AU2008310975B2 (en) * 2007-10-09 2013-08-22 Cook Medical Technologies Llc Systems, devices and methods having an overtube for accessing a bodily opening
WO2009111630A1 (en) 2008-03-06 2009-09-11 Wilson-Cook Medical, Inc. Medical systems for accessing an internal bodily opening
EP3005959B1 (en) 2008-05-15 2019-04-03 Cook Medical Technologies LLC Systems for accessing a bodily opening
US8529612B2 (en) * 2008-06-24 2013-09-10 Mayo Foundation For Medical Education And Research Gastroduodenal balloon tubes and methods for use in localized hypothermia
US8834361B2 (en) 2009-05-15 2014-09-16 Cook Medical Technologies Llc Systems, devices and methods for accessing a bodily opening
JP5647780B2 (ja) * 2009-10-20 2015-01-07 Hoya株式会社 処置用オーバーチューブ及び処置システム
US10485401B2 (en) 2009-12-15 2019-11-26 Lumendi Ltd. Method and apparatus for manipulating the side wall of a body lumen or body cavity so as to provide increased visualization of the same and/or increased access to the same, and/or for stabilizing instruments relative to the same
US10149601B2 (en) 2009-12-15 2018-12-11 Lumendi Ltd. Method and apparatus for manipulating the side wall of a body lumen or body cavity so as to provide increased visualization of the same and/or increased access to the same, and/or for stabilizing instruments relative to the same
US9986893B2 (en) 2009-12-15 2018-06-05 Cornell University Method and apparatus for manipulating the side wall of a body lumen or body cavity so as to provide increased visualization of the same and/or increased access to the same, and/or for stabilizing instruments relative to the same
US11986150B2 (en) 2009-12-15 2024-05-21 Lumendi Ltd. Method and apparatus for manipulating the side wall of a body lumen or body cavity so as to provide increased visualization of the same and/or increased access to the same, and/or for stabilizing instruments relative to the same
US8979884B2 (en) 2009-12-15 2015-03-17 Cornell University Method and apparatus for stabilizing, straightening, expanding and/or flattening the side wall of a body lumen and/or body cavity so as to provide increased visualization of the same and/or increased access to the same, and/or for stabilizing instruments relative to the same
US12121209B2 (en) 2014-02-11 2024-10-22 Cornell University Method and apparatus for providing increased visualization and manipulation of a body side wall
US11877722B2 (en) 2009-12-15 2024-01-23 Cornell University Method and apparatus for manipulating the side wall of a body lumen or body cavity
JP2011200403A (ja) * 2010-03-25 2011-10-13 Fujifilm Corp オーバーチューブ把手及びオーバーチューブ
WO2013117970A1 (en) * 2012-02-06 2013-08-15 HIROYUKI, Gomi Movable balloon prosthesis for endoscopes
JP5752740B2 (ja) * 2013-05-15 2015-07-22 富士システムズ株式会社 内視鏡用スライディングチューブ
WO2015127265A1 (en) * 2014-02-24 2015-08-27 Visualization Balloons, Llc Gastrointestinal endoscopy with attachable intestine pleating structures
CN105873492B (zh) * 2014-05-29 2018-09-18 奥林巴斯株式会社 内窥镜系统
US10765304B2 (en) * 2015-09-28 2020-09-08 Bio-Medical Engineering (HK) Limited Endoscopic systems, devices, and methods for performing in vivo procedures
CN106264426B (zh) * 2016-06-29 2017-12-08 胡寒竹 一种腹腔镜术中胆道镜引导器
JP6895660B2 (ja) * 2017-05-08 2021-06-30 国立大学法人東京工業大学 アクチュエータおよび移動体
JP7076561B2 (ja) * 2018-09-04 2022-05-27 富士フイルム株式会社 オーバーチューブ
EP4171347A4 (en) * 2020-05-22 2024-09-11 Lumendi Ltd. METHOD AND APPARATUS FOR MANIPULATING THE SIDE WALL OF A BODY LUMEN OR BODY CAVITY TO PROVIDE BETTER VISUALIZATION THEREOF, AND/OR BETTER ACCESS THERETO, AND/OR STABILIZATION OF INSTRUMENTS RELATIVE THERETO
US12569123B2 (en) 2020-09-27 2026-03-10 Boston Scientific Scimed, Inc. Expandable guide devices, systems, and methods
EP4243910A4 (en) 2020-11-16 2024-12-25 Lumendi Ltd. METHOD AND DEVICE FOR TURNING A HOLLOW SLEEVE AND SUBSEQUENT REVERSING AN INVERTED HOLLOW SLEEVE
WO2022208737A1 (ja) * 2021-03-31 2022-10-06 オリンパス株式会社 内視鏡用オーバーチューブ
US20220330799A1 (en) * 2021-04-14 2022-10-20 Arthrex, Inc System and method for using detectable radiation in surgery
JP7529746B2 (ja) * 2021-11-18 2024-08-06 オリンパス株式会社 医療システム及び医療システムの制御方法
US12061590B2 (en) 2021-11-18 2024-08-13 Olympus Corporation Information processing system and processing method
US20240008720A1 (en) * 2022-07-06 2024-01-11 Gyrus Acmi, Inc. D/B/C Olympus Surgical Technologies America Elongate endoscopic covering
WO2024227080A1 (en) * 2023-04-26 2024-10-31 Opus Medtech LLC Systems, methods, and apparatuses for removing materials and plaque in arteries and blood vessels

Family Cites Families (45)

* Cited by examiner, † Cited by third party
Publication number Priority date Publication date Assignee Title
JPS5431825Y2 (ja) * 1975-06-30 1979-10-04
US4180076A (en) * 1977-05-06 1979-12-25 Betancourt Victor M Nasogastric catheters
US4368739A (en) * 1979-07-18 1983-01-18 Nelson Jr Richard L Long intestinal catheter
JPS5626104U (ja) * 1979-08-08 1981-03-10
JPS61284225A (ja) * 1985-06-10 1986-12-15 オリンパス光学工業株式会社 大腸用内視鏡の插入補助具
JPS6222623A (ja) * 1985-07-24 1987-01-30 オリンパス光学工業株式会社 内視鏡用插入補助具
US4731055A (en) * 1986-08-25 1988-03-15 Becton, Dickinson And Company Blood flow conduit
DK0574378T3 (da) * 1989-06-28 1996-03-11 David S Zimmon Ballon-tamponeringsanordning
SE465017B (sv) * 1989-11-24 1991-07-15 Lars Knutson Anordning foer segmentell perfusion/aspiration av grovtarmen
US4983165A (en) * 1990-01-23 1991-01-08 Loiterman David A Guidance system for vascular catheter or the like
US5400770A (en) * 1992-01-15 1995-03-28 Nakao; Naomi L. Device utilizable with endoscope and related method
JP2911677B2 (ja) * 1992-03-27 1999-06-23 川澄化学工業株式会社 気管内チューブ
JPH0663045A (ja) * 1992-08-20 1994-03-08 Olympus Optical Co Ltd 超音波内視鏡
JP3088240B2 (ja) * 1994-04-12 2000-09-18 富士写真光機株式会社 径可変の内視鏡
JP3631265B2 (ja) * 1994-04-27 2005-03-23 オリンパス株式会社 体内観察装置
DE9413272U1 (de) * 1994-08-17 1995-12-21 Roewer, Norbert, Dr., 22529 Hamburg Magensonde
JP3764500B2 (ja) * 1994-11-25 2006-04-05 オリンパス株式会社 内視鏡用流体制御システム
US5707355A (en) * 1995-11-15 1998-01-13 Zimmon Science Corporation Apparatus and method for the treatment of esophageal varices and mucosal neoplasms
US20010020150A1 (en) * 1998-02-06 2001-09-06 Biagio Ravo Inflatable intraluminal molding device
US6234958B1 (en) * 1998-11-30 2001-05-22 Medical Access Systems, Llc Medical device introduction system including medical introducer having a plurality of access ports and methods of performing medical procedures with same
JP2001190518A (ja) * 2000-01-17 2001-07-17 Olympus Optical Co Ltd 磁気共鳴観測装置
JP2001238888A (ja) * 2000-03-01 2001-09-04 Heart Life:Kk 医療器具
AU2001249308A1 (en) * 2000-03-24 2001-10-15 Johns Hopkins University Peritoneal cavity device and method
US6585639B1 (en) * 2000-10-27 2003-07-01 Pulmonx Sheath and method for reconfiguring lung viewing scope
US6461294B1 (en) * 2000-10-30 2002-10-08 Vision Sciences, Inc. Inflatable member for an endoscope sheath
JP2002282268A (ja) * 2001-03-27 2002-10-02 Sumitomo Bakelite Co Ltd 挿入用外套管
JPWO2003022346A1 (ja) * 2001-09-07 2004-12-24 株式会社塚田メディカル・リサーチ 前立腺肥大症治療用カテーテル
JP4780543B2 (ja) * 2001-09-19 2011-09-28 Hoya株式会社 内視鏡用バルーン装置
JP4081259B2 (ja) * 2001-10-30 2008-04-23 オリンパス株式会社 内視鏡装置及び内視鏡離脱方法
JP2003230629A (ja) * 2002-02-07 2003-08-19 Nikkiso Co Ltd カテーテル
US6988987B2 (en) * 2002-03-18 2006-01-24 Olympus Corporation Guide tube
JP2004305593A (ja) * 2003-04-09 2004-11-04 Olympus Corp 内視鏡用挿入補助具
JP3888359B2 (ja) * 2003-05-15 2007-02-28 有限会社エスアールジェイ 内視鏡装置
US20050159645A1 (en) * 2003-11-12 2005-07-21 Bertolero Arthur A. Balloon catheter sheath
US7135034B2 (en) * 2003-11-14 2006-11-14 Lumerx, Inc. Flexible array
JP3873968B2 (ja) * 2003-12-15 2007-01-31 有限会社エスアールジェイ 内視鏡装置のオーバーチューブ
US7635345B2 (en) * 2004-01-09 2009-12-22 G. I. View Ltd. Pressure-propelled system for body lumen
JP4994849B2 (ja) * 2004-02-09 2012-08-08 スマート・メディカル・システムズ・リミテッド 内視鏡アセンブリ
JP4856067B2 (ja) * 2004-07-09 2012-01-18 ジーアイ・ダイナミックス・インコーポレーテッド 胃腸内スリーブを配置するための方法および装置
JP4642424B2 (ja) * 2004-10-08 2011-03-02 オリンパス株式会社 体内医療装置
JP4149987B2 (ja) * 2004-11-09 2008-09-17 フジノン株式会社 内視鏡装置
US7918787B2 (en) * 2005-02-02 2011-04-05 Voyage Medical, Inc. Tissue visualization and manipulation systems
US20070015965A1 (en) * 2005-07-13 2007-01-18 Usgi Medical Inc. Methods and apparatus for colonic cleaning
US8430809B2 (en) * 2005-08-01 2013-04-30 G. I View Ltd. Capsule for use in small intestine
US9427142B2 (en) * 2005-08-08 2016-08-30 Smart Medical Systems Ltd Balloon guided endoscopy

Also Published As

Publication number Publication date
JP4995136B2 (ja) 2012-08-08
EP1977679A1 (en) 2008-10-08
JP2011240152A (ja) 2011-12-01
US20080249358A1 (en) 2008-10-09
DE602008002169D1 (de) 2010-09-30
JP2008253780A (ja) 2008-10-23
EP1977679B1 (en) 2010-08-18

Similar Documents

Publication Publication Date Title
JP5048858B2 (ja) オーバーチューブ及び処置システム
US11737901B2 (en) Method for performing a gastrectomy
JP5647780B2 (ja) 処置用オーバーチューブ及び処置システム
AU2015217259B2 (en) Method and apparatus for manipulating the side wall of a body lumen or body cavity so as to provide increased visualization of the same and/or increased access to the same, and/or for stabilizing instruments relative to the same
US20120123463A1 (en) Mechanically-guided transoral bougie
US20130116549A1 (en) Anchored Working Channel
US20120178994A1 (en) Apparatus and method for assisting in the delivery of medical instruments into body organs
US8870817B2 (en) Methods of using an adjustable variable stiffness medical device
KR20130109111A (ko) 카테터 튜브를 배치하기 위한 다중 풍선 확장 장치
US10603465B2 (en) Illuminated gastric tubes and methods of use
JP6432019B2 (ja) 処置具挿入補助具
ES2374591T3 (es) Retractor médico y ensamblaje estabilizador.
JP2010035951A (ja) カテーテル
JP2017000222A (ja) 内視鏡システム
US20210282626A1 (en) Method and apparatus for manipulating the side wall of a body lumen or body cavity so as to provide increased visualization of the same and/or increased access to the same, and/or for stabilizing instruments relative to the same
JP4499479B2 (ja) 内視鏡用オーバーチューブおよび小腸内視鏡システム
JP5431166B2 (ja) 特に非侵襲性手術向けの保護手段
US20220096094A1 (en) Expandable guide devices, systems, and methods
JP7516533B2 (ja) 器具用付属品
US20090287049A1 (en) Access Systems Including Collapsible Port Body For Intra-Abdominal Surgery
BRPI0916800A2 (pt) overtube endoscópico flexível transluminal articulável e direcionável
CN119586962A (zh) 一种消化道内镜
JP6650310B2 (ja) 挿入機器
CN119604223A (zh) 用于操纵身体管腔的侧壁的方法和设备
WO2014014659A1 (en) Percutaneous endoscopic therapy

Legal Events

Date Code Title Description
A131 Notification of reasons for refusal

Free format text: JAPANESE INTERMEDIATE CODE: A131

Effective date: 20120221

A521 Request for written amendment filed

Free format text: JAPANESE INTERMEDIATE CODE: A523

Effective date: 20120328

A521 Request for written amendment filed

Free format text: JAPANESE INTERMEDIATE CODE: A821

Effective date: 20120329

A131 Notification of reasons for refusal

Free format text: JAPANESE INTERMEDIATE CODE: A131

Effective date: 20120424

A521 Request for written amendment filed

Free format text: JAPANESE INTERMEDIATE CODE: A523

Effective date: 20120530

A521 Request for written amendment filed

Free format text: JAPANESE INTERMEDIATE CODE: A821

Effective date: 20120531

TRDD Decision of grant or rejection written
A01 Written decision to grant a patent or to grant a registration (utility model)

Free format text: JAPANESE INTERMEDIATE CODE: A01

Effective date: 20120619

A01 Written decision to grant a patent or to grant a registration (utility model)

Free format text: JAPANESE INTERMEDIATE CODE: A01

A61 First payment of annual fees (during grant procedure)

Free format text: JAPANESE INTERMEDIATE CODE: A61

Effective date: 20120719

FPAY Renewal fee payment (event date is renewal date of database)

Free format text: PAYMENT UNTIL: 20150727

Year of fee payment: 3

R151 Written notification of patent or utility model registration

Ref document number: 5048858

Country of ref document: JP

Free format text: JAPANESE INTERMEDIATE CODE: R151

S111 Request for change of ownership or part of ownership

Free format text: JAPANESE INTERMEDIATE CODE: R313111

R350 Written notification of registration of transfer

Free format text: JAPANESE INTERMEDIATE CODE: R350

S531 Written request for registration of change of domicile

Free format text: JAPANESE INTERMEDIATE CODE: R313531

R350 Written notification of registration of transfer

Free format text: JAPANESE INTERMEDIATE CODE: R350

R250 Receipt of annual fees

Free format text: JAPANESE INTERMEDIATE CODE: R250

R250 Receipt of annual fees

Free format text: JAPANESE INTERMEDIATE CODE: R250

R250 Receipt of annual fees

Free format text: JAPANESE INTERMEDIATE CODE: R250

R250 Receipt of annual fees

Free format text: JAPANESE INTERMEDIATE CODE: R250

R250 Receipt of annual fees

Free format text: JAPANESE INTERMEDIATE CODE: R250

R250 Receipt of annual fees

Free format text: JAPANESE INTERMEDIATE CODE: R250

R250 Receipt of annual fees

Free format text: JAPANESE INTERMEDIATE CODE: R250