JP4993574B2 - 画像形成装置、交換用廃液タンク、廃液タンク - Google Patents

画像形成装置、交換用廃液タンク、廃液タンク Download PDF

Info

Publication number
JP4993574B2
JP4993574B2 JP2006321441A JP2006321441A JP4993574B2 JP 4993574 B2 JP4993574 B2 JP 4993574B2 JP 2006321441 A JP2006321441 A JP 2006321441A JP 2006321441 A JP2006321441 A JP 2006321441A JP 4993574 B2 JP4993574 B2 JP 4993574B2
Authority
JP
Japan
Prior art keywords
waste liquid
full
tank
liquid tank
threshold
Prior art date
Legal status (The legal status is an assumption and is not a legal conclusion. Google has not performed a legal analysis and makes no representation as to the accuracy of the status listed.)
Expired - Fee Related
Application number
JP2006321441A
Other languages
English (en)
Other versions
JP2008132698A (ja
Inventor
直人 大迫
大輔 中村
哲也 蛭間
Current Assignee (The listed assignees may be inaccurate. Google has not performed a legal analysis and makes no representation or warranty as to the accuracy of the list.)
Ricoh Co Ltd
Original Assignee
Ricoh Co Ltd
Priority date (The priority date is an assumption and is not a legal conclusion. Google has not performed a legal analysis and makes no representation as to the accuracy of the date listed.)
Filing date
Publication date
Application filed by Ricoh Co Ltd filed Critical Ricoh Co Ltd
Priority to JP2006321441A priority Critical patent/JP4993574B2/ja
Publication of JP2008132698A publication Critical patent/JP2008132698A/ja
Application granted granted Critical
Publication of JP4993574B2 publication Critical patent/JP4993574B2/ja
Expired - Fee Related legal-status Critical Current
Anticipated expiration legal-status Critical

Links

Images

Landscapes

  • Ink Jet (AREA)

Description

本発明は画像形成装置、交換用廃液タンク、廃液タンクに関する。
一般に、プリンタ、ファックス、コピア、プロッタ、或いはこれらの内の複数の機能を複合した画像形成装置としては、例えば、記録液(液体)の液滴を吐出する液体吐出ヘッドで構成した記録ヘッドを含む液体吐出装置を用いて、媒体(以下「用紙」ともいうが材質を限定するものではなく、また、被記録媒体、記録媒体、転写材、記録紙なども同義で使用する。)を搬送しながら、液体としての記録液(以下、インクともいう。)を用紙に付着させて画像形成(記録、印刷、印写、印字も同義語で用いる。)を行なうインクジェット記録装置装置などがある。
なお、「画像形成装置」は、紙、糸、繊維、布帛、皮革、金属、プラスチック、ガラス、木材、セラミックス等の媒体に液体を吐出して画像形成を行う装置を意味し、また、「画像形成」とは、文字や図形等の意味を持つ画像を媒体に対して付与することだけでなく、パターン等の意味を持たない画像を媒体に付与することをも意味する。また、「液体」とは、記録液、インクに限るものではなく、吐出されるときに流体となるものであれば特に限定されるものではない。また、「液体吐出装置」とは液体吐出ヘッドから液体を吐出する装置を意味し、画像形成を行うものに限定されない。
また、液体吐出ヘッドを備える画像形成装置としては、ヘッドをキャリッジに搭載して用紙の送り方向と直交する主走査方向に移動させることで記録を行うシリアル型画像記録装置と、記録領域の略全幅にわたって液滴を吐出する複数の吐出口(ノズル)を列設したライン型ヘッドを用いるライン型画像記録装置がある。
このような記録液を使用する画像形成装置における記録ヘッドは、圧力発生室で加圧した記録液をノズルから用紙に吐出させて記録を行なう関係上、ノズルからの溶媒の蒸発に起因する記録液粘度の上昇や、インクの固化、塵埃の付着、さらには気泡の混入などにより吐出不良の状態となり、記録不良を起こすという問題を抱えている。
そこで、液体吐出方式の画像形成装置では、非記録時に記録ヘッドのノズルを封止するためのキャッピング手段と、必要に応じてノズル形成面を清掃するワイピング部材が備えられ、また、記録に寄与しない空吐出を行なう空吐出受けを備えている。キャッピング手段は、ノズルのインクの乾燥を防止する蓋として機能するだけでなく、ノズルに目詰まりなどが生じた場合には、キャッピング手段によりノズル形成面を封止し、吸引ポンプからの負圧により、ノズルからインクを吸引排出(ヘッド吸引)させてノズルの目詰まりを解消する機能をも備えている。
記録ヘッドの目詰まり解消のために行なうインクの強制的な吸引排出処理は、クリーニング操作と呼ばれており、例えば記録装置の長時間の休止後に記録を再開する場合や、記録中の所定間隔ごとや、ユーザーが記録状態の不良を認識してクリーニングスイッチを操作した場合などに実行され、記録ヘッドからインクを排出させた後にゴムなどの弾性部材からなるワイピング部材により、記録ヘッドのノズル面(ノズルが形成された面)を払拭する清浄化操作が伴われる。また、記録中には所要のタイミングで空吐出が行なわれる。
そして、上述したクリーニング操作に伴ってキャッピング手段内に排出された記録ヘッドからの廃液は、吸引ポンプの駆動により廃液タンク(廃液回収ユニット、インク回収ユニットなどとも称される。)に廃棄することができるように構成されている。この廃液タンクには、一般に多孔質材料により構成された廃液吸収材が収納されており、この廃液吸収材によって廃液を吸収した形で保持するようになされている。
ところで、このような廃液吸収材を収納した廃液タンクは、一般的に画像形成装置の寿命の間で廃棄される廃液の全量を受容する容量が確保されている。したがって、廃液タンクとしては比較的大容量のものが用いられ、記録装置本体の例えば下底部に大きな体積を占めた状態で配置されている。
そのため、より小型化を図ろうとするこの種の画像形成装置置に制約を与えるという問題を抱えていることから、廃液タンクを交換可能にした画像形成装置が知られている。
また、廃液タンクの満タン検知に関しては、特許文献1、2に記載されているように反射型フォトセンサを備えるもの、特許文献3、4に記載されているように廃液タンクに記憶素子を備えるもの、特許文献2、5に記載されているように電極を備えるもの、特許文献6に記載されているように廃液タンク外に満タン検知やタンク有無検知を行うセンサを備えるもの、特許文献7に記載されているように満タン検知と廃液タンクの有無検知を行う別個のセンサを備えるもの、その他特許文献8に記載されているようなものがある。
特開2004−066554号公報 特許第3167598号公報 特開2005−238832号公報 特開2002−337419号公報 特開平09−187961号公報 特開2004−338245号公報 特開平10−181043号公報 特開2003−291375号公報
また、交換可能とした場合に、満タンになった廃液タンクが再度装着されることを防止するため、特許文献9に記載されているように、廃インクタンクが満タンとなった時に、廃インクタンクの発熱体を発熱させセンサパターンを溶融断線させることにより、誤って使用済みの満タンの廃インクタンクが装着されたときには表示器に「廃インクタンク満タン」を表示するようにしたものがある。
特開平09−011493号公報
上述したように廃液タンクを交換可能とした場合、満タンになった廃液タンクが再度装置本体に装着されることを防止しなければならない。この場合、上述した特許文献9に記載のように廃液タンクが満タンになったときに廃液タンクの発熱体を発熱させてセンサパターンを溶融断線させる構成では、構成が複雑になるという課題がある。
本発明は上記の課題に鑑みてなされたものであり、簡単な構成で満タンになった本体同梱廃液タンクがそのまま再使用されることを防止することを目的とする。
上記の課題を解決するため、本発明に係る画像形成装置は、
記録ヘッドから記録液の液滴を吐出して被記録媒体に画像を形成するとともに、前記記録ヘッドの性能を維持するための維持回復によって生じる前記記録液の廃液を収納する廃液タンクを備える画像形成装置において、
予め装置本体に装着された本体同梱廃液タンクを有し、
前記本体同梱廃液タンクが廃液満タン状態になったときに前記本体同梱廃液タンクに代えて交換用廃液タンクを装着可能であり、
前記廃液タンクに設けられた廃液満タンを検出する廃液満タンセンサの出力から装置の停止及び停止状態の解除の制御を行う制御手段を有し、
前記廃液満タンセンサは、反射型フォトセンサからなり、
前記制御手段は、
前記反射型フォトセンサの出力電圧を予め定めた満タン閾値と比較して、満タン閾値以下になったとき満タン状態であると判別して装置を停止状態にし、
前記反射型フォトセンサの出力電圧を予め定めた前記満タン閾値より大きい満タン解除閾値と比較して、前記満タン解除閾値を超えるときに前記停止状態を解除する制御をし、
前記本体同梱廃液タンクの前記反射型フォトセンサの初期出力電圧は前記満タン閾値を超え、前記満タン解除閾値以下であり、
前記交換用廃液タンクの前記反射型フォトセンサの初期出力電圧は前記満タン解除閾値を超える
構成とした。
本発明に係る画像形成装置によれば、簡単な構成で満タンになった本体同梱廃液タンクがそのまま再使用されることを防止できる。
以下、本発明の実施の形態について添付図面を参照して説明する。図1は本発明に係る液滴を吐出する装置を含む本発明に係る画像形成装置としてのインクジェット記録装置を前方側から見た斜視説明図である。
このインクジェット記録装置は、装置本体1と、装置本体1に装着された用紙を装填するための給紙トレイ2と、装置本体1に着脱自在に装着されて画像が記録(形成)された用紙をストックするための排紙トレイ3とを備えている。さらに、装置本体1の前面の一端部側(給排紙トレイ部の側方)には、前面から装置本体1の前方側に突き出し、上面よりも低くなったインクカートリッジを装填するためのカートリッジ装填部4を有し、このカートリッジ装填部4の上面は操作ボタンや表示器などを設ける操作/表示部5としている。
このカートリッジ装填部4には、色の異なる色材である記録液(インク)、例えば黒(K)インク、シアン(C)インク、マゼンタ(M)インク、イエロー(Y)インクをそれぞれ収容した複数の記録液カートリッジであるインクカートリッジ10k、10c、10m、10y(色を区別しないときは「インクカートリッジ10」という。)を、装置本体1の前面側から後方側に向って挿入して装填可能とし、このカートリッジ装填部4の前面側には、インクカートリッジ10を着脱するときに開く前カバー(カートリッジカバー)6を開閉可能に設けている。
次に、このインクジェット記録装置の機構部について図2及び図3を参照して説明する。なお、図2は同機構部の概要を示す側面模式的説明図、図3は同じく要部平面説明図である。
左右の側板21A、21Bに横架したガイド部材である主従のガイドロッド31、32でキャリッジ33を主走査方向に摺動自在に保持し、図示しない主走査モータによってタイミングベルトを介して図3で矢示方向(キャリッジ主走査方向)に移動走査する。
このキャリッジ33には、イエロー(Y)、シアン(C)、マゼンタ(M)、ブラック(K)の各色のインク滴を吐出するための液体吐出ヘッドからなる記録ヘッド34a、34b(区別しないときは「記録ヘッド34」という。)を複数のノズルからなるノズル列を主走査方向と直交する副走査方向に配列し、インク滴吐出方向を下方に向けて装着している。
記録ヘッド34は、それぞれ2つのノズル列を有し、記録ヘッド34aの一方のノズル列はブラック(K)の液滴を、他方のノズル列はシアン(C)の液滴を、記録ヘッド34bの一方のノズル列はマゼンタ(M)の液滴を、他方のノズル列はイエロー(Y)の液滴を、それぞれ吐出する。
記録ヘッド34を構成するインクジェットヘッドとしては、圧電素子などの圧電アクチュエータ、発熱抵抗体などの電気熱変換素子を用いて液体の膜沸騰による相変化を利用するサーマルアクチュエータ、温度変化による金属相変化を用いる形状記憶合金アクチュエータ、静電力を用いる静電アクチュエータなどを、液滴を吐出するための圧力を発生する圧力発生手段として備えたものなどを使用できる。
また、キャリッジ33には、記録ヘッド34のノズル列に対応して各色のインクを供給するためのヘッドタンク35a、35b(区別しないときは「ヘッドタンク35」という。)を搭載している。このサブタンク35には各色の供給チューブ36を介して、前述したように、カートリッジ装填部4に装着された各色のインクカートリッジ10から各色のインクが補充供給される。なお、このカートリッジ装填4にはインクカートリッジ10内のインクを送液するための供給ポンプユニット24が設けられている。
一方、給紙トレイ2の用紙積載部(圧板)41上に積載した用紙42を給紙するための給紙部として、用紙積載部41から用紙42を1枚ずつ分離給送する半月コロ(給紙コロ)43及び給紙コロ43に対向し、摩擦係数の大きな材質からなる分離パッド44を備え、この分離パッド44は給紙コロ43側に付勢されている。
そして、この給紙部から給紙された用紙42を記録ヘッド34の下方側に送り込むために、用紙42を案内するガイド部材45と、カウンタローラ46と、搬送ガイド部材47と、先端加圧コロ49を有する押さえ部材48とを備えるとともに、給送された用紙42を静電吸着して記録ヘッド34に対向する位置で搬送するための搬送手段である搬送ベルト51を備えている。
この搬送ベルト51は、無端状ベルトであり、搬送ローラ52とテンションローラ53との間に掛け渡されて、ベルト搬送方向(副走査方向)に周回するように構成している。また、この搬送ベルト51の表面を帯電させるための帯電手段である帯電ローラ56を備えている。この帯電ローラ56は、搬送ベルト51の表層に接触し、搬送ベルト51の回動に従動して回転するように配置されている。この搬送ベルト51は、図示しない副走査モータによってタイミングを介して搬送ローラ52が回転駆動されることによってベルト搬送方向に周回移動する。
さらに、記録ヘッド34で記録された用紙42を排紙するための排紙部として、搬送ベルト51から用紙42を分離するための分離爪61と、排紙ローラ62及び排紙コロ63とを備え、排紙ローラ62の下方に排紙トレイ3を備えている。
また、装置本体1の背面部には両面ユニット71が着脱自在に装着されている。この両面ユニット71は搬送ベルト51の逆方向回転で戻される用紙42を取り込んで反転させて再度カウンタローラ46と搬送ベルト51との間に給紙する。また、この両面ユニット71の上面は手差しトレイ72としている。
さらに、キャリッジ33の走査方向一方側の非印字領域には、記録ヘッド34のノズルの状態を維持し、回復するための回復手段を含む本発明に係るヘッドの維持回復装置である維持回復機構81を配置している。
この維持回復機構81には、記録ヘッド34の各ノズル面をキャピングするための各キャップ部材(以下「キャップ」という。)82a、82b(区別しないときは「キャップ82」という。)と、ノズル面をワイピングするためのブレード部材であるワイパーブレード83と、増粘した記録液を排出するために記録に寄与しない液滴を吐出させる空吐出を行うときの液滴を受ける空吐出受け84などを備えている。また、このヘッドの維持回復機構81の下方側には維持回復動作によって生じる廃液を収容するための廃液タンク100が装置本体に対して交換可能に装着される。
また、キャリッジ33の走査方向他方側の非印字領域には、記録中などに増粘した記録液を排出するために記録に寄与しない液滴を吐出させる空吐出を行うときの液滴を受ける空吐出受け88を配置し、この空吐出受け88には記録ヘッド34のノズル列方向に沿った開口部89などを備えている。
このように構成したこの画像形成装置においては、給紙トレイ2から用紙42が1枚ずつ分離給紙され、略鉛直上方に給紙された用紙42はガイド45で案内され、搬送ベルト51とカウンタローラ46との間に挟まれて搬送され、更に先端を搬送ガイド37で案内されて先端加圧コロ49で搬送ベルト51に押し付けられ、略90°搬送方向を転換される。
このとき、帯電ローラ56に対してプラス出力とマイナス出力とが交互に繰り返すように、つまり交番する電圧が印加され、搬送ベルト51が交番する帯電電圧パターン、すなわち、周回方向である副走査方向に、プラスとマイナスが所定の幅で帯状に交互に帯電されたものとなる。このプラス、マイナス交互に帯電した搬送ベルト51上に用紙42が給送されると、用紙42が搬送ベルト51に吸着され、搬送ベルト51の周回移動によって用紙42が副走査方向に搬送される。
そこで、キャリッジ33を移動させながら画像信号に応じて記録ヘッド34を駆動することにより、停止している用紙42にインク滴を吐出して1行分を記録し、用紙42を所定量搬送後、次の行の記録を行う。記録終了信号又は用紙42の後端が記録領域に到達した信号を受けることにより、記録動作を終了して、用紙42を排紙トレイ3に排紙する。
また、印字(記録)待機中にはキャリッジ33は維持回復機構81側に移動されて、キャップ82で記録ヘッド34がキャッピングされて、ノズルを湿潤状態に保つことによりインク乾燥による吐出不良を防止する。また、キャップ82で記録ヘッド34をキャッピングした状態で図示しない吸引ポンプによってノズルから記録液を吸引し(「ノズル吸引」又は「ヘッド吸引」という。)し、増粘した記録液や気泡を排出する回復動作を行う。また、記録開始前、記録途中などには空吐出受けなどに向けて記録と関係しないインク(液体の液滴)を吐出する空吐出動作を行う。これによって、記録ヘッド34の安定した吐出性能を維持する。
次に、この画像形成装置における廃液収納ユニットである廃液タンク100の一例について図4ないし図7を参照して説明する。なお、図4は同廃液タンクの斜視説明図、図5は同廃液タンクの蓋部材を除いた斜視説明図、図6は同廃液タンクの満タン検知センサ周りのリブの形状を説明する斜視説明図、図7は図4の断面Aに沿う模式的断面説明図である。
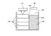
この廃液タンク100は、タンクケース本体(容器本体)101と、このケース本体101内に収納した液体状の廃液を吸収する積層体からなる吸収部材(吸収体)102と、ケース本体101の上部を覆う蓋部材103を備えている。
この廃液タンク100には、前述した維持回復機構81から排出される廃液が、蓋部材103に設けた廃液投入口部104からケース本体101内に投入(供給)される。そして、この廃液投入口部104を介して廃液が投入される部位に対応して、吸収部材102を設けない部分を形成することで、ケース本体101の底面を露出させた空間105を形成している。これにより、廃液を吸収部材102に直接投入しないで、空間105を通じてケース本体101の底面に直接到達させることができ、廃液中の流動性が少なく粘度が高いものは空間105内に堆積させて収容できるようにするとともに、空間105に投入された廃液中の流動性の高い液体は吸収部材102で吸収できるようにする。
また、ケース本体101には空間105の側壁面を仕切る仕切り部であるリブ107を形成している。これにより、吸収部材102の一部102aが空間105に臨むことになり、この一部102aの壁面部分からしか液体状の廃液が吸収部材102に浸透しなくなる。
さらに、蓋部材103には、廃液タンク100が装着されているか否かを検知する廃液タンク有無センサを兼ねた、廃液タンク101内の廃液が満タンになったことを検出する廃液満タン検知手段である反射型フォトセンサからなる廃液満タンセンサ112を、廃液投入口部104のリブ107を挟んで吸収部材102上に配置している(図7参照)。そして、この満タンセンサ112によって満タン検知を行う部位と廃液投入口部104の空間105との間を仕切る仕切り部であるリブ107の廃液投入口部104に対応する部分は他の部分よりも高さを低くした低い部分108として、高低差を設けている。
このリブ107の低い部分108の高さは、吸収部材102の高さよりも低くして、空間105に記録液が堆積した場合に堆積する堆積物が低い部分108を乗り越えて満タンセンサ112による吸収部材201の検知部位102bに侵入できるようにしたものである。
また、廃液満タンセンサ112を取付ける蓋部材103には、図6に示すように、センサ取り付け部位115の周囲にリブ114a〜114dを形成している。このリブ114a〜114dは蓋部材103をケース本体101に装着したときに、吸収部材102の検知部位102bを押圧することで、吸収部材102表面と廃液満タンセンサ112との距離を廃液満タンセンサ112の焦点距離を確保できる距離に保つ。
このように構成した廃液タンク100においては、維持回復機構81の例えば空吐出受け84から排出された廃インクは、図8に示すように、廃液タンク100の廃インク投入口部104の空間105に投入される。この空間105に投入された廃インク121aは液体状の廃インクであれば吸収部材102の部位102aから吸収され、それ以外の廃インクは空間105内に堆積して行く。
そして、図9に示すように、次第に廃インク121bは堆積していき、廃インク投入口部104及び吸収部材102の満タン検知部位102bでリブ107の高さが一段低くなった低い部分108を乗り越え、リブ107の向こう側にある吸収部材102の検知部位102bの側面と接触する。
さらに堆積が進むと、図10に示すように、廃インク121cは吸収部材102の検知部位102bを完全に乗り越え、廃液タンク100が満タンであることを検知する廃液満タンセンサ112の鉛直下方向まで進行する。これによって、廃液満タンセンサ112は廃液が満タンになったことを検出する。
すなわち、満タンセンサとして反射型フォトセンサを用いて吸収部材が廃インクを吸収することによる吸収部材の色の変化で満タンを検知しようとした場合、顔料インクなどのように吸収部材に吸収されるのは水分だけで、顔料成分は堆積するような記録液を使用しているときには、吸収部材の色が変化しないために、満タン検知を行うことができないおそれが生じる。
そこで、上述したように、吸収部材102を設けない空間105を形成し、さらにリブ107を設けることで吸収部材102と廃インクの接触面積をできる限り少なくし、吸収部材への堆積をできる限り防止する。そして、廃液の堆積が生じる廃インク投入口部近傍に満タンセンサを配置して、この満タンセンサによる検知部位と空間との間を仕切るリブの高さを低くした低い部分108を設けて、堆積物がリブ107の低い部分108を乗り越えて検知部位に侵入するようにする。これによって、反射型フォトセンサのように吸収部材の色の変化で満タンを検知する場合でも、吸収部材上に堆積物が侵入することで色が変化するので、正確に満タンを検知できるようになる。なお、廃液投入口部のリブの部分だけを他よりも低くしても同様の作用効果が得られる。また、記録液として染料系記録液を使用した場合には吸収部材102に吸収されて最終的に吸収部材102の検知部位102bの色が変化することによって満タンが検知される。
また、上述したように、吸収部材の色の変化で満タンを検知するようにした場合、反射型フォトセンサは吸収部材との間で焦点距離を確保しなければセンサとして満足に機能させることができない。この場合、満タンセンサの焦点距離を確保するために、吸収部材の厚さを薄く調整すると、廃液タンクそのものの寿命が短くなる。
そこで、上述したように満タンセンサ112の近傍を囲み満タンセンサ112の焦点距離を確保するためのリブ114a〜114dを設けることで、満タンセンサ112と吸収部材102との間の距離が満タンセンサ112の焦点距離を確保できる距離に保持されることになり、廃液タンクの寿命を短くすることなく、正確に満タン検出を行うことができるようになる。
そこで、このような廃液タンク100について予め画像形成装置本体に同梱される廃液タンク(これを「本体同梱廃液タンク」という。)と、本体同梱廃液タンクが満タンになった場合に交換して装着される交換用廃液タンクとの区別について説明する。
廃液タンク100には前述したように反射型フォトセンサからなる廃液満タンセンサ112が備えられている。この廃液満タンセンサ112の出力電圧に基づいて、廃液タンク100が満タン状態であるか、また、廃液タンク100が装着されているかを検出することができる。
また、この画像形成装置では、廃液タンク100が満タン状態となった場合は、廃液満タンセンサ112から出力される出力電圧が予め定めた閾値以上でないと満タン状態を解除できない構成とし、図示しない制御部は、廃液タンク100の交換を促すエラー表示を操作/表示部5を使用して行うとともに、装置を停止状態にする。
ここで、廃液満タンセンサ112の出力電圧は、廃液タンク100の吸収部材102の検知部位102bに廃液がないときほど大きくなり、廃液タンク100そのものが装着されていないときには廃液満タンセンサ112がないので検出回路側での廃液満タンセンサ112からの出力電圧は最も小さくなる。
そこで、図11に示すように、廃液満タンセンサ112の出力電圧に対応して、予めタンク有無を検出する有無閾値Va、満タンを検出する満タン閾値Vb(Va<Vb)を定めている。したがって、廃液満タンセンサ112の出力電圧がパターンAの電圧であるときには、有無閾値Va以下であるので廃液タンク100が正常に装着されていないことが検出される。同様に、廃液満タンセンサ112の出力電圧がパターンBの電圧であるときには、有無閾値Vcを越えているが満タン閾値Vb以下であるので廃液タンク100が正常に装着され満タンになっている状態であり、新しい廃液タンク100と交換する必要がある。廃液満タンセンサ112の出力電圧がパターンCの電圧であるときには、満タン閾値Vbを越えているので廃液タンク100が正常に装着され満タンになっていない状態であることが検出される。
そして、一旦満タン状態になった後に満タン状態を解除する満タン解除閾値Vcは満タン閾値Vbより高く設定する(Vb<Vc)ことで、廃液満タンセンサ112の出力電圧がパターンDの出力電圧であるときには、満タン解除を行うことができるが、廃液満タンセンサ112の出力電圧がパターンCの電圧であるときには満タン解除を行うことができないようにしている。
したがって、本体同梱廃液タンク100と交換用廃液タンク100の満タンセンサ112の初期出力電圧(吸収部材102に廃液が吸収されていないときの出力電圧)について、交換用廃液タンク100の満タンセンサ112の初期出力電圧は満タン解除閾値Vcを超える値とし、本体同梱廃液タンク100の満タンセンサ112の初期出力電圧は満タン閾値Vbを超え満タン解除閾値Vc以下の値とする。なお、満タンセンサの出力電圧とは、満タンセンサそのものの出力電圧だけを意味するものではなく、満タンセンサの出力の電圧レベルを変換した場合の変換後の出力電圧を含む意味である。
これによって、装置本体が本体同梱廃液タンク100が満タン状態であることを検出した後は、満タン解除閾値Vc以上の出力電圧が確保されている交換用廃液タンク100が装着されない限り、満タン状態は解除されないことになる。したがって、一旦満タン状態になった本体同梱廃液タンク100をユーザーが意図的に再装着しても満タン解除を行うことができないので、使用済みの本体同梱廃液タンク100が再利用されることを防止できる。
このように、この画像形成装置では、廃液タンクには廃液満タンを検出する廃液満タンセンサが設けられ、この廃液満タンセンサの初期出力電圧に基づいて廃液タンクが装置本体に予め装着されている本体同梱廃液タンク又は交換用廃液タンクのいずれであるかを判別することできるので、簡単な構成で満タンになった装置本体に予め装着されている廃液タンクがそのまま再使用されることを防止することができる。
また、交換用廃液タンクは、廃液満タンを検出する廃液満タンセンサが設けられ、この廃液満タンセンサの初期出力電圧が画像形成装置に予め装着されている本体同梱廃液タンクの廃液満タンセンサの初期出力電圧と異なるので、画像形成装置側では簡単な構成で満タンになった廃液タンクがそのまま再使用されることを防止することができる。
さらに、予め装置本体に装着される廃液タンクは、廃液満タンを検出する廃液満タンセンサが設けられ、この廃液満タンセンサの初期出力電圧は画像形成装置に装着される交換用廃液タンクの廃液満タンセンサの初期出力電圧と異なるので、画像形成装置側では簡単な構成で満タンになった廃液タンクがそのまま再使用されることを防止することができる。
次に、廃液満タンセンサ112の出力電圧を本体同梱廃液タンク100と交換用廃液タンク100で異ならせる構成について説明する。
まず、廃液満タンセンサ112を構成する反射型フォトセンサからの出力電圧を調整する構成としては、単純に、本体同梱用廃液タンク100に搭載する反射型フォトセンサと交換用は液タンク100に搭載する反射型フォトセンサとは、異なる出力電圧が得られる反射型フォトセンサとする。
例えば、本体同梱廃液タンク100に搭載する反射型フォトセンサにコンデンサーを1つ付与して抵抗を上げて出力電圧を下げたり、本体同梱廃液タンク100及び交換用廃液タンク100どちらか一方で使用される反射型フォトセンサを製造段階で予め出力電圧が高め又は低めになるように調整して対応することも可能である。
次に、廃液満タンセンサ112を構成する反射型フォトセンサを異ならせずに、廃液タンク100の内部構成を異ならせることで出力電圧を調整することもできる。
ただし、この場合は、反射型フォトセンサは照射物によって同じ焦点距離であっても出力電圧が大きく異なるので、特に、照射物が吸収部材のようなフェルト状のものは、密度や粗さによっても最適な焦点距離が異なる上、細かい繊維によって乱反射が生じることから、焦点距離と出力電圧の関係を把握してから実施する必要がある。
具体例としてフェルトに照射したときの焦点距離と出力電圧の関係を図12に示している。
図12中の線Eは満タン解除閾値Vcを示しており、線Fは満タン閾値Vbを示している。この図12の例で交換用廃液タンク(満タン解除閾値以上)の焦点距離を決めるとするならば、3.8mm〜9mmの間に焦点距離が来るように反射型フォトセンサとフェルト(吸収部材102)の位置関係を設定する。同様に、本体同梱廃液タンク100(満タン閾値Vb〜満タン解除閾値Vcの間)は1mm〜3.8mmの間に焦点距離が来るように反射型フォトセンサとフェルト(吸収部材102)の位置関係を設定する。
ここで、焦点距離の調節は、前述したように、センサ取り付け部位115の周囲に設けたリブ114a〜114dの高さを本体同梱廃液タンク100と交換用廃液タンク100とで異ならせることで行うことができる。また、吸収部材102の枚数を調節することでも同様の効果が得られる。
この場合、交換用廃液タンク100の廃液満タンセンサ112を構成する反射型フォトセンサの焦点距離は本体同梱廃液タンク100の廃液満タンセンサ112を構成する反射型フォトセンサの焦点距離よりも遠くすることで、出力電圧を高くすることができる。
そこで、この画像形成装置における廃液タンクの有無及び満タン検出に係る部分について図13のブロック説明図を参照して説明する。
主制御部201は、この画像形成装置の全体の制御を司る部分であり、CPU、ROM、RAM、I/O、不揮発性メモリなどで構成され、廃液タンク有無/満タン検出回路202からの検出信号が入力され、この検出信号に基づいて廃液タンク100の有無、廃液タンク100の満タン処理を行う。
廃液タンク有無/満タン検出回路202は、廃液満タンセンサ112からの検知信号を入力し、廃液満タンセンサ112からの検知信号の出力電圧と予め設定した廃液タンク有無閾値Va、満タン閾値Vb、満タン解除閾値Vcとを比較して、この比較結果に応じた信号を主制御部102に与える。
ここで、主制御部201による処理の一例について図14のフロー図を参照して説明すると、まず、廃液タンク100が装着されているか否かを判別し、廃液タンク100が装着されているときには、廃液タンク100が満タンであるか否かを判別し、廃液タンク100が満タンであれば、装置を停止し、操作/表示部5にエラー表示を行う。
その後、廃液タンク有無/満タン検出回路202の検出信号に基づいて廃液タンク100の満タンセンサ112の出力電圧が予め定めた満タン解除閾値Vcを超えているか否かを判別し、満タンセンサ112の出力電圧が満タン解除閾値Vcを超えるまでは満タン解除を行わないで、装置停止、エラー表示を続行し、満タンセンサ112の出力電圧が満タン解除閾値Vcを超えたときに、満タン解除を行って、この処理を抜ける。
したがって、前述したように、本体同梱廃液タンク100が満タン状態になったときは、満タン解除閾値Vcを超える出力電圧が確保されている交換用廃液タンク100が装着されない限り、満タン状態は解除されず、使用済みの本体同梱廃液タンク100が再利用され、廃液が溢れる事態を防止できる。
本発明に係る画像形成装置の一例を示す前方側から見た斜視説明図である。 同画像形成装置の機構部の概略を示す構成図である。 同機構部の要部平面説明図である。 同画像形成装置の廃液タンクの一例を示す斜視説明図である。 同じく蓋部材を除いて示す斜視説明図である。 同じく満タンセンサ周りのリブの説明に供する斜視説明図である。 図4の断面Aに沿う模式的断面説明図である。 同廃液タンクにおける満タン検出の説明に供する図7と同様な模式的断面説明図である。 同廃液タンクにおける満タン検出の説明に供する図7と同様な模式的断面説明図である。 同廃液タンクにおける満タン検出の説明に供する図7と同様な模式的断面説明図である。 廃液満タンセンサの出力電圧と閾値の設定の説明に供する説明図である。 反射型フォトセンサの出力電圧と焦点距離の説明に供する説明図である。 同画像形成装置の廃液タンク有無及び満タン検出処理に係る部分の説明に供するブロック説明図である。 同じく廃液タンク有無及び満タン検出処理の説明に供するフロー図である。
符号の説明
10…インクカートリッジ
33…キャリッジ
34a、34b…記録ヘッド
81…維持回復機構
100…廃液タンク
101…タンクケース本体
102…吸収部材
103…蓋部材
104…廃液投入口部
105…空間
107…リブ
112…廃液満タンセンサ(満タン検知手段)
114a〜114d…リブ

Claims (8)

  1. 記録ヘッドから記録液の液滴を吐出して被記録媒体に画像を形成するとともに、前記記録ヘッドの性能を維持するための維持回復によって生じる前記記録液の廃液を収納する廃液タンクを備える画像形成装置において、
    予め装置本体に装着された本体同梱廃液タンクを有し、
    前記本体同梱廃液タンクが廃液満タン状態になったときに前記本体同梱廃液タンクに代えて交換用廃液タンクを装着可能であり、
    前記廃液タンクに設けられた廃液満タンを検出する廃液満タンセンサの出力から装置の停止及び停止状態の解除の制御を行う制御手段を有し、
    前記廃液満タンセンサは、反射型フォトセンサからなり、
    前記制御手段は、
    前記反射型フォトセンサの出力電圧を予め定めた満タン閾値と比較して、満タン閾値以下になったとき満タン状態であると判別して装置を停止状態にし、
    前記反射型フォトセンサの出力電圧を予め定めた前記満タン閾値より大きい満タン解除閾値と比較して、前記満タン解除閾値を超えるときに前記停止状態を解除する制御をし、
    前記本体同梱廃液タンクの前記反射型フォトセンサの初期出力電圧は前記満タン閾値を超え、前記満タン解除閾値以下であり、
    前記交換用廃液タンクの前記反射型フォトセンサの初期出力電圧は前記満タン解除閾値を超える
    ことを特徴とする画像形成装置。
  2. 記録ヘッドから記録液の液滴を吐出して被記録媒体に画像を形成し、
    予め装置本体に装着された本体同梱廃液タンクを有し、
    前記本体同梱廃液タンクが廃液満タン状態になったときに前記本体同梱廃液タンクに代えて交換用廃液タンクを装着可能であり、
    前記廃液タンクに設けられた廃液満タンセンサの出力から装置の停止及び停止状態の解除の制御を行う制御手段を有し、
    前記廃液満タンセンサは、反射型フォトセンサからなり
    前記制御手段は、
    前記反射型フォトセンサの出力電圧を予め定めた満タン閾値と比較して、満タン閾値以下になったとき満タン状態であると判別して装置を停止状態にし、
    前記反射型フォトセンサの出力電圧を予め定めた前記満タン閾値より大きい満タン解除閾値と比較して、前記満タン解除閾値を超えるときに前記停止状態を解除する制御をし、
    前記本体同梱廃液タンクの前記反射型フォトセンサの初期出力電圧は前記満タン閾値を超え、前記満タン解除閾値以下である画像形成装置における前記交換用廃液タンクであって、
    前記交換用廃液タンクの前記反射型フォトセンサの初期出力電圧は前記満タン解除閾値を超える
    ことを特徴とする交換用廃液タンク。
  3. 請求項2に記載の交換用廃液タンクにおいて、前記反射型フォトセンサの初期出力電圧に関与する構成部分が前記本体同梱廃液タンクの前記構成部分と異なることを特徴とする交換用廃液タンク。
  4. 請求項3に記載の交換用廃液タンクにおいて、前記反射型フォトセンサ自体が前記本体同梱廃液タンクの前記反射型フォトセンサと異なることを特徴とする交換用廃液タンク。
  5. 請求項3に記載の交換用廃液タンクにおいて、前記廃液を吸収する吸収体の枚数が前記本体同梱廃液タンクの前記吸収体の枚数と異なることを特徴とする交換用廃液タンク。
  6. 請求項3に記載の交換用廃液タンクにおいて、前記反射型フォトセンサの焦点距離を規定するリブの高さが前記本体同梱廃液タンクの前記リブの高さと異なることを特徴とする交換用廃液タンク。
  7. 請求項2ないし6のいずれかに記載の交換用廃液タンクにおいて、前記反射型フォトセンサの焦点距離が前記本体同梱廃液タンクの前記反射型ファトセンサの焦点距離よりも遠いことを特徴とする交換用廃液タンク。
  8. 記録ヘッドから記録液の液滴を吐出して被記録媒体に画像を形成し、
    予め装置本体に装着された本体同梱廃液タンクを有し、
    前記本体同梱廃液タンクが廃液満タン状態になったときに前記本体同梱廃液タンクに代えて交換用廃液タンクを装着可能であり、
    前記廃液タンクに設けられた廃液満タンセンサの出力から装置の停止及び停止状態の解除の制御を行う制御手段を有し、
    前記廃液満タンセンサは、反射型フォトセンサからなり、
    前記制御手段は、
    前記反射型フォトセンサの出力電圧を予め定めた満タン閾値と比較して、満タン閾値以下になったとき満タン状態であると判別して装置を停止状態にし、
    前記反射型フォトセンサの出力電圧を予め定めた前記満タン閾値より大きい満タン解除閾値と比較して、前記満タン解除閾値を超えるときに前記停止状態を解除する制御をし、
    前記交換用廃液タンクの前記反射型フォトセンサの初期出力電圧は前記満タン解除閾値を超える画像形成装置における前記本体同梱廃液タンクであって、
    前記本体同梱廃液タンクの前記反射型フォトセンサの初期出力電圧は前記満タン閾値を超え、前記満タン解除閾値以下である
    ことを特徴とする廃液タンク。
JP2006321441A 2006-11-29 2006-11-29 画像形成装置、交換用廃液タンク、廃液タンク Expired - Fee Related JP4993574B2 (ja)

Priority Applications (1)

Application Number Priority Date Filing Date Title
JP2006321441A JP4993574B2 (ja) 2006-11-29 2006-11-29 画像形成装置、交換用廃液タンク、廃液タンク

Applications Claiming Priority (1)

Application Number Priority Date Filing Date Title
JP2006321441A JP4993574B2 (ja) 2006-11-29 2006-11-29 画像形成装置、交換用廃液タンク、廃液タンク

Publications (2)

Publication Number Publication Date
JP2008132698A JP2008132698A (ja) 2008-06-12
JP4993574B2 true JP4993574B2 (ja) 2012-08-08

Family

ID=39557891

Family Applications (1)

Application Number Title Priority Date Filing Date
JP2006321441A Expired - Fee Related JP4993574B2 (ja) 2006-11-29 2006-11-29 画像形成装置、交換用廃液タンク、廃液タンク

Country Status (1)

Country Link
JP (1) JP4993574B2 (ja)

Families Citing this family (1)

* Cited by examiner, † Cited by third party
Publication number Priority date Publication date Assignee Title
JP7306532B2 (ja) * 2021-03-23 2023-07-11 セイコーエプソン株式会社 液体吐出装置、廃液回収ユニット及び廃液回収方法

Family Cites Families (6)

* Cited by examiner, † Cited by third party
Publication number Priority date Publication date Assignee Title
JPS63115756A (ja) * 1986-11-04 1988-05-20 Canon Inc 記録装置
JP3167598B2 (ja) * 1995-10-13 2001-05-21 キヤノン株式会社 インクタンクおよびインクジェット記録装置
JP2000085143A (ja) * 1998-09-10 2000-03-28 Copyer Co Ltd 廃インク回収装置
JP2003211688A (ja) * 2002-01-21 2003-07-29 Seiko Epson Corp インクジェット式記録装置および同装置におけるインク供給路内の洗浄方法
JP2004066553A (ja) * 2002-08-02 2004-03-04 Ricoh Co Ltd インクジェット記録装置
JP4509821B2 (ja) * 2005-02-16 2010-07-21 株式会社リコー 画像形成装置

Also Published As

Publication number Publication date
JP2008132698A (ja) 2008-06-12

Similar Documents

Publication Publication Date Title
JP5000409B2 (ja) インク供給システム
JP4707482B2 (ja) 画像形成装置及び画像形成装置における負圧維持制御方法
JP5440289B2 (ja) 画像形成装置およびその制御方法
JP3933660B2 (ja) 画像形成装置
JP2005014342A (ja) 液体容器、液体供給装置及び画像形成装置
JP2008302501A (ja) 廃液収容容器、画像形成装置
JP5471312B2 (ja) 画像形成装置
JP2014100842A (ja) 画像形成装置
JP2009172967A (ja) 画像形成装置
JP4738969B2 (ja) 画像形成装置
JP2015112847A (ja) 液体供給装置及びこれを備えた画像形成装置
JP4841217B2 (ja) 画像形成装置
JP4993574B2 (ja) 画像形成装置、交換用廃液タンク、廃液タンク
JP2012035526A (ja) 液体収容袋、液体カートリッジ、画像形成装置
JP2009101609A (ja) 画像形成装置
JP5309939B2 (ja) 液体吐出装置および画像形成装置
JP5354197B2 (ja) インクカートリッジ、これを備えた画像形成装置
JP5754621B2 (ja) 画像形成装置
JP2009012358A (ja) 液体吐出ヘッドユニット、画像形成装置
JP4791210B2 (ja) ヘッドの維持回復装置、画像形成装置
JP2015080878A (ja) 画像形成装置
JP4919651B2 (ja) 画像形成装置
JP2007223230A (ja) 液滴を吐出する装置及び画像形成装置
JP2014054755A (ja) 液体吐出装置及び画像形成装置
JP2007130979A (ja) 画像形成装置

Legal Events

Date Code Title Description
A621 Written request for application examination

Free format text: JAPANESE INTERMEDIATE CODE: A621

Effective date: 20090710

A977 Report on retrieval

Free format text: JAPANESE INTERMEDIATE CODE: A971007

Effective date: 20110712

A131 Notification of reasons for refusal

Free format text: JAPANESE INTERMEDIATE CODE: A131

Effective date: 20110719

A521 Written amendment

Free format text: JAPANESE INTERMEDIATE CODE: A523

Effective date: 20110905

A131 Notification of reasons for refusal

Free format text: JAPANESE INTERMEDIATE CODE: A131

Effective date: 20120221

A521 Written amendment

Free format text: JAPANESE INTERMEDIATE CODE: A523

Effective date: 20120328

TRDD Decision of grant or rejection written
A01 Written decision to grant a patent or to grant a registration (utility model)

Free format text: JAPANESE INTERMEDIATE CODE: A01

Effective date: 20120502

A01 Written decision to grant a patent or to grant a registration (utility model)

Free format text: JAPANESE INTERMEDIATE CODE: A01

A61 First payment of annual fees (during grant procedure)

Free format text: JAPANESE INTERMEDIATE CODE: A61

Effective date: 20120502

FPAY Renewal fee payment (event date is renewal date of database)

Free format text: PAYMENT UNTIL: 20150518

Year of fee payment: 3

R150 Certificate of patent or registration of utility model

Ref document number: 4993574

Country of ref document: JP

Free format text: JAPANESE INTERMEDIATE CODE: R150

Free format text: JAPANESE INTERMEDIATE CODE: R150

LAPS Cancellation because of no payment of annual fees