JP4983330B2 - 冷凍サイクル装置 - Google Patents

冷凍サイクル装置 Download PDF

Info

Publication number
JP4983330B2
JP4983330B2 JP2007079079A JP2007079079A JP4983330B2 JP 4983330 B2 JP4983330 B2 JP 4983330B2 JP 2007079079 A JP2007079079 A JP 2007079079A JP 2007079079 A JP2007079079 A JP 2007079079A JP 4983330 B2 JP4983330 B2 JP 4983330B2
Authority
JP
Japan
Prior art keywords
refrigerant
temperature
refrigeration cycle
valve
cycle apparatus
Prior art date
Legal status (The legal status is an assumption and is not a legal conclusion. Google has not performed a legal analysis and makes no representation as to the accuracy of the status listed.)
Expired - Fee Related
Application number
JP2007079079A
Other languages
English (en)
Other versions
JP2008241072A (ja
Inventor
誠善 大林
多佳志 岡崎
Current Assignee (The listed assignees may be inaccurate. Google has not performed a legal analysis and makes no representation or warranty as to the accuracy of the list.)
Mitsubishi Electric Corp
Original Assignee
Mitsubishi Electric Corp
Priority date (The priority date is an assumption and is not a legal conclusion. Google has not performed a legal analysis and makes no representation as to the accuracy of the date listed.)
Filing date
Publication date
Application filed by Mitsubishi Electric Corp filed Critical Mitsubishi Electric Corp
Priority to JP2007079079A priority Critical patent/JP4983330B2/ja
Publication of JP2008241072A publication Critical patent/JP2008241072A/ja
Application granted granted Critical
Publication of JP4983330B2 publication Critical patent/JP4983330B2/ja
Expired - Fee Related legal-status Critical Current
Anticipated expiration legal-status Critical

Links

Images

Classifications

    • FMECHANICAL ENGINEERING; LIGHTING; HEATING; WEAPONS; BLASTING
    • F25REFRIGERATION OR COOLING; COMBINED HEATING AND REFRIGERATION SYSTEMS; HEAT PUMP SYSTEMS; MANUFACTURE OR STORAGE OF ICE; LIQUEFACTION SOLIDIFICATION OF GASES
    • F25BREFRIGERATION MACHINES, PLANTS OR SYSTEMS; COMBINED HEATING AND REFRIGERATION SYSTEMS; HEAT PUMP SYSTEMS
    • F25B2600/00Control issues
    • F25B2600/25Control of valves
    • F25B2600/2513Expansion valves
    • FMECHANICAL ENGINEERING; LIGHTING; HEATING; WEAPONS; BLASTING
    • F25REFRIGERATION OR COOLING; COMBINED HEATING AND REFRIGERATION SYSTEMS; HEAT PUMP SYSTEMS; MANUFACTURE OR STORAGE OF ICE; LIQUEFACTION SOLIDIFICATION OF GASES
    • F25BREFRIGERATION MACHINES, PLANTS OR SYSTEMS; COMBINED HEATING AND REFRIGERATION SYSTEMS; HEAT PUMP SYSTEMS
    • F25B2700/00Sensing or detecting of parameters; Sensors therefor
    • F25B2700/19Pressures
    • F25B2700/197Pressures of the evaporator
    • FMECHANICAL ENGINEERING; LIGHTING; HEATING; WEAPONS; BLASTING
    • F25REFRIGERATION OR COOLING; COMBINED HEATING AND REFRIGERATION SYSTEMS; HEAT PUMP SYSTEMS; MANUFACTURE OR STORAGE OF ICE; LIQUEFACTION SOLIDIFICATION OF GASES
    • F25BREFRIGERATION MACHINES, PLANTS OR SYSTEMS; COMBINED HEATING AND REFRIGERATION SYSTEMS; HEAT PUMP SYSTEMS
    • F25B2700/00Sensing or detecting of parameters; Sensors therefor
    • F25B2700/21Temperatures
    • F25B2700/2106Temperatures of fresh outdoor air

Landscapes

  • Air Conditioning Control Device (AREA)

Description

本発明は、冷媒循環回路と、冷媒循環回路から冷媒を排出したり冷媒循環回路に冷媒を封入したりする開閉弁とを備えた冷凍サイクル装置に関するものである。
近年、脱フロン化の流れを受けて、自然冷媒を用いた冷凍サイクル装置の開発が盛んに進められている。冷凍サイクル装置の適用先は、家庭用給湯を目的としたヒートポンプ式給湯器の他、カーエアコン、空気調和装置、冷凍機、冷蔵庫等である。自然冷媒を用いた冷凍サイクル装置として、特に二酸化炭素を冷媒として用いた冷凍サイクル装置が普及しつつある。二酸化炭素は、オゾン破壊係数が0、地球温暖化係数が1という特性を備え、冷媒として用いれば環境への負荷を小さくできるという利点を有する。また、二酸化炭素は、毒性も可燃性も無いという点で安全性に優れているばかりか、入手が容易であり、比較的安価であるという利点も有している。
ところで、二酸化炭素の臨界温度は31.1℃であり、フロンガスと比較すると低い温度で超臨界状態になる。そのため、冷凍サイクル装置の周囲温度(以下、「周囲温度」と称する)が二酸化炭素の臨界温度よりも高くなる場合が頻繁に発生することが考えられる。
ここで、冷凍サイクル装置に冷媒を再封入する場合を考える。
家庭用の冷凍サイクル装置が故障した場合、故障した装置を製造業者へ持ち込んで修理や交換をすることが容易に行える。一方、業務用冷凍サイクル装置が故障した場合には、業務停止という二次的被害が発生するので、二次的被害の拡大を防止するために、故障に対する迅速な対応が求められる。しかし、業務用の冷凍サイクル装置は、家庭用の冷凍冷凍サイクル装置よりも重量やサイズが大きいため、故障時に装置を製造業者に持ち込むことが難しい。このため、業務用冷凍サイクル装置の故障発生時には、冷凍サイクル装置が設置された場所で修理や部品交換を行うことが必要となる。
特許文献1には、冷凍サイクル装置の圧力に基づいて冷媒の充填量を調整するという冷媒充填方法および冷媒充填装置が記載されている。冷凍サイクル装置を製造業者に持ち込んだ場合には、このような冷媒充填方法を採用できるものの、冷凍サイクル装置が設置された場所で行うには、そのような冷媒充填のための装置を運搬したり、装置を冷凍サイクル装置に取り付けたりする必要があり、作業の規模が大きくなる。
特開2001−74342
冷凍サイクル装置が設置された場所で修理や部品交換を行う場合、最初に排出弁から冷媒を排出する工程が発生する。その後、修理や部品交換を行い、真空引きを行い、最後に冷媒を封入する工程が発生する。一般的に、冷媒排出から封入までの作業中、圧縮機は停止している。
また、新たに封入される冷媒は、ボンベに充填され、冷凍サイクル装置が設置された場所まで運搬される。作業者がこのボンベを排出弁に接続して、排出弁およびボンベの弁を開けば、ボンベから冷凍サイクル装置に冷媒が流入する。
次に、冷凍サイクル装置に封入される冷媒が二酸化炭素冷媒であり、一回のボンベ接続で封入できる冷媒量について説明する。
図15は、従来の冷凍サイクル装置において二酸化炭素冷媒を封入する場合の二酸化炭素冷媒の状態変化を示す図である。図15(a)は、ボンベ内および冷凍サイクル装置内の二酸化炭素冷媒の状態変化を示す図であり、図15(b)は図15(a)の大気圧付近を拡大して示した図である。図15(a)、(b)のいずれにおいても、横軸はエンタルピー、縦軸は絶対圧力を示す。図15(a)、(b)において、実線はボンベ内の二酸化炭素冷媒の状態変化を示し、破線は冷凍サイクル装置内の二酸化炭素冷媒の状態変化を示す。ここでは、周囲温度が40℃、ボンベの体積を9L、初期の二酸化炭素の充填量を7.0Kgとする。このときの圧力は14.7MPaである。また、冷凍サイクル装置の内容積を30Lとする。周囲温度が二酸化炭素の臨界温度よりも高いため、ボンベ内の二酸化炭素冷媒は超臨界状態になっている。
図15(a)の実線が示すように、ボンベ内の二酸化炭素冷媒の初期状態を状態aとする。ボンベと冷凍サイクル装置とを接続すると、ボンベ内の二酸化炭素冷媒は、温度については周囲温度と同一である状態を維持したままで、冷媒密度および圧力は低下して、最終的に状態bに至る。
一方、図15(a)、(b)の破線が示すように、冷凍サイクル装置内の二酸化炭素冷媒の初期状態を状態cとする。冷凍サイクル装置内の二酸化炭素冷媒も、温度については周囲温度と同一である状態を維持したままで、冷媒密度および圧力は上昇して、ボンベ内の圧力と同等になるまで変化し、最終的に状態bに至る。
ボンベ内および冷凍サイクル装置内の二酸化炭素冷媒の圧力は、最終状態bにおいては約6.7Mpaとなる。また、ボンベから冷凍サイクル装置へ移動した二酸化炭素冷媒の量は5.38Kgであり、1.62Kgはボンベ内に残留する。
上述の場合は、二酸化炭素冷媒は超臨界状態であるため、冷媒封入時の冷凍サイクル装置内の圧力はすぐに上昇するとともに、ボンベ内の圧力は極度に低下する。このため、一回のボンベ接続では二酸化炭素冷媒を冷凍サイクル装置に十分に封入できず、冷凍サイクル装置に必要な二酸化炭素を充填するために、満充填のボンベを複数回接続しなければならず、作業量が増えるだけでなく、二酸化炭素冷媒を十分充填するまでに時間が掛かる。
また、二酸化炭素のボンベから冷凍サイクル装置への流入速度を大きくすることを目的として、排出弁やボンベの弁の開度を大きくした場合を考え、図15(a)に点線で示す。図15(a)の点線が示すように、排出弁およびボンベの弁を開いた直後、初期状態aのボンベ内の二酸化炭素冷媒は、各弁の開度が大きいために急激に減圧し、減圧に伴い温度も低下して状態dに至る。一方、冷凍サイクル装置に二酸化炭素冷媒が流入すると、冷凍サイクル装置内の圧力が増加する。すると、ボンベと冷凍サイクル装置との圧力差が小さくなり、それ以上の二酸化炭素冷媒の封入が停滞気味になる。この後、ボンベ内の二酸化炭素冷媒が周囲温度との熱交換により熱を得れば、ボンベ内の冷媒圧力が増加し、ボンベから冷凍サイクル装置へ二酸化炭素冷媒が流入する。二酸化炭素冷媒の流入があれば、再びボンベ内の圧力が低下して温度も低下する。ボンベ内の冷媒状態は、上記の変化を繰り返して状態bに至る。
ボンベ内の二酸化炭素冷媒は、周囲温度と熱交換して徐々に熱量を得ており、減圧による温度低下を緩和するには、温度低下の速度に間に合わない。つまり、弁を開いた直後には二酸化炭素冷媒が冷凍サイクル装置に大量に移動するが、その後は、二酸化炭素冷媒は徐々にしか移動しない。
以上のように、図15において実線や破線で示したように二酸化炭素冷媒を封入した場合でも、点線で示したように排出弁やボンベの弁の開度を大きくした場合でも、二酸化炭素冷媒の封入に時間が掛かることは同じであり、冷凍サイクル装置内に封入できる二酸化炭素の量も同じである。
前述したように、業務用の冷凍サイクル装置の修理や部品交換時には迅速な対応のために、少ないボンベ数で、また短時間で冷凍サイクル装置へ十分な量の二酸化炭素冷媒を充填するために、ボンベに充填する二酸化炭素の量を増やすことを考えると、そのようなボンベの内圧は著しく高くなる。この場合、安全上、操作が困難になることが予想され、ボンベの耐圧も強固にする必要があり経済的に効率的ではない。
本発明は、冷凍サイクル装置が設置されている場所で冷媒を再封入する場合に、上記のような問題を解決するためになされたもので、冷媒を迅速に封入できるような冷凍サイクル装置を得ることを目的とする。
本発明に係る冷凍サイクル装置は、流入した冷媒を圧縮して吐出する圧縮機と、前記圧縮機が吐出した前記冷媒を凝縮させる凝縮器と、前記凝縮器からの前記冷媒を膨張させる膨張弁と、前記膨張弁からの前記冷媒を蒸発させて前記圧縮機に流入させる蒸発器とを備えた循環回路、前記蒸発器と前記圧縮機との間に設けられ、前記循環回路と外部又は高圧のガス冷媒を封入できるボンベと連通可能にする開閉弁、前記蒸発器若しくは前記蒸発器からの前記冷媒の温度を測定する温度測定器、前記圧縮機を停止させてから前記開閉弁を開いて前記冷媒を外部に排出させる場合に、前記温度測定器で測定された温度が所定の温度以下になるように前記膨張弁の開度を制御する制御回路、を備えたことを特徴とする。
また、本願発明に係る冷凍サイクル装置は、流入した冷媒を圧縮して吐出する圧縮機と、前記圧縮機が吐出した前記冷媒を凝縮させる凝縮器と、前記凝縮機からの前記冷媒を膨張させる膨張弁と、前記膨張弁からの前記冷媒を蒸発させて前記圧縮機に流入させる蒸発器とを備えた循環回路、前記圧縮機と前記凝縮器との間に備えられて、前記循環回路と外部又は高圧のガス冷媒を封入できるボンベを連通可能にする開閉弁、前記圧縮機と前期凝縮器の間に備えられ前記凝縮器からの前記冷媒の温度を測定する温度測定器、前記開閉弁を開いて前記冷媒を外部に排出させる場合に、前記温度測定器で測定された温度が所定の温度以下になるように前記膨張弁の開度を制御する制御回路、を備えたことを特徴とする。
本発明によれば、開閉弁を開く場合に制御回路が膨張弁の開度を調整することにより、開閉弁に向かって流れる冷媒により蒸発器が冷却される。その後、前記開閉弁に高圧のガス冷媒が封入されたボンベを接続し、ガス冷媒が循環回路に封入されると、封入されたガス冷媒は前記蒸発器で冷却されて圧力の上昇が抑制されるので、冷媒の封入が促進されるという効果を得ることができる。
また、本発明によれば、開閉弁を開く場合に制御回路が膨張弁の開度を調整することにより、開閉弁に向かって流れる冷媒によりガスクーラが冷却される。その後、前記開閉弁に高圧のガス冷媒が封入されたボンベを接続し、ガス冷媒が循環回路に封入されると、封入されたガス冷媒は前記ガスクーラで冷却されて圧力の上昇が抑制されるので、冷媒の封入が促進されるという効果を得ることができる。
実施の形態1.
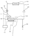
図1は、本発明の実施の形態1に係る冷凍サイクル装置100の構成図である。
図1に示す冷凍サイクル装置100は、圧縮機110、ガスクーラ120、電子式膨張弁130および蒸発器140が配管で接続された循環回路を備え、循環回路の内部を冷媒が循環する。圧縮機110は流入した冷媒を圧縮して吐出し、ガスクーラ120は圧縮機110が吐出した冷媒を凝縮させる凝縮器として動作し、電子式膨張弁130はガスクーラ120からの冷媒を膨張させる膨張弁として動作し、蒸発器140は電子式膨張弁130からの冷媒を蒸発させる。
また、冷凍サイクル装置100は、蒸発器140に送風して蒸発器140内の冷媒の蒸発を促進する送風機150、循環回路の内部と外部とを連通させる開閉弁160、電子式膨張弁130の開度を制御する制御回路170、周囲温度を測定する周囲温度測定器180を備えている。
冷媒は、冷凍サイクル装置の動作時には、圧縮機110、ガスクーラ120、電子式膨張弁130、蒸発器140、圧縮機110の順に循環回路内を流れており、開閉弁160が開いた時には、開閉弁160を介して外部に流出する。また、開閉弁160を開いて開閉弁160から循環回路内に冷媒を流入させることもできる。
制御回路170は、開閉弁160が開いたときに、周囲温度測定器180が測定した周囲温度値を取得して、この周囲温度値に基づき電子式膨張弁130の開度を制御する。図1において、制御回路170と電子式膨張弁130との接続、および制御回路170と周囲温度測定器180との接続を破線で示す。
図2は、実施の形態1に係る蒸発器140を示す図である。図2(a)は蒸発器140の全体概略図を示し、図2(b)は冷媒管141の断面と同じ方向から見たフィン142を示す。蒸発器140は、内部を冷媒が流れる冷媒管141、アルミあるいは銅などの金属で構成された複数のフィン142を備えている。冷媒管141は、複数の伝熱管141a、流入した冷媒を複数の伝熱管141aに分流させるヘッダー管141b、複数の伝熱管141aから流入した冷媒を合流させて蒸発器140外部に流出させるヘッダー管141cで構成されている。フィン142には複数の伝熱管貫通用穴143が形成され、伝熱管141aは伝熱管貫通用穴143を通っている。伝熱管141aの外周と伝熱管貫通用穴143の円周とはほぼ同じ寸法であり、伝熱管141aは伝熱管間通用穴143の外周に密着するように貫通している。
上記の構成により、蒸発器140に流入した冷媒は、冷媒管141により複数に分岐して流れ、フィン142と熱交換を行った後に合流して蒸発器140の外部に流出する。
次に、冷媒排出時の冷凍サイクル装置100の操作内容および冷媒の状態について説明する。
なお、ここでは冷凍サイクル装置に用いる冷媒は二酸化炭素冷媒とし、以降「冷媒」と称する。
図3は、実施の形態1における冷媒排出時の冷媒の状態変化を示す図である。図3において、横軸はエンタルピー、縦軸は絶対圧力を示す。
ここで、圧縮機110からガスクーラ120を経て電子式膨張弁130までの循環回路に滞留する冷媒の状態を状態A、電子式膨張弁130と蒸発器140との間の配管に滞留する冷媒の状態を状態B、蒸発器140と開閉弁160との間の配管に滞留する冷媒の状態を状態C、循環回路の外部に排出された冷媒の状態を状態Dとし、図1および図3に冷媒の状態A,B,C,Dを示す。
まず、圧縮機110を停止させた後に開閉弁160を開ける。開閉弁160を開ける際、制御回路170は冷媒排出開始を示す信号を与えられ、この冷媒排出開始信号が入力された制御回路170は電子式膨張弁130を閉じる。また、制御回路170は、周囲温度測定器180が測定した周囲温度値を取得する。
なお、冷媒排出開始信号については、開閉弁160の操作者が外部スイッチを操作して制御回路170に与えても良く、開閉弁160自らが開閉弁160の開閉を検知して、検知結果を冷媒排出開始信号として制御回路170に与えても良い。
この後、制御回路170は電子式膨張弁130を開くが、周囲温度値に基づき開度を調整する。圧縮機110から電子式膨張弁130までの循環回路に滞留して状態Aである冷媒は、電子式膨張弁130を通過すると膨張して圧力が低下し、状態Bになる。減圧されて状態Bになった冷媒は、蒸発器140を通過すると蒸発して周囲から熱を得て、状態Cになる。この状態Cの冷媒が開閉弁160から外部に流出すると、大気と同じ圧力である状態Dに遷移する。
冷媒は、蒸発器140を通過して状態Bから状態Cに遷移する際に熱交換して周囲から熱を奪うため、蒸発器140は冷媒排出前よりも温度が低下する。電子式膨張弁130による蒸発器140の温度の具体的な制御は、例えば、周囲温度値と電子式膨張弁130の開度との関係を制御回路170に予め設定しておき、制御回路170は、取得した周囲温度値から電子式膨張弁130の開度を調整するというものである。周囲温度値と電子式膨張弁130の開度との関係とは、所定の周囲温度と、蒸発器140出口の飽和液冷媒温度が当該周囲温度値以下になるような電子式膨張弁130の開きとの対応を示す関係である。
なお、蒸発器140が冷媒と熱交換した熱は、主にフィン142や伝熱管141aに蓄積される。また、電子式膨張弁130の開度調整により、飽和液冷媒温度は周囲温度よりも低くなるので、蒸発器140、特にフィン142や伝熱管141aを中心とした温度は、周囲温度よりも低くなる。
次に、冷媒封入時の冷凍サイクル装置100の操作内容および冷媒の状態について説明する。
まず、冷媒封入の前には、循環回路の真空引きが行われる。ところで、一般に、部品交換時のロウ付けにおいては、酸化スケール防止のために冷媒の置換に二酸化炭素が用いられている。この場合には冷媒封入前に装置内の真空引きを十分行う必要がある。しかし、本実施の形態1のように、冷媒自体が二酸化炭素である場合には、冷媒の置換を行う必要がなく、また冷媒を追加して封入することも容易であるため、真空引きを十分行う必要はなく、ボンベ内の冷媒が循環回路内に取り込まれる程度の真空引きを行えば良い。
冷媒封入の際、冷媒の入ったボンベを開閉弁160に接続して、開閉弁160およびボンベを開けば、冷媒がボンベから循環回路内に流入する。
図4は、冷媒封入時における冷媒の状態変化を示す図である。図4(a)は、ボンベ内および冷凍サイクル装置の循環回路内の二酸化炭素冷媒の状態変化を示す図であり、図4(b)は図4(a)の大気圧付近を拡大して示した図である。図4(a)、(b)のいずれにおいても、横軸はエンタルピー、縦軸は絶対圧力を示す。また、図4において、実線はボンベ内の冷媒の状態の変化を示し、冷媒封入前を状態E、冷媒封入時の最終状態を状態Fとする。破線は循環回路内の冷媒の状態の変化を示し、冷媒封入前を状態G、冷媒封入時の途中の状態を状態H、最終状態を状態Iとする。ここでは周囲温度が40℃程度であり、ボンベ内の冷媒温度も同程度である場合を想定する。
冷媒がボンベから循環回路に流入すると、状態Eであったボンベ内の冷媒は、温度を一定に維持、つまり周囲温度と略同じ温度のまま、状態Fに至る。このとき、冷媒の密度および圧力は、状態Fに近づくにつれて低下していく。
一方、状態Gであった循環回路内の冷媒は、ボンベからの冷媒の流入により圧力を増す。冷媒は、ボンベから開閉弁160に流入されたときには超臨界状態であるが、周囲温度よりも温度の低い蒸発器140で冷却されて気液二相状態や液相状態になる。冷媒が超臨界状態であるときよりも気液二相状態等であるときの方が冷媒の圧力が低いので、冷媒封入による循環回路内の圧力の上昇が抑制される。図4の破線が示すように、封入された冷媒は、伝熱管121aやフィン142等と同等の温度を維持する、また、封入とともに循環回路内の冷媒圧力は上昇するが、やがて圧力上昇が停止し(状態H)、液相へと変化し、最終的には状態Iに至る。
このように、循環回路内の冷媒の圧力上昇が抑制され、ボンベ内と循環回路内との圧力差が維持されるので、ボンベ内の冷媒は圧力の低い循環回路に流入しやすくなる。
次に、本実施の形態1において、ボンベを1本使った場合に封入できる冷媒の量を計算する。
ここでは、「背景技術」欄で従来の冷媒封入方法を説明した場合と同様、冷凍サイクル装置100の内容積が約30L、ボンベについては、内容積が約9L、初期の状態の充填量が7.0Kgとする。これにより、ボンベ内は、周囲温度40℃で圧力14.7MPaになる。また、冷媒封入前の蒸発器140の温度は約10℃とする。
このとき、循環回路およびボンベ内の最終的な圧力は4.5MPaとなり、循環回路内へ移動した冷媒は6.12kgとなる。蒸発器140が周囲温度よりも低い場合の二酸化炭素の封入量は、従来の冷媒封入方法よりも増えている。
以上のように、本実施の形態1においては、冷媒排出時に制御回路170が周囲温度値に基づき電子式膨張弁130の開度を調整し、蒸発器140の温度を低下させるので、冷凍サイクル装置100内に流入した冷媒が蒸発器140で冷却されて気液二相状態または液相状態に変化し、循環回路内の圧力の上昇が抑制される。これにより、ボンベから循環回路への冷媒封入を促進することができる。
ところで、上記実施の形態1では、制御回路170は、蒸発器140出口の飽和液冷媒温度が当該周囲温度値以下になるように電子式膨張弁130の開度を調整していた。しかし、冷媒は、冷凍サイクル装置に封入された際に臨界温度を超えずに超臨界状態にならなければ、封入が促進されるので、本実施の形態1において制御回路170が蒸発器140出口の飽和液冷媒温度が冷媒の臨界温度以下になるように電子式膨張弁130の開度を調整するように構成しても良い。また、制御回路170は、周囲温度または冷媒の臨界温度ではなく、所定の温度以下を参照し、飽和液冷媒温度が所定の温度以下になるように電子式膨張弁130の開度を調整しても良い。
また、上記実施の形態1では、圧縮機110の流路抵抗が大きく、冷媒は圧縮機110の吸入側から開閉弁160に向かって流れることがないという前提で、冷媒排出時の循環回路内の冷媒の流れが、圧縮機110、凝縮器120、電子式膨張弁130、蒸発器140、開閉弁160の順であることと説明していた。しかし、圧縮機110の流路抵抗が小さい場合や、冷媒を圧縮機110からガスヒーター120に向かって確実に流した場合には、圧縮機110の前後、例えば圧縮機110と開閉弁160との間や圧縮機110とガスヒータ120との間などに逆止弁を設けても良い。逆止弁は、圧縮機110の吸入側から開閉弁160への冷媒の流れを防ぐものである。
また、上記実施の形態1では、冷媒排出時には圧縮機110を停止させた後に電子式膨張弁130を閉じ、開閉弁160を開ける操作をしていた。しかし、電子式膨張弁130で調整する状態Aの冷媒を循環回路内に多く保持しておくために、圧縮機110を停止する前に電子式膨張弁130を閉じるようにしても良い。この場合、循環する冷媒の流れが電子式膨張弁130で止められるので、冷媒はガスクーラ120等に保持される。つまり、冷媒排出時に電子式膨張弁130および蒸発器140を通過する冷媒の量が増え、蒸発器140の冷却量が増えるので、冷媒封入時の冷媒冷却を強化して、冷媒封入もさらに促進することができる。
なお、従来の冷凍サイクル装置のように電子式膨張弁130で圧力制御を行わずに二酸化炭素冷媒を排出すると、二酸化炭素冷媒が開閉弁160の付近で急激に減圧する。開閉弁160の付近や冷凍サイクル装置の設置面などに二酸化炭素が到達すると、その付近にドライアイスが生成されて付着する場合がある。このように付着したドライアイスが気化すると、付着面を粉砕することもある。しかし、上記実施の形態1では、制御装置170が電子式膨張弁130の開度を制御するので、冷媒排出時の二酸化炭素は循環回路内で減圧して蒸発し、ドライアイスが生成されることもなく、ドライアイスが付着した面が粉砕されることもない。
さらに、上記実施の形態1では、冷媒が二酸化炭素である場合について説明したが、冷媒がHFC系冷媒の場合にも適用できる。つまり、周囲温度やHFC冷媒の臨界温度を考慮して制御回路170を動作させ、冷媒排出時の電子式膨張弁130の開度を調整して蒸発器140を冷却すれば、封入時のボンベと循環回路内との間の圧力差が確保されるので、冷媒が二酸化炭素である場合と同様、冷媒の封入を促進できるという効果を得られる。
実施の形態2.
実施の形態1では、制御回路170は周囲温度に基づき電子式開閉弁130の開度を調整していた。しかし、制御回路170について、周囲温度だけでなく、冷媒圧力も参照して電子式開閉弁130の開度を調整するよう構成しても良い。
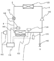
図5は、本発明の実施の形態2に係る冷凍サイクル装置100の構成図である。図5に示す実施の形態2に係る冷凍サイクル装置100は、実施の形態1に係る冷凍サイクル装置100に冷媒圧力測定器200を設けたものである。図1に示す実施の形態1に係る冷凍サイクル装置100と同一の構成には同一の符号を付し、その説明は省略する。
冷媒圧力測定器200は、蒸発器140と開閉弁160との間に設けられ、冷媒の圧力を測定するものである。すなわち、冷媒圧力測定器200は、蒸発器140から排出された冷媒の圧力を測定しており、測定した冷媒圧力値を制御装置170に送信する。
次に、冷媒排出時の冷凍サイクル装置100の操作内容および冷媒の状態について説明する。なお、実施の形態1と同一の内容については説明を省略する。
実施の形態1にて説明した図3の通り、冷媒排出時に膨張した状態Bの冷媒は、蒸発器140で空気と熱交換して蒸発し、状態Cに至る。ここで状態Aから状態Bになった冷媒は、電子式膨張弁130を通過したものであり、電子式膨張弁130の開度は、制御回路170により調整される。
なお、制御回路170の電子式膨張弁130の調整は、状態Cの冷媒の圧力から導かれる飽和液冷媒温度が、周囲温度よりも低くなることを目的として行うものである。つまり、制御回路170は、周囲温度測定器180が測定した周囲温度の値を周囲温度測定器180から取得するとともに、冷媒圧力測定器200が測定した状態Cの冷媒の圧力値を冷媒圧力測定器200から取得し、冷媒圧力値から飽和液冷媒温度を導いて、この飽和液冷媒温度が周囲温度値よりも小さくなるように電子式膨張弁130の開度を調整する。
ここで、電子式膨張弁130の開度の調整により冷媒の状態変化を調整する例を説明する。
なお、電子式膨張弁130の開度を変更すると、電子式膨張弁130から蒸発器140に至って、さらに開閉弁160まで流れる冷媒の速度や量も変化するため、冷媒の状態変化の要因は電子式膨張弁130の開度だけではないと言える。しかし、ここでは、冷媒の速度や量の変化量については一定であると仮定する。
まず、冷媒圧力値から導いた飽和液冷媒温度が周囲温度値よりも高い場合には、蒸発器140の温度も周囲温度よりも高い。そのため、制御回路170は、電子式膨張弁130の開度を現在よりも小さくする。これにより、状態Bの冷媒圧力はさらに低下するので、冷媒が蒸発器140で熱交換すると、電子式膨張弁130の開度変更前よりも蒸発器140の温度が低下する。
また、冷媒圧力値から導いた飽和液冷媒温度が周囲温度値よりも低い場合には、蒸発器140の温度も周囲温度よりも低い。このとき、電子式膨張弁130の開度は、蒸発器140を冷却するには十分でも、冷媒を排出するには小さすぎる可能性がある。電子式膨張弁130の開度が小さいと冷媒排出に時間が掛かるため、制御回路170は、電子式膨張弁130の開度を現在よりも大きくする。つまり、制御回路170は、冷媒圧力値から導いた飽和液冷媒温度が周囲温度値よりも低いままで、電子式膨張弁130の開度を大きくする。これにより、電子式膨張弁130による膨張率は低下して、状態Bの冷媒圧力は上昇するが、蒸発器140の出口付近での飽和液冷媒温度は周囲温度値よりも低いので、蒸発器140を十分冷却することができる。
冷媒封入時の操作および動作は実施の形態1と同じであり、開閉弁160から循環回路に流入した冷媒は、蒸発器140により冷却されるので、ボンベ内の冷媒は圧力の低い循環回路に流入しやすくなる。
以上のように、本実施の形態2によれば、制御装置170が、冷媒圧力から導いた飽和液冷媒温度、および周囲温度値に基づき電子式膨張弁130の開度を調整するので、冷媒排出時に蒸発器140を冷却することで冷媒の封入を効率的に促進できるという効果を得られるだけでなく、冷凍サイクル装置100の冷媒排出の時間を適切に調整できるという効果を得ることができる。
実施の形態3.
実施の形態2では、制御回路170は冷媒圧力値から導いた飽和液冷媒温度と周囲温度値とを比較して電子膨張弁130の開度を調整していたが、実施の形態3では、電子膨張弁130の開度の調整に、冷媒温度値と周囲温度値とを用いる。
図6は、本発明の実施の形態3に係る冷凍サイクル装置100の構成図である。図6に示す実施の形態3に係る冷凍サイクル装置100は、実施の形態1に係る冷凍サイクル装置100に冷媒温度測定器300を設けたものである。図1に示す実施の形態1に係る冷凍サイクル装置100と同一の構成には同一の符号を付し、その説明は省略する。
冷媒温度測定器300は、蒸発器140と開閉弁160との間に設けられ、冷媒の温度を測定するものである。すなわち、冷媒温度測定器300は、蒸発器140から排出された冷媒の温度を測定しており、測定した冷媒温度値を制御回路170に送信する。
実施の形態3に係る制御回路170は、状態Cの冷媒の温度が周囲温度値よりも低くなるように電子式膨張弁130の開度を制御する。
なお、ここでは、制御回路170は冷媒温度値が周囲温度値よりも低くなるように電子式膨張弁130の開度を調整する。しかし、冷却された蒸発器140は周囲の雰囲気により温度が上昇する可能性があることや、蒸発器140を効率良く冷やすこと考え、冷媒温度値が周囲温度値よりも所定の温度、例えば5度低くなるように制御しても良い。
また、ここでは、冷媒温度測定器300を蒸発器140と開閉弁160との間に設けたが、冷媒温度測定器300を、蒸発器140の出口側の冷媒配管や、開閉弁160の上流で開閉弁160の近傍に設けても良い。また、冷媒温度測定器300の設置箇所により循環回路内の冷媒温度が異なることを考慮して、電子式膨張弁130を、冷媒温度、周囲温度値および冷媒温度測定器300の設置箇所に基づき電子式膨張弁130の開度を調整するような構成にしても良い。
以上のように、本実施の形態3によれば、蒸発器140の出口における状態Cの冷媒温度値と周囲温度値とに基づき電子式膨張弁130を調整した場合にも、実施の形態2において冷媒圧力値と周囲温度値とに基づき制御した場合と同様、冷媒排出時に蒸発器140を冷却することができる。これにより、冷媒の封入を効率的に促進できるという効果を得られるだけでなく、冷凍サイクル装置100の冷媒排出の時間を適切に調整できるという効果を得ることができる。
ところで、上記実施の形態3では、制御回路170は、周囲温度値と冷媒温度値とを比較して電子式膨張弁130の開度を調整していたが、以降では、冷凍サイクル装置100に係るもう一つの形態を示す。
図7は、本発明の実施の形態3におけるもう一つの形態である冷凍サイクル装置100の蒸発器140を示す図である。実施の形態3に係るもう一つの形態は、図6に示すような冷媒温度測定器300の替わりに、蒸発器140に温度測定器301を設けたものである。なお、図1や図2に示す実施の形態1に係る冷凍サイクル装置100と同一の構成には同一の符号を付し、その説明は省略する。
図7において、温度測定器301は、複数のフィン142のうちの2枚の間に挟みこまれるように設置され、取り付けられているフィン142の温度を測定するものである。
一般に、冷媒排出時、冷媒は蒸発器140で熱交換して熱を取得するので、冷媒排出が進むにつれて、フィン142の温度は低下する。
そこで、制御回路170は、温度測定器301が測定したフィン142の温度が、周囲温度測定器180が測定した周囲温度値よりも小さくなるように電子式膨張弁130の開度を制御する。
ただし、蒸発器140の冷却により、使用する冷媒が蒸発器140の冷媒管141の中で凍結させないことが重要である。そのためには、制御回路170を、フィン142の温度が二酸化炭素の凝固点−56.6℃以上になるよう、また圧力0.518MPaになるよう制御するよう構成する。
このように、冷媒温度値の替わりにフィンの温度を測定した場合でも、蒸発器140の冷却の度合いが把握できるため、冷媒温度値と周囲温度値とに基づき電子式膨張弁130を制御した場合と同様の効果を得ることができる。
実施の形態4.
図8は、本発明の実施の形態4に係る冷凍サイクル装置100の構成図である。図8に示す冷凍サイクル装置100は、実施の形態1に係る冷凍サイクル装置100に、実施の形態2に係る冷媒圧力測定器200、および実施の形態3に係る冷媒温度測定器300を備えたものである。図1、図5および図6に示す実施の形態1、2および3に係る冷凍サイクル装置100と同一の構成には同一の符号を付し、その説明は省略する。
制御回路170は、状態Cの冷媒について、冷媒圧力測定器200から冷媒圧力値を取得して、この冷媒圧力値から冷媒の飽和液冷媒温度を導き、さらに冷媒温度測定器300から冷媒温度値を取得する。また、周囲温度測定器180から周囲温度値を取得し、冷媒圧力値、冷媒温度値および周囲温度値に基づき、状態Cの冷媒の飽和液冷媒温度が周囲温度値よりも低くなるように電子式膨張弁130の開度を調整する。
以上のように、実施の形態4によれば、状態Cの飽和液冷媒温度と周囲温度値とを比較して電子式膨張弁130の開度を調整する場合に、冷媒圧力値および冷媒温度値とを参照するので、電子式膨張弁130の開度の調整を排出時間や蒸発器140の冷却レベルなどの観点から効率良く行うことができる。
ところで、上記実施の形態4では、冷媒温度測定器300を用いて状態Cの冷媒温度値を取得したが、冷媒温度測定器300の替わりに、温度測定器301をフィン142に設けても良い。つまり、制御装置170は、状態Cの冷媒圧力値、フィン142の温度、および周囲温度値に基づき電子式膨張弁130の開度を調整することになる。この場合においても、状態Cの冷媒温度値を用いて電子式膨張弁130の開度を調整した場合と同様に、細密な調整をすることができる。
実施の形態5
図9は、本発明の実施の形態5に係る冷凍サイクル装置100の構成図である。図9に示す実施の形態5に係る冷凍サイクル装置100は、実施の形態4に係る冷凍サイクル装置100に開閉弁160の開度を調整する開度調整部161を備えたものである。図8に示す実施の形態4に係る冷凍サイクル装置100と同一の構成には同一の符号を付し、その説明は省略する。
制御回路170は、状態Cの冷媒圧力値および冷媒温度値と周囲温度値とに基づき状態Cの飽和液冷媒温度が周囲温度値よりも低くなるように電子式膨張弁130および開閉弁160の開度を計算し、電子式膨張弁130および開度調整部161にそれぞれの開度を指示する。
開度調整部161は、開閉弁160の開度を指示する信号を制御回路170から受信すると、指示された信号に基づき開閉弁160の開度を調整する。
以上のように本実施の形態5によれば、冷媒排出時に開閉弁160の開度も調整するので、電子式膨張弁130から開閉弁160までの冷媒圧力を、電子式膨張弁130のみを備えた場合よりも細かく制御することができる。
なお、上述では、制御回路170は冷媒圧力値と冷媒温度値と周囲温度値とに基づいて、電子式膨張弁130および開閉弁160の開度を調整する旨を説明した。しかし、制御回路170は、冷媒圧力値と周囲温度値とに基づき開度を調整したり、冷媒温度値と周囲温度値に基づき開度を調整したり、フィン142に設けた温度測定器301から取得したフィンの温度と周囲温度値に基づき開度を調整しても良い。
実施の形態6.
図10は、本発明の実施の形態6に係る冷凍サイクル装置100の構成図である。図10に示す実施の形態6に係る冷凍サイクル装置100は、実施の形態4に係る冷凍サイクル装置100に蒸発器140に散水する散水器600を備えたものである。図8に示す実施の形態4に係る冷凍サイクル装置100と同一の構成には同一の符号を付し、その説明は省略する。
制御回路170は、冷媒排出開始信号が与えられると、散水器600に散水の開始を指示する散水開始信号を散水器600に出力する。冷媒排出が終了した旨を検知すると、散水の終了を指示する散水終了信号を散水器600に出力する。また、電子式膨張弁130を調整するのに伴い、散水量も計算して散水器600に指示しても良い。
散水器600は、制御回路170からの指示に基づき、蒸発器140のフィン142に散水するものである。散水される水は、散水器600が備えるタンクに貯水されていた水であったり、外部から供給されるものであったりする。
次に、冷媒排出時の蒸発器140について説明する。
冷媒排出時、電子式膨張弁130の開度が調整されて、蒸発器140において冷媒が熱交換するので、蒸発器140、特にフィン142の温度は、冷媒排出前に比べて低下する。ここで、蒸発器140の温度が冷凍サイクル装置100の周囲の空気が露点よりも低くなると、蒸発器140に結露が発生する。冷媒の蒸発量によっては、結露して蒸発器140に付着した水分は冷やされて霜となる。これらの結露水や着霜より、蒸発器140の冷却量は増加する。特に、本実施の形態6では、冷媒放出時に蒸発器140が散水器600から散水されるので、散水しない場合よりも蒸発器140に付着する水分や着霜量が増加するとともに、蒸発器140の冷却量も増加する。
蒸発器140に付着した氷や水分には、潜熱としての蓄熱がされるので、の冷却量が増加するので、蒸発器140は冷媒封入時に封入された冷媒もさらに冷却でき、冷媒の超臨界状態への状態変化を抑制することができる。
以上のように、本実施の形態6によれば、蒸発器140は、冷媒排出時に散水されることで、蓄積する冷却量が増加するので、冷媒封入時に流入した冷媒を冷却して冷媒の封入を促進することができる。
ところで、上述では、電子式膨張弁130の開度を調整する際に、蒸発器140に散水する場合について説明した。しかし、電子式膨張弁130だけでなく開閉弁160の開度も調整する場合にも、蒸発器140に散水しても良い。特に、電子式膨張弁130の開度および開閉弁160の開度を調整するのに伴い、散水量を調整すれば、蒸発器140を効率的に冷却することができる。
実施の形態7.
図11は、本実施の形態7に係る冷凍サイクル装置100の構成図である。図11に示す実施の形態7に係る冷凍サイクル装置100は、実施の形態1に係る冷凍サイクル装置100に蓄熱用熱交換器700および蓄熱用熱交換器700の蓄熱材の温度を測定する蓄熱材温度測定器701を設けたものである。図1に示す実施の形態1に係る冷凍サイクル装置100と同一の構成には同一の符号を付し、その説明は省略する。
図12は、蓄熱用熱交換器700の構成を示す図である。図12(a)は図11と同じ方向から見た断面図、図12(b)は図12(a)のX−X’断面図である。蓄熱用熱交換器700は、容器702の中に蓄熱材703が充填されており、この容器の中を循環回路を形成する冷媒配管704が貫通するものである。蓄熱材703は、水や空気、その他蓄熱できる媒体であれば材料を問わない。
次に冷媒排出時の冷凍サイクル装置100について説明する。
冷媒排出時、状態Aであった冷媒は電子式膨張弁130で減圧し、状態Bになる。その後、冷媒は蓄熱用熱交換器700と熱交換して蓄熱材703を冷却する。冷媒は、さらに蒸発器140を通過して最終的に状態Cとなり、開閉弁160から循環回路の外に排出される。
なお、制御回路170は、蓄熱材温度測定器701が測定した蓄熱材703の温度に基づき、電子式膨張弁130の開度を調整する。
蓄熱材703は冷却されているため、封入された冷媒が冷媒配管704を通過すると、冷却されて気液二相状態や液相状態になり、圧力の上昇が抑制される。これにより、ボンベから冷凍サイクル装置への冷媒の流入が促進される。
なお、蓄熱材703の熱容量や電子式膨張弁130の開度の調整によっては、冷媒排出時に、蓄熱用熱交換器700だけでなく蒸発器140も冷却される。蒸発器140も冷却されている場合には、封入された冷媒は、蒸発器140および蓄熱用熱交換器700を通過した際に冷却される。
以上のように、本実施の形態7によれば、冷媒排出時に蒸発器140だけでなく蓄熱用熱交換器700も冷却するので、冷媒封入時の冷媒冷却を強化して冷媒の封入を促進することができる。
ところで、上述では、冷媒排出時の電子式膨張弁130を蓄熱材703が所定温度よりも低くなるよう調整する旨について説明した。しかし、蒸発器140から流出した冷媒の圧力や温度、蒸発器140のフィン142の温度なども参照して電子式膨張弁130の開度を調整しても良い。また、冷媒排出時に電子式膨張弁130だけでなく、開閉弁調整部161を介して開閉弁160の開度を調整しても良い。
また、上述においては、蓄熱用熱交換器700を電子式膨張弁130と蒸発器140との間に設けた。しかし、蒸発器140と開閉弁160との間に設け、冷媒排出時には蒸発器140および蓄熱用熱交換器700を冷却するように電子式膨張弁130の開度を調整しても良い。
実施の形態8.
実施の形態1から7では、冷媒排出時に主に蒸発器140や蓄熱用熱交換機700を冷却する場合について説明した。本実施の形態8では、主に給湯用の水を冷却する場合について説明する。
図13は、本実施の形態8に係る冷凍サイクル装置100の構成図である。図13に示す実施の形態8に係る冷凍サイクル装置100は、冷媒を排出したり封入したりする開閉弁160を圧縮機110とガスクーラ120との間に設けたものである。図1に示す本実施の形態1に係る冷凍サイクル装置100と同一の構成には同一の符号を付し、その説明は省略する。
図13において、冷媒圧力検出器200および冷媒温度検出器300はガスクーラ120と開閉弁160との間に設けられている。また、ガスクーラ120は、給湯用の配水管801やタンク802を備え、ガスクーラ120の筐体内では循環回路の冷媒と配水管801内の水とが熱交換する。さらに、配水管801やタンク802にはバルブ803および804が設けられ、バルブの開閉により給水元や給水先との水の流入出を制御する。また、給水温度測定器805が配水管801のガスクーラ120への入口部に設けられ、水温度を測定する。
なお、図13では図示しないが、制御回路170と、冷媒圧力測定器200、冷媒温度測定器300、給水温度測定器805、バルブ802およびバルブ803とは接続されており、制御回路170と各装置とは測定値や制御指令を送受信する。
図14は、本実施の形態8に係るガスクーラ120の構成図である。図14(a)はガスクーラ120の冷媒配管121を示す図であり、図14(b)は冷媒配管121の断面を示す図である。
冷媒配管121はガスクーラ120の中で螺旋状に配管されており、水配管801はガスクーラ120の冷媒配管121の周りに密着して、水配管801とともに螺旋状に配管されている。
制御回路170は、冷媒排出開始信号が入力されると、バルブ803および804を閉じ、給湯用の水はバルブ803からバルブ804までの間の配水管801やタンク802に滞留する。また、制御回路170は、給水温度測定器805から水温度値を、冷媒圧力測定器200から冷媒圧力値を、冷媒温度測定器300から冷媒温度値を取得し、これらの値に基づき、電子式膨張弁103の開度を調整する。冷媒排出時の冷媒と水との熱交換により、ガスクーラ120内の水温度は、周囲温度に対し所定温度低くなる。
水配管801やタンク802に滞留した水は、ガスクーラ120を通過する冷媒と熱交換し、冷却される。制御回路170は、水温度値、冷媒温度値、冷媒圧力値等に加え、滞留する水の量も参照して、電子式膨張弁103の開度や開閉弁160の開度を調整しても良い。
次に、冷媒を封入する場合について説明する。冷媒は、開閉弁160から冷媒が封入されると、圧縮機110と、ガスクーラ120に向かって流れる。ガスクーラ120を通過する冷媒は、水配管801やタンク802に滞留した水に冷却される。すると、実施の形態1〜7と同様、冷媒圧力の上昇が抑制されるので、冷媒の封入が促進される。
以上のように、実施の形態8によれば、冷媒排出時に、排出される冷媒をガスクーラ120で蒸発させることで、ガスクーラ120で熱交換される水を冷却できるので、冷媒封入時に、流入した冷媒を冷却できる。よって、実施の形態1等と同様、冷媒封入時に冷媒の圧力上昇を抑制できるため、冷媒封入を促進することができる。
本発明の実施の形態1に係る冷凍サイクル装置の構成図である。 本発明の実施の形態1に係る蒸発器104の構成図である。 本発明の実施の形態1において冷媒を排出する際の冷媒の状態変化図である。 本発明の実施の形態1において冷媒を封入する際の冷媒の状態変化図である。 本発明の実施の形態2に係る冷凍サイクル装置の構成図である。 本発明の実施の形態3に係る冷凍サイクル装置の構成図である。 本発明の実施の形態3に係る蒸発器104の構成図である。 本発明の実施の形態4に係る冷凍サイクル装置100の構成図である。 本発明の実施の形態5に係る冷凍サイクル装置100の構成図である。 本発明の実施の形態6に係る冷凍サイクル装置100の構成図である。 本発明の実施の形態7に係る冷凍サイクル装置100の構成図である。 本発明の実施の形態7に係る蓄熱用熱交換機700の構成図である。 本発明の実施の形態8に係る冷凍サイクル装置100の構成図である。 本発明の実施の形態8に係るガスクーラ120の構成図である。 従来の冷凍サイクル装置において冷媒を封入する際の冷媒の状態変化を説明する図である。
符号の説明
100 冷凍サイクル装置、110 圧縮機、120 ガスクーラ、130 電子式膨張弁、140 蒸発器、142 フィン、160 開閉弁、161 開閉弁制御部、170 制御回路、180 周囲温度測定器、200 冷媒圧力測定器、300 冷媒温度測定器、600 散水器、700 蓄熱用熱交換器、701 蓄熱材温度測定器、801 配水管、802 タンク、803バルブ、804 バルブ

Claims (10)

  1. 流入した冷媒を圧縮して吐出する圧縮機と、
    前記圧縮機が吐出した前記冷媒を凝縮させる凝縮器と、
    前記凝縮器からの前記冷媒を膨張させる膨張弁と、
    前記膨張弁からの前記冷媒を蒸発させて前記圧縮機に流入させる蒸発器と
    を備えた循環回路、
    前記蒸発器と前記圧縮機との間に設けられ、前記循環回路と外部又は高圧のガス冷媒を封入できるボンベと連通可能にする開閉弁、
    前記蒸発器若しくは前記蒸発器からの前記冷媒の温度を測定する温度測定器、
    前記圧縮機を停止させてから前記開閉弁を開いて前記冷媒を外部に排出させる場合に、前記温度測定器で測定された温度が所定の温度以下になるように前記膨張弁の開度を制御する制御回路、
    を備えた冷凍サイクル装置。
  2. 請求項1記載の冷凍サイクル装置において、前記制御回路は前記温度測定器で測定された温度が臨界温度以下になるように前記開閉弁を調整することを特徴とする冷凍サイクル装置。
  3. 請求項1又は2に記載の冷凍サイクル装置において、前記蒸発器と前記開閉弁の間に冷媒の圧力を測定する圧力計測装置を備え、前記制御回路は前記温度測定器で測定された温度が飽和冷媒温度以下になるように前記開閉弁を調整することを特徴とする冷凍サイクル装置。
  4. 請求項1乃至3のいずれかに記載の冷凍サイクル装置において、前記蒸発器のフィンに水を供給する散水器を備え、制御回路は前記温度測定器で測定された温度が所定の温度以下になるように前記膨張弁の開度を調整することを特徴とする冷凍サイクル装置。
  5. 請求項4に記載の冷凍サイクル装置において、前記制御回路は前記温度測定器で測定された温度が所定の凝固点温度以下になるように前記膨張弁の開度を調整することを特徴とする冷凍サイクル装置。
  6. 請求項1乃至5のいずれかに記載の冷凍サイクル装置において、前期膨張弁と前記蒸発器の間に冷媒と熱を交換する蓄熱材を有する蓄熱器を備えたことを特徴とする冷凍サイクル装置。
  7. 流入した冷媒を圧縮して吐出する圧縮機と、
    前記圧縮機が吐出した前記冷媒を凝縮させる凝縮器と、
    前記凝縮機からの前記冷媒を膨張させる膨張弁と、
    前記膨張弁からの前記冷媒を蒸発させて前記圧縮機に流入させる蒸発器と
    を備えた循環回路、
    前記圧縮機と前記凝縮器との間に備えられて、前記循環回路と外部又は高圧のガス冷媒を封入できるボンベを連通可能にする開閉弁、
    前記圧縮機と前期凝縮器の間に備えられ前記凝縮器からの前記冷媒の温度を測定する温度測定器、
    前記開閉弁を開いて前記冷媒を外部に排出させる場合に、前記温度測定器で測定された温度が所定の温度以下になるように前記膨張弁の開度を制御する制御回路、
    を備えた冷凍サイクル装置。
  8. 請求項7記載の冷凍サイクル装置において、前記制御回路は前記温度測定器で測定された温度が臨界温度以下になるように前記開閉弁を調整することを特徴とする冷凍サイクル装置。
  9. 請求項7又は8に記載の冷凍サイクル装置において、前記蒸発器と前記開閉弁の間に冷媒の圧力を測定する圧力計測装置を備え、前記制御回路は前記温度測定器で測定された温度が飽和冷媒温度以下になるように前記開閉弁を調整することを特徴とする冷凍サイクル装置
  10. 請求項1乃至9のいずれかに記載の冷凍サイクル装置において、前記冷媒は二酸化炭素を主成分とすることを特徴とする冷凍サイクル装置。
JP2007079079A 2007-03-26 2007-03-26 冷凍サイクル装置 Expired - Fee Related JP4983330B2 (ja)

Priority Applications (1)

Application Number Priority Date Filing Date Title
JP2007079079A JP4983330B2 (ja) 2007-03-26 2007-03-26 冷凍サイクル装置

Applications Claiming Priority (1)

Application Number Priority Date Filing Date Title
JP2007079079A JP4983330B2 (ja) 2007-03-26 2007-03-26 冷凍サイクル装置

Publications (2)

Publication Number Publication Date
JP2008241072A JP2008241072A (ja) 2008-10-09
JP4983330B2 true JP4983330B2 (ja) 2012-07-25

Family

ID=39912643

Family Applications (1)

Application Number Title Priority Date Filing Date
JP2007079079A Expired - Fee Related JP4983330B2 (ja) 2007-03-26 2007-03-26 冷凍サイクル装置

Country Status (1)

Country Link
JP (1) JP4983330B2 (ja)

Families Citing this family (7)

* Cited by examiner, † Cited by third party
Publication number Priority date Publication date Assignee Title
JP5693247B2 (ja) * 2011-01-11 2015-04-01 三菱電機株式会社 冷凍サイクル装置及び冷媒排出装置
IN2014DN06976A (ja) * 2012-04-17 2015-04-10 Danfoss As
FR2999691B1 (fr) * 2012-12-19 2018-09-14 Valeo Systemes Thermiques Systeme de regulation electrique d'une detente d'un fluide refrigerant et procede de commande d'un tel systeme
JP2019214542A (ja) * 2018-06-14 2019-12-19 Jnc株式会社 β−ヒドロキシラクトン(メタ)アクリル酸エステルの製造方法
JP2020071002A (ja) * 2018-11-01 2020-05-07 株式会社長府製作所 ヒートポンプ装置
CN115352246B (zh) * 2022-08-23 2024-07-23 重庆长安汽车股份有限公司 电子膨胀阀开度确定方法、控制方法、系统、设备及介质
CN120239800A (zh) * 2022-11-28 2025-07-01 松下知识产权经营株式会社 除湿装置

Family Cites Families (18)

* Cited by examiner, † Cited by third party
Publication number Priority date Publication date Assignee Title
JPH0743173B2 (ja) * 1986-07-18 1995-05-15 株式会社日立製作所 冷凍システム
JPS646650A (en) * 1987-06-26 1989-01-11 Yamato Setsubi Koji Kk Refrigerating method
JPH04208628A (ja) * 1990-09-28 1992-07-30 Mitsubishi Heavy Ind Ltd 磁気浮上車両用空調装置
JPH0468983U (ja) * 1990-10-24 1992-06-18
JPH05164437A (ja) * 1991-12-12 1993-06-29 Hitachi Ltd 空気調和機
JPH05288439A (ja) * 1992-04-03 1993-11-02 Daikin Ind Ltd 冷凍装置
JPH0674622A (ja) * 1992-08-27 1994-03-18 Zexel Corp 冷媒充填方法
JPH06323639A (ja) * 1993-05-10 1994-11-25 Hitachi Ltd 冷水供給装置の制御方法
JP3118386B2 (ja) * 1995-01-20 2000-12-18 三洋電機株式会社 自動販売機の冷却装置
JPH08254376A (ja) * 1995-03-17 1996-10-01 Mitsubishi Electric Corp 空気調和装置
JPH08324232A (ja) * 1995-05-30 1996-12-10 Mitsubishi Heavy Ind Ltd 車両用空調装置の制御装置
JPH10311614A (ja) * 1997-05-13 1998-11-24 Fuji Electric Co Ltd 蓄熱式冷却装置
JP2001071741A (ja) * 1999-09-02 2001-03-21 Zexel Valeo Climate Control Corp 車両用空調装置
JP4476456B2 (ja) * 2000-08-08 2010-06-09 三菱電機株式会社 冷凍サイクル装置
JP2002098425A (ja) * 2000-09-21 2002-04-05 Toshiba Kyaria Kk 冷凍サイクル装置
JP2002372346A (ja) * 2001-06-13 2002-12-26 Daikin Ind Ltd 冷媒回路及びその運転検査方法並びに冷媒充填方法及び冷媒充填用閉鎖弁
JP2004019884A (ja) * 2002-06-19 2004-01-22 Mitsubishi Electric Building Techno Service Co Ltd 冷媒ボンベ
JP4243211B2 (ja) * 2004-04-06 2009-03-25 株式会社テージーケー 冷凍システム

Also Published As

Publication number Publication date
JP2008241072A (ja) 2008-10-09

Similar Documents

Publication Publication Date Title
JP4983330B2 (ja) 冷凍サイクル装置
JP5334909B2 (ja) 冷凍空調装置並びに冷凍空調システム
TWI325948B (en) Refrigerant charging method in refrigeration system using carbon dioxide as refrigerant
KR101277709B1 (ko) 이산화탄소를 냉매로서 이용하는 냉동 장치에 있어서의 냉매 충전 방법
KR20180048391A (ko) 시험 챔버
JP6420686B2 (ja) 冷凍サイクル装置
JP4273493B2 (ja) 冷凍空調装置
JP2000346466A (ja) 蒸気圧縮式冷凍サイクル
JP2017161115A (ja) 空調給湯システム
EP2918921B1 (en) Hot water generator
KR20100027353A (ko) 냉장냉동장치
JP7357915B2 (ja) 水素冷却装置、水素供給システム及び冷凍機
JP2009139012A (ja) 冷凍空調装置
JP2015172452A (ja) 温水生成装置
JP2015087020A (ja) 冷凍サイクル装置
US12474096B2 (en) Refrigeration cycle device
JP2013002737A (ja) 冷凍サイクル装置
JP2016053455A (ja) 冷却装置
JP2017161164A (ja) 空調給湯システム
JP6549403B2 (ja) 冷却システム
JP2007024488A (ja) 冷却装置
JP2008298307A (ja) 冷凍サイクル
JP4548481B2 (ja) コンテナ用冷凍装置
KR101495788B1 (ko) 중고압 열을 팽창시켜 제상 기능을 갖는 히트펌프용 이원 난방장치
JP2016133280A (ja) 冷凍サイクル装置

Legal Events

Date Code Title Description
A621 Written request for application examination

Free format text: JAPANESE INTERMEDIATE CODE: A621

Effective date: 20090826

A977 Report on retrieval

Free format text: JAPANESE INTERMEDIATE CODE: A971007

Effective date: 20110601

A131 Notification of reasons for refusal

Free format text: JAPANESE INTERMEDIATE CODE: A131

Effective date: 20110712

A521 Written amendment

Free format text: JAPANESE INTERMEDIATE CODE: A523

Effective date: 20110907

TRDD Decision of grant or rejection written
A01 Written decision to grant a patent or to grant a registration (utility model)

Free format text: JAPANESE INTERMEDIATE CODE: A01

Effective date: 20120327

A01 Written decision to grant a patent or to grant a registration (utility model)

Free format text: JAPANESE INTERMEDIATE CODE: A01

A61 First payment of annual fees (during grant procedure)

Free format text: JAPANESE INTERMEDIATE CODE: A61

Effective date: 20120409

FPAY Renewal fee payment (event date is renewal date of database)

Free format text: PAYMENT UNTIL: 20150511

Year of fee payment: 3

R250 Receipt of annual fees

Free format text: JAPANESE INTERMEDIATE CODE: R250

R250 Receipt of annual fees

Free format text: JAPANESE INTERMEDIATE CODE: R250

LAPS Cancellation because of no payment of annual fees