JP4967672B2 - 乗客コンベアの安全装置 - Google Patents

乗客コンベアの安全装置 Download PDF

Info

Publication number
JP4967672B2
JP4967672B2 JP2007006595A JP2007006595A JP4967672B2 JP 4967672 B2 JP4967672 B2 JP 4967672B2 JP 2007006595 A JP2007006595 A JP 2007006595A JP 2007006595 A JP2007006595 A JP 2007006595A JP 4967672 B2 JP4967672 B2 JP 4967672B2
Authority
JP
Japan
Prior art keywords
passenger conveyor
skirt guard
safety device
light
photoelectric beam
Prior art date
Legal status (The legal status is an assumption and is not a legal conclusion. Google has not performed a legal analysis and makes no representation as to the accuracy of the status listed.)
Expired - Fee Related
Application number
JP2007006595A
Other languages
English (en)
Other versions
JP2008174315A (ja
Inventor
美克 林
Current Assignee (The listed assignees may be inaccurate. Google has not performed a legal analysis and makes no representation or warranty as to the accuracy of the list.)
Mitsubishi Electric Corp
Original Assignee
Mitsubishi Electric Corp
Priority date (The priority date is an assumption and is not a legal conclusion. Google has not performed a legal analysis and makes no representation as to the accuracy of the date listed.)
Filing date
Publication date
Application filed by Mitsubishi Electric Corp filed Critical Mitsubishi Electric Corp
Priority to JP2007006595A priority Critical patent/JP4967672B2/ja
Publication of JP2008174315A publication Critical patent/JP2008174315A/ja
Application granted granted Critical
Publication of JP4967672B2 publication Critical patent/JP4967672B2/ja
Expired - Fee Related legal-status Critical Current
Anticipated expiration legal-status Critical

Links

Images

Landscapes

  • Escalators And Moving Walkways (AREA)

Description

本発明は、乗客コンベアの安全装置に関するものである。
従来の乗客コンベアの安全装置は、乗客コンベアにおける踏段とスカートガードとの隙間への異物の落下防止と挟まれ防止の対策として、踏段の移動方向に沿って延設され、下辺に傾斜面が形成されるビーム体と、ビーム体に植込まれ、踏段とスカートガードとの隙間を覆うように下方へ傾斜して設けられたブラシ部材を備えたものが提案されている(例えば、特許文献1参照)。
上記従来技術は、例えば踏段とスカートガードとの隙間に異物などが侵入前に上記ブラシ部材によって、該侵入を防止するのに有効である。
特開2004−217323号公報
しかし、上記乗客コンベアの安全装置は、踏段の踏面上からスカートガード側に傘、靴などが押し込まれた場合には、異物を階段の踏面に案内するブラシ部材が充分に機能しないという課題があった。
本発明は、上記のような課題を解決させるためになされたもので、踏段とスカートガードとの隙間付近の異物を速やかに検出する乗客コンベアの安全装置を得ることを課題としている。
本発明は、乗客コンベア内を循環移動する複数の踏段と、該踏段の両側に設けられると共に、前記踏段の移動方向に延設されるスカートガードとを備えた乗客コンベアの安全装置において、前記スカートガードに対して前記踏段が移動する領域の反対側に設けられ、前記スカートガードと前記踏段の側面で形成される隙間の上部近傍を通過する光電ビームを発生する投光手段と、前記光電ビームの通過経路間に該光電ビームを反射させる反射手段と、該光電ビームを受光すると共に、該受光が遮断されることにより遮断信号を発生する受光手段と、該遮断信号に基づき異常と判断すると共に、異常信号を発生する異常検出手段とを備えたことを特徴とするものである。
ここで、「前記隙間の上部近傍」は、該隙間に被対象物が巻き込まれることを防止する観点から、隙間の上部とその近傍に被対象物が侵入したことを検知する必要がある。
隙間から離れた位置を検出すると、該隙間に被対象物が巻き込みを未然に防止するという観点からは、好ましい。しかしながら、隙間から離れ過ぎた位置を検出領域に含めると、誤動作の可能性が高くなる。
このため、上記を考慮すると、「前記隙間の上部近傍」は、該隙間の上部からインナーデッキまでの高さで、隙間から踏段の内側に踏段のクシの一ピッチ分程度が好ましい。
本発明によれば、例えば踏段の踏面からスカートガード側に乗客の靴が接近すると、上記受光器は、遮断信号を発生し、異常検出手段は、該遮断信号に基づいて異常信号を発生する。これにより、異常信号により上記踏段の踏面からスカートガード側に接近した乗客の靴が接近したことを検知できるという効果がある。
本発明をより詳細に説明するため、添付の図面に従って説明する。なお、各図中、同一部分には同一の符号を付しており、その重複説明は適宜に簡略化ないし省略する。
実施の形態1.
本発明の一実施形態を図1から図4により説明する。図1は本発明の実施の形態を示す乗客コンベアの下部側の側面図、図2は図1のAA断面図、図3は図1のBB断面図、図4は乗客コンベアの安全装置を示すブロック構成図である。
図1において、乗客コンベアは主枠1内を無端状に連結された踏段チェン(図示せず)に取り付けられた踏段2が主枠1内に配設されたガイドレール(図示せず)に案内されて主枠1内を循環移動するように形成されている。
踏段2の両側に欄干3が主枠1に立設されており、欄干3の上方に取り付けられた移動手摺4が踏段2と同期して循環移動するように形成されている。
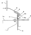
図2において、踏段2の両側に踏段2の側面と任意の隙間Gを設けてスカートガード5が乗客コンベアの移動方向に延設されている。スカートガード5の上端を覆って取り付けられるインナーデッキ6が乗客コンベアの移動方向に延設されている。
主枠1内に立設される縦柱1aに略L字断面形状のスカートガード取付金7が乗客コンベアの移動方向に延設されている。
スカートガード5は、スカートガード取付金7にネジ等(図示せず)で固定され、スカートガード5の上端部をインナーデッキ6が覆った状態で、インナーデッキ6がスカートガード取付金7にネジ等(図示せず)で固定される。インナーデッキ6の下方コーナ部6a部に、投光器8aと上記投光器8aから乗客コンベアの移動方向に任意の間隔で受光器8bがインナーデッキ6にネジ等(図示せず)で固定される。また、投光器8a、および受光器8bが取り付けられるインナーデッキ6には、上記投光器8a、および受光器8bの配線9を挿通させるための孔(図示せず)が開けられている。
また、上記投光器8aと該投光器8aから照射される光電ビーム10を受光する受光器8bとの取り付け間隔は、光電ビーム10を照射する投光器8aの照射能力、つまり該光電ビーム10を受光する受光器8bが動作しうる動作可能最大到達距離から設定されるが、一般に上記動作可能最大到達距離より乗客コンベアの全長が大であるため、上記投光器8aと受光器8bが一対となる検知センサー8は乗客コンベアの移動方向に複数組連続して配置される。
また、上記投光器8a、および受光器8bの取り付け位置(高さ方向)は、例えば乗客の靴により光電ビーム10が遮断される位置となるように設定される。
ここで、上記の投光器8aとは、例えば不可視の赤外光を発する発光ダイオードを光源として、発光された分散光を凸レンズで光束として照射するものであり、この光束を光電ビームという。
また、上記投光器8aから照射される光電ビーム10を受光する受光器8bは、例えば受光素子としてのフォトトランジスタを有しており、上記光電ビーム10を凸レンズで上記フォトトランジスタに集束させて、上記フォトトランジスタが受光する光量に応じて上記受光素子から電流が出力される。
図4において、安全装置11は受光器8bからの信号に基づいて異常を検出する異常検出手段12と、上記異常検出手段12からの信号に基づいて遠隔監視盤や乗客コンベアの周囲等の外部に対して警告を発報する警告発報手段13、および乗客コンベアの運転を減速させる運転制御手段14で構成されている。
上記のように構成された乗客コンベアの安全装置の動作を図1から図4を参照して説明する。投光器8aから受光器8bに向けて光電ビーム10が照射する。該受光器8bが光電ビーム10を受光している場合は、異常検出手段12は正常と判断し、乗客コンベアは通常の運転を行なう。
ここで、例えば踏段2の踏面からスカートガード5側に接近した乗客の靴が光電ビーム10を遮断した場合、上記受光器8bからの遮断信号に基づき異常検出手段12により発生される異常信号を受けて警告発報手段13により警告を発報させたり、上記異常信号を受けて運転制御手段14により乗客コンベアを減速する。
上記実施形態の乗客コンベアの安全装置によれば、乗客の靴などが光電ビーム10を遮断した場合、受光器8bからの遮断信号により異常検出手段12から異常信号を発し、警告発報手段13により発報される警告により踏段2の踏面からスカートガード5側に接近した乗客の靴をスカートガード5から遠ざける方向に導かせる効果がある。
また、上記異常信号を受けて運転制御手段14により乗客コンベアを減速させることにより安全性が増す。
実施の形態2.
本発明の他の実施形態を図5及び図6により説明する。図5は本発明の他の実施の形態を示す乗客コンベアの下部側の側面図、図6は図5のCC断面図である。
図6において、スカートガード5の上方に乗客コンベアの移動方向に延設される保護体としてのブラシ付きプロテクター15がスカートガード5にネジ等(図示せず)で固定されている。ブラシ付きプロテクター15の下方に投光器8aと投光器8aから乗客コンベアの移動方向に任意の間隔で受光器8bがスカートガード5にネジ等(図示せず)で固定される。
ブラシ付きプロテクター15は、ブラシ付きプロテクター15近傍の上方から落下された落下物を受けるとともに、下方が踏段中央側に傾斜して取り付けられたブラシ部分によりスカートガード5から離れた方向の踏段2上に案内させる。
上記の実施の形態によれば、実施の形態1の効果に加え、ブラシ付きプロテクター15近傍の上方から落下された落下物をブラシ付きプロテクター15本体で受けるとともに、ブラシ付きプロテクター15の下方に、踏段中央側に傾斜して取り付けられたブラシ部分によりスカートガード5から離れた方向の踏段2上に案内させている。
実施の形態3.
本発明の他の実施形態を図7及び図8により説明する。図7は本発明の他の実施の形態を示す要部断面図、図8は図7のDD断面図である。
図7において、投光器8aが光電ビーム10の照射口(図示せず)をスカートガード5側に向けてスカートガード取付金7にネジ等(図示せず)で取り付けられる。投光器8aから乗客コンベアの移動方向に任意の間隔をおいて、受光器8bが光電ビーム10の受光口(図示せず)をスカートガード5側に向けてスカートガード取付金7にネジ等(図示せず)で取り付けられる。
投光器8a側において、投光器8aの光電ビーム10の照射口(図示せず)に反射器16の反射面16aが向けられると共に、該反射面16aが上記受光器8b側に向けられて反射器16がネジ等(図示せず)でスカートガード5に取り付けられる。
受光器8b側において、受光器8bの光電ビーム10の受光口(図示せず)に反射器16の反射面16aが向けられると共に、該反射面16aが上記投光器8a側に向けられて反射器16がネジ等(図示せず)でスカートガード5に取り付けられる。
そして、投光器8aと受光器8bが一対となる検知センサー8が乗客コンベアの移動方向に複数組連続して配設されている。
なお、上記投光器8a部、および受光器8b部の光電ビーム10が通過するスカートガード5、およびスカートガード取付金7には光電ビーム10を透過させるための孔(図示せず)が開けられている。
上記の構成において、乗客コンベアの安全装置は次のように動作する。
投光器8aから照射されて反射器16の反射面16aで反射される光電ビーム10は、受光器8b側の反射器16の反射面16aで反射して、受光器8bに入光される。
光電ビーム10は踏段2の側端部で踏段2の上方を通ると共に、スカートガード5の側方に沿って走らせており、動作においては上記実施の形態1と同様である。
上記の実施の形態によれば、実施の形態1の効果に加え、スカートガード5に反射器16を取り付けたので、投光器8aは発光ダイオードと、集光用の凸レンズ等が内蔵されており、受光器8bは集光用の凸レンズ、受光素子等が内蔵されている。このため、投光器8a、受光器8bの外形が所要の大きさとなるが、反射器16は反射板16aのみで構成されているので、投光器8aや受光器8bに比較して外形の厚さを薄くすることができる。
よって、反射器16を薄くすることによりスカートガード5からの反射器16の突出量を小さくできるため、踏段2の幅方向端部のスペースを有効に使える。
また、乗客コンベアの保守時においてスカートガード5を取り外す場合に、反射器16は配線9が不要のため、作業性が向上する。
本発明における実施の形態を示す乗客コンベアの下部側の側面図 図1のAA断面図 図1のBB断面図 本発明における実施の形態を示す乗客コンベアの安全装置のブロック構成図 本発明における他の実施の形態を示す乗客コンベアの下部側の側面図 図4のCC断面図 本発明における他の実施の形態を示す要部断面図 図6のDD断面図
符号の説明
2 踏段 、5 スカートガード 、6 インナーデッキ 、7 スカートガード取付金 、8 検知センサー 、8a 投光器 、8b 受光器 、10 光電ビーム 、11 安全装置 、12 異常検出手段 、13 警告発報手段 、14 運転制御手段 、15 ブラシ付きプロテクター 、16 反射器 、16a 反射面。

Claims (5)

  1. 乗客コンベア内を循環移動する複数の踏段と、該踏段の両側に設けられると共に、前記踏段の移動方向に延設されるスカートガードとを備えた乗客コンベアの安全装置において、
    前記スカートガードに対して前記踏段が移動する領域の反対側に設けられ、前記スカートガードと前記踏段の側面とで形成される隙間の上部近傍を通過する光電ビームを発生する投光手段と、
    前記光電ビームの通過経路間に該光電ビームを反射させる反射手段と、
    該光電ビームを受光すると共に、該受光が遮断されることにより遮断信号を発生する受光手段と、
    該遮断信号に基づき異常と判断すると共に、異常信号を発生する異常検出手段とを備えたことを特徴とする乗客コンベアの安全装置。
  2. 前記投光手段、および前記受光手段は、前記スカートガードに対して前記踏段が移動する領域の反対側に設けられ、
    前記反射手段は、前記光電ビームの通過経路間に少なくとも二つ備えたことを特徴とする請求項1に記載の乗客コンベアの安全装置。
  3. 前記反射手段は、前記スカートガードに連結固定されたことを特徴とする請求項1又は2に記載の乗客コンベアの安全装置。
  4. 前記異常信号に基づいて警告を発報する警告発報手段を備えたことを特徴とする請求項1からの何れか一つに記載の乗客コンベアの安全装置。
  5. 前記異常信号に基づいて乗客コンベアを減速させる運転制御手段を備えたことを特徴とする請求項1からの何れか一つに記載の乗客コンベアの安全装置。
JP2007006595A 2007-01-16 2007-01-16 乗客コンベアの安全装置 Expired - Fee Related JP4967672B2 (ja)

Priority Applications (1)

Application Number Priority Date Filing Date Title
JP2007006595A JP4967672B2 (ja) 2007-01-16 2007-01-16 乗客コンベアの安全装置

Applications Claiming Priority (1)

Application Number Priority Date Filing Date Title
JP2007006595A JP4967672B2 (ja) 2007-01-16 2007-01-16 乗客コンベアの安全装置

Publications (2)

Publication Number Publication Date
JP2008174315A JP2008174315A (ja) 2008-07-31
JP4967672B2 true JP4967672B2 (ja) 2012-07-04

Family

ID=39701624

Family Applications (1)

Application Number Title Priority Date Filing Date
JP2007006595A Expired - Fee Related JP4967672B2 (ja) 2007-01-16 2007-01-16 乗客コンベアの安全装置

Country Status (1)

Country Link
JP (1) JP4967672B2 (ja)

Cited By (1)

* Cited by examiner, † Cited by third party
Publication number Priority date Publication date Assignee Title
EP4506292A1 (en) * 2023-08-10 2025-02-12 Otis Elevator Company Escalator entrapment detection system

Families Citing this family (7)

* Cited by examiner, † Cited by third party
Publication number Priority date Publication date Assignee Title
JP5252402B2 (ja) * 2009-04-15 2013-07-31 東芝エレベータ株式会社 乗客コンベア
KR101121896B1 (ko) * 2009-04-21 2012-03-19 남승우 안전사고 방지기능을 가지는 에스컬레이터
JP5337080B2 (ja) * 2010-03-02 2013-11-06 三菱電機ビルテクノサービス株式会社 エスカレータ引き込まれ防止装置
DE102010061614A1 (de) * 2010-12-29 2012-07-05 Thyssenkrupp Fahrtreppen Gmbh Fahrtreppe oder Fahrsteig
JP5687228B2 (ja) * 2012-02-20 2015-03-18 株式会社日立製作所 乗客コンベア
CN107662873B (zh) * 2016-07-29 2021-08-24 奥的斯电梯公司 传感器组件、安全系统以及乘客运送装置
JP6947693B2 (ja) * 2018-06-21 2021-10-13 株式会社日立ビルシステム 乗客コンベアー

Family Cites Families (5)

* Cited by examiner, † Cited by third party
Publication number Priority date Publication date Assignee Title
JPS4941312B1 (ja) * 1970-09-22 1974-11-08
JPS5741878U (ja) * 1980-08-20 1982-03-06
JPH0812238A (ja) * 1994-06-30 1996-01-16 Mitsubishi Denki Bill Techno Service Kk エスカレータ安全保護装置
JP2000169071A (ja) * 1998-12-04 2000-06-20 Hitachi Building Systems Co Ltd エスカレータの安全装置
JP2000351565A (ja) * 1999-06-10 2000-12-19 Toshiba Elevator Co Ltd マンコンベア

Cited By (2)

* Cited by examiner, † Cited by third party
Publication number Priority date Publication date Assignee Title
EP4506292A1 (en) * 2023-08-10 2025-02-12 Otis Elevator Company Escalator entrapment detection system
US20250051141A1 (en) * 2023-08-10 2025-02-13 Otis Elevator Company Escalator entrapment detection system

Also Published As

Publication number Publication date
JP2008174315A (ja) 2008-07-31

Similar Documents

Publication Publication Date Title
JP4967672B2 (ja) 乗客コンベアの安全装置
CN101386395B (zh) 自动扶梯的安全装置
KR100449794B1 (ko) 슬라이드 도어 장치
EP1833747B1 (en) Elevator safety systems
EP3341317B1 (en) Conveyor device
JP6011568B2 (ja) 乗客コンベアの人検知装置
JP5474067B2 (ja) スライドドア装置及びエレベータ
JP2015051836A (ja) 乗客コンベア
JP4481091B2 (ja) スライドドア装置
JP2010173777A (ja) 乗客コンベアの安全装置
JP5932580B2 (ja) 出入り口装置およびエレベータ装置
KR101413717B1 (ko) 에스컬레이터의 안전장치
JP5309659B2 (ja) 乗客コンベア装置
JP2021155206A (ja) 乗客転倒検知装置を具える乗客コンベア
JP4252323B2 (ja) エレベータの着床検出装置
JP6610820B1 (ja) 乗客検知センサーを具える乗客コンベア
JP7035139B1 (ja) マンコンベアの長尺物監視システム
KR101324093B1 (ko) 엘리베이터 출입구의 보호장치 및 제어방법
KR101121896B1 (ko) 안전사고 방지기능을 가지는 에스컬레이터
JP6655488B2 (ja) 乗客コンベアまたは乗客コンベアのステップの異常検出装置
JP5251146B2 (ja) 乗客コンベア装置
JP5156633B2 (ja) 可撓性検出部材を備えたドアアッセンブリおよびこれに関連した方法
JP5388055B2 (ja) 乗客コンベア
JP2000169071A (ja) エスカレータの安全装置
KR20100004974A (ko) 슬라이드 도어장치

Legal Events

Date Code Title Description
A621 Written request for application examination

Free format text: JAPANESE INTERMEDIATE CODE: A621

Effective date: 20091028

A977 Report on retrieval

Free format text: JAPANESE INTERMEDIATE CODE: A971007

Effective date: 20111214

A131 Notification of reasons for refusal

Free format text: JAPANESE INTERMEDIATE CODE: A131

Effective date: 20111220

A521 Request for written amendment filed

Free format text: JAPANESE INTERMEDIATE CODE: A523

Effective date: 20120216

TRDD Decision of grant or rejection written
A01 Written decision to grant a patent or to grant a registration (utility model)

Free format text: JAPANESE INTERMEDIATE CODE: A01

Effective date: 20120306

A01 Written decision to grant a patent or to grant a registration (utility model)

Free format text: JAPANESE INTERMEDIATE CODE: A01

A61 First payment of annual fees (during grant procedure)

Free format text: JAPANESE INTERMEDIATE CODE: A61

Effective date: 20120319

FPAY Renewal fee payment (event date is renewal date of database)

Free format text: PAYMENT UNTIL: 20150413

Year of fee payment: 3

R151 Written notification of patent or utility model registration

Ref document number: 4967672

Country of ref document: JP

Free format text: JAPANESE INTERMEDIATE CODE: R151

FPAY Renewal fee payment (event date is renewal date of database)

Free format text: PAYMENT UNTIL: 20150413

Year of fee payment: 3

R250 Receipt of annual fees

Free format text: JAPANESE INTERMEDIATE CODE: R250

R250 Receipt of annual fees

Free format text: JAPANESE INTERMEDIATE CODE: R250

R250 Receipt of annual fees

Free format text: JAPANESE INTERMEDIATE CODE: R250

R250 Receipt of annual fees

Free format text: JAPANESE INTERMEDIATE CODE: R250

R250 Receipt of annual fees

Free format text: JAPANESE INTERMEDIATE CODE: R250

R250 Receipt of annual fees

Free format text: JAPANESE INTERMEDIATE CODE: R250

LAPS Cancellation because of no payment of annual fees