JP4936062B2 - ガラス板梱包体 - Google Patents

ガラス板梱包体 Download PDF

Info

Publication number
JP4936062B2
JP4936062B2 JP2007196142A JP2007196142A JP4936062B2 JP 4936062 B2 JP4936062 B2 JP 4936062B2 JP 2007196142 A JP2007196142 A JP 2007196142A JP 2007196142 A JP2007196142 A JP 2007196142A JP 4936062 B2 JP4936062 B2 JP 4936062B2
Authority
JP
Japan
Prior art keywords
glass plate
laminate
pressing
presser bar
plate
Prior art date
Legal status (The legal status is an assumption and is not a legal conclusion. Google has not performed a legal analysis and makes no representation as to the accuracy of the status listed.)
Active
Application number
JP2007196142A
Other languages
English (en)
Other versions
JP2009029472A (ja
Inventor
隆行 野田
Current Assignee (The listed assignees may be inaccurate. Google has not performed a legal analysis and makes no representation or warranty as to the accuracy of the list.)
Nippon Electric Glass Co Ltd
Original Assignee
Nippon Electric Glass Co Ltd
Priority date (The priority date is an assumption and is not a legal conclusion. Google has not performed a legal analysis and makes no representation as to the accuracy of the date listed.)
Filing date
Publication date
Application filed by Nippon Electric Glass Co Ltd filed Critical Nippon Electric Glass Co Ltd
Priority to JP2007196142A priority Critical patent/JP4936062B2/ja
Priority to PCT/JP2008/061022 priority patent/WO2009016893A1/ja
Priority to KR1020097018842A priority patent/KR101456918B1/ko
Priority to CN2008801008450A priority patent/CN101765552B/zh
Priority to CN2011101151880A priority patent/CN102152909B/zh
Priority to TW097124570A priority patent/TWI409197B/zh
Publication of JP2009029472A publication Critical patent/JP2009029472A/ja
Application granted granted Critical
Publication of JP4936062B2 publication Critical patent/JP4936062B2/ja
Active legal-status Critical Current
Anticipated expiration legal-status Critical

Links

Images

Classifications

    • BPERFORMING OPERATIONS; TRANSPORTING
    • B65CONVEYING; PACKING; STORING; HANDLING THIN OR FILAMENTARY MATERIAL
    • B65DCONTAINERS FOR STORAGE OR TRANSPORT OF ARTICLES OR MATERIALS, e.g. BAGS, BARRELS, BOTTLES, BOXES, CANS, CARTONS, CRATES, DRUMS, JARS, TANKS, HOPPERS, FORWARDING CONTAINERS; ACCESSORIES, CLOSURES, OR FITTINGS THEREFOR; PACKAGING ELEMENTS; PACKAGES
    • B65D85/00Containers, packaging elements or packages, specially adapted for particular articles or materials
    • B65D85/30Containers, packaging elements or packages, specially adapted for particular articles or materials for articles particularly sensitive to damage by shock or pressure
    • B65D85/48Containers, packaging elements or packages, specially adapted for particular articles or materials for articles particularly sensitive to damage by shock or pressure for glass sheets
    • BPERFORMING OPERATIONS; TRANSPORTING
    • B65CONVEYING; PACKING; STORING; HANDLING THIN OR FILAMENTARY MATERIAL
    • B65BMACHINES, APPARATUS OR DEVICES FOR, OR METHODS OF, PACKAGING ARTICLES OR MATERIALS; UNPACKING
    • B65B23/00Packaging fragile or shock-sensitive articles other than bottles; Unpacking eggs
    • B65B23/20Packaging plate glass, tiles, or shingles
    • BPERFORMING OPERATIONS; TRANSPORTING
    • B65CONVEYING; PACKING; STORING; HANDLING THIN OR FILAMENTARY MATERIAL
    • B65DCONTAINERS FOR STORAGE OR TRANSPORT OF ARTICLES OR MATERIALS, e.g. BAGS, BARRELS, BOTTLES, BOXES, CANS, CARTONS, CRATES, DRUMS, JARS, TANKS, HOPPERS, FORWARDING CONTAINERS; ACCESSORIES, CLOSURES, OR FITTINGS THEREFOR; PACKAGING ELEMENTS; PACKAGES
    • B65D19/00Pallets or like platforms, with or without side walls, for supporting loads to be lifted or lowered
    • B65D19/38Details or accessories
    • B65D19/44Elements or devices for locating articles on platforms

Landscapes

  • Engineering & Computer Science (AREA)
  • Mechanical Engineering (AREA)
  • Packaging Frangible Articles (AREA)
  • Buffer Packaging (AREA)
  • Pallets (AREA)

Description

本発明は、複数枚のガラス板を積層したガラス板積層体をパレット上に保持したガラス板梱包体の改良技術に関する。
周知のように、液晶ディスプレイ、プラズマディスプレイなどのフラットパネルディスプレイ(以下、単にFPDという)用のガラス基板など、各種ガラス板を輸送する場合、複数枚のガラス板を積層してなるガラス板積層体をパレット上に保持したガラス板梱包体の状態で行われるのが通例である。
この種のガラス板梱包体としては、パレット上に複数枚のガラス板を縦姿勢で積層した状態で保持したものと、パレット上に複数枚のガラス板を横姿勢で積層した状態で保持したものとに大別される。
前者の梱包体には、基台部と、基台部の後方に立設された背受け部とを備えたパレットが利用される。そして、複数枚のガラス板を背受け部に立て掛けるようにして基台部上に縦姿勢で積層した後、そのガラス板積層体の前面を背受け部側に向かって押付けて保持することにより、梱包体が製作される。
この際、ガラス板積層体を押付ける方法としては種々のものがあるが、例えば下記の特許文献1には、パレットの基台部の前方に前枠を別途立設すると共に、前枠にリンク機構を介して連結された抑え片によって、ガラス板積層体を背受け部側に押付けて保持する方法が開示されている。また、前枠の姿勢が変化すると抑え片による押付け力が低下することから、前枠の上面と背受け部の上面との間に上部桟が掛け渡され、前枠が直立状態で保持されるようになっている。
しかしながら、かかる構成では、ガラス板積層体を抑え片で押圧するために、前枠や上部桟をやぐら状に組み合わせる必要があることから、梱包体の構成が複雑になるばかりでなく、梱包体の製作に面倒且つ煩雑な作業が強いられることになる。特に、上部桟を掛け渡す関係から、前枠はガラス板よりも大きくすることが必要不可欠となる。そのため、梱包対象となるガラス板が大きい場合には、前枠も大型化してハンドリング性が悪化する。加えて、この場合には、上部桟の取り付け作業を高所で行う必要が生じるため、その取り付け作業を円滑に行うことが困難となる。
そこで、このような問題に対処するものとして、次のような構成によりガラス板積層体を押圧して保持するものが挙げられる。すなわち、パレット上に積層されたガラス板積層体の幅方向に跨るように押えバーを配置し、ガラス板積層体の幅方向両側の外側に食み出した押えバーの両端部を締付け部材によってパレット側に引き込むように締付けることにより、ガラス板積層体を押圧してパレット上に保持したものである(例えば、下記の特許文献2)。
このようにすれば、パレットに前枠や上部桟を別途設ける必要がなく、押えバーの両端部を締付け部材によって締付けるだけで、ガラス板積層体をパレット上に容易に保持することが可能となる。
特開平7−267290号公報 特開2006−347592号公報
しかしながら、ガラス板積層体の幅方向に跨るように配置された押えバーの両端部を締付けることにより、ガラス板積層体をパレット側に押付けて保持すると、ガラス板の幅方向両端部に応力が集中しやすい。また、押えバー自体に撓みも生じるため、ガラス板の両端部により一層応力が集中しやすい。ガラス板の端部は、破損を来たしやすい部位であるため、押えバーによる押付け力によって上述のようにガラス板の端部に応力集中が生じた状態で梱包した場合には、開梱までの間にガラス板が破損するという問題が生じ得る。
また、押えバーの撓みが大きい場合には、ガラス板積層体の幅方向両端部のみが保持された状態となる。そして、この状態で梱包体を輸送すると、輸送中の振動や衝撃等によってガラス板の幅方向中央部が押えバーの湾曲に倣って変形し、荷崩れを起こすという問題が生じ得る。そして、輸送先では、吸着パッドを備えたロボットによって、パレットからガラス板が一枚ずつ取り出されるのが通例であるが、上述のように荷崩れが起きてガラス板が湾曲していると、吸着パッドでガラス板を適正に吸着できず、ロボットによる取り出し作業が実質的に不可能となるという問題が生じ得る。
なお、このような問題は、複数枚のガラス板を縦姿勢で積層して梱包した場合に限らず、複数枚のガラス板を横姿勢で積層して梱包した場合にも同様に生じ得る。
本発明は、上記実情に鑑み、ガラス板積層体の幅方向に跨るように押えバーを配置して、その押えバーの両端部を締付けてパレットに保持する梱包形態を採用しつつ、幅方向両端部の応力集中によるガラス板の破損を低減し、さらにガラス体積層体の荷崩れを防止することを技術的課題とする。
上記課題を解決するために創案された本発明は、パレット上に積層されたガラス板積層体の幅方向に跨るように押えバーを配置すると共に、前記ガラス板積層体の幅方向両側の外側に食み出した前記押えバーの両端部を締付け部材によって前記パレット側に引き込むように締付けることにより、前記ガラス板積層体を前記パレット上に押付けて保持したガラス板梱包体において、前記押えバーと前記ガラス板積層体との間に、双方に接触された状態で押圧板を介在させると共に、該押圧板の幅方向寸法を前記ガラス板積層体の幅方向寸法の1/3以上とし且つ前記ガラス板積層体の幅方向両端部を除く幅方向中央部に接触させたことに特徴づけられる。
このような構成によれば、押圧板はガラス板積層体の幅方向両端部と非接触であるので、押えバーによる押付け力がガラス板の幅方向両端に作用しない。そのため、ガラス板積層体の幅方向両端部の応力集中が生じ難くなり、ガラス板の破損を効果的に低減することが可能となる。
また、ガラス板積層体の幅方向両端部を除く幅方向中央部には押圧板が接触しているので、中央部には押えバーによる押付け力が作用する。そのため、ガラス板積層体の中央部の変位が規制される。したがって、梱包体を輸送した場合であっても、ガラス板積層体の荷崩れを確実に抑制することができる。
上記の構成において、前記押圧板のうち前記押えバーと接触している部分が、前記ガラス板積層体の幅方向に連続していることが好ましい。
このようにすれば、ガラス板積層体の幅方向両端部を除く幅方向中央部が、幅方向に亘って連続的に押圧される。そのため、ガラス板積層体の幅方向中央部を幅方向に断続的に押圧した場合のように、ガラス板が幅方向に波打つように変形するという事態を防止することができる。したがって、変形によるガラス板の破損や、荷崩れをより確実に抑制することができる。
上記の構成において、前記押圧板は、前記ガラス板積層体の幅方向と直交する方向の寸法が前記押えバーよりも大きいことが好ましい。
このようにすれば、押えバーのガラス板積層体の幅方向と直交する方向の寸法が押圧板のそれより小さいので、押えバーにより直接的にガラス板積層体を押圧する場合よりも、ガラス板積層体に作用する押付け力を、幅方向と直交する方向の広い範囲に分散させることができる。そのため、ガラス板の幅方向と直交する方向への変形が抑制され、ガラス板の破損や、荷崩れを防止する上で有利となる。
上記の構成において、前記ガラス板積層体は、複数枚のガラス板を縦姿勢で積層してなり、前記パレットは、ガラス板の下辺部を支持する基台部と、ガラス板の背面部を支持する背受け部とを有するものであってもよい。なお、この場合には、ガラス板積層体の幅方向とは、ガラス板積層体の上下方向(高さ方向)と直交する方向を意味する。
上記の構成において、前記押圧板の下端部が、前記パレットの基台部から離間していることが好ましい。
一般に、複数枚のガラス板を縦姿勢で積層したガラス板積層体では、その下辺部がパレットの基台部によって支持されており、この下辺部は、変形や動きの自由度が小さくなっている。そのため、この下辺部に押圧板を接触させ、押えバーによる押付け力を作用させた場合には、押付け力による応力集中をガラス板の変形等で緩和できないので、ガラス板に破損が生じやすい。したがって、上記の構成のように、押圧板の下端部を基台部から離間させて、ガラス板の下辺部に押付け力が作用しないようにすることが、ガラス板の破損を防止する観点からも好ましい。
この場合、前記押圧板の幅方向両側に、前記ガラス板積層体の幅方向両側の外側へと延びるアームを設けると共に、前記パレットの背受け部の幅方向両側に、前記ガラス板積層体の積層方向に延び且つ前記アームをスライド可能に支持するガイド部材を設け、該ガイド部材で前記アームを支持することにより、前記押圧板の下端部を前記パレットの基台部から離間させるようにしてもよい。
このようにすれば、押圧板をガイド部材に沿ってスライドさせることにより、ガラス板の積層枚数に応じた適正な位置に押圧板を容易に位置決めすることが可能となる。
上記の構成において、前記押えバーを前記ガラス板積層体の上下方向に複数配置すると共に、最上部の押えバーによって前記ガラス板積層体に作用する単位面積当たりの押付け力を、最下部の押えバーによって前記ガラス板積層体に作用する単位面積当たりの押付け力よりも小さくすることが好ましい。
一般に、複数枚のガラス板を縦姿勢で積層したガラス板積層体では、下辺部はパレットの基台部と接触しているため動き難い状態にあるのに対し、上辺部は比較的自由に動ける状態にある。そのため、ガラス板積層体の上方部の積層厚みは、その下方部の積層厚みよりも変化しやすい。したがって、ガラス板積層体の上方部と、下方部とに同等の押付け力を作用させた場合には、上方部の積層厚みが下方部の積層厚みよりも薄くなり、積層状態が不均一になりやすい。そして、このような積層状態の不均一が生じると、ガラス板積層体の上方部が、下方部よりも圧迫された状態で保持される。そのため、輸送中に梱包体に下から突き上げるような衝撃が加わると、ガラス板が上方に動く余地がなく、その衝撃がガラス板の下辺部に直接作用して破損するおそれがある。そこで、このような問題に対処するためには、上記の構成のように、最上部の押えバーによってガラス板積層体に作用する単位面積当たりの押付け力を、最下部の押えバーによってガラス板積層体に作用する単位面積当たりの押付け力よりも小さくすることが好ましい。このようにすれば、ガラス板積層体の上方部が、下方部に比べて圧迫された状態で保持されるという事態を低減でき、ガラス板積層体の積層状態が不均一になるという事態を防止することができる。加えて、ガラス板積層体の上方部と下方部との圧迫状態を同等程度に保つことができるので、輸送時に上方に突き上げるような衝撃が加わった場合でも、ガラス板が一時的に上方に逃げ、ガラス板に破損が生じ難くなる。
上記の構成において、前記押圧板は、前記最上部の押えバーによって前記ガラス板積層体を押圧する上部押圧板と、前記最下部の押えバーによって前記ガラス板積層体を押圧する下部押圧板とに少なくとも分離されており、前記上部押圧板の前記ガラス板積層体との接触面積が、前記下部押圧板の前記ガラス板積層体との接触面積よりも大きいことが好ましい。
このようにすれば、上部押圧板のガラス板積層体との接触面積が、下部押圧板のガラス板積層体との接触面積よりも大きくなるので、上部押圧板によりガラス板積層体に作用する押付け力が、下部押圧板によりガラス板積層体に作用する押付け力よりも広い範囲に分散されて弱められることになる。そのため、最上部の押えバーによってガラス板積層体に作用する単位面積当たりの押付け力を、最下部の押えバーによってガラス板積層体に作用する単位面積当たりの押付け力よりも小さくすることができる。
上記の構成において、前記押圧板は、前記最上部の押えバーと前記最下部の押えバーとの間に跨るように配置された単一の部材であって、その上方部の前記最上部の押えバー上方への食み出し寸法が、その下方部の前記最下部の押えバー下方への食み出し寸法よりも大きいことが好ましい。なお、押圧板の下方部の最下部の押えバー下方への食み出し寸法には、押圧板の最下部が押えバー下方へ食み出さない場合、すなわち、その値が零となる場合も含まれる。
このようにすれば、最上部の押えバーによってガラス板積層体に作用する押付け力が、最下部の押えバーによってガラス板積層体に作用する押付け力よりも広範囲に分散する。そのため、最上部の押えバーによってガラス板積層体に作用する単位面積当たりの押付け力を、最下部の押えバーによってガラス板積層体に作用する単位面積当たりの押付け力よりも小さくすることができる。
上記の構成において、前記ガラス板積層体が、複数枚のガラス板を横姿勢で積層してなり、前記パレットは、ガラス板の下面部を支持する基台部を有するものであってもよい。なお、この場合には、ガラス板積層体の幅方向とは、ガラス板積層体の前後方向と直交する方向を意味する。
上記の構成において、前記パレットに、ガラス板の後方に位置する一辺に当接する基準壁を設けると共に、前記押えバーを前記ガラス板積層体の前後方向に複数配置し、最後部の押えバーによって前記ガラス板積層体に作用する単位面積当たりの押付け力を、最前部の押えバーによって前記ガラス板積層体に作用する単位面積当たりの押付け力よりも小さくすることが好ましい。
一般に、ガラス板の後方に位置する一辺に当接する基準壁がパレットに形成されている場合には、ガラス板の荷崩れを防止する観点からも、輸送前後においてガラス板の後方に位置する一辺が基準壁に当接した状態であることが要求される。そして、上記の構成によれば、かかる要求を満たすことができる。すなわち、輸送中に梱包体に衝撃が加わった場合には、単位面積当たりの押付け力が小さい後方側に各ガラス板が誘導されるので、ガラス板の後方に位置する一辺を基準壁に当接させた状態で輸送することが可能となる。
上記の構成において、前記押圧板は、前記最前部の押えバーによって前記ガラス板積層体を押圧する前部押圧板と、前記最後部の押えバーによって前記ガラス板積層体を押圧する後部押圧板とに少なくとも分離されており、前記後部押圧板の前記ガラス板積層体との接触面積が、前記前部押圧板の前記ガラス板積層体との接触面積よりも大きいことが好ましい。
このようにすれば、後部押圧板のガラス板積層体との接触面積が、前部押圧板のガラス板積層体との接触面積よりも大きくなるので、後部押圧板によりガラス板積層体に作用する押付け力が、前部押圧板によりガラス板積層体に作用する押付け力よりも広い範囲に分散されて弱められることになる。そのため、最後部の押えバーによってガラス板積層体に作用する単位面積当たりの押付け力を、最前部の押えバーによってガラス板積層体に作用する単位面積当たりの押付け力よりも小さくすることができる。
上記の構成において、前記押圧板は、前記最前部の押えバーと前記最後部の押えバーとの間に跨るように配置された単一の部材であって、その後方部の前記最後部の押えバー後方への食み出し寸法が、その前方部の前記最前部の押えバー前方への食み出し寸法よりも大きいことが好ましい。なお、押圧板の前方部の最前部の押えバー前方への食み出し寸法には、押圧板の前方部が最前部の押えバーの前方に食み出さない場合、すなわち、その値が零となる場合も含まれる。
このようにすれば、最後部の押えバーによってガラス板積層体に作用する押付け力が、最前部の押えバーによってガラス板積層体に作用する押付け力よりも広範囲に分散する。そのため、最後部の押えバーによってガラス板積層体に作用する単位面積当たりの押付け力を、最前部の押えバーによってガラス板積層体に作用する単位面積当たりの押付け力よりも小さくすることができる。
上記の構成において、前記ガラス板積層体は、前記押圧部材で押圧される側の表面に緩衝板を配置してなることが好ましい。
以上のように本発明によれば、押圧板がガラス板積層体の幅方向両端部と非接触であるので、押えバーによる押付け力がガラス板の幅方向両端部に作用しない。そのため、ガラス板積層体の幅方向両端部の応力集中が生じ難く、ガラス板に破損を効果的に低減することができる。一方、ガラス板積層体の幅方向両端部を除いた幅方向中央部には、押圧板が接触しているので、押えバーによる押付け力がガラス板積層体の幅方向中央部に集中的に作用する。そのため、ガラス板積層体の幅方向中央部の変位が規制される結果、ガラス板積層体に荷崩れが生じるという事態を確実に抑制することができる。
以下、本発明の実施形態を図面に基づいて説明する。
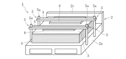
図1は、本発明の第1実施形態に係るガラス板梱包体を模式的に示す斜視図であり、図2はその平面図である。これら各図に示すように、このガラス板梱包体1は、パレット2上に複数枚のガラス板を縦姿勢で積層すると共に、そのガラス板積層体Gをパレット2上に保持したものである。
パレット2は、ガラス板の下辺部を支持する基台部2aと、基台部2aの後方に立設され且つガラス板の背面を支持する背受け部2bとを備えている。そして、複数枚のガラス板の各下辺部を基台部2aに載置させ、最後尾のガラス板の背面部を背受け部2bに立て掛けることにより、複数枚のガラス板が縦姿勢でパレット2上に積層されている。なお、ガラス板積層体Gには、各ガラス板の間に発泡樹脂シートが介在しており、先頭のガラス板の前面部には、例えばプラスチックダンボール等で形成された緩衝板3が立て掛けられている。また、図示しないが、ガラス板積層体Gが、パレット2と接触する部分には緩衝材が敷設されている。
そして、ガラス板積層体Gの最前面(緩衝板3)には、その幅方向に跨るように、上下方向に間隔を置いて2つの押えバー4が配置されている。この状態で、ガラス板積層体Gの幅方向両側の外側に食み出した各押えバー4の両端部は、締付け部材5によって、背受け部2b側に引き込まれるように締付けられている。
締付け部材5の構成は特に限定されるものではないが、この実施形態では、図3に示すように、背受け部2bの両側方からガラス板積層方向に延びたラック5aと、押えバー4の両端部に内蔵されたピニオン5bとを主たる構成として備えている。そして、ピニオン5bを、ラック5aに噛み合わせることで、押えバー4がラック5aに対して固定されるようになっている。また、ピニオン5bとラック5aとの噛み合いを解除した状態では、押えバー4がラック5aに対してスライド可能に支持されるようになっている。なお、ピニオン5bは、第1クランクシャフト5cに連結されている。この第1クランクシャフト5cは、ピニオン5bとラック5aとが噛み合った状態では移動が規制される第2クランクシャフト5dに取り付けられたバネ5eによって、図中の左方向に付勢されている。これにより、ピニオン5bとラック5aが噛み合った状態で、ピニオン5bは、ラック5aとの噛み合いが進行する方向(図中の反時計回り)にバネ5eによって付勢されている。
押えバー4とガラス板積層体Gとの間には、図1及び図2に示すように、押圧板6が介在している。この押圧板6は、押えバー4とガラス板積層体Gとの双方に接触し、その接触領域はガラス板積層体Gの幅方向両端部を除いた幅方向中央部で連続している。すなわち、押えバー4の幅方向中央部が、押圧板6によってガラス板積層体G側に突起した状態となっている。そのため、押えバー4と、ガラス板積層体Gの幅方向両端部との間には、押圧板6の厚み相当分程度の隙間が形成されており、押えバー4による押付け力が、ガラス板積層体Gの幅方向両端部に作用しないようになっている。一方、ガラス板積層体Gの幅方向中央部には、押圧板6が幅方向に連続的に接触しているので、押えバー4による押付け力が、ガラス板積層体Gの幅方向中央部に集中的に作用するようになっている。
これにより、ガラス板積層体Gの幅方向両端部に応力を集中させることなく、ガラス板積層体Gをパレット2上に保持することが可能となる。したがって、ガラス板積層体Gの幅方向両端部に応力が集中して、ガラス板が破損するという事態を効果的に低減することができる。また、押えバー4による押付け力は、押圧板6を介して、ガラス板積層体Gの幅方向中央部に連続的に作用することから、ガラス板積層体Gの幅方向中央部における撓み等の変形は規制される。そのため、輸送時の振動等によってガラス板積層体Gが荷崩れするという事態を効果的に低減することができる。
なお、押圧板6の厚みは、5mm以上40mm以下であることが好ましく、10mm以上30mm以下であることがより好ましい。また、押圧板6の幅方向寸法は、最小でガラス板積層体Gの幅方向寸法の1/3、最大で押圧板6の幅方向両端がガラス板積層体Gの幅方向両端からそれぞれ50mm内側に位置する範囲に設定することが好ましく、ガラス板積層体Gの幅方向寸法の1/2以上2/3以下であることがより好ましい。さらに、押圧板6は、押えバー4と別体であってもよいが、本実施形態では押えバー4と一体化されている。
図4は、本発明の第2実施形態に係るガラス板梱包体を示す斜視図であり、図5はその側面図である。これら各図に示すように、この第2実施形態に係るガラス板梱包体1が、上述の第1実施形態に係るガラス板梱包体1と相違するところは、上下2つの押えバー4のうち、上方の押えバー4によってガラス板積層体Gに作用する単位面積当たりの押付け力を、下方の押えバー4によってガラス板積層体Gに作用する単位面積当たりの押付け力よりも小さくした点にある。
一般に、複数枚のガラス板を縦姿勢で積層したガラス板積層体Gでは、下辺部はパレット2の基台部2aと接触しているため動き難い状態にあるのに対し、上辺部は比較的自由に動ける状態にある。そのため、ガラス板積層体Gの上方部の積層厚みは、その下方部の積層厚みよりも変化しやすい。したがって、ガラス板積層体Gの上方部と、下方部とに同等の押付け力を作用させた場合には、上方部の積層厚みが下方部の積層厚みよりも薄くなり、積層状態が不均一になりやすい。そして、このような積層状態の不均一が生じると、ガラス板積層体Gの上方部が、下方部よりも圧迫された状態で保持される。そのため、輸送中にガラス板梱包体1に下から突き上げるような衝撃が加わると、ガラス板が上方に動く余地がなく、その衝撃がガラス板の下辺部に直接作用して破損するおそれがある。
そこで、このような問題に対処するためには、上下2つの押えバー4のうち、上部の押えバー4によってガラス板積層体Gに作用する単位面積当たりの押付け力を、下部の押えバー4によってガラス板積層体Gに作用する単位面積当たりの押付け力よりも小さくすることが好ましい。このようにすれば、ガラス板積層体Gの上方部が、下方部に比べて圧迫された状態で保持されるという事態を低減でき、ガラス板積層体Gの積層状態が不均一になるという事態を防止することができる。加えて、ガラス板積層体Gの上方部と下方部との圧迫状態を同等程度に保つことができるので、輸送中に梱包体1に下から突き上げるような衝撃が加わった場合でも、ガラス板が一時的に上方に逃げ、ガラス板に破損が生じ難くなる。
詳述すると、この実施形態では、図4及び図5に示すように、上方の押えバー4によってガラス板積層体Gを押圧する押圧板6のガラス板積層体Gとの接触面積が、下方の押えバー4によってガラス板積層体Gを押圧する押圧板6のガラス板積層体Gとの接触面積よりも大きくなっている。そのため、上方の押えバー4によってガラス板積層体Gに作用する押付け力は、下方の押えバー4によってガラス板積層体Gに作用する押付け力に比べて広範囲に分散される。その結果、上部の押えバー4によってガラス板積層体Gに作用する単位面積当たりの押付け力を、下部の押えバー4によってガラス板積層体Gに作用する単位面積当たりの押付け力よりも小さくすることができ、上述の作用効果を享受することが可能となる。
なお、図2に示すように、ピニオン5bを、ラック5aとの噛み合いが進行する方向に付勢するバネ5eの力を、上方の押えバー4よりも下方の押えバー4で強めることで、各押えバー4によってガラス板積層体Gに作用する単位面積当たりの押付け力に上述のような差異を設けるようにしてもよい。
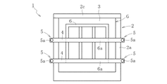
図6は、本発明の第3実施形態に係るガラス板梱包体を示す斜視図である。同図に示すように、この第3実施形態に係るガラス板梱包体1が、上述の第1〜2実施形態に係るガラス板梱包体1と相違するところは、上下2つの押えバー4によって、単一の押圧板6を押圧するようにした点にある。
詳述すると、押圧板6は、隙間なく連続した平板で構成されており、上方の押えバー4から下方の押えバー4に跨るように配置されている。この押圧板6は、ガラス板よりも小さく、ガラス板の周縁部には非接触となっている。このようにすれば、押えバー4による押付け力が、ガラス板積層体Gの幅方向のみならず、その幅方向と直交する上下方向にも作用する。そのため、ガラス板がより変形を来たし難い状態となり、破損や荷崩れを抑制する上で有利となる。
また、軽量化の観点からは、押圧板6は、図7(a),(b)に示すように、格子板から構成してもよい。この場合、図7(b)に示すように、押圧板6のうち、押えバー4が配置される箇所には、格子骨6aが幅方向に配置され、押えバー4による押付け力が、ガラス板積層体Gの幅方向に連続的に作用するようになっている。
また、第2実施形態で説明したように、上下2つの押えバー4のうち、上方の押えバー4によってガラス板積層体Gに作用する単位面積当たりの押付け力を、下方の押えバー4によってガラス板積層体Gに作用する単位面積当たりの押付け力よりも小さくするという観点からは、次のようにすることが好ましい。すなわち、図6及び図7(b)に示すように、押圧板6の上下方向中心位置を、上下2つの押えバー4間の上下方向中心位置よりも上方に偏らせることで、押圧板6の上方部が上方の押えバー4から上方に食み出す寸法が、押圧板6の下方部が下方の押えバー4から下方に食み出す寸法よりも大きくすることが好ましい。
このようにすれば、上方の押えバー4によってガラス板積層体Gに作用する押付け力が、下方の押えバー4によってガラス板積層体Gに作用する押付け力よりも広範囲に分散されて弱められる。そのため、上方の押えバー4によってガラス板積層体Gに作用する単位面積当たりの押付け力を、下方の押えバー4によってガラス板積層体Gに作用する単位面積当たりの押付け力よりも小さくすることができる。
図8(a),(b)は、本発明の第4実施形態に係るガラス板梱包体を示す斜視図である。同図に示すように、この第4実施形態に係るガラス板梱包体1が上述の第1〜3実施形態に係るガラス板梱包体1と相違するところは、押圧板6の幅方向両側の外側へと延びるアーム7をパレット2に設けられたラック5aに引っ掛けることにより、押圧板6をパレット2の基台部2aから離間した状態で支持した点にある。なお、この実施形態では、押えバー4を支持するラック5aが、押圧板6を支持するガイド部材を兼ねている。
このようにすれば、押圧板6のアーム7をラック5aに引っ掛けた状態で、ラック5aの長手方向に沿ってスライドさせることにより、ガラス板の積層枚数に応じた適正な位置に押圧板6を容易に位置決めすることが可能となる。
また、アーム7の先端には、下方に延びた爪7aが設けられており、この爪7aがラック5aの外側面と係合し、押圧板6の幅方向への変位が規制されるようになっている。
なお、図示例では、上下2つの押えバー4のうち、下方の押えバー4を支持するラック5aに押圧板6のアーム7を引っ掛けて押圧板6を支持するようにしているが、上方の押えバー4を支持するラック5aに、押圧板6のアーム7を引っ掛けて押圧板6を支持するようにしてもよい。また、上下のラック5aにそれぞれアーム7を引っ掛けて、押圧板6を支持するようにしてもよい。
この場合、アーム7はガラス板積層体Gの幅方向両端部と非接触となるようにすることが好ましい。アーム7によってガラス板積層体Gの幅方向両端部に押付け力が作用する場合もあり、これを防止するためである。具体的には、例えば図9(a)に示すように、アーム7の厚みを押圧板6の厚みよりも薄肉にしてガラス板積層体Gから離間するか、或いは、図9(b)に示すように、アーム7を押圧板6の前面側に取り付けてガラス板積層体Gから離間する。
また、図10(a),(b)に示すように、押圧板6の下端部に、下方に延びる脚部8を取り付け、押圧板6の下端部をパレット2の基台部2aから離間するようにしてもよい。この場合にも、脚部8は、ガラス板積層体Gと非接触となるようすることが好ましい。具体的には、例えば、図11(a)に示すように、脚部8の厚みを押圧板6の厚みよりも薄肉にしてガラス板積層体Gから離間するか、或いは、図11(b)に示すように、脚部8を押圧板6の前面側に取り付けてガラス板積層体Gから離間する。
図12は、本発明の第5実施形態に係るガラス板梱包体を示す斜視図である。この第5実施形態に係るガラス板梱包体1が、上述の第1〜4の実施形態に係るガラス板梱包体1と相違するところは、締付け部材5をベルトで構成し点にある。
詳述すると、ガラス板積層体Gの幅方向に跨るように配置された押えバー4の上に、両端が背受け部2bに固定されたベルト5の中間部が掛け渡され、この状態でベルト5により押えバー4の両端部が背受け部2b側に引き込まれるように締付けられている。なお、ベルト5としては、ラェット式ラッシングベルトを好適に使用できる。
また、図13に示すように、押えバー4の両端部と、背受け部2bとの間にベルト5を掛け渡して、押えバー4の両端部を背受け部2b側に引き込むように締付けるようにしてもよい。
さらに、図14に示すように、ベルト5を押えバー4の両端部から背受け部2bの裏面に掛け渡して、背受け部2の裏面において締付けることにより、押えバー4の両端部を背受け部2b側に引き込むようにしてもよい。
図15は、本発明の第6実施形態に係るガラス板梱包体を示す斜視図であり、図16はその平面図である。これら各図に示すように、この第6実施形態に係るガラス板梱包体1が、上述の第1〜5の実施形態に係るガラス板梱包体1と相違するところは、ガラス板積層体Gを、複数枚のガラス板をパレット2の基台部2a上に横姿勢で積層して構成した点にある。
すなわち、上述の第1〜5の実施形態で説明した事項は、複数枚のガラス板を横姿勢で積層して梱包した場合についても同様に適用することができる。ただし、この場合には、輸送時の振動や、揺れによるガラス板の横ズレを考慮する必要がある。そのため、横姿勢で積層されたガラス板積層体Gを梱包する際には、図15及び図16に示すように、横姿勢で積層されたガラス板の後方に位置する一辺に当接する基準壁2cをパレット2に設ける場合がある。そして、この場合には、ガラス板積層体Gの荷崩れを防止する観点からも、輸送前後において、ガラス板の後方側の一辺が基準壁2cに当接した状態となるようにする必要がある。
そこで、この実施形態に係るガラス板梱包体1では、前後方向に間隔を置いて配置された2つの押えバー4のうち、後方の押えバー4によってガラス板積層体に作用する単位面積当たりの押付け力が、前方の押えバー4によってガラス板積層体Gに作用する単位面積当たりの押付け力よりも小さくなっている。具体的には、後方の押えバー4によってガラス板積層体Gを押圧する押圧板6のガラス板積層体Gとの接触面積が、前方の押えバー4によってガラス板積層体Gを押圧する押圧板6のガラス板積層体Gとの接触面積よりも大きくなっている。
このようにすれば、輸送時にガラス板梱包体1に衝撃が加わった場合であっても、単位面積当たりの押付け力が小さい後方側に各ガラス板が誘導される。したがって、ガラス板の後方に位置する一辺を基準壁2cに当接させた状態で輸送することが可能となる。
なお、図17及び図18に示すように、前後2つの押えバー4で単一の押圧板6を押圧する場合には、押圧板6の前後方向中心位置を、前後2つの押えバー4間の前後方向中心位置よりも後方に偏らせることで、押圧板6の後方部が後方の押えバー4から後方に食み出す寸法が、押圧板6の前方部が前方の押えバー4から前方に食み出す寸法よりも大きくするようにしてもよい。そして、図示例のように押圧板6を格子板で構成する場合には、押えバー4が配置される箇所に格子骨6aが配置され、押えバー4による押付け力が、ガラス板積層体Gの幅方向に連続的に作用するようになっている。
このようにすれば、後方の押えバー4によってガラス板積層体Gに作用する押付け力が、前方の押えバー4によってガラス板積層体Gに作用する押付け力よりも広範囲に分散するため、後方の押えバー4によってガラス板積層体に作用する単位面積当たりの押付け力が、前方の押えバー4によってガラス板積層体Gに作用する単位面積当たりの押付け力よりも小さくすることができる。
また、図2に示すように、ピニオン5bを、ラック5aとの噛み合いが進行する方向に付勢するバネ5eの力を、後方の押えバー4よりも前方の押えバー4で強めることで、前後の押えバー4によってガラス板積層体Gに作用する単位面積当たりの押付け力に上述のような差異を設けるようにしてもよい。
本発明が所期の目的を達成するかを否かを認識すべく、以下に示す試験ならびにその検討を行った。
本発明の縦姿勢でガラス板を梱包する形態の実施例1として、上述の図1及び図2に示す形態のガラス板梱包体1を50体製作すると共に、片道約300kmの高速道路を約100km/hで往復し、輸送後のガラス板の破損状況と、輸送前後でのガラス板の積層厚みの変化を確認した。なお、ガラス板として、幅方向寸法が2250mm、上下方向寸法が1950mm、厚みが0.7mmの液晶ディスプレイ用のガラス基板を使用した。そして、このガラス板を200枚縦姿勢で積層して、各ガラス板梱包体1を製作した。また、押えバー4として、幅方向寸法が2538mm、上下方向寸法が80mm、厚みが40mmのステンレス製角パイプを使用した。さらに、押圧板6として、幅方向寸法が1500mm、上下方向寸法が80mm、厚みが20mmのステンレス製角パイプを使用し、この押圧板6を押えバー4に接合して一体化した。
その結果、10000枚(50体×200枚)のガラス板の輸送後の破損枚数は零枚となり、極めて良好な結果を得た。また、ガラス板の積層厚みの最大落差変化量は平均で6mmであり、最大落差で9mm(輸送前の落差2mm+輸送後の落差変化量7mm)であった。ここで、最大落差とは、一つのガラス板積層体Gの積層方向における最前部から最後部までの積層厚み差(最大厚み寸法と最小厚み寸法の差)を意味し、一般にガラス板が荷崩れを起こして積層厚みの最大落差が15mmを超えると、吸着パッドを有するロボットでガラス板をパレット2から自動的に取り出すことができなくなる。したがって、最大落差が9mmという結果は、実用上問題のない良好なものとなる。
本発明の実施例2として、上述の図4及び図5に示す形態のガラス板梱包体1を50体製作した。下方の押えバー4には、押圧板6として、幅方向寸法が1500mm、上下方向寸法が80mm、厚みが20mmのステンレス製角パイプを接合した。また、上方の押えバー4には、押圧板6として、幅方向寸法が2150mm、上下方向寸法が160mm、厚みが20mmのステンレス製角パイプを接合した。なお、その他の条件は上記の実施例1と同様である。
その結果、10000枚(50体×200枚)のガラス板の輸送後の破損枚数は、零枚となり、極めて良好な結果を得た。また、ガラス板の積層厚みの最大落差変化量は平均で4mmであり、最大落差で7mm(輸送前の落差2mm+輸送後の落差変化量5mm)であった。したがって、最大落差が、許容範囲である15mm以下となると共に、実施例1よりも更に良好な結果となった。
本発明の実施例3として、上述の図8(b)に示す形態のガラス板梱包体1を50体製作した。押圧板6は、断面が40mm×20mmの角パイプを骨組みとして格子状に組み合わせ、厚みが20mm、幅方向寸法がガラス板の幅方向寸法の2/3である1500mmとし、さらに上方の押えバー4から上部が350mm食み出すようにした。また、押圧板6の枠内には、押えバー4が配置される箇所に、押えバー4と同じ上下方向寸法80mmの格子骨6aを配置し、押えバー4と押圧板6とが幅方向で連続的に接触するようにした。なお、その他の条件は、上述の実施例1と同様である。
その結果、10000枚(50体×200枚)のガラス板の輸送後の破損枚数は、零枚となり、極めて良好な結果を得た。また、ガラス板の積層厚みの最大落差変化量は平均で2mmであり、最大落差で5mm(輸送前の落差2mm+輸送後の落差変化量3mm)であった。したがって、最大落差が、許容範囲である15mm以下となると共に、実施例2よりも良好な結果となった。
本発明の実施例4として、上述の図10(b)に示す形態のガラス板梱包体1を50体製作した。押圧板6としては、上述の実施例と同様のものを使用し、アーム7に代えて脚部8を取り付けた。なお、その他の条件は、実施例1と同様である。
その結果、10000枚(50体×200枚)のガラス板の輸送後の破損枚数は、零枚となり、極めて良好な結果を得た。また、輸送後におけるガラス板の積層厚みの最大落差変化量は平均で2mmであり、最大落差で6mm(輸送前の落差2mm+輸送後の落差変化量4mm)であった。したがって、最大落差が、許容範囲である15mm以下となると共に、実施例2よりも良好な結果となった。
実施例1〜4の比較例1として、実施例1において押圧板6を取り除き、押えバー4で直接ガラス板積層体を押付けたガラス板梱包体を50体製作した。なお、その他の条件は、実施例1と同様である。
その結果、10000枚(50体×200枚)のガラス板の輸送後の破損枚数が、4枚発生した。詳細は、ガラス板の下辺部を起点として破損したものが2枚で、ガラス板の幅方向両端部を起点として破損したものが2枚であった。一方、輸送後におけるガラス板の積層厚みの最大落差変化量は平均で17mmであり、最大落差で20mm(輸送前の落差2mm+輸送後の落差変化量18mm)であった。したがって、最大落差が、許容範囲である15mmを超える結果となった。
本発明の横姿勢でガラス板を梱包する形態の実施例5として、上述の図17及び図18に示す形態のガラス板梱包体1を50体製作した。各ガラス板梱包体1は、上記と同様のガラス板を200枚横姿勢で積層して製作した。押圧板6としては、実施例3、4と同様のものを使用し、その後方部が、後方の押えバー4から基準壁2c側に350mm食み出すようにした。なお、その他の条件は実施例1と同様である。
その結果、10000枚(50体×200枚)のガラス板の輸送後の破損枚数は、零枚となり、極めて良好な結果を得た。また、輸送後におけるガラス板の積層厚みの最大落差変化量は平均で2mmであり、最大落差で4mm(輸送前の落差2mm+輸送後の落差変化量2mm)であった。したがって、最大落差が、許容範囲である15mm以下となる良好な結果となった。
実施例5の比較例2として、実施例5において押圧板6を除去し、押えバー4で直接ガラス板積層体Gを押付けたガラス板梱包体を50体製作した。なお、その他の条件は、実施例5と同様である。
その結果、10000枚(50体×200枚)のガラス板の輸送後の破損枚数は、2枚となった。詳細は、破損した2枚のガラス板は、両方ともガラス板の幅方向両端を起点として破損したものであった。一方、輸送後におけるガラス板の積層厚みの最大落差変化量は平均で13mmであり、最大落差で16mm(輸送前の落差2mm+輸送後の落差変化量14mm)であった。ガラス板の横ズレに関しては、輸送後のガラス板全体が基準壁2cから約20mm離れる方向に移動した。したがって、最大落差については、許容範囲である15mmを超え、ガラス板の横ズレや破損も発生する結果となった。
本発明の第1実施形態に係るガラス板梱包体を示す斜視図である。 図1に示すガラス板梱包体の平面図である。 図1に示す締付け部材の断面図である。 本発明の第2実施形態に係るガラス板梱包体を示す斜視図である。 図4に示すガラス板梱包体の側面図である。 本発明の第3実施形態に係るガラス板梱包体を示す斜視図である。 )は、第3実施形態に係るガラス板梱包体の変形例を示す斜視図であって、()は、その部品分解配列斜視図である。 )は、本発明の第4実施形態に係るガラス板梱包体を示す斜視図であって、()は、その部品分解配列斜視図である。 (a)は、図8に示す押圧板とアームとの連結部分を示す拡大図であって、(b)はその変形例を示す拡大図である。 (b)は、第4実施形態に係るガラス板梱包体の変形例を示す斜視図であって 、(a)は、その部品分解配列斜視図である。 (a)は、図10に示す押圧板と脚部との連結部分を示す拡大図であって、(b)はその変形例を示す拡大図である。 本発明の第5実施形態に係るガラス板梱包体を示す斜視図である。 第5実施形態に係るガラス板梱包体の変形例を示す斜視図である。 第5実施形態に係るガラス板梱包体の変形例を示す斜視図である。 本発明の第6実施形態に係るガラス板梱包体を示す斜視図である。 図15に示すガラス板梱包体の平面図である。 第6実施形態に係るガラス板梱包体の変形例を示す斜視図である。 図17に示すガラス板梱包体の平面図である。
符号の説明
1 ガラス板梱包体
2 パレット
2a 基台部
2b 背受け部
2c 基準壁
3 緩衝板
4 押えバー
5 締付け部材
6 押圧板
7 アーム
8 脚部
G ガラス板積層体

Claims (14)

  1. パレット上に積層されたガラス板積層体の幅方向に跨るように押えバーを配置すると共に、前記ガラス板積層体の幅方向両側の外側に食み出した前記押えバーの両端部を締付け部材によって前記パレット側に引き込むように締付けることにより、前記ガラス板積層体を前記パレット上に押付けて保持したガラス板梱包体において、
    前記押えバーと前記ガラス板積層体との間に、双方に接触された状態で押圧板を介在させると共に、該押圧板の幅方向寸法を前記ガラス板積層体の幅方向寸法の1/3以上とし且つ前記ガラス板積層体の幅方向両端部を除く幅方向中央部に接触させたことを特徴とするガラス板梱包体。
  2. 前記押圧板のうち前記押えバーと接触している部分が、前記ガラス板積層体の幅方向に連続していることを特徴とする請求項1に記載のガラス板梱包体。
  3. 前記押圧板は、前記ガラス板積層体の幅方向と直交する方向における寸法が前記押えバーよりも大きいことを特徴とする請求項1又は2に記載のガラス板梱包体。
  4. 前記ガラス板積層体は、複数枚のガラス板を縦姿勢で積層してなり、前記パレットは、ガラス板の下辺部を支持する基台部と、ガラス板の背面部を支持する背受け部とを有していることを特徴とする請求項1〜3のいずれかに記載のガラス板梱包体。
  5. 前記押圧板の下端部が、前記パレットの基台部から離間していることを特徴とする請求項4に記載のガラス板梱包体。
  6. 前記押圧板の幅方向両側に、前記ガラス板積層体の幅方向両側の外側へと延びるアームを設けると共に、前記パレットの背受け部の幅方向両側に、前記ガラス板積層体の積層方向に延び且つ前記アームをスライド可能に支持するガイド部材を設け、該ガイド部材で前記アームを支持することにより、前記押圧板の下端部を前記パレットの基台部から離間させたことを特徴とする請求項5に記載のガラス板梱包体。
  7. 前記押えバーを前記ガラス板積層体の上下方向に複数配置すると共に、最上部の押えバーによって前記ガラス板積層体に作用する単位面積当たりの押付け力を、最下部の押えバーによって前記ガラス板積層体に作用する単位面積当たりの押付け力よりも小さくしたことを特徴とする請求項4〜6のいずれかに記載のガラス板梱包体。
  8. 前記押圧板は、前記最上部の押えバーによって前記ガラス板積層体を押圧する上部押圧板と、前記最下部の押えバーによって前記ガラス板積層体を押圧する下部押圧板とに少なくとも分離されており、前記上部押圧板の前記ガラス板積層体との接触面積が、前記下部押圧板の前記ガラス板積層体との接触面積よりも大きいことを特徴とする請求項7に記載のガラス板梱包体。
  9. 前記押圧板は、前記最上部の押えバーと前記最下部の押えバーとの間に跨るように配置された単一の部材であって、その上方部の前記最上部の押えバー上方への食み出し寸法が、その下方部の前記最下部の押えバー下方への食み出し寸法よりも大きいことを特徴とする請求項7に記載のガラス板梱包体。
  10. 前記ガラス板積層体が、複数枚のガラス板を横姿勢で積層してなり、前記パレットは、ガラス板の下面部を支持する基台部を有することを特徴とする請求項1〜3のいずれかに記載のガラス板梱包体。
  11. 前記パレットに、ガラス板の後方に位置する一辺に当接する基準壁を設けると共に、前記押えバーを前記ガラス板積層体の前後方向に複数配置し、最後部の押えバーによって前記ガラス板積層体に作用する単位面積当たりの押付け力を、最前部の押えバーによって前記ガラス板積層体に作用する単位面積当たりの押付け力よりも小さくしたことを特徴とする請求項10に記載のガラス板梱包体。
  12. 前記押圧板は、前記最前部の押えバーによって前記ガラス板積層体を押圧する前部押圧板と、前記最後部の押えバーによって前記ガラス板積層体を押圧する後部押圧板とに少なくとも分離されており、前記後部押圧板の前記ガラス板積層体との接触面積が、前記前部押圧板の前記ガラス板積層体との接触面積よりも大きいことを特徴とする請求項11に記載のガラス板梱包体。
  13. 前記押圧板は、前記最前部の押えバーと前記最後部の押えバーとの間に跨るように配置された単一の部材であって、その後方部の前記最後部の押えバー後方への食み出し寸法が、その前方部の前記最前部の押えバー前方への食み出し寸法よりも大きいことを特徴とする請求項11に記載のガラス板梱包体。
  14. 前記ガラス板積層体は、前記押圧部材で押圧される側の表面に緩衝板を配置してなることを特徴とする請求項1〜13のいずれかに記載のガラス板梱包体。
JP2007196142A 2007-07-27 2007-07-27 ガラス板梱包体 Active JP4936062B2 (ja)

Priority Applications (6)

Application Number Priority Date Filing Date Title
JP2007196142A JP4936062B2 (ja) 2007-07-27 2007-07-27 ガラス板梱包体
PCT/JP2008/061022 WO2009016893A1 (ja) 2007-07-27 2008-06-17 ガラス板梱包体
KR1020097018842A KR101456918B1 (ko) 2007-07-27 2008-06-17 유리판 곤포체
CN2008801008450A CN101765552B (zh) 2007-07-27 2008-06-17 玻璃板捆包体
CN2011101151880A CN102152909B (zh) 2007-07-27 2008-06-17 玻璃板捆包体
TW097124570A TWI409197B (zh) 2007-07-27 2008-06-30 玻璃板捆包體

Applications Claiming Priority (1)

Application Number Priority Date Filing Date Title
JP2007196142A JP4936062B2 (ja) 2007-07-27 2007-07-27 ガラス板梱包体

Publications (2)

Publication Number Publication Date
JP2009029472A JP2009029472A (ja) 2009-02-12
JP4936062B2 true JP4936062B2 (ja) 2012-05-23

Family

ID=40304131

Family Applications (1)

Application Number Title Priority Date Filing Date
JP2007196142A Active JP4936062B2 (ja) 2007-07-27 2007-07-27 ガラス板梱包体

Country Status (5)

Country Link
JP (1) JP4936062B2 (ja)
KR (1) KR101456918B1 (ja)
CN (2) CN101765552B (ja)
TW (1) TWI409197B (ja)
WO (1) WO2009016893A1 (ja)

Families Citing this family (7)

* Cited by examiner, † Cited by third party
Publication number Priority date Publication date Assignee Title
WO2010123448A1 (en) * 2009-04-21 2010-10-28 Gyros Patent Ab Method for reducing adsorption losses on metal oxide surfaces
JP2010280426A (ja) * 2009-06-08 2010-12-16 Avanstrate Taiwan Inc ガラス板梱包用パレット
JP6619290B2 (ja) * 2016-05-13 2019-12-11 株式会社神戸製鋼所 梱包製品及び梱包パレット
CN106995090B (zh) * 2017-04-18 2018-03-23 正安鑫旺钢化玻璃有限公司 一种高档钢化玻璃的保护装置
JP7685819B2 (ja) * 2019-09-20 2025-05-30 日本電気硝子株式会社 ガラス板梱包体
CN116056979B (zh) * 2020-07-09 2025-12-05 康宁公司 基板设备和方法
IT202100011402A1 (it) * 2021-05-05 2022-11-05 Gruppo Tecnoferrari Spa Pianale di supporto di lastre e struttura modulare di stoccaggio

Family Cites Families (10)

* Cited by examiner, † Cited by third party
Publication number Priority date Publication date Assignee Title
US2839198A (en) * 1954-06-07 1958-06-17 Pittsburgh Plate Glass Co Shipping and storage carrier for sheet material
US3809234A (en) * 1971-11-08 1974-05-07 Libbey Owens Ford Co Glass shipping rack
US5379904A (en) * 1993-03-29 1995-01-10 Ppg Industries, Inc. Restraint system for a sheet shipping rack
JP2758561B2 (ja) * 1994-03-29 1998-05-28 日本板硝子株式会社 リンク式伸縮機構にて進退される前面抑えを備えたガラス板等の板状物の運搬具
US5755339A (en) * 1996-10-15 1998-05-26 Belanger; Rosaire Retaining device for transporting stacks of on-edge supported sheets of float glass
JP4274394B2 (ja) * 1999-06-14 2009-06-03 大日本印刷株式会社 ガラス基板積層体搬送体
JP4238982B2 (ja) * 2002-06-26 2009-03-18 旭硝子株式会社 ガラス板の梱包装置及び方法並びに梱包体
JP4735085B2 (ja) * 2005-04-12 2011-07-27 旭硝子株式会社 ガラス板搬送パレット
JP4756326B2 (ja) * 2005-06-16 2011-08-24 日本電気硝子株式会社 ガラス板の梱包装置
JP2007030964A (ja) * 2005-07-29 2007-02-08 Kyokuhei Glass Kako Kk ガラス搬送パレット

Also Published As

Publication number Publication date
JP2009029472A (ja) 2009-02-12
CN101765552A (zh) 2010-06-30
WO2009016893A1 (ja) 2009-02-05
CN101765552B (zh) 2012-06-13
CN102152909B (zh) 2012-07-25
TWI409197B (zh) 2013-09-21
TW200914337A (en) 2009-04-01
CN102152909A (zh) 2011-08-17
KR101456918B1 (ko) 2014-10-31
KR20100044728A (ko) 2010-04-30

Similar Documents

Publication Publication Date Title
JP4936062B2 (ja) ガラス板梱包体
JP5182283B2 (ja) 板状体の梱包パレット
JP5787107B2 (ja) ガラス板梱包体
JP2010036948A (ja) ガラス板梱包体
CN102414092A (zh) 玻璃板用捆包装置
JP2009202900A (ja) ガラス板梱包体
TWI694957B (zh) 玻璃板梱包用托架及玻璃板梱包體
JP2009057051A (ja) ガラス板梱包体
JP5353787B2 (ja) ガラス板パレット、ガラス板積載方法、ガラス板梱包体、およびガラス板の取り出し方法
JP4793119B2 (ja) ガラス板輸送用パレット
CN101626966B (zh) 玻璃板捆包用集装架以及玻璃板捆包体
JP2011140337A (ja) ガラス板梱包用パレット
JP4862614B2 (ja) ガラス板梱包方法
CN114174194B (zh) 玻璃板捆包体
JP2011063283A (ja) ガラス板梱包体
JP2009234602A (ja) ガラス基板梱包用パレット
JP2008143540A (ja) ガラス板梱包用パレット及びガラス板梱包体
JP5464466B2 (ja) ガラス板梱包体
JP6171769B2 (ja) ガラス板梱包体、及びガラス板梱包用治具
CN223279573U (zh) 玻璃板捆包用托盘以及玻璃板捆包体
JP7720132B2 (ja) ガラス板梱包用パレット、ガラス板梱包体及びガラス板梱包体の製造方法
WO2024024351A1 (ja) ガラス板梱包用パレット、ガラス板梱包体及びガラス板梱包体の製造方法

Legal Events

Date Code Title Description
RD04 Notification of resignation of power of attorney

Free format text: JAPANESE INTERMEDIATE CODE: A7424

Effective date: 20091109

A621 Written request for application examination

Free format text: JAPANESE INTERMEDIATE CODE: A621

Effective date: 20091208

A131 Notification of reasons for refusal

Free format text: JAPANESE INTERMEDIATE CODE: A131

Effective date: 20111031

A521 Written amendment

Free format text: JAPANESE INTERMEDIATE CODE: A523

Effective date: 20111228

TRDD Decision of grant or rejection written
A01 Written decision to grant a patent or to grant a registration (utility model)

Free format text: JAPANESE INTERMEDIATE CODE: A01

Effective date: 20120126

A01 Written decision to grant a patent or to grant a registration (utility model)

Free format text: JAPANESE INTERMEDIATE CODE: A01

A61 First payment of annual fees (during grant procedure)

Free format text: JAPANESE INTERMEDIATE CODE: A61

Effective date: 20120208

FPAY Renewal fee payment (event date is renewal date of database)

Free format text: PAYMENT UNTIL: 20150302

Year of fee payment: 3

R150 Certificate of patent or registration of utility model

Ref document number: 4936062

Country of ref document: JP

Free format text: JAPANESE INTERMEDIATE CODE: R150

Free format text: JAPANESE INTERMEDIATE CODE: R150