JP4916678B2 - レーダ装置 - Google Patents

レーダ装置 Download PDF

Info

Publication number
JP4916678B2
JP4916678B2 JP2005180868A JP2005180868A JP4916678B2 JP 4916678 B2 JP4916678 B2 JP 4916678B2 JP 2005180868 A JP2005180868 A JP 2005180868A JP 2005180868 A JP2005180868 A JP 2005180868A JP 4916678 B2 JP4916678 B2 JP 4916678B2
Authority
JP
Japan
Prior art keywords
transmission
pulse
unit
control unit
target
Prior art date
Legal status (The legal status is an assumption and is not a legal conclusion. Google has not performed a legal analysis and makes no representation as to the accuracy of the status listed.)
Expired - Lifetime
Application number
JP2005180868A
Other languages
English (en)
Other versions
JP2007003228A (ja
Inventor
貴志 佐藤
秀彦 藤井
Current Assignee (The listed assignees may be inaccurate. Google has not performed a legal analysis and makes no representation or warranty as to the accuracy of the list.)
Mitsubishi Electric Corp
Original Assignee
Mitsubishi Electric Corp
Priority date (The priority date is an assumption and is not a legal conclusion. Google has not performed a legal analysis and makes no representation as to the accuracy of the date listed.)
Filing date
Publication date
Application filed by Mitsubishi Electric Corp filed Critical Mitsubishi Electric Corp
Priority to JP2005180868A priority Critical patent/JP4916678B2/ja
Publication of JP2007003228A publication Critical patent/JP2007003228A/ja
Application granted granted Critical
Publication of JP4916678B2 publication Critical patent/JP4916678B2/ja
Anticipated expiration legal-status Critical
Expired - Lifetime legal-status Critical Current

Links

Images

Landscapes

  • Radar Systems Or Details Thereof (AREA)

Description

この発明は、パルス圧縮を行うレーダ装置において、異なる2つ以上のアンテナから送信される送信波の電波干渉を積極的に利用し、強めあう領域を有効活用することにより、単体レーダ以上の能力を有することを可能としたレーダ装置に関する。
従来のレーダ技術では、複数のレーダ装置が同期や位相制御をされずに送受信されていた。このような場合は双方の送信波が電波干渉の影響により、たまたま同位相の波が干渉していた場合はうまく合成されて探知等の能力向上となるが、運悪く逆位相の波を与えてしまった場合は互いに電波を打ち消しあってしまい、レーダの能力を低下させてしまう。
また、例えば、特許文献1に示されるように、同時・同位相で送信を行う複数レーダを組み合わせて送信することにより捜索を行うレーダ装置があった。このようなレーダ装置の送信においては、各単体レーダが同時に同じ周波数で同一位相をもって送信を行うことにより、目標に対して送信波がそれぞれの送信波を打ち消しあう方向には位相を制御しないことにより単体よりも能力を向上させるようにしている。
特開平1−307688号公報
しかしながら、上記のような従来のレーダ装置において、目標に対して送信波がそれぞれの送信波を打ち消しあう方向には位相を制御しないよう構成されていたとしても、目標の位置に応じた処理などは行っていないため、例えば、送信波を強めあう干渉は常にお互いのレーダから決まった距離に生じることになってしまう等、レーダ装置としての目標検出能力を向上させるものではなかった。
この発明は上記のような課題を解決するためになされたもので、目標検出能力を向上させることのできるレーダ装置を得ることを目的とする。
この発明に係るレーダ装置は、複数のパルス送信手段において、パルスの送信時間間隔を同一かつ一定とすると共に、少なくとも一のパルス送信手段において、パルスを送信しない時間である調整時間を任意のタイミングで複数挿入し、かつ、調整時間をそれぞれ異なる値として、複数のパルス送信手段のうち、少なくとも二つのパルス送信手段の間でパルス送信時間間隔を相対的に変化させるようにしたものである。
この発明のレーダ装置は、複数のパルス送信手段において、パルスの送信時間間隔を同一かつ一定とすると共に、少なくとも一のパルス送信手段において、パルスを送信しない時間である調整時間を任意のタイミングで複数挿入し、かつ、調整時間をそれぞれ異なる値として、複数のパルス送信手段のうち、少なくとも二つのパルス送信手段の間でパルス送信時間間隔を相対的に変化させるようにしたので、特定の領域でパルスが強めあうことがなく、目標検出能力を向上させることができる。
参考例1.
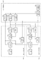
図1は、この発明の参考例1によるレーダ装置を示す構成図である。
図において、レーダ装置は、第1の送受信部100、第2の送受信部200、パルス制御部300からなる。第1の送受信部100および第2の送受信部200は、複数のパルス送信手段を構成するもので、それぞれが目標検出のためのパルスを送信する機能を有している。
第1の送受信部100は、アンテナ装置101、送信処理部102、パルス変調部103、発振部104、受信処理部105、移相器106からなる。アンテナ装置101は、送信や受信および送信方位の制御等の送信搬送波の位相制御を行うものである。尚、参考例1のアンテナ装置101は、ペンシルビームを送信するよう構成されている。送信処理部102は、送信電波の増幅および発振部104からの発振信号を合成して送信波を生成する機能部である。パルス変調部103は、パルス制御部300における共通パルス制御部302からの指示に基づき、送信パルスの発生・変調を行う機能部である。発振部104は、パルス制御部300における共通発振制御部303からの指示に従って発振信号を生成し、この発振信号を送信処理部102に出力する機能部である。受信処理部105は、アンテナ装置101で受信され、移相器106を介して位相制御された受信信号の処理を行う機能部である。移相器106は、パルス制御部300の共通位相制御部301からの制御に基づき送信処理部102から出力された送信波の位相制御を行う機能部である。
また、第2の送受信部200は、第1の送受信部100と同様の構成を備えている。即ち、アンテナ装置101〜移相器106を備えており、これらアンテナ装置201〜移相器206は、それぞれ、アンテナ装置101〜移相器106と同様の機能を有しているため、ここでの説明は省略する。
パルス制御部300は、第1の送受信部100および第2の送受信部200のパルス送信時間間隔を、それぞれの間で相対的に変化させるよう制御する機能部であり、共通位相制御部301、共通パルス制御部302、共通発振制御部303、共通信号処理部304、共通表示制御部305を備えている。
共通位相制御部301は、共通信号処理部304の制御に基づきそれぞれの第1の送受信部100および第2の送受信部200に対しての送信波および受信波の位相の制御を行う機能部である。共通パルス制御部302は、二つのレーダのパルスを同一に制御するための機能部である。共通発振制御部303は、共通信号処理部304の指示に基づき同一の送信波を生成するために発振部104,204を制御する機能部である。共通信号処理部304は、受信信号から目標検出を行い、共通表示制御部305に表示データとして変換して送る機能や、共通位相制御部301や共通パルス制御部302の制御を行う機能を有するものである。また、共通表示制御部305は、共通信号処理部304の出力に基づいて、目標検出結果等の情報を表示するための制御部である。
次に、このように構成された参考例1の動作について説明する。
共通信号処理部304は、第1の送受信部100および第2の送受信部200に対してパルスを制御するように共通パルス制御部302に対して指示を行う。共通パルス制御部302は、共通信号処理部304の指示に基づき、同じ変調方式で同一のパルスを発生させるようにパルス変調部103,203に対して指示を行う。パルス変調部103,203では、共通パルス制御部302の指示に基づいてパルスの生成・変調を行い、その結果を送信処理部102,202へ送る。送信処理部102,202においては、発振部104,204からの信号と発振部104,204からのパルス信号を合成させ、送信信号を生成し、移相器106,206に対して送信波を出力する。この際、発振部104,204は、共通発振制御部303からの制御により同一のタイミングで動作しているため、送信処理部102,202の送信波は全く同じものとなっている。
また、共通発振制御部303は、共通信号処理部304の制御により発振部104,204が完全に同期動作をするように制御を行う。送信処理部102,202から出力された信号は、共通位相制御部301の制御に基づいて動作する移相器106,206により位相が制御されてそれぞれのアンテナ装置101,201にて送信される。このような動作により、第1の送受信部100と第2の送受信部200とから送信されるパルスの送信時間間隔(PRT)は、同一となっている。
図2は、同一PRTの場合の説明図である。
図2(a)は、それぞれの第1の送受信部100および第2の送受信部200(図中、レーダ1およびレーダ2として示す)から同一の送信を同一PRTにて行った場合の送信パルスを示す図である。また、図2(b)は、この場合の位相を強めあう領域の説明図である。図2(a)に示すような送信を行った場合、図2(b)に示すように、お互いの送信位置から同じ距離の位置において位相を強めあう領域が発生する。これは、ペンシルビームで追尾した場合でもファンビームなどを用いて捜索した場合でも同一PRTにて送信する限りは図2(b)に示すように、常に同じ位置で送信波を強めあう領域が双曲線に示すように発生する。
このように目標検出(必要S/N確保)のための積分に必要な回数、同期された同位相である同一のPRTにてパルスが送信された後、共通信号処理部304は、異なるPRTにて送信を行うために共通パルス制御部302に対して異なるPRTにて送信制御を行う。共通パルス制御部302は、それぞれの第1の送受信部100および第2の送受信部200に対して、異なるPRTにて送信するようにパルス変調部103,203を制御する。制御されたパルス変調部103,203以降の動作は上述した同一のPRTの場合の送信制御と同じとなる。
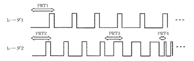
図3は、PRTを変化させた場合の説明図である。
図示のように、第1の送受信部100(レーダ1)からの送信されるパルスのPRTは一定であるが、第2の送受信部200(レーダ2)におけるPRTは、PRT2,PRT3,PRT4,…とランダムとなっている。これにより、位相を強めあう領域が変化し、従って、目標物が見えたり見えなかったりという状態が発生するのを防止することができる。
尚、図3に示す例では、第2の送受信部200のPRTをランダムに変化させると共に、パルス幅も変化させている。これにより、上述した目標物が見えたり見えなかったりという状態が発生するのを防止する効果をより高めることができるが、パルス幅を一定としてもよい。また、第1の送受信部100におけるPRTをランダムに変化させてもよく、このようにすれば、更に、位相を強めあう領域を複雑に変化させることができる。
また、レーダ装置における受信動作は次のように行われる。
即ち、送信された電波は目標から反射し、アンテナ装置101,201にて受信される。受信された信号は、移相器106,206により位相が制御され、受信ビームの方位等が制御された後、受信処理部105,205に送られる。受信処理部105,205では受信された信号の復調、積分等の処理が行われる。復調などの処理が行われた受信信号は、共通信号処理部304にて目標検出などの処理が行われる。目標検出結果等の情報は共通表示制御部305にて表示される。
以上のように、参考例1のレーダ装置によれば、送信したパルスが目標物で反射した信号を受信することにより、目標物の位置を検出するレーダ装置において、それぞれがパルスを送信する複数のパルス送信手段と、複数のパルス送信手段のパルス送信時間間隔を、それぞれの間で相対的に変化させるよう制御するパルス制御部を備えたので、目標物が見えたり見えなかったりという状態が発生するのを防止することができ、レーダ装置としての目標検出能力を向上させることができる。
参考例2.
参考例2は、送信ビームとしてファンビームを用いたものであり、図面上の構成は参考例1と同様であるため、図1を援用して説明する。
参考例2におけるアンテナ装置101,201は、フェイズドアレイアンテナを用いている。また、移相器106,206は、DBF(デジタルビームフォーミング)の処理に対応した数(2次元DBFの場合は、フェイズドアレイの素子数分)の移相器を有している。このような構成により、広いビーム幅を持ち、捜索を行うのに有利なファンビームを実現している。その他の構成については、参考例1と同様である。また、基本的な動作についても、参考例1と同様であるため、ここでの説明は省略する。
以上のように、参考例2のレーダ装置によれば、複数のパルス送信手段は、フェーズドアレイアンテナを有し、ファンビームを送信するようにしたので、参考例1の効果に加えて、ファンビームを用いたことによる捜索時間の短縮が可能となる効果がある。
実施の形態
上記の参考例1,2では、PRTを変化させることにより位相を強めあう領域を固定した位置にならないように制御していたが、PRTは完全に同一でも送信タイミングをずらすことにより位相を強めあう領域を変化させることが可能であり、これを実施の形態として次に示す。
図面上の構成は、参考例1と同様であるため、図1を援用して説明する。
実施の形態の共通発振制御部303では、各発振部104,204に対して、発振のタイミングを完全同期ではなく、二つの発振部104,204をある時間ずらして動作させるよう制御する構成となっている。即ち、実施の形態のパルス制御部300は、第1の送受信部100および第2の送受信部200のうち、少なくとも一方の送受信部のパルス送信時間間隔として、パルスを送信しない時間である調整時間を任意のタイミングで複数挿入し、かつ、その調整時間をそれぞれ異なる値として制御するようにしている。これ以外の構成は、参考例1と同様である。
図4は、PRTを同一とし、送信タイミングをずらした場合の送信パルスの説明図である。
図示のように、第1の送受信部100から送信されるパルスは、送信タイミングが一定となっているが、第2の送受信部200では、周期的に異なる調整時間(Tc1,Tc2,…)が挿入され、その結果、第2の送受信部200から送信されるパルスの送信タイミングは調整時間分変化するようになっている。
このように、それぞれの発振部104,204のずらす時間を適当に制御することにより、常に同一のエリアで位相を強めあうということはなくなり、時間的にみると、全領域で同じ程度の能力向上を図ることができる。
以上のように、実施の形態のレーダ装置によれば、パルス制御部は、複数のパルス送信手段において、パルスの送信時間間隔を同一かつ一定とすると共に、少なくとも一のパルス送信手段において、パルスを送信しない時間である調整時間を任意のタイミングで複数挿入し、かつ、調整時間をそれぞれ異なる値として、複数のパルス送信手段のうち、少なくとも二つのパルス送信手段の間でパルス送信時間間隔を相対的に変化させるようにしたので、参考例1と同様に、目標物が見えたり見えなかったりという状態が発生するのを防止することができ、レーダ装置としての目標検出能力を向上させることができるという効果が得られる。
参考例3
上記参考例1、2および実施の形態1は、受信処理以降およびパルス変調前を共通の構成としていたが、すべてが独立のレーダに対して必要なときにのみ2つのレーダの電波干渉領域を異なる位置に発生するように制御してもよく、これを参考例3として次に説明する。
図5は、参考例3のレーダ装置の構成図である。
参考例3は、第1の送受信部100a、第2の送受信部200a、パルス制御部300aからなる。第1の送受信部100aおよび第2の送受信部200aは、複数のパルス送受信手段(複数のレーダ)を構成するもので、第1の送受信部100aは、アンテナ装置101〜移相器106、信号処理部107、表示制御部108を備えており、第2の送受信部200aは、アンテナ装置201〜移相器206、信号処理部207、表示制御部208を備えている。ここで、アンテナ装置101,201〜移相器106,206は、参考例1と同様である。また、信号処理部107(207)は、第1の送受信部100a(第2の送受信部200a)において、受信処理部105(205)からの受信信号から目標検出を行い、表示制御部108(208)に表示データとして変換して送る機能を有している。また、表示制御部108(208)は、信号処理部107(207)の出力に基づいて、目標検出結果等の情報を表示し、かつ、得られた情報をパルス制御部300aに送出する機能を有している。
パルス制御部300aは、共通位相制御部301、共通パルス制御部302、共通発振制御部303、統合レーダ制御部306を有している。この統合レーダ制御部306は、表示制御部108(208)からの情報に基づいて、第1の送受信部100aと第2の送受信部200aの動作状態を常に監視し、必要な場合に参考例,2および実施の形態の動作を行うよう制御する機能を有するものである。
ここで、必要な場合とは、第1の送受信部100aと第2の送受信部200aとを協働して動作させる場合をいう。即ち、参考例3では、第1及び第2の送受信部100a,200aは、その動作状態を統合レーダ制御部306によって監視しているが、それぞれ独立したレーダとして動作させることができるものであり、第1及び第2の送受信部100a,200aを独立したレーダとして動作させる場合(例えば、第1の送受信部100aの動作を停止して第2の送受信部200aのみを動作させる場合)には、上述したような制御は必要ではなく、これらを協働して動作させる場合に、統合レーダ制御部306は、第1及び第2の送受信部100a,200aに対して参考例1,2および実施の形態1に記載したような制御を行う。尚、共通位相制御部301〜共通発振制御部303の構成は参考例1と同様である。
このように、参考例3では、独立した2つのレーダの動作状況を常に統合レーダ制御部306が監視しており、必要な場合に上記参考例1および2の動作を行うよう構成されている。このため、それぞれの表示制御部108,208は、常に第1の送受信部100aおよび第2の送受信部200aの動作状況を入手しており、入手した情報を統合レーダ制御部306に送る。統合レーダ制御部306は、得られた2つのレーダ動作状態から、一定の位置のみが強めあわないように、また、弱めあってしまうことがないように、共通位相制御部301、共通パルス制御部302、共通発振制御部303を制御する。即ち、必要に応じて、参考例1,2および実施の形態の制御を行う。
以上のように、参考例3のレーダ装置によれば、送信したパルスが目標物で反射した信号を受信することにより、目標物の位置を検出するレーダ装置において、それぞれがパルスを送受信する複数のパルス送受信手段と、複数のパルス送受信手段で受信した結果に基づいて、送信したパルスが特定の領域で強めあっているか、または、弱めあっているかを判定し、そうであった場合は、複数のパルス送受信手段が送信するパルスの送信時間間隔を、それぞれの間で相対的に変化させるよう制御するパルス制御部を備えたので、上記参考例1,2および実施の形態と同様の効果が得られると共に、既存の独立したレーダに対して機能・構造を付加することでも実施することが可能となり、完全に新規に製造するよりもコストを抑えることが可能となる。
参考例4
上記各参考例および実施の形態では、複数の送受信部のPRTを相対的に変化させることで、目標検出能力を向上させるようにしたが、複数の送受信部のPRTを異なるようにすることで、目標検出能力を向上させるようにしてもよく、これを参考例4として説明する。
参考例4における図面上の構成は、参考例1と同様であるため、図1を援用して説明する。参考例4におけるパルス制御部300は、第1の送受信部100に対しては通常のPRTで送信するよう制御を行い、第2の送受信部200に対しては、PRTを細かくするよう制御する。その他の各構成については参考例1と同様である。
図6は、それぞれの送受信部のPRTを示す説明図である。
図中、(a)は第1の送受信部100のパルス送信時間間隔(PRT1)、(b)は第2の送受信部200のパルス送信時間間隔(PRT2)を示している。図示のように、PRT1>PRT2であり、このようなパルスの送出間隔とすることにより、強めあう領域を細かくすることができる。尚、第1の送受信部100および第2の送受信部200のパルス幅においても、第1の送受信部100のパルス幅を太く、第2の送受信部200のパルス幅を短くしている。これにより、強めあう領域を更に細かくすることが可能であるが、パルス幅が同一であっても、PRT1>PRT2であれば、強めあう領域を細かくするという効果を得ることができる。
以上のように、参考例4のレーダ装置によれば、パルス制御部は、複数のパルス送信手段がそれぞれ異なるパルス送信時間間隔となるよう制御を行うようにしたので、目標が見える可能性のある領域を増やすことができ、その結果、レーダ装置としての目標検出性能を向上させることができる。
参考例5
上記各参考例および実施の形態では、目標検出性能を向上させるため、送信波を強めあう領域を固定させないようにしたが、例えば、追尾専用ビームといったレーダで、目標の位置が特定できる場合は、その目標の位置で必ず送信波を強めあうよう制御してもよく、これを参考例5として説明する。
図7は、参考例5の構成図である。
参考例5におけるパルス制御部300bは、共通位相制御部301、共通パルス制御部302、共通発振制御部303、共通信号処理部304、共通表示制御部305、目標位置判定部307からなる。目標位置判定部307は、共通信号処理部304の出力から、ある1目標に対して目標の位置を入手し、この位置に対して送信波が必ず強めあうように、共通位相制御部301、共通パルス制御部302、共通発振制御部303における送信タイミングや位相等を制御する機能を有している。これ以外の第1の送受信部100bおよび第2の送受信部200bの構成は、参考例1と同様であるため、ここでの説明は省略する。
図8は、目標と第1の送受信部100b(レーダ1)および第2の送受信部200b(レーダ2)との位置関係を示す説明図である。
目標と第1の送受信部100bとの距離をR1、目標と第2の送受信部200bとの距離をR2とし、これらの距離R1,R2は、目標位置判定部307にて測定済みであるとする。尚、この測定方法としては、参考例1,2および実施の形態と同様の動作を行うことで距離R1,R2を求めたり、あるいは捜索用のレーダ装置を別途用意し、このレーダ装置から値を取得するようにしてもよい。
今、第1の送受信部100bと第2の送受信部200bとのパルス幅やPRTは同一(同一諸元)とし、距離R1におけるパルス到達時間はPRTの2倍、距離R2におけるパルス到達時間はPRTの3倍であるとする。
図9は、この状態を示す説明図である。
このような場合、目標に到達するタイミングを同時にすれば、パルス内の送信波は(同一諸元であるため位相も同期するため)、必ず強めあうことになる。従って、第2の送受信部200bからは、第1の送受信部100bの送信タイミングよりも必ず1PRT先に送信することにより必ず強めあうことが可能となる。
つまり、二つの第1の送受信部100bと第2の送受信部200bの距離をR1,R2、PRTを同一とした場合、
(R2のパルス到達時間−R1のパルス到達時間)/C 但し、Cは光速を示す
の時間だけ先に第2の送受信部200bが送信を始める必要がある(R1<R2)。
また、このような目標までの距離に応じて送信波が必ず強めあう制御を行った後、所定時間が経過し、目標までの距離が変化した場合は、その距離に応じて、上記と同様の処理を行う。ここで、変化した距離の求め方としては、それまでの目標の位置に基づいて次の目標位置を推定する方法や、再度、参考例1,2および実施の形態の動作を行って求めてもよい。即ち、参考例1,2および実施の形態の動作によって現在位置を求める場合は、所定時間毎に、送信波を強めあう領域を固定させない制御を行って目標への位置を測定する捜索モードと、この捜索モードで取得した目標への距離に基づいて、目標の位置で送信波が必ず強めあうよう制御する追尾モードを繰り返すことになる。尚、次の目標位置を求める方法はレーダ装置において公知であるため、ここでの説明は省略する。
以上のように、参考例5のレーダ装置によれば、送信したパルスが目標物で反射した信号を受信することにより、目標物の位置を検出するレーダ装置において、それぞれがパルスを送信する複数のパルス送信手段と、目標物の位置を判定する目標位置判定部を有し、目標位置判定部で判定された目標物の位置と、複数のパルス送信手段におけるパルス送信位置とのそれぞれの距離に基づき、送信されたパルスが目標物の位置で強めあうよう、パルス送信手段のパルス送信タイミングを制御するパルス制御部とを備えたので、単一のレーダ装置で送受信を行う場合に比べてより得られる反射を大きくすることができ、S/Nが大きくなるため、単体レーダで動作するよりも目標検出能力を向上させることができる。
尚、上記各参考例および実施の形態では、複数のパルス送信手段として、二つの場合を説明したが、これに限定されるものではなく、三つ以上のパルス送信手段に対して制御するようにしてもよい。
この発明の参考例1によるレーダ装置を示す構成図である。 この発明の参考例1における同一PRTの場合の動作を示す説明図である。 この発明の参考例1におけるPRTを変化させた場合の動作を示す説明図である。 この発明の実施の形態によるレーダ装置の送信パルスを示す説明図である。 この発明の参考例3によるレーダ装置を示す構成図である。 この発明の参考例4によるレーダ装置の送信パルスを示す説明図である。 この発明の参考例5によるレーダ装置を示す構成図である。 この発明の参考例5によるレーダ装置における目標と各レーダとの位置関係を示す説明図である。 この発明の参考例5によるレーダ装置の送信パルスを示す説明図である。
100,100b 第1の送受信部(パルス送信手段)、200,200b 第2の送受信部(パルス送信手段)、100a 第1の送受信部(パルス送受信手段)、200a 第2の送受信部(パルス送受信手段)、300,300a,300b パルス制御部、307 目標位置判定部。

Claims (2)

  1. 送信したパルスが目標物で反射した信号を受信することにより、前記目標物の位置を検出するレーダ装置において、
    前記パルスを送信する複数のパルス送信手段と、
    前記複数のパルス送信手段において、パルスの送信時間間隔を同一かつ一定とすると共に、少なくとも一のパルス送信手段において、パルスを送信しない時間である調整時間を任意のタイミングで複数挿入し、かつ、当該調整時間をそれぞれ異なる値として、前記複数のパルス送信手段のうち、少なくとも二つのパルス送信手段の間でパルス送信時間間隔を相対的に変化させるよう制御するパルス制御部とを備えたレーダ装置。
  2. 複数のパルス送信手段は、フェーズドアレイアンテナを有し、ファンビームを送信することを特徴とする請求項1記載のレーダ装置。
JP2005180868A 2005-06-21 2005-06-21 レーダ装置 Expired - Lifetime JP4916678B2 (ja)

Priority Applications (1)

Application Number Priority Date Filing Date Title
JP2005180868A JP4916678B2 (ja) 2005-06-21 2005-06-21 レーダ装置

Applications Claiming Priority (1)

Application Number Priority Date Filing Date Title
JP2005180868A JP4916678B2 (ja) 2005-06-21 2005-06-21 レーダ装置

Publications (2)

Publication Number Publication Date
JP2007003228A JP2007003228A (ja) 2007-01-11
JP4916678B2 true JP4916678B2 (ja) 2012-04-18

Family

ID=37689020

Family Applications (1)

Application Number Title Priority Date Filing Date
JP2005180868A Expired - Lifetime JP4916678B2 (ja) 2005-06-21 2005-06-21 レーダ装置

Country Status (1)

Country Link
JP (1) JP4916678B2 (ja)

Families Citing this family (3)

* Cited by examiner, † Cited by third party
Publication number Priority date Publication date Assignee Title
JP2013238477A (ja) * 2012-05-15 2013-11-28 Furukawa Electric Co Ltd:The レーダ装置
KR101711932B1 (ko) * 2014-11-14 2017-03-03 삼성중공업 주식회사 선박용 레이더 제어 시스템 및 그 방법
JP7112829B2 (ja) * 2017-01-27 2022-08-04 古河電気工業株式会社 レーダ装置、レーダ装置の制御方法、および、レーダシステム

Family Cites Families (6)

* Cited by examiner, † Cited by third party
Publication number Priority date Publication date Assignee Title
JPS5245479B2 (ja) * 1972-02-19 1977-11-16
JPS5432091A (en) * 1977-08-15 1979-03-09 Nec Corp Radar interference eleimenating system
JPH01307688A (ja) * 1988-06-06 1989-12-12 Tech Res & Dev Inst Of Japan Def Agency 統合検知装置
JPH0271185A (ja) * 1988-09-07 1990-03-09 Mitsubishi Electric Corp レーダ装置
JP2576249B2 (ja) * 1990-01-30 1997-01-29 三菱電機株式会社 フエイズドアレイレーダのビームマネージメント方法及びその装置
JP3763000B2 (ja) * 2003-09-17 2006-04-05 防衛庁技術研究本部長 レーダ装置

Also Published As

Publication number Publication date
JP2007003228A (ja) 2007-01-11

Similar Documents

Publication Publication Date Title
JP5093298B2 (ja) 方位検出装置
JPH08136647A (ja) Fm−cw方式マルチビームレーダー装置
JP6019795B2 (ja) レーダ装置、目標データ取得方法及び、目標追尾システム
JPH01153989A (ja) フェーズドアレイレーダ装置
JP4656144B2 (ja) レーダ装置
JP2007189436A (ja) 車車間通信装置
WO2019059217A1 (ja) レーダー装置
US20040189513A1 (en) Transmit-receive FM-CW radar apparatus
JP2011257376A (ja) レーダ装置
CN111819459B (zh) 用于在雷达测量系统上单义地确定物体速度的方法
US9285457B2 (en) High-accuracy detection in collaborative tracking systems
JP4615542B2 (ja) ミリ波レーダ装置
JP4916678B2 (ja) レーダ装置
JP2006242844A (ja) レーダー装置及び送信ビーム制御方法
JP6967862B2 (ja) レーダ装置
JP2003248056A (ja) マルチスタティック・レーダ装置
JPH11258340A (ja) レーダ送受信機
JP6385278B2 (ja) レーダ装置、及びレーダ映像表示方法
JP4314262B2 (ja) 車載用レーダ装置
JP3482870B2 (ja) Fm−cwレーダ装置
JP2005091174A (ja) レーダ装置
JPH11352224A (ja) レーダ装置
JP2964947B2 (ja) 時分割型レーダシステム
JP4294665B2 (ja) ミリ波レーダ装置
JP5483836B2 (ja) レーダ情報伝送システム及びそのためのレーダ装置

Legal Events

Date Code Title Description
RD04 Notification of resignation of power of attorney

Free format text: JAPANESE INTERMEDIATE CODE: A7424

Effective date: 20071005

A621 Written request for application examination

Free format text: JAPANESE INTERMEDIATE CODE: A621

Effective date: 20080109

RD04 Notification of resignation of power of attorney

Free format text: JAPANESE INTERMEDIATE CODE: A7424

Effective date: 20080624

A977 Report on retrieval

Free format text: JAPANESE INTERMEDIATE CODE: A971007

Effective date: 20091201

A131 Notification of reasons for refusal

Free format text: JAPANESE INTERMEDIATE CODE: A131

Effective date: 20091208

A521 Request for written amendment filed

Free format text: JAPANESE INTERMEDIATE CODE: A523

Effective date: 20100203

A131 Notification of reasons for refusal

Free format text: JAPANESE INTERMEDIATE CODE: A131

Effective date: 20100629

A521 Request for written amendment filed

Free format text: JAPANESE INTERMEDIATE CODE: A523

Effective date: 20100826

A131 Notification of reasons for refusal

Free format text: JAPANESE INTERMEDIATE CODE: A131

Effective date: 20110628

A521 Request for written amendment filed

Free format text: JAPANESE INTERMEDIATE CODE: A523

Effective date: 20110803

TRDD Decision of grant or rejection written
A01 Written decision to grant a patent or to grant a registration (utility model)

Free format text: JAPANESE INTERMEDIATE CODE: A01

Effective date: 20120117

A01 Written decision to grant a patent or to grant a registration (utility model)

Free format text: JAPANESE INTERMEDIATE CODE: A01

A61 First payment of annual fees (during grant procedure)

Free format text: JAPANESE INTERMEDIATE CODE: A61

Effective date: 20120125

FPAY Renewal fee payment (event date is renewal date of database)

Free format text: PAYMENT UNTIL: 20150203

Year of fee payment: 3

R150 Certificate of patent or registration of utility model

Ref document number: 4916678

Country of ref document: JP

Free format text: JAPANESE INTERMEDIATE CODE: R150

R250 Receipt of annual fees

Free format text: JAPANESE INTERMEDIATE CODE: R250

R250 Receipt of annual fees

Free format text: JAPANESE INTERMEDIATE CODE: R250

R250 Receipt of annual fees

Free format text: JAPANESE INTERMEDIATE CODE: R250

R250 Receipt of annual fees

Free format text: JAPANESE INTERMEDIATE CODE: R250

R250 Receipt of annual fees

Free format text: JAPANESE INTERMEDIATE CODE: R250

R250 Receipt of annual fees

Free format text: JAPANESE INTERMEDIATE CODE: R250

R250 Receipt of annual fees

Free format text: JAPANESE INTERMEDIATE CODE: R250

R250 Receipt of annual fees

Free format text: JAPANESE INTERMEDIATE CODE: R250

R250 Receipt of annual fees

Free format text: JAPANESE INTERMEDIATE CODE: R250

R250 Receipt of annual fees

Free format text: JAPANESE INTERMEDIATE CODE: R250

EXPY Cancellation because of completion of term