JP4915112B2 - 車間維持支援装置および車間維持支援方法 - Google Patents

車間維持支援装置および車間維持支援方法 Download PDF

Info

Publication number
JP4915112B2
JP4915112B2 JP2006066547A JP2006066547A JP4915112B2 JP 4915112 B2 JP4915112 B2 JP 4915112B2 JP 2006066547 A JP2006066547 A JP 2006066547A JP 2006066547 A JP2006066547 A JP 2006066547A JP 4915112 B2 JP4915112 B2 JP 4915112B2
Authority
JP
Japan
Prior art keywords
reaction force
accelerator pedal
operation reaction
accelerator
inter
Prior art date
Legal status (The legal status is an assumption and is not a legal conclusion. Google has not performed a legal analysis and makes no representation as to the accuracy of the status listed.)
Expired - Lifetime
Application number
JP2006066547A
Other languages
English (en)
Other versions
JP2007238038A (ja
Inventor
洋介 小林
健一 江川
智 田家
Current Assignee (The listed assignees may be inaccurate. Google has not performed a legal analysis and makes no representation or warranty as to the accuracy of the list.)
Nissan Motor Co Ltd
Original Assignee
Nissan Motor Co Ltd
Priority date (The priority date is an assumption and is not a legal conclusion. Google has not performed a legal analysis and makes no representation as to the accuracy of the date listed.)
Filing date
Publication date
Application filed by Nissan Motor Co Ltd filed Critical Nissan Motor Co Ltd
Priority to JP2006066547A priority Critical patent/JP4915112B2/ja
Publication of JP2007238038A publication Critical patent/JP2007238038A/ja
Application granted granted Critical
Publication of JP4915112B2 publication Critical patent/JP4915112B2/ja
Anticipated expiration legal-status Critical
Expired - Lifetime legal-status Critical Current

Links

Images

Landscapes

  • Auxiliary Drives, Propulsion Controls, And Safety Devices (AREA)
  • Control Of Driving Devices And Active Controlling Of Vehicle (AREA)
  • Controls For Constant Speed Travelling (AREA)

Description

本発明は、先行車との車間距離が維持されるように支援する技術に関する。
前方車両との車間距離を検出し、車間距離の減少に伴いアクセルペダルの反力を増大させることによって、運転者の注意を喚起して、車間距離が維持されるように支援する装置が知られている(特許文献1参照)。
特開平10−166890号公報
しかし従来の装置では、前方車両を追い越す場合などドライバが意図的に前方車両に接近する場合にもアクセルペダル反力が増大してしまうため、ドライバがアクセル操作を行う際に違和感を与えてしまう。
本発明は、自車前方の障害物の状況を検出し、アクセルペダルの操作量を検出し、検出された自車前方の障害物の状況に基づいて、アクセルペダルに発生させるアクセルペダルを押し戻す操作反力を演算し、演算されたアクセルペダルを押し戻す操作反力をアクセルペダルに発生させ、検出された操作量のうち、アクセルペダルを押し戻す操作反力を発生させた後で最も少ない操作量をアクセル開度保存値として記憶し、アクセルペダルを押し戻す操作反力を発生させた後、記憶されたアクセル開度保存値を基準として、検出された操作量が増加したと判断した場合には、アクセル開度保存値と検出された操作量との差をアクセルペダルの踏み増し量として算出し、アクセルペダルを押し戻す操作反力を発生させた後、記憶されたアクセル開度保存値を基準として、検出された操作量が増加したと判断した場合には、算出した踏み増し量に応じて、アクセルペダルに発生させるアクセルペダルを押し戻す操作反力が弱くなるように補正することを特徴とする。
本発明によれば、アクセルペダル操作量に基づいてアクセルペダルが踏み増された場合には、アクセルペダルに発生させる操作反力が弱くなるように補正するように構成した。これにより、ドライバがアクセルペダルからブレーキペダルへ踏み替える操作を支援することができるとともに、アクセルペダル反力が発生している状態下でアクセルペダルを踏み込むドライバに対して違和感を低減させることができる。
−−−第1の実施の形態−−−
本発明の第1の実施の形態による車間維持支援装置について、図面を用いて説明する。図1は、本発明の第1の実施の形態による車間維持支援装置1の構成を示すシステム図であり、図2は、車間維持支援装置1を搭載する車両の構成図である。
まず、車間維持支援装置1の構成を説明する。レーザレーダ10は、車両の前方グリル部もしくはバンパ部等に取り付けられ、水平方向に赤外光パルスを操作する。レーザレーダ10は、前方にある複数の反射物(通常、前方車の後端)で反射された赤外光パルスの反射波を計測し、反射波の到達時間より、複数の前方車までの車間距離とその存在方向を検出する。検出した車間距離及び存在方向はコントローラ50へ出力される。なお、本実施の形態において、前方物体の存在方向は、自車両に対する相対角度として表すことができる。レーザレーダ10によりスキャンされる前方の領域は、自車正面に対して±6deg程度であり、この範囲内に存在する前方物体が検出される。
コントローラ50は、車間維持支援装置1全体の制御を行う。コントローラ50は、車速センサ20から入力される自車速と、レーザレーダ10から入力される距離情報から、自車両周囲の障害物状況を検出する。またコントローラ50は、障害物状況に基づいて車間距離閾値を算出する。さらに、コントローラ50は、車間距離閾値に応じて以下のような制御を行う。
本発明の第1の実施の形態による車間維持支援装置1は、アクセルペダルを操作する際に発生する反力を制御することによって、運転者の運転操作を適切にアシストするものである。そこで、コントローラ50は、障害物状況から車間距離閾値を算出する。コントローラ50は算出した車間距離閾値に対して目標ペダル反力を算出する。また、コントローラ50はアクセル開度からドライバのアクセル操作を検出し、ドライバがアクセルの踏み込み操作をしたと判断した場合は目標ペダル反力を小さく補正する。そして、コントローラ50は、算出した目標ペダル反力をアクセルペダル反力制御装置60へと出力する。
アクセルペダル反力制御装置60は、コントローラ50から出力される反力制御量に応じて、アクセルペダル62に組み込まれたアクセルペダルアクチュエータ61で発生させるトルクを制御する。アクセルペダルアクチュエータ61は、アクセルペダル操作反力制御装置60からの指令値に応じて発生させる反力を制御し、運転者がアクセルペダル62を操作する際に発生する踏力を任意に制御することができる。
なお、アクセルペダルアクチュエータ61には、不図示の出力軸と、出力軸の回動位置を検出するセンサ61aと設けられている。この出力軸は、アクセルペダル62の不図示の回動軸と連結されており、センサ61aが検出する出力軸の回動位置がアクセルペダル62の操作量と一義的に対応する。したがって、本実施の形態では、このセンサ61aをアクセルペダル62の操作量を検出するアクセルペダル操作量センサとして使用している。
図3はコントローラ50で行う処理を示したブロック図である。障害物認識手段51は、レーザレーダ10からの信号を入力し、前方車との車間距離、相対速度を算出し、車速センサ20から入力される自車速とから、自車前方の障害物状況を検出する。車間距離閾値算出手段52は、障害物認識手段51の結果に基づいて車間距離閾値を演算する。目標ペダル反力決定手段53では、車間距離閾値と車間距離とからアクセルペダルに付加する目標ペダル反力を決定する。また、ドライバ操作判断手段54はアクセルペダル操作量センサ61aで検出したアクセルペダル62の操作量に基づいてドライバのアクセル操作を判断する。
目標ペダル反力補正手段55は、ドライバ操作判断手段54で判断された結果に基づいて、目標ペダル反力決定手段53で決定した目標ペダル反力を補正する。ドライバ操作判断手段54において、ドライバがアクセルの踏み込み操作を行ったと判断した場合に、目標ペダル反力決定手段53で決定した目標ペダル反力を小さく補正する目標ペダル反力補正手段55が本発明の特徴であり、詳細は後述する。
次に実施の形態による車間維持支援装置1の作用を説明する。その作用の概略を以下に述べる。上述した制御において、以下に、図4〜図7を用いて説明する。図4は、本発明の実施の形態によるコントローラ50における車間維持支援制御処理の処理手順を示すフローチャートである。なお、本処理内容は、一定間隔、例えば10msec毎に連続的に行われる。
まず、ステップS100で走行状態を読み込む。ここで、走行状態は、自車前方の障害物状況を含む自車両の走行状況に関する情報である。そこで、レーザレーダ10により検出される前方障害物までの車間距離や存在方向と、車速センサ20によって検出される自車両の走行車速を読み込む。
ステップS200では、ステップS100で読み込み、認識した走行状態データに基づいて、前方障害物の状況を認識する。ここでは、前回の処理周期以前に検出され、不図示のメモリに記憶されている自車両に対する障害物の相対位置やその移動方向・移動速度と、ステップS100で得られた現在の走行状態データとにより、現在の障害物の自車両に対する相対位置やその移動方向・移動速度を認識する。そして、自車両の走行に対して障害物が、自車両の前方にどのように配置され、相対的にどのように移動しているかを認識する。
ステップS300では、車間距離閾値を算出する。ここで行う処理を図5に示すフローチャートを用いて説明する。
ステップS301では車間距離閾値(定常項)L*h2を算出する。車間距離閾値(定常項)は、先行車両が一定速での相当項であり、本実施例では、自車両の車速V及び相対速度Vrに応じて次式(1)により設定する。
L*h2 = f(V,Vr) (1)
ステップS302では、先行車両の加減速度αaを次式(2)により算出する。
αa = d( Va ) / dt (2)
ここで、Vaは先行車両の車速であり、自車両の車速V及び相対速度Vrから算出される。
ステップS303では、車間距離閾値(過渡項)を算出、更新するための条件として、後述ステップS400において算出される警報フラグFwがセットされているか否かを判断する。
(1) 警報フラグがセットされていない(Fw = OFF)場合、ステップS304に進む。
(2) 警報フラグがセットされている(Fw = ON)場合、車間距離閾値(過渡項)用パラメータを更新せず、ステップS307へ進む。
ステップS304では先行車両の減速判断を行う。本実施例では、先行車両の減速度が所定値以上であるか否かで判断される。
(1) 先行車加減速度が所定値以下(αa≦α0)の場合
先行車減速判断フラグFdec_a = ON とする。
(2) 上記以外(αa>α0)の場合
先行車減速判断フラグFdec_a = OFF とする。
ここで、α0は減速判断を行うための閾値である。また、先行車加減速度αa、減速判断閾値α0ともに、加速を正、減速を負の値とする。
ステップS305では、ステップS304において、先行車両が減速したと判断された場合、次式(3)に従い、車間距離閾値(過渡項)用パラメータTr2を算出、更新する。
Tr2 = ( L - L*h2 ) / Vr (3)
上記式により、Tr2は、先行車両が減速を開始した時点での車間距離閾値(定常項)L*h2に対する実車間距離Lの余裕距離相当分を相対速係数時間として表されたものである。
ステップS306では、ステップS304において、先行車両が減速していないと判断された場合、車間距離閾値(過渡項)用パラメータTr2をクリアする。
Tr2 = 0
ステップS307では下記式に従い、車間距離閾値(過渡項)L*r2を次式(4)により算出する。
L*r2 = Tr2 ×Vr (4)
ステップS308では車間距離閾値L*2を算出する。本実施例では、次式(5)に従い、車間距離閾値(定常項)L*h2と車間距離閾値(過渡項)L*r2の和で算出される。
L*2 = L*h2 + L*r2 (5)
ステップS400では警報フラグをセット、クリアする。
(1)間距離偏差ΔL2 ≧ 0 の場合
警報フラグFw = ON とする。
(2) 上記以外(車間距離偏差ΔL2< 0)の場合
警報フラグFw = OFF とする。
ステップS500では、車間距離閾値L*2に応じて、目標ペダル反力を決定する。目標アクセルペダル反力τ*aは車間距離閾値L*2、及び実車間距離Lから次式(6),(7)のように算出する。
τa = Kp × ΔL2 (6)
ΔL2 = L*2 - L (7)
ここで、Kpは、車間距離偏差ΔL2から目標アクセルペダル反力を算出するためのゲインである。このステップS500において算出された目標アクセルペダル反力τ*aに応じて、アクセルペダル反力制御装置60はアクセルペダル62に発生させる反力を制御する。
ステップS600では、ドライバがアクセルの踏み込み操作を行ったか否かを判断する。ここで行う処理を図6に示すフローチャートを用いて説明する。
ステップS601では、車アクセル開度保存値Acchを更新するための条件として、ステップS400において算出された警報フラグFwがセットされているか否かを判断する。NOの場合はステップS602に進み、アクセル開度保存値Acchにアクセル開度Accをセットし、アクセル踏み込み量ΔAccをクリアする。YESの場合はステップS603に進み、アクセル開度Accがアクセル開度保存値Acchよりも小さいか否かを判断する。YESの場合、ステップS604へ進み、アクセル開度保存値Acchにアクセル開度Accをセットし、アクセル踏み込み量ΔAccをクリアする。ステップS603でNOの場合、ステップS605に進み、アクセル踏み込み量ΔAccを次式(8)に従って算出する。
ΔAcc = Acc - Acch (8)
ステップS605では、アクセル開度保存値Acchが更新されないので、ステップS602またはステップS604で最後に更新されたアクセル開度保存値Acchを基準としてアクセル踏み込み量ΔAccが算出される。すなわち、ステップS605では、アクセルペダル62の踏み増しが開始されたときのアクセルペダル62の操作量を基準としてアクセル踏み込み量ΔAccが算出される。
ステップS700では、ステップS600で判断したドライバのアクセル操作に基づいて、ステップS500で算出した目標アクセルペダル反力τ*aを補正する。ここで行う処理を図7に示すフローチャートを用いて説明する。
まずステップS701では、目標ペダル反力補正係数K_τaを次式(9)に従って算出する。
K_τa = 100 - (ΔAcc × Kacc) (9)
ここで、Kaccはアクセル踏み込み量ΔAccから目標ペダル反力補正係数を算出するためのゲインである。また、目標ペダル反力補正係数K_τaは、最大値を100、最小値を0とする。
次にステップS702で目標ペダル反力を補正する。このステップS702で行う処理が本発明の特徴であり、ステップS701で算出した目標ペダル反力補正係数K_τaを用いて、ドライバがアクセルの踏み込み操作をしたときにペダル反力が小さくなるように補正する。本実施例では、次式(10)に従って目標ペダル目標ペダル反力の補正を行う。
τ*ahosei = K_τa × τ*a/100 (10)
ステップS800では、ステップS700で算出したアクセルペダル反力補正値τ*ahoseiをアクセルペダル反力制御装置60へ出力する。
第1の実施の形態による車間維持支援装置によれば、車間距離Lが車間距離閾値L*2を下回ったとき、アクセルペダル62を押し戻す力をアクセルペダルアクチュエータ61で発生させる。そして、アクセルペダル反力が発生している状態でドライバがアクセルペダル62の踏み込み操作を行った場合に、アクセルペダルアクチュエータ61で発生させているアクセルペダル反力を減少させる補正を行うように構成した。これにより、ドライバがアクセルペダル62からブレーキペダルへ踏み替える操作を支援することができるとともに、アクセルペダル反力が発生している状態下でアクセルペダル62を踏み込むドライバに対して違和感を低減させることができる。
第1の実施の形態による車間維持支援装置によれば、アクセルペダル反力の補正を行う際に、アクセルペダル62の踏み増し量に応じて、すなわち、ドライバがアクセルペダル62を踏み増すにつれて、アクセルペダルアクチュエータ61で発生させるアクセルペダル反力が弱くなるように補正する。これにより、先行車の追い越しなど、ドライバが意図的にアクセルペダル62を多く踏み込む場合に、アクセルペダル62が踏み込みやすくなるため、操作性が向上する。
第1の実施の形態による車間維持支援装置によれば、アクセルペダル62の踏み増しが開始されたときのアクセルペダル62の操作量を基準としてアクセルペダル62のアクセル踏み込み量ΔAcc(踏み増し量)を算出するように構成した。これにより、車両の走行状態によって踏み込みはじめのアクセルペダル62の操作量が異なっていても、アクセルペダル62を踏み込むドライバに対して違和感を低減させることができる。
第1の実施の形態による車間維持支援装置によれば、アクセル開度Accがアクセル開度保存値Acchよりも少なくなったときに、すなわち、アクセルペダル62が戻されて、アクセルペダル62の操作量が踏み増しが開始されたときの操作量よりも少なくなった場合には、アクセルペダル反力を減少させる補正が行われなくなるように構成した。これにより、たとえばドライバが先行車の追い越しを中止するなど、加速操作を中止した場合にも、ドライバがアクセルペダル62からブレーキペダルへ踏み替える操作を支援することができる。
−−−第2の実施の形態−−−
第1の実施の形態による車間維持支援装置では、アクセルペダル反力の補正を行う際に、アクセルペダル62の踏み増し量に応じて、すなわち、ドライバがアクセルペダル62を踏み増すにつれて、アクセルペダルアクチュエータ61で発生させるアクセルペダル反力が弱くなるように補正した。第2の実施の形態による車間維持支援装置では、アクセルペダル反力の補正を行う際に、アクセルペダル62の踏み増し量に応じて、すなわち、ドライバがアクセルペダル62を踏み増すにつれて、アクセルペダルアクチュエータ61で発生させるアクセルペダル反力の減少速度が速くなるように補正する。
以下、図8〜11を参照して、詳細な処理内容を説明する。以下の説明では、第1の実施の形態と同じ構成要素には同じ符号を付して相違点を主に説明する。特に説明しない点については、第1の実施の形態と同じである。なお、第2の実施の形態における車間維持支援装置の構成は、図1に示す第1の実施の形態における車間維持支援装置の構成と同じである。第2の実施の形態における車両の構成は、図2に示す第1の実施の形態における車両の構成と同じである。また、第2の実施の形態におけるコントローラ50についてのブロック図は、図3に示す第1の実施の形態におけるコントローラ50についてのブロック図と同じである。
図8は、第2の実施の形態によるコントローラ50における車間維持支援制御処理の処理手順を示すフローチャートである。第2の実施の形態によるコントローラ50における車間維持支援制御処理の処理手順は、図4に示したフローチャートとは、ステップS700aで実行される目標ペダル反力補正処理だけが第1の実施の形態と異なり、他は同じである。以下、第2の実施の形態におけるステップS700aで実行される目標ペダル反力補正処理について説明する。
ステップS700aでは、ステップS600で判断したドライバのアクセル操作に基づいて、ステップS500で算出した目標アクセルペダル反力τ*aを補正する。ここで行う処理を図9に示すフローチャートを用いて説明する。
まずステップS701aでは、目標ペダル反力減少量Δτaを算出する。ここで目標ペダル反力減少量Δτa_dは図10に示すようなグラフから、アクセル踏み込み量ΔAccが大きくなるに従って大きくなり、アクセル踏み込み量ΔAccがΔAcc_maxよりも大きいときは、目標ペダル反力減少量Δτa_dが最大値Δτa_d_maxとなるように算出される。
次にステップS702aで目標ペダル反力を補正する。このステップS702aで行う処理が本発明の第二の実施例における特徴であり、ステップS701aで算出した目標ペダル反力減少量Δτa_dを用いて、ドライバがアクセルの踏み込み操作をしたときにペダル反力が小さくなるように補正する。このステップS702aで行う処理を図11に示すフローチャートを用いて説明する。
ステップS711では、アクセルペダル反力補正値τ*ahoseiが目標アクセルペダル反力τ*aよりも大きいか否かを判断する。ステップS711が肯定判断されるとステップS712に進み、アクセルペダル反力補正値τ*ahoseiに目標アクセルペダル反力τ*aをセットしてステップS713に進む。ステップS711が否定判断されると、そのままステップS713に進む。ステップS713では、ドライバがアクセル踏み込み操作をしているか否かを判断する。ステップS713が肯定判断されるとステップS714に進み、アクセルペダル反力補正値τ*ahoseiが目標ペダル反力減少量Δτa_dよりも大きいか否かを判断する。ステップS714が肯定判断されるとステップS715に進み、アクセルペダル反力補正値τ*ahoseiから目標ペダル反力減少量Δτa_dを差し引いてアクセルペダル反力補正値τ*ahoseiにセットする。
ステップS714が否定判断されると、ステップS716に進み、アクセルペダル反力補正値τ*ahoseiにゼロをセットする。
ステップS713が否定判断されるとステップS717に進み、目標アクセルペダル反力τ*aがアクセルペダル反力補正値τ*ahoseiと予め定められた目標ペダル反力増加量Δτa_uの和よりも大きいか否かを判断する。ステップS717が肯定判断されるとステップS718に進み、アクセルペダル反力補正値τ*ahoseiに目標ペダル反力増加量Δτa_uを足してアクセルペダル反力補正値τ*ahoseiにセットする。ステップS717が否定判断されるとステップS719に進み、アクセルペダル反力補正値τ*ahoseiに目標アクセルペダル反力τ*aをセットする。
第2の実施の形態による車間維持支援装置によれば、アクセルペダル反力が発生している状態でドライバがアクセルペダル62の踏み込み操作を行った場合に、上述したフローチャートの処理を繰り返すたびに、アクセルペダル反力補正値τ*ahoseiから目標ペダル反力減少量Δτa_dを差し引くように構成した。したがって、アクセルペダル反力が発生している状態下でアクセルペダル62が踏み込まれると、アクセルペダルアクチュエータ61で発生させるアクセルペダル反力は、アクセルペダル62が踏み込まれている間に徐々に弱くなっていく。これにより、アクセルペダル62を踏み込むドライバに対して違和感をより一層低減させることができる。
第2の実施の形態による車間維持支援装置によれば、アクセル踏み込み量ΔAccが大きいほど目標ペダル反力減少量Δτa_dが大きくなるように構成したので、アクセル踏み込み量ΔAccが大きいほどアクセルペダル反力の減少速度が速くなり、ドライバの加速意志に合致したアクセルペダルの操作感が得られる。
第2の実施の形態による車間維持支援装置によれば、アクセルペダル62が踏み込まれた後、アクセルペダル62が戻されると、上述したフローチャートの処理を繰り返すたびに、一旦、小さくなるように補正されたアクセルペダル反力補正値τ*ahoseiに目標ペダル反力増加量Δτa_uを付加するように構成した。したがって、アクセルペダル62が踏み込まれたことで一旦弱められたアクセルペダル反力が、アクセルペダル62が戻されると、徐々に増加する。これにより、アクセルペダル62を戻しても、アクセルペダル反力が急激に増加しないので、ドライバに対して違和感を与えることがない。
−−−第3の実施の形態−−−
第1および第2の実施の形態による車間維持支援装置では、自車両と先行車両との間の車間距離Lが車間距離閾値L*2より短くなった時に、アクセルペダル62に反力を与える制御を行うとともに、アクセルペダル62が踏み込まれるとアクセルペダル62に与えられる反力が弱められるように制御した。第3の実施の形態による車間維持支援装置では、さらに、ドライバがアクセルペダルを操作していなければ、所定の条件下で車両を減速させる制御を行う。
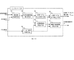
以下、図12〜16を参照して、詳細な処理内容を説明する。以下の説明では、第1および第2の実施の形態と同じ構成要素には同じ符号を付して相違点を主に説明する。特に説明しない点については、第1または第2の実施の形態と同じである。図12は、第3の実施の形態における車間維持支援装置1の構成を示すシステム図であり、図13は、車間維持支援装置1を搭載する車両の構成図である。92はブレーキペダルであり、93は制動力制御装置であり、94は各車輪に設けられたブレーキ(制動装置)である。
コントローラ50は、車間距離閾値L*2およびアクセルペダル62の操作状態に基づいて目標減速度を算出する。また、コントローラ50は、算出した目標減速度に基づいて目標制動液圧を算出して、制動力制御装置93に出力する。制動力制御装置93は、コントローラ50から出力される目標制動液圧を達成するように制動液圧を発生させて、制動圧油を制動装置94に供給する。その結果、車両が目標減速度で減速される。
図14はコントローラ50で行う処理を示したブロック図である。目標減速度算出手段56は、車間距離閾値算出手段52で演算された車間距離閾値L*2と、ドライバ操作判断手段54で判断されたドライバのアクセル操作状況に基づいて、車両に発生させる目標減速度を算出する。制動力制御量算出手段57は、目標減速度算出手段56で算出された目標減速度と、ドライバ操作判断手段54で判断されたドライバのアクセル操作状況に基づいて、目標制動液圧を算出する。
第3の実施の形態によるコントローラ50における車間維持支援制御処理の処理手順では、図4に示した第1の実施の形態におけるフローチャートとは、ステップS600bで実行される目標ペダル反力補正処理が異なる。また、第3の実施の形態によるコントローラ50における車間維持支援制御処理の処理手順では、ステップS600bとステップS700との間にステップS620,S640が挿入されている点が、図4に示した第1の実施の形態におけるフローチャートと異なる。その他のステップについては、第1の実施の形態と同じである。
ステップS600bでは、ドライバのアクセル操作を判断する。ここで行う処理を図16に示すフローチャートを用いて説明する。
ステップS601bでは、車アクセル開度保存値Acchを更新するための条件として、ステップS400において算出された警報フラグFwがセットされているか否かを判断する。ステップS601bが肯定判断されるとステップS602bに進み、アクセル開度保存値Acchにアクセル開度Accをセットし、アクセル踏み込み量ΔAccをクリアする。ステップS601bが否定判断されるとステップS603bに進み、アクセル開度Accがアクセル開度保存値Acchよりも小さいか否かを判断する。ステップS603bが肯定判断されるとステップS604bへ進み、アクセル開度保存値Acchにアクセル開度Accをセットし、アクセル踏み込み量ΔAccをクリアする。ステップS603bが否定判断されるとステップS605bに進み、アクセル踏み込み量ΔAccを次式(11)に従って算出する。
ΔAcc = Acc - Acch (11)
次にステップS606bでは、アクセル開度Accが所定値Acc0以上であるか否かを判断する。ステップS606bが肯定判断されるとステップS607bに進み、アクセル操作フラグFaccに1をセットする。ステップS606bが否定判断されるとステップS608bに進み、アクセル操作フラグFacc をクリアする。
ここで、アクセル操作判断閾値Acc0は、アクセル全閉状態であるか否かを判断する程度の小さな値として設定される。
ステップS620では、車間距離閾値L*2、及びステップS600bで判断されたドライバーのアクセル操作に応じて、目標減速度α*2を算出する。
(1) アクセル操作時(Facc = ON)の場合
α2 = 0
(2) アクセル非操作時(Facc = OFF)の場合
α2 = Kv × Kr2 × ( L2 − L )
ここで、Kr2は、車両に発生させる目標減速度を算出するためのゲインである。(ここで、α2は、加速を正、減速を負の値とする。)また、目標減速度α2にΔα2の変化リミットを設けてもよい。
ステップS640では、ステップS620において算出された目標減速度α2に応じて制動力制御量を算出する。まず、目標減速度α2から、エンジンブレーキにより発生する減速度αengを差し引き、ブレーキ(制動装置)により発生させる目標減速度αbrkを算出する。
(1) アクセル操作時(Facc = ON)の場合
αbrk = 0
(2) アクセル非操作時(Facc = OFF)の場合
αbrk = α + αeng
(ここで、αbrk、αengは、加速を正、減速を負の値とする。)
次に、ブレーキにより発生させる目標減速度α*brkから、目標制動液圧P*を算出する。
(1) アクセル操作時(Facc = ON)の場合
P = 0
(2) アクセル非操作時(Facc = OFF)の場合
P = − ( Kb × αbrk )
ここで、Kbは目標減速度を目標制動液圧に換算するためのゲインであり、車両諸元により決まる。そして、この目標制動液圧P*を達成するように、制動力制御装置93は制動液圧を発生させる。
第3の実施の形態による車間維持支援装置によれば、第1の実施の形態の作用効果に加えて次の作用効果を奏する。レーザレーダ10によって検出される車間距離Lが車間距離閾値L*2より短くなった時に、ドライバがアクセルペダル操作を行っていれば、アクセルペダルに反力を加え、アクセルペダル操作を行っていなければ、車両の減速制御を行う。これにより、車間距離Lが車間距離閾値L*2より短くなった時に、ドライバがアクセルペダル操作を行っていれば、アクセルペダルを離すようにドライバに促し、ドライバがアクセルペダルを離すと、減速制御を行うことができる。また、ドライバがアクセルペダル操作を行っている時に減速制御を行わないので、加速制御と減速制御とが同時に行われるのを防ぐことができる。
本発明は、上述した各実施の形態に限定されることはない。例えば、第1の実施の形態において、車間距離しきい値の過渡項L*aを算出するためのパラメータTr2は、式(3)より算出したが、算出した値に対して、上限リミット値を設けて、上限値を制限してもよいし、下限リミット値を設けて、下限値を制限してもよい。上限値は、例えば、自車両の速度Vに応じて設定することができる。
上述した各実施の形態では、制動装置94に制動液圧を供給することにより、車両を減速させるものとして説明したが、エンジンブレーキやシフトダウン等、他の減速制御を利用して、車両を減速させてもよい。
上述した各実施の形態では、所定の条件下でドライバがアクセルペダルを操作していれば、アクセルペダルに反力を与える制御を行ったが、アクセルペダルに反力を与える代わりに、振動を伝えるようにしてもよい。また、上述した各実施の形態および変形例は、それぞれ組み合わせてもよい。
以上の実施の形態およびその変形例において、たとえば、アクセルペダル操作量検出手段はアクセルペダル操作量センサ61aに、アクセルペダル操作反力演算手段および操作反力補正手段はコントローラ50にそれぞれ対応する。障害物検出手段はレーザレーダ10とコントローラ50とによって、操作反力発生手段は、アクセルペダル反力制御装置60とアクセルペダルアクチュエータ61とによってそれぞれ実現される。なお、以上の説明はあくまで一例であり、発明を解釈する際、上記の実施形態の記載事項と特許請求の範囲の記載事項の対応関係になんら限定も拘束もされない。
第1の実施の形態による車間維持支援装置1の構成を示すシステム図である。 車間維持支援装置1を搭載する車両の構成図である。 コントローラ50で行う処理を示したブロック図である。 コントローラ50における車間維持支援制御処理の処理手順を示すフローチャートである。 図4に示したフローチャートのステップS300のサブルーチンである。 図4に示したフローチャートのステップS600のサブルーチンである。 図4に示したフローチャートのステップS700のサブルーチンである。 第2の実施の形態によるコントローラ50における車間維持支援制御処理の処理手順を示すフローチャートである。 図8に示したフローチャートのステップS700aのサブルーチンである。 アクセル踏み込み量ΔAccと目標ペダル反力減少量Δτa_dとの関係を示すグラフである。 図9に示したフローチャートのステップS702aのサブルーチンである。 第3の実施の形態による車間維持支援装置1の構成を示すシステム図である。 車間維持支援装置1を搭載する車両の構成図である。 コントローラ50で行う処理を示したブロック図である。 コントローラ50における車間維持支援制御処理の処理手順を示すフローチャートである。 図15に示したフローチャートのステップS600のサブルーチンである。
符号の説明
1 車間維持支援装置 10 レーザレーダ
50 コントローラ 51 障害物認識手段
52 車間距離閾値算出手段 53 目標ペダル反力決定手段
54 ドライバ操作判断手段 55 目標ペダル反力補正手段
60 アクセルペダル反力制御装置 61 アクセルペダルアクチュエータ
61a アクセルペダル操作量センサ 62 アクセルペダル
92 ブレーキペダル 93 制動力制御装置
94 ブレーキ(制動装置)

Claims (6)

  1. 自車前方の障害物の状況を検出する障害物検出手段と、
    アクセルペダルの操作量を検出するアクセルペダル操作量検出手段と、
    前記障害物検出手段によって検出される自車前方の障害物の状況に基づいて、前記アクセルペダルに発生させる前記アクセルペダルを押し戻す操作反力を演算するアクセルペダル操作反力演算手段と、
    前記アクセルペダル操作反力演算手段で演算された前記アクセルペダルを押し戻す操作反力を前記アクセルペダルに発生させる操作反力発生手段と、
    前記アクセルペダル操作量検出手段で検出された前記操作量のうち、前記操作反力発生手段で前記アクセルペダルを押し戻す操作反力を発生させた後で最も少ない前記操作量をアクセル開度保存値として記憶するアクセル開度保存値記憶手段と、
    前記操作反力発生手段で前記アクセルペダルを押し戻す操作反力を発生させた後、前記アクセル開度保存値記憶手段で記憶された前記アクセル開度保存値を基準として、前記アクセルペダル操作量検出手段で検出された前記操作量が増加したと判断した場合には、前記アクセル開度保存値と前記アクセルペダル操作量検出手段で検出された前記操作量との差を前記アクセルペダルの踏み増し量として算出するアクセルペダル踏み増し量算出手段と、
    前記操作反力発生手段で前記アクセルペダルを押し戻す操作反力を発生させた後、前記アクセル開度保存値記憶手段で記憶された前記アクセル開度保存値を基準として、前記アクセルペダル操作量検出手段で検出された前記操作量が増加したと判断した場合には、前記アクセルペダル踏み増し量算出手段で算出した前記踏み増し量に応じて、前記操作反力発生手段で発生させる前記アクセルペダルを押し戻す操作反力が弱くなるように補正する操作反力補正手段とを備えることを特徴とする車間維持支援装置。
  2. 請求項1に記載の車間維持支援装置において、
    前記操作反力補正手段は、前記算出した踏み増し量に応じて、前記操作反力発生手段で発生させる前記アクセルペダルを押し戻す操作反力が漸減するように補正することを特徴とする車間維持支援装置。
  3. 請求項1または請求項2に記載の車間維持支援装置において、
    前記操作反力補正手段は、前記操作反力発生手段で発生させる前記アクセルペダルを押し戻す操作反力が弱くなるように補正した後に、前記アクセル開度保存値記憶手段で記憶された前記アクセル開度保存値を基準として、前記アクセルペダル操作量検出手段で検出された前記操作量が減少したと判断した場合には、前記補正を中止することを特徴とする車間維持支援装置。
  4. 自車前方の障害物の状況を検出する障害物検出手段と、
    アクセルペダルの操作量を検出するアクセルペダル操作量検出手段と、
    前記障害物検出手段によって検出される自車前方の障害物の状況に基づいて、前記アクセルペダルに発生させる前記アクセルペダルを押し戻す操作反力を演算するアクセルペダル操作反力演算手段と、
    前記アクセルペダル操作反力演算手段で演算された前記アクセルペダルを押し戻す操作反力を前記アクセルペダルに発生させる操作反力発生手段と、
    前記アクセルペダル操作量検出手段で検出された前記操作量のうち、前記操作反力発生手段で前記アクセルペダルを押し戻す操作反力を発生させた後で最も少ない前記操作量をアクセル開度保存値として記憶するアクセル開度保存値記憶手段と、
    前記操作反力発生手段で前記アクセルペダルを押し戻す操作反力を発生させた後、前記アクセル開度保存値記憶手段で記憶された前記アクセル開度保存値を基準として、前記アクセルペダル操作量検出手段で検出された前記操作量が増加したと判断した場合には、前記操作反力発生手段で発生させる前記アクセルペダルを押し戻す操作反力が弱くなるように補正する操作反力補正手段とを備え、
    前記操作反力補正手段は、前記操作反力発生手段で発生させる前記アクセルペダルを押し戻す操作反力が弱くなるように補正した後に、前記アクセル開度保存値記憶手段で記憶された前記アクセル開度保存値を基準として、前記アクセルペダル操作量検出手段で検出された前記操作量が減少したと判断した場合には、前記補正を中止することを特徴とする車間維持支援装置。
  5. 請求項1〜4のいずれか一項に記載の車間維持支援装置において、
    前記操作反力補正手段は、前記操作反力発生手段で発生させる前記アクセルペダルを押し戻す操作反力が弱くなるように補正した後に、前記アクセル開度保存値記憶手段で記憶された前記アクセル開度保存値を基準として、前記アクセルペダル操作量検出手段で検出された前記操作量が減少したと判断した場合には、前記操作反力発生手段で発生させる前記アクセルペダルを押し戻す操作反力が漸増するように前記補正を中止することを特徴とする車間維持支援装置。
  6. 自車前方の障害物の状況を検出し、
    アクセルペダルの操作量を検出し、
    検出された自車前方の障害物の状況に基づいて、前記アクセルペダルに発生させる前記アクセルペダルを押し戻す操作反力を演算し、
    前記演算された前記アクセルペダルを押し戻す操作反力を前記アクセルペダルに発生させ、
    前記検出された前記操作量のうち、前記アクセルペダルを押し戻す操作反力を発生させた後で最も少ない前記操作量をアクセル開度保存値として記憶し、
    前記アクセルペダルを押し戻す操作反力を発生させた後、記憶された前記アクセル開度保存値を基準として、検出された前記操作量が増加したと判断した場合には、前記アクセル開度保存値と検出された前記操作量との差を前記アクセルペダルの踏み増し量として算出し、
    前記アクセルペダルを押し戻す操作反力を発生させた後、記憶された前記アクセル開度保存値を基準として、検出された前記操作量が増加したと判断した場合には、算出した前記踏み増し量に応じて、前記アクセルペダルに発生させる前記アクセルペダルを押し戻す操作反力が弱くなるように補正することを特徴とする車間維持支援方法。
JP2006066547A 2006-03-10 2006-03-10 車間維持支援装置および車間維持支援方法 Expired - Lifetime JP4915112B2 (ja)

Priority Applications (1)

Application Number Priority Date Filing Date Title
JP2006066547A JP4915112B2 (ja) 2006-03-10 2006-03-10 車間維持支援装置および車間維持支援方法

Applications Claiming Priority (1)

Application Number Priority Date Filing Date Title
JP2006066547A JP4915112B2 (ja) 2006-03-10 2006-03-10 車間維持支援装置および車間維持支援方法

Publications (2)

Publication Number Publication Date
JP2007238038A JP2007238038A (ja) 2007-09-20
JP4915112B2 true JP4915112B2 (ja) 2012-04-11

Family

ID=38583973

Family Applications (1)

Application Number Title Priority Date Filing Date
JP2006066547A Expired - Lifetime JP4915112B2 (ja) 2006-03-10 2006-03-10 車間維持支援装置および車間維持支援方法

Country Status (1)

Country Link
JP (1) JP4915112B2 (ja)

Families Citing this family (2)

* Cited by examiner, † Cited by third party
Publication number Priority date Publication date Assignee Title
JP5375557B2 (ja) 2009-03-27 2013-12-25 日産自動車株式会社 車両用アクセルペダル反力付与装置及びその方法
JP5806480B2 (ja) * 2011-02-23 2015-11-10 株式会社ミクニ アクセルペダル装置

Family Cites Families (5)

* Cited by examiner, † Cited by third party
Publication number Priority date Publication date Assignee Title
JP3247622B2 (ja) * 1996-11-07 2002-01-21 本田技研工業株式会社 車両制御装置
JPH10166890A (ja) * 1996-12-04 1998-06-23 Suzuki Motor Corp 警報装置
JP3531640B2 (ja) * 2002-01-10 2004-05-31 日産自動車株式会社 車両用運転操作補助装置
JP3941686B2 (ja) * 2002-12-13 2007-07-04 日産自動車株式会社 車両用運転操作補助装置およびその装置を備える車両
JP4239809B2 (ja) * 2003-12-15 2009-03-18 日産自動車株式会社 車両用運転支援装置

Also Published As

Publication number Publication date
JP2007238038A (ja) 2007-09-20

Similar Documents

Publication Publication Date Title
KR100921585B1 (ko) 차간 유지 지원 장치
JP4788611B2 (ja) 車間維持支援装置および車間維持支援方法
EP1860007B1 (en) Brake control system for vehicle
JP4020089B2 (ja) 車両用運転操作補助装置および車両用運転操作補助装置を備えた車両
CN101032956B (zh) 车间距离保持辅助系统及方法
EP2052936B1 (en) Headway distance maintenance assisting system and method
JP4487534B2 (ja) 車両用運転操作補助装置および車両用運転操作補助装置を備えた車両
JP4788464B2 (ja) 車間維持支援装置および車間維持支援方法
JP4740684B2 (ja) 車両用運転操作補助装置および車両用運転操作補助装置を備えた車両
JP4740533B2 (ja) 車両用運転操作補助装置および車両用運転操作補助装置を備えた車両
JP4915112B2 (ja) 車間維持支援装置および車間維持支援方法
JP2009166824A (ja) 車間維持支援装置および車間維持支援方法
JP5439766B2 (ja) 車間維持支援装置および車間維持支援方法
JP4232602B2 (ja) 車両用運転操作補助装置および車両用運転操作補助装置を備えた車両
JP4349066B2 (ja) 車両用運転操作補助装置および車両用運転操作補助装置を備えた車両
JP4821382B2 (ja) 車間維持支援装置
JP4631931B2 (ja) 車両用運転操作補助装置および車両用運転操作補助装置を備えた車両
JP4792862B2 (ja) 車両用運転操作補助装置および車両用運転操作補助装置を備えた車両
JP4742657B2 (ja) 車両用運転操作補助装置および車両用運転操作補助装置を備えた車両
JP4169028B2 (ja) 車両用運転操作補助装置および車両用運転操作補助装置を備えた車両
JP4740549B2 (ja) 車両用運転操作補助装置および車両用運転操作補助装置を備えた車両
JP3960316B2 (ja) 車両用運転操作補助装置および車両用運転操作補助装置を備えた車両
JP2004249890A (ja) 車両用運転操作補助装置およびその装置を備えた車両
JP2007099268A (ja) 車両用運転操作補助装置およびその装置を備えた車両
JP2006159941A (ja) 車両用運転操作補助装置および車両用運転操作補助装置を備えた車両

Legal Events

Date Code Title Description
A621 Written request for application examination

Free format text: JAPANESE INTERMEDIATE CODE: A621

Effective date: 20090204

A977 Report on retrieval

Free format text: JAPANESE INTERMEDIATE CODE: A971007

Effective date: 20110428

A131 Notification of reasons for refusal

Free format text: JAPANESE INTERMEDIATE CODE: A131

Effective date: 20110510

A521 Written amendment

Free format text: JAPANESE INTERMEDIATE CODE: A523

Effective date: 20110630

TRDD Decision of grant or rejection written
A01 Written decision to grant a patent or to grant a registration (utility model)

Free format text: JAPANESE INTERMEDIATE CODE: A01

Effective date: 20111227

A01 Written decision to grant a patent or to grant a registration (utility model)

Free format text: JAPANESE INTERMEDIATE CODE: A01

A61 First payment of annual fees (during grant procedure)

Free format text: JAPANESE INTERMEDIATE CODE: A61

Effective date: 20120109

FPAY Renewal fee payment (event date is renewal date of database)

Free format text: PAYMENT UNTIL: 20150203

Year of fee payment: 3

R150 Certificate of patent or registration of utility model

Ref document number: 4915112

Country of ref document: JP

Free format text: JAPANESE INTERMEDIATE CODE: R150

Free format text: JAPANESE INTERMEDIATE CODE: R150