JP4862002B2 - 薄型基板回転処理装置 - Google Patents

薄型基板回転処理装置 Download PDF

Info

Publication number
JP4862002B2
JP4862002B2 JP2008046844A JP2008046844A JP4862002B2 JP 4862002 B2 JP4862002 B2 JP 4862002B2 JP 2008046844 A JP2008046844 A JP 2008046844A JP 2008046844 A JP2008046844 A JP 2008046844A JP 4862002 B2 JP4862002 B2 JP 4862002B2
Authority
JP
Japan
Prior art keywords
stator
rotor
support member
rotating
rotating body
Prior art date
Legal status (The legal status is an assumption and is not a legal conclusion. Google has not performed a legal analysis and makes no representation as to the accuracy of the status listed.)
Expired - Fee Related
Application number
JP2008046844A
Other languages
English (en)
Other versions
JP2009206288A (ja
Inventor
竹男 玉木
紳介 宮崎
公世 斎藤
俊朗 西脇
Original Assignee
株式会社エムテーシー
Priority date (The priority date is an assumption and is not a legal conclusion. Google has not performed a legal analysis and makes no representation as to the accuracy of the date listed.)
Filing date
Publication date
Application filed by 株式会社エムテーシー filed Critical 株式会社エムテーシー
Priority to JP2008046844A priority Critical patent/JP4862002B2/ja
Publication of JP2009206288A publication Critical patent/JP2009206288A/ja
Application granted granted Critical
Publication of JP4862002B2 publication Critical patent/JP4862002B2/ja
Expired - Fee Related legal-status Critical Current
Anticipated expiration legal-status Critical

Links

Images

Landscapes

  • Coating Apparatus (AREA)
  • Container, Conveyance, Adherence, Positioning, Of Wafer (AREA)
  • Exposure Of Semiconductors, Excluding Electron Or Ion Beam Exposure (AREA)
  • Cleaning Or Drying Semiconductors (AREA)

Description

本発明は、半導体や液晶等の製造において、薄板状物、特に基板を回転させ、その表面に処理液を滴下、分散させて薄膜を形成し、又は表面を洗浄、乾燥する装置であるいわゆるスピンコータに関するものである。
半導体や液晶等の製造においては、半導体ウエハやガラス板等の基板の表面にフォトレジストの薄膜を形成し、あるいは表面を洗浄又は乾燥する作業工程があるが、そこでは回転ヘッド部上に載置された基板を拘束で回転させる装置が用いられている。
例えば、薄膜形成工程においては、フォトレジスト等の処理液が滴下された基板を高速回転させることにより、処理液を遠心力で拡げて薄膜を形成する、表面処理装置であるスピンコータが用いられている。ここで、スピンコータは半導体製造工場内のクリーンルーム中で使用される。
図9に従来型スピンコータの構造を示す。
従来のスピンコータ1は、水平に置かれた腕状、矩形状若しくは円盤状の基板支持部材23と、その下面中心から下方に伸びるロータ部材22と、そのロータ部材22の下方にドライブベルト34によって接続される駆動モータ33を具備している。基板支持部材23の上面にはウエハ14が載置され、その周囲にはウエハ14に滴下された処理液32の飛散を防止する飛散防止壁13が設けられている。基板支持部材23の上方には処理液32を滴下するための吐出ノズル31が配置されている。
以下にスピンコータ1の動作を説明する。まず、前工程から移送されたウエハ14は、基板支持部材23上に真空チャッキング等により載置される。次に駆動モータ33によりロータ部材22を介して基板支持部材23とともにウエハ14を、例えば2000rpmや6000rpm等の高速に回転させる。
そして、回転するウエハ14の表面に上方の吐出ノズル31から処理液32を滴下すると、処理液32は遠心力によりウエハ14の表面に拡がり薄膜を形成する。
なお、この薄膜の形成に寄与しなかった余分の処理液32は、ウエハ14表面より振り飛ばされて、飛散防止壁13に衝突することにより捕集され下部から回収される。
このような薄膜形成工程は、通常、薄膜への不純物の混入を避けるため、クリーンルーム内で行われ、特に図9に示したウエハ処理を行うA側は、B側に比べクリーンに維持される。
上述のウエハ製造において、不良品を減らし、歩留を上昇させることが極めて重要であり、そのための発明が以下のようになされている。例えば、処理液32をウエハ14表面へ塗布する際の均一性向上の方法が発明されたり(例えば特許文献1参照)、例えば、ウエハ14は上面だけではなく下面を高い清浄度に維持する必要があり、その要求に応えるために、ウエハ下面に向けて処理液32を噴射する下部処理液用のノズルが配置されたりしている。(例えば特許文献2を参照)。
また、生産効率向上のためウエハの大型化が進んでおり、同時にスピンコータのロータ部材22に多くの機構が組み込まれ、そのため前記ロータ部材22が大型化し、重量も増加していく傾向にある。
特開2001-9347号公報 特開2001-44149号公報
前述のようにウエハの生産効率向上と共に、スピンコータのロータ部材に多くの機構が組み込まれ重量が増大し、長大化したため、前記ロータ部材を高速回転させた際の安定性が確保されなくなってきた。
すなわち、鉛直方向に長尺であるスピンコータはロータ部材22の上面と下面の距離が離れているため、上面側若しくは下面側の回転中心がずれた場合、そのずれが微細な量であったとしても、鉛直方向の距離が長いため、ロータ部材22にかかる慣性力は大きくなり、安定性を失い。特にスピンコータは2000rpmから6000rpmの高速である領域で回転させるため、ロータ部材22にかかる慣性力はさらに大きなものとなる。
加えて、スピンコータは停止状態から高速回転状態に瞬時に加速し、瞬時に停止状態に戻すという運転方法を取るため、ロータ部材22にかかる慣性力はさらに大きなものとなる。
上記のようにロータ部材22の安定性が失われると、ウエハ14の処理が適切に行えなくなり、不良品となってしまい、歩留を著しく下げることとなる。そのため、ウエハ14の生産性向上のためには、ロータ部材22の安定的回転の確保が極めて重要な課題となっている。
本発明は上述の問題を解決するためになされたものであり、その目的は、多機能化に伴い大型化するスピンコータのロータ部材の、安定的回転を確保し、さらに、スピンコータの鉛直方向における短尺化により、工場内の容積効率向上を実現するものである。
上記課題を解決するため、本発明に係る基板を回転処理する装置(スピンコータ1)は、筒状の固定部材45の外周側に、環状に形成されたステータコイル28を固定して構成したステータ部材21と、前記ステータ部材21の内周側に回転可能に、回転体41を支持し、この回転体41の側面であって、前記ステータタコイル28を囲み、接近するように、複数の永久磁石29を配置して、前記回転体41と共に回転するロータ部材22を形成し、前記ステータ部材21と前記ロータ部材22を合わせて偏平状の電動機20(例えばモータ)を形成し、前記回転体41の上面に基板支持部材23を配置し、前記基板支持部材23に支持された薄板状被処理物(ウエハ14)の裏面に処理液32を噴射するようにパイプ35を配設したことを特徴とする。
上記の基板を回転処理する装置において、前記回転体41は内縁筒部42と環状の平板部44と、この平板部の外周に形成された外縁筒部43を有し、前記外縁筒部43の内面
に複数の永久磁石29を配置した前記ロータ部材22の、前記内縁筒部42の外面を前記ステータ部材21へ回転可能に支持させることで構成した偏平状の電動機20を具備したことを特徴とする。
上記の基板を回転処理する装置において、筒状の固定部材45の外周に、前記環状のステータコイル28を固定し、さらに前記固定部材45の下端が筐体46に固定された支持部材47に固定されていることを特徴とする。
上記課題を解決するための本発明に係る基板を回転処理する装置(スピンコータ1)は、筒状の固定部材45の内周側に、環状に形成されたステータコイル28を固定して構成したステータ部材21と、前記ステータ部材21の内周側に回転可能に、回転体41を支持し、この回転体41の側面であって、複数の永久磁石29を、前記円環状に形成されたステータコイル28の内周側に接近するように配置して、前記回転体41と共に回転するロータ部材22を形成し、前記ステータ部材21と前記ロータ部材22を合わせて偏平状の電動機20を形成し、前記回転体41の上面に基板支持部材23を配置し、前記基板支持部材23に支持された薄板状被処理物(ウエハ14)の裏面に処理液32を噴射するようにパイプ35を配設したことを特徴とする。
上記の基板を回転処理する装置において、円筒状の回転体41の外周側に、複数の永久磁石29を環状に配置したロータ部材22と、前記永久磁石29の上方及び下方を軸支持体24により軸支持し、永久磁石29上方の軸支持体24より外周方向に伸びる上方環状板36と、永久磁石29下方の軸支持体24より外周方向に伸びる下方環状板37が、円筒状の側壁板38により接続し、前記側壁板38の内周側で、かつ前記永久磁石29を囲み、接近するように環状のステータコイル28を配置したステータ部材21を形成し、前記ステータ部材21と前記ロータ部材22を合わせて形成した偏平状の電動機20を具備したことを特徴とする。
上記の基板を回転処理する装置において、前記パイプ35に負圧を発生させることで、前記基板支持部材23に前記薄板状被処理物(ウエハ14)が吸着するように構成したことを特徴とする。
上記の基板を回転処理する装置において、前記ステータ部材21は、筐体46に固定された支持部材47に固定され、前記ステータ部材21と前記ロータ部材22を合わせて偏平状の電動機20を形成し、前記電動機20のロータ部材22の上面に基板支持部材23を配置し、前記基板支持部材23に支持された薄板状被処理物(ウエハ14)の上面に処理液32を噴射するように、1つ又は複数のパイプ35を配設し、前記ウエハ14の裏面に処理液32を噴射するように、1つ又は複数のパイプ35を配設したことを特徴とする。
薄板状物であるウエハ14を回転させるための駆動力を、偏平状の電動機20にすることで、基盤回転処理装置であるスピンコータ1の高さを低く構成することが可能となり、それによりロータ部材22の重心が、従来に比べ鉛直方向に低い位置となるため、ロータ部材22の安定性が向上した。
さらに、スピンコータ1が従来に比べ鉛直方向に短尺に構成することが可能となり、スピンコータ1の設置される工場内の、クリーンルームにおける容積効率が向上した。
中空部26を有する環状の電動機20を用いたことにより、ウエハ14の上面に加えて下面を同時に処理可能となるスピンコータ1を構成することが可能となった。
偏平状かつ環状の電動機20を用いることで、従来の駆動モータ33に必要であったドライブベルト34やドライブギア等の動力伝達機構が不必要となり、ステータ部材21及びロータ部材22を組み合わせて構成した電動機20と、基板支持部材23の回転中心を同軸線上とした状態で直接、連結することが可能となった。
スピンコータ1に動力伝達機構がなくなるため、低振動及び低騒音化が実現した。また、回転部分が鉛直方向に短尺となるため、装置の安定性が増し、それに伴い均一な膜ができるようになり、成膜品質の上昇が実現した。さらに、低振動化が実現することにより、スピンコータ1及び周辺機器から構成されるユニットを複数段重ねることが可能となった。
偏平状かつ環状の電動機20を使用することにより、ウエハ14の下面処理のための機構や、ウエハ14を基板支持部材23に固定するために、ウエハ14の下方に負圧を発生させる機構を従来通り具備しながら、スピンコータの鉛直方向の短尺化を実現し、同時にロータ部材22の安定的回転を実現した。
以下、本発明を図に示す実施形態を参照して具体的に説明する。
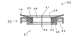
図1は本発明の薄型基板回転処理装置(スピンコータ1)の概略を示している。スピンコータ1は、駆動モータであるアウターロータ型の電動機20に基板支持部材23を固定し、前記電動機20は支持部材47に設置されている。前記基板支持部材23には被処理物である基板(ウエハ14)が載置され、その上方には処理液32を供給するためのパイプ35が配置されており、ウエハ14の外周方向には前記処理液32の飛散を防止するための飛散防止壁13が設置されている。また、ウエハ14の下方には、下面処理用のノズル31を持つパイプ35が配置されている。
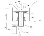
図2はアウターロータ型の電動機20を利用したスピンコータ1の主要部概略、図3はその主要部の分解図を示している。アウターロータ型の電動機20は、ステータ部材21とロータ部材22が軸支持体24を介して結合されており、中空部26を持つドーナツ状となっている。ステータ部材21はドーナツ状であり、側壁外周側にステータコイル28を、内周側には前記ロータ部材22の内縁筒部42と結合するための軸支持体24を有している。
また、ロータ部材22は、内縁筒部42と外縁筒部43と、前記内縁筒部42と外縁筒部43をつなぐ環状の平板部44から形成された回転体41に、前記外縁筒部43の内周側に、前記ステータコイル28に対向するように永久磁石29を固定して構成した。前記ステータコイル28に電気を流すことで、固定されたステータ部材21に対して、ロータ部材22が回転する電動機20となる。
図4はインナーロータ型の電動機20を利用した薄型基板回転処理装置(スピンコータ1)の主要部概略、図5はその主要部の分解図を示している。インナーロータ型の電動機20は、ステータ部材21とロータ部材22が軸支持体24を介して結合されており、中空部26を持つドーナツ状となっている。
前記ロータ部材22は、円筒状の回転体41外周側に複数個の永久磁石29を環状に固定して構成している。
前記ステータ部材21は、前記ロータ部材22に固定された複数個の永久磁石29の、上方、及び下方を軸支持体24により支持し、永久磁石29の上方の軸支持体24より外周方向に伸びる上方環状板36と、永久磁石29の下方の軸支持体24より外周方向に伸びる下方環状板37を、円筒状の側壁板38により接続し、前記側壁板38の内周側で、かつ前記永久磁石29を囲み、接近するように環状のステータコイル28を前記側壁板38に固定して構成している。
前記ステータ部材21と前記ロータ部材22を合わせて、偏平状かつドーナツ状の電動機20を構成している。ここで、前記ステータコイル28に電気を流すことで、固定されたステータ部材21に対して、ロータ部材22が回転する。
図6は、図3のC−C矢視図である。永久磁石29の配列の1例を示しており、中空部26の中心部にはパイプ35が貫通している様子を示している。
図7は、図3のD−D矢視図である。基板支持部材23はドーナツ状であり、ウエハ14を保持するための爪16を有しており、中空部26の中心部にはパイプ35が貫通している様子を示している。基板支持部材23はドーナツ状に限らず、中心に孔を持つ形状であれば、矩形でも他の形状であっても問題はない。
図8は本発明のスピンコータ1を工場内に、鉛直方向に2台重ねて設置している状態を示している。
図9はウエハ14の下面処理機能を有した、従来型のスピンコータ1の概略図である。
本発明は図9に示す従来型のスピンコータにおける駆動モータ33を、図1に示すように、偏平状かつ環状の電動機20に変更することにより、スピンコータ1の鉛直方向の高さを低く構成し、かつ回転部分の重心を低く、回転が安定的に行われるよう構成したことを特徴とする。
本発明のスピンコータ1における偏平状かつ環状の電動機20の具体例として、図2及び図3に示すアウターロータ型の電動機20と、図4及び図5に示すインナーロータ型の電動機20が考えられる。
アウターロータ型の電動機20は、図2及び図3に示すように、ステータ部材21、ロータ部材22及び基板支持部材23から構成されている。
ステータ部材21はドーナツ状で、固定部材45の内周側にロータ部材22を回転可能に保持するためのベアリング等の軸支持体24を、外周側には電動機を構成するためのステータコイル28を具備している。前述したように、ウエハ14を処理するため、図1のA側は極めてクリーンな状態を維持する必要があるため、軸支持体24はシール付のボールベアリング等の、オイルミストや他のダストの発生が低減されているものを使用するのが望ましい。
ロータ部材22はドーナツ状で、外縁筒部43の内周側に電動機20を形成するための永久磁石29を具備している。ロータ部材22の外周方向に比較的質量のある永久磁石29を備えているため、今後見込まれるウエハ14の大型化に対応させることも容易となっている。
すなわち、半導体製造の高効率化を実現するためにウエハ14は、近年も直径200mmから300mmへ移行が始まっているように、大型化の一途を辿っており、今後もさらに大型になることが予見される。このウエハ14の大型化に伴い、基板支持部材23の大型化が必要となり、次第にロータ部材22の上部の重量が増加していくと考えられる。
その際、アウターロータ型の電動機20を採用した本発明のスピンコータ1であれば、ロータ部材22の重量が永久磁石29の影響で大きくなり、さらにロータ部材22の外周側に重量物である永久磁石29が配置されているため、ロータ部材22が生む慣性モーメントが大きくなっている。そのため、基板支持部材23等の大型化が進んでも、その影響を小さくすることが可能である。
図6は、図3に示したC−C矢視図であり、アウターロータ型の電動機20のロータ部材22に配置されている永久磁石29の様子を示している。永久磁石29は前記ロータ部材22の外縁筒部の内側に沿うように、N極、S極が交互になるように配置されている。中央の中空部26にはウエハ14の下面処理用パイプ35が中央に配置されており、パイプ35は必要に応じて1本から複数本を自由に設置することが可能である。
図7は、図3に示したD−D矢視図であり、基板支持部材23の上面を示している。中央の中空部26には下面処理用パイプ35につながる吐出ノズル31が配置されている。外周上には、載置されたウエハ14を保持するための爪16が設置されている。
インナーロータ型の電動機20は、図4及び図5に示すように、ステータ部材21、ロータ部材22及び基板支持部材23から構成されている。
ステータ部材21はドーナツ状で、側壁板38に電動機20を形成するためのステータコイル28を、そのさらに内周側に、ロータ部材22を回転可能に支持するための、ベアリング等の軸支持体24を具備している。ここで、軸支持体24は前述のアウターロータ型の電動機20の場合と同様に、オイルミストやダストの発生を低減したシール付ボールベアリング等を使用することが望ましい。
ロータ部材22は円筒状の回転体41の外側に、電動機20を構成するための永久磁石29を配置している。永久磁石29は、前述のアウターロータ型の電動機20と同様に、N極とS極が交互に、かつ環状に複数個、配置されている。
前述の偏平状かつ環状の電動機20を採用したことにより、図9に示す従来のスピンコータ1の持つ回転時の重心が不安定であった問題を解消した。すなわち、従来のスピンコータ1は回転動力の伝達部とロータ部材22及び基板支持部材23の鉛直方向の重心のずれが生じているため、瞬時に高速回転に達するスピンコータ1においては、安定性を維持するのが困難である問題を抱えていた。
上記の問題に対して、本発明におけるスピンコータ1は図1に示すように、駆動モータ33を、偏平状かつ環状の例えばアウターロータ型の電動機20を採用することで、装置の高さを低く抑え、かつ下面処理用のパイプ35を通すための中空部26を設けることを可能とした。また、高さの低い偏平状の電動機20を採用したことで、ロータ部材22とその上部に固定された基板支持部材23等を含めた回転部分における重心が、鉛直方向に低い位置となるため、回転時の安定性向上を実現した。
図8は本発明の薄型スピンコータ1を、半導体生産工場内に設置する際のユニットに対応させた概略図を示している。前記スピンコータ1は、飛散防止壁13と前記スピンコータ1を固定するための支持部材47から構成される筐体46に内包されることで、ユニットを構成している。ここに、本発明のスピンコータ1は薄型化を実現したため、図8に示すように1つのユニットに複数のスピンコータ1を設置することを可能とした。
図9に示す従来のスピンコータ1は、高さが約600mmであり、駆動モータ33やパイプ35等の取り合いを含め、高さが約1800mmのユニットとして構築し、工場に載置されている。
これに対して、図8に示す本発明の薄型スピンコータ1は、高さを80mmから120mm程度とし、パイプ35等の取り合いを含めても高さが250mmから350mm程度に収めることが可能となった。そのため、工場で使用する際の高さ約1800mmのユニットに2段又はそれ以上重ねて配置することが可能となり、工場内の容積効率が向上し、半導体生産工場の限られたクリーンルームの中に、従来以上の台数のスピンコータ1を設置することが可能となるので、生産効率の飛躍的な向上が実現した。
図1に示すように、処理液32を滴下するためのパイプ35は、用途に合わせて複数本配置することが可能であり、例えば処理液32の他に乾燥用エアーを噴くパイプ35を設置する等が可能である。また、下面処理用のパイプ35はウエハ14の下面を洗浄するために使用するが、用途に合わせて複数本配置することが可能であり、例えば、ウエハ14が基板支持部材23に確実に保持されるよう、負圧を発生させる吸引用のパイプ35を設置する等が可能である。
ウエハ14は処理液32を滴下された後、高速に回転されることにより、処理液32は遠心力の作用を受け、ウエハ14上に薄く引き延ばされ、薄膜を形成する。その際、余分な処理液32がウエハ14上から吹き飛ばされるため、処理液32の飛散を防止し、また、余分な処理液32を回収する図示しない回収機構を備えた飛散防止壁13を設置している。
従来例と同様に、図1に示すA側は、B側以上に清浄が保たれる環境にある。
以上、本発明の薄型基板回転処理装置であるスピンコータ1により、多機能化に伴い大型化するスピンコータの鉛直方向における短尺化を実現し、それにより、ロータ部材22の安定的回転を確保し、かつ工場内の容積率向上を実現することができた。その結果、半導体製造における生産効率の飛躍的向上を実現した。
本発明の薄型基板回転処理装置であるスピンコータの概略図である。 アウターロータ型の電動機を利用した本発明のスピンコータの概略図である。 アウターロータ型の電動機を利用した本発明のスピンコータの分解図である。 インナーロータ型の電動機を利用した本発明のスピンコータの概略図である。 インナーロータ型の電動機を利用した本発明のスピンコータの分解図である。 図3におけるC−C矢視図である。 図3におけるD−D矢視図である。 本発明のスピンコータの実施例の概略図である。 従来のスピンコータの概略図である。
符号の説明
1 基板回転処理装置(スピンコータ)
14 ウエハ
21 ステータ部材
22 ロータ部材
23 基板支持部材
28 ステータコイル
29 永久磁石

Claims (6)

  1. 筒状の固定部材の外周側に、環状に形成されたステータコイルを固定して構成したステータ部材と、
    前記ステータ部材の内周側に回転可能に、回転体を支持し、この回転体の側面であって、前記ステータタコイルを囲み、接近するように、複数の永久磁石を配置して、前記回転体と共に回転するロータ部材を形成し、
    前記ステータ部材と前記ロータ部材を合わせて偏平状の電動機を形成し、
    前記回転体の上面に基板支持部材を配置し、
    前記基板支持部材に支持された薄板状被処理物の裏面に処理液を噴射するようにパイプを配設し
    前記回転体は内縁筒部と環状の平板部と、この平板部の外周に形成された外縁筒部を有し、
    前記外縁筒部の内面に複数の永久磁石を配置した前記ロータ部材の、
    前記内縁筒部の外面を前記ステータ部材へ回転可能に支持させることで構成した偏平状の電動機を具備したこと
    を特徴とする基板を回転処理する装置。
  2. 筒状の固定部材の外周に、前記環状のステータコイルを固定し、
    更に前記固定部材の下端が筐体に固定された支持部材に固定されていること
    を特徴とする請求項1に記載の基板を回転処理する装置。
  3. 前記パイプに負圧を発生させることで、
    前記基板支持部材に前記薄板状被処理物が吸着するように構成したこと
    を特徴とする請求項1又は2に記載の基板を回転処理する装置。
  4. 前記ステータ部材は、筐体に固定された支持部材に固定され、
    前記ステータ部材と前記ロータ部材を合わせて偏平状の電動機を形成し、
    前記電動機のロータ部材の上面に基板支持部材を配置し、
    前記基板支持部材に支持された薄板状被処理物の上面に処理液を噴射するように、1つ又は複数のパイプを配設し、
    前記薄板状被処理物の裏面に処理液を噴射するように、1つ又は複数のパイプを配設した
    こと
    を特徴とする請求項1乃至3のいずれか1項に記載の基板を回転処理する装置。
  5. 筒状の固定部材の内周側に、環状に形成されたステータコイルを固定して構成したステータ部材と、
    前記ステータ部材の内周側に回転可能に、回転体を支持し、この回転体の側面であって、複数の永久磁石を、前記円環状に形成されたステータコイルの内周側に接近するように配置して、前記回転体と共に回転するロータ部材を形成し、
    前記ステータ部材と前記ロータ部材を合わせて偏平状の電動機を形成し、
    前記回転体の上面に基板支持部材を配置し、
    前記基板支持部材に支持された薄板状被処理物の裏面に処理液を噴射するようにパイプを配設し
    前記パイプに負圧を発生させることで、
    前記基板支持部材に前記薄板状被処理物が吸着するように構成したことを特徴とする基板を回転処理する装置。
  6. 円筒状の回転体の外周側に、複数の永久磁石を環状に配置したロータ部材と、
    前記永久磁石の上方及び下方を軸支持体により軸支持し、
    永久磁石上方の軸支持体より外周方向に伸びる上方環状板と、
    永久磁石下方の軸支持体より外周方向に伸びる下方環状板が、
    円筒状の側壁板により接続し、
    前記側壁板の内周側で、かつ前記永久磁石を囲み、接近するように環状のステータコイルを配置したステータ部材を形成し、
    前記ステータ部材と前記ロータ部材を合わせて形成した偏平状の電動機を具備したこと
    を特徴とする請求項5に記載の基板を回転処理する装置。
JP2008046844A 2008-02-27 2008-02-27 薄型基板回転処理装置 Expired - Fee Related JP4862002B2 (ja)

Priority Applications (1)

Application Number Priority Date Filing Date Title
JP2008046844A JP4862002B2 (ja) 2008-02-27 2008-02-27 薄型基板回転処理装置

Applications Claiming Priority (1)

Application Number Priority Date Filing Date Title
JP2008046844A JP4862002B2 (ja) 2008-02-27 2008-02-27 薄型基板回転処理装置

Publications (2)

Publication Number Publication Date
JP2009206288A JP2009206288A (ja) 2009-09-10
JP4862002B2 true JP4862002B2 (ja) 2012-01-25

Family

ID=41148268

Family Applications (1)

Application Number Title Priority Date Filing Date
JP2008046844A Expired - Fee Related JP4862002B2 (ja) 2008-02-27 2008-02-27 薄型基板回転処理装置

Country Status (1)

Country Link
JP (1) JP4862002B2 (ja)

Families Citing this family (5)

* Cited by examiner, † Cited by third party
Publication number Priority date Publication date Assignee Title
EP2372749B1 (de) * 2010-03-31 2021-09-29 Levitronix GmbH Behandlungsvorrichtung zur Behandlung einer Oberfläche eines Körpers
KR102508025B1 (ko) 2015-05-11 2023-03-10 주성엔지니어링(주) 공정챔버 내부에 배치되는 기판 처리장치 및 그 작동방법
WO2016182299A1 (ko) * 2015-05-11 2016-11-17 주성엔지니어링(주) 공정챔버 내부에 배치되는 기판 처리장치 및 그 작동방법
JP7244236B2 (ja) * 2018-09-04 2023-03-22 株式会社荏原製作所 アウタロータ型のモータのためのロータ、当該ロータを備えるモータ、当該モータを備えるターボ分子ポンプおよび当該モータを備える基板回転装置
CN119208205B (zh) * 2024-09-25 2025-08-22 苏州伯格纳华新能源科技有限公司 一种集成电路生产加工设备

Family Cites Families (1)

* Cited by examiner, † Cited by third party
Publication number Priority date Publication date Assignee Title
JP3359508B2 (ja) * 1996-10-08 2002-12-24 大日本スクリーン製造株式会社 基板処理装置

Also Published As

Publication number Publication date
JP2009206288A (ja) 2009-09-10

Similar Documents

Publication Publication Date Title
JP4862002B2 (ja) 薄型基板回転処理装置
JP5554617B2 (ja) 保持テーブル
JP7248465B2 (ja) 基板処理装置のスピンチャック
CN107081855A (zh) 卡盘工作台机构
JP2006310697A (ja) 吸着チャック
JP2019192849A (ja) 基板処理装置および基板処理方法
JP2012224878A (ja) 蒸着装置用ワーク移動機構とこれを用いた蒸着方法
US20150037499A1 (en) Apparatus for dual speed spin chuck
CN103008309B (zh) 晶片洗涤器和晶片清洗方法
US10818534B2 (en) Substrate processing apparatus arranged in process chamber and operating method thereof
CN109087841A (zh) 反应腔室及半导体加工设备
KR20010054424A (ko) 웨이퍼를 스피닝하기 위한 웨이퍼 척
TW202018108A (zh) 3d蒸鍍之公自轉鍍鍋結構
KR100855737B1 (ko) 웨이퍼 스핀 척
JP2012212758A (ja) 基板処理方法および基板処理装置
CN114649249A (zh) 晶圆缓存机构
JP2008027959A (ja) ウエハ洗浄装置
JP2005290499A (ja) 真空装置
JP2008098558A (ja) 半導体製造方法
TW201705354A (zh) 處理腔室中排列的基板處理設備及其作業方法
JP2008244115A (ja) 基板処理装置および基板処理方法
JP2017204495A (ja) 基板洗浄装置
JPH11219929A (ja) 回転式乾燥装置及び回転式乾燥方法
JP2014122371A (ja) 蒸着装置
JP6612176B2 (ja) 基板洗浄装置

Legal Events

Date Code Title Description
A621 Written request for application examination

Free format text: JAPANESE INTERMEDIATE CODE: A621

Effective date: 20101110

A977 Report on retrieval

Free format text: JAPANESE INTERMEDIATE CODE: A971007

Effective date: 20110909

A131 Notification of reasons for refusal

Free format text: JAPANESE INTERMEDIATE CODE: A131

Effective date: 20110920

A521 Request for written amendment filed

Free format text: JAPANESE INTERMEDIATE CODE: A523

Effective date: 20111012

TRDD Decision of grant or rejection written
A01 Written decision to grant a patent or to grant a registration (utility model)

Free format text: JAPANESE INTERMEDIATE CODE: A01

Effective date: 20111101

A01 Written decision to grant a patent or to grant a registration (utility model)

Free format text: JAPANESE INTERMEDIATE CODE: A01

A61 First payment of annual fees (during grant procedure)

Free format text: JAPANESE INTERMEDIATE CODE: A61

Effective date: 20111107

R150 Certificate of patent or registration of utility model

Free format text: JAPANESE INTERMEDIATE CODE: R150

FPAY Renewal fee payment (event date is renewal date of database)

Free format text: PAYMENT UNTIL: 20141111

Year of fee payment: 3

R250 Receipt of annual fees

Free format text: JAPANESE INTERMEDIATE CODE: R250

R250 Receipt of annual fees

Free format text: JAPANESE INTERMEDIATE CODE: R250

LAPS Cancellation because of no payment of annual fees