JP4851255B2 - 表示装置 - Google Patents

表示装置 Download PDF

Info

Publication number
JP4851255B2
JP4851255B2 JP2006193987A JP2006193987A JP4851255B2 JP 4851255 B2 JP4851255 B2 JP 4851255B2 JP 2006193987 A JP2006193987 A JP 2006193987A JP 2006193987 A JP2006193987 A JP 2006193987A JP 4851255 B2 JP4851255 B2 JP 4851255B2
Authority
JP
Japan
Prior art keywords
terminal
wiring
semiconductor chip
bump electrode
insulating film
Prior art date
Legal status (The legal status is an assumption and is not a legal conclusion. Google has not performed a legal analysis and makes no representation as to the accuracy of the status listed.)
Active
Application number
JP2006193987A
Other languages
English (en)
Japanese (ja)
Other versions
JP2008020791A5 (enExample
JP2008020791A (ja
Inventor
洋之 高橋
Current Assignee (The listed assignees may be inaccurate. Google has not performed a legal analysis and makes no representation or warranty as to the accuracy of the list.)
Panasonic Liquid Crystal Display Co Ltd
Original Assignee
Panasonic Liquid Crystal Display Co Ltd
Priority date (The priority date is an assumption and is not a legal conclusion. Google has not performed a legal analysis and makes no representation as to the accuracy of the date listed.)
Filing date
Publication date
Application filed by Panasonic Liquid Crystal Display Co Ltd filed Critical Panasonic Liquid Crystal Display Co Ltd
Priority to JP2006193987A priority Critical patent/JP4851255B2/ja
Priority to US11/772,274 priority patent/US7965368B2/en
Publication of JP2008020791A publication Critical patent/JP2008020791A/ja
Publication of JP2008020791A5 publication Critical patent/JP2008020791A5/ja
Application granted granted Critical
Publication of JP4851255B2 publication Critical patent/JP4851255B2/ja
Active legal-status Critical Current
Anticipated expiration legal-status Critical

Links

Images

Classifications

    • GPHYSICS
    • G02OPTICS
    • G02FOPTICAL DEVICES OR ARRANGEMENTS FOR THE CONTROL OF LIGHT BY MODIFICATION OF THE OPTICAL PROPERTIES OF THE MEDIA OF THE ELEMENTS INVOLVED THEREIN; NON-LINEAR OPTICS; FREQUENCY-CHANGING OF LIGHT; OPTICAL LOGIC ELEMENTS; OPTICAL ANALOGUE/DIGITAL CONVERTERS
    • G02F1/00Devices or arrangements for the control of the intensity, colour, phase, polarisation or direction of light arriving from an independent light source, e.g. switching, gating or modulating; Non-linear optics
    • G02F1/01Devices or arrangements for the control of the intensity, colour, phase, polarisation or direction of light arriving from an independent light source, e.g. switching, gating or modulating; Non-linear optics for the control of the intensity, phase, polarisation or colour 
    • G02F1/13Devices or arrangements for the control of the intensity, colour, phase, polarisation or direction of light arriving from an independent light source, e.g. switching, gating or modulating; Non-linear optics for the control of the intensity, phase, polarisation or colour  based on liquid crystals, e.g. single liquid crystal display cells
    • G02F1/133Constructional arrangements; Operation of liquid crystal cells; Circuit arrangements
    • G02F1/1333Constructional arrangements; Manufacturing methods
    • G02F1/1345Conductors connecting electrodes to cell terminals
    • G02F1/13452Conductors connecting driver circuitry and terminals of panels
    • HELECTRICITY
    • H01ELECTRIC ELEMENTS
    • H01LSEMICONDUCTOR DEVICES NOT COVERED BY CLASS H10
    • H01L2924/00Indexing scheme for arrangements or methods for connecting or disconnecting semiconductor or solid-state bodies as covered by H01L24/00
    • H01L2924/0001Technical content checked by a classifier
    • H01L2924/0002Not covered by any one of groups H01L24/00, H01L24/00 and H01L2224/00

Landscapes

  • Physics & Mathematics (AREA)
  • Nonlinear Science (AREA)
  • Mathematical Physics (AREA)
  • Chemical & Material Sciences (AREA)
  • Crystallography & Structural Chemistry (AREA)
  • General Physics & Mathematics (AREA)
  • Optics & Photonics (AREA)
  • Devices For Indicating Variable Information By Combining Individual Elements (AREA)
  • Liquid Crystal (AREA)
JP2006193987A 2006-07-14 2006-07-14 表示装置 Active JP4851255B2 (ja)

Priority Applications (2)

Application Number Priority Date Filing Date Title
JP2006193987A JP4851255B2 (ja) 2006-07-14 2006-07-14 表示装置
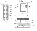
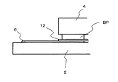
US11/772,274 US7965368B2 (en) 2006-07-14 2007-07-02 Display device comprising a semiconductor chip including a first terminal which overlaps a first and second line, the first terminal connected to the first line and overlapping and insulated from the second line

Applications Claiming Priority (1)

Application Number Priority Date Filing Date Title
JP2006193987A JP4851255B2 (ja) 2006-07-14 2006-07-14 表示装置

Publications (3)

Publication Number Publication Date
JP2008020791A JP2008020791A (ja) 2008-01-31
JP2008020791A5 JP2008020791A5 (enExample) 2009-07-23
JP4851255B2 true JP4851255B2 (ja) 2012-01-11

Family

ID=39076741

Family Applications (1)

Application Number Title Priority Date Filing Date
JP2006193987A Active JP4851255B2 (ja) 2006-07-14 2006-07-14 表示装置

Country Status (2)

Country Link
US (1) US7965368B2 (enExample)
JP (1) JP4851255B2 (enExample)

Families Citing this family (7)

* Cited by examiner, † Cited by third party
Publication number Priority date Publication date Assignee Title
JP4448535B2 (ja) 2007-12-18 2010-04-14 株式会社 日立ディスプレイズ 表示装置
US8629965B2 (en) 2009-06-17 2014-01-14 Hitachi Displays, Ltd. Display device
JP5220692B2 (ja) * 2009-06-17 2013-06-26 株式会社ジャパンディスプレイイースト 表示装置
JP5730062B2 (ja) * 2011-02-21 2015-06-03 株式会社ジャパンディスプレイ 表示装置
CN102682664A (zh) * 2012-05-30 2012-09-19 深圳市华星光电技术有限公司 一种走线结构及显示面板
JP2016057616A (ja) * 2014-09-05 2016-04-21 株式会社半導体エネルギー研究所 表示パネル、入出力装置、情報処理装置
KR102891620B1 (ko) * 2019-09-25 2025-11-28 삼성디스플레이 주식회사 표시장치 및 이의 제조 방법

Family Cites Families (11)

* Cited by examiner, † Cited by third party
Publication number Priority date Publication date Assignee Title
TW340192B (en) * 1993-12-07 1998-09-11 Sharp Kk A display board having wiring with three-layered structure and a display device including the display board
JPH08179351A (ja) * 1994-12-22 1996-07-12 Toshiba Corp 表示装置用アレイ基板
JPH08313925A (ja) 1995-05-18 1996-11-29 Citizen Watch Co Ltd 半導体集積回路
JP3826605B2 (ja) * 1999-03-08 2006-09-27 セイコーエプソン株式会社 半導体装置の実装構造の製造方法、液晶装置、および電子機器
KR100390456B1 (ko) * 2000-12-13 2003-07-07 엘지.필립스 엘시디 주식회사 액정 디스플레이 패널 및 그 제조방법
JP4006304B2 (ja) * 2002-09-10 2007-11-14 株式会社 日立ディスプレイズ 画像表示装置
JP2005062582A (ja) * 2003-08-18 2005-03-10 Hitachi Displays Ltd 表示装置
KR101034181B1 (ko) * 2003-08-21 2011-05-12 엘지디스플레이 주식회사 액정표시장치용 어레이기판 제조방법
JP2005099310A (ja) 2003-09-24 2005-04-14 Seiko Epson Corp 実装構造体、ic、電気光学装置および電子機器
JP4257526B2 (ja) * 2004-06-01 2009-04-22 セイコーエプソン株式会社 半導体装置
JP4202300B2 (ja) * 2004-06-24 2008-12-24 三菱電機株式会社 液晶表示装置及び液晶表示装置の検査方法

Also Published As

Publication number Publication date
US20080049171A1 (en) 2008-02-28
JP2008020791A (ja) 2008-01-31
US7965368B2 (en) 2011-06-21

Similar Documents

Publication Publication Date Title
US10312263B2 (en) Display panel and manufacturing method thereof
KR102059785B1 (ko) 네로우 베젤 타입 액정표시장치용 어레이 기판
CN103635949B (zh) 有源矩阵基板和具备它的显示面板
CN103383512B (zh) 液晶显示装置及其制造方法
US8384870B2 (en) Display substrate, method of manufacturing the same and display panel having the display substrate
US10928696B2 (en) Wiring substrate and display panel
CN108445686A (zh) 阵列基板、显示面板与显示装置
JP2012103343A (ja) 液晶表示パネル、及び液晶表示装置
KR20060074854A (ko) 디스플레이 장치
CN101673015A (zh) 主动元件阵列基板以及显示面板
JP2006209089A (ja) 表示装置
US7965368B2 (en) Display device comprising a semiconductor chip including a first terminal which overlaps a first and second line, the first terminal connected to the first line and overlapping and insulated from the second line
US10754210B1 (en) Display device
JP5088687B2 (ja) 電界駆動型装置及び電子機器
KR20110064287A (ko) 외곽영역이 최소화된 액정표시장치
JP2010008444A (ja) 液晶表示装置
CN115083300A (zh) 显示面板和显示装置
JP4092309B2 (ja) 液晶表示装置
JP5443144B2 (ja) 表示装置
WO2018051878A1 (ja) 実装基板及び表示パネル
US9651836B2 (en) Display device
JP2008064961A (ja) 配線構造、及び表示装置
JP2010175700A (ja) 液晶表示装置
JP2009069725A (ja) 液晶パネル
CN115762382A (zh) 一种显示面板和显示装置

Legal Events

Date Code Title Description
A521 Request for written amendment filed

Free format text: JAPANESE INTERMEDIATE CODE: A523

Effective date: 20090610

A621 Written request for application examination

Free format text: JAPANESE INTERMEDIATE CODE: A621

Effective date: 20090610

A711 Notification of change in applicant

Free format text: JAPANESE INTERMEDIATE CODE: A712

Effective date: 20110218

RD03 Notification of appointment of power of attorney

Free format text: JAPANESE INTERMEDIATE CODE: A7423

Effective date: 20110218

A977 Report on retrieval

Free format text: JAPANESE INTERMEDIATE CODE: A971007

Effective date: 20110930

TRDD Decision of grant or rejection written
A01 Written decision to grant a patent or to grant a registration (utility model)

Free format text: JAPANESE INTERMEDIATE CODE: A01

Effective date: 20111018

A01 Written decision to grant a patent or to grant a registration (utility model)

Free format text: JAPANESE INTERMEDIATE CODE: A01

A61 First payment of annual fees (during grant procedure)

Free format text: JAPANESE INTERMEDIATE CODE: A61

Effective date: 20111020

R150 Certificate of patent or registration of utility model

Ref document number: 4851255

Country of ref document: JP

Free format text: JAPANESE INTERMEDIATE CODE: R150

Free format text: JAPANESE INTERMEDIATE CODE: R150

FPAY Renewal fee payment (event date is renewal date of database)

Free format text: PAYMENT UNTIL: 20141028

Year of fee payment: 3

R250 Receipt of annual fees

Free format text: JAPANESE INTERMEDIATE CODE: R250

R250 Receipt of annual fees

Free format text: JAPANESE INTERMEDIATE CODE: R250

R250 Receipt of annual fees

Free format text: JAPANESE INTERMEDIATE CODE: R250

R250 Receipt of annual fees

Free format text: JAPANESE INTERMEDIATE CODE: R250

R250 Receipt of annual fees

Free format text: JAPANESE INTERMEDIATE CODE: R250

R250 Receipt of annual fees

Free format text: JAPANESE INTERMEDIATE CODE: R250

R250 Receipt of annual fees

Free format text: JAPANESE INTERMEDIATE CODE: R250

S531 Written request for registration of change of domicile

Free format text: JAPANESE INTERMEDIATE CODE: R313531

S533 Written request for registration of change of name

Free format text: JAPANESE INTERMEDIATE CODE: R313533

R350 Written notification of registration of transfer

Free format text: JAPANESE INTERMEDIATE CODE: R350

R250 Receipt of annual fees

Free format text: JAPANESE INTERMEDIATE CODE: R250

R250 Receipt of annual fees

Free format text: JAPANESE INTERMEDIATE CODE: R250

S111 Request for change of ownership or part of ownership

Free format text: JAPANESE INTERMEDIATE CODE: R313117

R350 Written notification of registration of transfer

Free format text: JAPANESE INTERMEDIATE CODE: R350

R250 Receipt of annual fees

Free format text: JAPANESE INTERMEDIATE CODE: R250

R250 Receipt of annual fees

Free format text: JAPANESE INTERMEDIATE CODE: R250

S111 Request for change of ownership or part of ownership

Free format text: JAPANESE INTERMEDIATE CODE: R313117

R350 Written notification of registration of transfer

Free format text: JAPANESE INTERMEDIATE CODE: R350

R250 Receipt of annual fees

Free format text: JAPANESE INTERMEDIATE CODE: R250