JP4823581B2 - 描画装置および描画方法 - Google Patents
描画装置および描画方法 Download PDFInfo
- Publication number
- JP4823581B2 JP4823581B2 JP2005176349A JP2005176349A JP4823581B2 JP 4823581 B2 JP4823581 B2 JP 4823581B2 JP 2005176349 A JP2005176349 A JP 2005176349A JP 2005176349 A JP2005176349 A JP 2005176349A JP 4823581 B2 JP4823581 B2 JP 4823581B2
- Authority
- JP
- Japan
- Prior art keywords
- pixel
- pixels
- exposure
- light spot
- usable
- Prior art date
- Legal status (The legal status is an assumption and is not a legal conclusion. Google has not performed a legal analysis and makes no representation as to the accuracy of the status listed.)
- Expired - Fee Related
Links
Images
Landscapes
- Exposure Of Semiconductors, Excluding Electron Or Ion Beam Exposure (AREA)
- Printers Or Recording Devices Using Electromagnetic And Radiation Means (AREA)
- Mechanical Optical Scanning Systems (AREA)
- Exposure And Positioning Against Photoresist Photosensitive Materials (AREA)
Description
12 感光材料
14 移動ステージ
18 設置台
20 ガイド
22 ゲート
24 スキャナ
26 センサ
28 スリット
30 露光ヘッド
32 露光エリア
36 DMD
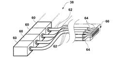
38 ファイバアレイ光源
140 使用画素指定手段
150 設定変更手段
160 コントローラ
Claims (19)
- 描画面をN重描画(Nは2以上の自然数)により描画し、画像データが表す2次元パターンを該描画面上に形成する描画装置であって、
2次元状に配された多数の使用可能画素を有し前記画像データに応じて前記2次元パターンを構成する描画点群を発生させる画素アレイを備えた、1つまたは複数の描画ヘッドであって、前記使用可能画素の画素列方向と該描画ヘッドの走査方向が所定の設定傾斜角度をなすように、前記描画面に対して取り付けられた描画ヘッドと、
前記描画面に対して各々の前記描画ヘッドを前記走査方向に相対移動させる移動手段と、
各々の前記描画ヘッドについて、前記多数の使用可能画素のうちの前記N重描画に使用する使用画素を用いて前記描画を行なうように設定する使用画素設定手段を備え、
前記使用画素設定手段が、前記使用画素を指定する使用画素指定手段と、前記使用画素のみを用いて前記描画を行なうように設定を変更する設定変更手段とを有するものであり、
前記使用画素指定手段が、前記描画点群が示す前記描画面上における実際の画素列方向と前記走査方向とがなす実傾斜角度を特定し、該実傾斜角度と前記設定傾斜角度との間の誤差を吸収するように、前記使用画素を画素行単位で指定するものであることを特徴とする描画装置。 - 前記使用画素指定手段が、前記使用画素を画素行単位で指定するものであることを特徴とする請求項1または2記載の描画装置。
- 前記使用画素指定手段が、前記使用可能画素の画素列のうちの複数に対応する前記描画面上の描画点の複数の列を代表描画点列とし、複数の該代表描画点列の各々について、該代表描画点列の方向と前記走査方向とがなす個別実傾斜角度を特定し、該個別傾斜角度の代表値を、前記実傾斜角度とするものであることを特徴とする請求項1から3のいずれか1項記載の描画装置。
- 前記代表値が、前記個別傾斜角度の平均値、中央値、最大値および最小値のいずれかであることを特徴とする請求項4記載の描画装置。
- 各々の前記描画ヘッドの前記画素アレイが、前記描画点群として光点群を発生させるものであることを特徴とする請求項1から5のいずれか1項記載の描画装置。
- 描画面をN重描画(Nは2以上の自然数)により描画し、画像データが表す2次元パターンを該描画面上に形成する描画装置であって、
2次元状に配された多数の使用可能画素を有し前記画像データに応じて前記2次元パターンを構成する描画点群を発生させる画素アレイを備えた、1つまたは複数の描画ヘッドであって、前記使用可能画素の画素列方向と該描画ヘッドの走査方向が所定の設定傾斜角度をなすように、前記描画面に対して取り付けられた描画ヘッドと、
前記描画面に対して各々の前記描画ヘッドを前記走査方向に相対移動させる移動手段と、
各々の前記描画ヘッドについて、前記多数の使用可能画素のうちの前記N重描画に使用する使用画素を用いて前記描画を行なうように設定する使用画素設定手段を備え、
前記使用画素設定手段が、前記使用画素を指定する使用画素指定手段と、前記使用画素のみを用いて前記描画を行なうように設定を変更する設定変更手段とを有するものであり、
各々の前記描画ヘッドの前記画素アレイが、前記描画点群として光点群を発生させるものであり、
前記使用画素指定手段が、
各々の前記描画ヘッドについて、前記光点群を構成する光点の前記描画面上における位置を検出する位置検出手段と、
各々の前記描画ヘッドについて、前記位置検出手段による検出結果に基づいて、前記描画面上の、前記使用画素の画素列間のつなぎ部分による描画個所を少なくとも1つ含む代表領域において、理想的な前記N重描画に対して描画が冗長となる部分および理想的な前記N重描画に対して描画が不足となる部分の合計が最小となるように、前記使用可能画素中の不使用画素を特定し、該不使用画素を除いた画素を前記使用画素として選択する選択手段を備えていることを特徴とする描画装置。 - 描画面をN重描画(Nは2以上の自然数)により描画し、画像データが表す2次元パターンを該描画面上に形成する描画装置であって、
2次元状に配された多数の使用可能画素を有し前記画像データに応じて前記2次元パターンを構成する描画点群を発生させる画素アレイを備えた、1つまたは複数の描画ヘッドであって、前記使用可能画素の画素列方向と該描画ヘッドの走査方向が所定の設定傾斜角度をなすように、前記描画面に対して取り付けられた描画ヘッドと、
前記描画面に対して各々の前記描画ヘッドを前記走査方向に相対移動させる移動手段と、
各々の前記描画ヘッドについて、前記多数の使用可能画素のうちの前記N重描画に使用する使用画素を用いて前記描画を行なうように設定する使用画素設定手段を備え、
前記使用画素設定手段が、前記使用画素を指定する使用画素指定手段と、前記使用画素のみを用いて前記描画を行なうように設定を変更する設定変更手段とを有するものであり、
各々の前記描画ヘッドの前記画素アレイが、前記描画点群として光点群を発生させるものであり、
前記使用画素指定手段が、
各々の前記描画ヘッドについて、前記光点群を構成する光点の前記描画面上における位置を検出する位置検出手段と、
各々の前記描画ヘッドについて、前記位置検出手段による検出結果に基づいて、前記描画面上の、前記使用画素の画素列間のつなぎ部分による描画個所を少なくとも1つ含む代表領域において、理想的な前記N重描画に対して描画が冗長となる部分の描画点数と、理想的な前記N重描画に対して描画が不足となる部分の描画点数とが等しくなるように、前記使用可能画素中の不使用画素を特定し、該不使用画素を除いた画素を前記使用画素として選択する選択手段を備えていることを特徴とする描画装置。 - 描画面をN重描画(Nは2以上の自然数)により描画し、画像データが表す2次元パターンを該描画面上に形成する描画装置であって、
2次元状に配された多数の使用可能画素を有し前記画像データに応じて前記2次元パターンを構成する描画点群を発生させる画素アレイを備えた、1つまたは複数の描画ヘッドであって、前記使用可能画素の画素列方向と該描画ヘッドの走査方向が所定の設定傾斜角度をなすように、前記描画面に対して取り付けられた描画ヘッドと、
前記描画面に対して各々の前記描画ヘッドを前記走査方向に相対移動させる移動手段と、
各々の前記描画ヘッドについて、前記多数の使用可能画素のうちの前記N重描画に使用する使用画素を用いて前記描画を行なうように設定する使用画素設定手段を備え、
前記使用画素設定手段が、前記使用画素を指定する使用画素指定手段と、前記使用画素のみを用いて前記描画を行なうように設定を変更する設定変更手段とを有するものであり、
各々の前記描画ヘッドの前記画素アレイが、前記描画点群として光点群を発生させるものであり、
前記使用画素指定手段が、
各々の前記描画ヘッドについて、前記光点群を構成する光点の前記描画面上における位置を検出する位置検出手段と、
各々の前記描画ヘッドについて、前記位置検出手段による検出結果に基づいて、前記描画面上の、前記使用画素の画素列間のつなぎ部分による描画個所を少なくとも1つ含む代表領域において、理想的な前記N重描画に対して描画が冗長となる部分が最小となり、かつ、理想的な前記N重描画に対して描画が不足となる部分が生じないように、前記使用可能画素中の不使用画素を特定し、該不使用画素を除いた画素を前記使用画素として選択する選択手段を備えていることを特徴とする描画装置。 - 描画面をN重描画(Nは2以上の自然数)により描画し、画像データが表す2次元パターンを該描画面上に形成する描画装置であって、
2次元状に配された多数の使用可能画素を有し前記画像データに応じて前記2次元パターンを構成する描画点群を発生させる画素アレイを備えた、1つまたは複数の描画ヘッドであって、前記使用可能画素の画素列方向と該描画ヘッドの走査方向が所定の設定傾斜角度をなすように、前記描画面に対して取り付けられた描画ヘッドと、
前記描画面に対して各々の前記描画ヘッドを前記走査方向に相対移動させる移動手段と、
各々の前記描画ヘッドについて、前記多数の使用可能画素のうちの前記N重描画に使用する使用画素を用いて前記描画を行なうように設定する使用画素設定手段を備え、
前記使用画素設定手段が、前記使用画素を指定する使用画素指定手段と、前記使用画素のみを用いて前記描画を行なうように設定を変更する設定変更手段とを有するものであり、
各々の前記描画ヘッドの前記画素アレイが、前記描画点群として光点群を発生させるものであり、
前記使用画素指定手段が、
各々の前記描画ヘッドについて、前記光点群を構成する光点の前記描画面上における位置を検出する位置検出手段と、
各々の前記描画ヘッドについて、前記位置検出手段による検出結果に基づいて、前記描画面上の、前記使用画素の画素列間のつなぎ部分による描画個所を少なくとも1つ含む代表領域において、理想的な前記N重描画に対して描画が不足となる部分が最小となり、かつ、理想的な前記N重描画に対して描画が冗長となる部分が生じないように、前記使用可能画素中の不使用画素を特定し、該不使用画素を除いた画素を前記使用画素として選択する選択手段を備えていることを特徴とする描画装置。 - 前記不使用画素が画素行単位で特定されることを特徴とする請求項7から11のいずれか1項記載の描画装置。
- 前記選択手段が、前記位置検出手段による少なくとも2つの前記光点の位置の検出結果に基づいて、前記光点群が示す前記描画面上に投影された実際の画素列方向と前記走査方向とがなす実傾斜角度を特定し、該実傾斜角度に基づいて、前記不使用画素を特定するものであることを特徴とする請求項7から12のいずれか1項記載の描画装置。
- 前記選択手段が、前記使用可能画素の画素列のうちの1つに対応する前記描画面上の前記光点の1つの列を代表光点列とし、該代表光点列およびその近傍の光点列をなす光点のうち、少なくとも2つの光点の位置の前記位置検出手段による検出結果に基づいて、前記実傾斜角度を特定するものであることを特徴とする請求項13記載の描画装置。
- 前記選択手段が、前記使用可能画素の画素列のうちの複数に対応する前記描画面上の前記光点の複数の列を代表光点列とし、複数の該代表光点列の各々について、該代表光点列およびその近傍の光点列をなす光点のうち、少なくとも2つの光点の位置の前記位置検出手段による検出結果に基づいて、該代表光点列の方向と前記走査方向とがなす個別実傾斜角度を特定し、該個別傾斜角度の代表値を、前記実傾斜角度とするものであることを特徴とする請求項13記載の描画装置。
- 前記代表値が、前記個別傾斜角度の平均値、中央値、最大値および最小値のいずれかであることを特徴とする請求項15記載の描画装置。
- 前記画像データが表す前記2次元パターンの所定部分の寸法が、指定された前記使用画素により実現できる対応部分の寸法と一致するように、前記画像データを変換するデータ変換手段をさらに備えていることを特徴とする請求項1から16のいずれか1項記載の描画装置。
- 前記画素アレイが、光源からの光を前記画像データに応じて画素ごとに変調する空間光変調素子であることを特徴とする請求項1から17のいずれか1項記載の描画装置。
- 前記Nが3以上7以下の自然数であることを特徴とする請求項1から18のいずれか1項記載の描画装置。
Priority Applications (1)
| Application Number | Priority Date | Filing Date | Title |
|---|---|---|---|
| JP2005176349A JP4823581B2 (ja) | 2004-06-17 | 2005-06-16 | 描画装置および描画方法 |
Applications Claiming Priority (3)
| Application Number | Priority Date | Filing Date | Title |
|---|---|---|---|
| JP2004179586 | 2004-06-17 | ||
| JP2004179586 | 2004-06-17 | ||
| JP2005176349A JP4823581B2 (ja) | 2004-06-17 | 2005-06-16 | 描画装置および描画方法 |
Publications (2)
| Publication Number | Publication Date |
|---|---|
| JP2006030986A JP2006030986A (ja) | 2006-02-02 |
| JP4823581B2 true JP4823581B2 (ja) | 2011-11-24 |
Family
ID=35897343
Family Applications (1)
| Application Number | Title | Priority Date | Filing Date |
|---|---|---|---|
| JP2005176349A Expired - Fee Related JP4823581B2 (ja) | 2004-06-17 | 2005-06-16 | 描画装置および描画方法 |
Country Status (1)
| Country | Link |
|---|---|
| JP (1) | JP4823581B2 (ja) |
Families Citing this family (16)
| Publication number | Priority date | Publication date | Assignee | Title |
|---|---|---|---|---|
| JP4539257B2 (ja) * | 2004-09-17 | 2010-09-08 | 富士ゼロックス株式会社 | 画像形成装置 |
| WO2006104168A1 (ja) * | 2005-03-28 | 2006-10-05 | Fujifilm Corporation | 画像記録方法及び装置 |
| WO2006104170A1 (ja) * | 2005-03-28 | 2006-10-05 | Fujifilm Corporation | 画像記録方法及び装置 |
| JP4738227B2 (ja) * | 2005-03-28 | 2011-08-03 | 富士フイルム株式会社 | 記録素子設定方法、画像記録方法及び装置 |
| US20090132063A1 (en) * | 2005-03-28 | 2009-05-21 | Fujifilm Corporation | Recording element setting method, image recording method, and device |
| WO2006104173A1 (ja) * | 2005-03-28 | 2006-10-05 | Fujifilm Corporation | 光量調整方法、画像記録方法及び装置 |
| WO2006104171A1 (ja) * | 2005-03-28 | 2006-10-05 | Fujifilm Corporation | 画像記録方法及び装置 |
| JP2006284842A (ja) * | 2005-03-31 | 2006-10-19 | Fuji Photo Film Co Ltd | パターン形成方法 |
| JP4606949B2 (ja) * | 2005-03-31 | 2011-01-05 | 富士フイルム株式会社 | 描画装置および描画方法 |
| JP2007003661A (ja) * | 2005-06-22 | 2007-01-11 | Fujifilm Holdings Corp | パターン形成方法 |
| JP2007010785A (ja) * | 2005-06-28 | 2007-01-18 | Fujifilm Holdings Corp | 永久パターン形成方法 |
| JP2007024969A (ja) * | 2005-07-12 | 2007-02-01 | Fujifilm Holdings Corp | セル内構造の製造方法及びセル内構造並びに表示装置 |
| JP4348345B2 (ja) | 2006-03-22 | 2009-10-21 | 富士フイルム株式会社 | 描画装置及び描画方法 |
| JP4948867B2 (ja) * | 2006-03-27 | 2012-06-06 | 富士フイルム株式会社 | 描画状態調整方法及び装置 |
| JP4948866B2 (ja) * | 2006-03-27 | 2012-06-06 | 富士フイルム株式会社 | 描画状態調整方法及び装置 |
| JP4874141B2 (ja) * | 2007-03-23 | 2012-02-15 | 新光電気工業株式会社 | 描画方法およびそのコンピュータプログラム |
Family Cites Families (7)
| Publication number | Priority date | Publication date | Assignee | Title |
|---|---|---|---|---|
| JP2000131628A (ja) * | 1998-10-27 | 2000-05-12 | Fuji Photo Film Co Ltd | 画像記録装置 |
| JP2001255664A (ja) * | 2000-03-14 | 2001-09-21 | Fuji Photo Film Co Ltd | 画像露光方法 |
| JP4114184B2 (ja) * | 2001-12-28 | 2008-07-09 | 株式会社オーク製作所 | 多重露光描画装置および多重露光描画方法 |
| JP4731787B2 (ja) * | 2002-04-10 | 2011-07-27 | 富士フイルム株式会社 | 露光ヘッド及び露光装置 |
| JP2004009595A (ja) * | 2002-06-07 | 2004-01-15 | Fuji Photo Film Co Ltd | 露光ヘッド及び露光装置 |
| JP4150250B2 (ja) * | 2002-12-02 | 2008-09-17 | 富士フイルム株式会社 | 描画ヘッド、描画装置及び描画方法 |
| JP4486323B2 (ja) * | 2003-06-10 | 2010-06-23 | 富士フイルム株式会社 | 画素位置特定方法、画像ずれ補正方法、および画像形成装置 |
-
2005
- 2005-06-16 JP JP2005176349A patent/JP4823581B2/ja not_active Expired - Fee Related
Also Published As
| Publication number | Publication date |
|---|---|
| JP2006030986A (ja) | 2006-02-02 |
Similar Documents
| Publication | Publication Date | Title |
|---|---|---|
| KR101112008B1 (ko) | 묘화장치 및 묘화방법 | |
| JP4150250B2 (ja) | 描画ヘッド、描画装置及び描画方法 | |
| JP4823581B2 (ja) | 描画装置および描画方法 | |
| JP2008098659A (ja) | 描画方法および描画装置 | |
| JP4315694B2 (ja) | 描画ヘッドユニット、描画装置及び描画方法 | |
| US7339602B2 (en) | Image-drawing device and image-drawing method | |
| US7177011B2 (en) | Image drawing apparatus and image drawing method | |
| JP4606949B2 (ja) | 描画装置および描画方法 | |
| JP2006350022A (ja) | 描画装置及び描画方法 | |
| JP2006030966A (ja) | 描画方法および装置 | |
| US20100123745A1 (en) | Frame data creation device, creation method, creation program, storage medium storing the program, and imaging device | |
| JP2006030791A (ja) | 光学装置 | |
| US20070291348A1 (en) | Tracing Method and Apparatus | |
| JP2006337614A (ja) | 描画方法および装置 | |
| JP4606992B2 (ja) | 描画装置及び描画方法 | |
| CN101189555A (zh) | 绘图设备和方法 | |
| JP4209344B2 (ja) | 露光ヘッド並びに画像露光装置および画像露光方法 | |
| JP2005202226A (ja) | 感光材料の感度検出方法および装置並びに露光補正方法 | |
| JP4348345B2 (ja) | 描画装置及び描画方法 |
Legal Events
| Date | Code | Title | Description |
|---|---|---|---|
| A711 | Notification of change in applicant |
Free format text: JAPANESE INTERMEDIATE CODE: A712 Effective date: 20061211 |
|
| A621 | Written request for application examination |
Free format text: JAPANESE INTERMEDIATE CODE: A621 Effective date: 20080214 |
|
| A977 | Report on retrieval |
Free format text: JAPANESE INTERMEDIATE CODE: A971007 Effective date: 20100709 |
|
| A131 | Notification of reasons for refusal |
Free format text: JAPANESE INTERMEDIATE CODE: A131 Effective date: 20100720 |
|
| A521 | Written amendment |
Free format text: JAPANESE INTERMEDIATE CODE: A523 Effective date: 20100921 |
|
| TRDD | Decision of grant or rejection written | ||
| A01 | Written decision to grant a patent or to grant a registration (utility model) |
Free format text: JAPANESE INTERMEDIATE CODE: A01 Effective date: 20110816 |
|
| A01 | Written decision to grant a patent or to grant a registration (utility model) |
Free format text: JAPANESE INTERMEDIATE CODE: A01 |
|
| A61 | First payment of annual fees (during grant procedure) |
Free format text: JAPANESE INTERMEDIATE CODE: A61 Effective date: 20110907 |
|
| R150 | Certificate of patent or registration of utility model |
Ref document number: 4823581 Country of ref document: JP Free format text: JAPANESE INTERMEDIATE CODE: R150 Free format text: JAPANESE INTERMEDIATE CODE: R150 |
|
| FPAY | Renewal fee payment (event date is renewal date of database) |
Free format text: PAYMENT UNTIL: 20140916 Year of fee payment: 3 |
|
| R250 | Receipt of annual fees |
Free format text: JAPANESE INTERMEDIATE CODE: R250 |
|
| R250 | Receipt of annual fees |
Free format text: JAPANESE INTERMEDIATE CODE: R250 |
|
| R250 | Receipt of annual fees |
Free format text: JAPANESE INTERMEDIATE CODE: R250 |
|
| R250 | Receipt of annual fees |
Free format text: JAPANESE INTERMEDIATE CODE: R250 |
|
| R250 | Receipt of annual fees |
Free format text: JAPANESE INTERMEDIATE CODE: R250 |
|
| LAPS | Cancellation because of no payment of annual fees |
