JP4792121B2 - ベルトユニット及び画像形成装置 - Google Patents

ベルトユニット及び画像形成装置 Download PDF

Info

Publication number
JP4792121B2
JP4792121B2 JP2010195311A JP2010195311A JP4792121B2 JP 4792121 B2 JP4792121 B2 JP 4792121B2 JP 2010195311 A JP2010195311 A JP 2010195311A JP 2010195311 A JP2010195311 A JP 2010195311A JP 4792121 B2 JP4792121 B2 JP 4792121B2
Authority
JP
Japan
Prior art keywords
belt
state
belt unit
unit
transfer
Prior art date
Legal status (The legal status is an assumption and is not a legal conclusion. Google has not performed a legal analysis and makes no representation as to the accuracy of the status listed.)
Active
Application number
JP2010195311A
Other languages
English (en)
Other versions
JP2010266901A (ja
Inventor
裕一 庄司
Original Assignee
株式会社沖データ
Priority date (The priority date is an assumption and is not a legal conclusion. Google has not performed a legal analysis and makes no representation as to the accuracy of the date listed.)
Filing date
Publication date
Application filed by 株式会社沖データ filed Critical 株式会社沖データ
Priority to JP2010195311A priority Critical patent/JP4792121B2/ja
Publication of JP2010266901A publication Critical patent/JP2010266901A/ja
Application granted granted Critical
Publication of JP4792121B2 publication Critical patent/JP4792121B2/ja
Active legal-status Critical Current
Anticipated expiration legal-status Critical

Links

Images

Landscapes

  • Electrophotography Configuration And Component (AREA)
  • Electrostatic Charge, Transfer And Separation In Electrography (AREA)

Description

本発明は、ベルトユニット及び画像形成装置に関するものである。
従来、プリンタ、複写機、ファクシミリ装置、複合機等の画像形成装置、例えば、カラーのプリンタにおいては、感光体ドラムの表面が、帯電ローラによって帯電させられ、LEDヘッドによって露光されて静電潜像が形成され、該静電潜像に現像ローラ上で薄層化されたトナーが静電的に付着させられてトナー像が形成される。そして、該トナー像を用紙上に、転写ローラによって転写し、定着器によって定着させることによって、画像を形成することができる。また、転写後に前記感光体ドラム上に残留したトナーは、クリーニング装置によって除去される。
ところで、前記プリンタにおいては、各色のトナー像を形成するために、それぞれ画像形成ユニットが配設され、該各画像形成ユニットに沿って用紙が搬送されるようになっている。そのために、前記各画像形成ユニット間にわたってベルトユニットが配設される。該ベルトユニットは、ドライブローラ、アイドルローラ、及びドライブローラとアイドルローラとによって張設される転写ベルトを備え、前記ドライブローラを回転させることによって転写ベルトを走行させ、用紙を搬送するようになっている。なお、転写ベルトに張力、すなわち、テンションを加えるためにテンション機構が配設される(例えば、特許文献1参照。)。
特開2002−60039号公報
しかしながら、前記従来のベルトユニットにおいては、転写ベルトが樹脂によって形成されている場合に、例えば、ベルトユニットの製造時における次工程待ち、出荷待ち等において、転写ベルトに一定のテンションが加えられた状態で長時間放置されると、転写ベルトに巻きぐせが形成されてしまう。特に、プリンタが高温下に置かれた場合に、転写ベルトの材質の許容応力(弾性限度)を超えて外力が加わったとき等においては、転写ベルトに伸びも発生してしまう。このような転写ベルトを使用して印刷を行った場合、巻きぐせ、伸び等によって印刷品位が低下してしまう。
本発明は、前記従来のベルトユニットの問題点を解決して、印刷品位が低下するのを防止することができるベルトユニット及び画像形成装置を提供することを目的とする。
そのために、本発明のベルトユニットにおいては、第1、第2のローラと、該第1、第2のローラ間に配設されたベルトと、前記第1のローラを支持する第1の支持部材と、前記第2のローラを支持する第2の支持部材と、前記第1、第2の支持部材間に配設され、第1、第2の支持部材間に付勢力を発生させる付勢部材と、前記第1の支持部材に対して揺動自在に配設されたロック部材とを有する。
そして、ベルトユニットは、前記付勢部材による付勢及びロック部材の係止に伴って、前記ベルトに所定の張力が加えられる第1の状態、及び前記所定の張力が加えられない第2の状態に保持される。
本発明によれば、ベルトユニットにおいては、第1、第2のローラと、該第1、第2のローラ間に配設されたベルトと、前記第1のローラを支持する第1の支持部材と、前記第2のローラを支持する第2の支持部材と、前記第1、第2の支持部材間に配設され、第1、第2の支持部材間に付勢力を発生させる付勢部材と、前記第1の支持部材に対して揺動自在に配設されたロック部材とを有する。
そして、ベルトユニットは、前記付勢部材による付勢及びロック部材の係止に伴って、前記ベルトに所定の張力が加えられる第1の状態、及び前記所定の張力が加えられない第2の状態に保持される。
この場合、例えば、ベルトユニットの製造時における次工程待ち、出荷待ち等の間において、前記付勢部材の付勢力によって、前記ベルトに張力が加わらないようにすることができる。
したがって、ベルトユニットが、製造時における次工程待ち、出荷待ち等において長時間放置された場合、高温下に置かれた場合等においても、ベルトに伸びが発生するのを防止することができ、ベルトに巻きぐせが形成されるのを防止することができる。また、ベルトの材質の許容応力(弾性限度)を超える外力が加わらないので、ベルトに伸びが発生するのを防止することができ、巻きぐせが形成されるのを防止することができる。その結果、印刷品位が低下するのを防止することができる。
また、巻きぐせが形成されるのを防止することができるので、モノクロ印刷を行うときに、カラーの画像形成ユニットを退避させ、ブラックの画像形成ユニットだけで画像を形成するカラー画像装置において、用紙の印刷面と他の色の画像形成ユニットの下面とが擦れてしまうことがないので、印刷品位が低下するのを防止することができる。
本発明の第1の実施の形態における転写ユニットの要部を示す正面図である。 本発明の第1の実施の形態におけるプリンタの概念図である。 転写ベルトに巻きぐせが形成された状態を示す図である。 本発明の第1の実施の形態における転写ユニットの要部を示す平面図である。 本発明の第1の実施の形態における転写ユニットの斜視図である。 本発明の第1の実施の形態における転写ユニットの要部を示す斜視図である。 本発明の第1の実施の形態における第1、第2のベルトユニット部の第1の状態を示す断面図である。 本発明の第1の実施の形態における第1、第2のベルトユニット部の第2の状態を示す断面図である。 本発明の第1の実施の形態における転写ユニットをプリンタに装着する状態を示す第1の図である。 本発明の第1の実施の形態における転写ユニットをプリンタに装着する状態を示す第2の図である。 本発明の第1の実施の形態における転写ユニットをプリンタに装着するための取付け溝の状態を示す第1の図である。 本発明の第1の実施の形態における転写ユニットをプリンタに装着する状態を示す第3の図である。 本発明の第1の実施の形態における転写ユニットをプリンタに装着するための取付け溝の状態を示す第2の図である。 本発明の第1の実施の形態における転写ユニットをプリンタに装着する状態を示す第4の図である。 本発明の第2の実施の形態における転写ユニットの要部を示す断面図である。 本発明の第2の実施の形態における転写ユニットを第1の状態に置くときのロック装置の動作を示す第1の図である。 本発明の第2の実施の形態における転写ユニットを第1の状態に置くときのロック装置の動作を示す第2の図である。 本発明の第2の実施の形態における転写ユニットが第1の状態に置かれたときのロック装置を示す図である。 本発明の第2の実施の形態における転写ユニットをプリンタに装着する状態を示す図である。
以下、本発明の実施の形態について図面を参照しながら詳細に説明する。なお、この場合、画像形成装置としてのカラーのプリンタについて説明する。
図2は本発明の第1の実施の形態におけるプリンタの概念図である。
図に示されるように、プリンタの本体、すなわち、装置本体の下部に媒体としての図示されない用紙を収容する媒体収容部としての給紙カセット11が配設され、該給紙カセット11の前端に隣接させて、用紙を1枚ずつ分離させて給紙する媒体供給部としての給紙機構が配設される。該給紙機構は、給紙ローラ12a、12b及び分離ローラ13を備え、給紙用の駆動部としての図示されない給紙用モータを駆動することによって発生させられた回転が給紙ローラ12a、12bに伝達されると、用紙は、給紙されて上部に配設された印刷タイミング調整部としての搬送ローラ部14に送られ、更に搬送ローラ部15に送られた後、ブラック、イエロー、マゼンタ及びシアンの各色の現像剤像としてのトナー像を形成する複数の画像形成部としての画像形成ユニット16Bk、16Y、16M、16Cと、ベルトユニットとしての、かつ、転写部としての転写ユニット66との間を順次走行させられる。
該転写ユニット66は、第1のローラとしてのドライブローラ75、第2のローラとしてのアイドルローラ76、ドライブローラ75とアイドルローラ76とによって張設された、第1の転写部材としての、かつ、ベルトとしての転写ベルト17、第2の転写部材としての転写ローラ51Bk、51Y、51M、51C、及び前記ドライブローラ75を回転させるための搬送用の駆動部としての図示されないベルトモータを備え、前記各転写ローラ51Bk、51Y、51M、51Cは、前記転写ベルト17を介して、前記画像形成ユニット16Bk、16Y、16M、16Cにおける像担持体としての感光体ドラム52Bk、52Y、52M、52Cと対向させて配設される。なお、前記転写ベルト17は、用紙を搬送する搬送部材としても機能する。
前記転写ローラ51Bk、51Y、51M、51Cは、各画像形成ユニット16Bk、16Y、16M、16Cにおいて、前記各感光体ドラム52Bk、52Y、52M、52Cによって、各色の現像剤としてのトナーに基づいて形成された各色の現像剤像としてのトナー像を、前記用紙に順次転写し、カラーのトナー像を形成する。
続いて、前記用紙は、定着装置としての定着器18に送られ、該定着器18においてカラーのトナー像が用紙に定着させられ、カラー画像が形成される。そのために、定着器18は、第1のローラとしての加熱ローラ18a、第2のローラとしての加圧ローラ18b、該加圧ローラ18bを包囲して回動させられる定着ベルト18c、及び前記加熱ローラ18a内に配設された加熱体としての図示されないハロゲンを備える。
そして、定着器18から排出された用紙は、搬送ローラ19によって搬送された後、排出搬送ローラ20によって装置本体外に排出される。このようにして、カラー印刷を行うことができる。
なお、前記感光体ドラム52Bk、52Y、52M、52Cの表面を露光して静電潜像を形成するために露光装置としての各LEDヘッド21Bk、21Y、21M、21Cが、前記各感光体ドラム52Bk、52Y、52M、52Cと対向させて配設される。
前記各画像形成ユニット16Bk、16Y、16M、16Cは、装置本体に対して着脱自在に配設され、そのために、装置本体の上部に本体カバー23が開閉自在に配設される。なお、前記各LEDヘッド21Bk、21Y、21M、21Cは本体カバー23によって保持される。
前記プリンタにおいて、モノクロ印刷を行う場合は、図示されないリンク機構及びリンク駆動モータによって、前記画像形成ユニット16Y、16M、16Cが転写ユニット66から離間させられ、前記画像形成ユニット16Bkだけが使用される。前記画像形成ユニット16Y、16M、16Cと転写ユニット66との離間量は、プリンタを小型化するために制限される。
ところで、例えば、転写ベルト17が樹脂によって形成されている場合に、転写ユニット66の製造時における次工程待ち、出荷待ち等において、転写ベルト17に一定のテンションが加えられた状態で長時間放置されると、前記転写ベルト17に巻きぐせが形成されることがあり、その場合、印刷品位が低下してしまう。
図3は転写ベルトに巻きぐせが形成された状態を示す図である。
図において、17は転写ベルト、75はドライブローラ、76はアイドルローラ、p1、p2は転写ベルト17に巻きぐせが形成された部分を表す巻きぐせ部である。該巻きぐせ部p1、p2は、ドライブローラ75及びアイドルローラ76によって転写ベルト17に一定のテンションが加えられた状態で長時間放置された場合等に、転写ベルト17においてドライブローラ75及びアイドルローラ76と当接する部分が伸長されることによって形成される。そして、前記巻きぐせ部p1、p2が形成された後、転写ベルト17を走行させると、巻きぐせ部p1、p2は、変形しているので、他の部分より盛り上がった状態で移動させられる。
特に、プリンタが高温下に置かれたとき、前記転写ベルト17の材質の許容応力(弾性限度)を超えて外力が加わったとき等は、転写ベルト17に伸びも発生してしまう。このような転写ベルト17を使用して印刷を行った場合、巻きぐせ、伸び等によって印刷品位が低下してしまう。
また、モノクロ印刷が行われる際の画像形成ユニット16Y、16M、16Cと転写ユニット66との離間量が十分でない場合で、かつ、巻きぐせ等が形成された転写ベルト17を使用した場合、用紙が巻きぐせ部p1、p2に送られてくると、用紙の印刷面と画像形成ユニット16Y、16M、16Cの下面とが擦れてしまい、印刷品位が低下してしまう。
そこで、本実施の形態においては、転写ベルト17が一定のテンションが加えられた状態で長時間放置されても、転写ベルト17に巻きぐせ部p1、p2が形成されるのを防止するようにしている。
次に、前記構成の転写ユニット66について説明する。
図1は本発明の第1の実施の形態における転写ユニットの要部を示す正面図、図4は本発明の第1の実施の形態における転写ユニットの要部を示す平面図、図5は本発明の第1の実施の形態における転写ユニットの斜視図、図6は本発明の第1の実施の形態における転写ユニットの要部を示す斜視図、図7は本発明の第1の実施の形態における第1、第2のベルトユニット部の第1の状態を示す断面図、図8は本発明の第1の実施の形態における第1、第2のベルトユニット部の第2の状態を示す断面図である。
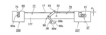
図において、66は転写ユニットであり、該転写ユニット66は、第1の支持部材としての第1のベルトユニット部77、及び第2の支持部材としての第2のベルトユニット部78を連結することによって形成される。そして、前記第1のベルトユニット部77にドライブローラ75が、第2のベルトユニット部78にアイドルローラ76がそれぞれ配設され、転写ベルト17が、ドライブローラ75及びアイドルローラ76に巻き付けられた状態で、ドライブローラ75とアイドルローラ76とによって張設される。
前記第1のベルトユニット部77において、ドライブローラ75は、支持部材としてのベアリング80によって側板177に対して回転自在に支持され、前記ドライブローラ75の軸の一端に駆動ギヤ79が取り付けられ、該駆動ギヤ79は、前記ベルトモータと連結される。なお、前記ベアリング80は、Iカットされた形状を有し、平行な二つの面80aを備え、前記側板177に固定される。
一方、第2のベルトユニット部78において、側板178に長穴86が図6の矢印A、B方向に向けて形成され、前記アイドルローラ76は、支持部材としてのベアリング81によって、側板178及び長穴86に対して、矢印A、B方向に摺動可能に支持される。なお、前記ベアリング81は円形の形状を有する。
そして、前記アイドルローラ76は、ベアリング81と、側板178から突出させて形成された支持部201との間に配設された付勢部材としての加圧スプリング85によって矢印A方向に付勢され、転写ベルト17にテンションを加える。また、前記加圧スプリング85は、アイドルローラ76を転写ベルト17の走行方向に対して直角の方向に押圧する。
さらに、第2のベルトユニット部78においては、画像を形成するのに伴って、転写ベルト17上に残ったトナーを掻き取るためのクリーニング装置としてのクリーニングブレード82が配設され、該クリーニングブレード82は、転写ベルト17を介してアイドルローラ76と対向させて、かつ、転写ベルト17と当接させて配設される。
そして、第2のベルトユニット部78は、第1のベルトユニット部77に対して、連結軸84を揺動支点として揺動自在に連結され、前記第1、第2のベルトユニット部77、78が、図7に示されるような一直線状に延在させられた伸展状態を採るのに伴って、前記転写ユニット66は、転写ベルト17にテンションが加えられた第1の状態に置かれ、第1、第2のベルトユニット部77、78が、図8に示されるような「く」字状に曲折させられた屈曲状態を採るのに伴って、転写ユニット66は、転写ベルト17を弛ませた第2の状態に置かれる。なお、前記第1、第2のベルトユニット部77、78についても、伸展状態を第1の状態といい、屈曲状態を第2の状態という。
そのために、第1のベルトユニット部77は、第2のベルトユニット部78と対向する面S1が平坦であるのに対して、第2のベルトユニット部78は、第1のベルトユニット部77と対向する面S2にテーパ87が形成され、該テーパ87は、第1のベルトユニット部77に対して第2のベルトユニット部78を矢印C方向に回動させたときに、回動を規制し、所定量以上回動させないための規制部材として、かつ、ストッパとして作用する。前記所定量は、装置本体内の転写ユニット66と、該転写ユニット66の取付部との関係から算出され、本実施の形態においては、20〔°〕にされる。
また、前記転写ユニット66を第2の状態に保持するために、転写ユニット66の両縁(左右)において第1、第2のベルトユニット部77、78間にロック装置204が配設される。該ロック装置204は、第1、第2のベルトユニット部77、78のうちの一方、本実施の形態においては、第1のベルトユニット部77に対して支点89を揺動中心として揺動自在に配設された係止部材としてのロック部材88、及び第1、第2のベルトユニット部77、78のうちの他方、本実施の形態においては、第2のベルトユニット部78に配設された被係止部材としての突起30を備える。前記ロック部材88は、回動に伴って、転写ユニット66を第1、第2の状態間で切り換える切換部材を構成する。
前記ロック部材88は、支点89から延びる第1のアーム88a、支点89から第1のアーム88aに対して所定の角度、本実施の形態においては、直角に延びる第2のアーム88b、該第2のアーム88bの先端から第1のアーム88aと平行に延びる第1の係止部としてのフック部88c、及び前記第2のアーム88bの先端よりわずかに支点89側において、フック部88cと逆方向に斜めに延びる第2の係止部としてのフック部88dを備え、転写ユニット66が第2の状態に置かれたときに、フック部88cと突起30とが係止させられる。また、転写ユニット66の左右に配設された各ロック部材88は、第1のアーム88aの先端で棒状の取手83によって連結される。該取手83はロック部材88と一体に揺動自在に配設される。
そして、操作者が前記取手83を把持し、転写ユニット66を持ち上げると、前記フック部88dと突起30とが係止させられる。したがって、ロック装置204は、第1のベルトユニット部77と第2のベルトユニット部78とが所定の角度以上回動しないようにするためのストッパ部材として作用する。
次に、前記転写ユニット66を装置本体に装着する方法について説明する。
図9は本発明の第1の実施の形態における転写ユニットをプリンタに装着する状態を示す第1の図、図10は本発明の第1の実施の形態における転写ユニットをプリンタに装着する状態を示す第2の図、図11は本発明の第1の実施の形態における転写ユニットをプリンタに装着するための取付け溝の状態を示す第1の図、図12は本発明の第1の実施の形態における転写ユニットをプリンタに装着する状態を示す第3の図、図13は本発明の第1の実施の形態における転写ユニットをプリンタに装着するための取付け溝の状態を示す第2の図、図14は本発明の第1の実施の形態における転写ユニットをプリンタに装着する状態を示す第4の図である。
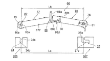
図において、206、207は装置本体の所定の箇所に取り付けられ、転写ユニット66を装置本体に対して着脱するための取付部であり、取付部206は、ベアリング80を収容して支持するための第1の溝としての挿入溝34を備える。該挿入溝34は、垂直方向に形成され、前記ベアリング80を導入するための導入部34a、及びベアリング80を保持するための保持部34bを備える。
前述されたように、ベアリング80はIカットすることによって形成された部分、すなわち、Iカット部の二つの面80aを備え、導入部34aは、Iカット部を挟んでベアリング80を導入することができるように、各面80a間の距離よりわずかに大きくされ、保持部34bは、ベアリング80を揺動自在に収容することができるように、ベアリング80の径よりわずかに大きくされる。
また、取付部207は、ベアリング81を収容して支持するための第2の溝としてのL字型の挿入溝37を備える。該挿入溝37は、垂直方向に形成され、ベアリング81を導入するための導入部37a、及び該導入部37aの底から水平方向に形成され、ベアリング81を保持するための保持部37bを備える。前記導入部37a及び保持部37bは、ベアリング81を導入し、保持することができるように、該ベアリング81の径よりわずかに大きくされる。
前記挿入溝34、37間の距離、すなわち、導入部34aの中心と導入部37aの中心との距離をLaとし、第1、第2のベルトユニット部77、78を第2の状態に置いたときのベアリング80、81の各中心間の距離をLbとしたとき、距離La、Lbは等しくされる。
なお、前記転写ユニット66を装置本体に装着する場合、取手83を把持し、ベアリング80、81を、図10に示されるように、挿入溝34、37内にそれぞれ挿入する。このとき、転写ユニット66は第2の状態に置かれ、ベアリング80は、面80aが垂直方向に向くように側板177に取り付けられる。したがって、図10及び11に示されるように、ベアリング80は、導入部34aを通り保持部34bに到達し、該保持部34b内に収容される。また、ベアリング81は導入部37aを通り、底部に到達する。
続いて、ロック部材88を矢印C方向に回動させながら転写ユニット66を下方に押し下げると、図12に示されるように、フック部88cと突起30との係止が解除され、第1、第2のベルトユニット部77、78が一直線状になり、転写ユニット66は第1の状態に置かれる。このとき、第1のベルトユニット部77が水平になるのに伴って、図13に示されるように、ベアリング80が保持部34b内で矢印E方向に回動させられ、面80aが傾く。その結果、ベアリング80は挿入溝34から外れなくなる。また、図10に示されるように、ベアリング81が、挿入溝37を矢印D方向に移動し、保持部37b内に収容される。その結果、ベアリング81は挿入溝37から外れなくなる。このようにして、転写ユニット66を装置本体に装着することができる。
なお、前記転写ユニット66が第1の状態に置かれた後、ロック部材88を更に矢印C方向に回動させると、図14に示されるように、フック部88dが装置本体の所定の箇所に配設された被係止部としての突起38と係止させられる。これに伴って、ロック部材88がロック状態に置かれ、転写ユニット66は第1の状態に保持される。したがって、前記転写ユニット66が装置本体に装着された後、印刷動作時の振動等によって転写ユニット66が第2の状態になるのを防止することができる。
なお、前記ロック部材88がロック状態に置かれると、取手83と転写ベルト17の表面との間に隙間dが形成される。該隙間dは、用紙の通過を妨げない量で形成されるが、用紙の厚さ、誤差等を考慮して、2〔mm〕以上にするのが好ましい。また、前記取手83は、画像形成ユニット16Bk(図2)、16Y、16M、16Cと接触しない位置に配設される。
本実施の形態においては、例えば、転写ユニット66の製造時における次工程待ち、出荷待ち等において、転写ユニット66は第2の状態に置かれ、転写ベルト17にテンションが加わらないようにされる。そのために、取手83を把持したときに、第1、第2のベルトユニット部77、78が曲折して延在させられ、フック部88cと突起30とが係止させられる。
したがって、前記転写ユニット66を第2の状態に置くことによって、例えば、転写ユニット66の製造時における次工程待ち、出荷待ち等において長時間放置された場合、転写ユニット66が高温下に置かれた場合等においても、転写ベルト17に伸びが発生するのを防止することができ、転写ベルト17に巻きぐせが形成されるのを防止することができる。なお、転写ベルト17の材質の許容応力を超える外力が加わらないので、転写ベルト17に伸びが発生するのを防止することができ、巻きぐせが形成されるのを防止することができる。その結果、印刷品位が低下するのを防止することができる。
また、巻きぐせが形成されるのが防止されるので、モノクロ印刷を行うときに、カラーの画像形成ユニット16Y、16M、16Cを退避させ、ブラックの画像形成ユニット16Bkだけで画像を形成するカラーのプリンタにおけるモノクロ印刷の印刷品位が低下するのを防止することができる。
なお、例えば、転写ユニット66の製造時における次工程待ち、出荷待ち等において長時間放置される場合、転写ユニット66が第2の状態に置かれ、ベアリング80、81の各中心間の距離Lbが第1の状態より短くされると、転写ベルト17にたるみが生じる。このとき、転写ベルト17は、アイドルローラ76及びクリーニングブレード82によって挟まれている。また、転写ベルト17には、転写ベルト17を斜行させないために、該転写ベルト17の縁部に図示されないビードが配設されていて、該ビードは、アイドルローラ76の図示されないプーリによって案内される。したがって、転写ベルト17は、アイドルローラ76及びクリーニングブレード82によって挟まれ、かつ、転写ベルト17のビードが前記プーリによって押さえられることになるので、転写ユニット66から外れることはない。
なお、第1、第2のベルトユニット部77、78を第1の状態に置くと、転写ベルト17にテンションが加わるので、ドライブローラ75を回転させることによって、転写ベルト17を走行させることができる。
次に、本発明の第2の実施の形態について説明する。なお、第1の実施の形態と同じ構造を有するものについては、同じ符号を付与し、同じ構造を有することによる発明の効果については同実施の形態の効果を援用する。
図15は本発明の第2の実施の形態における転写ユニットの要部を示す断面図、図16は本発明の第2の実施の形態における転写ユニットを第1の状態に置くときのロック装置の動作を示す第1の図、図17は本発明の第2の実施の形態における転写ユニットを第1の状態に置くときのロック装置の動作を示す第2の図、図18は本発明の第2の実施の形態における転写ユニットが第1の状態に置かれたときのロック装置を示す図、図19は本発明の第2の実施の形態における転写ユニットをプリンタに装着する状態を示す図である。
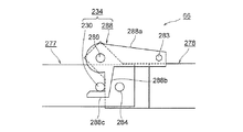
本実施の形態においては、第1の支持部材としての第1のベルトユニット部277と第2の支持部材としての第2のベルトユニット部278とは、連結軸284を揺動支点として揺動自在に連結され、前記連結軸284に付勢部材としてのトーションスプリング39が配設され、該トーションスプリング39は、ベルトユニットとしての転写ユニット66を第2の状態になるように付勢する。そのために、前記第1のベルトユニット部277の前壁212の内側に、支持部としての突起221が、前記第2のベルトユニット部278の前壁213の内側に、支持部としての突起222がそれぞれ形成され、前記トーションスプリング39の一端が突起221に、他端が突起222にそれぞれ当接させられる。
また、第1のベルトユニット部277に対して第2のベルトユニット部278を回動させたときに、前記第1のベルトユニット部277の上面壁224と前壁213とが当接し、前記第2のベルトユニット部278の上面壁225と前壁212とが当接する。したがって、前壁212、213は、第2のベルトユニット部278を所定量以上回動させないためのストッパとして作用する。
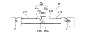
また、転写ユニット66を第2の状態から第1の状態に置くために、第1、第2のベルトユニット部277、278間にロック装置234が配設される。該ロック装置234は、転写ユニット66の両縁(左右)において配設され、第1、第2のベルトユニット部277、278のうちの一方、本実施の形態においては、第2のベルトユニット部278に対して支点289を揺動中心として揺動自在に配設された係止部材としてのロック部材288、及び第1、第2のベルトユニット部277、278のうちの他方、本実施の形態においては、第1のベルトユニット部277に形成された被係止部材としての突起230を備える。
前記ロック部材288は、支点289から延びる第1のアーム288a、支点289から第1のアーム288aに対して所定の角度で、本実施の形態においては、直角に延びる第2のアーム288b、及び該第2のアーム288bの先端から第1のアーム288aと平行に、かつ、反対方向に延びる係止部としてのフック部288cを備え、転写ユニット66が第1の状態に置かれたときに、フック部288cと突起230とが係止させられる。また、各ロック部材288は、第1のアーム288aの先端で棒状の取手283によって連結される。
本実施の形態においては、例えば、転写ユニット66の製造時における次工程待ち、出荷待ち等において長時間放置される場合、転写ユニット66は第2の状態に置かれ、前記トーションスプリング39の付勢力によって第1、第2のベルトユニット部277、278が、図16に示されるような「く」字状に曲折させられる。それによって、転写ベルト17にテンションが加わらないようにされる。
したがって、前記転写ユニット66を第2の状態に置くことによって、例えば、転写ユニット66の製造時における次工程待ち、出荷待ち等において長時間放置された場合、転写ユニット66が高温下に置かれた場合等においても、転写ベルト17に伸びが発生するのを防止することができ、転写ベルト17に巻きぐせが形成されるのを防止することができる。なお、転写ベルト17の材質の許容応力(弾性限度)を超える外力が加わらないので、転写ベルト17に伸びが発生するのを防止することができ、巻きぐせが形成されるのを防止することができる。その結果、印刷品位が低下するのを防止することができる。
また、巻きぐせが形成されるのが防止されるので、モノクロ印刷を行うときに、カラーの画像形成ユニット16Y、16M、16Cを退避させてブラックの画像形成ユニット16Bkだけで画像を形成するカラーのプリンタにおけるモノクロ印刷の印刷品位が低下するのを防止することができる。
また、転写ユニット66を装置本体から外した状態で、例えば、テーブル等の上に置いた場合においても、トーションスプリング39の付勢力によって、転写ユニット66は第2の状態を保持することができる。
次に、転写ユニット66を装置本体に装着する方法について説明する。
この場合、まず、取手283を把持し、第1の実施の形態と同様に、ベアリング80、81を挿入溝34、37内にそれぞれ挿入する。このとき、転写ユニット66は第2の状態に置かれる。
続いて、ロック部材88を矢印E方向に回動させると、前記フック部288cの先端に形成された当接部としてのテーパ291が突起230に接触する。そして、前記テーパ291は、矢印方向に力Fで突起230を押圧する。このとき、テーパ291は、分力Fbで突起230を押すが、分力Faによって第2のアーム288b及びフック部288cが変形させられ、テーパ291が突起230の表面を滑り、その結果、図18に示されるように、フック部288cと突起230とが係止させられる。それに伴って、転写ユニット66は、第1の状態になり、装置本体に装着される。
このように、本実施の形態においては、トーションスプリング39の付勢力によって転写ユニット66が第2の状態に保持されるので、転写ベルト17が弛んだ状態を保持することができる。したがって、転写ユニット66が装置本体から外されている場合に、転写ベルト17に巻きぐせが形成されるのを確実に防止することができる。
前記各実施の形態においては、プリンタに配設された転写ユニット66について説明したが、本発明を、ベルトユニットを使用する複合機、ファクシミリ装置、複合機等に適用することができる。
なお、本発明は前記各実施の形態に限定されるものではなく、本発明の趣旨に基づいて種々変形させることが可能であり、それらを本発明の範囲から排除するものではない。
17 転写ベルト
66 転写ユニット
75 ドライブローラ
76 アイドルローラ
77、277 第1のベルトユニット部
78、278 第2のベルトユニット部
85 加圧スプリング

Claims (9)

  1. (a)第1、第2のローラと、
    (b)該第1、第2のローラ間に配設されたベルトと、
    (c)前記第1のローラを支持する第1の支持部材と、
    (d)前記第2のローラを支持する第2の支持部材と、
    (e)前記第1、第2の支持部材間に配設され、第1、第2の支持部材間に付勢力を発生させる付勢部材と、
    (f)前記第1の支持部材に対して揺動自在に配設されたロック部材とを有するとともに、
    (g)ベルトユニットは、前記付勢部材による付勢及びロック部材の係止に伴って、前記ベルトに所定の張力が加えられる第1の状態、及び前記所定の張力が加えられない第2の状態に保持されることを特徴とするベルトユニット。
  2. 装置本体に装着されるのに伴って前記第2の状態から前記第1の状態に切り換えられる請求項1に記載のベルトユニット。
  3. 前記第1の状態において前記ベルトに加えられる張力は、前記第2の状態において前記ベルトに加えられる張力より大きい請求項1又は2に記載のベルトユニット。
  4. 前記付勢部材は、一端が前記第2の支持部材に形成された支持部に、他端が前記第1の支持部材に形成された支持部に当接させられる請求項1〜3のいずれか1項に記載のベルトユニット。
  5. 前記ロック部材は、ベルトユニットを第1の状態に保持するための第1の係止部、及びベルトユニットを第2の状態に保持するための第2の係止部を備える請求項1〜4のいずれか1項に記載のベルトユニット。
  6. (a)前記第2の支持部材は被係止部材を備え、
    (b)前記第1の係止部を被係止部材に係止させることによって、ベルトユニットが前記第2の状態に保持される請求項5に記載のベルトユニット。
  7. 前記ロック部材は、回動させられて第1の支持部材から突出させられることによって、ベルトユニットを前記第2の状態に保持し、回動させられて倒され、第1の支持部材から突出させられなくなることによって、ベルトユニットを前記第1の状態に保持する請求項1〜6のいずれか1項に記載のベルトユニット。
  8. 装置本体に装着されるのに伴って、前記第1、第2のローラ間の距離が長くなり、前記第2の状態から前記第1の状態に切り換えられる請求項1〜7のいずれか1項に記載のベルトユニット。
  9. 請求項1〜8のいずれか1項に記載のベルトユニットが搭載された画像形成装置。
JP2010195311A 2010-09-01 2010-09-01 ベルトユニット及び画像形成装置 Active JP4792121B2 (ja)

Priority Applications (1)

Application Number Priority Date Filing Date Title
JP2010195311A JP4792121B2 (ja) 2010-09-01 2010-09-01 ベルトユニット及び画像形成装置

Applications Claiming Priority (1)

Application Number Priority Date Filing Date Title
JP2010195311A JP4792121B2 (ja) 2010-09-01 2010-09-01 ベルトユニット及び画像形成装置

Related Parent Applications (1)

Application Number Title Priority Date Filing Date
JP2010091426A Division JP4639264B2 (ja) 2010-04-12 2010-04-12 ベルトユニット及び画像形成装置

Publications (2)

Publication Number Publication Date
JP2010266901A JP2010266901A (ja) 2010-11-25
JP4792121B2 true JP4792121B2 (ja) 2011-10-12

Family

ID=43363855

Family Applications (1)

Application Number Title Priority Date Filing Date
JP2010195311A Active JP4792121B2 (ja) 2010-09-01 2010-09-01 ベルトユニット及び画像形成装置

Country Status (1)

Country Link
JP (1) JP4792121B2 (ja)

Family Cites Families (5)

* Cited by examiner, † Cited by third party
Publication number Priority date Publication date Assignee Title
JPH0652462B2 (ja) * 1984-07-10 1994-07-06 富士ゼロックス株式会社 複写機における無端ベルト状感光体のスキユ−解除装置
JPH0538369Y2 (ja) * 1985-10-14 1993-09-28
US4657370A (en) * 1985-12-24 1987-04-14 Xerox Corporation Belt support and tracking apparatus
JP3704085B2 (ja) * 2001-12-25 2005-10-05 京セラ株式会社 電子写真装置用ベルトユニット
JP2007057953A (ja) * 2005-08-25 2007-03-08 Brother Ind Ltd 画像形成装置

Also Published As

Publication number Publication date
JP2010266901A (ja) 2010-11-25

Similar Documents

Publication Publication Date Title
JP4496243B2 (ja) ベルトユニット及び画像形成装置
US7925199B2 (en) Image forming apparatus
US9256199B2 (en) Image forming apparatus having spacing configuration for process cartridge
JP2010128338A (ja) プロセスカートリッジおよび画像形成装置
JP4792121B2 (ja) ベルトユニット及び画像形成装置
JP4639264B2 (ja) ベルトユニット及び画像形成装置
JP2007041402A (ja) ベルトユニット、画像形成装置及びベルトユニットの組み立て方法
US20150234327A1 (en) Cleaning device and image forming apparatus
KR100609907B1 (ko) 화상형성장치
JP6269555B2 (ja) 転写装置、およびこれを備えた画像形成装置
JP4842683B2 (ja) 画像形成装置
US11385563B2 (en) Developing cartridge having first inclined surface movable together with first shaft, and second inclined surface movable together with second shaft
JP7363568B2 (ja) 媒体搬送装置及び画像形成装置
JP7415805B2 (ja) 媒体搬送装置及び画像形成装置
CN107703725B (zh) 转印单元以及图像形成装置
JP7314786B2 (ja) 画像形成装置
JP2002372819A (ja) 画像形成装置
US12092989B2 (en) Unit accommodation apparatus and image forming apparatus
JP7552418B2 (ja) ローラユニットおよび画像形成装置
JP5192974B2 (ja) 媒体収容装置及び画像形成装置
JP6280605B2 (ja) 給紙装置および画像形成装置
JP2018055006A (ja) 定着装置および画像形成装置
JP6451834B2 (ja) 画像形成装置
JP2015131725A (ja) 給紙装置および画像形成装置
JP2010265977A (ja) カップリング及びこれを備えた画像形成装置

Legal Events

Date Code Title Description
A621 Written request for application examination

Free format text: JAPANESE INTERMEDIATE CODE: A621

Effective date: 20100901

A131 Notification of reasons for refusal

Free format text: JAPANESE INTERMEDIATE CODE: A131

Effective date: 20101130

A521 Request for written amendment filed

Free format text: JAPANESE INTERMEDIATE CODE: A523

Effective date: 20110126

A131 Notification of reasons for refusal

Free format text: JAPANESE INTERMEDIATE CODE: A131

Effective date: 20110329

A521 Request for written amendment filed

Free format text: JAPANESE INTERMEDIATE CODE: A523

Effective date: 20110526

TRDD Decision of grant or rejection written
A01 Written decision to grant a patent or to grant a registration (utility model)

Free format text: JAPANESE INTERMEDIATE CODE: A01

Effective date: 20110712

A01 Written decision to grant a patent or to grant a registration (utility model)

Free format text: JAPANESE INTERMEDIATE CODE: A01

A61 First payment of annual fees (during grant procedure)

Free format text: JAPANESE INTERMEDIATE CODE: A61

Effective date: 20110722

FPAY Renewal fee payment (event date is renewal date of database)

Free format text: PAYMENT UNTIL: 20140729

Year of fee payment: 3

R150 Certificate of patent or registration of utility model

Free format text: JAPANESE INTERMEDIATE CODE: R150

Ref document number: 4792121

Country of ref document: JP

Free format text: JAPANESE INTERMEDIATE CODE: R150

S111 Request for change of ownership or part of ownership

Free format text: JAPANESE INTERMEDIATE CODE: R313111

R350 Written notification of registration of transfer

Free format text: JAPANESE INTERMEDIATE CODE: R350