JP4668564B2 - 接合装置及び接合方法 - Google Patents

接合装置及び接合方法 Download PDF

Info

Publication number
JP4668564B2
JP4668564B2 JP2004229538A JP2004229538A JP4668564B2 JP 4668564 B2 JP4668564 B2 JP 4668564B2 JP 2004229538 A JP2004229538 A JP 2004229538A JP 2004229538 A JP2004229538 A JP 2004229538A JP 4668564 B2 JP4668564 B2 JP 4668564B2
Authority
JP
Japan
Prior art keywords
rollers
joining
pair
roller
horizontal direction
Prior art date
Legal status (The legal status is an assumption and is not a legal conclusion. Google has not performed a legal analysis and makes no representation as to the accuracy of the status listed.)
Expired - Fee Related
Application number
JP2004229538A
Other languages
English (en)
Other versions
JP2006044105A (ja
Inventor
宏宣 安齋
Current Assignee (The listed assignees may be inaccurate. Google has not performed a legal analysis and makes no representation or warranty as to the accuracy of the list.)
Bridgestone Corp
Original Assignee
Bridgestone Corp
Priority date (The priority date is an assumption and is not a legal conclusion. Google has not performed a legal analysis and makes no representation as to the accuracy of the date listed.)
Filing date
Publication date
Application filed by Bridgestone Corp filed Critical Bridgestone Corp
Priority to JP2004229538A priority Critical patent/JP4668564B2/ja
Publication of JP2006044105A publication Critical patent/JP2006044105A/ja
Application granted granted Critical
Publication of JP4668564B2 publication Critical patent/JP4668564B2/ja
Anticipated expiration legal-status Critical
Expired - Fee Related legal-status Critical Current

Links

Images

Landscapes

  • Lining Or Joining Of Plastics Or The Like (AREA)

Description

本発明は、帯状ゴム材料等の部材の接合装置及び接合方法に関する。
従来、タイヤ構成材料として使用されるカーカス材料等の帯状ゴム材料の端部同士を接合する装置として、円周外周に溝が彫られた1対のローラが、一定の角度で配置された接合装置(いわゆるジッパー装置)がある。この1対のローラを接合する部材の端部に接触させ、ローラが回転することにより、当該溝が端部同士を寄せ合い、ジッパー機能により接合を行う(例えば、特許文献1及び特許文献2参照)。
特開2002−166479号公報 特公昭52−35709号公報
上述した従来のジッパー装置では、その構造上、1対のローラの進行方向は1方向に定められていた。そのため、接合する部材の中央部より両側へ接合を行う場合は、1方向へ進行する1対のローラと、当該1対のローラとは反対の方向へ進行する1対のローラ、計2対のローラを用意する必要があった。
又、従来のジッパー装置は、1方向へしか進行できないため、部材の接合が終わると、開始位置までローラを戻す動作が必要であった。
そこで、本発明は、上記の問題に鑑み、往復運動可能な1対のローラを備えることにより、設備費用を削減し、稼働時間を減少させる接合装置及び接合方法を提供することを目的とする。
上記課題を解決するために、本発明の第1の特徴は、平行に並べられた部材の隣り合う端部同士を接合する接合装置であって、互いに背中合わせで接近して位置し、背面が水平方向の一方、及び垂直方向の上方に拡開し、当該水平方向に拡開した方向に部材の隣り合う端部に沿って移動することにより、端部同士の圧着接合を行う円錐台形状の1対のローラと、1対のローラを水平方向に回転させる回転手段とを備える接合装置であることを要旨とする。
本発明の第1の特徴に係る接合装置によると、1対のローラが水平方向に回転することにより、往復運動をすることが可能となる。従って、2対のローラを用意する必要がないため、設備費用を削減でき、ローラを開始位置まで戻す必要がないため、稼働時間を減少することができる。
又、回転手段としては、ローラの支持部材に接合された、水平方向に回転する歯車を用いてもよく、ローラの支持部材に接合された、水平方向に回転するベアリングを用いてもよい。
本発明の第2の特徴は、平行に並べられた部材の隣り合う端部同士を接合する接合方法であって、互いに背中合わせで接近して位置し、背面が水平方向の一方、及び垂直方向の上方に拡開した円錐台形状の1対のローラを、当該水平方向に拡開した方向に、部材の隣り合う端部に沿って移動させることにより、端部同士の圧着接合を行う第1のステップと、1対のローラを水平方向に回転させる第2のステップと、1対のローラを、第1のステップにおける移動方向とは正反対の方向に、部材の隣り合う端部に沿って移動させることにより、端部同士の圧着接合を行う第3のステップとを含む接合方法であることを要旨とする。
本発明の第2の特徴に係る接合方法によると、1対のローラが水平方向に回転することにより、往復運動をすることが可能となる。従って、2対のローラを用意する必要がないため、設備費用を削減でき、ローラを開始位置まで戻す必要がないため、稼働時間を減少することができる。
本発明によれば、往復運動可能な1対のローラを備えることにより、設備費用を削減し、稼働時間を減少させる接合装置及び接合方法を提供することができる。
次に、図面を参照して、本発明の実施の形態を説明する。以下の図面の記載において、同一又は類似の部分には、同一又は類似の符号を付している。ただし、図面は模式的なものであり、各寸法の比率等は現実のものとは異なることに留意すべきである。従って、具体的な寸法等は以下の説明を参酌して判断すべきものである。又、図面相互間においても互いの寸法の関係や比率が異なる部分が含まれていることは勿論である。
(接合装置)
本実施形態に係る接合装置は、図1に示すように、受け部材3上で、平行に並べられた帯状ゴム材料Wの端部Wa、Wb同士を接合する装置であり、一定の角度で配置された、円周外周に溝5a、5bが彫られた円錐台形状の1対のローラ1a、1bを備える。図1では、ローラ1a、1bの上部に歯車が形成され、互いに噛み合わされている。このため、ローラ1bに接合されたローラ回転軸6bを回転させることにより、ローラ1b及びローラ1aを回転させることができる。尚、ローラ1a、1bに歯車を形成せず、ローラ1a側にもローラ回転軸を有する構成としても構わない。又、ローラ回転軸6bは、ローラ1a、1bを支える支持部材6と接合される。
ここで、帯状ゴム材料Wとしては、例えば、タイヤ構成材料として使用されるカーカスが挙げられる。カーカス形成用のプライ材料は、コードを長手方向に平行配列したゴム被覆材をタイヤの種類やサイズ等によって定まるカーカス巾に対応した長さで一端切断し、そのゴム被覆材のコードに沿う端部Wa、Wbを順次接合することにより、所定巾のカーカスプライ材料が形成される。
帯状ゴム材料Wの接合は、1対のローラ1a、1bを、接合する部材の端部Wa、Wbに接触させ、ローラ1a、1bが回転することにより、当該溝が端部同士を寄せ合い、ジッパー機能(ネジ効果)により行われる。
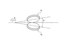
ローラ1a、1bは、互いに背中合わせで接近して位置し、背面が水平方向の一方、及び垂直方向の上方に拡開する。図2に示すように、ローラ1a、1bは、水平方向にα拡開し、矢印A方向に帯状ゴム材料Wの隣り合う端部Wa、Wbに沿って移動することにより、端部Wa、Wb同士の圧着接合を行う。
又、ローラ1a、1bは、図3に示すように、垂直方向の上方にθ拡開している。言い換えると、ローラ1a、1bの帯状ゴム材料Wの接触面と、歯車の噛み合う点の角度はθである。
支持部材6は、その上部に設けられた第1の歯車7に接合され、第1の歯車7と第2の歯車8とは、互いに噛み合わされている。このため、歯車回転軸9を回転させることにより、第2の歯車8及び第1の歯車7を回転させることができる。尚、第1の歯車7及び第2の歯車8は、受け部材3に対して水平方向に回転する。
図3において、ローラ1a、1bは、矢印A方向に移動していたとする。このとき、第1の歯車7が回転することにより、ローラ1a、1bが水平方向に回転する。即ち、図4(a)に示す状態であったローラ1a、1bは、第2の歯車8及び第1の歯車7が回転することにより、図4(b)に示すように、水平方向に180°回転することができる。図4(b)に示す状態のローラ1a、1bは、矢印Aとは正反対の方向である矢印Bの方向へ移動することができる。又、このとき、水平方向の拡開角度α及び垂直方向の拡開角度θは保持したまま、ローラ1a、1bは回転する。
図3及び図4において、歯車を用いてローラを水平方向に回転させる機構について説明したが、他の機構を用いてローラを水平方向に回転させても構わない。
例えば、図5に示すように、ローラの支持部材6に接合された、水平方向に回転するベアリング10機構を用いて回転を行っても構わない。ベアリング10内には、ベアリングの玉が保持され、転がり軸受けとして機能する。このベアリング機構により、ローラ1a、1bは、図5の点線で示すように、水平方向に180°回転することができる。
尚、ローラ1a、1b、第1の歯車7、第2の歯車8、ベアリング10等を回転させる駆動源については特に図示していないが、接合装置に応じたモータなどが適宜使用できることは勿論である。
(接合方法)
次に、本実施形態に係る接合方法について説明する。
まず、接合装置の受け部材3上に、帯状ゴム材料Wの端部Wa、Wb同士を平行に並べる。そして、一定の角度で配置された、円周外周に溝5a、5bが彫られた円錐台形状の1対のローラ1a、1bを帯状ゴム材料Wの端部Wa、Wbにそれぞれ接触させる。
次に、1対のローラ1a、1bを回転させることにより、当該溝5a、5bが端部Wa、Wb同士を寄せ合い、ジッパー機能により圧着接合を行う。所定の位置まで接合が終わると、1対のローラ1a、1bを水平方向に上昇させ、帯状ゴム材料Wから離す。
そして、上述した歯車やベアリング等の回転手段を用い、1対のローラ1a、1bを水平方向に180°回転させる。即ち、図4(a)の状態から図4(b)の状態へ回転させる。
次に、180°回転させた1対のローラ1a、1bを下降させ、帯状ゴム材料Wの所定の端部Wa、Wbにそれぞれ接触させる。そして、1対のローラ1a、1bを回転させることにより、当該溝5a、5bが端部Wa、Wb同士を寄せ合い、当初とは正反対の方向に移動することにより、圧着接合を行う。
尚、1対のローラ1a、1bを180°回転させた後、所定の位置まで移動させた後、下降させてもよく、帯状ゴム材料Wの接合が完了した場合は、次の帯状ゴム材料Wを受け部材3上にセットした後、下降させてもよい。
(作用及び効果)
本実施形態に係る接合装置及び接合方法によると、1対のローラ1a、1bが水平方向の拡開角度α及び垂直方向の拡開角度θを保持したまま水平方向に回転することができる。このため、1対のローラ1a、1bが往復運動をすることが可能となる。
従来、部材の中央部より両側へ接合を行う場合は、1方向へ進行する1対のローラと、当該1対のローラとは反対の方向へ進行する1対のローラ、計2対のローラを用意する必要があった。具体的には、1対のローラAと1対のローラBを備える場合、最初、1対のローラAが開始位置へ接触し、特定の方向へ接合を開始する(ステップS1)。1対のローラAがスタートした後、1対のローラBが当該開始位置へ接触し、ローラAとは正反対の方向へ接合を開始する(ステップS2)。そして、ローラAは接合を完了した後、上昇し、開始位置へ戻り、待機状態となる(ステップS3)。又、ローラBも接合を完了した際、上昇し、開始位置へ戻り、待機状態となり(ステップS4)、ステップS1へと戻る。
本実施形態に係る接合装置は、1対のローラ1a、1bを用いることにより、部材の中央部より両側へ接合を行うことができる。具体的には、1対のローラ1a、1bが中央部から一方の端部側へ接合を行った後、1対のローラ1a、1bを180°回転させ、中央部へ戻し、中央部から他方の端部側へ接合を行う。このように、本実施形態に係る接合装置及び接合方法によると、2対のローラを用意する必要がないため、設備費用を削減することができる。
又、従来の接合装置は、1方向へしか進行できないため、部材の接合が終わると開始位置までローラを戻す動作が必要であったが、本実施形態に係る接合装置は、1対のローラで往復運動をすることができるため、ローラを開始位置まで戻す必要がない。従って、稼働時間(稼働サイクル)を減少することができる。例えば、一の部材の接合が完了した場合、その完了位置で1対のローラ1a、1bを180°回転させる。そして、次の部材をセットし、その位置でローラ1a、1bを下降させ、次の部材の開始位置とすることができる。
本実施形態に係る接合装置におけるローラを進行方向から見た正面図である。 本実施形態に係る接合装置におけるローラの平面図である。 本実施形態に係る接合装置におけるローラの側面図である。 本実施形態に係る接合装置の平面図である。 本実施形態に係る別の接合装置におけるローラの側面図である。
符号の説明
1a、1b…ローラ、3…受け部材、5a、5b…溝、6…支持部材、6b…ローラ回転軸、7…第1の歯車、8…第2の歯車、9…歯車回転軸、10…ベアリング、W…帯状ゴム材料、Wa、Wb…端部、A、B…移動方向

Claims (4)

  1. 平行に並べられた部材の隣り合う端部同士を接合する接合装置であって、
    互いに背中合わせで接近して位置し、背面が水平方向の一方、及び垂直方向の上方に拡開し、当該水平方向に拡開した方向に前記部材の隣り合う端部に沿って移動することにより、前記端部同士の圧着接合を行う円錐台形状の1対のローラと、
    該1対のローラを水平方向に回転させる回転手段と
    を備えることを特徴とする接合装置。
  2. 前記回転手段は、前記ローラの支持部材に接合された、水平方向に回転する歯車であることを特徴とする請求項1に記載の接合装置。
  3. 前記回転手段は、前記ローラの支持部材に接合された、水平方向に回転するベアリングであることを特徴とする請求項1に記載の接合装置。
  4. 平行に並べられた部材の隣り合う端部同士を接合する接合方法であって、
    互いに背中合わせで接近して位置し、背面が水平方向の一方、及び垂直方向の上方に拡開した円錐台形状の1対のローラを、当該水平方向に拡開した方向に、前記部材の隣り合う端部に沿って移動させることにより、前記端部同士の圧着接合を行う第1のステップと、
    該1対のローラを水平方向に回転させる第2のステップと、
    該1対のローラを、前記第1のステップにおける移動方向とは正反対の方向に、前記部材の隣り合う端部に沿って移動させることにより、前記端部同士の圧着接合を行う第3のステップと
    を含むことを特徴とする接合方法。
JP2004229538A 2004-08-05 2004-08-05 接合装置及び接合方法 Expired - Fee Related JP4668564B2 (ja)

Priority Applications (1)

Application Number Priority Date Filing Date Title
JP2004229538A JP4668564B2 (ja) 2004-08-05 2004-08-05 接合装置及び接合方法

Applications Claiming Priority (1)

Application Number Priority Date Filing Date Title
JP2004229538A JP4668564B2 (ja) 2004-08-05 2004-08-05 接合装置及び接合方法

Publications (2)

Publication Number Publication Date
JP2006044105A JP2006044105A (ja) 2006-02-16
JP4668564B2 true JP4668564B2 (ja) 2011-04-13

Family

ID=36023214

Family Applications (1)

Application Number Title Priority Date Filing Date
JP2004229538A Expired - Fee Related JP4668564B2 (ja) 2004-08-05 2004-08-05 接合装置及び接合方法

Country Status (1)

Country Link
JP (1) JP4668564B2 (ja)

Family Cites Families (6)

* Cited by examiner, † Cited by third party
Publication number Priority date Publication date Assignee Title
IT1190035B (it) * 1986-06-05 1988-02-10 Pirelli Metodo e apparecchiatura per la giunzione testa a testa di spezzoni di tessuto gommato
US5221409A (en) * 1992-01-06 1993-06-22 The Goodyear Tire & Rubber Company Apparatus for butt splicing ply stock
JP3442468B2 (ja) * 1994-04-05 2003-09-02 東洋ゴム工業株式会社 ラジアルタイヤのスチールプライ接合装置
JP3045459B2 (ja) * 1995-03-07 2000-05-29 住友ゴム工業株式会社 カーカスプライの端部接合装置
JP2002166479A (ja) * 2000-09-25 2002-06-11 Yokohama Rubber Co Ltd:The 帯状ゴム材料の接合方法
JP2003019761A (ja) * 2001-07-09 2003-01-21 Yokohama Rubber Co Ltd:The 帯状ゴム材料の貼合わせ方法及びその貼合わせ方法に使用する成形ドラム

Also Published As

Publication number Publication date
JP2006044105A (ja) 2006-02-16

Similar Documents

Publication Publication Date Title
JP5061391B2 (ja) 平角線の巻取装置および巻取方法
KR101317876B1 (ko) 접합 기판의 분단 방법
JP7122271B2 (ja) 摩擦攪拌接合装置および摩擦攪拌接合方法
JP2011212858A (ja) タイヤ構成部材の接合装置及び製造方法
JP4668564B2 (ja) 接合装置及び接合方法
JP7001401B2 (ja) ローラヘミング装置
CN105711073A (zh) 片状部件的沟槽形成装置及沟槽形成方法
JP2011218739A (ja) タイヤ構成部材の製造装置及び製造方法
JP2011046025A (ja) ビード部材の製造装置及び製造方法
JP2019195902A (ja) ロール繊維製品用切断機構
JP5996978B2 (ja) 巻付装置、及び巻付方法
JP4704783B2 (ja) ビードエイペックスジョイント装置
JPH05293911A (ja) タイヤ成形方法及びタイヤ成形装置
JP4015671B2 (ja) バリ取り装置
JP3788456B2 (ja) テーラードブランク材の連続溶接装置
JP2007030300A (ja) タイヤ構成部材の製造方法および製造装置。
JP5455484B2 (ja) トレッド部材の圧着装置及びタイヤ製造装置
JP6059583B2 (ja) ゴムストリップの貼付装置
JP2007283343A (ja) 絞り加工方法及びその装置
WO2011148942A1 (ja) 製袋機
JP2010158746A (ja) 帯板の研磨装置
JP2000167945A (ja) タイヤ構成部材の圧着装置
JPH0218933B2 (ja)
JP6057818B2 (ja) 異形断面長尺部材の製造装置およびその製造方法
JP4596828B2 (ja) 巻鉄心の製造装置

Legal Events

Date Code Title Description
A621 Written request for application examination

Free format text: JAPANESE INTERMEDIATE CODE: A621

Effective date: 20070702

A977 Report on retrieval

Free format text: JAPANESE INTERMEDIATE CODE: A971007

Effective date: 20100312

A131 Notification of reasons for refusal

Free format text: JAPANESE INTERMEDIATE CODE: A131

Effective date: 20100316

A521 Request for written amendment filed

Free format text: JAPANESE INTERMEDIATE CODE: A523

Effective date: 20100517

TRDD Decision of grant or rejection written
A01 Written decision to grant a patent or to grant a registration (utility model)

Free format text: JAPANESE INTERMEDIATE CODE: A01

Effective date: 20110111

A01 Written decision to grant a patent or to grant a registration (utility model)

Free format text: JAPANESE INTERMEDIATE CODE: A01

A61 First payment of annual fees (during grant procedure)

Free format text: JAPANESE INTERMEDIATE CODE: A61

Effective date: 20110113

FPAY Renewal fee payment (event date is renewal date of database)

Free format text: PAYMENT UNTIL: 20140121

Year of fee payment: 3

R150 Certificate of patent or registration of utility model

Free format text: JAPANESE INTERMEDIATE CODE: R150

LAPS Cancellation because of no payment of annual fees