JP4667573B2 - 基板ホルダー及び該基板ホルダーを用いた光学部品の製造方法 - Google Patents

基板ホルダー及び該基板ホルダーを用いた光学部品の製造方法 Download PDF

Info

Publication number
JP4667573B2
JP4667573B2 JP2000288392A JP2000288392A JP4667573B2 JP 4667573 B2 JP4667573 B2 JP 4667573B2 JP 2000288392 A JP2000288392 A JP 2000288392A JP 2000288392 A JP2000288392 A JP 2000288392A JP 4667573 B2 JP4667573 B2 JP 4667573B2
Authority
JP
Japan
Prior art keywords
substrate holder
optical component
film formation
substrate
opening
Prior art date
Legal status (The legal status is an assumption and is not a legal conclusion. Google has not performed a legal analysis and makes no representation as to the accuracy of the status listed.)
Expired - Fee Related
Application number
JP2000288392A
Other languages
English (en)
Other versions
JP2002097572A (ja
JP2002097572A5 (ja
Inventor
正 渡邊
健 川俣
延好 豊原
武司 出口
Current Assignee (The listed assignees may be inaccurate. Google has not performed a legal analysis and makes no representation or warranty as to the accuracy of the list.)
Olympus Corp
Original Assignee
Olympus Corp
Priority date (The priority date is an assumption and is not a legal conclusion. Google has not performed a legal analysis and makes no representation as to the accuracy of the date listed.)
Filing date
Publication date
Application filed by Olympus Corp filed Critical Olympus Corp
Priority to JP2000288392A priority Critical patent/JP4667573B2/ja
Publication of JP2002097572A publication Critical patent/JP2002097572A/ja
Publication of JP2002097572A5 publication Critical patent/JP2002097572A5/ja
Application granted granted Critical
Publication of JP4667573B2 publication Critical patent/JP4667573B2/ja
Anticipated expiration legal-status Critical
Expired - Fee Related legal-status Critical Current

Links

Images

Landscapes

  • Mounting And Adjusting Of Optical Elements (AREA)
  • Surface Treatment Of Optical Elements (AREA)
  • Physical Vapour Deposition (AREA)

Description

【0001】
【発明の属する技術分野】
本発明は、光学部品の製造の際に用いられる基板ホルダー及び該基板ホルダーを用いた光学部品の製造方法に関する。
【0002】
【従来の技術】
従来、レンズ、プリズムのような光学部品は、その表面に光学薄膜を形成する場合が多い。特にレンズは、その透過率を確保するために、レンズの両面に反射防止膜を形成することが多い。
【0003】
ところで、光学部品の表面に反射防止膜等の光学膜を形成する際には、その高い要求性能を満たすために真空蒸着を代表例とするような、真空雰囲気内での成膜が行われる。前記真空雰囲気を得るには、通常1時間程度以上の真空排気が必要であり、前記真空排気の時間は、光学膜の形成に必要な時間の多くを占めている。
【0004】
この真空排気のための必要時間は、前記両面に反射防止膜を形成するような光学部品を製造しようとする場合、製造タクトタイムの多くの部分を占めることになる。
【0005】
前記長い真空排気の時間による時間損失を小さくし、生産の効率を高めるための方法として、たとえば実開平6−73156号公報に開示されている同一バッチ(一度の真空排気)においてその両面の成膜を行うために反転パレットを用いた方法がある。
【0006】
この方法によれば、成膜装置に両面成膜を行う機構を付加するために装置価格は上昇するが、前記長時間を要する真空排気は一回行うのみで済み、生産効率を確実に上げることができる。
【0007】
【発明が解決しようとする課題】
しかしながら、実開平6−73156号公報に開示されている反転パレットを用いた方法では、例えば、接合レンズを構成する接合前レンズのような、片面しか成膜の必要ない光学部品においては、前記成膜装置における両面成膜の恩恵を受けることができず、生産性を上げることができないという問題がある。
【0008】
本発明は、上記問題点を解決するものであり、片面しか成膜の必要がない光学部品の成膜の場合においても、生産性向上に寄与し得る基板ホルダーを提供すること、及び前記基板ホルダーを使用し生産効率の向上を図ることができる光学部品の製造方法を提供することを目的とするものである。
【0009】
【課題を解決するための手段】
請求項1記載の発明は、円形孔の部分を有し、第一の光学部品の光学機能面に対して成膜領域を決め成膜領域側から前記第一の光学部品を保持する第一の基板保持具と、円形孔の部分を有し、第二の光学部品の光学機能面に対して成膜領域を決め成膜領域側から前記第二の光学部品を保持する第二の基板保持具と、円形孔の部分を有し、前記第一の基板保持具と前記第二の基板保持具の間に介在し、前記第一の光学部品と前記第二の光学部品とを各々成膜領域の反対領域側から保持する第三の基板保持具と、前記第一乃至第三の基板保持具を一体的に保持する押さえ手段と、を有し、前記第一の基板保持具の前記円形孔の部分に設けられた受溝部と、前記第三の基板保持具の前記円形孔の部分に設けられた突条部との間に、前記第一の光学部品を保持可能であり、前記第二の基板保持具の前記円形孔の部分に設けられた受溝部と、前記第三の基板保持具の前記円形孔の部分に設けられた突条部との間に、前記第二の光学部品を保持可能であることを特徴とし、光学部品の光学機能面に成膜装置により光学薄膜を形成する際に、前記光学部品を保持する基板ホルダーである。
【0010】
請求項1記載の発明について作用を説明する。複数面同時成膜を行うための機構を持たない、通常の成膜装置を使用して、光学部品の複数の面に対して成膜を行う場合には、それぞれの面を成膜するために、成膜基板のセット等の準備工程、真空排気工程、成膜工程、真空を大気圧に戻す工程を繰り返す必要がある。
【0011】
これに対し、複数面同時成膜を行う機構を持つ成膜装置を使用する場合、前記の工程は、成膜工程を除き繰り返す必要がないため、光学部品の製造タクトタイムを短縮できる。
【0012】
前記のような複数面同時成膜を行う方法としては、複数の成膜源に複数の成膜面が対向するような装置(たとえば、2個のスパッタリングターゲットを対向位置に設け、その間に成膜基板を配置したスパッタリング装置)を用いる方法や、成膜基板自体を反転させる(たとえば、実開平6−73166号公報に開示されているような反転パレットを使用する)方法がある。
【0013】
請求項1記載の発明は、第一、第二の基板保持具の間に第三の基板保持具を挟む形で設けることにより、片側からの成膜しか必要ない2つの光学部品を、同一の基板ホルダーに装着することができるようにして、恰も複数の成膜面を持つ光学部品のように扱うことを可能とするものである。
【0014】
即ち、片側からの成膜しか必要ない光学部品の成膜を、2種類同時に、又は2倍の充填率において行うことができるようになり、これまで、複数面同時成膜の可能な成膜装置を用いてもその複数面同時成膜による生産効率向上の恩恵を受けることのできなかった片側からの成膜しか必要ない光学部品の場合においても、複数面同時成膜による光学部品の場合と同等の生産性向上の効果を得ることができる。
【0015】
即ち、請求項1記載の発明の基板ホルダーによれば、前記複数の蒸着源に複数の成膜面が対向するような成膜装置においても、また、前記成膜基板自体を反転させる成膜装置においても、各々利用することができ、これにより、光学部品の広範な生産形態において生産性向上の効果を得ることができる。
【0016】
請求項2記載の発明は、請求項1記載の基板ホルダーにおいて、前記基板ホルダーは、前記成膜装置に設けられた基板反転機構により表裏反転可能に支持可能される表裏反転軸を備えていることを特徴とするものである。
【0017】
請求項2記載の発明によれば、請求項1記載の発明を、比較的光学部品表面に光学薄膜を形成する際に利用しやすく、実際によく利用されている成膜基板自体を反転させる基板反転機構を持った成膜装置に対して適用するものであり、これにより前記基板ホルダーにより保持した2個の光学部品の各成膜領域に光学薄膜を順に形成する場合において、容易に生産性向上の効果を得ることができる。
【0018】
請求項3記載の発明は、第一の受溝部を有する第一の基板保持具と、第二の受溝部を有する第二の基板保持具と、前記第一の基板保持具と前記第二の基板保持具の間に配置された第三の基板保持具と、前記第一乃至前記第三の基板保持具を一体的に保持する押さえ手段を有し、第一の開口部は、前記第一の基板保持具の表面側から前記第三の基板保持具に向かって、開口径が徐々に小さくなるように形成され、第一の凹部は前記第一の受溝部を有し、前記第三の基板保持具と対向している前記第一の基板保持具の裏面に、前記第一の開口部の最小開口面よりも広く形成され、第二の開口部は、前記第二の基板保持具の裏面側から前記第三の基板保持具に向かって、開口径が徐々に小さくなるように形成され、第二の凹部は前記第二の受溝部を有し、前記第三の基板保持具と対向している前記第二の基板保持具の表面に、前記第二の開口部の最小開口面よりも広く形成され、前記第一の開口部の最小開口径は、前記第一の基板保持具と第三の基板保持具で保持される光学部品の光学機能面に成形する成膜領域と一致する径であり、前記第二の開口部の最小開口径は、前記第二の基板保持具と第三の基板保持具で保持される光学部品の光学機能面に成形する成膜領域と一致する径であり、前記第三の基板保持具は突条部を有し、前記突条部は第三の開口部と第三の凹部で形成され、前記第三の開口部は、前記第三の基板保持具側の表面から裏面までを貫通して形成され、前記第三の凹部は、前記第三の基板保持具の表面及び裏面に、前記第三の開口部の開口面よりも広く形成されていることを特徴とする。
【0019】
請求項3記載の発明によれば、請求項1記載の発明と同様、これまで、複数面同時成膜の可能な成膜装置を用いてもその複数面同時成膜による生産効率向上の恩恵を受けることのできなかった片側からの成膜しか必要ない光学部品の場合においても、複数面同時成膜による光学部品の場合と同等の生産性向上の効果を得ることができる基板ホルダーを提供することができる。
請求項4記載の発明は、第一の自由曲面プリズムの成膜領域側から前記第一の自由曲面プリズムを保持し、第一の開口部を有する第一の基板保持具と、第二の自由曲面プリズムの成膜領域側から前記第二の自由曲面プリズムを保持し、第二の開口部を有する第二の基板保持具と、前記第一の基板保持具と前記第二の基板保持具の間に介在し、前記第一の自由曲面プリズムと前記第二の自由曲面プリズムとを各々成膜領域の反対側の一端を各々保持する分離構造であり第三の開口部を有する第三の基板保持具と、前記第一乃至第三の基板保持具を一体的に保持する押さえ手段と、を有し、前記第一の基板保持具は前記第一の開口部の部分に設けられた受溝部と、前記第三の基板保持具の第三の開口部に設けられた突出片との間に、前記第一の自由曲面プリズムを保持可能であり、前記第二の基板保持具の前記第二の開口部の部分に設けられた受溝部と、前記第三の基板保持具の第三の開口部に設けられた突出片との間に、前記第二の自由曲面プリズムを保持可能であることを特徴とする、光学部品の光学機能面に成膜装置により光学薄膜を形成する際に、前記光学部品を保持する基板ホルダーである。
請求項5記載の発明は、請求項1又は2記載の基板ホルダーを用いて、前記第一の光学部品の成膜領域側から前記第一の基板保持具の前記受溝部により、前記第一の光学部品の成膜領域反対側から前記第三の基板保持具の前記突条部により、前記第一の光学部品を挟むことで、前記第一の光学部品を保持するとともに、その光学機能面に対して成膜領域を決める工程と、前記第三の基板保持具の前記突条部上に、前記第二の光学部品をその成膜領域の反対領域を下にして置く工程と、前記第三の基板保持具により支持された前記第二の光学部品の成膜領域側を前記第二の基板保持具の前記受溝部により挟み込み、前記第一乃至第三の基板保持具を一体化する工程と、前記第一乃至第三の基板保持具により保持された前記第一、第二の光学部品の各成膜領域に光学薄膜を同時に又は順に成膜する工程と、
を含み、前記第一の光学部品と、前記第二の光学部品の少なくとも一方は、成膜領域の反対側に凸形状を有していることを特徴とする光学部品の製造方法である。
請求項6記載の発明は、請求項4記載の基板ホルダーを用いて、前記第一の自由曲面プリズムの成膜領域側から前記第一の基板保持具の前記受溝部により、前記第一の自由曲面プリズムの前記成膜領域反対側から前記第三の基板保持具の前記突出片により、前記第一の自由曲面プリズムを挟むことで、前記第一の自由曲面プリズムを保持するとともに、その光学機能面に対して前記成膜領域を決める工程と、前記第三の基板保持具の前記突出片上に、前記第二の自由曲面プリズムをその成膜領域の反対領域を下にして置く工程と、前記第三の基板保持具により支持された第二の自由曲面プリズムの成膜領域を前記第二の基板保持具の前記受溝部により挟み込み、前記第一乃至第三の基板保持具を一体化する工程と、前記第一乃至第三の基板保持具により保持された前記第一、第二の自由曲面プリズムの各成膜領域に光学薄膜を同時に、又は、順に成膜する工程と、を含むことを特徴とする自由曲面プリズムからなる光学部品の製造方法である。
【0020】
これら各発明において、基板ホルダーとして表裏一つずつの光学部品を保持する場合にも効果はあるが、従来例(実開平6−73166号公報)にあるように、表裏それぞれ多数の基板室を設け、同時に多数の光学部品を保持する場合には、より生産性向上の効果が高くなる。
【0021】
また、表裏組み合わされる前記第一の光学部品と前記第二の光学部品が同一のものであるか、それらの径が同一のものである場合、接合レンズの場合と同様に充填率を上げ易いという利点が生じ、特に効果が高くなる。
【0022】
更に加えるならば、成膜に加熱を要して特に光学部品が大きい場合、加熱工程と冷却工程に多くの時間が必要となることから、このような場合に本発明の基板ホルダー及び光学部品の製造方法の適用による効果が高くなる。
【0023】
具体的には、前記成膜に加熱を要して特に光学部品が大きい場合、前記排気行程中に並行して行う前記加熱工程では成膜対象となる光学部品の温度を200℃以上の高温に安定させる必要があり、相当の時間を要する。
【0024】
さらに、成膜工程後、真空を大気圧に戻す工程に移る前に、成膜後の光学部品を一定以下の温度にまで冷却しておかないと、前記真空を大気圧に戻す工程において前記光学部品が急冷されて光学部品に割れが生じる場合があるため、前記冷却時間にも相当の時間を要することから、本発明による光学部品の充填率の向上により高い効果を得ることができる。
【0025】
また、本発明で用いる第3の基板保持具の役割は、前記第1の光学部品と、第二の光学部品を、それぞれ第一の基板保持具、第二の基板保持具と対になって保持することであるから、これは一体のものに限定されず、必要に応じて、二体以上の分離した形態をなす場合もあり、このような構成でも同様の効果を得ることが可能である。また、本発明で用いる第一乃至第三の基板保持具を一体的に保持する押さえ手段は、クリップのように押さえ具として一つの体をなす場合や、第一乃至第三の基板保持具に一体化され、それらの一部分として設けられる場合もある。前記押さえ手段は、前記どちらの場合においても、第一乃至第三の基板保持具を一体的に保持する機能を持てば、同様の効果を得ることができる。
【0026】
【発明の実施の形態】
以下に、本発明の実施の形態を詳細に説明する。
【0027】
(実施の形態1)
(構成)
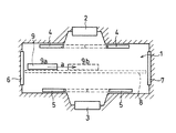
図1は、本発明の実施の形態1の光学部品に対する表裏面同時成膜を行う連続成膜装置の成膜室1を示す概略断面図であり、図2は基板ホルダー9の平面図、図3は基板ホルダー9における2個の光学部品である凹レンズ12、13が保持される基板室10の部分拡大断面図である。本実施の形態1の連続成膜装置は、上下にスパッタリングターゲット2、3を備えたスパッタリング装置として構成されている。
【0028】
即ち、前記成膜室1には、室内上方に配置されたスパッタリングターゲット2と、室内下方に配置されたスパッタリングターゲット3とが配置されている。
【0029】
前記成膜室1には、それぞれ前記スパッタリングターゲット2、3と前記基板ホルダー9との間にの位置にあり、成膜時には前記スパッタリングターゲット2、3と前記基板ホルダー9の間を塞がぬ位置(開位置)に移動し、非成膜時には前記スパッタリングターゲット2、3と前記基板ホルダー9の間を塞ぐ位置(閉位置)に移動するシャッター4、5を配置している。
【0030】
さらに、前記成膜室1には、図示せぬ前室と前記成膜室1とを区切るゲートバルブ6と、図示せぬ後室と前記成膜室1とを区切るゲートバルブ7とを設けている。
【0031】
また、前記成膜室1には、前記基板ホルダー9の移動のため、2本のコンベア状の基板ホルダー移動機構8を備えている。
【0032】
前記基板ホルダー移動機構8は、前記スパッタリングターゲット2、3と、基板ホルダー9の円形孔状の18個の基板室10との間を塞がない位置に2本平行に配置されている。
【0033】
ここで、前記基板ホルダー9は、図2に示す両端部の一対のすべり止め11によって前記基板ホルダー移動機構8と係合して成膜室1の中を図1に示す矢印a方向に移動可能となっている。
【0034】
前記基板ホルダー9の基板室10には、光学薄膜の成膜領域を上方に向けた光学部品である第一の凹レンズ12と、成膜領域を下方に向けた光学部品である第二の凹レンズ13とが保持される。
【0035】
前記基板室10は、図3に示すように、前記第一の凹レンズ12の成膜領域側から前記第一の凹レンズ12を保持する第一の基板保持具14と、前記第二の凹レンズ13の成膜領域側から前記第二の凹レンズ13を保持する第二の基板保持具15と、前記第一の凹レンズ12と前記第二の凹レンズ13を成膜領域の反対側から各々保持する第三の基板保持具16とから形成される。
【0036】
これら第一乃至第三の基板保持具14乃至16は、ネジ17により一体化される。ネジ17は、図4に示すように、ネジ頭部17aと、ネジ山部17bと、ネジ首部17cとからなり、前記ネジ首都17cは前記ネジ山部17bよりも細くなっている。前記第一、第二の基板保持具14,15には、前記ネジ山部17bに合致するネジ穴が設けられ、前記第三の基板保持具16には、前記ネジ山部17bを容易に貫通できる大ききの穴が設けられている。前記ネジ17は、前記第二の基板保持具15に予めワッシャー18とともに取り付けられている。
【0037】
即ち、基板ホルダー9は、それぞれ同じ大きさの長方形形状を持つ、前記第一の基板保持具14と、前記第二の基板保持具15と、前記第三の基板保持具16とにより主要な構成をなし、さらに、両端部の配置する一対のすべり止め11により、前記第一の基板保持具14と、前記第二の基板保持具15と、前記第三の基板保持具16とが一体化されて構成される。
【0038】
(作用)
以下に本実施の形態1の基板ホルダー9を使用した第一の凹レンズ12、第二の凹レンズ13に対する光学薄膜の成膜方法について図5乃至図8をも参照して説明する。
【0039】
図5に示すように、前記第一の基板保持具14の基板室10を形成する円形孔の部分に設けた受溝部14a上に18個の既に洗浄された凹レンズ12の成膜領域(成膜面)側を載せ、次に、図5に示すように、この第一の基板保持具14により保持された18個の凹レンズ12の成膜領域側とは反対側から第三の基板保持具16の基板室10を形成する18個の円形孔の部分に設けた円形の突条部16aの下面側を載せて18個の凹レンズ12を挟み込む。
【0040】
次に、図7に示すように、第三の基板保持具16の基板室10を形成する18個の円形孔の部分の突条部16aの上面側に、18個の既に洗浄された凹レンズ13の成膜領域側とは反対側の領域を各々載せる。
【0041】
次に、図8に示すように、第三の基板保持具16上の18個の凹レンズ13の成膜領域側に、第二の基板保持具15の基板室10を形成する円形孔の部分に設けた受溝部15aを各々被せて18個の凹レンズ13を挟み込む。
【0042】
この後、ネジ17を図示しないネジ止め具(ドライバー)により回転、固定することで、第一乃至第三の基板保持具14、15、16の両端部を押さえ込み、一体化する。
【0043】
次に、18個ずつの凹レンズ12、13を保持した前記基板ホルダー9を、図示せぬ連続成膜装置の排気室にセットし、図示せぬ排気装置により排気を開始する。
【0044】
その後、排気室の真空度が一定よりも良い値を示したところで、図示せぬ連続成膜装置の第一成膜(処理)室との間に設けられたゲートバルブが開き、前記基板ホルダー9は前記図示せぬ連続成膜装置の図示せぬ第一成膜室に送られる。
【0045】
ここで、図示せぬ連続成膜装置の前記成膜室1を含む各成膜室は、図示せぬ排気装置によりあらかじめ一定以上の真空度に排気されている。
【0046】
連続成膜装置の前記成膜室1の前段に置かれた図示せぬ各成膜室においてそれぞれの処理を施された後、前記基板ホルダー9は前記成膜室1へ前記ゲートバルブ6を経て送り込まれる。
【0047】
前記基板ホルダー9が前記成膜室1に送られた後、図示せぬガス導入機構によりスパッタガスが導入され、成膜室1内は0.4Paの一定圧に保たれる。ここで、前記スパッタリングターゲット2、3に図示せぬ電力供給装置により電力を供給し、前記スパッタリングターゲット2、3の上にプラズマを生成する。
【0048】
プラズマ生成時点においては、前記シャッター4、5は閉位置にあるが、プラズマが生成されて10秒後にこれは開位置に移動する。
【0049】
前記シャッター4、5が開位置にきたら、前記基板ホルダー9は前記基板ホルダー移動機構8により位置9aから位置9bに向かって移動を開始する。
【0050】
前記凹レンズ12、13の各成膜領域には、前記基板ホルダー9の移動に伴って、各々光学薄膜が形成される。
【0051】
即ち、前記上方に成膜領域を持つ凹レンズ12への成膜は、前記成膜室1の上方に配置されたスパッタリングターゲット2により行われ、前記下方に成膜領域を持つ凹レンズ13への成膜は、前記成膜室1の下方に配置されたスパッタリングターゲット3により行われる。
【0052】
ここで、基板ホルダー9の移動中での成膜により、各凹レンズ12、13の膜厚が所定の値になる。
【0053】
所定の膜厚の光学薄膜の形成が完了すると、図示せぬ電力供給装置による電力の供給が断たれ、プラズマが消滅する。同時に図示せぬガス導入機構によるガスの導入も停止し、前記シャッター4、5も閉位置へ移動する。
【0054】
次に、前記成膜室1のゲートバルブ7が開き、前記基板ホルダー9は、成膜室1から図示せぬ後室へ搬出される。
【0055】
このようにして、光学部品として同径の凹レンズ12、13への成膜を行うものであるが、上述した基板ホルダー9と同様の構造を有する基板ホルダーを使用し、かつ、同様の製造工程によって、径や形状の異なるレンズや、形状の異なるプリズム等、片面しか成膜の必要ない他の光学部品に対しても、各々成膜が必要な片面ずつの成膜を通常の2倍の充填率をもっ同時に行うことができる。
【0056】
本実施の形態1における、前記凹レンズ12を前記第一の基板保持具14と、前記第三の基板保持具16とに挟み込む工程の作業順序は、先に前記第一の基板保持具14を置き、その上に凹レンズ12、次に前記第三の基板保持具16を置くとしている。この作業順序は、先に前記第三の基板保持具16を置き、その上に凹レンズ12、次に前記第一の基板保持具14を置くとしても、本実施の形態の効果になんら影響がない。
【0057】
また、本実施の形態1において、第一乃至第三の基板保持具14乃至16を一体的に保持する押さえ具として機能したネジ17は、予め第一の基板保持具14に取り付けられ、一体化されていたが、前記ネジ17が別に用意され、後から取り付けられたとしても本実施の形態1の効果になんら影響がない。
【0058】
(効果)
本実施の形態1によれば、各々片面しか成膜の必要ない光学部品である凹レンズ12、13に対して、前記成膜室1における成膜工程によって通常の2倍の充填率で各々の片面に対して同時に成膜を行うことができ、高い生産性を得ることができる。
【0059】
(実施の形態2)
(構成)
以下に本発明の実施の形態2の構成を、図9、図10、図11を参照して説明する。
【0060】
図9はバッチ式成膜装置(真空蒸着装置)の成膜室21を示すものである。また図10は、略三角形状に形成され前記バッチ式成膜装置の基板反転機構に合致して、前記成膜室21内で反転が可能な反転パレット(基板ホルダー)26を示す平面図であり、図11は前記反転パレット26の基板室30を示す拡大断面図である。
【0061】
また、前記反転パレット26は、実施の形態1の第一乃至第三の基板保持具14、15、16と同様、受溝部34aを有する第一の基板保持具34、受溝部35aを有する第二の基板保持具35及び突条部36aを有する第三の基板保持具36を備え、これら第一乃至第三の基板保持具34、35、36により31個の基板室30を形成している。
【0062】
そして、図11に示すように、前記各基板室30により、成膜後接合され、一つの接合レンズとなる一組ずつの凹レンズ31、凸レンズ32を、凹レンズ31の成膜領域が下側、凸レンズ32の成膜領域が上側となるようにして挟み込み状態で保持するようになっつている。
【0063】
即ち、前記反転パレット26は、基板室30において、前記凹レンズ31の成膜領域側からこの凹レンズ31を保持する第一の基板保持具34と、前記凸レンズ32の成膜領域側からこの凸レンズ32を保持する第二の基板保持具35と、前記凹レンズ31と前記凸レンズ32を成膜領域の反対側から保持する第三の基板保持具36とを具備している。
【0064】
前記凹レンズ31と、前記凸レンズ32とは、屈折率の異なる光学ガラスを素材としている。
【0065】
前記成膜室21は、下方に配置された電子銃型蒸着源22、下方に配置されたエンドホール型イオンガン23、上方に配置された前記反転パレット26が装着され、その中で前記反転パレット28の反転動作が可能なドーム枠24、前記電子銃型蒸着源22に付属しており、成膜時には前記電子銃型蒸着源22と前記ドーム枠24に装着された反転パレット26の間を塞がぬ位置(開位置)、非成膜時には前記電子銃型蒸着源22と前記ドーム枠24に装着された反転パレット26の間を塞ぐ位置(閉位置)とるシャッター25、及び、反転パレット26を反転させる図示せぬ基板反転機構を具備している。
【0066】
前記電子銃型蒸着源22は、複数の蒸着物質を蒸着するために、図示せぬ材料交換機構を具備している。
【0067】
前記反転パレット26は、この反転パレット26が反転する時にその回転軸となる図9に示す反転軸27、28を介して、前記ドーム枠24に装着される。
【0068】
(作用)
以下に本実施の形態2における凹レンズ31、凸レンズ32への成膜方法について説明する。
【0069】
実施の形態1の場合と同様にして、前記第一の基板保持具34と前記第三の基板保持具36の間に31個の既に洗浄された凹レンズ31を挟み込み、更に、第二の基板保持具35と第三の基板保持具36の間に31個の既に洗浄された凸レンズ32を挟み込み、前記図示せぬ押さえ手段によりこれらを一体化して、反転パレット26とする。
【0070】
この反転パレット26を、前記凹レンズ31の成膜領域(下面)が電子銃型蒸着源22に対面する配置で前記成膜室21の前記ドーム枠24に装着し、図示せぬ排気装置により排気を開始する。
【0071】
その後、排気室の真空度が一定よりも良い値を示した後、前記イオンガン23を動作させて、成膜対象である前記凹レンズ31に向けて、図示せぬイオンビームを放出する。
【0072】
更に、前記シャッター5が閉位置にある状態で前記図示せぬ材料交換機構により蒸着材料22aの選択が行われた後、前記電子銃型蒸着源22を動作させて蒸着材料22aを加熱する。前記電子銃型蒸着源22が安定したところで前記シャッター25を開位置として前記凹レンズ31に対する蒸着を開始する。
【0073】
ここで、前記図示せぬイオンビームの働きにより、前記凹レンズ31の表面に形成される光学薄膜は、十分な光学特性、機械的強度を持った薄膜となる。
【0074】
前記凹レンズ31の成膜領域表面に所定の光学薄膜の形成が完了して、前記シャッター5が閉位置をとった後に、前記電子銃型蒸着源22は一時動作を止めて、図示せぬ材料交換機構により次層の蒸着材料が選択される。
【0075】
このようなプロセスにより必要な層数の光学薄膜を形成した後、前記イオンガン3の動作を停止させ、図示せぬ基板反転機構により、反転パレット26を表裏反転する。反転パレット26の表裏反転により、成膜対象である凸レンズ32の成膜領域が電子銃型蒸着源22に向く。
【0076】
この後、前記と同様のプロセスにより、前記凸レンズ32の成膜領域にも、所定の光学薄膜を形成する。
【0077】
本実施の形態2では、光学部品として一つの接合レンズを構成する一組の凹レンズ31、凸レンズ32の成膜を行う場合について説明したが、反転パレット26と同様の構造の基板ホルダー、及び、製造工程によって、径や形状の異なるレンズや、形状の異なるプリズム等、他の片面しか成膜の必要ない光学部品に対しても、本実施の形態2の場合と同様にして成膜が可能である。
【0078】
また、本実施の形態2では、十分な光学特性、機械的強度を持った薄膜を得るために、エンドホール型のイオンガン23を利用したが、十分な光学特性、機械的強度を持った薄膜を得るには、この他、イオンガン23を使用する代わりに加熱を行い基板を予め高い温度に安定させる等して成膜を行っても本実施の形態2の効果に変わりはない。
【0079】
更に、成膜基板がプラスチックで、イオンガンや加熱、又はそれに代替えする手段を用いずとも所望の特性をもつ薄膜が得られる場合には、同様の成膜装置で、イオンガンや加熱、又はそれに代替する手段を用いずに成膜を行い、本実施の形態2と同様の効果を得ることができる。
【0080】
(効果)
本実施の形態2によれば、片面しか成膜の必要ない光学部品においても、片面ずつ順次成膜を行う両面成膜装置を使用して、同バッチで通常の2倍の充填率をもって成膜領域が表裏に配置された一対ずつの光学部品に対する成膜を順次に行うことができ、高い生産性を得ることができる。
【0081】
特に、一つの接合レンズを構成する一組の凹レンズ31、凸レンズ32を対象としたことで、その生産数量は同一となることから、接合レンズ生産の編成がし易いという利点と、その径が同一であるため成膜室21内への充填率が高くなり、より高い効果を得ることができる。
【0082】
(実施の形態3)
(構成)
本発明の実施の形態3の構成は、蒸着装置が、排気室、成膜室、ベント室の3槽からなる連続式の蒸着装置であること、反転パレット用の反転枠を排気室から成膜室、成膜室からベント室へ移送するための移送機構が具備されていること、成膜室にはイオンガンが無く、これに替わり、排気室、成膜室に反転パレットを加熱するためのヒータが備え付けてあることを除き、上述した実施の形態2の場合と同様である。
【0083】
前記排気室に備え付けられたヒータは、反転パレットの基板室を上下から効率よく加熱することのできるように、排気室の上下に設けられており、前記成膜室に備え付けられたヒータは、成膜室上方に備え付けられている。また、前記成膜室は、成膜を行うのに必要な真空度となるように予め排気されている。
【0084】
(作用)
実施の形態2と同様にして第一の光学部品、第二の光学部品を保持した反転パレットを反転枠に装着した状態で前記排気室に投入し、排気を始める。
【0085】
前記反転枠に装着された反転パレット及びこれに保持される各光学部品は、排気工程中に、前記排気室に設けられたヒータにより、第一の光学部品及び第二の光学部品共に効率よく加熱され、前記排気室が前記成膜室の真空度と同等程度の真空度にまで排気されるまでに、250℃程度の温度で安定する。
【0086】
前記排気室の真空度が、前記成膜室の真空度と同等程度の真空度にまで排気されると、前記移送機構により、反転粋が成膜室に移送される。
【0087】
反転枠が成膜室に移送された後、第一の光学部品及び第二の光学部品は前記成膜室上方に設けられたヒータにより、加熱が継続され、光学部品の温度は250℃程度で安定される。
【0088】
その後、実施の形態2と同様のプロセスにより、前記第一の光学部品、前記第二の光学部品それぞれの成膜領域に所望の光学薄膜が形成され、光学薄膜の形成が終了したら、さらに前記反転枠は前記移送機構により前記ベント室に移送され、反転パレットの冷却、大気解放がなされ、前記反転枠に装着された前記反転パレット、及び、これに保持される第一の光学部品、第二の光学部品が取り出される。
【0089】
(効果)
本実施の形態3によれば、片面しか成膜の必要ない光学部品においても、両面成膜装置によって同バッチに通常の2倍の充填率で表裏に配置された一組ずつの光学部品に対する成膜を順次に行うことができ、高い生産性を得ることができる。
【0090】
特に、光学部品として、一つの接合レンズを構成する一組のレンズを対象とすれば、その生産数量は同一となることから接合レンズの生産の編成がしやすいという利点と、その径が同一であることから成膜室内における充填率が高くなり、より高い効果を得ることができる。
【0091】
また、成膜前に第一の光学部品、第二の光学部品ともに直接に加熱できる機能を持つ蒸着装置を用いたことで、両方の光学部品が短時間で同程度の温度になるように安定して加熱でき、安定した生産性をえることができる。
【0092】
(実施の形態4)
(構成)
次に、本発明の実施の形態4について図12を参照して説明する。
本実施の形態4における基板ホルダー41は、図12に示すように、基板室50において、第一の自由曲面プリズム52の成膜領域側が外側(図12において下側)となる状態で受溝部44aにて保持する第一の基板保持具44と、第二の自由曲面プリズム53の成膜領域側を外側(図11において上側)となる状態で受溝部45aにて保持する第二の基板保持具45と、第一の基板保持具44、第二の基板保持具45の間に介在して第一の自由曲面プリズム52、第二の自由曲面プリズム53の各成膜領域とは反対側の一端を各々保持する分離構造の第三の基板保持具46a、46bと、第一の基板保持具44、第二の基板保持具45、第三の基板保持具46a、46bを一体化する図示しない押さえ手段とを具備している。
【0093】
(作用)
本実施の形態4において、各自由曲面プリズム52、53を、基板ホルダー41の基板室50に取り付る際、最初に第一の基板保持具44の受溝部44a上に第一の自由曲面プリズム52の成膜領域側を載せ、一方の第三の基板保持具46aに設けた突出片46cにより第一の自由曲面プリズム52の成膜領域とは反対側の一端を固定保持する。
【0094】
次に、前記第一の基板保持具44に第一の自由曲面プリズム52を固定した場合と同様に、第二の基板保持具45の受溝部45aにより第二の自由曲面プリズム53を載せ、第三の基板保持具46bに設けた突出片46dにより第二の自由曲面プリズム53の成膜領域とは反対側の一端を固定保持する。
【0095】
このようにして第一の基板保持具44、第二の基板保持具45上にそれぞれ第一の自由曲面プリズム52、第二の自由曲面プリズム53が固定保持された後、図11に示すように第一の自由曲面プリズム52、第二の自由曲面プリズム53の各成膜領域と反対側の領域が対向するようにしてこれらを突き合わせて、図示しない押さえ手段により一体化することで、図12に示すような基板室50の構造とするものである。
【0096】
本実施の形態4における基板室50の構成は、既述した実施の形態1乃至3のいずれの場合にも適用でき、その場合の作用は光学部品の保持方法を除き、各々実施の形態1乃至3の場合と同様である。
【0097】
(効果)
本実施の形態4によれば、自由曲面プリズムのような光学部品の場合においても、実施の形態1乃至3に示した場合と同様の効果を得ることができる。また、自由曲面プリズムの固定保持に用いた第三の基板保持具46a、46bが一体をなさず分離した構造でも、同様の効果を得ることができる。
【0098】
以上説明した本発明によれば、以下の構成を付記することができる。
【0099】
(付記)接合レンズを構成する接合前の第一のレンズの成膜領域側から第一の基板保持具により、第一のレンズの成膜領域反対側から第三の基板保持具により前記第一のレンズを挟むことでこの第一のレンズを保持するとともにその光学機能面に対して成膜領域を決める工程と、第三の基板保持具上に接合レンズを構成する接合前の第二のレンズを置く工程と、第三の基板保持具により支持された前記第二のレンズの成膜領域側を第二の基板保持具により挟み込み、前記第一乃至第三の基板保持具を一体化する工程と、第一乃至第三の基板保持具により保持された前記両レンズの各成膜領域に光学薄膜を同時に又は順に成膜する工程とを含むことを特徴とする光学部品の製造方法。
【0100】
この光学部品の製造方法によれば、接合前の各レンズが、最終的に接合され一つの接合レンズとなる一組のレンズである場合、その生産数量は同一となることから生産の編成がし易いという利点と、一般にその径が同一か略同じであるため成膜室内における充填率を上げ易いという利点があり、特に効果が高くなる。
【0101】
【発明の効果】
請求項1、3、4記載の発明によれば、複数の蒸着源に複数の成膜面が対向するような成膜装置においても、また、前記成膜基板自体を反転させる成膜装置においても、各々利用することができ、これにより、光学部品の広範な生産形態において生産性向上の効果を得ることができる基板ホルダーを提供することができる。
【0102】
請求項2記載の発明によれば、固定保持した2個の光学部品の成膜が必要な各成膜領域に光学薄膜を順に形成する場合において、容易に生産性向上の効果を得ることができる基板ホルダーを提供することができる。
【0103】
請求項5、6記載の発明によれば、前記請求項1記載の発明の基板ホルダーを用いて、又は、前記請求項5記載の発明の基板ホルダーを用いて、前記第一、第二の光学部品の各成膜領域に光学薄膜を同時に又は順に成膜するものであり、第一、第二の光学部品を恰も一つの光学部品のような状態で扱い、各成膜領域に対する成膜を行うことができ、これにより、光学部品に対する成膜を行う際の効率向上、さらには生産性向上を図ることができる光学部品の製造方法を提供できる。
【図面の簡単な説明】
【図1】本発明の実施の形態1の連続成膜装置の成膜室を示す概略断面図である。
【図2】本発明の実施の形態1の基板ホルダーの平面図である。
【図3】本発明の実施の形態1の基板ホルダーにおける2個の光学部品である凹レンズ、凸レンズが保持される基板室の部分拡大断面図である。
【図4】本発明の実施の形態1の第一乃至第三の基板保持具及びこれらを一体化するネジの構造を示す部分断面図である。
【図5】本発明の実施の形態1の基板ホルダーにより凹レンズを保持する工程を示す部分拡大断面図である。
【図6】本発明の実施の形態1の基板ホルダーにより凹レンズを挟み込む工程を示す部分拡大断面図である。
【図7】本発明の実施の形態1の基板ホルダーにより凸レンズを保持する工程を示す部分拡大断面図である。
【図8】本発明の実施の形態1の基板ホルダーにより凸レンズを挟み込む工程を示す部分拡大断面図である。
【図9】本発明の実施の形態2の成膜室を示す概略構成図である。
【図10】本発明の実施の形態2の反転パレットの平面図である。
【図11】本発明の実施の形態2の反転パレットにより2個の光学部品である凹レンズ、凸レンズが保持される基板室の部分拡大断面図である。
【図12】本発明の実施の形態4の基板室の部分拡大断面図である。
【符号の説明】
1 成膜室
2 スパッタリングターゲット
3 スパッタリングターゲット
4 シャッター
6 ゲートバルブ
7 ゲートバルブ
8 基板ホルダー移動機構
9 基板ホルダー
10 基板室
11 すべり止め
12 凹レンズ
13 凹レンズ
14 第一の基板保持具
15 第二の基板保持具
16 第三の基板保持具
17 ネジ
18 ワッシャー
21 成膜室
22 電子銃型蒸着源
23 イオンガン
24 ドーム枠
25 シャッター
26 反転パレット
27 反転軸
30 基板室
31 凹レンズ
32 凸レンズ
34 第一の基板保持具
35 第二の基板保持具
35 第三の基板保持具

Claims (6)

  1. 円形孔の部分を有し、第一の光学部品の光学機能面に対して成膜領域を決め成膜領域側から前記第一の光学部品を保持する第一の基板保持具と、
    円形孔の部分を有し、第二の光学部品の光学機能面に対して成膜領域を決め成膜領域側から前記第二の光学部品を保持する第二の基板保持具と、
    円形孔の部分を有し、前記第一の基板保持具と前記第二の基板保持具の間に介在し、前記第一の光学部品と前記第二の光学部品とを各々成膜領域の反対領域側から保持する第三の基板保持具と、
    前記第一乃至第三の基板保持具を一体的に保持する押さえ手段と、
    を有し、
    前記第一の基板保持具の前記円形孔の部分に設けられた受溝部と、前記第三の基板保持具の前記円形孔の部分に設けられた突条部との間に、前記第一の光学部品を保持可能であり、
    前記第二の基板保持具の前記円形孔の部分に設けられた受溝部と、前記第三の基板保持具の前記円形孔の部分に設けられた突条部との間に、前記第二の光学部品を保持可能であることを特徴とし、
    光学部品の光学機能面に成膜装置により光学薄膜を形成する際に、前記光学部品を保持する基板ホルダー。
  2. 前記基板ホルダーは、前記成膜装置に設けられた基板反転機構により表裏反転可能に支持可能される表裏反転軸を備えていることを特徴とする請求項1記載の基板ホルダー。
  3. 第一の受溝部を有する第一の基板保持具と、
    第二の受溝部を有する第二の基板保持具と、
    前記第一の基板保持具と前記第二の基板保持具の間に配置された第三の基板保持具と、
    前記第一乃至前記第三の基板保持具を一体的に保持する押さえ手段を有し、
    第一の開口部は、前記第一の基板保持具の表面側から前記第三の基板保持具に向かって、開口径が徐々に小さくなるように形成され、
    第一の凹部は前記第一の受溝部を有し、前記第三の基板保持具と対向している前記第一の基板保持具の裏面に、前記第一の開口部の最小開口面よりも広く形成され、
    第二の開口部は、前記第二の基板保持具の裏面側から前記第三の基板保持具に向かって、開口径が徐々に小さくなるように形成され、
    第二の凹部は前記第二の受溝部を有し、前記第三の基板保持具と対向している前記第二の基板保持具の表面に、前記第二の開口部の最小開口面よりも広く形成され、
    前記第一の開口部の最小開口径は、前記第一の基板保持具と第三の基板保持具で保持される光学部品の光学機能面に成形する成膜領域と一致する径であり、
    前記第二の開口部の最小開口径は、前記第二の基板保持具と第三の基板保持具で保持される光学部品の光学機能面に成形する成膜領域と一致する径であり、
    前記第三の基板保持具は突条部を有し、
    前記突条部は第三の開口部と第三の凹部で形成され、
    前記第三の開口部は、前記第三の基板保持具側の表面から裏面までを貫通して形成され、
    前記第三の凹部は、前記第三の基板保持具の表面及び裏面に、前記第三の開口部の開口面よりも広く形成されていることを特徴とする基板ホルダー。
  4. 第一の自由曲面プリズムの成膜領域側から前記第一の自由曲面プリズムを保持し、第一の開口部を有する第一の基板保持具と、
    第二の自由曲面プリズムの成膜領域側から前記第二の自由曲面プリズムを保持し、第二の開口部を有する第二の基板保持具と、
    前記第一の基板保持具と前記第二の基板保持具の間に介在し、前記第一の自由曲面プリズムと前記第二の自由曲面プリズムとを各々成膜領域の反対側の一端を各々保持する分離構造であり第三の開口部を有する第三の基板保持具と、
    前記第一乃至第三の基板保持具を一体的に保持する押さえ手段と、を有し、
    前記第一の基板保持具は前記第一の開口部の部分に設けられた受溝部と、前記第三の基板保持具の第三の開口部に設けられた突出片との間に、前記第一の自由曲面プリズムを保持可能であり、
    前記第二の基板保持具の前記第二の開口部の部分に設けられた受溝部と、前記第三の基板保持具の第三の開口部に設けられた突出片との間に、前記第二の自由曲面プリズムを保持可能であることを特徴とする、光学部品の光学機能面に成膜装置により光学薄膜を形成する際に、前記光学部品を保持する基板ホルダー。
  5. 請求項1又は2記載の基板ホルダーを用いて、前記第一の光学部品の成膜領域側から前記第一の基板保持具の前記受溝部により、前記第一の光学部品の成膜領域反対側から前記第三の基板保持具の前記突条部により、前記第一の光学部品を挟むことで、前記第一の光学部品を保持するとともに、その光学機能面に対して成膜領域を決める工程と、
    前記第三の基板保持具の前記突条部上に、前記第二の光学部品をその成膜領域の反対領域を下にして置く工程と、
    前記第三の基板保持具により支持された前記第二の光学部品の成膜領域側を前記第二の基板保持具の前記受溝部により挟み込み、前記第一乃至第三の基板保持具を一体化する工程と、
    前記第一乃至第三の基板保持具により保持された前記第一、第二の光学部品の各成膜領域に光学薄膜を同時に又は順に成膜する工程と、
    を含み、
    前記第一の光学部品と、前記第二の光学部品の少なくとも一方は、成膜領域の反対側に凸形状を有していることを特徴とする光学部品の製造方法。
  6. 請求項4記載の基板ホルダーを用いて、前記第一の自由曲面プリズムの成膜領域側から前記第一の基板保持具の前記受溝部により、前記第一の自由曲面プリズムの前記成膜領域反対側から前記第三の基板保持具の前記突出片により、前記第一の自由曲面プリズムを挟むことで、前記第一の自由曲面プリズムを保持するとともに、その光学機能面に対して前記成膜領域を決める工程と、
    前記第三の基板保持具の前記突出片上に、前記第二の自由曲面プリズムをその成膜領域の反対領域を下にして置く工程と、
    前記第三の基板保持具により支持された第二の自由曲面プリズムの成膜領域を前記第二の基板保持具の前記受溝部により挟み込み、前記第一乃至第三の基板保持具を一体化する工程と、
    前記第一乃至第三の基板保持具により保持された前記第一、第二の自由曲面プリズムの各成膜領域に光学薄膜を同時に、又は、順に成膜する工程と、を含むことを特徴とする自由曲面プリズムからなる光学部品の製造方法。
JP2000288392A 2000-09-22 2000-09-22 基板ホルダー及び該基板ホルダーを用いた光学部品の製造方法 Expired - Fee Related JP4667573B2 (ja)

Priority Applications (1)

Application Number Priority Date Filing Date Title
JP2000288392A JP4667573B2 (ja) 2000-09-22 2000-09-22 基板ホルダー及び該基板ホルダーを用いた光学部品の製造方法

Applications Claiming Priority (1)

Application Number Priority Date Filing Date Title
JP2000288392A JP4667573B2 (ja) 2000-09-22 2000-09-22 基板ホルダー及び該基板ホルダーを用いた光学部品の製造方法

Publications (3)

Publication Number Publication Date
JP2002097572A JP2002097572A (ja) 2002-04-02
JP2002097572A5 JP2002097572A5 (ja) 2007-10-25
JP4667573B2 true JP4667573B2 (ja) 2011-04-13

Family

ID=18771986

Family Applications (1)

Application Number Title Priority Date Filing Date
JP2000288392A Expired - Fee Related JP4667573B2 (ja) 2000-09-22 2000-09-22 基板ホルダー及び該基板ホルダーを用いた光学部品の製造方法

Country Status (1)

Country Link
JP (1) JP4667573B2 (ja)

Families Citing this family (3)

* Cited by examiner, † Cited by third party
Publication number Priority date Publication date Assignee Title
EP1950323A1 (en) * 2007-01-25 2008-07-30 Essilor International (Compagnie Generale D'optique) Optical lens holder
CN105814003B (zh) * 2013-12-16 2018-11-30 Agc株式会社 带防反射膜玻璃及其制造方法
KR101604977B1 (ko) * 2015-02-24 2016-03-22 주식회사 아바코 반응성 스퍼터링 장치

Family Cites Families (5)

* Cited by examiner, † Cited by third party
Publication number Priority date Publication date Assignee Title
JPH05106046A (ja) * 1991-10-15 1993-04-27 Fujitsu Ltd 化学気相成長装置及びx線マスクの製造方法
JP3103186B2 (ja) * 1992-03-19 2000-10-23 富士通株式会社 原子層エピタキシー装置および原子層エピタキシー法
JPH05271924A (ja) * 1992-03-30 1993-10-19 Hitachi Ltd 複数基板同時スパッタ成膜方法とその装置並びに複数基板同時スパッタ成膜システム
JPH0734927Y2 (ja) * 1992-09-02 1995-08-09 中外炉工業株式会社 マグネットチャック式基板ホルダー
CH691306A5 (de) * 1996-05-10 2001-06-29 Satis Vacuum Ind Vertriebs Ag Vakuum-Beschichtunsanlage zum Aufdampfen von Vergütungsschichten auf optische Substrate.

Also Published As

Publication number Publication date
JP2002097572A (ja) 2002-04-02

Similar Documents

Publication Publication Date Title
JP5647924B2 (ja) 光学部材の製造方法
CN101319301B (zh) 光学薄膜的成膜方法、光学基板以及光学薄膜的成膜装置
JPH0643304A (ja) 反射防止膜及び反射防止膜付き光学部品
JP4667573B2 (ja) 基板ホルダー及び該基板ホルダーを用いた光学部品の製造方法
JP3952017B2 (ja) 光学的に有効な多層膜を形成するための方法および装置
JP2004176081A (ja) 原子層堆積法による光学多層膜の製造方法
US7033855B2 (en) Optical component and method of manufacturing the same
JP2006064871A (ja) 偏光変換素子およびその製造方法
JPH0665738A (ja) 成膜装置および成膜方法
JP2007063574A (ja) 多層膜の成膜方法および成膜装置
KR20190002858A (ko) 플라이아이 렌즈 성형용 금형 코어 및 이의 제조방법
JP2006249499A (ja) 複合成膜装置
JP2013109004A (ja) 光学フィルタおよびその製造方法
KR920001277B1 (ko) 합성 수지제 광학부품의 반사방지막 제조 방법
JP2005241740A (ja) 反射防止膜の製造方法
JP2005266685A (ja) 光学素子およびその製造方法
JPS61173485A (ja) 着色ミラ−の製造方法
CN1966756A (zh) 镀膜夹具
JPH06240445A (ja) イオンビームアシスト蒸着による光学薄膜の製造方法および装置
JP5141896B2 (ja) 接合光学部品とその製造方法
JPH09159803A (ja) 反射防止膜
US20090166185A1 (en) Ion assisted deposition method for forming multilayer film
JPH0941132A (ja) スパッタリング用ターゲット装置とスパッタリング方 法
JP2013147752A (ja) 光学素子
JP2001262317A (ja) 光学薄膜及びその製造方法

Legal Events

Date Code Title Description
A521 Request for written amendment filed

Free format text: JAPANESE INTERMEDIATE CODE: A523

Effective date: 20070910

A621 Written request for application examination

Free format text: JAPANESE INTERMEDIATE CODE: A621

Effective date: 20070910

A977 Report on retrieval

Free format text: JAPANESE INTERMEDIATE CODE: A971007

Effective date: 20091208

A131 Notification of reasons for refusal

Free format text: JAPANESE INTERMEDIATE CODE: A131

Effective date: 20091210

A521 Request for written amendment filed

Free format text: JAPANESE INTERMEDIATE CODE: A523

Effective date: 20100205

A131 Notification of reasons for refusal

Free format text: JAPANESE INTERMEDIATE CODE: A131

Effective date: 20100727

A521 Request for written amendment filed

Free format text: JAPANESE INTERMEDIATE CODE: A523

Effective date: 20100921

TRDD Decision of grant or rejection written
A01 Written decision to grant a patent or to grant a registration (utility model)

Free format text: JAPANESE INTERMEDIATE CODE: A01

Effective date: 20101220

A01 Written decision to grant a patent or to grant a registration (utility model)

Free format text: JAPANESE INTERMEDIATE CODE: A01

A61 First payment of annual fees (during grant procedure)

Free format text: JAPANESE INTERMEDIATE CODE: A61

Effective date: 20110112

FPAY Renewal fee payment (event date is renewal date of database)

Free format text: PAYMENT UNTIL: 20140121

Year of fee payment: 3

FPAY Renewal fee payment (event date is renewal date of database)

Free format text: PAYMENT UNTIL: 20140121

Year of fee payment: 3

S531 Written request for registration of change of domicile

Free format text: JAPANESE INTERMEDIATE CODE: R313531

R350 Written notification of registration of transfer

Free format text: JAPANESE INTERMEDIATE CODE: R350

LAPS Cancellation because of no payment of annual fees