JP4635563B2 - 電動送風機 - Google Patents

電動送風機 Download PDF

Info

Publication number
JP4635563B2
JP4635563B2 JP2004320217A JP2004320217A JP4635563B2 JP 4635563 B2 JP4635563 B2 JP 4635563B2 JP 2004320217 A JP2004320217 A JP 2004320217A JP 2004320217 A JP2004320217 A JP 2004320217A JP 4635563 B2 JP4635563 B2 JP 4635563B2
Authority
JP
Japan
Prior art keywords
electric blower
opening
centrifugal fan
air
fan
Prior art date
Legal status (The legal status is an assumption and is not a legal conclusion. Google has not performed a legal analysis and makes no representation as to the accuracy of the status listed.)
Expired - Lifetime
Application number
JP2004320217A
Other languages
English (en)
Other versions
JP2006132369A (ja
Inventor
志朗 立石
泰生 野崎
明 山口
Current Assignee (The listed assignees may be inaccurate. Google has not performed a legal analysis and makes no representation or warranty as to the accuracy of the list.)
Panasonic Corp
Panasonic Holdings Corp
Original Assignee
Panasonic Corp
Matsushita Electric Industrial Co Ltd
Priority date (The priority date is an assumption and is not a legal conclusion. Google has not performed a legal analysis and makes no representation as to the accuracy of the date listed.)
Filing date
Publication date
Application filed by Panasonic Corp, Matsushita Electric Industrial Co Ltd filed Critical Panasonic Corp
Priority to JP2004320217A priority Critical patent/JP4635563B2/ja
Priority to CN200580037652A priority patent/CN100575714C/zh
Priority to GB0707468A priority patent/GB2438039B/en
Priority to PCT/JP2005/019972 priority patent/WO2006049115A1/ja
Priority to US11/577,549 priority patent/US7845917B2/en
Publication of JP2006132369A publication Critical patent/JP2006132369A/ja
Application granted granted Critical
Publication of JP4635563B2 publication Critical patent/JP4635563B2/ja
Anticipated expiration legal-status Critical
Expired - Lifetime legal-status Critical Current

Links

Images

Classifications

    • AHUMAN NECESSITIES
    • A47FURNITURE; DOMESTIC ARTICLES OR APPLIANCES; COFFEE MILLS; SPICE MILLS; SUCTION CLEANERS IN GENERAL
    • A47LDOMESTIC WASHING OR CLEANING; SUCTION CLEANERS IN GENERAL
    • A47L5/00Structural features of suction cleaners
    • A47L5/12Structural features of suction cleaners with power-driven air-pumps or air-compressors, e.g. driven by motor vehicle engine vacuum
    • FMECHANICAL ENGINEERING; LIGHTING; HEATING; WEAPONS; BLASTING
    • F04POSITIVE - DISPLACEMENT MACHINES FOR LIQUIDS; PUMPS FOR LIQUIDS OR ELASTIC FLUIDS
    • F04DNON-POSITIVE-DISPLACEMENT PUMPS
    • F04D29/00Details, component parts, or accessories
    • F04D29/40Casings; Connections of working fluid
    • F04D29/42Casings; Connections of working fluid for radial or helico-centrifugal pumps
    • F04D29/44Fluid-guiding means, e.g. diffusers
    • F04D29/441Fluid-guiding means, e.g. diffusers especially adapted for elastic fluid pumps
    • F04D29/444Bladed diffusers
    • FMECHANICAL ENGINEERING; LIGHTING; HEATING; WEAPONS; BLASTING
    • F04POSITIVE - DISPLACEMENT MACHINES FOR LIQUIDS; PUMPS FOR LIQUIDS OR ELASTIC FLUIDS
    • F04DNON-POSITIVE-DISPLACEMENT PUMPS
    • F04D25/00Pumping installations or systems
    • F04D25/02Units comprising pumps and their driving means
    • F04D25/08Units comprising pumps and their driving means the working fluid being air, e.g. for ventilation
    • F04D25/082Units comprising pumps and their driving means the working fluid being air, e.g. for ventilation the unit having provision for cooling the motor
    • FMECHANICAL ENGINEERING; LIGHTING; HEATING; WEAPONS; BLASTING
    • F04POSITIVE - DISPLACEMENT MACHINES FOR LIQUIDS; PUMPS FOR LIQUIDS OR ELASTIC FLUIDS
    • F04DNON-POSITIVE-DISPLACEMENT PUMPS
    • F04D29/00Details, component parts, or accessories
    • F04D29/40Casings; Connections of working fluid
    • F04D29/42Casings; Connections of working fluid for radial or helico-centrifugal pumps
    • F04D29/44Fluid-guiding means, e.g. diffusers
    • F04D29/441Fluid-guiding means, e.g. diffusers especially adapted for elastic fluid pumps
    • FMECHANICAL ENGINEERING; LIGHTING; HEATING; WEAPONS; BLASTING
    • F04POSITIVE - DISPLACEMENT MACHINES FOR LIQUIDS; PUMPS FOR LIQUIDS OR ELASTIC FLUIDS
    • F04DNON-POSITIVE-DISPLACEMENT PUMPS
    • F04D29/00Details, component parts, or accessories
    • F04D29/58Cooling; Heating; Diminishing heat transfer
    • F04D29/5806Cooling the drive system
    • FMECHANICAL ENGINEERING; LIGHTING; HEATING; WEAPONS; BLASTING
    • F04POSITIVE - DISPLACEMENT MACHINES FOR LIQUIDS; PUMPS FOR LIQUIDS OR ELASTIC FLUIDS
    • F04DNON-POSITIVE-DISPLACEMENT PUMPS
    • F04D29/00Details, component parts, or accessories
    • F04D29/58Cooling; Heating; Diminishing heat transfer
    • F04D29/582Cooling; Heating; Diminishing heat transfer specially adapted for elastic fluid pumps
    • F04D29/584Cooling; Heating; Diminishing heat transfer specially adapted for elastic fluid pumps cooling or heating the machine

Landscapes

  • Engineering & Computer Science (AREA)
  • Mechanical Engineering (AREA)
  • General Engineering & Computer Science (AREA)
  • Physics & Mathematics (AREA)
  • Thermal Sciences (AREA)
  • Structures Of Non-Positive Displacement Pumps (AREA)
  • Motor Or Generator Cooling System (AREA)

Description

本発明は、電気掃除機等に使用される電動送風機に関する。
まず、最も一般的に用いられる電気掃除機等に使用される電動送風機の構成について図5を用いて簡単に説明する。
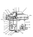
符号2は、界磁コア3に界磁巻線3aを施してなるステータである。符号5は軸6に通された電機子コア7に電機子巻線8を施し、整流子9を同軸上に配置して軸6の両端に設けられた軸受10によって回転自在に固定されたロータである。ステータ2およびロータ5は負荷側ブラケット11、反負荷側ブラケット12に固定され、反負荷側ブラケット12に一対のカーボンブラシ(図示せず)をブラシ保持器14を介してネジ15にて固定されることでモータ16を形成している。符号20は排気口である。また、軸6には遠心ファン17が備えられ、遠心ファン17の外周部に通風路を形成するエアガイド18が配されており、エアガイド18は表面の隣り合う静翼21a間によって構成される複数の通路をもつディフューザ部21と、流れをエアガイド18裏面へと導く流れ変更部22、さらに戻り通路23により構成される。そして、ファンケース19がこれらを覆うように取り付けられ電動送風機1となる。吸気口25が備えられている。
上記構成において、電力が供給されると界磁巻線3aを伝導した電流がカーボンブラシ(図示せず)を通って整流子9に伝わり、界磁コア3で発生した磁束と電機子巻線8を通る電流との間で力が発生し、ロータ5が回転する。次にロータ5が回転することにより、ロータ5の軸6に固定された遠心ファン17が回転し、遠心ファン17内の空気を増速し、増速された空気はエアガイド18のディフューザ部21を通り、減速されて流れ変更部22へと入り込み、方向を180度転換されて、戻り通路23を通り、モータ16へと導かれる。そしてその後、ロータ5、ステータ2、カーボンブラシを冷却しながら、反負荷側ブラケット12の排気口20より排出される。
上記のような一般的な電動送風機の構成では、近年の家庭用掃除機の高吸込仕事率化に伴う電動送風機の高効率化には限界があり、それを補うべく考案された例として、特開2001−133865号のマイクロフィルムに開示された例などがある。それによると図6のように、ファンケース19の外周に設けたスリット26の吸気側の端部から反吸気側の端部に向けて、ひさし状の切り起こし26aを設けた構成とし、ディフューザ部21を通過した空気の一部を外部に放出する開口部を設け電動送風機の効率を向上する構成のものが知られている。
特開2001−271794号公報
解決しようとする問題点は、上記のような電動送風機にあっては、ファンケースの外周に設けたスリットの吸気側の端部から反吸気側の端部に向けて、ひさし状の切り起こしを設け、反ファンケース吸込口側に向かって開口された構成であるため、ディフューザ部を通過した空気の一部を外部に放出する開口部の面積が十分に確保できず、電動送風機の効率向上に限界があり、さらなる電動送風機の効率向上が図れなかった。
上記課題を解決するために本発明は、巻線を施したステータ及び高速で回転するロータを有し、それらをブラケットで覆ったモータと、前記ロータの軸に固定され共に回転する遠心ファンと遠心ファン外周に複数の隣り合う静翼で形成されたディフューザ部を備えたエアガイドと、前記遠心ファンを覆うように前記ブラケットに圧入固定されたファンケースを備え、遠心ファンで発生させた気流によってモータの冷却を行う形態の電動送風機で、前記ファンケースの外周部にはディフューザ部を通過した空気の一部を外部に放出する開口部とその開口部の一部を覆うツバ状の凸部を構成したものである。
本発明の電動送風機によれば、ファンケースの外周部には、ディフューザを通過した空気の一部を外部に放出する開口部とその開口部の一部を覆うツバ状の凸部を構成しているので、ディフューザを通過した空気の一部を外部に放出する開口部の面積が十分に確保することができる。
また、ファンケース外周に設けた、開口部を覆うツバ部の幅を遠心ファン回転方向に対して徐々に小さくするようツバ形状を形成したので、ディフューザ部で減速された空気を効率よく外気へと放出することができる。
また、開口部断面積に対してツバ部が開口部を30〜75%覆うように設定したことで、モータを冷却する風量と、ファンケース外周から放出する風量をバランス良く分配することができる。
したがって、モータの冷却は十分に行いつつ、高効率の電動送風機を提供することができる。
本発明の請求項1記載の発明は、巻線を施したステータ及び高速で回転するロータを有し、それらをブラケットで覆ったモータと、前記ロータの軸に固定され共に回転する遠心ファンと遠心ファン外周に複数の隣り合う静翼で形成されたディフューザ部を備えたエアガイドと、前記遠心ファンを覆うように前記ブラケットに圧入固定されたファンケースを備え、遠心ファンで発生させた気流によってモータの冷却を行う形態の電動送風機で、前記ファンケースの外周部には、ディフューザ部を通過した空気の一部を外部に放出する開口部とその開口部の一部を覆うツバ状の凸部を設けたことで、電動送風機の効率を向上させることができる。
また、本発明の請求項2記載の発明は、上記請求項1記載の発明において、ファンケース外周に設けた、開口部を覆うツバ部の幅を遠心ファン回転方向に対して徐々に小さくするようツバ形状を形成したことにより、ディフューザ部で減速された空気の一部を効率よく外気へと放出することができ、電動送風機の効率を向上させることができる。
また、本発明の請求項3記載の発明は、上記請求項1または2記載の発明において、開口部断面積に対してツバ部が開口部を30〜75%覆うように設定したことにより、モータを冷却する風量と、ファンケース外周から放出する風量をバランス良く分配したので、モータの冷却は十分に行いつつ、効率の高い電動送風機を提供することができる。
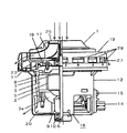
本発明の実施例1について図1を用いて説明する。なお従来例と同一構成部品については同一符号を付して、その説明を省略する。図1は、本実施例の電動送風機の半断面図を示している。27はファンケース19外周上に設けられた開口部で、28は開口部27の一部を覆うツバ状の凸部であり、この開口部27の円周方向の幅は、ディフューザ部21の隣り合う静翼29間で形成される通路が、流れを180度転換させる流れ変更部22へ突入する直前の円周方向の通路幅と略同一となっているとともに、前記開口部27とツバ状の凸部28は、通路の略延長上に配置され、効率よく排気が放出されるようになっている。また、図中の矢印は、吸気口25より吸い込まれた空気の流れを示している。
上記の構成において、動作を説明すると電力が供給されると、従来例と同様、電機子5が回転し、遠心ファン17で発生した気流が、エアガイド18のディフューザ部21を通り、一部はそのまま外気へと放出され、残りの空気は、流れ変更部22で流れを180度転換されると、同部での曲がり損失が増大するが、本実施例ではファンケース19外周上に設けられた複数の開口部27と開口部27の一部を覆うツバ状の凸部28が、ディフューザ部21外周に効率よく配設されているので一部の空気がツバ状の凸部28および開口部27より放出され損失は低減される。
このように、本発明の電動送風機によれば、エアガイド18での曲がり損失をより低減できるので、効率の良い電動送風機を得ることができる。
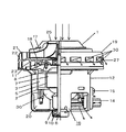
実施例2について図2を用いて説明する。なお、実施例1と同一構成部品については同一符号を付して、その説明を省略する。図2において、30はファンケース19開口部27の一部を覆うツバ部であり、このツバ部30は、開口部27を覆う幅を回転ファン17の回転方向に対して徐々に小さくするように形成されている。また、図中の矢印は、吸気口25より吸い込まれた空気の流れを示している。
上記の構成において、動作を説明すると電力が供給されると、従来例と同様、電機子5が回転し、遠心ファン17で発生した気流が、エアガイド18のディフューザ部21を通り、一部はそのまま外気へと放出され、残りの空気は、流れ変更部22で流れを180度転換されると、同部での曲がり損失が増大するが、本実施例ではファンケース19外周上に設けられた複数のツバ部30が遠心ファン17の回転方向に対して徐々に小さくするように形成されているので、ディフューザ部を通過した空気の一部がスムーズに外気へ放出されるため、開口部27での空気の衝突損失を低減される。
このように、本発明の電動送風機によれば、ファンケース19の外周上に設けられた開口部27での衝突損失をより低減できるので、効率の良い電動送風機を得ることができる。
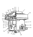
実施例3について図3を用いて説明する。なお、実施例1と同一構成部品については同一符号を付して、その説明を省略する。27はファンケース19外周上に設けられた開口部で、28は開口部27の一部を覆うツバ状の凸部で、第1の実施例と同一であるが、開口部断面積に対してツバ状の凸部28が開口部27を30〜75%覆うように設定し、配設されている。
上記の構成において、ファンケース19から排気の一部を放出すると、電動送風機1の効率は改善できるが、その反面モータ16を冷却する風量が減少し、電動送風機1の温度は上昇する。図4には、開口部断面積に対しツバ状の凸部28が覆う断面積比に対する電動送風機1の効率と電機子巻線の温度上昇値の関係を示している。これによると断面積比が25%以下になると電機子巻線の温度上昇値が80Kを超え、危険な領域に入ると考えられる。一方、断面積比を80%以上に設定すると電動送風機1の効率改善効果が少なくなる。本実施例では、断面積比がモータ16の冷却を十分行いつつ、電動送風機1の効率改善を最大限行えるよう設定されているので、高効率で信頼性の確保ができた電動送風機を得ることができる。
本発明の電動送風機は、吸込み仕事率向上に最適であり、家庭用や産業用掃除機用途などに有用である。
本発明の実施例1における電動送風機の半断面図 本発明の実施例2における電動送風機の半断面図 本発明の実施例3における電動送風機の半断面図 開口断面積に対しツバ状の凸部が覆う断面積比に対する電動送風機の効率と電機子巻線の温度上昇を示す特性図 従来の電動送風機を示す半断面図 同他の電動送風機の半断面図
符号の説明
1 電動送風機
16 モータ
17 遠心ファン
19 ファンケース
27 開口部
28 ツバ状の凸部
30 ツバ部

Claims (3)

  1. 巻線を施したステータ及び高速で回転するロータを有し、それらをブラケットで覆ったモータと、前記ロータの軸に固定され共に回転する遠心ファンと遠心ファン外周に複数の隣り合う静翼で形成されたディフューザ部を備えたエアガイドと、前記遠心ファンを覆うように前記ブラケットに圧入固定されたファンケースを備え、遠心ファンで発生させた気流によってモータの冷却を行う形態の電動送風機で、前記ファンケースの外周部には、ディフューザ部を通過した、空気の一部を外部に放出する開口部とその開口部の一部を覆うツバ状の凸部を設けたことを特徴とする電動送風機。
  2. ファンケース外周に設けた、開口部を覆うツバ部の幅を遠心ファン回転方向に対して徐々に小さくするようツバ形状を形成した、請求項1記載の電動送風機。
  3. 開口部断面積に対してツバ部が開口部を30〜75%覆うように設定した請求項1または、2記載の電動送風機。


JP2004320217A 2004-11-04 2004-11-04 電動送風機 Expired - Lifetime JP4635563B2 (ja)

Priority Applications (5)

Application Number Priority Date Filing Date Title
JP2004320217A JP4635563B2 (ja) 2004-11-04 2004-11-04 電動送風機
CN200580037652A CN100575714C (zh) 2004-11-04 2005-10-31 电动鼓风机
GB0707468A GB2438039B (en) 2004-11-04 2005-10-31 Electric blower
PCT/JP2005/019972 WO2006049115A1 (ja) 2004-11-04 2005-10-31 電動送風機
US11/577,549 US7845917B2 (en) 2004-11-04 2005-10-31 Electric blower

Applications Claiming Priority (1)

Application Number Priority Date Filing Date Title
JP2004320217A JP4635563B2 (ja) 2004-11-04 2004-11-04 電動送風機

Publications (2)

Publication Number Publication Date
JP2006132369A JP2006132369A (ja) 2006-05-25
JP4635563B2 true JP4635563B2 (ja) 2011-02-23

Family

ID=36319122

Family Applications (1)

Application Number Title Priority Date Filing Date
JP2004320217A Expired - Lifetime JP4635563B2 (ja) 2004-11-04 2004-11-04 電動送風機

Country Status (5)

Country Link
US (1) US7845917B2 (ja)
JP (1) JP4635563B2 (ja)
CN (1) CN100575714C (ja)
GB (1) GB2438039B (ja)
WO (1) WO2006049115A1 (ja)

Families Citing this family (13)

* Cited by examiner, † Cited by third party
Publication number Priority date Publication date Assignee Title
CN101832295B (zh) * 2010-01-18 2012-05-02 重庆长安汽车股份有限公司 一种汽车空调系统鼓风机
DE102011006546B4 (de) * 2011-03-31 2013-07-04 BSH Bosch und Siemens Hausgeräte GmbH Gebläseanordnung
JP5762157B2 (ja) 2011-06-10 2015-08-12 三菱重工業株式会社 遠心式送風機およびこれを備えた車両用空気調和機
NL2011128C2 (nl) * 2013-07-09 2015-01-12 Eco Logical Entpr B V Rotatie-inrichting, bijvoorbeeld een luchtverplaatser, zoals een ventilator, een propeller of een hefschroef, een waterturbine of een windturbine.
NL2011129C2 (nl) 2013-07-09 2015-01-12 Eco Logical Entpr B V Compacte elektrische inrichting en daarop gebaseerde elektrodynamische luidspreker, elektromotor, roerinrichting en instelbare koppeling.
JP6375516B2 (ja) * 2014-08-20 2018-08-22 パナソニックIpマネジメント株式会社 電動送風機とそれを用いた電気掃除機
WO2016039890A2 (en) * 2014-09-09 2016-03-17 Twin City Fan Companies, Ltd. Motor cooling device and method
JP6438860B2 (ja) * 2015-07-31 2018-12-19 ミネベアミツミ株式会社 遠心ファン
US10638900B2 (en) * 2015-09-10 2020-05-05 Nidec Corporation Air blowing device and vacuum cleaner
DE102016110923A1 (de) * 2016-06-15 2017-12-21 Miele & Cie. Kg Gebläsevorrichtung für einen Staubsauger, Verfahren zum Betreiben einer Gebläsevorrichtung, Steuergerät und Staubsauger
JP7354569B2 (ja) * 2019-03-28 2023-10-03 ニデック株式会社 送風装置、および掃除機
KR102334621B1 (ko) * 2019-07-10 2021-12-03 엘지전자 주식회사 팬모터
CN112943698A (zh) * 2019-12-11 2021-06-11 鼎朋企业股份有限公司 吸尘装置的抽风马达

Family Cites Families (13)

* Cited by examiner, † Cited by third party
Publication number Priority date Publication date Assignee Title
DE7810865U1 (de) * 1978-04-12 1978-09-21 Dolmar Maschinen-Fabrik Gmbh & Co, 2000 Hamburg Abgasschalldaempfer fuer auspuffvorrichtungen von brennkraftmaschinen, insbesondere von brennkraftmaschinenangetriebenen handarbeitsgeraeten
JPS5522913A (en) 1978-08-04 1980-02-19 Nec Corp Box structure of printer
JPH06100195B2 (ja) 1989-06-19 1994-12-12 三洋電機株式会社 電動送風機
JPH1026099A (ja) 1996-07-09 1998-01-27 Mitsubishi Electric Corp 電動送風機
US5749704A (en) * 1997-01-06 1998-05-12 Wagner Spray Tech Corporation Heat gun fan assembly
JP2001012395A (ja) * 1999-06-25 2001-01-16 Sanyo Electric Co Ltd 電動送風機
JP4568946B2 (ja) * 2000-03-28 2010-10-27 パナソニック株式会社 電動送風機とそれを用いた電気掃除機
JP3838071B2 (ja) * 2001-10-30 2006-10-25 松下電器産業株式会社 電動送風機およびそれを用いた電気掃除機
GB0202839D0 (en) * 2002-02-07 2002-03-27 Johnson Electric Sa Blower motor
EP1731767A3 (en) * 2002-09-20 2007-01-03 Matsushita Electric Industrial Co., Ltd. Electric blower and vacuum cleaner using the same
JP2004169592A (ja) * 2002-11-19 2004-06-17 Matsushita Electric Ind Co Ltd 電動送風機及びそれを用いた電気掃除機
USD533936S1 (en) * 2004-11-17 2006-12-19 Matsushita Electric Industrial Co., Ltd. Fan case
JP6100195B2 (ja) * 2014-04-09 2017-03-22 富士フイルム株式会社 撮像装置

Also Published As

Publication number Publication date
US20080193305A1 (en) 2008-08-14
CN101052810A (zh) 2007-10-10
GB2438039A (en) 2007-11-14
CN100575714C (zh) 2009-12-30
US7845917B2 (en) 2010-12-07
GB2438039B (en) 2011-09-21
GB0707468D0 (en) 2007-05-23
JP2006132369A (ja) 2006-05-25
WO2006049115A1 (ja) 2006-05-11

Similar Documents

Publication Publication Date Title
CN101188373B (zh) 风扇电动机
JP4635563B2 (ja) 電動送風機
WO2016174790A1 (ja) 遠心送風機および掃除機
JP2016005377A (ja) 電動送風機およびそれを用いた電気掃除機
JP4951588B2 (ja) 電動送風機及びこれを備えた電気掃除機
JP2010190136A (ja) 電動送風機及びこれを用いた電気掃除機
JP3581301B2 (ja) 電動送風機
WO1997033357A1 (en) Rotor of rotary machine
JP4568946B2 (ja) 電動送風機とそれを用いた電気掃除機
JP4952061B2 (ja) 電動送風機及びこれを用いた電気掃除機
JP2005207235A (ja) 電動送風機及びそれを用いた電気掃除機
JP2006250016A (ja) 電動送風機及びそれを用いた電気掃除機
JP2007146746A (ja) 電動送風機及びそれを用いた電気掃除機
JP2004116450A (ja) 電動送風機及びそれを用いた電気掃除機
JP2004108317A (ja) 電動送風機及びそれを用いた電気掃除機
JP2002153017A (ja) 電動送風機及びそれを用いた電気掃除機
JP2002127048A (ja) 電動工具
WO2019176625A1 (ja) 電動送風機、電気掃除機およびエアタオル
JP2006299808A (ja) 電動送風機及びそれを用いた電気掃除機
JP2013231358A (ja) 電動送風機とそれを用いた電気掃除機
JP2005155397A (ja) 電動送風機及びそれを用いた電気掃除機
JP2026007783A (ja) 電動送風機及びそれを備えた電気掃除機
JP2005147076A (ja) 電動送風機及びそれを用いた電気掃除機
JP2021120572A (ja) 電動送風機およびそれを用いた電気掃除機
JP3246039B2 (ja) 電動送風機

Legal Events

Date Code Title Description
A621 Written request for application examination

Free format text: JAPANESE INTERMEDIATE CODE: A621

Effective date: 20071024

RD01 Notification of change of attorney

Free format text: JAPANESE INTERMEDIATE CODE: A7421

Effective date: 20071113

RD01 Notification of change of attorney

Free format text: JAPANESE INTERMEDIATE CODE: A7421

Effective date: 20091120

TRDD Decision of grant or rejection written
A01 Written decision to grant a patent or to grant a registration (utility model)

Free format text: JAPANESE INTERMEDIATE CODE: A01

Effective date: 20101026

A01 Written decision to grant a patent or to grant a registration (utility model)

Free format text: JAPANESE INTERMEDIATE CODE: A01

A61 First payment of annual fees (during grant procedure)

Free format text: JAPANESE INTERMEDIATE CODE: A61

Effective date: 20101108

FPAY Renewal fee payment (event date is renewal date of database)

Free format text: PAYMENT UNTIL: 20131203

Year of fee payment: 3

R151 Written notification of patent or utility model registration

Ref document number: 4635563

Country of ref document: JP

Free format text: JAPANESE INTERMEDIATE CODE: R151

FPAY Renewal fee payment (event date is renewal date of database)

Free format text: PAYMENT UNTIL: 20131203

Year of fee payment: 3

EXPY Cancellation because of completion of term