JP2004108317A - 電動送風機及びそれを用いた電気掃除機 - Google Patents

電動送風機及びそれを用いた電気掃除機 Download PDF

Info

Publication number
JP2004108317A
JP2004108317A JP2002274546A JP2002274546A JP2004108317A JP 2004108317 A JP2004108317 A JP 2004108317A JP 2002274546 A JP2002274546 A JP 2002274546A JP 2002274546 A JP2002274546 A JP 2002274546A JP 2004108317 A JP2004108317 A JP 2004108317A
Authority
JP
Japan
Prior art keywords
electric blower
casing
impeller
exhaust
rotor
Prior art date
Legal status (The legal status is an assumption and is not a legal conclusion. Google has not performed a legal analysis and makes no representation as to the accuracy of the status listed.)
Pending
Application number
JP2002274546A
Other languages
English (en)
Inventor
Takeshi Tokuda
剛 徳田
Yoshitaka Murata
吉隆 村田
Yoshitaka Hayamizu
禎高 速水
Current Assignee (The listed assignees may be inaccurate. Google has not performed a legal analysis and makes no representation or warranty as to the accuracy of the list.)
Panasonic Holdings Corp
Original Assignee
Matsushita Electric Industrial Co Ltd
Priority date (The priority date is an assumption and is not a legal conclusion. Google has not performed a legal analysis and makes no representation as to the accuracy of the date listed.)
Filing date
Publication date
Application filed by Matsushita Electric Industrial Co Ltd filed Critical Matsushita Electric Industrial Co Ltd
Priority to JP2002274546A priority Critical patent/JP2004108317A/ja
Priority to CNB03158988XA priority patent/CN1311167C/zh
Priority to AT03021203T priority patent/ATE382121T1/de
Priority to ES03021203T priority patent/ES2297084T3/es
Priority to EP06018585A priority patent/EP1736670B1/en
Priority to EP06018586A priority patent/EP1731767A3/en
Priority to DE60325790T priority patent/DE60325790D1/de
Priority to ES06018585T priority patent/ES2320795T3/es
Priority to DE60318286T priority patent/DE60318286T2/de
Priority to EP03021203A priority patent/EP1400699B1/en
Priority to DK03021203T priority patent/DK1400699T3/da
Priority to AT06018585T priority patent/ATE420293T1/de
Priority to CNU032078994U priority patent/CN2704707Y/zh
Priority to US10/664,975 priority patent/US7416384B2/en
Publication of JP2004108317A publication Critical patent/JP2004108317A/ja
Pending legal-status Critical Current

Links

Images

Landscapes

  • Electric Suction Cleaners (AREA)
  • Structures Of Non-Positive Displacement Pumps (AREA)

Abstract

【課題】送風効率を高めた電動送風機及びそれを有する電気掃除機を提供することを目的とするものである。
【解決手段】複数の案内翼24を有するエアガイド5と、前記エアガイド5を覆うケーシング6とを備え、前記ケーシング6の外周に、吸引された気流の一部を排出する排気部7を設けるとともに、前記排気部7の外周方向の幅の長さAは、隣り合う案内翼24の外周端間の距離Bと略同一にしたもので、排気がスムーズに排出されて送風効率が向上するものである。
【選択図】 図2

Description

【0001】
【発明の属する技術分野】
本発明は電動送風機及び電気掃除機に関するものである。
【0002】
【従来の技術】
従来の電動送風機について図15を用いて説明する。
【0003】
従来のこの種の電動送風機は、モータ部2の回転軸3にインペラ4を取付固定した電動送風機である。前記インペラ4の外周に対向してエアガイド5が配置されている。6はインペラ4とエアガイド5を内包し、かつモータ部2の外周に気密に取り付けられた中央部に吸気孔6aを有するケーシングである。前記ケーシング6の外周には複数個の排気部A7が設けられている。また、モータ部2を構成するブラケット8には排気部B9が設けられている。
【0004】
以上の構成における動作について説明すると、モータ部2が運転し、回転軸3に取付固定されたインペラ4が高速で回転すると吸込まれる気流が発生し、この気流はインペラ4の外周より排出されエアガイド5を経由して、気流の一部はケーシング6の外周に設けられた排気部A7から外部に排出され、その他の気流はブラケット8の排気部B9から排出されるものであった(特許文献1参照。)。
【0005】
【特許文献1】
実開昭61−47964公報
【0006】
【発明が解決しようとする課題】
しかしながら、このように吸込んだ気流の一部をケーシング6の外周から排出させることにより、電動送風機1の送風効率が向上することは以前から知られていたが、具体的な排気部7の面積や形状、エアガイド5との相対位置関係等については詳しく述べられていなかった。
【0007】
本発明は上記の課題に対して、送風効率を高めた電動送風機及びそれを有する電気掃除機を提供することを目的とするものである。
【0008】
【課題を解決するための手段】
上記目的を達成するために本発明は、ステータと自在に回転するロータと、前記ロータの回転軸に設けられたインペラと、前記インペラの周囲に複数の案内翼を有するエアガイドと、前記インペラ及び前記エアガイドを覆うケーシングとを備え、前記ケーシングの外周に、前記インペラにより吸引された気流の一部を排出する排気部を設けるとともに、前記排気部の外周方向の幅の長さは、隣り合う案内翼の外周端間の距離と略同一にしたもので、送風効率を著しく向上できるものである。
【0009】
【発明の実施の形態】
本発明の請求項1記載の発明は、ステータと自在に回転するロータと、前記ロータの回転軸に設けられたインペラと、前記インペラの周囲に複数の案内翼を有するエアガイドと、前記インペラ及び前記エアガイドを覆うケーシングとを備え、前記ケーシングの外周に、前記インペラにより吸引された気流の一部を排出する排気部を設けるとともに、前記排気部の外周方向の幅の長さは、隣り合う案内翼の外周端間の距離と略同一にしたもので、排気がスムーズに排出されて送風効率が向上するものである。
【0010】
本発明の請求項2記載の発明は、ステータと自在に回転するロータと、前記ロータの回転軸に設けられたインペラと、前記インペラの周囲に複数の案内翼を有するエアガイドと、前記インペラ及び前記エアガイドを覆うケーシングとを備え、前記ケーシングの外周に、前記インペラにより吸引された気流の一部を排出する排気部を設けるとともに、前記排気部の外周方向の幅の長さは、隣り合う案内翼の外周端間の距離より小さくしたもので、高周波音などの騒音を抑制することができるものである。
【0011】
本発明の請求項3記載の発明は、ステータと自在に回転するロータと、前記ロータの回転軸に設けられたインペラと、前記インペラの周囲に複数の案内翼を有するエアガイドと、前記インペラ及び前記エアガイドを覆うケーシングとを備え、前記ケーシングの外周に、前記インペラにより吸引された気流の一部を排出する排気部を設けるとともに、前記排気部の外周方向の幅の長さは、隣り合う案内翼の外周端間の距離より大きくしたもので、隣り合う案内翼によって形成されたボリュート室からの排気同士が干渉しあって高周波音を抑制することができるものである。
【0012】
本発明の請求項4記載の発明は、排気部の面積を40mm以上に設定したもので、送風効率を向上できるものである。
【0013】
本発明の請求項5記載の発明は、エアガイドの外周とケーシングの内周との間に隙間を設けたもので、前記隙間で気流の還流が僅かに発生して、気流の干渉により高周波音を抑制することができるものである。
【0014】
本発明の請求項6記載の発明は、案内翼が排気部の外周方向の幅の略中央部に位置するように配されたもので、隣り合う案内翼によって形成されたボリュート室からの排気同士が干渉しあって高周波音を抑制することができるものである。
【0015】
本発明の請求項7記載の発明は、排気部の気流排出側のケーシングにリブを設けたもので、ケーシングからの排気が空気流の下流側に強制的に流れるようにして送風効率を向上できるものである。
【0016】
本発明の請求項8記載の発明は、排気部の上下方向両端壁の傾斜を、隣り合う案内翼を連結して形成ボリュート室の底面の傾斜と略同一としたもので、スムーズに気流が排出されて送風効率が向上できるものである。
【0017】
本発明の請求項9記載の発明は、排気部の上下方向両端壁の傾斜を、回転軸の長手方向に対して傾斜させたもので、スムーズに電動機の下流側に気流が流れるようにして送風効率を向上できるものである。
【0018】
本発明の請求項10記載の発明は、排気部をケーシングの半周部以内に設けたもので、高周波音を抑制できるものである。
【0019】
本発明の請求項11記載の発明は、隣り合う案内翼を連結して形成ボリュート室の数と、排気部との数を同一にしたもので、気流のスムーズな排出ができ送風効率が向上できるものである。
【0020】
本発明の請求項12記載の発明は、略四角状の排気部の上下方向の壁を、回転軸の長手方向に対して傾斜させ、面積を小さくしたもので、高周波音の抑制をしながら送風効率を向上できるものである。
【0021】
本発明の請求項13記載の発明は、ステータと自在に回転するロータと、前記ロータの回転軸に設けられたインペラと、前記インペラを覆うケーシングを備え、前記ケーシングの外周に、前記インペラにより吸引された気流の一部を排出する小孔形状なる排気部を多数個設けたもので、高周波音の抑制をしながら送風効率を向上できるものである。
【0022】
本発明の請求項14記載の発明は、ケーシングの外周に、排気部を覆いかつ下流側に開口を有するモータカバーを設けたもので、送風効率を向上できるものである。
【0023】
本発明の請求項15記載の発明は、ケーシングの外周に、排気部を覆いかつステータ側に開口を有するモータカバーを設けるとともに、前記モータカバーは、排気部と対向した位置にスクロール形状の羽根を有するもので、更に送風効率を向上できるものである。
【0024】
本発明の請求項16記載の発明は、塵埃を捕集する集塵室を備え、請求項1〜15のいずれか1項に記載の電動送風機を内蔵した電気掃除機で、電動送風機の送風効率を向上させて吸込み力の強い電気掃除機を実現できるものである。
【0025】
【実施例】
(実施例1)
以下、本発明の第1の実施例を、図1、図2を用いて説明する。
【0026】
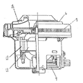
1は、モータ部2とファン部10から成る電動送風機である。前記モータ部2は、負荷側の軸受け11を保持するブラケットA12と、反負荷側の軸受け13を保持するブラケットB14とから外郭を構成し、前記ブラケットB14内には、回転軸3に整流子15と薄い珪素鋼板を積層して成る電機子コア16を圧入固定し、巻線(図示せず)を施したロータ17と、薄い珪素鋼板を積層して成る界磁コア18に巻線(図示せず)を施したステータ19を内蔵している。また、前記ブラケットB14には整流子15と摺動するカーボンブラシ(図示せず)を収納したブラシホルダー20を設けている。前記ファン部10は、前記回転軸3に、一対の前面シュラウド21と後面シュラウド22によって複数枚のブレード23を挟持固定して構成されたインペラ4が取付固定されている。前面シュラウド21の中央部に吸気孔21aが設けられている。また、前記インペラ4の外周には、複数の案内翼24で形成したボリュート室25を有するエアガイド5を配置している。6はインペラ4とエアガイド5を内包し、かつブラケットB14の外周に気密に取り付けられた中央部に吸気孔6aを有するケーシングであり、その外周にはエアガイド5を経由した気流の一部が排出される排気部A7が設けられている。また、ブラケットB14には排気部B9が設けられている。
【0027】
ここで、前記ケーシング6に設けられた排気部A7の外周方向の長さAと、エアガイド5に設けられた隣り合う案内翼24の外周端での距離Bが略同一で対向して設けられている。つまり、前記隣り合う案内翼24の外周端に対向するケーシング6に、略四角形の排気部B9が形成されている。
【0028】
上記構成による作用は以下の通りである。
【0029】
まず、電力がモータ部2のカ−ボンブラシ24及び整流子9を経由してロータ17の巻線とステータ19の巻線に供給されてモータ部2が運転し、ロータ17の回転軸3が高速で回転し、回転軸3に固定されたインペラ4が高速で回転する。その結果発生した気流は、前記インペラ4の前面シュラウド21に設けた吸込み口21aから吸込まれ、前面、後面シュラウド21、22と複数のブレード23で囲まれた空間を通ってインペラ4外周より排出される。そして、インペラ4より排出された気流は、エアガイド5に設けられた隣り合う複数の案内翼24で構成されるボリュート室25を通ってエアガイド5の外周より排出される。
【0030】
このエアガイド5の外周から排出された気流の一部はケーシング6に設けられた排気部A7から外部へ排出され、残りの気流はブラケットB14内に内蔵されたロータ17、ステータ19等を冷却した後にブラケットB14に設けられた排気部B9から外部に排出されるものである。
【0031】
ここで、吸込まれた気流の一部がケーシング6に設けられた排気部A7から直接外部に排出されるので、エアガイド5に形成されたボリュート室25を経由してエアガイド5の裏面へ導かれる際に生じる気流の屈曲による圧力損失(曲がり損失)が低減される。
【0032】
また、同時にモータ部2内を通過する気流が減少するので、その際に生じる抵抗による圧力損失(風損)も低減される。従って上記「曲がり損失」と「風損」の流体的損失が低減できるので全体の送風効率が向上するものである。
【0033】
この時、排気部A7の外周方向の長さAと、エアガイド5に設けられた隣り合う案内翼24の外周端での距離Bが略同一、つまり、前記隣り合う案内翼24の外周端に対向するケーシング6に、略四角形の排気部B9が対向して設けられているので、ボリュート室25内を通った気流が効率良くスムーズに排気部A7より排出され、モータ部2内を通過する気流が減少する。その結果「曲がり損」と「風損」の損失が減少するため更に送風効率が向上するものである。
【0034】
(実施例2)
次に本発明の第2の実施例を、図3を用いて説明する。なお上記実施例と同一構成部品については同一符号を付してその説明を省略する。
【0035】
ケーシング6に設けられた排気部A7の外周方向の長さAが、エアガイド5に設けられた隣り合う案内翼24の外周端での距離Bよりも小さくなる関係にして、排気部A7とボリュート室25が対向するように配置されている。
【0036】
なお、前記排気部A7は前記ボリュート室25の略中央対向位置に設けられている。
【0037】
上記構成による作用は以下の通りである。
【0038】
ケーシング6に設けられた排気部A7から気流が直接排出されるため高周波音が増大する傾向がある。そこで排気部A7の面積を小さめにすることによりモータ部2内を通過する気流を増加させて高周波音の抑制を図れるものである。
【0039】
当然ながら排気部A7の数を減らしたり、ケーシング6のどちらか一方向の半周のみに排気部A7を設けても同様の効果が得られる事は言うまでもない。
【0040】
(実施例3)
次に本発明の第3の実施例を、図4を用いて説明する。なお上記実施例と同一構成部品については同一符号を付してその説明を省略する。
【0041】
ケーシング6に設けられた排気部A7の外周方向の長さAが、エアガイド5に設けられた隣り合う案内翼24の外周端での距離Bよりも大きくなる関係にしている。なお、前記排気部A7の外周方向の両端を形成する壁は、前記ボリュート室25の略中央対向位置に設けられている。
【0042】
上記構成による作用は以下の通りである。
【0043】
ケーシング6に設けられた排気部Aから気流が直接排出されるため高周波音が増大する傾向がある。そこで排気部A7の外周方向の長さAを、エアガイド5に設けた隣り合う案内翼24の外周端での距離Bよりも大きくなるように設定し、一つの排気部A7に対して複数のボリュート室25が対向するように配置することにより、隣同士のボリュート室25から排出された気流がケーシング6外周より排出されると同時に混ざり合い高周波音を打ち消す効果が図れるものである。
【0044】
これは図5に示すように排気部A7の中間にエアガイド5の案内翼25が位置するように設定したり、エガイド5の外周とケーシング6の内周との間に隙間を設けて僅かに還流を発生させることでも同様の効果が得られる。
【0045】
また、排気部A7の形状を、図6に示すようなスリット形状や、図7に示すような多数個の小孔にしても同様な効果が得られる。
【0046】
(実施例4)
次に本発明の第4の実施例を、図8を用いて説明する。なお上記実施例と同一構成部品については同一符号を付してその説明を省略する。
【0047】
ケーシング6の外周に設けた排気部A7の面積を40mm以上に設定したものである。
【0048】
上記構成による作用は以下の通りである。
【0049】
前に述べたようにケーシング6に設けた排気部A7の面積が大きいほど流体的損失が低減できて全体の送風効率を向上できるが、図8のグラフに示すように排気部A7の面積が約40mm以上になるとその効果がサチレートしてくる。グラフの横軸は排気部A7の面積で、縦軸が送風効率である。
【0050】
(実施例5)
次に本発明の第5の実施例を、図9を用いて説明する。なお上記実施例と同一構成部品については同一符号を付してその説明を省略する。
【0051】
ケーシング6の外周に設けた排気部A7のケーシング6の気流排出側にリブ26を設けている。
【0052】
上記構成による作用は以下の通りである。
【0053】
排気部A7に設けたリブ26により、ケーシング6の排気部A7から排出された気流は排出されると同時に拡散することなくモータ部2側、いわゆる空気流の下流側に強制的に流れるようになる。その結果、スムーズな気流となり気流の排出量が増加して流体的損失を低減して送風効率を向上させることができる。
【0054】
(実施例6)
次に本発明の第6の実施例を、図10を用いて説明する。なお上記実施例と同一構成部品については同一符号を付してその説明を省略する。
【0055】
エアガイド5に設けた隣り合う案内翼24で形成されるボリュート室25の底面部25aの傾斜と、略四角形の排気部A7の上下方向両端壁の傾斜が略同一となるよう構成している。
【0056】
上記構成による作用は以下の通りである。
【0057】
ケーシング6に設けられた排気部A7は、ボリュート室25から排出される気流の角度と略同一の角度で斜めに開口しているので気流の流れがスムーズになる。
【0058】
その結果、上記の実施例と同様に気流の排出量が増加して流体的損失を低減して送風効率を向上させることができる。これは、図11のように略四角状の排気部A7の上下方向の壁を、回転軸3の長手方向に対して傾斜させ、面積を小さくして形成することでも同様な効果が得られる。
【0059】
(実施例7)
次に本発明の第7の実施例を、図12を用いて説明する。なお上記実施例と同一構成部品については同一符号を付してその説明を省略する。
【0060】
排気部A7を覆いかつ下流側に開口を有するモータカバー27を設けることで、排気部A7から排出された気流を、モータ部2側、いわゆる空気流の下流側にスムーズに流れるようしているものである。
【0061】
上記構成による作用は以下の通りである。
【0062】
ケーシング6の外周に配設したモータカバー27により、ケーシング6の排気部A7から排出された気流が排出されると同時に拡散するのを防止しできるので、気流はモータ部2の下流側にスムーズに流れる。その結果、気流の排出量が増加して流体的損失を低減するので送風効率を向上させることができる。
【0063】
また、図13のようにモータカバー27に、ケーシング6の排気部A7と対向した位置にスクロ−ル状の羽根28を設けることにより更に送風効率を向上できる事は言うまでもない。
【0064】
(実施例8)
次に本発明の第8の実施例を、図14を用いて説明する。なお上記実施例と同一構成部品については同一符号を付してその説明を省略する。
【0065】
28は、塵埃を捕集する集塵室29と、前記集塵室29に連通するように接続される吸い込み部30と請求項1〜15のいずれか1項記載の電動送風機1を備えた電気掃除機である。
【0066】
上記構成による作用は以下の通りである。
【0067】
電動送風機1の送風効率を向上させて吸込み力の強い電気掃除機30を実現できるものである。
【0068】
【発明の効果】
本発明によれば、送風効率を高めた電動送風機及びそれを有する電気掃除機を提供できる。
【図面の簡単な説明】
【図1】本発明の第1の実施例を示す電動送風機の半断面図
【図2】同電動送風機の案内翼と排気部Aの位置関係を示す横断面図(図1のC−C断面図)
【図3】本発明の第2の実施例の案内翼と排気部Aの位置関係を示す横断面図(図1のC−C断面図)
【図4】本発明の第3の実施例の案内翼と排気部Aの位置関係を示す横断面図(図1のC−C断面図)
【図5】同電動送風機の案内翼と排気部Aの位置関係を示す横断面図(図1のC−C断面図)
【図6】同電動送風機の半断面図
【図7】同他の電動送風機の半断面図
【図8】本発明の第4の実施例の排気部A面積と送風効率の関係を示すグラフ
【図9】本発明の第5の実施例を示す電動送風機の半断面図
【図10】本発明の第6の実施例を示す電動送風機の半断面図
【図11】同他の電動送風機の半断面図
【図12】本発明の第7の実施例を示す電動送風機の半断面図
【図13】同他の電動送風機の下方斜視図
【図14】本発明の第7の実施例を示す電気掃除機全体の斜視図
【図15】従来の電動送風機の半断面図
【符号の説明】
1 電動送風機
2 電動機
3 回転軸
4 インペラ
5 エアガイド
6 ケーシング
6a 吸気孔
7 排気部A
8 ブラケット
9 排気部B
10 ファンユニット
17 ロータ
19 ステータ
24 案内翼
25 ボリュート室
26 リブ
27 モータカバー
28 電気掃除機
29 集塵室
30 吸込み部

Claims (16)

  1. ステータと自在に回転するロータと、前記ロータの回転軸に設けられたインペラと、前記インペラの周囲に複数の案内翼を有するエアガイドと、前記インペラ及び前記エアガイドを覆うケーシングとを備え、前記ケーシングの外周に、前記インペラにより吸引された気流の一部を排出する排気部を設けるとともに、前記排気部の外周方向の幅の長さは、隣り合う案内翼の外周端間の距離と略同一にした電動送風機。
  2. ステータと自在に回転するロータと、前記ロータの回転軸に設けられたインペラと、前記インペラの周囲に複数の案内翼を有するエアガイドと、前記インペラ及び前記エアガイドを覆うケーシングとを備え、前記ケーシングの外周に、前記インペラにより吸引された気流の一部を排出する排気部を設けるとともに、前記排気部の外周方向の幅の長さは、隣り合う案内翼の外周端間の距離より小さくした電動送風機。
  3. ステータと自在に回転するロータと、前記ロータの回転軸に設けられたインペラと、前記インペラの周囲に複数の案内翼を有するエアガイドと、前記インペラ及び前記エアガイドを覆うケーシングとを備え、前記ケーシングの外周に、前記インペラにより吸引された気流の一部を排出する排気部を設けるとともに、前記排気部の外周方向の幅の長さは、隣り合う案内翼の外周端間の距離より大きくした電動送風機。
  4. 排気部の面積を40mm以上に設定した請求項1〜3のいずれか1項に記載の電動送風機。
  5. エアガイドの外周とケーシングの内周との間に隙間を設けた請求項1〜4のいずれか1項に記載の電動送風機。
  6. 案内翼が排気部の外周方向の幅の略中央部に位置するように配された請求項1〜5のいずれか1項に記載の電動送風機。
  7. 排気部の気流排出側のケーシングにリブを設けた請求項1〜6のいずれか1項に記載の電動送風機。
  8. 排気部の上下方向両端壁の傾斜を、隣り合う案内翼を連結して形成ボリュート室の底面の傾斜と略同一とした請求項1〜7のいずれか1項に記載の電動送風機。
  9. 排気部の上下方向端壁の傾斜を、回転軸の長手方向に対して傾斜させた請求項1〜8のいずれか1項に記載の電動送風機。
  10. 排気部をケーシングの半周部以内に設けた請求項1〜9のいずれか1項に記載の電動送風機。
  11. 隣り合う案内翼を連結して形成ボリュート室の数と、排気部との数を同一にした請求項1〜9のいずれか1項に記載の電動送風機。
  12. 略四角状の排気部の上下方向の壁を、回転軸の長手方向に対して傾斜させ、面積を小さくした電動送風機。
  13. ステータと自在に回転するロータと、前記ロータの回転軸に設けられたインペラと、前記インペラを覆うケーシングを備え、前記ケーシングの外周に、前記インペラにより吸引された気流の一部を排出する小孔形状なる排気部を多数個設けた電動送風機。
  14. ケーシングの外周に、排気部を覆いかつ空気風の下流側に開口を有するモータカバーを設けた請求項1〜13のいずれか1項に記載の電動送風機。
  15. ケーシングの外周に、排気部を覆いかつステータ側に開口を有するモータカバーを設けるとともに、前記モータカバーは、排気部と対向した位置にスクロール形状の羽根を有する請求項14項記載の電動送風機。
  16. 塵埃を捕集する集塵室を備え、請求項1〜15のいずれか1項に記載の電動送風機を内蔵した電気掃除機。
JP2002274546A 2002-09-20 2002-09-20 電動送風機及びそれを用いた電気掃除機 Pending JP2004108317A (ja)

Priority Applications (14)

Application Number Priority Date Filing Date Title
JP2002274546A JP2004108317A (ja) 2002-09-20 2002-09-20 電動送風機及びそれを用いた電気掃除機
CNB03158988XA CN1311167C (zh) 2002-09-20 2003-09-18 电动风机及使用该风机的电动吸尘器
AT03021203T ATE382121T1 (de) 2002-09-20 2003-09-18 Elektrisches gebläse und damit ausgerüsteter staubsauger
ES03021203T ES2297084T3 (es) 2002-09-20 2003-09-18 Soplador electrico y aspiradora provista del mismo.
EP06018585A EP1736670B1 (en) 2002-09-20 2003-09-18 Electric blower and vacuum cleaner using the same
EP06018586A EP1731767A3 (en) 2002-09-20 2003-09-18 Electric blower and vacuum cleaner using the same
DE60325790T DE60325790D1 (de) 2002-09-20 2003-09-18 Elektrisches Gebläse und damit ausgerüsteter Staubsauger
ES06018585T ES2320795T3 (es) 2002-09-20 2003-09-18 Soplador electrico y aspirador provisto del mismo.
DE60318286T DE60318286T2 (de) 2002-09-20 2003-09-18 Elektrisches Gebläse und damit ausgerüsteter Staubsauger
EP03021203A EP1400699B1 (en) 2002-09-20 2003-09-18 Electric blower and vacuum cleaner using the same
DK03021203T DK1400699T3 (da) 2002-09-20 2003-09-18 Elektrisk blæser og stövsuger der bruger den
AT06018585T ATE420293T1 (de) 2002-09-20 2003-09-18 Elektrisches gebläse und damit ausgerüsteter staubsauger
CNU032078994U CN2704707Y (zh) 2002-09-20 2003-09-19 电动风机及使用该风机的电动吸尘器
US10/664,975 US7416384B2 (en) 2002-09-20 2003-09-22 Electric blower and vacuum cleaner using same

Applications Claiming Priority (1)

Application Number Priority Date Filing Date Title
JP2002274546A JP2004108317A (ja) 2002-09-20 2002-09-20 電動送風機及びそれを用いた電気掃除機

Publications (1)

Publication Number Publication Date
JP2004108317A true JP2004108317A (ja) 2004-04-08

Family

ID=32270986

Family Applications (1)

Application Number Title Priority Date Filing Date
JP2002274546A Pending JP2004108317A (ja) 2002-09-20 2002-09-20 電動送風機及びそれを用いた電気掃除機

Country Status (1)

Country Link
JP (1) JP2004108317A (ja)

Cited By (6)

* Cited by examiner, † Cited by third party
Publication number Priority date Publication date Assignee Title
JP2007002769A (ja) * 2005-06-24 2007-01-11 Hitachi Appliances Inc 電動送風機及びこれを備えた電気掃除機
JP2007002770A (ja) * 2005-06-24 2007-01-11 Hitachi Appliances Inc 電動送風機及びこれを備えた電気掃除機
CN100432449C (zh) * 2005-01-19 2008-11-12 乐金电子(天津)电器有限公司 离心式风扇
JP2012193679A (ja) * 2011-03-17 2012-10-11 Mitsubishi Electric Corp 電動送風機
JP2019094825A (ja) * 2017-11-22 2019-06-20 日立アプライアンス株式会社 電動送風機及びそれを搭載した電気掃除機
CN113446264A (zh) * 2020-03-26 2021-09-28 日立环球生活方案株式会社 风机和洗衣机

Citations (6)

* Cited by examiner, † Cited by third party
Publication number Priority date Publication date Assignee Title
JPH0584169A (ja) * 1991-09-26 1993-04-06 Matsushita Electric Ind Co Ltd 電動送風機
JPH11113809A (ja) * 1997-10-08 1999-04-27 Matsushita Electric Ind Co Ltd 電気掃除機
JP2001003898A (ja) * 1999-06-23 2001-01-09 Sanyo Electric Co Ltd 電動送風機及びそれを用いた電気掃除機
JP2001012395A (ja) * 1999-06-25 2001-01-16 Sanyo Electric Co Ltd 電動送風機
JP2001271794A (ja) * 2000-03-28 2001-10-05 Matsushita Electric Ind Co Ltd 電動送風機とそれを用いた電気掃除機
JP2001340272A (ja) * 2000-03-31 2001-12-11 Sanyo Electric Co Ltd 電気掃除機

Patent Citations (6)

* Cited by examiner, † Cited by third party
Publication number Priority date Publication date Assignee Title
JPH0584169A (ja) * 1991-09-26 1993-04-06 Matsushita Electric Ind Co Ltd 電動送風機
JPH11113809A (ja) * 1997-10-08 1999-04-27 Matsushita Electric Ind Co Ltd 電気掃除機
JP2001003898A (ja) * 1999-06-23 2001-01-09 Sanyo Electric Co Ltd 電動送風機及びそれを用いた電気掃除機
JP2001012395A (ja) * 1999-06-25 2001-01-16 Sanyo Electric Co Ltd 電動送風機
JP2001271794A (ja) * 2000-03-28 2001-10-05 Matsushita Electric Ind Co Ltd 電動送風機とそれを用いた電気掃除機
JP2001340272A (ja) * 2000-03-31 2001-12-11 Sanyo Electric Co Ltd 電気掃除機

Cited By (7)

* Cited by examiner, † Cited by third party
Publication number Priority date Publication date Assignee Title
CN100432449C (zh) * 2005-01-19 2008-11-12 乐金电子(天津)电器有限公司 离心式风扇
JP2007002769A (ja) * 2005-06-24 2007-01-11 Hitachi Appliances Inc 電動送風機及びこれを備えた電気掃除機
JP2007002770A (ja) * 2005-06-24 2007-01-11 Hitachi Appliances Inc 電動送風機及びこれを備えた電気掃除機
JP2012193679A (ja) * 2011-03-17 2012-10-11 Mitsubishi Electric Corp 電動送風機
JP2019094825A (ja) * 2017-11-22 2019-06-20 日立アプライアンス株式会社 電動送風機及びそれを搭載した電気掃除機
CN113446264A (zh) * 2020-03-26 2021-09-28 日立环球生活方案株式会社 风机和洗衣机
CN113446264B (zh) * 2020-03-26 2024-03-08 日立环球生活方案株式会社 风机和洗衣机

Similar Documents

Publication Publication Date Title
JP2003139094A (ja) 電気掃除機用電動送風機及びこれを用いた電気掃除機
CN116391080A (zh) 电动风机和具有它的电吸尘器
CN101608630B (zh) 电动鼓风机及具备该电动鼓风机的电动吸尘器
CN100575714C (zh) 电动鼓风机
JP2004108317A (ja) 電動送風機及びそれを用いた電気掃除機
JPH1026099A (ja) 電動送風機
JP3581301B2 (ja) 電動送風機
EP3643925A1 (en) Electric air blower, electric vacuum cleaner, and hand drier device
JPH11125198A (ja) 電動送風機
CN100390424C (zh) 电动风机及使用该电动风机的吸尘器
JPH1068397A (ja) 電動送風機
JP4140330B2 (ja) 電動送風機及びそれを用いた電気掃除機
JP4029333B2 (ja) 電動送風機
JP2007192034A (ja) 電動送風機及びそれを用いた電気掃除機
JPH11125197A (ja) 電動送風機
JP2001271794A (ja) 電動送風機とそれを用いた電気掃除機
JP7795026B2 (ja) 電動送風機、及び、それを備えた電気掃除機
JP2007146746A (ja) 電動送風機及びそれを用いた電気掃除機
JP2004169592A (ja) 電動送風機及びそれを用いた電気掃除機
WO2019176625A1 (ja) 電動送風機、電気掃除機およびエアタオル
CN223104879U (zh) 一种大流量风机结构
JP2681973B2 (ja) 電動送風機
JPH11173297A (ja) 電気掃除機
JP2026007783A (ja) 電動送風機及びそれを備えた電気掃除機
JP2005147076A (ja) 電動送風機及びそれを用いた電気掃除機

Legal Events

Date Code Title Description
A621 Written request for application examination

Free format text: JAPANESE INTERMEDIATE CODE: A621

Effective date: 20041216

RD01 Notification of change of attorney

Free format text: JAPANESE INTERMEDIATE CODE: A7421

Effective date: 20050707

A977 Report on retrieval

Free format text: JAPANESE INTERMEDIATE CODE: A971007

Effective date: 20070807

A131 Notification of reasons for refusal

Free format text: JAPANESE INTERMEDIATE CODE: A131

Effective date: 20070821

A02 Decision of refusal

Free format text: JAPANESE INTERMEDIATE CODE: A02

Effective date: 20071218