JP4635145B2 - コンフォーカル顕微鏡及び膜厚測定装置 - Google Patents

コンフォーカル顕微鏡及び膜厚測定装置 Download PDF

Info

Publication number
JP4635145B2
JP4635145B2 JP2004076276A JP2004076276A JP4635145B2 JP 4635145 B2 JP4635145 B2 JP 4635145B2 JP 2004076276 A JP2004076276 A JP 2004076276A JP 2004076276 A JP2004076276 A JP 2004076276A JP 4635145 B2 JP4635145 B2 JP 4635145B2
Authority
JP
Japan
Prior art keywords
light
slit
film thickness
scanning
sample
Prior art date
Legal status (The legal status is an assumption and is not a legal conclusion. Google has not performed a legal analysis and makes no representation as to the accuracy of the status listed.)
Expired - Fee Related
Application number
JP2004076276A
Other languages
English (en)
Other versions
JP2005266084A (ja
Inventor
治彦 楠瀬
直樹 粟村
Current Assignee (The listed assignees may be inaccurate. Google has not performed a legal analysis and makes no representation or warranty as to the accuracy of the list.)
Lasertec Corp
Original Assignee
Lasertec Corp
Priority date (The priority date is an assumption and is not a legal conclusion. Google has not performed a legal analysis and makes no representation as to the accuracy of the date listed.)
Filing date
Publication date
Application filed by Lasertec Corp filed Critical Lasertec Corp
Priority to JP2004076276A priority Critical patent/JP4635145B2/ja
Publication of JP2005266084A publication Critical patent/JP2005266084A/ja
Application granted granted Critical
Publication of JP4635145B2 publication Critical patent/JP4635145B2/ja
Anticipated expiration legal-status Critical
Expired - Fee Related legal-status Critical Current

Links

Images

Landscapes

  • Length Measuring Devices By Optical Means (AREA)
  • Microscoopes, Condenser (AREA)

Description

本発明は試料等を撮像するコンフォーカル顕微鏡に関する。
従来のコンフォーカル顕微鏡では、1本のスリットを透過した光が試料に対して照明され、試料からの反射光は、1次元CCD(Charge−Coupled Device)により検出される構成を採用している(例えば、特許文献1)。従来のコンフォーカル顕微鏡では、一本のスリットを透過した光のみが試料に対して照明されるため、光の使用効率が低いという問題点があった。その結果、充分な輝度信号を得るために長時間露光が必要となるので、撮像時間が長くなるという問題点もあった。
この問題点を解決するために、マルチスリット、シリンドリカルレンズ等を用いて複数本のスリット光を試料に照明する装置が開示されている(例えば、特許文献2、特許文献3、特許文献4)。また、本件の出願人により、マイクロデバイスミラーを用いて輝線を走査するコンフォーカル顕微鏡が開示されている(特許文献5)。これらの装置では複数のスリット光をCCD等のエリアセンサにより検出しているため、撮像時間を短縮することが可能になる。
しかし、従来のコンフォーカル顕微鏡には以下に示す問題点があった。一般にCCDエリアセンサでは各画素で検出した光に基づいて電荷を蓄積させている。全ての画素に対して電荷を取り出さなければ、蓄積された電荷を放出することができないため、次の検出を行うことができない。CCD上では照明領域の光学的な広がりによって、非照明領域と共役な部分にも電荷が蓄積されているので、例えば、スリットの開口部以外の遮光部に対応する画素についても、電荷を取り出す必要がある。コンフォーカル光学系において、試料の照明領域の信号は読み出す必要があるが、非照明領域に対応する画素については電荷を読み出しても撮像に寄与しない。
特開平10−104523号公報 特表2000−506634号公報 特表平6−505096号公報 特開2001−311874号公報 特開2003−167197号公報
従って、従来のコンフォーカル顕微鏡では撮像に寄与しない遮光部に対応する画素についても信号電荷の読み出しを行っているため、撮像時間の短縮に限界が生じるという問題点があった。
本発明は上記の問題点を鑑みてなされたものであり、撮像時間を短縮することができるコンフォーカル顕微鏡及び簡易な構成で膜厚を測定することができる膜厚測定装置及び膜厚測定方法を提供することを目的とする。
本発明の第1の態様にかかるコンフォーカル顕微鏡は、光源(例えば、本発明の実施の形態にかかる光源11)と、前記光源からの光をライン状に光に変換する光変換手段(例えば、本発明の実施の形態にかかるマルチスリット14)と、前記光変換手段を移動してライン状の光を走査する走査手段(例えば、本発明の実施の形態にかかるVCM16)と、前記光変換手段と共役な位置に設置された試料上に前記ライン状の光を結像し、前記試料からの透過光又は反射光を結像面に結像する結像手段(例えば、本発明の実施の形態にかかる対物レンズ22)と、前記結像面に配置され、アレイ状に配置された複数の画素を有する2次元アレイ光検出器(例えば、本発明の実施の形態にかかるCCDカメラ28)と、前記走査手段の走査により移動する前記光変換手段に設けられ、前記光源からの光を透過する透過パターンと、前記ライン状の光が前記試料を反射又は透過して前記2次元アレイ光検出器の受光面に照射される照明領域に対応する画素列を前記光変換手段の位置に応じて記憶する画素列記憶手段(例えば、本発明の実施の形態にかかる画素列記憶91)と、前記透過パターンを透過した光に基づいて、前記走査手段の走査によって移動した前記光変換手段の位置を検出する位置検出手段と、前記位置検出手段での検出結果と前記画素列記憶部に記憶されている画素列とに基づいて、前記2次元アレイ光検出器において前記照明領域以外の非照明領域に対応する複数の画素列の信号を蓄積させ、まとめて取り出すよう制御する制御手段(例えば、本発明の実施の形態にかかるCCDカメラ制御部94)とを備えるものである。これにより、撮像時間を短縮することができる。
本発明の第3の態様にかかるコンフォーカル顕微鏡は上述のコンフォーカル顕微鏡において、前記2次元アレイ検出器の出力信号に基づいて、前記画素列記憶手段により記憶された画素列が前記照明領域となるようフィードバックするものである。これにより、照明領域を所定の画素列に正確に配置することができ、正確な撮像を行うことができる。
本発明の第4の態様にかかるコンフォーカル顕微鏡は上述のコンフォーカル顕微鏡において、前記光変換手段の前後に移動可能に設けられ、前記光変換手段をバイパスする光学手段(例えば、本発明の実施の形態にかかるプリズム15)をさらに備え、前記光学手段が前記光変換手段の前後に移動された状態では、前記制御手段が全ての画素列に対応する信号のそれぞれを読み出すよう前記2次元アレイ光検出器を制御することを特徴とするものである。これにより、簡易な構成でコンフォーカル画像及びノンコンフォーカル画像をそれぞれ撮像することができる。
本発明の第5の態様にかかるコンフォーカル顕微鏡は上述のコンフォーカル顕微鏡において、前記光変換手段によって変換されたライン状の光を屈折させる2群レンズ(例えば、本発明の実施の形態にかかる2群レンズ19、25)をさらに備え、前記2群レンズの間隔を調整することにより倍率を調整することを特徴とするものである。これにより簡易な構成で倍率を調整することができ、像倍率を容易に一致させることができる。
本発明の第6の態様にかかるコンフォーカル顕微鏡は上述のコンフォーカル顕微鏡において、前記2次元アレイ検出器がCCDカメラであり、前記非照明領域に対応する複数の画素列の信号電荷を蓄積して、まとめて取り出すことを特徴とするものである。簡易な構成で撮像時間を短縮することができる。
本発明の第7の態様にかかるコンフォーカル顕微鏡は上述のコンフォーカル顕微鏡において、前記光変換手段が複数のスリットを有するマルチスリットであることを特徴とするものである。これにより。簡易な構成で撮像時間を短縮することができる。
本発明の第8の態様にかかるコンフォーカル顕微鏡は上述のコンフォーカル顕微鏡において、前記走査手段を走査しない状態で、透明膜が形成された前記試料上における結像面の高さを変位して、焦点高さを走査する焦点高さ走査手段と、前記焦点高さ走査手段により走査された結像面において、前記照明領域に対応する画素列で検出される光に基づく信号を前記結像面の高さと対応付けて記憶する測定データ記憶手段(例えば、本実施の形態における測定データ記憶部101)と、前記焦点高さを変数とし、前記測定データ記憶部により前記透明膜の光学的な膜厚を算出するために参照される参照関数を記憶する参照関数記憶手段(例えば、本実施の形態における参照関数記憶部102)と、前記参照関数と前記測定データに基づいて最小二乗法により、前記透明膜の光学的な膜厚を算出する算出手段(例えば、本実施の形態における変数算出部105)とをさらに有するものである。これにより、簡易な構成で膜厚を測定することができ、新たなコンフォーカル顕微鏡のアプリケーションを追加することができる。
本発明の第11の態様にかかるコンフォーカル顕微鏡は、上述のコンフォーカル顕微鏡において、前記算出手段では、前記測定データの前記透明膜の表面で反射された表面反射光の成分と前記透明膜と前記試料との界面で反射された界面反射光との成分とに分離することにより光学的な膜厚が算出されるものである。これにより、透明膜の光学的な膜厚を正確に測定することができる。
本発明の第12の態様にかかるコンフォーカル顕微鏡は、上述のコンフォーカル顕微鏡において、前記透明膜の屈折率を記憶する屈折率記憶部(例えば、本実施の形態における定数記憶部103)をさらに備え、前記屈折率により、前記透明膜の絶対的な膜厚を算出するものである。これにより、透明膜の絶対的な膜厚を算出することができる。
また、上述のコンフォーカル顕微鏡において、前記照明領域に対応する画素列の信号と、まとめて取り出された前記非照明領域に対応する画素列との信号の差を算出してもよい。
本発明の第13の態様にかかる膜厚測定方法は、光源と、前記光源からの光をライン状に光に変換する光変換手段と、前記光変換手段を移動してライン状の光を走査する走査手段と、前記光変換手段と共役な位置に設置された透明な薄膜を有する試料上に前記ライン状の光を結像し、前記試料からの反射光を結像面に結像する結像手段と、前記結像面に配置され、アレイ状に配置された複数の画素を有する2次元アレイ光検出器と、前記走査手段の走査により移動する前記光変換手段に設けられ、前記光源からの光を透過する透過パターンと、前記透過パターンを透過した光に基づいて、前記走査手段の走査によって移動した前記光変換手段の位置を検出する位置検出手段と、前記薄膜の表面で反射した表面反射光又は前記薄膜と前記試料との界面で反射した界面反射光とが前記2次元アレイ光検出器の受光面に照射される照明領域に対応する画素列を前記光変換手段の位置に応じて記憶する画素列記憶手段と、前記位置検出手段での検出結果と前記画素列記憶部に記憶されている画素列とに基づいて、前記2次元アレイ光検出器において前記照明領域以外の非照明領域に対応する複数の画素列の信号を蓄積させ、まとめて取り出すよう制御する制御手段と、を用いて前記透明な薄膜の光学的な膜厚を測定する膜厚測定方法であって、前記試料上において結像面の高さを変位して、前記薄膜の表面から前記薄膜と前記試料の界面まで焦点高さを走査する焦点高さ走査ステップと、前記焦点高さ走査ステップにより走査された結像面において、前記照明領域に対応する画素列で検出される光に基づく信号を前記結像面の高さと対応付けて測定データを記憶する測定データ記憶ステップと、前記焦点高さを変数とし、前記測定データ記憶部により前記薄膜の光学的な膜厚を求めるために参照される参照関数と前記測定データとに基づいて最小二乗法により、前記薄膜の光学的な膜厚を算出する算出ステップとを有するものである。
本発明の第15の態様にかかる膜厚測定方法は、上述の膜厚測定方法において、前記算出ステップでは、前記測定データを前記表面反射光の成分と前記界面反射光の成分とに分離することにより光学的な膜厚が算出されるものである。これにより、透明膜の光学的な膜厚を正確に測定することができる。
また、上述の膜厚測定方法において、前記照明領域に対応する画素列の信号と、まとめて取り出された前記非照明領域に対応する画素列との信号の差を算出してもよい。
本発明によれば、撮像時間を短縮することができるコンフォーカル顕微鏡及び簡易な構成で膜厚を測定することができる膜厚測定装置及び膜厚測定方法を提供することができる。
以下に、本発明を適用可能な実施の形態が説明される。以下の説明は、本発明の実施形態を説明するものであり、本発明が以下の実施形態に限定されるものではない。説明の明確化のため、以下の記載は、適宜、省略及び簡略化がなされている。又、当業者であれば、以下の実施形態の各要素を、本発明の範囲において容易に変更、追加、変換することが可能であろう。尚、各図において同一の符号を付されたものは同様の要素を示しており、適宜、説明が省略される。
発明の実施の形態1.
本発明にかかるコンフォーカル顕微鏡の構成について図1を用いて説明する。図1はコンフォーカル顕微鏡1の構成を示す図である。11は光源、12はレンズ、13は赤外線カットフィルタ、14はマルチスリット、15はプリズム、16はボイスコイルモータ(以下、VCMとする)17はミラー、19は2群レンズ、20はビームスプリッタ、21はビームスプリッタ、22は対物レンズ、23は試料、24はステージ、25は2群レンズ、26はミラー、27は結像レンズ、28はCCDカメラ、40はレンズ、41は2分割フォトダイオードである。
本実施の形態では、試料23のコンフォーカル画像を撮像するCCDカメラ28及びマルチスリット14の位置を検出するための2分割フォトダイオード41を備えている。光源11からマルチスリット14を透過した光がCCDカメラ28により検出される。
光源11は、例えば白色光源、蛍光励起光源等であり、さらに具体的には、水銀ランプ、ハロゲンランプ等種々の光源を用いることができる。また、発振位相の異なるレーザダイオードを2次元に配列して光源を構成してもよい。発振位相の異なるレーザダイオードを発振させることにより、スペックル(小さな斑点)の発生を抑制することができる。
マルチスリット14は、光源11の近傍に設けられている。マルチスリット14には光を透過するスリットが複数設けられ、光路上に配置される。これにより光源11からの光はライン状の光に変換される。光源11とマルチスリット14の間には、光源11からの光を集光するレンズ12と赤外線をカットする赤外線カットフィルタ13が設けられている。赤外線カットフィルタ13は試料23が加熱されるのを防ぐため、光源11からの赤外線をカットしている。
マルチスリット14はVCM16に取り付けられ、直線移動可能になっている。このVCM16を駆動することによって、マルチスリット14は光軸と垂直な方向に移動する。そして、マルチスリット14はマルチスリット14の設けられているそれぞれのスリットと垂直な方向に移動する。VCM16はカメラコントローラ29からの信号により駆動される。そして、VCM16は、例えばPID制御により所定の位置にマルチスリット14を移動させることができる。
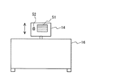
このマルチスリット14の構成について図2及び図3を用いて説明する。図2はVCM16に接続されたマルチスリット14の構成を示す図である。図3はマルチスリット14の構成を示す平面図である。
図2に示すようにVCM16に接続されたマルチスリット14は光源11からの光をライン状の光に変換するためのスリット部51が設けられている。スリット部51の横には2分割フォトダイオード41に検出される光を透過する矩形パターン52が設けられている。このスリット部51と矩形パターン52が設けられているマルチスリット14はVCM16を駆動することによって矢印の方向に移動する。
このマルチスリット14について図3を用いて詳細に説明する。マルチスリット14の中央にはスリット部51が設けられている。スリット部51はライン状の光を生成するためのスリット53とスリット53との間に設けられて遮光部54により構成される。スリット部51ではスリット53に入射した光のみが透過し、遮光部54に入射した光は遮られる。したがって、光源11からの光がライン状の光に変換される。マルチスリット14はガラス等の透明基板にフォトリソグラフィー工程で遮光パターンを設けることにより形成される。
スリット53と遮光部54とはそれぞれ一定の幅で繰り返し設けられており、周期的な空間パターンが形成される。Y方向の配列された複数のスリット53のそれぞれはX方向に長いスリット光を生成する。スリット53と遮光部54との比は例えば、1:7又は1:15である。すなわち、スリット部51に入射した光の1/8又は1/16が使用される。マルチスリット14を透過したスリット状の照明光を試料上に投影して、VCM16によりマルチスリット14をY方向に走査することで試料全面を順次照明する。スリット53の間隔については、試料23の反射光がCCDカメラ28に入射された際に、各スリット53に対応する反射光間で互いに影響を及ぼさない程度の間隔とする。
スリット部51と異なる位置に設けられた矩形パターン52は、2分割フォトダイオード41に受光される光を透過する。図3では2分割フォトダイオード41におけるそれぞれのフォトダイオードの受光面45a、45bをマルチスリット14上に投影して図示している。2分割フォトダイオード41の受光面45a及び受光面45bのそれぞれは矩形パターン52を通過した光を検出することができるように配置される。すなわち、矩形パターン52からの光は2分割フォトダイオード41の受光面45aと受光面45bの境界線をまたぐように投影される。そして、マルチスリット14がY方向に移動すると受光面上で矩形パターン52からの光が移動して、受光面45a、受光面45bに受光される光量が変化する。この2分割フォトダイオード41の出力の比に基づいてマルチスリット14の位置が検出される。すなわち、マルチスリット14がY方向に移動することで、受光面45a又は受光面45bの一方に入射する光量が多くなり、他方が少なくなる。この2分割フォトダイオード41の出力信号の差分により、マルチスリット14の位置が検出される。
マルチスリット14のスリット53を通過した光は、ミラー17によって試料23の方向に反射される。ミラー17で反射した光は2群レンズ19により集光され、ビームスプリッタ20、21を通過して対物レンズ22に入射する。対物レンズ22に入射された光は集光され試料23上に結像する。VCM16によってマルチスリット14を移動させることにより、試料23上の任意の位置を照明することができる。試料23はマルチスリット14と共役な位置に配置される。
ステージ24はXYステージであり、試料23の任意の点を観察するため水平方向(XY方向)に移動することができる。さらに、ステージ24は試料の任意の高さにおける画像を撮像するため、上下方向(Z方向)に移動可能になっている。Z方向にステージ24を移動することにより、試料23の任意の高さにおける2次元画像を撮像することができる。
試料23からの反射光は再度、対物レンズ22により集光された後、ビームスプリッタ21により反射される。これにより、試料23に入射する入射光と試料23で反射される反射光とを分離することができる。ビームスプリッタ21により反射された光は2群レンズ25により屈折され、ミラー26に入射する。ミラー26に入射した光はCCDカメラ28の方向に反射される。対物レンズとなる2群レンズ25の間隔を調整することにより、焦点距離を微調整することができるのでスリットとCCDカメラの像倍率を容易に一致させることができる。照明側に配置された2群レンズ19と像面側に配置された2群レンズ25とを同一設計とし、その間隔を調整することによって倍率を調整できる構造としている。
CCDカメラ28は受光素子がアレイ状に配置された2次元アレイ光検出器である。CCDカメラ28は各受光素子により検出された光の強度に基づいて電荷を蓄積し、この電荷を順次転送することにより光強度分布を出力する。CCDカメラ28は試料を透過した照明光が当たっている照明領域の画素データだけを読み取り、照明光が当たっていない非照明領域の画素のデータは高速に転送して読み捨て、利用しない。CCDカメラ28は画素が受光した光に基づく光強度信号をカメラコントローラ29に出力する。これにより、コンフォーカル画像を取得することができる。
VCM16によりマルチスリット14を移動して、試料23上の照明領域を走査する。試料23の全体を照明することにより、CCDカメラ上の全ての画素に対応するデータの取得が完了したら、カメラコントローラ29に接続された処理装置(図示せず)によりこれらのデータを合成して2次元の画像を形成する。この2次元画像は処理装置に記憶されるとともに、ディスプレイ上に表示される。これにより、試料23の画像であるスライス像を撮像することができる。ステージ24を上下方向(Z方向)に移動してこの画像の撮像を繰り返す。そして処理装置により複数の画像を処理することにより、共焦点3次元画像を撮像することができる。
また、マルチスリット14の矩形パターン52を透過した光はミラー17、2群レンズ19を介してレンズ40に入射する。レンズ40は2分割フォトダイオード41の受光面上で矩形パターン52を透過した光が適当なスポットになるように光を屈折する。
2分割フォトダイオード41に設けられた2つのフォトダイオードはマルチスリット14の矩形パターン52を透過した光をそれぞれ検出して、検出光の強度に基づく信号をカメラコントローラ29に出力する。カメラコントローラ29は2分割フォトダイオードの出力の比に基づいてマルチスリット14の位置を算出し、マルチスリット14が定められた位置に配置されているかを判断する。マルチスリット14が所定の位置に配置されている場合は、CCDカメラ28により撮像する。マルチスリット14が定められた位置に配置されていない場合はVCM16を駆動して、マルチスリット14を所定の位置に移動する。そして、その位置で撮像を行う。
さらに本発明では光源11からの光がマルチスリット14をバイパスすることができるように2つのプリズム15が設けられている。2つのプリズム15はマルチスリット14の前後に移動可能に設けられている。プリズム15を光路上に移動させることにより、光源11からの光がマルチスリット14をバイパスし、試料23の全面を照明することができる。すなわち、マルチスリット14の前に配置されたプリズム15は光源11からの光がマルチスリット14に入射されないように光を屈折する。このプリズム15により屈折した光はマルチスリット14の後に配置されたプリズム15により元の光路に戻る。そしてマルチスリット14をバイパスされた光が試料23に照射される。これにより、簡易な光学系でマルチスリットをバイパスすることができる。もちろん、マルチスリット14をバイパスするための構成はプリズム15に限らず、ミラーなどの光学部品であってもよい。さらにはVCM16を駆動して、光路上からマルチスリット14を外してもよい。これにより、光源11からの光は面照明となり、通常の顕微鏡として使用することができる。
次にCCDカメラ28における画像処理について図4を用いて説明する。図4(a)はCCDカメラ28の受光面並びにその受光面に検出される光の強度及び出力信号を模式的に示した図である。図4(b)は2分割フォトダイオード41の受光面の構成を模式的に示した図である。ここではスリット53と遮光部54の幅の比が1:7のマルチスリット14を使用している。
CCDカメラ28の受光面80には複数の画素81がアレイ状に配列されている。実際には例えば、横1280×縦1024の画素が配列されているが図4(a)では説明の簡略化のため横(X方向)15×縦(Y方向)16に省略して図示している。まず、図4(a)に示すように下から4列目の画素列及び下から12列目の画素列にスリット光が入射する場合を考える。すなわち、図4の受光面80の左側に図示されるようにマルチスリット14からの光の強度分布88が下から4列目の画素列及び下から12列目の画素列に対応する位置がピークとなっている場合を考える。このスリット光が入射する下から4列目の画素列及び下から12列目の画素列を照明領域84とし、その他の画素列を非照明領域83とする。すなわち、CCDカメラの受光面において試料で反射されたスリット光が照射された領域に対応する画素列を照明領域84とし、それ以外の領域を非照明領域83とする。従って、照明領域84に対応する画素列の間には非照明領域83に対応する画素列が配置される。なお、非照明領域には完全にスリット光が照射されない領域のみにかぎらず、若干のスリット光が入射する領域も含むものとする。
照明領域84と非照明領域83との割合はマルチスリット14のスリット53と遮光部54と同じ1:7となる。従って、照明領域84は1画素列となるのに対して照明領域間の非照明領域83は7画素列となる。また、マルチスリット14に対応して照明領域84となる画素列の間には7画素列分の非照明領域83が配置される。照明領域84では非照明領域83に比べて入射光の強度が高いため、CCDカメラ28の出力信号89は図4の受光面80の右側に図示されるように照明領域84に対応する画素列だけ高くなる。
このようにCCDカメラ28の受光面80に光が照射されるときのマルチスリット14の位置を図4(b)に示す。図4は2分割フォトダイオード41の受光面の構成を模式的に示す図である。下から4列目の画素列及び下から12列目の画素列が照明領域84となる状態では、2分割フォトダイオード41の中央に矩形パターン52からの光が入射する。受光面45aに入射した光47aに対応した出力信号をA、受光面45bに入射した光47bに対応した出力信号をBとするとA=Bとなる。このような配置においてマルチスリット14が静止した状態で、スリット光がCCDカメラ28により検出される。
この位置におけるスリット光の検出が終了したら、VCM16によりマルチスリット14をY方向(図5における下方向)に移動する。図5に図4の状態からマルチスリット14を移動した状態の受光面80の構成を示す。図5に示すようにマルチスリット14の移動により、下から3列目の画素列及び下から11列目の画素列が照明領域84となる。すなわち、図4と図5では照明領域84が1画素列ずれている。従って、CCDカメラ28に入射した光の強度分布88のピーク及びCCDカメラ28の出力信号89の高い画素列も図4に示す構成から1画素列ずれる。
この状態における2分割フォトダイオード41の受光面は図5(b)に示す。マルチスリット14が移動したため矩形パターン52の位置もマルチスリット14と連動して移動する。従って、図4に示す状態では2分割フォトダイオード41の中央に矩形パターン52からの光が受光されていたが、図5に示す状態では受光面45bに入射する光47bが受光面45aに入射する光47aに入射する光よりも面積が大きくなる。これにより、受光面45bに入射する光47bの出力信号Bは受光面45aに入射する光47aの出力信号Aよりも高くなる。従って、出力信号B>出力信号Aとなり、マルチスリット14の移動が検出される。この出力信号Aと出力信号Bとの比はマルチスリット14の位置に応じて変化する。この出力信号Aと出力信号Bの比に基づいて、マルチスリット14の位置が検出される。
このように照明領域84を1画素列ずつずらしていき、検出を行う。それぞれの画素列に対応したマルチスリット14の位置は出力信号Aと出力信号Bの差分に基づいて検出される。具体的には(A−B)/(A+B)によりマルチスリット14の位置が検出される。カメラコントローラ29にはそれぞれの画素列が照明領域84になるマルチスリット14の位置に対応付けられた2分割フォトダイオード41の出力比がそれぞれ記憶されている。さらにカメラコントローラ29にはその出力比に対応してVCM16を駆動するための駆動信号が記憶されている。すなわち、カメラコントローラ29は各画素列を照明領域とするよう、それぞれの画素列に対応するスリット位置と対応付けて2分割フォトダイオードの出力比及びVCM16の駆動信号が記憶されている。
カメラコントローラ29はVCM16に駆動信号を出力する。これにより、VCM16が駆動し、マルチスリット14が所定の位置に移動する。この位置でマルチスリット14を固定して、CCDカメラ28で試料23からの反射光の検出を行う。次に、照明領域84が1画素列ずれるように駆動信号を出力してVCM16を駆動する。そして、マルチスリット14を移動させ、隣の画素列が照明領域となった状態で反射光の検出を行う。これを繰り返して全画素列に対応するスリット光の検出を行う。ここでは、開口部と遮光部の比が1:7のマルチスリット14を用いているためマルチスリット14の移動を8回繰り返して、試料23からの反射光の検出を行う。全ての画素列に対応する検出が完了したらカメラコントローラ29に接続された処理装置により、2次元画像を生成する。
次に、CCDカメラ28で非照明領域83に対応する画素列の信号を読み捨てる手順について図6を用いて説明する。図6はCCDカメラ28の原理的構成図である。CCDカメラ28はインターライン型のエリアセンサである。
図6に示されるように、CCDカメラ28は、水平及び垂直方向に所定ピッチで配列された複数の画素81と、各列の画素81の一側に設けた垂直方向に延びるCCD構造の垂直転送レジスタ86と、各垂直転送レジスタ86の一端に設けたCCD構造の水平転送レジスタ85とを有している。そして、各画素81にその受光量に応じて生じた信号電荷を各々対応する垂直転送レジスタ86に転送する。これら各垂直転送レジスタ86の信号電荷を水平転送レジスタ85へと転送する。垂直転送レジスタ86及び水平転送レジスタ85では信号電荷をバケツリレー方式により順次、転送する。CCDセンサでは、水平転送レジスタ85に蓄積された信号電荷を取り出すことにより、電荷結合素子に蓄積された電荷が放出される。
CCDエリアセンサでは、通常、全画素に対応するデータが一旦、垂直転送レジスタ86に送られる。垂直転送レジスタ86に蓄積された信号電荷は水平転送レジスタ85へ転送される。垂直転送レジスタ86において1列分の信号電荷が水平転送レジスタ85に転送されたら、水平転送レジスタ85の信号電荷を取り出す。すなわち、各垂直転送レジスタ86の信号電荷を1列分、水平転送レジスタ85に転送した後、水平転送レジスタ85において信号電荷が転送され、各画素の信号電荷が読み出される。これを繰り返し全画素の信号電荷を取り出す。この方式では、非照明領域83に対応する画素においても1列毎に水平転送レジスタで転送される。従って、転送速度が遅くなり、測定時間が長時間になってしまう。
本発明では、転送速度を上げるため、非照明領域83に対応する画素列の信号電荷を水平転送レジスタ85に蓄積してから、まとめて取り出すようにしている。すなわち、照明領域84に対応する画素列では、水平転送レジスタにおいて1列分の信号電荷を転送して読み出すようにしている。そして、非照明領域83に対応する画素列では水平転送レジスタにおいて複数の画素列に対応する信号電荷を蓄積して、まとめて取り出すようにしている。CCDカメラ28はこのようにして取り出された信号電荷に基づく信号をカメラコントローラ29に出力する。従って、CCDカメラ28は照明領域に対応する信号電荷と非照明領域に対応する信号電荷を交互に取り出し、カメラコントローラ29に出力する。すなわち、照明領域84に対応する信号電荷の次には非照明領域83に対応する信号電荷が取り出され、さらにその次には照明領域84に対応する信号電荷が取り出される。そして、非照明領域83においては、複数の画素列の信号電荷が1列分の信号電荷としてまとめて取り出される。
この転送方式について詳細に説明する。図6では最下列が照明領域84に対応する画素列である。そして、下から2〜8列目が非照明領域83に対応する画素列である。さらに、下から9列目の画素列が照明領域84に対応する画素列であり、照明領域84と非照明領域83はこれを繰り返すよう投影される。
まず照明領域84に対応する1列分の画素を垂直転送レジスタ86により、水平転送レジスタ85に転送する。水平転送レジスタ85では垂直転送レジスタ86から転送された1列分の画素に対応する信号電荷を順次転送して、取り出す。次に、垂直転送レジスタ86により、下から2列目の非照明領域83に対応する画素列の信号電荷を水平転送レジスタ85に送り出す。従来のコンフォーカル顕微鏡におけるCCDエリアセンサでは、この列の信号電荷を水平転送レジスタ85により送り出して、1列毎に信号電荷を読み出す。しかし、非照明領域83に対応する画素列は画像の撮像に寄与しないため、信号電荷を読み出す必要がない。従って、本発明では転送速度を上げるため、2列目の画素列が水平転送レジスタ85に送り出された後、読み出しを行わずに、下から3〜8列目の画素列に対応する信号電荷を垂直転送レジスタ86から水平転送レジスタ85に続けて送り出す。そして、下から3〜8列目の画素列に対して同様に転送していく。
2〜8列目の画素列に対応する信号電荷が水平転送レジスタ85に送り出されたら、水平転送レジスタ85はこの信号電荷をまとめて送り出し、取り出しを行う。2〜7列目の画素列では非照明領域83に対応するため、信号電荷量が少なく電荷結合素子が飽和することがない。従って、受光した光の強度を正確に検出することができる。
2〜8列目の信号電荷の取り出しが終了したら、同様に下から9列目の画素列の信号電荷を垂直転送レジスタ86から水平転送レジスタ85に送り出す。そして、水平転送レジスタ85により転送して、信号電荷を読み出す。これを繰り返して全画素列に対応する信号電荷の転送を行い、電荷を放出する。本発明では非照明領域83に対応する画素列をまとめて取り出しているため、転送時間を短縮することができる。例えば、横1280×縦1024の画素が配列されている場合、従来の1画素列毎に信号電荷を読み出す方式では、1画素列毎に1280の画素を水平転送レジスタ85で送り出す必要があるが、本発明では、非照明領域83に対応する下から2〜8列目の画素列をまとめて水平転送レジスタ85により転送している。これにより、8列の取り出しを2回の取り出しで行うことができる。横1280画素分の転送回数を約1/4に減らすことができ、転送時間を短縮することができる。
このような、転送処理は演算処理回路及びメモリ等を備えたカメラコントローラ29により行うことができる。このカメラコントローラ29の構成について図7を用いて説明する。図7はカメラコントローラ29の構成を示すブロック図である。カメラコントローラ29は各画素列が照明領域となるマルチスリット14の位置をそれぞれ記憶する画素列記憶部部91、VCM16を制御するVCM制御部92、2分割フォトダイオードからの出力によりマルチスリットの位置を検出する位置検出部93及びCCDカメラ28を制御するCCDカメラ制御部94を備えている。
画素列記憶部部91にはそれぞれの画素列が照明領域となるマルチスリット14の位置が予め記憶されている。例えば、図4に示す構成では照明領域84が各画素列に移動するようにマルチスリット14のポジションが8つ記憶されている。すなわち、マルチスリット14のポジションとそのポジションで照明領域84となる画素列が対応付けて記憶されている。これに基づいて、それぞれの画素列が照明領域となるようマルチスリット14を移動することができる。VCM制御部92は画素列記憶部部91に記憶されているマルチスリット14の位置に基づいた駆動信号をVCM16に出力する。そして、この駆動信号によりVCM16が駆動して、マルチスリット14が所定の位置に移動する。マルチスリット14が所定の位置に移動した後、位置検出部93が2分割フォトダイオードの出力によりマルチスリット14が所定の位置に配置されているかを判別する。画素列記憶部部91にはマルチスリット14の位置と2分割フォトダイオードの出力比が対応付けて記憶されており、2分割フォトダイオードの出力に基づいて所定の位置にマルチスリット14が移動しているか否かを判別する。
さらに、画素列記憶部部91にはマルチスリット14の位置とその位置に対応する画素列が記憶されている。すなわち、試料で反射したライン状のスリット光により照明されるCCDカメラ28の受光面上の照明領域84に対応する画素列がVCM16の走査状態に応じて記憶されており、スリット位置とそのスリット位置で照明領域となる画素列が対応付けられている。そして、CCDカメラ制御部94では照明領域となる画素列以外の非照明領域に対応する画素列をまとめて転送するようにCCDカメラ28を制御する。CCDカメラ制御部94ではスリット位置に対応する画素列において各画素に対応する信号電荷を読み出し、スリット位置に対応する画素列以外の画素列では水平転送レジスタに信号電荷を蓄積していく。そして照明領域間の非照明領域に対応する画素列の信号電荷が全て蓄積されたら、信号電荷をまとめて取り出すようにする。これにより、転送時間を短縮することができ、画像の撮像時間を短くすることができる。
上述の処理はカメラコントローラ29のハードウェアまたはソフトウェアにより実行することができる。例えば、カメラコントローラ29は制御プログラムを記憶するためのメモリ及び制御プログラムを実行するためのCPUを備えている。さらにメモリにはマルチスリットの位置とその位置で照明領域となる画素列が対応付けて記憶されている。制御プログラムは1列目の画素列が照明領域となるようマルチスリットを移動するための駆動信号をVCM16に出力する。VCM16はその駆動信号に基づいて駆動し、マルチスリット14を移動させる。2分割フォトダイオード41の出力に基づいてマルチスリット14の位置を検出して、マルチスリット14が所定の位置に移動したかを制御プログラムが判別する。
マルチスリット14が所定の位置に移動していることが確認できたら、カメラコントローラ29の制御プログラムはその位置に対応する画素列以外の画素列について蓄積して取り出すようにCCDカメラ28を制御する。そして、照明領域84となる画素列の信号電荷を読み出し、その画素列と対応付けてフレームメモリに記憶する。
次に、隣の画素列が照明領域となるようにVCM16に駆動信号を出力する。VCM16は駆動信号に基づいて、隣の画素列が照明領域となるようマルチスリット14を移動させる。所定の位置にマルチスリット14が移動したら、再度カメラコントローラ29の制御プログラムはその位置に対応する画素列以外の画素列について蓄積して取り出すようにCCDカメラ28を制御する。そして、照明領域となる画素列の信号電荷を読み出し、その画素列と対応付けてフレームメモリに記憶する。これらの処理を繰り返して、全ての画素の信号がフレームメモリに記憶されたら、カメラコントローラ29に接続された処理装置にデータを転送する。
このように、本発明ではマルチスリットの位置と照明領域となる画素列を対応付けて記憶している。そして非照明領域に対応する画素では複数の画素列で信号電荷をまとめて取り出すようにしている。これにより、転送速度を短縮することができ、画像の撮像時間を短くすることができる。さらに、マルチスリット14にスリット部以外に光を透過するパターンを設け、その光を検出することでマルチスリット14の位置を検出することができる。これにより、所定の画素列を照明領域とすることができ、正確な検出を行うことができる。この画像を繰り返し撮像し、処理装置により合成することで3次元共焦点画像を短時間で撮像することができる。
上述の構成でプリズム15を光路上に挿入したときは、上述の転送処理を行わずに全画素に対応する全ての信号電荷をそれぞれ読み出すようにする。これにより、ノンコンフォーカル画像を撮像することができる。プリズムの位置に応じて転送処理を切り替える切替手段を設けることにより、コンフォーカル画像とノンフォーカル画像を別々に撮像することができる。
さらに本発明では、照明領域がCCDカメラ28の画素列に正確に投影されるようにマルチスリット14の位置を調整することができる。このマルチスリット14を調整する手順について図8を用いて説明する。図8はCCDカメラ28の受光面並びにその受光面に検出される光の強度及び出力信号を模式的に示した図である。
図8では、照明領域84が所定の画素列からずれて2つの画素列にまたがって投影されている状態を示している。すなわち、何らかの要因により照明領域が設定された位置からずれてしまい、正確に1つの画素列に投影されていない状態を示している。例えば、図8に示すように下から4列目の画素列が照明領域となる設定位置からずれて下から3列目と4列目の画素列が照明領域84となってしまった状態を示している。
CCDカメラ28の受光面における光強度分布は図8に示すようにピークが下から3列目の画素列と4列目の画素列の間に配置されている。従って、3列目の画素列と4列目の画素列が照明領域83となっている。照明領域が下から4列目の画素列に投影されるようにマルチスリットの位置を調整する。例えば、マルチスリット14の位置を微調整しながら下から4列目の画素列の光強度を検出する。そして、4列目の画素列が受光した光の強度が極大となる位置でマルチスリット14の位置を固定して、スリット光の検出を行う。これにより、所定の画素列に対して正確にスリット光を投影することができる。次にマルチスリット14を移動して隣の画素列を照明領域とし、スリット光の検出を繰り返し行う。このマルチスリット14の位置の調整とスリット光の検出を繰り返し行うことにより、より精度の高いコンフォーカル画像を撮像することが可能になる。
これにより、照明領域を正確に画素列に投影することができ、画像を精度よく撮像することができる。このようにCCDカメラ28の出力信号に基づいてフィードバックを行いマルチスリット14の位置を調整することにより、正確に所定の画素列に照明領域84を投影することができる。この画像を繰り返し撮像し、処理装置により合成することで3次元共焦点画像を短時間で撮像することができる。
本発明ではマルチスリットを走査する走査手段としてVCM16を用いたが、走査手段はこれに限るものではない。例えば、圧電素子等を用いることができる。また、マルチスリットに矩形パターンを設けて位置検出を行ったが、マルチスリットと連動して移動するパターンであればよい。位置検出のために設けるパターンはこれに限るものではなく、矩形以外の形状で検出を行うことが可能である。また、照明領域に対応する画素列が1列に限らず、2列以上の画素列であってもよい。さらに照明領域と非照明領域との比は任意の値を用いることができる。
また、CCDカメラ28と2分割フォトダイオード41を同じ光源11からの光を検出していたが、CCDカメラ28と2分割フォトダイオード41で異なる光源からの光を検出するようにしてもよい。すなわち、光源11とは異なる位置検出用光源を用意して、この位置検出用光源から矩形パターンを透過した光を2分割フォトダイオードで検出するようにしてもよい。
マルチスリットからの位置検出には2分割フォトダイオードを用いたが、これに限らずラインセンサやエリアセンサを用いてもよい。本発明においてスリット光の検出にはCCDカメラを用いたが、CCDエリアセンサ以外のエリアセンサを用いた場合でも非照明領域に対応する複数の画素列をまとめて取り出すことにより撮像時間を短縮することができる。
上述のコンフォーカル顕微鏡では、試料で反射した反射光により画像を撮像したが、試料を透過した透過光を用いる構成のコンフォーカル顕微鏡に対しても同様の効果を得ることができる。また、本実施の形態では光源からの光をライン状のスリット光に変換するための光変換手段として複数のスリット光を生成するマルチスリット14を用いたが高原からの光を1本以上のライン状の光に変換する光変換手段であればよい。例えば、機械的に加工したマスクや液晶パネルによって構成することも可能である。さらにカラーフィルターを用いてカラー画像を撮像することが可能である。
発明の実施の形態2.
さらに、実施の形態1のコンフォーカル顕微鏡は他のアプリケーションに対しても利用可能である。図1のコンフォーカル顕微鏡の構成を用いて、透明薄膜の膜厚を測定することができる。例えば、実施の形態1の構成を用いることにより、Siウエハ上に形成された透明なレジストの膜厚測定を行うことができる。以下に透明薄膜の膜厚測定について図9と図10とを用いて説明する。図9は膜厚測定時における受光面並びにその受光面で検出される光の強度を模式的に示した図である。図10は受光した光の強度の信号を示す図である。実施の形態1と同様の構成については説明を省略する。透明薄膜の膜厚測定には照明領域84に対応する画素列の信号に加えて、非照明領域83に対応する画素列の信号を使用する。
本実施の形態ではマルチスリット14は移動せず、対物レンズ22を移動させている。すなわち、マルチスリット14を走査しない状態で試料上において結像面の高さを走査するため、対物レンズ22の位置を光軸に沿って移動している。まず、対物レンズ22を光軸の方向に移動した場合の試料23の表面で反射する光について説明する。CCDカメラ28の受光面は図9に示す構成となっている。そして、対物レンズ22の位置を変えていき、試料上における結像面の高さすなわち焦点高さを試料上において変位させていく。すると、CCDカメラ28の受光面に受光される光の光強度分布88が変化する。例えば、試料の表面に焦点がある場合、鋭いピークを持つ光強度分布88aに示すようになる。そして、焦点高さを変えていくと、ピークがなだらかになって、光強度分布88bに示すようになる。さらに焦点高さをずらしていくと、さらにブロードなピークとなって、光強度分布88cに示すようになる。すなわち、焦点高さに応じて光強度分布88のピークの高さが変化していく。
マルチスリット14のそれぞれのスリットを通過した光はCCDカメラ28の受光面においてピークを持つ。それぞれのピークの中心は照明領域84に対応する画素列となる。従って、ピークが8画素列毎に配置される。膜厚測定ではマルチスリット14の移動を伴わないため、照明領域84に対応する画素列は変化しない。
焦点が試料の表面にある場合、CCDカメラ28の受光面において光強度分布88aを持つ光が検出される。従って、焦点が試料の表面にある場合、照明領域84において受光される光の強度が最も強くなる。一方、非照明領域83に対応する画素列は照明領域84の周辺に配置されるため、照明領域84に受光されなかった光が受光される。従って、焦点が試料の表面にある場合、非照明領域83において受光される光の強度が最も弱くなる。そして、焦点が試料表面からずれるに従って、照明領域84において受光される光の強度が弱くなっていき、非照明領域83において受光される光の強度が強くなっていく。ここで、照明領域84と非照明領域83とにおいて受光される光の総量は焦点高さによらず同じである。
非照明領域83及び照明領域84に対応する画素列で検出される光の強度と焦点高さの関係を図10に示す。ここではマルチスリット14のうち、1つのスリットを透過する光について説明する。図10において照明領域83に対応する画素列で検出される光の強度をIとし、非照明領域84に対応する画素列で検出される光の強度をI'とする。ここで非照明領域84に対応する画素列で検出される光の強度I'は7画素列の合計の光強度である。本実施の形態では実施の形態1と同様に、非照明領域83において複数の画素列の信号をまとめて取り出している。これにより、高速処理が可能になる。
図10において横軸は焦点高さを示し、縦軸は検出光の光強度を示している。ここで、焦点が試料23の表面にある場合の焦点高さを0とする。焦点高さを変えていくことにより、I及びI'が変化していく。照明領域84に対応する画素列では焦点が試料表面にあるときが最も光強度が大きい。したがって、照明領域84に対応する画素列の光強度は焦点高さ0が極大値となり、焦点高さ0からずれるにしたがって光強度が弱くなっていく。すなわち、焦点高さ0がピークとなる上に凸の分布を有している。一方、非照明領域84の画素列では焦点高さ0が極小値となり、焦点高さ0からずれるにしたがって光強度が強くなっていく。すなわち、非照明領域84の画素列では下に凸の分布を有している。従って、I−I'は焦点高さ0におけるピークの高さが2倍にエンハンスされた信号となる。この信号を用いることにより、測定精度を向上することができる。一方、I+I'は焦点高さによらず一定の光強度となる。
次に基板上に形成されている平坦な透明薄膜の膜厚測定を考える。ここでは、図11に示すように基板23a上に形成されている均一な透明薄膜23bについての膜厚測定を行うものとする。基板23a上に透明薄膜23bが形成されている試料において、焦点高さを変えていくと、透明薄膜23bの表面のみならず、基板23aと透明薄膜23bの界面において入射光が反射される。
ここで、透明薄膜23bの表面において反射される反射光を表面反射光30aとし、基板23aと透明薄膜23bとの界面で反射される光を界面反射光30bとする。透明薄膜23bの膜厚をtとし、焦点高さをzとする。照明領域84に対応する画素列で検出される光の光強度は焦点高さzを変数とした関数となる。ここで、zを変数とした光の強度の関数を光強度関数とする。任意の平坦な試料の表面で反射した光の光強度関数70をf(z)とする。この光強度関数f(z)は図10に示したIに基づいた関数である。
任意の平坦な試料の表面で反射した光の光強度関数70を関数f(z)とすると、透明薄膜23bの表面で反射した表面反射光30aの光強度関数はaf(z+z)となる。ここでaは表面反射率で、zは試料の高さの違いにより生じるオフセットである。すなわち、表面反射率aによって光強度関数70の振幅が変化して、基板23aの厚さ及び透明薄膜23bの膜厚によって光強度関数70の位相が変化する。zは基板23aの厚さ及び透明薄膜23bの膜厚によって決定される。一方、基板23aと透明薄膜23bの界面で反射した界面反射光30bの光強度関数はbf(z+z)となる。ここでbは界面反射率で、zは試料の高さの違いにより生じるオフセットである。すなわち、界面反射率bによって光強度の振幅が変化して、基板23aの厚さによって光強度の位相が変化する。zは基板23aの厚さによって決定される。CCDカメラ28の非照明領域84に対応する画素列で検出された光強度関数I(z)は表面反射光30aの光強度関数と界面反射光30bの光強度関数の和となり、具体的にはI(z)=af(z+z)+bf(z+z1)となる。
表面反射光30aと界面反射光30bとのオフセットのずれz−zは透明薄膜23bの光学的な膜厚を示すことになる。さらに、透明薄膜23bの膜厚をtとし、透明薄膜23bの屈折率をnとして場合、透明薄膜23bの絶対的な膜厚はt=n(z−z)となる。
実際の測定において、焦点高さzを変えていくと、受光面で検出される光は図11の光強度関数71に示すようになる。すなわち、表面反射光30aと界面反射光30bとによって、光強度関数71に2つのピークが生じる。図11では上側のピークが表面反射光30aによるピークであり、下側のピークが表面反射光30bによるピークとなる。このピークとなる2つの焦点高さの間隔が(z−z)となる。透明薄膜23bの屈折率が既知の値である場合、透明薄膜23bの絶対的な膜厚を測定することができる。また、透明薄膜23bの屈折率が既知の値でない場合であっても、相対的な膜厚変化を測定することができる。このように、焦点高さzを変えて照明領域84に対応する画素列で受光した光の光強度に基づいて、透明薄膜23bの膜厚を測定することができる。
なお、図11に示す光強度関数71では、説明の簡略化のため、表面反射光30aによるピークと界面反射光30bによるピークを同じ高さのピークとしている。すなわち、表面反射率aと界面反射率bを同じものとし、透明薄膜23bにおける吸収や散乱がないものとしている。また、実際の光強度関数は図11の光強度関数71がマルチスリット14のスリットの数だけ、繰り返し配置された構成となる。マルチスリット14のそれぞれのスリットに対して測定を行うことにより、試料面内において一定間隔で膜厚を測定することができる。さらに、マルチスリット14をVCM16により移動させて同様の測定を行うことにより、試料23の全面において透明薄膜の膜厚を求めることができる。
さらに、図10で示した照明領域84に対応する画素列の光強度と非照明領域83に対応する画素列の光強度との差(I−I')を用いても(z1−z0)を算出することができる。この場合、ピークがエンハンスされるため図11に示す光強度関数71のピークが顕著に表れる。よって精度の高い膜厚測定を行うことができる。
発明の実施の形態3.
実施の形態2で示した膜厚測定では、表面反射光30aによるピークと界面反射光30bによるピークを分離することができない場合がある。すなわち、一方の光強度関数の裾野に他方の光強度関数のピークが隠れてしまう場合がある。この現象は、例えば、透明薄膜23bの膜厚が非常に薄い場合や表面反射率aあるいは界面反射率bのいずれか一方が他方に比べて非常に小さい場合に発生する。本実施の形態では、表面反射光30aによるピークと界面反射光30bによるピークを分離することができない場合であっても膜厚測定が可能な方法について説明する。なお、実施の形態1及び実施の形態2と同様の構成については説明を省略する。
本実施の形態では実施の形態1で示したコンフォーカル顕微鏡を用いて膜厚測定を行う。また、上述の実施の形態と同様に照明領域84に対応する画素列において受光した光に基づく信号を使用し、非照明領域83に対応する画素列において受光した光に基づく電荷についてはまとめて取り出して捨てるようにする。さらに本実施の形態においても、試料上において結像面の高さを走査するため、対物レンズ22の位置を移動する。すなわち、対物レンズ22の位置を変えていき、試料上における結像面の高さすなわち焦点高さを試料の表面から走査させていく。
実施の形態2と同様に任意の平坦な試料の表面で反射した光の光強度関数70をf(z)とする。本実施の形態では光強度関数70をf(z)を参照して、膜厚を算出する。透明薄膜23bの膜厚が非常に薄い場合、光強度は光強度関数71aに示すようになる。この光強度関数71aは表面反射光30aによる光強度関数72aの成分と界面反射光30bにより光強度関数72bの成分とを有している。膜厚が非常に薄い場合、表面反射光30aによる光強度関数72aの極大値と、界面反射光30bによる光強度関数72bの極大値との間隔が狭くなってしまう。受光面で検出される光は表面反射光30aによるピークと界面反射光30bによるピークとの間隔が狭くなる。
さらに表面反射率aが界面反射率bに比べて非常に小さい場合、光強度は光強度関数71bに示すようになる。この場合、界面反射光30bの光強度関数72bの裾野に表面反射光30aの光強度関数のピークが隠れてしまう。表面反射光30aのピークに対応する極大値の位置が算出できなくなる。図12に示すように光強度関数71bにおいて、表面反射光30aによるピークがなくなるため、界面反射光30bによるピークのみとなる。従って、極大値が1つとなり、表面反射光30aによるピークの位置を特定できなくなってしまう。
本実施の形態ではこのような場合であっても、透明薄膜23bの膜厚tを測定するため最小自乗法を用いている。例えば、表面反射率a及び界面反射率bが既知の値であったとする。さらに任意の平坦な試料の表面で反射した光の光強度関数70すなわち、f(z)は使用するコンフォーカル光学系の構成によって定められるため、f(z)は既に測定した結果を用いることができる。この場合、表面反射光30aによる光強度分布の形と界面反射光30bにより光強度分布の形が既知のものとなっている。そして、zとzとが変数となる。
検出された光強度関数I(z)は理想的にはaf(z+z)+bf(z+z)と等しくなるはずである。表面反射光30aの光強度関数71aはaf(z+z)で表され、界面反射光30bの光強度関数71bはbf(z+z)で表される。af(z+z)とbf(z+z)との和が検出された光強度関数I(z)に対して最も近くなるようzとzとが最小自乗法により決定される。すなわち、af(z+z)+bf(z+z)においてzとzとが変数となる。そして、af(z+z)+bf(z+z)と検出された光強度関数I(z)との差の二乗が極小となるようzとzとを変数として最小二乗法によりフィッティングする。測定値であるI(z)との残差が極小値となるz及びzを求める。これにより、zとzについて最も確からしい値を算出することができる。そして、最も確からしい値によってz−zを算出する。z−zにより実施の形態1と同様に膜厚tを算出する。
なお、上述の説明では、表面反射率a及び界面反射率bとが既知の値としてが、表面反射率a及び界面反射率bが未知の値であっても最小自乗法により求めることができる。すなわち、af(z+z)+bf(z+z)においてa、b、z及びzが変数となる。af(z+z)+bf(z+z)と検出された光強度関数I(z)との差の二乗が極小となるようa、b、z及びzを変数として最小二乗法によりフィッティングする。すなわち、測定値であるI(z)との残差が極小値となるa、b、z及びzを求める。これにより、a、b、z及びzについて最も確からしい値を算出することができる。そして、最も確からしい値によってz−zを算出する。z−zにより同様に膜厚tを算出する。この場合、さらに表面反射率aと界面反射率bについても算出することができる。
上述の算出において、z及びzにさらにはa及びbの誤差が大きくならないよう、焦点高さzの値を変えて照明領域84における光の強度を多数測定する。すなわち、焦点高さzの測定点を多数設けるよう、対物レンズ22を小刻みに移動して測定することが必要である。また、マルチスリット14のそれぞれのスリットに対して膜厚測定を行うことができる。マルチスリット14をVCM16により移動させて同様の膜厚測定を行うことにより、試料23の全面において透明薄膜の膜厚を求めることができる。
このように最小二乗法によりz−zとを算出することにより、ピークが分離できない場合であっても、膜厚を求めることが可能になる。これにより、検出された光強度関数I(z)において合成されていた表面反射光30aによる成分と界面反射光による成分を分離することができる。さらに図13に示すように膜厚がさらに薄くなり、1つのピークしか表れない光強度関数となる場合であっても膜厚測定が可能になる。
上述の演算処理はカメラコントローラにより接続された処理装置によって実現することができる。処理装置は例えば、パーソナルコンピュータであり、ハードウェア及びそれに読み込まれるソフトウェアにより上記の演算処理を実現することができる。この処理装置について図14を用いて説明する。図14は処理装置100の構成を示すブロック図である。101は測定データ記憶部、102は参照関数記憶部、103は定数記憶部、104は変数算出部、105は膜厚算出部、106は焦点高さ走査手段である。
焦点高さ走査部106は対物レンズ22の位置を光軸に沿って変えて、試料面における焦点高さzを変位するための信号を出力する。例えば、対物レンズ22はアクチュエータ(図示せず)に接続されており、焦点高さ走査部106はアクチュエータを駆動するためのアクチュエータ駆動回路に信号を出力する。アクチュエータ駆動回路は焦点高さ走査部106からの信号により、対物レンズ22を変位させて焦点高さzを走査する。ある焦点高さにおける光強度が検出されたら、焦点高さzを変位して再度光強度を検出する。これを繰り返して光強度関数I(z)を検出する。焦点高さzは薄膜23bの表面から薄膜23bと基板23aとの界面に渡って変位される。これにより精度の高い測定を行うことができる。
測定データ記憶部101はDRAM、SDRAM、DDR等の記憶装置から構成されており、焦点高さzと照明領域84に対応する画素列で検出された光に基づく信号とを対応付けて記憶する。焦点高さ走査部106により焦点高さzを変位させた場合において、測定データ記憶部101には、それぞれの焦点高さzと対応付けて光強度が記憶される。すなわち、測定データ記憶部101には光強度関数I(z)が記憶される。なお、照明領域84に対応する画素列はカメラコントローラ29の画素列記憶部91に記憶されている情報に基づいて定められる。この時、非照明領域83に対応する複数の画素列の電荷をまとめて取り出すようにすることにより、処理の高速化を図ることができる。
参照関数記憶部102はDRAM、SDRAM、DDR等の記憶装置から構成されており、参照となる光強度関数f(z)を記憶する。この光強度関数f(z)は、例えば、参照となるシリコンウエハにおいて、焦点高さzを走査して、ウエハ表面からの反射光を検出することにより求めることができる。過去に行われた検出結果から光強度関数f(z)すなわち参照関数が記憶される。この参照関数を記憶することにより、膜厚を短時間で算出することができる。
定数記憶部103はDRAM、SDRAM、DDR等の記憶装置から構成されており、膜厚を求めるために必要な定数を記憶する。定数記憶部103には例えば、透明薄膜23bの屈折率nが記憶される。さらに、表面反射率a又は界面反射率bが既知である場合、表面反射率a又は界面反射率bが記憶される。これらの定数は材料に応じて異なる値となるため、ユーザーが入力した値を定数として記憶することが可能である。あるいは、代表的な材料に応じた定数を記憶しておき、その材料をユーザーが選択することにより、定数が決定されてもよい。
変数算出部104は、演算処理回路により構成された演算処理装置であり、上記の測定データ記憶部101に記憶された測定データ、参照関数記憶部102に記憶された参照関数及び定数記憶部103に記憶された定数に基づいてz−zを算出する。実施の形態2においては、測定データによる光強度関数I(z)における極大値を2つ算出する。一方、実施の形態3においては最小自乗法により、z−zを算出する。z−zを算出することにより、測定データである光強度関数I(z)において、界面反射光30bの成分と表面反射光30aの成分とが分離される。界面反射光30bの成分と表面反射光30aの成分との間隔から透明薄膜の光学的な膜厚を測定することができる。なお、実施の形態2において表面反射率a及び界面反射率bは不要であり、実施の形態3において表面反射率a、界面反射率bが未知である場合、変数算出部104は表面反射率a、界面反射率bを算出する。
膜厚算出部105は演算処理回路により構成された演算処理装置であり、定数記憶部に記憶された透明薄膜の屈折率nと変数算出部に基づいて算出されたz−zにより膜厚tを算出する。具体的には透明薄膜23bの膜厚t=n(z1−z0)となる。なお、屈折率nが未知である場合であって絶対的な膜厚tは算出されない。この場合であっても、相対的な膜厚を測定することができる。また、透明薄膜23bは光源11からの光の一部を透過するものであれば膜厚測定が可能である。
実施の形態2及び実施の形態3では、照明領域に対応する画素列が予め記憶されていなくてもよい。例えば、1回目の測定において受光面において受光される光の強度から照明領域に対応する画素列を求め、これを記憶するようにしてもよい。実施の形態2及び実施の形態3による膜厚測定方法により膜厚を測定することにより、コンフォーカル顕微鏡により膜厚を測定することができる。これにより、簡易な構成で膜厚を測定することができ、コンフォーカル顕微鏡の新たなアプリケーションを提供することができる。もちろん、コンフォーカル顕微鏡の光学系を利用しない場合であっても、必要な手段を備えた光学系により膜厚を測定することができる。
なお、上述の実施の形態において参照となる光強度関数f(z)は1表面からの反射光に基づいて定めされたが、これに限るものではない。例えば、任意の膜厚を有する試料において表面反射光30aと界面反射光30bによる光強度を合成した光強度関数を用いてもよい。この場合、膜厚が異なる多数のサンプルにおいて、光強度関数を検出し、その異なる膜厚を有する複数の光強度関数のそれぞれが参照となる光強度関数となる。そして、参照となる光強度関数の膜厚を変数として、最小自乗法により、試料に形成された透明薄膜23bの光学的な膜厚を算出する。
本発明にかかるコンフォーカル顕微鏡の構成を示す図である。 本発明のコンフォーカル顕微鏡におけるマルチスリットの構成を模式的に示す図である。 本発明のコンフォーカル顕微鏡におけるマルチスリットの構成を示す平面図である。 本発明のコンフォーカル顕微鏡における受光面並びにその受光面で検出される光の強度及び出力信号を模式的に示した図である。 本発明のコンフォーカル顕微鏡における受光面並びにその受光面で検出される光の強度及び出力信号を模式的に示した図である。 本発明のコンフォーカル顕微鏡におけるCCDカメラの原理的構成図である。 本発明のコンフォーカル顕微鏡におけるCCDカメラコントローラの構成を示すブロック図である。 本発明のコンフォーカル顕微鏡における受光面並びにその受光面で検出される光の強度及び出力信号を模式的に示した図である。 本発明のコンフォーカル顕微鏡において、焦点高さを変えた時の受光面並びにその受光面で検出される光の強度の模式的に示した図である。 本発明のコンフォーカル顕微鏡において、焦点高さと検出光の光強度との関係を示す図である。 本発明のコンフォーカル顕微鏡において、膜厚を測定するときの信号処理を示す図である。 本発明の実施の形態3にかかるコンフォーカル顕微鏡において、膜厚を測定するときの信号処理を示す図である。 本発明の実施の形態3にかかるコンフォーカル顕微鏡において、膜厚を測定するときの信号処理を示す図である。 実施の形態2及び実施の形態3での演算処理を実行する処理装置の構成を示すブロック図である。
符号の説明
1 コンフォーカル顕微鏡、11 光源、12 レンズ、13 赤外線カットフィルタ、14 マルチスリット、15 プリズム、16 ボイスコイルモータ、
17 ミラー、19 2群レンズ、20 ビームスプリッタ、
21 ビームスプリッタ、22 対物レンズ、23 試料、23a 基板、
23b 透明薄膜、24 ステージ、25 2群レンズ、26 ミラー、
28 CCDカメラ、40 レンズ、41 2分割フォトダイオード、
45 2分割フォトダイオードの受光面、47 2分割フォトダイオードの入射光、
51 スリット部、51 矩形パターン、53 スリット、54 遮光部、
70 参照となる光強度関数、71 検出された光強度関数
72a 表面反射光により光強度関数、72b 界面反射光により光強度関数
80 受光面、81 画素、83 非照明領域、84 照明領域、
85 水平転送レジスタ、86 垂直転送レジスタ、
88 光強度分布、89 出力信号、
91 画素列記憶部部、92 VCM制御部、93 スリット位置検出部
94 CCDカメラ制御部
100 処理装置、101 測定データ記憶部、102 参照関数記憶部
103 定数記憶部、104 変数算出部、105 膜厚算出部、
106 焦点高さ走査部

Claims (13)

  1. 光源と、
    前記光源からの光をライン状に光に変換する光変換手段と、
    前記光変換手段を移動してライン状の光を走査する走査手段と、
    前記光変換手段と共役な位置に設置された試料上に前記ライン状の光を結像し、前記試料からの透過光又は反射光を結像面に結像する結像手段と、
    前記結像面に配置され、アレイ状に配置された複数の画素を有する2次元アレイ光検出器と、
    前記走査手段の走査により移動する前記光変換手段に設けられ、前記光源からの光を透過する透過パターンと、
    前記ライン状の光が前記試料を反射又は透過して前記2次元アレイ光検出器の受光面に照射される照明領域に対応する画素列を前記光変換手段の位置に応じて記憶する画素列記憶手段と、
    前記透過パターンを透過した光に基づいて、前記走査手段の走査によって移動した前記光変換手段の位置を検出する位置検出手段と、
    前記位置検出手段での検出結果と前記画素列記憶部に記憶されている画素列とに基づいて、前記2次元アレイ光検出器において前記照明領域以外の非照明領域に対応する複数の画素列の信号を蓄積させ、まとめて取り出すよう制御する制御手段とを備えるコンフォーカル顕微鏡。
  2. 前記2次元アレイ光検出器の出力信号に基づいて、前記画素列記憶手段により記憶された画素列が前記照明領域となるようフィードバックする請求項1記載のコンフォーカル顕微鏡。
  3. 前記光変換手段の前後に移動可能に設けられ、前記光変換手段をバイパスする光学手段をさらに備え、
    前記光学手段が前記光変換手段の前後に移動された状態では、前記制御手段が全ての画素列に対応する信号のそれぞれを読み出すよう前記2次元アレイ光検出器を制御することを特徴とする請求項1、又は2に記載のコンフォーカル顕微鏡。
  4. 前記光変換手段によって変換されたライン状の光を屈折させる2群レンズをさらに備え、
    前記2群レンズの間隔を調整することにより倍率を調整することを特徴とする請求項1乃至3いずれかに記載のコンフォーカル顕微鏡。
  5. 前記2次元アレイ光検出器がCCDカメラであり、
    前記非照明領域に対応する複数の画素列の信号電荷を蓄積して、まとめて取り出すことを特徴とする請求項1乃至4いずれかに記載のコンフォーカル顕微鏡。
  6. 前記光変換手段が複数のスリットを有するマルチスリットであることを特徴とする請求項1乃至5いずれかに記載のコンフォーカル顕微鏡。
  7. 前記走査手段を走査しない状態で、透明膜が形成された前記試料上における結像面の高さを変位して、焦点高さを走査する焦点高さ走査手段と、
    前記焦点高さ走査手段により走査された結像面において、前記照明領域に対応する画素列で検出される光に基づく信号を前記結像面の高さと対応付けて記憶する測定データ記憶手段と、
    前記焦点高さを変数とし、前記測定データ記憶部により前記透明膜の光学的な膜厚を算出するために参照される参照関数を記憶する参照関数記憶手段と、
    前記参照関数と前記測定データに基づいて最小二乗法により、前記透明膜の光学的な膜厚を算出する算出手段とをさらに有する請求項1乃至6いずれかにコンフォーカル顕微鏡。
  8. 前記算出手段では、前記測定データの前記透明膜の表面で反射された表面反射光の成分と前記透明膜と前記試料との界面で反射された界面反射光との成分とに分離することにより光学的な膜厚が算出される請求項7記載のコンフォーカル顕微鏡。
  9. 前記透明膜の屈折率を記憶する屈折率記憶部をさらに備え、
    前記屈折率により、前記透明膜の絶対的な膜厚を測定する請求項7、又は8に記載のコンフォーカル顕微鏡。
  10. 前記照明領域に対応する画素列の信号と、まとめて取り出された前記非照明領域に対応する画素列との信号の差を算出する請求項1乃至9のいずれか1項に記載のコンフォーカル顕微鏡。
  11. 光源と、
    前記光源からの光をライン状に光に変換する光変換手段と、
    前記光変換手段を移動してライン状の光を走査する走査手段と、
    前記光変換手段と共役な位置に設置された透明な薄膜を有する試料上に前記ライン状の光を結像し、前記試料からの反射光を結像面に結像する結像手段と、
    前記結像面に配置され、アレイ状に配置された複数の画素を有する2次元アレイ光検出器と、
    前記走査手段の走査により移動する前記光変換手段に設けられ、前記光源からの光を透過する透過パターンと、
    前記透過パターンを透過した光に基づいて、前記走査手段の走査によって移動した前記光変換手段の位置を検出する位置検出手段と、
    前記薄膜の表面で反射した表面反射光又は前記薄膜と前記試料との界面で反射した界面反射光とが前記2次元アレイ光検出器の受光面に照射される照明領域に対応する画素列を前記光変換手段の位置に応じて記憶する画素列記憶手段と、
    前記位置検出手段での検出結果と前記画素列記憶部に記憶されている画素列とに基づいて、前記2次元アレイ光検出器において前記照明領域以外の非照明領域に対応する複数の画素列の信号を蓄積させ、まとめて取り出すよう制御する制御手段と、を用いて前記透明な薄膜の光学的な膜厚を測定する膜厚測定方法であって、
    前記試料上において結像面の高さを変位して、前記薄膜の表面から前記薄膜と前記試料の界面まで焦点高さを走査する焦点高さ走査ステップと、
    前記焦点高さ走査ステップにより走査された結像面において、前記照明領域に対応する画素列で検出される光に基づく信号を前記結像面の高さと対応付けて測定データを記憶する測定データ記憶ステップと、
    前記焦点高さを変数とし、前記測定データ記憶部により前記薄膜の光学的な膜厚を求めるために参照される参照関数と前記測定データとに基づいて最小二乗法により、前記薄膜の光学的な膜厚を算出する算出ステップとを有する膜厚測定方法。
  12. 前記算出ステップでは、前記測定データを表面反射光の成分と前記界面反射光の成分とに分離することにより光学的な膜厚が算出される請求項11記載の膜厚測定方法。
  13. 前記照明領域に対応する画素列の信号と、まとめて取り出された前記非照明領域に対応する画素列との信号の差を算出する請求項11、又は12に記載の膜厚測定方法。
JP2004076276A 2004-03-17 2004-03-17 コンフォーカル顕微鏡及び膜厚測定装置 Expired - Fee Related JP4635145B2 (ja)

Priority Applications (1)

Application Number Priority Date Filing Date Title
JP2004076276A JP4635145B2 (ja) 2004-03-17 2004-03-17 コンフォーカル顕微鏡及び膜厚測定装置

Applications Claiming Priority (1)

Application Number Priority Date Filing Date Title
JP2004076276A JP4635145B2 (ja) 2004-03-17 2004-03-17 コンフォーカル顕微鏡及び膜厚測定装置

Related Child Applications (1)

Application Number Title Priority Date Filing Date
JP2010131744A Division JP5268115B2 (ja) 2010-06-09 2010-06-09 膜厚測定装置、及び膜厚測定方法

Publications (2)

Publication Number Publication Date
JP2005266084A JP2005266084A (ja) 2005-09-29
JP4635145B2 true JP4635145B2 (ja) 2011-02-16

Family

ID=35090731

Family Applications (1)

Application Number Title Priority Date Filing Date
JP2004076276A Expired - Fee Related JP4635145B2 (ja) 2004-03-17 2004-03-17 コンフォーカル顕微鏡及び膜厚測定装置

Country Status (1)

Country Link
JP (1) JP4635145B2 (ja)

Families Citing this family (4)

* Cited by examiner, † Cited by third party
Publication number Priority date Publication date Assignee Title
US7329860B2 (en) 2005-11-23 2008-02-12 Illumina, Inc. Confocal imaging methods and apparatus
DE102006047912A1 (de) * 2006-10-06 2008-04-10 Carl Zeiss Microimaging Gmbh Verfahren und Anordnung zur parallelisierten mikroskopischen Bildgebung
JP5024864B2 (ja) * 2006-12-18 2012-09-12 レーザーテック株式会社 コンフォーカル顕微鏡、及びコンフォーカル画像の撮像方法
DE102017116745A1 (de) 2017-07-25 2019-01-31 Carl Zeiss Microscopy Gmbh Konfokalmikroskop zur Schichtdickenmessung und Mikroskopieverfahren zur Schichtdickenmessung

Family Cites Families (15)

* Cited by examiner, † Cited by third party
Publication number Priority date Publication date Assignee Title
JP2637820B2 (ja) * 1989-03-27 1997-08-06 オリンパス光学工業株式会社 光学式膜厚測定装置
JP3372307B2 (ja) * 1993-07-29 2003-02-04 オリンパス光学工業株式会社 サンプリング信号発生装置および走査型光学顕微鏡
JP3789515B2 (ja) * 1994-12-02 2006-06-28 株式会社キーエンス 膜厚測定機能付光学顕微鏡
JP3670745B2 (ja) * 1996-02-20 2005-07-13 オリンパス株式会社 共焦点顕微鏡
JP4329128B2 (ja) * 1996-07-12 2009-09-09 ソニー株式会社 固体撮像装置、固体撮像装置の駆動方法およびカメラ
JPH10145679A (ja) * 1996-11-11 1998-05-29 Omron Corp 画像撮像装置
DE19654211C2 (de) * 1996-12-24 2000-07-06 Leica Microsystems Konfokales Mikroskop
JPH1137725A (ja) * 1997-07-15 1999-02-12 Nippon Steel Corp 膜厚分布測定方法
JP4216925B2 (ja) * 1998-05-21 2009-01-28 オリンパス株式会社 走査型顕微鏡
JP2000013686A (ja) * 1998-06-18 2000-01-14 Olympus Optical Co Ltd 撮像装置
JP4163301B2 (ja) * 1998-09-21 2008-10-08 オリンパス株式会社 走査型サイトメータ
JP3734010B2 (ja) * 1999-06-28 2006-01-11 横河電機株式会社 共焦点光スキャナ
JP2002323659A (ja) * 2001-04-25 2002-11-08 Olympus Optical Co Ltd 共焦点光学系及びこれを用いた走査型共焦点顕微鏡
JP2003101726A (ja) * 2001-09-21 2003-04-04 Fuji Photo Film Co Ltd 放射線画像読取方法および装置
JP3616999B2 (ja) * 2001-12-04 2005-02-02 レーザーテック株式会社 コンフォーカル顕微鏡

Also Published As

Publication number Publication date
JP2005266084A (ja) 2005-09-29

Similar Documents

Publication Publication Date Title
US7576307B2 (en) Microscope with dual image sensors for rapid autofocusing
US9229212B2 (en) Image-acquisition device
JP5712342B2 (ja) 光学顕微鏡、及びスペクトル測定方法
US8614415B2 (en) Defect inspection method of fine structure object and defect inspection apparatus
US20030086067A1 (en) Assembly for increasing the depth discrimination of an optical imaging system
KR101444048B1 (ko) 공초점 스캐너 및 그것을 이용한 광학적 계측 장치
JP3978528B2 (ja) パターン欠陥検査装置及びレーザ顕微鏡
JPH10326587A (ja) 電動スキャニングテーブル付き共焦点顕微鏡
WO2005114287A1 (ja) 顕微鏡装置
JP3616999B2 (ja) コンフォーカル顕微鏡
JP2012073285A (ja) 撮像方法および顕微鏡装置
EP2990851B1 (en) Image acquisition device and focusing method for image acquisition device
JP2010054391A (ja) 光学顕微鏡、及びカラー画像の表示方法
JPH11211439A (ja) 表面形状計測装置
JP2010256530A (ja) 顕微鏡装置
JP2006091507A (ja) 共焦点顕微鏡
JP4894161B2 (ja) 共焦点顕微鏡
JP4883751B2 (ja) 3次元形状測定装置及び3次元形状測定方法
JP4635145B2 (ja) コンフォーカル顕微鏡及び膜厚測定装置
CN110855866A (zh) 一种无ccd位移装置的高分辨错位叠层成像装置
JP5024864B2 (ja) コンフォーカル顕微鏡、及びコンフォーカル画像の撮像方法
JP5190603B2 (ja) 光学顕微鏡、及び観察方法
JP5268115B2 (ja) 膜厚測定装置、及び膜厚測定方法
JP4725967B2 (ja) 微小高さ測定装置及び変位計ユニット
JP2008051576A (ja) 形状測定装置および形状測定方法

Legal Events

Date Code Title Description
A621 Written request for application examination

Free format text: JAPANESE INTERMEDIATE CODE: A621

Effective date: 20070201

A977 Report on retrieval

Free format text: JAPANESE INTERMEDIATE CODE: A971007

Effective date: 20100304

A131 Notification of reasons for refusal

Free format text: JAPANESE INTERMEDIATE CODE: A131

Effective date: 20100427

A521 Request for written amendment filed

Free format text: JAPANESE INTERMEDIATE CODE: A523

Effective date: 20100609

A131 Notification of reasons for refusal

Free format text: JAPANESE INTERMEDIATE CODE: A131

Effective date: 20100706

A521 Request for written amendment filed

Free format text: JAPANESE INTERMEDIATE CODE: A523

Effective date: 20100826

TRDD Decision of grant or rejection written
A01 Written decision to grant a patent or to grant a registration (utility model)

Free format text: JAPANESE INTERMEDIATE CODE: A01

Effective date: 20100921

A01 Written decision to grant a patent or to grant a registration (utility model)

Free format text: JAPANESE INTERMEDIATE CODE: A01

A61 First payment of annual fees (during grant procedure)

Free format text: JAPANESE INTERMEDIATE CODE: A61

Effective date: 20101015

FPAY Renewal fee payment (event date is renewal date of database)

Free format text: PAYMENT UNTIL: 20131203

Year of fee payment: 3

R150 Certificate of patent or registration of utility model

Ref document number: 4635145

Country of ref document: JP

Free format text: JAPANESE INTERMEDIATE CODE: R150

Free format text: JAPANESE INTERMEDIATE CODE: R150

R250 Receipt of annual fees

Free format text: JAPANESE INTERMEDIATE CODE: R250

R250 Receipt of annual fees

Free format text: JAPANESE INTERMEDIATE CODE: R250

R250 Receipt of annual fees

Free format text: JAPANESE INTERMEDIATE CODE: R250

R250 Receipt of annual fees

Free format text: JAPANESE INTERMEDIATE CODE: R250

R250 Receipt of annual fees

Free format text: JAPANESE INTERMEDIATE CODE: R250

R250 Receipt of annual fees

Free format text: JAPANESE INTERMEDIATE CODE: R250

R250 Receipt of annual fees

Free format text: JAPANESE INTERMEDIATE CODE: R250

R250 Receipt of annual fees

Free format text: JAPANESE INTERMEDIATE CODE: R250

R250 Receipt of annual fees

Free format text: JAPANESE INTERMEDIATE CODE: R250

LAPS Cancellation because of no payment of annual fees