JP4569397B2 - 電子文書管理システム、画像形成装置、電子文書管理方法およびプログラム - Google Patents

電子文書管理システム、画像形成装置、電子文書管理方法およびプログラム Download PDF

Info

Publication number
JP4569397B2
JP4569397B2 JP2005175423A JP2005175423A JP4569397B2 JP 4569397 B2 JP4569397 B2 JP 4569397B2 JP 2005175423 A JP2005175423 A JP 2005175423A JP 2005175423 A JP2005175423 A JP 2005175423A JP 4569397 B2 JP4569397 B2 JP 4569397B2
Authority
JP
Japan
Prior art keywords
electronic document
medium
image
information
printed
Prior art date
Legal status (The legal status is an assumption and is not a legal conclusion. Google has not performed a legal analysis and makes no representation as to the accuracy of the status listed.)
Expired - Fee Related
Application number
JP2005175423A
Other languages
English (en)
Other versions
JP2006350650A (ja
Inventor
浩 桂林
真一 宮本
Current Assignee (The listed assignees may be inaccurate. Google has not performed a legal analysis and makes no representation or warranty as to the accuracy of the list.)
Fujifilm Business Innovation Corp
Original Assignee
Fuji Xerox Co Ltd
Fujifilm Business Innovation Corp
Priority date (The priority date is an assumption and is not a legal conclusion. Google has not performed a legal analysis and makes no representation as to the accuracy of the date listed.)
Filing date
Publication date
Application filed by Fuji Xerox Co Ltd, Fujifilm Business Innovation Corp filed Critical Fuji Xerox Co Ltd
Priority to JP2005175423A priority Critical patent/JP4569397B2/ja
Priority to US11/259,056 priority patent/US7461789B2/en
Priority to CN200510134495.8A priority patent/CN1881235B/zh
Publication of JP2006350650A publication Critical patent/JP2006350650A/ja
Application granted granted Critical
Publication of JP4569397B2 publication Critical patent/JP4569397B2/ja
Anticipated expiration legal-status Critical
Expired - Fee Related legal-status Critical Current

Links

Images

Classifications

    • GPHYSICS
    • G06COMPUTING OR CALCULATING; COUNTING
    • G06QINFORMATION AND COMMUNICATION TECHNOLOGY [ICT] SPECIALLY ADAPTED FOR ADMINISTRATIVE, COMMERCIAL, FINANCIAL, MANAGERIAL OR SUPERVISORY PURPOSES; SYSTEMS OR METHODS SPECIALLY ADAPTED FOR ADMINISTRATIVE, COMMERCIAL, FINANCIAL, MANAGERIAL OR SUPERVISORY PURPOSES, NOT OTHERWISE PROVIDED FOR
    • G06Q10/00Administration; Management
    • G06Q10/10Office automation; Time management

Landscapes

  • Engineering & Computer Science (AREA)
  • Business, Economics & Management (AREA)
  • Strategic Management (AREA)
  • Entrepreneurship & Innovation (AREA)
  • Human Resources & Organizations (AREA)
  • Operations Research (AREA)
  • Economics (AREA)
  • Marketing (AREA)
  • Data Mining & Analysis (AREA)
  • Quality & Reliability (AREA)
  • Tourism & Hospitality (AREA)
  • Physics & Mathematics (AREA)
  • General Business, Economics & Management (AREA)
  • General Physics & Mathematics (AREA)
  • Theoretical Computer Science (AREA)
  • Editing Of Facsimile Originals (AREA)
  • Record Information Processing For Printing (AREA)

Description

本発明は、複写機やプリンタなどの画像形成装置、この画像形成装置にて印刷される電子文書を管理する電子文書管理システム等に関する。
近年、細かなドットが印刷された特殊な用紙を用い、ユーザがこの用紙上に手書きした文字やイメージなどを電子情報(データ)として取り込む技術が注目されている。取り込まれたデータは、パソコンや携帯電話などに転送され、磁気ディスク装置その他の記憶装置に格納して保存したり、電子メールとして送信したりすることが可能となる。この技術では、この特殊な用紙に例えば0.3mm程度の間隔で小さなドットを印刷し、所定の大きさのグリッドに含まれるドットが、グリッドごとに全て異なるパターンを描くように構成されている。このパターンはアドレス等の位置情報を表すことができる。そこで、例えばデジタルカメラ等の光学的読み取り手段を内蔵した専用のボールペンを用いてパターンを読み込むことで、この特殊な用紙上でのペン先の位置や移動軌跡を特定することが可能となる。そして、このペン先の位置や移動軌跡の情報を処理することにより、用紙上に書かれた手書きの文字やイメージを電子情報として利用することが可能となる。
この種の従来技術としては、用紙にパターンを印刷する技術やその読み取り技術など、種々の観点から多くの技術が提案されている。用紙上にパターンを形成する従来技術としては、例えば、既存のオフィスや家庭用のプリンタを使用してオンデマンドで文書とともに印刷可能な2次元コードパターンを提供する技術が存在する(例えば、特許文献1参照)。特許文献1の従来技術では、通常の印刷装置を用いて文書とともに紙面全体にわたって2次元コードが印刷される。この2次元コードは、文書管理データベースに問い合わせて、印刷しようとする文書のページ毎の文書ページIDを発行してもらい、印刷すべき文書ページのための2次元コードパターンとして生成される。この2次元コードで表される位置情報は、予め一括管理されている位置情報の中から割り振られる。
また、用紙上にパターンを形成する他の従来技術としては、コンピュータユニットが、全体的位置コーディングパターン中のセクションの境界を記述する境界情報を発生させ、プリンタユニットが、この境界情報に基づいてパターンを記述する図形情報を発生させてプリントアウトする技術が存在する(例えば、特許文献2参照)。また、特許文献2には、生成されたパターン(図形情報)と視覚情報を重畳させてプリントアウトする技術が開示されている。
特開2004−94907号公報 特開2004−528644号公報
ところで、上述した平面上の位置を特定するための座標を表すコードパターンを用紙上に形成する際に、このコードパターンと視覚情報である電子文書の画像を重畳して印刷することが行われる場合がある。例えば、一定の書式が印刷され、かつ紙面への手書きによる書き込みが行われるような文書において、手書きされた文字やイメージを電子情報として取り込むためである。このような応用が想定される文書としては、例えば医療カルテや試験の答案用紙等が考えられる。
このような電子文書の印刷を行う場合、印刷出力される文書の体裁を整えるために余白を設定したり、一枚の紙に複数ページを印刷するNアップ(Nup)印刷を行ったりする場合がある。しかし、上記のようなコードパターンと電子文書とを重畳して印刷するシステムにおいて、電子文書を印刷した際に余白設定やNアップ印刷を行うと、コードパターンによって用紙上に特定される座標原点と、手書きイメージの電子情報を処理するアプリケーションが認識している座標原点との間にずれが生じるという問題があった。
また、画像を拡大あるいは縮小して電子文書の印刷を行うと、電子文書における画像の位置と、用紙に印刷される実際の画像の位置とが異なってしまう。そのため、手書きイメージを認識する際にコードパターンの読み取り情報から得られる位置と、アプリケーションが認識している位置との間にずれが生じるという問題があった。
本発明は、以上のような技術的課題を解決するためになされたものであって、その目的とするところは、余白設定やNアップ印刷や画像の拡大縮小が行われた場合にも、コードパターンの読み取り情報から得られる位置とアプリケーションが認識している位置とを一致させ、手書きイメージの正確な入力を実現することにある。
かかる目的を達成するために、本発明は、電子文書を媒体に印刷する際の印刷態様に関する情報から補正情報を生成し、コード画像の読み取り時や生成時に、この補正情報に基づいてコード画像による位置情報を修正する点に特徴がある。この点に鑑み、本発明は、次のような電子文書管理システムとして実現される。
このシステムは、印刷指示の受信手段と、受信された印刷指示に応じて動作する、電子文書管理手段、コード画像生成手段、補正手段、蓄積手段、印刷手段およびコード画像読み取り手段を備える。電子文書管理手段は、電子文書を印刷する媒体の面に印刷され、この媒体の面の位置を特定するためのアドレス情報とこの電子文書との対応関係を管理する。コード画像生成手段は、アドレス情報に基づいて媒体に印刷されるコード画像を生成する。補正手段は、コード画像に対して、電子文書の文書画像上の位置とコード画像による媒体上の位置とのずれを記述した補正情報を生成する。蓄積手段は、電子文書管理手段で管理される情報および補正手段により生成された補正情報を蓄積する。印刷手段は、生成されたコード画像と電子文書の画像とを媒体の面に印刷する。コード画像読み取り手段は、電子文書が印刷された媒体の面に印刷されたコード画像を読み取る。
ここで、コード画像読み取り手段として機能する装置と、他の手段として機能する装置とは別個の装置として構成することができる。コード画像読み取り手段として機能する装置は、媒体の面に対するユーザの操作によって特定される媒体上の位置に印刷されたコード画像を読み取ることができる。また、電子文書および補正情報の管理を行う電子文書管理手段および蓄積手段と、電子文書およびコード画像の印刷時に機能するコード画像生成手段、補正手段および印刷手段とを別個の装置として構成することも可能である。
上述した本発明のシステムにおいて、電子文書管理手段は、コード画像読み取り手段により読み取られたコード画像の読み取り情報を入力し、この読み取り情報から得られる位置情報を、蓄積手段に蓄積された補正情報に基づいて、電子文書の文書画像上の位置とコード画像による媒体上の位置とが一致するように補正する。
また、補正情報は、少なくとも文書画像上の特定の位置に対する媒体上の対応位置を示すアドレス情報を含む。電子文書管理手段は、この補正情報に加えて、電子文書が媒体に印刷された際の縮倍率に基づいて補正を行う。また、この縮倍率を補正情報に含むこととしても良い。
補正手段は、例えば、電子文書が媒体に印刷される場合の余白設定および縮倍率に基づいて補正情報を生成する。また、複数ページ分の電子文書が1枚の媒体に印刷される場合、各ページの媒体上の配置および縮倍率に基づいて補正情報を生成する。
また本発明は、上記のようなシステムにより実行される電子文書管理方法としても実現される。この方法は、電子文書が印刷された媒体の面に電子文書と共に印刷された、少なくとも媒体の面の位置を特定するためのアドレス情報を記述するコード画像を読み取るステップと、コード画像の読み取り情報を入力し、この読み取り情報から位置情報を取得するステップと、この位置情報を、電子文書の文書画像上の位置とコード画像による媒体上の位置とのずれを記述した補正情報に基づいて、文書画像上の位置とコード画像による媒体上の位置とが一致するように補正するステップと、補正された位置情報を電子文書に反映させるステップとを含む。
さらに本発明は、コンピュータを制御して上述したシステムとして機能させるプログラム、あるいはコンピュータに上記の管理方法における各ステップに対応する処理を実行させるプログラムとしても実現される。このプログラムは、磁気ディスクや光ディスク、半導体メモリ、その他の記録媒体に格納して配布したり、ネットワークを介して配信したりすることにより、提供することができる。
以上のように構成された本発明によれば、電子文書を印刷する場合の余白設定や縮倍率、Nアップ印刷の指定といった印刷態様に関する情報に基づいて補正情報を生成し、この補正情報に基づいてコード画像の読み取り情報を修正することができる。このため、余白設定やNアップ印刷や画像の拡大縮小が行われた場合にも、コードパターンの読み取り情報から得られる位置とアプリケーションが認識している位置とを一致させ、手書きイメージの正確な入力を実現することが可能となる。
以下、添付図面を参照して、本発明を実施するための最良の形態(以下、実施形態)について詳細に説明する。
まず本発明の概要を説明する。本発明は、用紙等の印刷媒体上に位置を特定するための座標を表すコードパターンを形成する技術において、コードパターンと電子文書の画像(以下、文書画像)を重畳して印刷する場合を対象とする。電子文書を印刷する場合、余白設定やNアップ(Nup)印刷、文書画像の拡大・縮小が行われると、コードパターンによって特定される媒体上の位置と、手書きイメージの電子情報を処理するアプリケーションが認識している電子文書上の位置(すなわち、データにおける電子文書上の位置)とがずれてしまう。本発明では、印刷時に得られる印刷態様(余白の設定値や1枚の媒体に印刷される電子文書の枚数、縮倍率など)の情報に基づいて、このコードパターンによって特定される媒体上の位置と、手書きイメージの電子情報を処理するアプリケーションが認識している電子文書上の位置との間のずれを補正する。
ところで、印刷媒体に形成されたコードパターンによって表される媒体上の位置情報を用いて手書きイメージを入力する技術を応用して、印刷媒体に印刷された電子文書とこの電子文書に所定の機能を与えるアプリケーションとを連動させることが行われている。例えば、媒体上に印刷された所定の枠にチェックすると、ディスプレイに表示された電子文書上でマウスボタンを押した場合のように、この枠に対応付けられたアプリケーションの機能が起動するといったものである。このような利用方法では、実際には媒体において枠が印刷された位置とアプリケーションの機能とが対応付けられている。そして、コードパターンの読み取り装置であるペンによって枠をチェックすると、チェックされた位置の情報が読み取られ、この情報に基づいて対応するアプリケーションの機能が起動する。
このような技術を実施するには、コードパターンによって特定される媒体上の位置と、手書きイメージの電子情報を処理するアプリケーションが認識している電子文書上の位置とが一致していることが必要である。したがって、以下では、上記のような技術において本発明を適用する場合を例として説明する。
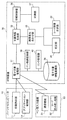
図1は、本実施形態が適用される電子文書管理システムの全体構成を示す図である。
図1に示す電子文書管理システムは、大きく、電子文書の印刷指示を行うパーソナルコンピュータ(PC)10と、電子文書を媒体(用紙など)に印刷出力する印刷装置30と、印刷装置30などで電子文書が印刷された媒体上のアドレス情報を読み取るペン型入力装置50とを備えている。
パーソナルコンピュータ10は、印刷装置30に対して印刷指示を行う印刷指示部11と、印刷出力された文書に対して機能を提供するアプリケーションの動作を制御するアプリケーション制御部12とを備える。なお、図1に示す例では、印刷指示部11とアプリケーション制御部12とを同一のパーソナルコンピュータ10に設けているが、印刷指示用とアプリケーション用に別個のPCを用いても構わない。
印刷指示部11は、例えば外部の電子文書データベース(文書リポジトリ)等に格納された電子文書の印刷指示を行う。電子文書の格納場所は、例えばURL(Uniform Resource Locators)で特定される。この印刷指示を行うときに、画像を拡大・縮小するための縮倍率の設定や余白設定、Nアップ指示などを行うことができる。Nアップ指示では、1枚の媒体に印刷される電子文書の枚数が指定される。
アプリケーション制御部12は、電子文書および後述のコードパターンが印刷された媒体に対する操作(例えば媒体上の特定の場所をペン型入力装置50でタップする等)に応じて、文書編集用の既存のアプリケーションで文書を開きマウスで位置を指定してマウスボタンを押したのと同じようなイベントをアプリケーションに送り、このアプリケーションを操作する。
印刷装置30は、生成されたアドレスと電子文書との対応を管理する電子文書管理部31と、電子文書管理部31に管理されている電子文書から文書画像を生成する文書画像生成部32とを備える。また、所定のコードパターンにより媒体に印刷される連続したアドレス情報や媒体識別情報を記述するコード画像を生成するコード画像生成部33を備えると共に、電子文書の印刷態様に即してコード画像の情報(コード情報)を補正する補正部34、文書画像生成部32により生成された文書画像とコード画像生成部33により生成されたコード画像とを重ね合わせて最終的に出力される画像(以下、印刷画像)を生成する画像重ね合わせ部35を備える。また、画像重ね合わせ部35により生成された画像を印刷出力するための印刷制御部36および印刷部(画像形成部)37を備える。さらに、印刷出力された電子文書およびその電子文書の印刷態様に関する情報を格納した電子文書情報蓄積部38、ユーザによってなされたペン軌跡を記録するペン軌跡記録部39、電子文書に設定されているリンク情報に基づく処理を実行するリンク処理部40を備える。印刷装置30の各構成は、例えばプログラム制御された図示しないCPU(Central Processing Unit)および記憶装置により実現される。CPUを制御するプログラムは、ROM等の不揮発性メモリに格納される。また、記憶装置としては、磁気ディスク装置やRAMその他の半導体メモリ等を用いることができる。
電子文書管理部31は、印刷された電子文書とその電子文書の印刷態様に関する情報とを対応付けて管理する。印刷態様に関する情報には、印刷時の縮倍率、媒体の余白、Nアップ等の設定情報、印刷媒体のサイズ、これらの設定に基づいて計算されるコード画像の座標原点の補正値といった情報が含まれる。また電子文書管理部31は、印刷する電子文書のデータそのものを取得する電子文書取得手段、パーソナルコンピュータ10の印刷指示部11から印刷指示を受信する受信手段としても機能する。
文書画像生成部32は、印刷対象である電子文書のデータ(文字や画像など)および上述した印刷態様に関する情報に基づいて、実際に媒体上に印刷される文書画像(イメージデータ)を生成する。
コード画像生成部33は、媒体上に設定されるアドレス情報(媒体上の場所を一意に特定する情報)を所定のコードパターンにより記述するコード画像(2次元コード)を生成する。コード画像で使用されるコードパターンとしては、例えばスラッシュ「/」やバックスラッシュ「\」などの斜線パターンや、ドットパターンなどが用いられる。そして、媒体に対応するサイズの画像上に、異なるアドレス情報が格納された2次元コードが格子状に配置される。またコード画像によって表されるコード情報には、コード画像は、平面状の場所を特定する情報を含み、さらに電子文書の識別情報や、印刷日時、印刷機械の識別情報、印刷機械におけるカウンター情報(例えばその印刷機械で印刷された用紙の累積枚数)などを含むことができる。
補正部34は、電子文書管理部31に管理されている電子文書の印刷態様の情報に基づき、コード画像生成部33により生成されるコード情報を補正する。すなわち、コードパターンによって特定される媒体上の位置と、手書きイメージの電子情報を処理するアプリケーションが認識している画面上の位置とを一致させる。補正の具体的な内容については後述する。
画像重ね合わせ部35は、文書画像生成部32により生成された電子文書の文書画像と、コード画像生成部33により生成され補正部34により適宜補正されたコード画像とを重ね合わせて印刷画像を生成する。一定の書式が印刷され、かつ紙面への手書きによる書き込みが行われるような文書では、紙面において文字やイメージの記入が行われる領域(記入領域)が限定されている場合がある。そのような文書では、手書きの文字やイメージを入力するためには、この記入領域にのみコード画像が形成されていれば十分である。したがって、画像重ね合わせ部35は、出力される文書の種類や利用態様に応じて、媒体の面上全面を覆うようにコード画像を重ねたり、特定の領域にのみ部分的にコード画像を配置したりする。
印刷制御部36は、余白の設定情報、印刷媒体のサイズ、印刷部数などの印刷態様(印刷条件)に応じて印刷部37を制御する。印刷態様の情報は、電子文書情報蓄積部38から取得される。
印刷部37は、印刷制御部36の制御に基づいて、例えば電子写真方式によって画像重ね合わせ部35で精製された印刷画像を媒体上へ印刷(画像形成)する。印刷部37の具体的構成については後述する。
電子文書情報蓄積部38は、パーソナルコンピュータ10の印刷指示部11から印刷指示が送られる際に指定される印刷態様の情報(縮倍率、余白、Nアップ、印刷部数などの設定情報)、補正部34による補正内容(コードパターンで特定される座標の補正値)を格納する。これらの情報は、上述したように、電子文書管理部31により印刷された電子文書に対応付けて管理される。電子文書情報蓄積部38に格納されるデータのデータ構造については後述する。
ペン軌跡記録部39は、コード情報に含まれている位置情報により、ペン型入力装置50の移動の軌跡を解析し、ペン型入力装置50の移動情報を記録する。ただし、後述するように、ペン型入力装置50の内部に移動軌跡の解析機能を備えている場合には、この解析をここでは行わず、ペン型入力装置50から送信された移動情報の記録だけが行われる。また、ペン軌跡記録部39は、対応する元の電子文書と重ね合わせてディスプレイ(図示せず)に表示するための制御を行う。これによって、媒体上に書かれたストロークをディスプレイに表示された電子文書上に、視覚的に再現することが可能となる。
リンク処理部40は、元の電子文書の特定の場所にリンク情報などが設定されていた場合に、その場所とURL、起動するプログラム等の対応表を有している。これによって、例えばリンクが張られている箇所をペン型入力装置50により指定された場合に、コード情報から解析した位置情報によってリンクの指定を認識する。そして、この対応表に基づいてブラウザを立ち上げ、指定されたURLのホームページを開いたり、プログラムを起動したりすることが可能となる。また、リンク処理部40は、リンクの指定を認識する際、電子文書情報蓄積部38に格納されている情報に基づき、コード情報から解析した媒体上での位置情報を、電子文書上での位置に変換する。
ペン型入力装置50は、印刷装置30などの外部装置と通信を行うための通信機能51と、媒体上に印刷されたコード画像(2次元コード)を光学的に読み取るコード読み取り機能52とを備える。図1に示す電子文書管理システムでは、ペン型入力装置50と印刷装置30との間で直接、通信を行っている。
この通信機能51は、コード読み取り機能52により読み取られた媒体上のコード情報などを送信する。この通信としては、USB(Universal Serial Bus)、RS−232C等のインターフェイスを用いて有線接続して通信する方法や、無線LAN、ブルートゥースなどで無線接続して通信する方法が考えられる。
図2(a)、(b)は、印刷装置30のコード画像生成部33によって生成され、印刷部37により印刷されるコード画像(2次元コード)を説明するための図である。図2(a)は、配置されるコード画像の単位を模式的に示すために格子状に表現した図であり、図2(b)は、不可視画像が赤外光照射により認識されたコード画像の1単位を示した図である。
印刷部37にて形成されるコード画像は、可視光領域(400nm〜700nm)における最大吸収率が例えば7%以下であり、近赤外領域(800nm〜1000nm)における吸収率が例えば30%以上の、いわゆる不可視トナーによって形成される。また、この不可視トナーは、画像の機械読み取りのために必要な近赤外光吸収能力を高めるために、平均分散径は100nm〜600nmの範囲のものが採用される。ここで、「可視」および「不可視」は、目視により認識できるかどうかを意味しない。印刷された媒体に形成された画像が可視光領域における特定の波長の吸収に起因する発色性の有無により「可視」と「不可視」を区別している。また、コード画像は、例えば目視した際に光沢差によって認識できる不可視画像であっても良い。なお、不可視トナーにより形成される画像(不可視画像)の形成については、特開2003−186238号公報に詳しい。
この図2(a)、(b)に示すコード画像は、赤外光照射による機械読み取りと復号処理とが長期にわたって安定して可能で、かつ情報が高密度に記録できる不可視画像で形成される。また、画像を出力する媒体表面の可視画像が設けられた領域とは関係なく、任意の領域に設けることが可能な不可視画像であることが好ましい。本実施形態では、上述した画像重ね合わせ部35の説明に関わらず、印刷される媒体の大きさに合わせて媒体一面(紙面)の全面に不可視画像が形成されるものとする。ただし、「全面」とは、用紙の四隅を全て含む意味に限定されない。電子写真方式などの装置では、通常、紙面の周囲は印刷できない範囲である場合が多い。したがって、そのような印刷できない範囲には不可視画像を印刷する必要はない。
図2(b)に示す2次元コードパターンは、回転角度が異なる複数の微小ラインビットマップで形成されている。より具体的には、相互に異なる傾きを有するスラッシュ「/」およびバックスラッシュ「\」を用いてビット0とビット1とを表現している。例えば、一方の傾き(スラッシュ「/」)がビット0を示し、他方の傾き(バックスラッシュ「\」)がビット1を示すとする。このような2種類の傾きからなる微小ラインビットマップを用いることで、可視画像に与えるノイズが極めて小さく、かつ大量の情報を高密度にデジタル化して埋め込むことが可能な2次元コードパターンを提供することができる。ここで、微小ライン単位は、例えば、8ドットで1単位を示し、ドット間隔が0.3mm、1単位のサイズは約2.1mm程度である。なお、この微小ライン単位としては、3〜10ドット程度が好ましい。小さすぎると情報量が少なく、10ドットを超える場合には、可視画像に対してノイズとして現れることから好ましくない。
このようにして形成される2次元コードには、符号化された媒体識別情報とアドレス情報とが格納される。そして、図2(a)に示すように、印刷される媒体の大きさに合わせて媒体一面(紙面)の全面に、異なるアドレス情報が格納された2次元コードが格子状に配置される。
図3は、図1に示す印刷装置30にて実行される画像出力処理を示したフローチャートである。
図3を参照すると、印刷装置30の電子文書管理部31は、まずパーソナルコンピュータ10の印刷指示部11からの指示に基づき、電子文書を入力する(ステップ101)。またこのとき、電子文書の印刷態様に関する情報も入力される。入力する電子文書は、例えばネットワークに接続された文書リポジトリからURLを指定して取得される場合がある。また印刷装置30内の電子文書蓄積部(図示せず)に蓄積されている電子文書である場合もあるし、パーソナルコンピュータ10から直接、印刷の度に受信する場合もある。なお、「電子文書」の文言を用いているが単なる「文書」やテキスト情報だけを意味するものではない。本実施形態では、絵、写真、図形などの他の画像、ビットマップ画像、他の印刷情報も含めて「電子文書」としている。
電子文書管理部31から電子文書の入力情報を得たコード画像生成部33は、印刷媒体の識別情報を取得して符号化する(ステップ102)。また、電子文書管理部31から電子文書の入力情報を得て、印刷媒体のサイズに合わせて媒体一面に印刷するための連続したアドレス情報を生成して符号化する(ステップ103)。このステップ105で実行されるアドレス情報の生成では、例えばA4サイズ、A3サイズ、B5サイズ、B4サイズなど、印刷指示を受けた媒体の大きさに合わせてアドレスが生成される。
電子文書を拡大または縮小して印刷する場合は、その拡大・縮小における縮倍率に伴い、媒体に対するアドレスが変わってくる。このとき、例えばA4サイズの電子文書をA5に縮小し、A4サイズの媒体に出力した場合に、電子文書が印刷される領域以外の部分は余白となる。この余白の部分については、連続するアドレスを割り振っても良いし、不可視トナーによる画像形成を行わずに余白として残すように構成しても構わない。
その後、コード画像生成部33は、図2を参照して説明した2次元コードパターンを用いて、ステップ102、103で符号化された媒体識別情報およびアドレス情報を記述したコード画像を生成する(ステップ104)。そして、補正部34が、電子文書管理部31から印刷態様の情報を取得して、ステップ104で生成されたコード画像を必要に応じて補正する(ステップ105)。
一方、文書画像生成部32は、印刷対象の電子文書を画像化し、文書画像を生成する(ステップ106)。ここでは、例えばページメモリに画像を展開する際、例えばR(レッド)、G(グリーン) 、B(ブルー)の入力色信号を、印刷色信号であるY(イエロー)、M(マゼンタ)、C(シアン)、K(ブラック)に変換する作業などが実行される。
次に、画像重ね合わせ部35は、ステップ104で生成されステップ105で補正されたコード画像と、ステップ106で生成された文書画像とを重ね合わせて印刷画像を生成する(ステップ107)。印刷制御部36は、画像重ね合わせ部35により生成された印刷画像を印刷部37に出力する(ステップ108)。
図4は、以上のようにして得られたコード画像を含む印刷画像の例を示した図である。
図4に示すように、媒体(画像出力媒体)表面に、可視トナーで形成される文書画像と共に、不可視トナーで形成されるコード画像が重ね合わせて出力される。このコード画像によって、アドレス情報が埋め込まれた領域が形成される。前述のように、アドレス情報は、印刷する媒体の大きさに合わせて媒体一面に割り振られており、これを表現するコード画像は、媒体の全面に形成される。また、本実施形態では、このコード画像に含まれる媒体識別情報は、媒体毎に異なったものとなる。したがって、電子文書が同じものであっても、複数ページ、複数部数を印刷した場合には、ページ毎、部数毎に、異なった識別情報が付加される。すなわち、同じ電子文書を印刷した場合であっても、コード画像の内容は、媒体ごとに異なっている。
なお上述したように、媒体に対して部分的にコード画像(不可視トナーを用いた不可視画像)を形成しないようにすることができる。例えば、印刷される電子文書に写真画像を含む場合に、その写真画像の上を汚したくないとユーザが欲する場合には、写真画像と認識される領域については不可視トナーを用いた不可視画像の印刷を行わないように処理することが可能である。このような処理を行うか否かは、ユーザに選択を可能にさせるユーザインタフェースを設け、ユーザの設定によって処理のオン/オフを切り替えることが望ましい。また、電子文書から写真画像部分を認識する方法は、従来から画像処理で行われているテキスト/イメージ分離(T/I分離)の技術を用いれば良い。ここではその詳細を省略する。
図5および図6は、補正部34によるコード画像の補正方法を説明する図である。図5は余白設定や電子文書の拡大・縮小印刷を行う場合の補正方法を説明する図であり、図6はNアップ印刷を行う場合の補正方法を説明する図である。
前提として、本実施形態においてアドレスは、左上隅を原点とし、横方向をX方向、縦方向をY方向とするX−Y座標で表されるものとする(ただし、以下の議論は左上隅以外の位置(例えば左下隅)を原点とする場合も同様である)。したがって、媒体の全面にアドレスが割り振られてコード画像が形成される場合、コード画像の左上隅が媒体における原点となる。一方、電子文書においては、その文書画像の左上隅が文書における原点となる。すなわち、コード画像と電子文書とでアドレスの原点が独立に定義される。そのため、媒体への電子文書の印刷において余白を設定したり、電子文書を拡大または縮小して印刷したりする場合であって、かつ媒体の全面にアドレスが割り振られてコード画像が形成される場合、媒体上の原点の位置と文書画像上の原点の位置とがずれてしまう。
図5において、媒体が実線で表されており、破線で囲まれた範囲が文書画像であり、その周囲が余白である。図示の例では、媒体に対して上にY1、左にX1の余白が設定されている(Of1)。したがって、文書画像の原点はコード画像によって表される媒体上の座標(X1,Y1)と一致する。このため、文書画像に対して機能を提供するアプリケーションが認識する文書画像上の位置(アドレス)は、コード画像によって表される媒体上のアドレスからX方向にX1、Y方向にY1だけずれることとなる。そこで、補正部34は、コード画像生成部33によって生成されたコード画像のアドレス情報に関して、この余白設定に即したアドレス情報となるように補正する。具体的には、コード画像における座標(X1,Y1)を原点とみなすように補正値を生成する。生成された補正値は、上述したように電子文書情報蓄積部38に格納され、電子文書管理部31により管理される。
文書画像を縮小して印刷することにより媒体上に余白が生じた場合も同様の補正を行うことができる。すなわち、縮倍率と媒体上の文書画像の配置情報から、媒体と文書画像における原点の位置のずれ量を計算する。そして、媒体上の原点が文書画像上の原点と一致するように、コード画像のアドレス情報の補正値を生成する。
一方、文書画像を拡大して印刷する場合、媒体上に図5に示したような余白は生じないが、この場合は文書画像の範囲が媒体を超えてしまうために、媒体上の原点の位置と文書画像上の原点の位置とがずれてしまう場合がある。そこでこの場合も、補正部34は、縮倍率と媒体上の文書画像の配置情報から、媒体と文書画像における原点の位置のずれ量を計算し、媒体上の原点が文書画像上の原点と一致するように、コード画像のアドレス情報の補正値を生成する。
また、文書画像を拡大または縮小して印刷する場合、上記のような原点位置のずれの他に、文書画像における各所の長さが縮倍率に応じて変化するため、コード画像によって表される媒体上の位置とアプリケーションが認識する文書画像上の位置とがずれてしまう。例えば、A4サイズの電子文書をA5サイズに縮小する場合、媒体に印刷された文書中の特定箇所における原点からの距離は元の電子文書における対応箇所の原点からの距離の約70%となる。したがって、ペン型入力装置50で媒体上に手書きされるイメージを電子文書に正しく反映させるためには、この縮倍率に応じてコード画像のアドレス情報を補正しておく必要がある。具体的には、媒体に印刷される際の電子文書の縮倍率を電子文書情報蓄積部38に格納する。ただし、この縮倍率は、パーソナルコンピュータ10から印刷指示と共に送られる印刷態様に関する情報に含まれる情報を用いることができる。
文書画像をNアップ印刷する場合は、さらにページごとに媒体上の配置に応じて異なる補正が必要となる。図6(a)、(b)は、A4の電子文書をA4サイズの媒体に2アップで印刷する場合を示している。2ページ分の電子文書は各ページ等倍で印刷される。また図6において、破線で囲まれた範囲が文書画像であり、その周囲が余白である。図6(a)に示すように、各ページには、上にY1、左にX1の余白が設定されている。
この2ページ分の文書画像が2アップで印刷される場合、各文書画像が媒体上に並べられる。そのため、図6(b)に示すように、1ページ目の文書画像の原点は、この文書画像自体に設定された余白にしたがって、コード画像によって表される媒体上の座標(X1,Y1)と一致する(Of1)。一方、2ページ目の文書画像の原点は、この文書画像自体に設定された余白と媒体上での配置にしたがって、コード画像によって表される媒体上の座標(X1,Y2)と一致する(Of2)。ここで、Y2は、1ページ目の文書画像におけるY方向サイズ、上下の余白、2ページ目の文書画像における上余白を加算した値である。このため、2ページ目の文書画像に対して機能を提供するアプリケーションが認識する文書画像上の位置(アドレス)は、コード画像によって表される媒体上のアドレスからX方向にX1、Y方向にY2だけずれることとなる。そこで、補正部34は、コード画像生成部33によって生成されたコード画像のアドレス情報に関して、この余白設定に即したアドレス情報となるように補正し、補正値を生成する。
また、Nアップ印刷する場合、文書画像は本来のサイズから縮小されて媒体に印刷されるので、拡大・縮小印刷の場合について上述したように、Nアップに基づく縮倍率を生成された補正値と共に電子文書情報蓄積部38に格納する。
次に、画像形成装置である印刷部37の具体的構成について説明する。
図7は、本実施の形態によって可視画像と共に不可視画像を同時に形成する印刷部(画像形成部)37の構成例を示す概略図である。図7に示す印刷部37は、像担持体201、帯電器202、露光装置203、ロータリ現像装置204、一次転写ロール205、クリーニング装置206、中間転写ベルト207、中間転写ベルト207の支持ロール208、209、二次転写部に設けられる対向ロール210、二次転写ロール211等を備えて構成されている。
像担持体201は、その外周面に感光層を備えた感光体ドラムである。この像担持体201は図7の矢印方向に回転可能に設けられている。帯電器202は、像担持体201の表面を一様に帯電する。露光装置203は、帯電器202によって一様に帯電された像担持体201の表面に例えばレーザ光を照射することにより、静電潜像を形成する。ロータリ現像装置204は、それぞれ不可視用、イエロー用、マゼンタ用、シアン用、ブラック用のトナーを収容する5つ現像器204F、204Y、204M、204C、204Kを有している。図7に示す装置では、画像形成のための現像剤にトナーを用いることから、現像器204Fには不可視トナー、現像器204Yにはイエロー色トナー、現像器204Mにはマゼンタ色トナー、現像器204Cにはシアン色トナー、現像器204Kにはブラック色トナーがそれぞれ収容されることになる。このロータリ現像装置204は、上記5つの現像器204F、204Y、204M、204C、204Kが順に像担持体201と近接・対向するように回転駆動することにより、それぞれの色に対応する静電潜像にトナーを転移して可視トナー像および不可視トナー像を形成する。
一次転写ロール205は、像担持体201との間で中間転写ベルト207を挟持しつつ、像担持体201表面に形成されたトナー像(可視トナー像または不可視トナー像)を中間転写ベルト207の外周面に一次転写している。クリーニング装置206は、この一次転写後に像担持体201表面に残ったトナーをクリーニング(除去)する。中間転写ベルト207は、複数の支持ロール208、209と、対向ロール210とによってその内周面を張架され、矢印方向に周回可能に支持されている。二次転写ロール211は、図示しない用紙搬送手段によって矢印方向に搬送される媒体(用紙)上に、中間転写ベルト207の外周面に転写されたトナー像を二次転写する。
このように構成される印刷部37では、順次、像担持体201表面にトナー像が形成され、中間転写ベルト207の外周面にトナー像が多重転写される。すなわち、まず、像担持体201が回転駆動され、帯電器202によって像担持体201の表面が一様に帯電された後、その像担持体201に露光装置203による像光が照射されて静電潜像が形成される。この静電潜像形成工程では、まず、不可視トナー像が形成される。すなわち、不可視用の現像器204Fによって現像された後、そのトナー像が一次転写ロール205によって中間転写ベルト207の外周面に転写される。このとき中間転写ベルト207に転写されずに像担持体201表面に残った不可視トナーは、クリーニング装置206によりクリーニングされる。その後、不可視トナー像が外周面に形成された中間転写ベルト207は、この外周面に不可視トナー像を保持したまま、次のイエロー色のトナー像が、不可視トナー画像の上に積層されて転写される位置に備えられる。以降、マゼンタ、シアン、ブラックの各色についても、上記と同様に帯電器202による帯電、露光装置203による像光の照射、各現像器204M,204C,204Kによるトナー像の形成、中間転写ベルト207外周面へのトナー像の転写が順次、繰り返される。
こうして中間転写ベルト207の外周面には、不可視トナー像と4色のトナー像からなるフルカラートナー像(可視トナー像)の両方のトナー像が担持される。このフルカラーの可視トナー像および不可視トナー像は、二次転写ロール211により一括して媒体(用紙)に転写される。これにより、媒体の画像形成面には、フルカラーの可視画像と不可視画像とが混在した記録画像が得られる。一次転写の順序によって、媒体の最上面に不可視画像が形成されている。そのために、文書画像が印刷された可視画像の上面に、図2に示したようなコード画像が印刷された不可視画像が形成されており、後述する不可視画像の読み取りに際して、可視画像の存在が読み取りの妨げにはならない。なお、フルカラーの可視画像の代わりに、例えば白黒のモノラルカラーや他に一色を加えたプラスワンカラーで可視画像が形成される場合などがある。以上のようにして、可視画像と不可視画像とが同時に画像形成される。
次に、図1の電子文書情報蓄積部38に蓄積されるデータの構造について説明する。
図8は、電子文書と媒体の識別情報との対応および印刷態様に関する情報を管理するデータの構成例を示した図であり、電子文書情報蓄積部38に蓄積される情報の内容の例を示している。図8に示すデータ構造では、管理ID、電子文書名、ページ情報、プリントアウト時間、電子文書サイズ、媒体サイズ、画像の向き、補正値(X方向)、補正値(Y方向)、縮倍率(%)、Nアップ(Nup)情報に項目分けがなされ、これらの対応関係が管理されている。管理IDの1〜6は、A4サイズの6ページ分の電子文書を印刷した場合が示されている。印刷された各ページは、異なる管理ID(1〜6)で個別に管理され、また電子文書名は全て同じURLであるが、ページ情報は1〜6と異なっている。同様に、管理IDの7と8、管理IDの9と10は、それぞれ2ページ分の電子文書を印刷した場合が示されている。
本実施の形態では、電子文書が印刷される際の余白設定、拡大・縮小、Nアップといった印刷態様に応じて媒体上に形成されるコード画像のアドレス情報を補正する点に特徴がある。図8に示す例では、この補正値(X方向およびY方向)と、同じくアドレス情報の補正に関わる縮倍率の各情報が、印刷出力された電子文書の印刷態様に関する情報として格納されている。補正値の項目に格納されている値は、コード画像で表される媒体上のアドレスのうちで媒体に印刷された電子文書の原点に対応する座標の値である。ここで、管理IDの9および10では、Nアップ情報が「2」であり、1枚の媒体に管理ID9、10の2ページ分の電子文書が印刷されている。そのため、2ページ目である管理ID10の電子文書に関しては、Y方向の補正値が大きな値となり、2ページ分の電子文書がY方向に並べて印刷されたことがわかる。図6の例と対応させれば、Y1が管理ID9のY方向の補正値(10mm)に、Y2が管理ID10のY方向の補正値(155mm)に対応する。また、管理ID9、10の電子文書は、Nアップ印刷に伴って縮小されるため、縮倍率が70%となっている。
図8に示す例では、媒体特定情報として、プリントアウト時間が用いられている。プリントアウト時間は、個々の印刷装置30において媒体毎に固有な値であるため、結果としてこの値を用いて媒体を一意に特定することが可能である。このプリントアウト時間を識別情報として媒体に印刷されるコード画像に含めることで、例えば、所定の管理サーバ等から個別に割り振られる媒体IDを用いる必要がなくなる。また、この媒体特定情報は、電子文書のIDとは性格が全く異なる。例えば同一電子文書を複数枚、印刷する場合や、Nアップのように1枚の媒体に複数の電子文書ページを印刷するような場合には、電子文書IDでは電子文書のページと媒体との整合が全く取れなくなる。しかしながら、媒体を一意に特定する情報をコード画像に含めて印刷することで、印刷される媒体の単位で識別し電子文書を管理することが可能となる。なお、単一の印刷装置30で同時に複数のジョブ(プリントアウト)が実行されることは起こり得ないため、印刷装置30を識別する装置IDをプリントアウト時間に組み合わせて媒体特定情報とすれば、媒体特定情報としての個別性は完全なものとなる。
さらに、媒体特定情報として、印刷装置30の装置IDと、その印刷装置30のカウンタ(図示せず)によって1枚の印刷毎にカウントされるカウント量の情報とを組み合わせるものも用いることができる。媒体特定情報に装置IDとカウント量を用いれば、印刷装置30においてプリントアウトの時間管理が不要になると共に、コード画像の情報量を少なくすることができる点で優れている。
また、印刷指示をしたユーザ情報(ユーザIDなど)や、印刷が実行された組織名、印刷が行われた場所の情報などを媒体特定情報として選定することも可能である。例えばユーザ情報や印刷が実行された組織は、例えばカードの挿入によって初めて印刷を可能とする装置を使用する場合には、このカードからの読み込みによって認識できる。また、図1に示すパーソナルコンピュータ10によって印刷指示がなされる場合には、パーソナルコンピュータ10が有する情報によって、これらの識別情報が認識できる。
次に、ペン型入力装置50について説明する。
図9は、ペン型入力装置50の構成を示した図である。図1では、印刷装置30との通信に用いられる機能を中心にペン型入力装置50を表したが、この図9では、不可視画像を読み取る機能等も含め、ペン型入力装置50の全体構成を示している。
このペン型入力装置50は、コード画像と文書画像とが合成されて印刷された媒体(用紙)に通常のペンと同様の操作により文字や図形を記録する筆記部61と、筆記部61の動きを監視しペン型入力装置50が用紙に押し付けられていることを検出する筆圧検出部62を備える。また、ペン型入力装置50の全体の電子的な動作を制御する制御部63と、用紙上のコード画像を読み取るために赤外光を照射する赤外照射部64と、赤外光が照射されたコード画像を捕捉して入力する画像入力部65とを備える。
ここで、制御部63についてさらに詳しく説明する。
制御部63は、コード取得部631と、軌跡算出部632と、情報記憶部633とを備えている。コード取得部631は、画像入力部65から入力された画像を解析してコードを取得する部分である。軌跡算出部632は、コード取得部631により取得したコードに対し、筆記部61のペン先の座標と画像入力部65が捕捉した画像の座標とのずれを補正してペン先の軌跡を算出する部分である。情報記憶部633は、コード取得部631が取得したコードや軌跡算出部632が算出した軌跡情報を記憶する部分である。
図10は、ペン型入力装置50の主に制御部63にて実行される処理を示したフローチャートである。なお、図10において、ステップ211以降は、ペン型入力装置50により読み取られた情報に対する電子文書管理部31の処理を示している。
ペン型入力装置50では、例えば用紙に文字や図形の記録が行われると、制御部63は、用紙に対してペンによる記録が行われていることの検出信号を筆圧検出部62から取得する(ステップ201)。この検出信号を検出すると、制御部63は赤外照射部64に対し、赤外光を用紙に照射するように指示する(ステップ202)。赤外照射部64によって用紙に照射される赤外光は不可視画像にて吸収される。画像入力部65ではこの赤外光が照射されたコード画像が捕捉される。制御部63では、画像入力部65を介してこの不可視画像の入力(スキャン)が行われる(ステップ203)。
その後、制御部63のコード取得部631では、ステップ204〜ステップ210に示すコード画像検出処理が実行される。ここでは、まず、入力されたスキャン画像が整形される。このスキャン画像の整形は、傾き補正やノイズ除去などである。そして、整形されたスキャン画像からスラッシュ「/」やバックスラッシュ「\」等のビットパターン(斜線パターン)が検出される(ステップ204)。また一方で、整形されたスキャン画像から、2次元コード位置決め用のコードである同期コードが検出される(ステップ205)。コード取得部631では、この同期コード位置を参照して2次元コードが検出され、2次元コードからECC(Error Correcting Code:誤り訂正符号)などの情報が取り出されて復号される(ステップ206)。そして、復号された情報から元のコード情報を復元する(ステップ207)。
制御部63のコード取得部631では、以上のようにして復元したコード情報からX座標、Y座標、媒体識別情報を取り出し、取り出したアドレス情報、媒体識別情報を情報記憶部633に記憶する(ステップ208)。その一方で、軌跡算出部632は、情報記憶部633に格納された座標情報からペン先の軌跡を算出し、情報記憶部633に記憶する(ステップ209)。この情報記憶部633に記憶された識別情報、アドレス情報や軌跡情報などの記憶情報は、図1に示す通信機能を介して、外部機器に送信される(ステップ210)。
このようにしてペン型入力装置50から送信される記憶情報は、印刷装置30の電子文書管理部31にて処理される(ステップ211、212)。例えば、媒体識別情報によって特定される電子情報に、ペン型入力装置50による筆記情報が反映され、図示しないディスプレイなどに合成表示される。また、筆記情報は、例えば文書リポジトリに格納されているオリジナルの電子文書の改訂情報として格納することも可能である。さらには、一旦、筆記が行われた後、別の機会に再度、筆記が行われる場合には、オリジナルの電子文書に加えて改訂情報も読み出され、その改訂情報を含む電子文書に対して新たな筆記情報が加えられるように構成することも有効である。
ペン型入力装置50から送信された電子文書管理部31が処理する場合、電子文書情報蓄積部38に格納されている印刷態様の情報が参照される。そして、ペン型入力装置50の軌跡算出部632で算出されたペン先の位置の情報(軌跡情報)が、図8に示した補正値(X方向、Y方向)に基づいて補正される(ステップ211)。また、印刷態様の情報において、縮倍率が100%以外である場合は、軌跡情報におけるX方向およびY方向の長さを縮倍率に応じて変換する。例えば、図8の管理ID9、10の電子文書の場合は、縮倍率が70%なので、媒体に対する手書きイメージを表す軌跡情報に対して、X方向およびY方向の長さを70%の長さに変換する。そして上記のように、適宜補正されたペン型入力装置50の筆記情報が電子文書に反映される(ステップ212)。
印刷装置30の電子文書管理部31において以上のような補正が行われた後、ペン先の軌跡情報はペン軌跡記録部39に記録される。これにより、ペン軌跡記録部39に記録された筆記情報が反映されてディスプレイなどに合成表示される手書きイメージと、実際に媒体に手書きされたイメージとが一致することとなる。
次に、図1に示したシステム構成とは異なるシステム構成例について説明する。
図11は、電子文書管理システムの他の構成例を示した図である。図11に示す電子文書管理システムは、パーソナルコンピュータ110と、印刷装置130と、ペン型入力装置150とを含んで構成される。
パーソナルコンピュータ110は、図1に示したパーソナルコンピュータ10の印刷指示部11およびアプリケーション制御部12と同様の機能として、印刷指示を行う印刷指示部111と、アプリケーション制御部112とを備える。また、印刷装置130は、図1に示した印刷装置30の電子文書管理部31、文書画像生成部32、コード画像生成部33、補正部34、画像重ね合わせ部35、印刷制御部36、印刷部37、電子文書情報蓄積部38、ペン軌跡記録部39およびリンク処理部40と同様の機能として、電子文書管理部131、文書画像生成部132、コード画像生成部133、補正部134、画像重ね合わせ部135、印刷制御部136、印刷部137、電子文書情報蓄積部138、ペン軌跡記録部139およびリンク処理部140を備える。さらに、ペン型入力装置150は、図1に示したペン型入力装置50の通信機能51およびコード読み取り機能52と同様の機能として、通信機能151と、コード読み取り機能152とを備える。
図11に示すシステム構成では、ペン型入力装置150の通信機能151は、パーソナルコンピュータ110のアプリケーション制御部112との間で通信を行う。この点で、印刷装置30と通信を行う図1のペン型入力装置50の通信機能51とは異なっている。なお、ペン型入力装置150の詳細な構造は、図9に示したペン型入力装置50と同様なものを用いることができる。
図11に示す電子文書管理システムでは、以上のような構成によって、図4に示すような、コード画像を含む印刷画像が形成される。この際、図1に示したシステムについて上述したように、電子文書の印刷における余白や縮倍率の設定、Nアップ印刷の指定などの印刷態様に関する情報に基づいて、コード画像生成部33により生成されたコード画像が補正部34により適宜補正される。
この印刷画像が形成された用紙(媒体)の表面に、図9に示すペン型入力装置50と同様なペン型入力装置150を用いて書き込みや指定が行われると、その情報がパーソナルコンピュータ110のアプリケーション制御部112を介して印刷装置130へ送られる。印刷装置130では、電子文書情報蓄積部138から読み出された内容(補正値を含む)を用いて、ペン型入力装置150の軌跡の記録や、ペン型入力装置150によるリンク指定に対する処理等が実行される。
次に、図1および図11に示すシステム構成とは異なる他のシステム構成例について説明する。
図12は、電子文書管理システムの第3の構成例を示した図である。図12に示す電子文書管理システムは、電子文書管理装置230と印刷装置250とで機能を分離させた点に特徴がある。図12に示すシステムでは、パーソナルコンピュータ210と、電子文書管理装置230と、印刷装置250と、ペン型入力装置270とを含んで構成される。
パーソナルコンピュータ210は、図1に示したパーソナルコンピュータ10の印刷指示部11およびアプリケーション制御部12と同様の機能として、印刷指示を行う印刷指示部211と、アプリケーション制御部212とを備える。なお、図12に示す例では、印刷指示211とアプリケーション制御部212とを同一のパーソナルコンピュータ210に設けているが、印刷指示用とアプリケーション用に別個のPCを用いても構わない。
ペン型入力装置270は、図1に示したペン型入力装置50の通信機能51と同様に、外部装置と通信を行う通信機能271を備えている。ただし、図12に示す例では、パーソナルコンピュータ210のアプリケーション制御部212と通信を行う点で図11に示したシステムと同様であり、印刷装置30と通信を行う図1のシステムとは異なっている。また、図12には、ペン型入力装置270の機能として、コード情報を読み取って解析するコード読み取り機能272が示されている。なお、ペン型入力装置270の詳細な構造は、図9に示したペン型入力装置50と同様なものを用いることができる。
電子文書管理装置230は、生成されたアドレスと電子文書との対応を管理する電子文書管理部231と、図8に示したようなデータ構造、すなわち、電子文書と媒体の識別情報との対応関係および印刷態様に関する情報を蓄積する電子文書情報蓄積部232とを備える。また、ユーザによってなされたペン軌跡を記録するペン軌跡記録部233と、電子文書に設定されたリンク情報に関する処理を実行するリンク処理部234とを備える。このような機能を有する電子文書管理装置230は、電子文書を提供するためにネットワークに接続されている文書リポジトリとは別個のサーバに設けられても良く、また同一のサーバに設けられても良い。図12に示すシステムは、図1、図11に示したシステム構成とは異なり、印刷装置250とは別個に電子文書管理装置230が設けられている。
印刷装置250は、パーソナルコンピュータ210の印刷指示部211からの印刷指示を受けると共に、文書リポジトリからネットワークを介して電子文書を取得する通信部251を備える。通信部251は、例えば印刷指示に含まれるURLを利用して印刷対象の電子文書を特定し取得することができる。この通信部251は、印刷後に、電子文書と、コード画像として媒体に印刷された媒体識別情報との対応情報を電子文書管理装置230に出力する機能も備える。
また、印刷装置250は、図1に示す印刷装置30と同様に、文書画像生成部252、コード画像生成部253、補正部254、画像重ね合わせ部255、印刷制御部256および印刷部257を備える。文書画像生成部252は、通信部251を介して取得した電子文書を展開して文書画像を生成する。コード画像生成部253は、所定のコードパターンにより媒体に印刷される連続したアドレス情報や媒体識別情報を記述するコード画像を生成する。補正部254は、電子文書の印刷態様に即してコード画像によるコード情報を補正する。画像重ね合わせ部255は、文書画像生成部252により生成された文書画像とコード画像生成部253により生成されたコード画像とを重ね合わせて最終的に出力される印刷画像を生成する。印刷制御部256は、印刷部257を制御して、画像重ね合わせ部255により生成された印刷画像を媒体上へ印刷(画像形成)する。
図12に示す電子文書管理システムでは、以上のような構成によって、図4に示すような、コード画像を含む印刷画像が形成される。この際、図1に示したシステムについて上述したように、電子文書の印刷における余白や縮倍率の設定、Nアップ印刷の指定などの印刷態様に関する情報に基づいて、コード画像生成部33により生成されたコード画像が補正部34により適宜補正される。
この印刷画像が形成された用紙(媒体)の表面に、図9に示すペン型入力装置50と同様なペン型入力装置270を用いて書き込みや指定が行われると、その情報がパーソナルコンピュータ210のアプリケーション制御部212を介して電子文書管理装置230へ送られる。電子文書管理装置230では、電子文書情報蓄積部232から読み出された内容(補正値を含む)を用いて、ペン型入力装置270の軌跡の記録や、ペン型入力装置270によるリンク指定の処理等が実行される。
以上説明したように、本実施形態は、媒体上に形成されるアドレス情報や媒体識別情報を記述するコード画像に関して、余白や縮倍率の設定、Nアップ印刷の指定などの印刷態様に関する情報に基づいて補正し、補正情報を保存する。そして、媒体に印刷されたコード画像の読み取り情報からペン型入力装置のペン先の移動軌跡の情報や、リンク指定の情報を得た際に、保存されている補正情報に基づいて取得情報を修正する。これにより、電子文書の印刷の際に余白設定やNアップ印刷や画像の拡大縮小が行われた場合にも、コードパターンの読み取り情報から得られる位置とアプリケーションが認識している位置とを一致させることができ、手書きイメージの正確な入力を実現することができる。
なお、本実施形態では、コード画像に対する補正情報を蓄積しておき、媒体に印刷されたコード画像が読み取られた際に、読み取り情報を補正情報に基づいて変換することとしたが、コード画像が生成される際に、補正情報に基づいてコード画像により記述されるアドレス情報自体を変更することも可能である。このようにすれば、媒体に印刷されたコード画像から読み取られるアドレス(座標値)が、直ちに、手書きイメージの電子情報を処理するアプリケーションが認識している座標と一致することとなる。
本実施形態が適用される電子文書管理システムの構成を示す図である。 本実施形態におけるコード画像(2次元コード)を説明するための図である。 本実施形態の印刷装置にて実行される画像出力処理を示したフローチャートである。 本実施形態におけるコード画像を含む印刷画像の例を示した図である。 本実施形態の補正部による、余白設定や電子文書の拡大・縮小印刷を行う場合の補正方法を説明する図である。 本実施形態の補正部による、Nアップ印刷を行う場合の補正方法を説明する図である。 本実施形態における印刷部(画像形成部)の構成例を示す概略図である。 本実施形態で用いられる、電子文書と媒体の識別情報との対応および印刷態様に関する情報を管理するデータの構成例を示した図である。 本実施形態のペン型入力装置の構成を示した図である。 本実施形態のペン型入力装置の主に制御部にて実行される処理を示したフローチャートである。 電子文書管理システムの他の構成例を示した図である。 電子文書管理システムの第3の構成例を示した図である。
符号の説明
10、110、210…パーソナルコンピュータ(PC)、30、130、250…印刷装置、31、131、231…電子文書管理部、32、132、252…文書画像生成部、33、133、253…コード画像生成部、34、134、254…補正部、35、135、255…画像重ね合わせ部、36、136、256…印刷制御部、37、137、257…印刷部、38、138、232…電子文書情報蓄積部、39、139、233…ペン軌跡記録部、40、140、234…リンク処理部、50、150、270…ペン型入力装置、230…電子文書管理装置、251…通信部

Claims (21)

  1. 電子文書を印刷する媒体の面に印刷され、当該媒体の面の位置を特定するためのアドレス情報と当該電子文書との対応関係を管理する電子文書管理手段と、
    前記電子文書の文書画像上の位置と前記媒体の面に当該電子文書と共に印刷された前記アドレス情報を記述するコード画像による前記媒体上の位置との座標変換のためのずれを記述した補正情報を当該媒体に対応付けて蓄積した蓄積手段とを備え、
    前記電子文書管理手段は、前記コード画像の読み取り情報を入力し、当該読み取り情報から得られる位置情報を、前記蓄積手段に蓄積された前記補正情報に基づいて、前記電子文書の文書画像上の位置と前記コード画像による前記媒体上の位置とが一致するように補正することを特徴とする電子文書管理システム。
  2. 前記媒体の面に印刷された前記コード画像を読み取るコード画像読み取り手段をさらに備え、
    前記電子文書管理手段は、前記コード画像読み取り手段により読み取られたコード画像の読み取り情報を入力することを特徴とする請求項1に記載の電子文書管理システム。
  3. 前記コード画像読み取り手段として機能する第1の装置と、前記蓄積手段および前記電子文書管理手段として機能する第2の装置とで構成され、
    前記第1の装置は、前記媒体の面に対するユーザの操作によって特定される当該媒体上の位置に印刷された前記コード画像を読み取ることを特徴とする請求項2に記載の電子文書管理システム。
  4. 前記補正情報は、少なくとも、前記文書画像上の特定の位置に対する前記媒体上の対応位置を示す前記アドレス情報を含むことを特徴とする請求項1に記載の電子文書管理システム。
  5. 前記電子文書管理手段は、前記補正情報に加えて、前記電子文書が前記媒体に印刷された際の縮倍率に基づいて補正を行うことを特徴とする請求項1に記載の電子文書管理システム。
  6. 電子文書の印刷指示を受信する受信手段と、
    前記電子文書を印刷する媒体の面に印刷され、当該媒体の面の位置を特定するためのアドレス情報と当該電子文書との対応関係を管理する電子文書管理手段と、
    前記アドレス情報に基づいて前記媒体に印刷されるコード画像を生成するコード画像生成手段と、
    前記コード画像生成手段により生成された前記コード画像に対して、前記電子文書の文書画像上の位置と前記コード画像による前記媒体上の位置との座標変換のためのずれを記述した補正情報を生成する補正手段と、
    前記電子文書管理手段で管理される情報および前記補正手段により生成された補正情報を蓄積する蓄積手段と、
    生成された前記コード画像と前記電子文書の画像とを前記媒体の面に印刷する印刷手段と
    を備えることを特徴とする電子文書管理システム。
  7. 前記印刷手段により媒体上に印刷されたコード画像を読み取るコード画像読み取り手段をさらに備え、
    前記電子文書管理手段は、前記コード画像読み取り手段により読み取られたコード画像の読み取り情報を入力し、当該読み取り情報から得られる位置情報を、前記補正手段により生成された補正情報に基づいて補正することを特徴とする請求項6に記載の電子文書管理システム。
  8. 前記コード画像読み取り手段は、前記媒体の面に対するユーザの操作によって特定される当該媒体上の位置に印刷された前記コード画像を読み取ることを特徴とする請求項7に記載の電子文書管理システム。
  9. 前記補正情報は、少なくとも、前記文書画像上の特定の位置に対する前記媒体上の対応位置を示す前記アドレス情報を含むことを特徴とする請求項6に記載の電子文書管理システム。
  10. 前記補正手段は、前記電子文書が前記媒体に印刷される場合の余白設定に基づいて前記補正情報を生成することを特徴とする請求項6に記載の電子文書管理システム。
  11. 前記補正手段は、前記電子文書が前記媒体に印刷される場合の縮倍率に基づいて前記補正情報を生成することを特徴とする請求項6に記載の電子文書管理システム。
  12. 前記補正手段は、複数ページ分の前記電子文書が1枚の前記媒体に印刷される場合、各ページの当該媒体上の配置および縮倍率に基づいて前記補正情報を生成することを特徴とする請求項6に記載の電子文書管理システム。
  13. 電子文書を印刷する媒体の面の位置を特定するためのアドレス情報に基づいて当該媒体に印刷されるコード画像を生成するコード画像生成手段と、
    前記コード画像生成手段により生成された前記コード画像に対して、前記電子文書の文書画像上の位置と前記コード画像による前記媒体上の位置との座標変換のためのずれを記述した補正情報を生成する補正手段と、
    生成された前記コード画像と前記補正情報の生成に関わる電子文書の画像とを前記媒体の面に印刷する印刷手段と
    を備えることを特徴とする画像形成装置。
  14. 前記アドレス情報と前記電子文書との対応関係および前記補正手段により生成された補正情報を出力する出力手段をさらに備えたことを特徴とする請求項13に記載の画像形成装置。
  15. 前記補正情報は、少なくとも、前記文書画像上の原点に対応する前記媒体上のアドレスを含むことを特徴とする請求項13に記載の画像形成装置。
  16. 前記補正情報は、前記電子文書が前記媒体に印刷される場合の縮倍率をさらに含むことを特徴とする請求項15に記載の画像形成装置。
  17. 電子文書が印刷された媒体の面に当該電子文書と共に印刷された、少なくとも媒体の面の位置を特定するためのアドレス情報を記述するコード画像を読み取るステップと、
    前記コード画像の読み取り情報を入力し、当該読み取り情報から位置情報を取得するステップと、
    前記位置情報を、前記電子文書の文書画像上の位置と前記コード画像による前記媒体上の位置との座標変換のためのずれを記述した補正情報に基づいて、前記文書画像上の位置と前記コード画像による前記媒体上の位置とが一致するように補正するステップと、
    補正された位置情報を前記電子文書に反映させるステップと
    を含むことを特徴とする電子文書管理方法。
  18. 前記補正情報は、少なくとも、前記文書画像上の特定の位置に対する前記媒体上の対応位置を示す前記アドレス情報を含むことを特徴とする請求項17に記載の電子文書管理方法。
  19. 電子文書を印刷する媒体の面に印刷され、当該媒体の面の位置を特定するためのアドレス情報と当該電子文書との対応関係を管理する電子文書管理手段と、
    前記電子文書の文書画像上の位置と前記媒体の面に当該電子文書と共に印刷された前記アドレス情報を記述するコード画像による前記媒体上の位置との座標変換のためのずれを記述した補正情報を当該媒体に対応付けて記憶装置に格納する蓄積手段と、
    前記コード画像の読み取り情報を入力し、当該読み取り情報から得られる位置情報を、前記蓄積手段により記憶装置に蓄積された前記補正情報に基づいて、前記文書画像上の位置と前記コード画像による前記媒体上の位置とが一致するように補正する補正手段として、
    コンピュータを機能させることを特徴とするプログラム。
  20. 前記補正情報は、少なくとも、前記文書画像上の特定の位置に対する前記媒体上の対応位置を示す前記アドレス情報を含むことを特徴とする請求項19に記載のプログラム。
  21. 前記補正情報は、前記電子文書が前記媒体に印刷された際の縮倍率をさらに含むことを特徴とする請求項20に記載のプログラム。
JP2005175423A 2005-06-15 2005-06-15 電子文書管理システム、画像形成装置、電子文書管理方法およびプログラム Expired - Fee Related JP4569397B2 (ja)

Priority Applications (3)

Application Number Priority Date Filing Date Title
JP2005175423A JP4569397B2 (ja) 2005-06-15 2005-06-15 電子文書管理システム、画像形成装置、電子文書管理方法およびプログラム
US11/259,056 US7461789B2 (en) 2005-06-15 2005-10-27 Electronic document management system, image forming device, method of managing electronic document, and program
CN200510134495.8A CN1881235B (zh) 2005-06-15 2005-12-15 电子文档管理系统、图像形成装置、电子文档管理方法

Applications Claiming Priority (1)

Application Number Priority Date Filing Date Title
JP2005175423A JP4569397B2 (ja) 2005-06-15 2005-06-15 電子文書管理システム、画像形成装置、電子文書管理方法およびプログラム

Publications (2)

Publication Number Publication Date
JP2006350650A JP2006350650A (ja) 2006-12-28
JP4569397B2 true JP4569397B2 (ja) 2010-10-27

Family

ID=37519432

Family Applications (1)

Application Number Title Priority Date Filing Date
JP2005175423A Expired - Fee Related JP4569397B2 (ja) 2005-06-15 2005-06-15 電子文書管理システム、画像形成装置、電子文書管理方法およびプログラム

Country Status (3)

Country Link
US (1) US7461789B2 (ja)
JP (1) JP4569397B2 (ja)
CN (1) CN1881235B (ja)

Families Citing this family (16)

* Cited by examiner, † Cited by third party
Publication number Priority date Publication date Assignee Title
US7961943B1 (en) * 2005-06-02 2011-06-14 Zeevi Eli I Integrated document editor
JP4301524B2 (ja) * 2007-03-27 2009-07-22 株式会社沖データ 印刷システム及び情報処理装置
US8386923B2 (en) * 2007-05-08 2013-02-26 Canon Kabushiki Kaisha Document generation apparatus, method, and storage medium
US8271864B2 (en) * 2007-07-10 2012-09-18 Anoto Ab Electronic representations of position-coded products in digital pen systems
WO2009070099A1 (en) * 2007-11-26 2009-06-04 Anoto Ab Printing of position-coded documents
JP2009170979A (ja) * 2008-01-10 2009-07-30 Fuji Xerox Co Ltd 文書管理システム、文書管理装置およびプログラム
JP4385169B1 (ja) * 2008-11-25 2009-12-16 健治 吉田 手書き入出力システム、手書き入力シート、情報入力システム、情報入力補助シート
JP2012008952A (ja) * 2010-06-28 2012-01-12 Fuji Xerox Co Ltd 情報処理装置、情報処理システム及びプログラム
JP2012206505A (ja) * 2011-03-11 2012-10-25 Canon Inc 出力装置、システム、制御方法、プログラム
JP5699010B2 (ja) * 2011-03-18 2015-04-08 東芝テック株式会社 画像処理装置
JP5948731B2 (ja) * 2011-04-19 2016-07-06 富士ゼロックス株式会社 画像処理装置、画像処理システム及びプログラム
JP4968417B1 (ja) * 2012-01-26 2012-07-04 富士ゼロックス株式会社 印刷データ変換装置及びプログラム
JP5929403B2 (ja) * 2012-03-26 2016-06-08 富士ゼロックス株式会社 画像形成装置、画像処理装置、及びプログラム
JP6476827B2 (ja) * 2014-12-17 2019-03-06 富士ゼロックス株式会社 システム及びプログラム
JP2017059008A (ja) * 2015-09-17 2017-03-23 コニカミノルタ株式会社 書込画像記録装置、書込画像記録方法、およびコンピュータプログラム
CN107066919B (zh) * 2016-12-21 2020-09-29 网易(杭州)网络有限公司 笔尖位置求解方法、设备和计算机可读存储介质

Family Cites Families (15)

* Cited by examiner, † Cited by third party
Publication number Priority date Publication date Assignee Title
US5208257A (en) * 1986-04-21 1993-05-04 Kabara Jon J Topical antimicrobial pharmaceutical compositions and methods
DE4240674C2 (de) * 1992-11-26 1999-06-24 Schuelke & Mayr Gmbh Desodorierende Wirkstoffe
JPH09319805A (ja) * 1996-05-29 1997-12-12 Hitachi Ltd 書式オーバレイ制御方法
JP2973944B2 (ja) * 1996-06-26 1999-11-08 富士ゼロックス株式会社 文書処理装置および文書処理方法
JP2967341B2 (ja) * 1997-06-12 1999-10-25 富士ゼロックス株式会社 埋込符号生成方法及び装置
JP4099951B2 (ja) * 2000-03-30 2008-06-11 コニカミノルタビジネステクノロジーズ株式会社 画像データに付加情報を埋め込むための画像処理装置、画像形成装置、情報埋込方法およびプログラム
SE519012C2 (sv) 2001-04-05 2002-12-23 Anoto Ab Sätt att hantera information
JP4543600B2 (ja) * 2001-09-13 2010-09-15 セイコーエプソン株式会社 印刷データ編集システム、その編集方法及びその記録媒体
JP3882609B2 (ja) 2001-12-20 2007-02-21 富士ゼロックス株式会社 電子写真用トナー、電子写真用現像剤、及びそれらを用いた画像形成方法
JP4003456B2 (ja) * 2002-01-08 2007-11-07 カシオ計算機株式会社 印刷制御装置、および、プログラム
JP4198456B2 (ja) * 2002-07-10 2008-12-17 株式会社リコー 2次元コードパターン、2次元コードパターンを担持するパターン担持媒体、2次元コードパターンの生成方法、2次元コード読取装置および読取方法
US6959866B2 (en) * 2002-05-30 2005-11-01 Ricoh Company, Ltd. 2-Dimensional code pattern, 2-dimensional code pattern supporting medium, 2-dimensional code pattern generating method, and 2-dimensional code reading apparatus and method
KR100414524B1 (ko) * 2002-10-31 2004-01-16 주식회사 아이콘랩 복호 특성이 우수하며 단계별 에러레벨조정이 가능한2차원 코드 및 그 코드의 인코딩 디코딩 방법
JP2005117154A (ja) * 2003-10-03 2005-04-28 Canon Inc 電子透かし埋め込み方法、電子透かし埋め込み装置、電子透かし抽出方法、電子透かし抽出装置、上記各方法を実行可能なコンピュータプログラム、及びこれを記憶した記憶媒体
JP4586677B2 (ja) * 2005-08-24 2010-11-24 富士ゼロックス株式会社 画像形成装置

Also Published As

Publication number Publication date
US20060283949A1 (en) 2006-12-21
CN1881235B (zh) 2014-04-02
US7461789B2 (en) 2008-12-09
CN1881235A (zh) 2006-12-20
JP2006350650A (ja) 2006-12-28

Similar Documents

Publication Publication Date Title
JP4569397B2 (ja) 電子文書管理システム、画像形成装置、電子文書管理方法およびプログラム
JP4618042B2 (ja) 印刷システム、印刷装置、印刷処理方法、およびプログラム
JP4569359B2 (ja) 電子文書管理システム、画像形成装置、印刷媒体、電子文書管理方法およびプログラム
JP4609218B2 (ja) 画像形成装置、その制御方法およびプログラム
JP4529808B2 (ja) 画像生成装置、画像形成装置、情報処理装置、印刷媒体、画像生成方法、及びプログラム
JP4674492B2 (ja) 印刷装置、電子文書管理システム、印刷媒体、印刷処理方法およびプログラム
JP4604888B2 (ja) 位置情報管理装置、画像形成装置、位置情報管理方法、及びプログラム
JP2007296742A (ja) 画像形成装置、電子文書管理方法
JP4645379B2 (ja) 印刷装置、印刷方法、及びプログラム
JP4497052B2 (ja) 画像処理装置、及びプログラム
JP4561549B2 (ja) 画像生成装置、印刷方法、プログラム、及び印刷媒体群
JP4604884B2 (ja) 印刷装置
JP4692265B2 (ja) 印刷指示装置、印刷装置、印刷システム、及びプログラム
JP4534888B2 (ja) 印刷装置及び印刷物
JP2007083448A (ja) 印刷装置、および画像印刷方法
JP2007072640A (ja) 印刷指示装置、印刷装置、画像生成装置、印刷媒体、印刷指示方法、及びプログラム
JP5061916B2 (ja) 文書管理システム、文書管理装置およびプログラム
JP2007022003A (ja) 印刷装置及び印刷物
JP2007052607A (ja) 画像生成装置、印刷装置および印刷方法

Legal Events

Date Code Title Description
A621 Written request for application examination

Free format text: JAPANESE INTERMEDIATE CODE: A621

Effective date: 20080317

A131 Notification of reasons for refusal

Free format text: JAPANESE INTERMEDIATE CODE: A131

Effective date: 20100427

A521 Request for written amendment filed

Free format text: JAPANESE INTERMEDIATE CODE: A523

Effective date: 20100625

TRDD Decision of grant or rejection written
A01 Written decision to grant a patent or to grant a registration (utility model)

Free format text: JAPANESE INTERMEDIATE CODE: A01

Effective date: 20100713

A01 Written decision to grant a patent or to grant a registration (utility model)

Free format text: JAPANESE INTERMEDIATE CODE: A01

A61 First payment of annual fees (during grant procedure)

Free format text: JAPANESE INTERMEDIATE CODE: A61

Effective date: 20100726

FPAY Renewal fee payment (event date is renewal date of database)

Free format text: PAYMENT UNTIL: 20130820

Year of fee payment: 3

R150 Certificate of patent or registration of utility model

Ref document number: 4569397

Country of ref document: JP

Free format text: JAPANESE INTERMEDIATE CODE: R150

Free format text: JAPANESE INTERMEDIATE CODE: R150

S533 Written request for registration of change of name

Free format text: JAPANESE INTERMEDIATE CODE: R313533

R350 Written notification of registration of transfer

Free format text: JAPANESE INTERMEDIATE CODE: R350

LAPS Cancellation because of no payment of annual fees