JP4462829B2 - プロテクタでのコルゲートチューブ保持構造 - Google Patents
プロテクタでのコルゲートチューブ保持構造 Download PDFInfo
- Publication number
- JP4462829B2 JP4462829B2 JP2003011303A JP2003011303A JP4462829B2 JP 4462829 B2 JP4462829 B2 JP 4462829B2 JP 2003011303 A JP2003011303 A JP 2003011303A JP 2003011303 A JP2003011303 A JP 2003011303A JP 4462829 B2 JP4462829 B2 JP 4462829B2
- Authority
- JP
- Japan
- Prior art keywords
- corrugated tube
- protector
- harness
- tube
- corrugated
- Prior art date
- Legal status (The legal status is an assumption and is not a legal conclusion. Google has not performed a legal analysis and makes no representation as to the accuracy of the status listed.)
- Expired - Fee Related
Links
- 230000001012 protector Effects 0.000 title claims description 79
- 239000002390 adhesive tape Substances 0.000 claims description 13
- 238000003780 insertion Methods 0.000 description 5
- 230000037431 insertion Effects 0.000 description 5
- 238000000034 method Methods 0.000 description 4
- 238000004804 winding Methods 0.000 description 3
- 238000004519 manufacturing process Methods 0.000 description 2
- XLYOFNOQVPJJNP-UHFFFAOYSA-N water Substances O XLYOFNOQVPJJNP-UHFFFAOYSA-N 0.000 description 2
- 238000010586 diagram Methods 0.000 description 1
- 238000006073 displacement reaction Methods 0.000 description 1
- 230000000694 effects Effects 0.000 description 1
- 230000002093 peripheral effect Effects 0.000 description 1
- 229920003002 synthetic resin Polymers 0.000 description 1
- 239000000057 synthetic resin Substances 0.000 description 1
Images
Landscapes
- Protection Of Pipes Against Damage, Friction, And Corrosion (AREA)
- Details Of Indoor Wiring (AREA)
Description
【発明の属する技術分野】
本発明はプロテクタ及びコルゲートチューブの保持構造に関し、詳しくはワイヤハーネスを構成する電線束を保護し、電線束を挿入したコルゲートチューブを保持するプロテクタでのコルゲートチューブの保持構造に関する。
【0002】
【従来の技術】
従来、図14に示すような、ワイヤハーネスW/Hを構成する電線束6を保護する分岐プロテクタ1が提案されている(例えば、特許文献1)。
図14において、分岐プロテクタ1は、ワイヤハーネスW/Hを構成する電線束6と、電線束6を挿入した蛇腹状のコルゲートチューブ5とを配置する本体2と、本体2に組み付けられる蓋体3とから構成される。
【0003】
前記本体2は、一端部に一つのチューブ収容室7を有し、他端部に二つのチューブ収容室8,9を有し、中央部に電線束6を収容する束収容室10を有する。各チューブ収容室7,8,9の内面には、断面U字状の突条部11,12,13が周設されており、これら突条部11,12,13がそれぞれ対応するコルゲートチューブ5の凹部5aを係止し、各コルゲートチューブ5を一時的に固定する。
【0004】
前記蓋体3は、前記突条部11,12,13にそれぞれ相対向する湾曲状突起15,16,17を内面に有している。これにより、各チューブ収容室7,8,9の突条部11,12,13と蓋体3の湾曲状突起15,16,17とがコルゲートチューブ5の凹部5aに進入して上下から挟持するので、コルゲートチューブ5は分岐プロテクタ1に確実に保持される。
【0005】
即ち、上記分岐プロテクタ1によれば、本体2に蓋体3が取付けられる前に、コルゲートチューブ5が各チューブ収容室7,8,9に対して宙ぶらりんの状態でなく、本体2の各突条部11,12,13にちょうど仮係止された状態である。
そこで、本体2と蓋体3との組付け時に、コルゲートチューブ5の位置が本体2内でズレたり、また作業者がわざわざ保持する必要がなくなり、組付け作業が容易かつ迅速になる。
【0006】
【特許文献1】
特開平11−8922号公報
【0007】
【発明が解決しようとする課題】
ところで、従来のワイヤハーネスの製造方法においては、例えば布線台上の所定位置に配置された複数の配索治具上に、予め複数のプロテクタやコネクタ等をセットし、これら配索治具に複数本の電線を掛け渡しながらワイヤハーネスW/Hの電線束6を布線する。
そこで、上述の如き分岐プロテクタ1を使用する場合にも、予め本体2を配索治具上にセットして電線束6を布線した後、該電線束6にコルゲートチューブ5を装着する。そして、前記コルゲートチューブ5の凹部5aに対応する突条部11,12,13が進入するように、該コルゲートチューブ5の端部を各チューブ収容室7,8,9の上方より装着する。
【0008】
しかしながら、ワイヤハーネスの製造時には、例えばグロメットの止水部分等に粘着テープを巻き付けるテープ巻き作業のように、一時的に作業者が電線束6を持ち上げて作業することがあり、各チューブ収容室7,8,9に装着された前記コルゲートチューブ5の端部が本体2から外れてしまうことがあった。又、前記分岐プロテクタ1のように、ハーネス引出し端部であるチューブ収容室7,8,9が本体2に複数ある場合、各ハーネス引出し端部におけるコルゲートチューブ5を押えながら蓋体3を組付けなければならず、組付け作業性が良くない。
即ち、本体2の各突条部11,12,13による仮係止は、コルゲートチューブ5の長手方向のズレに対する仮係止であり、該コルゲートチューブ5の径方向上方への移動に対しては十分な係止力を付与することができない。
【0009】
従って、本発明の目的は上記課題を解消することに係り、ワイヤハーネスを挿入したコルゲートチューブを作業者の手等で保持せず、ワイヤハーネスの配索作業性の向上を図ることができるプロテクタでのコルゲートチューブの保持構造を提供することである。
【0010】
【課題を解決するための手段】
本発明の上記目的は、ワイヤハーネスを構成する電線束が挿入された蛇腹状のコルゲートチューブをプロテクタのハーネス引出し端部で保持するコルゲートチューブの保持構造であって、前記コルゲートチューブが装着される前記ハーネス引出し端部の底壁及び両側壁の内面に一対の半円弧状の突条部を周設し、前記一対の突条部の間に位置する前記両側壁の上方開口側の内面に、対向する側壁のそれぞれから抜け止め用突起を突設し、前記突条部により、前記コルゲートチューブの一対の凹部を係止して、前記コルゲートチューブの長手方向の移動を規制し、前記抜け止め用突起を、上方開口側から前記コルゲートチューブに当接して、先端を前記一対の凹部の間に位置する前記コルゲートチューブの凹部に挿入し、前記抜け止め用突起により、前記コルゲートチューブの上方開口側ヘの移動と前記長手方向の移動とを規制することを特徴とするコルゲートチューブの保持構造により達成される。
【0015】
上記構成のコルゲートチューブの保持構造によれば、電線束を挿入した蛇腹状のコルゲートチューブが、プロテクタのハーネス引出し端部に装着されると、該ハーネス引出し端部の内面に突設された突条部及び抜け止め用突起が、コルゲートチューブの凹部を係止して長手方向の移動を規制すると共に、コルゲートチューブの外周に当接して上方開口側への移動を規制するので、プロテクタのハーネス引出し端部に装着されたコルゲートチューブは仮固定された状態となる。
【0016】
尚、好ましくは前記コルゲートチューブに挿入される電線束に粘着テープの一端を捲着した後、該粘着テープの他端を前記コルゲートチューブのスリットから引出して該コルゲートチューブの外周に捲着することにより、前記電線束を当該コルゲートチューブに対して位置決めする。
この場合、コルゲートチューブに挿入された電線束が、コルゲートチューブ及び粘着テープを介してプロテクタのハーネス引出し端部に位置決めされる。
【0017】
【発明の実施の形態】
以下、添付図面に基づいて本発明の一実施形態に係るプロテクタ及びコルゲートチューブ保持構造を詳細に説明する。
図1は本発明の第1実施形態に係るプロテクタの分解斜視図であり、図2及び図3は図1に示したチューブ保持手段の拡大斜視図及び平面図であり、図4は図1に示したプロテクタ本体に装着されるワイヤハーネスの一部を示す斜視図である。
【0018】
本第1実施形態のプロテクタ21は、図1及び図4に示すように、自動車等のワイヤハーネスW/Hを構成する電線束60を収容する断面U字状のプロテクタ本体22と、このプロテクタ本体22の上方開口を覆う蓋体23とから構成されている。そして、一対の構成部材であるプロテクタ本体22及び蓋体23は、それぞれ絶縁性の合成樹脂によって一体成形されている。
【0019】
前記プロテクタ本体22は、図1に示したように、それぞれ異なる方向に向かって延設された複数(本実施形態においては、四つ)のハーネス引出し端部25,26,27,28を有し、中央部に電線束60を収容する束収容室30を有する。
これらハーネス引出し端部25,26,27,28には、電線束60の幹線又は分岐線をそれぞれ挿入した蛇腹状のコルゲートチューブ55,56,57,58の一端部が装着される。
【0020】
前記各ハーネス引出し端部25,26,27,28に設けたチューブ保持手段35,36,37,38は、それぞれ内面に周設された一対の突条部35a,36a,37a,38aと、両側壁内面に突設された一対の抜け止め用突起35b,36b,37b,38bと、を備えている。
ここで、前記各チューブ保持手段35,36,37,38は、殆ど同一に形成されているので、チューブ保持手段35を例に説明する。
【0021】
図2及び図3に示したように、チューブ保持手段35に設けられた一対の突条部35aは、装着されるコルゲートチューブ55の長手方向と直交する方向に沿って平行に底壁内面及び両側壁内面に周設されており、断面凸状に形成されている。これら突条部35aは、半円弧状の先端縁が前記コルゲートチューブ55の凹部55aを係止することにより、該コルゲートチューブ55の長手方向の移動を規制する。
【0022】
又、これら突条部35aの間に配置された一対の抜け止め用突起35bは、対向する両側壁内面の上方開口側にそれぞれ突設されており、断面二股の凸状に形成されている。前記コルゲートチューブ55の外周に上方から当接することにより上方開口側への移動を規制するこれら抜け止め用突起35bは、各先端縁が前記コルゲートチューブ55の凹部55a内に進入し、上面に当接することによって、該コルゲートチューブ55の上方開口側への移動と共に長手方向への移動をも規制する。
【0023】
前記蓋体23は、図1に示したように、前記プロテクタ本体22の上方開口に対応した形状を有しており、その周縁には、前記プロテクタ本体22の側壁に適宜設けられた係合枠31及び挿入片32に係合してロック手段を構成する挿入片42及び係合枠41が形成されている。
【0024】
更に、前記蓋体23の内面には、閉蓋時に前記各チューブ保持手段35,36,37,38の突条部35a,36a,37a,38aにそれぞれ相対応する湾曲状突部45a,46a,47a,48aが突設されている。これにより、チューブ保持手段35,36,37,38の各突条部35a,36a,37a,38aと、蓋体23の各湾曲状突部45a,46a,47a,48aとが、前記コルゲートチューブ55の凹部55a内に進入して上下から挟持する。
【0025】
次に、図4乃至図8を参照しながら、前記電線束60の幹線又は分岐線をそれぞれ挿入した蛇腹状のコルゲートチューブ55,56,57,58と共にワイヤハーネスW/Hを前記プロテクタ本体22内に収容する手順を説明する。
先ず、図4に示すように、予めプロテクタ本体22を図示しない布線台上の配索治具上にセットして電線束60を布線した後、該電線束60にそれぞれコルゲートチューブ55,56,57,58を装着する。
【0026】
この際、前記各ハーネス引出し端部25,26,27,28に対する各コルゲートチューブ55,56,57,58の装着方法は殆ど同一であるので、チューブ保持手段35に対するコルゲートチューブ55の装着手順を例に説明する。
図5に示したように、電線束60を挿入したコルゲートチューブ55の端部が、ハーネス引出し端部25に設けたチューブ保持手段35に上方から押し込まれて装着される。
【0027】
この時、ハーネス引出し端部25の両側壁内面に対向して突設された一対の抜け止め用突起35b,35bの間隔は、前記コルゲートチューブ55の凹部55aの直径よりも狭いが、該コルゲートチューブ55の端部を強く押し込むことで、該コルゲートチューブ55が縮径方向に弾性変形すると共に、前記両側壁が拡幅方向に若干弾性変形するので、装着は可能である。
【0028】
すると、図6に示すように、前記コルゲートチューブ55の対応する凹部55aに前記突条部35aが進入し、該凹部55aを係止して該コルゲートチューブ55の長手方向の移動を規制する。
又、前記コルゲートチューブ55の外周に上方から当接することにより上方開口側への移動を規制するべく前記ハーネス引出し端部25の両側壁内面に突設された一対の抜け止め用突起35b,35bの先端縁が、前記コルゲートチューブ55の凹部55a内に進入し、上面に当接することによって、該コルゲートチューブ55の上方開口側への移動と共に長手方向への移動をも規制する。
【0029】
そこで、前記ハーネス引出し端部25に設けたチューブ保持手段35に装着されたコルゲートチューブ55は、プロテクタ本体22に仮固定された状態となる。
同様に、他のハーネス引出し端部26,27,28に設けたチューブ保持手段36,37,38にそれぞれ装着されたコルゲートチューブ56,57,58も、図7に示したように、プロテクタ本体22に仮固定された状態となる。
【0030】
即ち、前記プロテクタ本体22に前記蓋体23が組付けられる前に、各コルゲートチューブ55,56,57,58が各ハーネス引出し端部25,26,27,28にそれぞれ仮固定された状態となり、不用意に各コルゲートチューブ55,56,57,58の端部が各ハーネス引出し端部25,26,27,28から外れてしまうことがないので、作業者が手等でわざわざコルゲートチューブ55,56,57,58を保持する必要がなくなる。
【0031】
また、ワイヤハーネスW/Hの製造時、例えばグロメットの止水部分等に粘着テープを巻き付けるテープ巻き作業のように、一時的に作業者が電線束60を持ち上げた場合でも、各コルゲートチューブ55,56,57,58は各チューブ保持手段35,36,37,38によって上方開口側への移動を確実に規制されているので、前記コルゲートチューブ55,56,57,58がプロテクタ本体22から外れてしまうことはなく、ワイヤハーネスW/Hの配索作業性が著しく向上する。
【0032】
更に、図8に示したように、閉蓋時に前記蓋体23の内面に突設された湾曲状突部45aの先端縁が、前記コルゲートチューブ55の凹部55a内に進入し、上面に当接することによって、前記チューブ保持手段35との間で前記コルゲートチューブ55の凹部55aを上下から挟持する。
【0033】
また、前記蓋体23の湾曲状突部45aは、前記突条部35a及び前記抜け止め用突起35bと伴に前記コルゲートチューブ55における凹部55aの外周を全周にわたって把持固定する。
そこで、これら湾曲状突部45a、突条部35a及び抜け止め用突起35bによって、コルゲートチューブ55の外周が全周にわたって把持固定されるので、該コルゲートチューブ55はプロテクタ21に強固に保持固定される。
【0034】
従って、本第1実施形態のプロテクタ21は、図14に示した従来の分岐プロテクタ1に比較して、ワイヤハーネスW/Hの配索作業性を向上させることができると共に、各コルゲートチューブ55,56,57,58を強固に保持固定することができる。
【0035】
尚、本発明のプロテクタ及びコルゲートチューブ保持構造は、上記第1実施形態の構成に限定されるものではなく、プロテクタ本体、蓋体、ハーネス引出し端部、チューブ保持手段、突条部及び抜け止め用突起等の構成は、本発明の趣旨に基づいて種々の形態を採り得ることは言うまでもない。
【0036】
例えば、図9及び図10に示した第2実施形態のプロテクタ61は、プロテクタ本体62と、このプロテクタ本体62の上方開口を覆う蓋体63とから構成されている。
前記プロテクタ本体62は、図9に示したように、複数(本実施形態においては、七つ)のハーネス引出し端部65,66,67,68,69,70,71を有し、中央部に電線束60の幹線を収容する束収容室80を有する。
【0037】
これらハーネス引出し端部65,66,67,68,69,70,71には、電線束60の幹線又は分岐線をそれぞれ挿入した蛇腹状のコルゲートチューブの一端部が装着されるが、各ハーネス引出し端部65,66,67,68,69,70に設けたチューブ保持手段85,86,87,88,89,90の各構成は、上記第1実施形態におけるチューブ保持手段35等と同様なので、詳細な説明は省略する。
【0038】
又、前記蓋体63は、図9に示したように、前記プロテクタ本体62の上方開口に対応した形状を有しており、その周縁には、前記プロテクタ本体62の側壁に適宜設けられた係合枠31に係合してロック手段を構成する挿入片42が形成されている。
更に、前記蓋体63の内面に突設された湾曲状突部95a,96a,97a,98a,99a,100aの各構成は、上記第1実施形態における湾曲状突部45a等と同様なので、詳細な説明は省略する。
【0039】
そして、本第2実施形態のプロテクタ61に係る特徴部分のみを、図10を参照しながら説明する。
本第2実施形態のプロテクタ本体62におけるハーネス引出し端部67,68,69,70は、該プロテクタ本体62の束収容室80に収容された電線束60の幹線60aからそれぞれ4本の分岐線60bを分岐する為のものである。
【0040】
そこで、図10に示したハーネス引出し端部69,70を例に説明すると、これらハーネス引出し端部69,70は、プロテクタ本体62の側壁に切欠き形成した引出し開口62aの外側に延設された断面L字状の補助壁62bの両端側内面と、対向するプロテクタ本体62の側壁外面とで構成されている。
【0041】
各ハーネス引出し端部69,70には、前記分岐線60bをそれぞれ挿入した蛇腹状のコルゲートチューブ82,83の一端部が装着される。
前記各ハーネス引出し端部69,70に設けたチューブ保持手段89,90は、それぞれ内面に周設された一対の突条部89a,90aと、一対の抜け止め用突起89b,90bと、を備えている。
【0042】
そこで、前記分岐線60bをそれぞれ挿入したコルゲートチューブ82,83の各端部が、ハーネス引出し端部69,70に設けたチューブ保持手段89,90に上方から押し込まれて装着されると、図10に示したように、前記ハーネス引出し端部69,70に設けたチューブ保持手段89,90にそれぞれ装着されたコルゲートチューブ82,83は、プロテクタ本体62に仮固定された状態となる。
【0043】
即ち、前記各分岐線60bは、プロテクタ本体62の束収容室80に収容された幹線60aに対して略180度反転するようにそれぞれ屈曲された状態で引き出されているが、前記コルゲートチューブ82,83を介してプロテクタ本体62に仮固定された状態となるので、前記蓋体63が組付けられる前に、各分岐線60bがスプリングバックにより不用意にプロテクタ本体62から外れてしまうことはなく、組立作業性が低下する虞はない。
【0044】
図11に示した第3実施形態のプロテクタに係るプロテクタ本体101は、複数(本実施形態においては、七つ)のハーネス引出し端部105,106,107,108,109,110,111を有し、中央部に電線束60の幹線を収容する束収容室130を有する。
【0045】
これらハーネス引出し端部105,106,107,108,109,110,111には、電線束60の幹線又は分岐線をそれぞれ挿入した蛇腹状のコルゲートチューブ115,116,117,118,119,120,121の一端部が装着されるが、各ハーネス引出し端部105,106,107,108,109,110,111に設けたチューブ保持手段の各構成は、上記第1実施形態におけるチューブ保持手段35等と同様なので、詳細な説明は省略する。
【0046】
そして、本第3実施形態に係るプロテクタ本体101の前記ハーネス引出し端部105には、図11に示したように、そのチューブ保持手段に一端が保持されたコルゲートチューブ115の他端側を所定の配索方向へ案内する断面樋状の方向規制部131が延設されている。
この場合、前記ハーネス引出し端部105のチューブ保持手段に一端が保持されてプロテクタから延出するコルゲートチューブ115の他端側が、予め所定の配索方向へ延設された前記方向規制部131に沿って案内保持されるので、車体パネル等の被取付体に対するワイヤハーネスの取付作業性が向上する。
【0047】
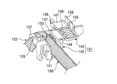
図12に示した第4実施形態のプロテクタ141は、プロテクタ本体142と、このプロテクタ本体142の上方開口を覆うべく薄肉ヒンジ144を介して開閉自在に一体成形された蓋体143とから構成されている。
前記プロテクタ本体142は、図12に示したように、複数(本実施形態においては、二つ)のハーネス引出し端部151,152を備えてへ字状に屈曲形成されている。
【0048】
前記ハーネス引出し端部151には、上記第1実施形態におけるチューブ保持手段35等と同様のチューブ保持手段150が設けられており、電線束を挿入した蛇腹状のコルゲートチューブ160が装着されると、該コルゲートチューブ160をプロテクタ本体142に仮固定状態とすることができる。
前記蓋体143には、薄肉ヒンジ146を介して補助蓋147が一体に形成されている。
【0049】
そこで、コルゲートチューブ160を前記ハーネス引出し端部151に装着した後、前記蓋体143を閉じて挿入片156をプロテクタ本体142の係合枠155に係合させ、次に、補助蓋147を閉じて挿入片158を係合枠157に係合させることで、プロテクタ141はコルゲートチューブ160をへ字状に屈曲した状態に保持することができる。
【0050】
又、上記各実施形態においてプロテクタの束収容室に収容されると共に、各コルゲートチューブ内に挿入された電線束は、プロテクタ及びコルゲートチューブに対して位置決めされていない。一般に、電線束をコルゲートチューブに対して位置決めする際には、該コルゲートチューブの一端部に粘着テープを巻き付けて固定するが、該コルゲートチューブの一端部はハーネス引出し端部に設けたチューブ保持手段に係合させなければならないので、粘着テープを巻き付けることはできない。
【0051】
そこで、図13(a)に示したように、コルゲートチューブ55に挿入される電線束60に粘着テープTの一端を捲着した後、図13(b)に示したように、該粘着テープTの他端を前記コルゲートチューブ55のスリット55bから引出し、図13(c)に示したように、該コルゲートチューブ55の中央部寄りの外周に捲着することにより、前記電線束60をコルゲートチューブ55に対して位置決めする。
即ち、図13(d)に示したように、コルゲートチューブ55に挿入された電線束60を、コルゲートチューブ55及び粘着テープTを介してプロテクタのハーネス引出し端部に位置決めすることができる。
【0052】
【発明の効果】
上述した如き本発明のコルゲートチューブの保持構造によれば、電線束を挿入した蛇腹状のコルゲートチューブが、プロテクタ本体のハーネス引出し端部に装着されると、該ハーネス引出し端部の内面に突設された突条部が、コルゲートチューブの凹部を係止して長手方向の移動を規制すると共に、前記ハーネス引出し端部の側壁内面に突設された抜け止め用突起が、コルゲートチューブの外周に当接して上方開口側への移動を規制するので、プロテクタ本体に装着されたコルゲートチューブは仮固定された状態となる。
【0053】
そこで、プロテクタ本体に蓋体が組付けられる前に、各コルゲートチューブが各ハーネス引出し端部にそれぞれ仮固定された状態となり、不用意に各コルゲートチューブの端部が各ハーネス引出し端部から外れてしまうことがないので、作業者が手等でわざわざコルゲートチューブを保持する必要がなくなる。
【0054】
また、ワイヤハーネスの製造時、例えばグロメットの止水部分等に粘着テープを巻き付けるテープ巻き作業のように、一時的に作業者が電線束を持ち上げた場合でも、各コルゲートチューブは各チューブ保持手段によって上方開口側への移動を確実に規制されているので、前記コルゲートチューブがプロテクタ本体から外れてしまうことはなく、ワイヤハーネスの配索作業性が著しく向上する。
【図面の簡単な説明】
【図1】本発明の第1実施形態に係るプロテクタの分解斜視図である。
【図2】図1に示したチューブ保持手段の拡大斜視図である。
【図3】図1に示したチューブ保持手段の拡大平面図である。
【図4】図1に示したプロテクタ本体に装着されるワイヤハーネスの一部を示す斜視図である。
【図5】図3のV-V 断面矢視図である。
【図6】図3に示したチューブ保持手段にコルゲートチューブを装着した状態を示す拡大平面図である。
【図7】図4に示したプロテクタ本体にワイヤハーネスの一部を装着した状態を示す斜視図である。
【図8】図6のVIII-VIII 断面矢視図である。
【図9】本発明の第2実施形態に係るプロテクタの分解斜視図である。
【図10】図9に示したプロテクタの要部拡大平面図である。
【図11】本発明の第3実施形態のプロテクタに係るプロテクタ本体の斜視図である。
【図12】本発明の第4実施形態に係るプロテクタの全体斜視図である。
【図13】電線束をコルゲートチューブに対して位置決めする手順を示す説明図である。
【図14】従来の分岐プロテクタの分解斜視図である。
【符号の説明】
21 プロテクタ
22 プロテクタ本体
23 蓋体
25,26,27,28 ハーネス引出し端部
35,36,37,38 チューブ保持手段
35a,36a,37a,38a 突条部
35b,36b,37b,38b 抜け止め用突起
45a,46a,47a,48a 湾曲状突部
55,56,57,58 コルゲートチューブ
60 電線束
W/H ワイヤハーネス
Claims (2)
- ワイヤハーネスを構成する電線束が挿入された蛇腹状のコルゲートチューブをプロテクタのハーネス引出し端部で保持するコルゲートチューブの保持構造であって、
前記コルゲートチューブが装着される前記ハーネス引出し端部の底壁及び両側壁の内面に一対の半円弧状の突条部を周設し、前記一対の突条部の間に位置する前記両側壁の上方開口側の内面に、対向する側壁のそれぞれから抜け止め用突起を突設し、
前記突条部により、前記コルゲートチューブの一対の凹部を係止して、前記コルゲートチューブの長手方向の移動を規制し、
前記抜け止め用突起を、上方開口側から前記コルゲートチューブに当接して、先端を前記一対の凹部の間に位置する前記コルゲートチューブの凹部に挿入し、前記抜け止め用突起により、前記コルゲートチューブの上方開口側ヘの移動と前記長手方向の移動とを規制する
ことを特徴とするコルゲートチューブの保持構造。 - 前記コルゲートチューブに挿入される電線束に粘着テープの一端を捲着した後、該粘着テープの他端を前記コルゲートチューブのスリットから引出して該コルゲートチューブの外周に捲着することにより、前記電線束を当該コルゲートチューブに対して位置決めすることを特徴とする請求項1に記載のコルゲートチューブの保持構造。
Priority Applications (1)
| Application Number | Priority Date | Filing Date | Title |
|---|---|---|---|
| JP2003011303A JP4462829B2 (ja) | 2003-01-20 | 2003-01-20 | プロテクタでのコルゲートチューブ保持構造 |
Applications Claiming Priority (1)
| Application Number | Priority Date | Filing Date | Title |
|---|---|---|---|
| JP2003011303A JP4462829B2 (ja) | 2003-01-20 | 2003-01-20 | プロテクタでのコルゲートチューブ保持構造 |
Publications (2)
| Publication Number | Publication Date |
|---|---|
| JP2004229351A JP2004229351A (ja) | 2004-08-12 |
| JP4462829B2 true JP4462829B2 (ja) | 2010-05-12 |
Family
ID=32900247
Family Applications (1)
| Application Number | Title | Priority Date | Filing Date |
|---|---|---|---|
| JP2003011303A Expired - Fee Related JP4462829B2 (ja) | 2003-01-20 | 2003-01-20 | プロテクタでのコルゲートチューブ保持構造 |
Country Status (1)
| Country | Link |
|---|---|
| JP (1) | JP4462829B2 (ja) |
Cited By (1)
| Publication number | Priority date | Publication date | Assignee | Title |
|---|---|---|---|---|
| CN111509643A (zh) * | 2019-01-31 | 2020-08-07 | 矢崎总业株式会社 | 保护管连接结构 |
Families Citing this family (11)
| Publication number | Priority date | Publication date | Assignee | Title |
|---|---|---|---|---|
| JP4753643B2 (ja) * | 2005-07-04 | 2011-08-24 | 株式会社ニッセイ エコ | ワイヤーハーネス外装用コルゲートチューブ継手 |
| JP4654099B2 (ja) * | 2005-09-14 | 2011-03-16 | 未来工業株式会社 | 配線配管ダクト装置 |
| JP4541287B2 (ja) * | 2005-12-05 | 2010-09-08 | 矢崎総業株式会社 | ハーネス保護チューブの長さ調整構造とそれを備えた給電装置 |
| JP2007306733A (ja) * | 2006-05-12 | 2007-11-22 | Sumitomo Wiring Syst Ltd | ワイヤハーネス分岐部のプロテクタ |
| JP4258529B2 (ja) | 2006-05-15 | 2009-04-30 | 住友電装株式会社 | ワイヤハーネス用プロテクタ |
| JP4930177B2 (ja) * | 2007-05-07 | 2012-05-16 | 住友電装株式会社 | プロテクタ |
| US7692095B2 (en) | 2007-08-21 | 2010-04-06 | Yazaki Corporation | Wire harness lead-out structure of protector |
| JP4871812B2 (ja) * | 2007-08-21 | 2012-02-08 | 矢崎総業株式会社 | プロテクタのワイヤハーネス引出部構造 |
| JP2010112495A (ja) * | 2008-11-07 | 2010-05-20 | Piolax Inc | チューブの形状保持具 |
| JP5200079B2 (ja) * | 2010-09-21 | 2013-05-15 | 本田技研工業株式会社 | クランプ部材 |
| JP7310586B2 (ja) * | 2019-12-16 | 2023-07-19 | トヨタ車体株式会社 | ハーネス保護体 |
-
2003
- 2003-01-20 JP JP2003011303A patent/JP4462829B2/ja not_active Expired - Fee Related
Cited By (2)
| Publication number | Priority date | Publication date | Assignee | Title |
|---|---|---|---|---|
| CN111509643A (zh) * | 2019-01-31 | 2020-08-07 | 矢崎总业株式会社 | 保护管连接结构 |
| CN111509643B (zh) * | 2019-01-31 | 2022-05-27 | 矢崎总业株式会社 | 保护管连接结构 |
Also Published As
| Publication number | Publication date |
|---|---|
| JP2004229351A (ja) | 2004-08-12 |
Similar Documents
| Publication | Publication Date | Title |
|---|---|---|
| JP4462829B2 (ja) | プロテクタでのコルゲートチューブ保持構造 | |
| JPH0329941Y2 (ja) | ||
| JP5066731B2 (ja) | 複数本のワイヤハーネスのクランプ | |
| JP2004288545A (ja) | コネクタ用プロテクタ | |
| EP3628543B1 (en) | Wire harness | |
| CN111373617A (zh) | 线束保护器及线束组件 | |
| JP2005315337A (ja) | クリップ構造及び線条体の固定方法 | |
| JPH1182813A (ja) | コルゲートクランプ | |
| JP4138429B2 (ja) | ワイヤハーネスの製造方法 | |
| JP5556604B2 (ja) | ワイヤーハーネス | |
| JP3685387B2 (ja) | ワイヤーハーネス用プロテクタ | |
| JP2597473Y2 (ja) | プロテクタの分岐構造 | |
| JP7132675B2 (ja) | グロメット | |
| JP4918410B2 (ja) | プロテクタ付きコネクタ | |
| JP2017135813A (ja) | プロテクタ付ワイヤハーネス | |
| JPH08182146A (ja) | ワイヤハーネス用プロテクタ | |
| JP2575038Y2 (ja) | ワイヤハーネスプロテクタ | |
| JPH0588131U (ja) | プロテクタのコルゲートチューブ固定構造 | |
| JP2709434B2 (ja) | ワイヤーハーネスの分岐電線導出方法 | |
| JP2002304983A (ja) | バッテリターミナルの保護カバー | |
| JP2579482Y2 (ja) | 箱体の組付け構造 | |
| JP2021141719A (ja) | 電気接続箱 | |
| JPH07123563A (ja) | プロテクタの構造及びプロテクタへの電線収納方法 | |
| JP7711598B2 (ja) | コネクタブラケット及びワイヤハーネス | |
| JP2002247737A (ja) | グロメット |
Legal Events
| Date | Code | Title | Description |
|---|---|---|---|
| A621 | Written request for application examination |
Free format text: JAPANESE INTERMEDIATE CODE: A621 Effective date: 20050426 |
|
| RD04 | Notification of resignation of power of attorney |
Free format text: JAPANESE INTERMEDIATE CODE: A7424 Effective date: 20060325 |
|
| A977 | Report on retrieval |
Free format text: JAPANESE INTERMEDIATE CODE: A971007 Effective date: 20070126 |
|
| A131 | Notification of reasons for refusal |
Free format text: JAPANESE INTERMEDIATE CODE: A131 Effective date: 20070314 |
|
| A521 | Written amendment |
Free format text: JAPANESE INTERMEDIATE CODE: A523 Effective date: 20070509 |
|
| A131 | Notification of reasons for refusal |
Free format text: JAPANESE INTERMEDIATE CODE: A131 Effective date: 20070912 |
|
| A521 | Written amendment |
Free format text: JAPANESE INTERMEDIATE CODE: A523 Effective date: 20071030 |
|
| RD04 | Notification of resignation of power of attorney |
Free format text: JAPANESE INTERMEDIATE CODE: A7424 Effective date: 20071129 |
|
| A02 | Decision of refusal |
Free format text: JAPANESE INTERMEDIATE CODE: A02 Effective date: 20080312 |
|
| A521 | Written amendment |
Free format text: JAPANESE INTERMEDIATE CODE: A523 Effective date: 20080415 |
|
| A911 | Transfer to examiner for re-examination before appeal (zenchi) |
Free format text: JAPANESE INTERMEDIATE CODE: A911 Effective date: 20080522 |
|
| A912 | Re-examination (zenchi) completed and case transferred to appeal board |
Free format text: JAPANESE INTERMEDIATE CODE: A912 Effective date: 20080801 |
|
| A521 | Written amendment |
Free format text: JAPANESE INTERMEDIATE CODE: A523 Effective date: 20100113 |
|
| A01 | Written decision to grant a patent or to grant a registration (utility model) |
Free format text: JAPANESE INTERMEDIATE CODE: A01 |
|
| A61 | First payment of annual fees (during grant procedure) |
Free format text: JAPANESE INTERMEDIATE CODE: A61 Effective date: 20100216 |
|
| FPAY | Renewal fee payment (event date is renewal date of database) |
Free format text: PAYMENT UNTIL: 20130226 Year of fee payment: 3 |
|
| R150 | Certificate of patent or registration of utility model |
Free format text: JAPANESE INTERMEDIATE CODE: R150 Ref document number: 4462829 Country of ref document: JP Free format text: JAPANESE INTERMEDIATE CODE: R150 |
|
| FPAY | Renewal fee payment (event date is renewal date of database) |
Free format text: PAYMENT UNTIL: 20140226 Year of fee payment: 4 |
|
| R250 | Receipt of annual fees |
Free format text: JAPANESE INTERMEDIATE CODE: R250 |
|
| R250 | Receipt of annual fees |
Free format text: JAPANESE INTERMEDIATE CODE: R250 |
|
| R250 | Receipt of annual fees |
Free format text: JAPANESE INTERMEDIATE CODE: R250 |
|
| R250 | Receipt of annual fees |
Free format text: JAPANESE INTERMEDIATE CODE: R250 |
|
| R250 | Receipt of annual fees |
Free format text: JAPANESE INTERMEDIATE CODE: R250 |
|
| LAPS | Cancellation because of no payment of annual fees |