JP4391925B2 - 原子間力顕微鏡 - Google Patents

原子間力顕微鏡 Download PDF

Info

Publication number
JP4391925B2
JP4391925B2 JP2004342494A JP2004342494A JP4391925B2 JP 4391925 B2 JP4391925 B2 JP 4391925B2 JP 2004342494 A JP2004342494 A JP 2004342494A JP 2004342494 A JP2004342494 A JP 2004342494A JP 4391925 B2 JP4391925 B2 JP 4391925B2
Authority
JP
Japan
Prior art keywords
cantilever
vibration
sample
glass plate
liquid
Prior art date
Legal status (The legal status is an assumption and is not a legal conclusion. Google has not performed a legal analysis and makes no representation as to the accuracy of the status listed.)
Expired - Fee Related
Application number
JP2004342494A
Other languages
English (en)
Other versions
JP2006153574A5 (ja
JP2006153574A (ja
Inventor
信明 酒井
Current Assignee (The listed assignees may be inaccurate. Google has not performed a legal analysis and makes no representation or warranty as to the accuracy of the list.)
Olympus Corp
Original Assignee
Olympus Corp
Priority date (The priority date is an assumption and is not a legal conclusion. Google has not performed a legal analysis and makes no representation as to the accuracy of the date listed.)
Filing date
Publication date
Application filed by Olympus Corp filed Critical Olympus Corp
Priority to JP2004342494A priority Critical patent/JP4391925B2/ja
Publication of JP2006153574A publication Critical patent/JP2006153574A/ja
Publication of JP2006153574A5 publication Critical patent/JP2006153574A5/ja
Application granted granted Critical
Publication of JP4391925B2 publication Critical patent/JP4391925B2/ja
Anticipated expiration legal-status Critical
Expired - Fee Related legal-status Critical Current

Links

Images

Landscapes

  • Length Measuring Devices With Unspecified Measuring Means (AREA)

Description

本発明は、原子間力顕微鏡に関する。
走査型プローブ顕微鏡(SPM)は、機械的探針を機械的に走査して試料表面の情報を得る装置の総称であり、走査型トンネリング顕微鏡(STM)や原子間力顕微鏡(AFM)、走査型磁気力顕微鏡(MFM)、走査型電気容量顕微鏡(SCaM)、走査型近接場光顕微鏡(SNOM)、走査型熱顕微鏡(SThM)などを含んでいる。
走査型プローブ顕微鏡は、機械的探針と試料とを相対的にXY方向にラスター走査し、所望の試料領域の表面情報を機械的探針を介して得てモニターTV上にマッピング表示することができる。
走査型プローブ顕微鏡の中でも特に原子間力顕微鏡は、液体中の生きた生物試料の動く様子を光学顕微鏡よりも高い解像度で観察できる可能性があるとして注目されている。
これまで生物試料の動く様子を観察できる装置は光学顕微鏡だけであるが、光学顕微鏡は回折限界のため光の波長以下の解像度で試料を観察することができない。
また電子顕微鏡は、ナノメートルオーダーの高い解像度を実現できるが、測定対象物を液体中に配置できないため、液体中の生きた生物試料を観察することはできない。
これに対して原子間力顕微鏡は、ナノメートルオーダーの高い解像度を期待でき、試料が液体中にあっても観察可能である。しかも、光学顕微鏡と組み合わせ易いことも注目されている理由の一つである。
このような生体用原子間力顕微鏡では、カンチレバーの振動特性から試料探針間に働く相互作用を検出する方式(ACモード)を採用することが多い。それは、試料と探針の間に働く力を通常のモードに比べて弱く保つことができる利点があるからである。
例えば図8は従来の生体用原子間力顕微鏡の一例の構成を示すブロック図である。また図9は図8に示されたステージを試料の側から見た図である。図8中のステージ周辺部は図9のVIII−VIII線に沿った断面で描かれている。
図8と図9において、ステージ810は撥水処理されており、液体814を表面張力により保持できる。試料807はXYZスキャナー806によって保持され、液体814の中に置かれている。XYZスキャナー806はコントローラー802から出力される信号に基づいてX駆動回路803とY駆動回路804とZ駆動回路805により制御され、試料807をXYZ方向に走査し得る。
カンチレバー808は自由端に探針を有し、ステージ810に設けられたホルダー809によって保持され、試料807に正対するように液体814の中に置かれている。ホルダー809には圧電素子811が設けられている。圧電素子811はコントローラー802からの励振信号を受けて、カンチレバー808を所定の振幅と周波数で機械的に振動し得る。
カンチレバー808の変位を検出するための光てこセンサー816がステージ810の下部に配置されている。光てこセンサー816は、例えば特開2002−82037号公報に示されたものと同様に構成されており、対物レンズ815によって収束されたレーザー光ビーム813をステージ810によって支持された透過ガラス812を介してカンチレバー808の自由端に照射してカンチレバー808の変位を検出する。光てこセンサー816は、検出したカンチレバー808の変位を示す変位信号を振幅検出回路817に出力する。
振幅検出回路817は光てこセンサー816が出力するカンチレバー808の変位信号の振幅値を算出し、算出したカンチレバー808の振幅値を示す振幅信号をコントローラー802内のZ制御回路818に出力する。Z制御回路818は、振幅検出回路817から入力される振幅信号を一定に保つように、Z駆動回路805を介してXYZスキャナー806のZ方向変位を制御する。
この原子間力顕微鏡において、圧電素子811はコントローラー802からの励振信号を受けて、カンチレバー808の機械的共振周波数と所定の振幅でカンチレバー808を励振する。さらに、光てこセンサー816によりカンチレバー808の変位を検出し、カンチレバー808の振動振幅を一定に保つようにZ制御回路818とZ駆動回路805とによりXYZスキャナー806をZ方向(試料807の法線方向)に駆動して、XYZスキャナー806に保持された試料807のZ方向位置を制御する。
これに並行してX駆動回路803とY駆動回路804とによりXYZスキャナー806をXY方向に駆動して、試料807をカンチレバー808に対して二次元走査する。ホストコンピューター801は、X駆動回路803とY駆動回路804の駆動信号(すなわちXYZスキャナー806をX方向とY方向への変位させるための印加電圧信号)を試料表面の位置信号として取得するとともに、Z制御回路818の出力信号(すなわちXYZスキャナー806をZ方向へ変位させるための印加電圧信号)を試料表面の凹凸信号として取得し、取得した位置信号と凹凸信号とに基づいて画像を形成して表示する。
上述したACモードの原子間力顕微鏡では、液体によるカンチレバーの振動の減衰が大きいため、カンチレバーの励振効率が非常に悪い。このため、カンチレバーを支持しているホルダーの振動特性がノイズとなって表れてしまうという不具合がある。これは機械的振動をホルダーを介してカンチレバーに伝達していることにより生じる現象である。
特開平10−160742号公報は、この不具合の解決策のひとつとして、試料台(スライドガラス)を振動させ、試料を介してカンチレバーを励振させる手法を開示している。
特開2002−82037号公報 特開平10−160742号公報
しかし、特開平10−160742号公報の手法は試料を直接振動させるため、振動が試料に与える影響が懸念される。少なくとも試料を自然に近い状態から遠ざける方向にあるため推奨しにくい。また、この方法では、振動させる対象の質量が大きくなる傾向が強い。試料が載せられる台をダンパーで囲むことが主な原因である。その結果、走査の高速化に適していない。
本発明は、このような実状を考慮して成されたものであり、その目的は、カンチレバーホルダーを振動させることなくカンチレバーを励振し得る液中間力顕微鏡を提供することである。
本発明は、液体中の試料を観察するための原子間力顕微鏡に向けられている。原子間力顕微鏡は、試料を保持する試料保持部と、自由端に探針を持つ弾性変形可能なカンチレバーと、カンチレバーと液体を保持するステージとを備えている。ステージは、液体を保持するガラス板と、カンチレバーを保持するカンチレバーホルダーと、カンチレバーホルダーを支持するステージベースと、ガラス板とカンチレバーホルダーの間とガラス板とステージベースの間に配置された振動絶縁材とを有している。カンチレバーホルダーとステージベースは振動絶縁材を介してガラス板を保持している。試料はガラス板に保持された液体の中に置かれ、カンチレバーは試料に正対するように液体の中に置かれる。原子間力顕微鏡はさらに、ガラス板に設けられ、ガラス板と液体を介してカンチレバーを振動させるための励振手段と、試料保持部をXY方向に走査するためのXY走査手段と、カンチレバーの自由端の振動を光学的に検出するための振動検出手段と、XY走査手段・振動検出手段からの情報に基づいて試料情報を取得するための情報取得手段とを備えている。
本発明によれば、カンチレバーホルダーを振動させることなくカンチレバーを励振し得る生体用原子間力顕微鏡が提供される。
以下、本発明の実施形態による原子間力顕微鏡について図面を参照しながら説明する。
図1は、本発明の実施形態による走査型プローブ顕微鏡を示している。図2は、図1に示されたステージの平面図である。図3は、図2のIII−III線に沿ったステージの断面を示しており、これが図1に描かれている。図4は、図2のIV−IV線に沿ったステージの断面を示している。
続く説明においては、水平面に共に平行で互いに直交する二本の軸または二つの方向をそれぞれX軸・Y軸またはX方向・Y方向と呼び、水平面に直交する軸または方向をZ軸またはZ方向と呼ぶものとする。
原子間力顕微鏡100は、図1に示されるように、カンチレバー130と、水などの液体Lとカンチレバー130を保持するステージ110と、試料Sを保持する試料保持部164と、試料保持部164をX軸とY軸に沿って移動させる(XY走査する)とともにZ軸に沿って移動させる(Z走査する)XYZスキャナー162とを有している。
カンチレバー130は、図3に示されるように、弾性変形可能な片持ち支持されたレバー部134と、レバー部134の自由端に支持された探針132とを備えている。
ステージ110は、図1と図3に示されるように、液体Lを保持するガラス板116と、カンチレバー130を保持するカンチレバーホルダー114と、カンチレバーホルダー114を支持するステージベース112と、ガラス板116とカンチレバーホルダー114の間に配置された振動絶縁材120と、ガラス板116とステージベース112の間に配置された振動絶縁材122とを有している。
ガラス板116は、その表面が撥水処理されており、表面張力により液体Lを保持する。本明細書において、液体Lを保持するとは、液体Lを一個所に留めておくことを言う。
カンチレバーホルダー114とステージベース112は振動絶縁材120と122を介してガラス板116を保持している。振動絶縁材122と120は例えばゴム製や樹脂製のOリングで構成される。振動絶縁材122と120は好ましくはガラスと著しく異なる音響インピーダンスを有しているとよい。カンチレバーホルダー114は、図2に示されるように、二本のビス124によってステージベース112に固定されている。
図1に示されるように、試料保持部164に保持された試料Sは、ガラス板116に保持された液体Lの中に置かれる。またカンチレバー130は、試料Sに正対するように、ガラス板116に保持された液体Lの中に置かれる。
原子間力顕微鏡100はさらに、カンチレバー130の自由端の変位を光学的に検出し、その変位を反映する変位信号を出力する変位検出センサー142と、変位検出センサー142からの変位信号に基づいてカンチレバー130の自由端の振動振幅を算出し、その振動振幅を反映する振幅信号を出力する振幅検出回路148とを有している。変位検出センサー142と振幅検出回路148は、カンチレバー130の自由端の振動を光学的に検出するための振動検出手段を構成している。
変位検出センサー142は例えば光てこセンサーで構成される。光てこセンサーの詳細は例えば特開2002−82037号に開示されている。しかし、変位検出センサー142は、光てこセンサーに限定されるものではなく、他のセンサーで構成されてもよい。
変位検出センサー142は、光ビームを発射する光源と、光源からの光ビームを収束してカンチレバー130の自由端に照射する対物レンズ144と、カンチレバー130からの反射光ビームを検出する光検出器とを含んでいる。対物レンズ144はガラス板116の下方に配置されている。
光源から発射された光ビームBは対物レンズ144によって収束され、ガラス板116を通ってカンチレバー130の自由端に照射される。カンチレバー130で反射された光ビームはガラス板116を通って対物レンズ144に入射し、光検出器の受光面に光スポットを形成する。光スポットはカンチレバー130の自由端の変位に応じて光検出器の受光面上を移動する。光検出器は受光面上における光スポットの位置を反映した信号すなわちカンチレバー130の自由端の変位を反映した信号を出力する。
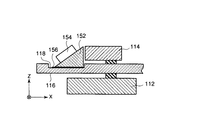
原子間力顕微鏡100はさらに、励振信号に従って振動を生成する振動子154と、振動子154によって生成された振動をガラス板116に伝達する振動伝達ブロック152とを備えている。振動子154と振動伝達ブロック152は、振動生成部を構成している。
振動子154は、これに限らないが、例えば圧電振動子で構成される。振動子154の周囲は好ましくはゴムや樹脂などの絶縁材により防水処理が施されているとよい。振動子154は振動伝達ブロック152に接着されている。ガラス板116は凹部118を有し、凹部118の底面はガラス板116の液体保持面(すなわち上面)に対して平行である。振動伝達ブロック152はガラス板116の凹部118の底面に取り付けられている。
振動伝達ブロック152は、好ましくは、ガラス板116と等しい音響インピーダンスを有しているとよい。このため、振動伝達ブロック152は、ガラス材で構成されることが望ましいが、金属で構成されてもよい。
振動伝達ブロック152において、振動子154が接着される平面は、ガラス板116と接触する底面(平面)に対して、好ましくは30度〜60度の角度を成しているとよい。カンチレバー130の励振効率は低下するが、これ以外の角度、例えば0度(平行)であっても構わない。
原子間力顕微鏡100はさらに、X走査信号に従ってXYZスキャナー162をX軸に沿って変位させるX駆動回路172と、Y走査信号に従ってXYZスキャナー162をY軸に沿って変位させるY駆動回路174と、Z制御信号に従ってXYZスキャナー162をZ軸に沿って変位させるZ駆動回路176とを有している。
原子間力顕微鏡100はコントローラー180を有している。コントローラー180は、X走査信号を生成するX走査信号生成部182と、Y走査信号を生成するY走査信号生成部184と、Z制御信号を生成するZ制御回路186と、励振信号を生成する励振信号生成部188とを含んでいる。Z制御回路186は、振幅検出回路146から入力される振幅信号を一定に保つようにXYZスキャナー162をZ方向に制御する回路であり、アナログ制御とデジタル制御(ソフトウエア制御)のどちらの方式であってもよい。
X走査信号は、XYZスキャナー162のX変位を指示する電気信号である。Y走査信号は、XYZスキャナー162のY変位を指示する電気信号である。Z制御信号は、入力される振幅信号を一定に保つための探針132と試料Sの間隔の目標値を示す電気信号(Zサーボ信号)である。励振信号は、振動子154を駆動するための電気信号であり、好ましくはカンチレバー130の機械的共振周波数近傍の周波数を有している。
XYZスキャナー162とX走査信号生成部182とX駆動回路172とY走査信号生成部184とY駆動回路174は、試料保持部164をXY方向に走査するためのXY走査手段を構成している。またXYZスキャナー162とZ制御回路186とZ駆動回路176は、試料保持部164をZ方向に走査するためのZ走査手段を構成している。また、励振信号生成部188と振動子154と振動伝達ブロック152は、ガラス板116と液体Lを介してカンチレバー130を振動させるための励振手段を構成している。
また原子間力顕微鏡100はホストコンピューター190を有している。ホストコンピューター190は、試料情報を取得する情報取得手段であり、X走査信号とY走査信号とZ制御信号とに基づいて試料情報(たとえば試料Sの表面情報)を演算により取得する。また、ホストコンピューター190は画像や文字を表示する表示部を有しており、取得した試料情報を表示部に表示する。
図5は、図3に示されたステージ断面の振動伝達ブロック周辺部を拡大して示している。図1と図2では図示が省略されていないが、図5に示されるように、振動伝達ブロック152はガラス板116の凹部118の底面に粘性材156を介して取り付けられている。粘性材156は、ゲル状またはグリース状の粘性が比較的高い物質である。
振動子154によって振動伝達ブロック152内に生成された振動は振動伝達ブロック152からガラス板116に伝搬する。振動伝達ブロック152とガラス板116の凹部118の接触部分に空気層が存在すると振動の伝搬効率が悪くなる。粘性材156は空気層による振動の伝搬効率の低下を避けるために設けられている。
図6は、圧電素子が生成する振動が伝わる様子を示している。図6に示されるように、振動子154が接着される平面が凹部118の底面に対して30度〜60度の角度を成していると、振動は反射を繰り返してカンチレバー130へ効率良く伝わる。より詳しくは、ガラス板116と空気層は音響インピーダンスが著しく異なるので、振動は液体Lに届くまではガラス板116と空気層の界面でほぼ全反射される。ガラス板116と液体Lは音響インピーダンスが近いので、振動は液体Lに届いてからはガラス板116と液体Lの界面を半分程度が透過する。
また振動絶縁材122と120は好ましくはガラスと著しく異なる音響インピーダンスを有しているため、振動はガラス板116と振動絶縁材122と120の界面で効率良く反射される。また、ガラス板116と振動絶縁材122の界面を透過した振動は、振動絶縁材122によって減衰される(理想的には吸収される)ため、カンチレバーホルダー114をほとんど振動させない(理想的にはまったく振動させない)。
振動子154が接着される平面と凹部118の底面とが平行な場合でも、振動は複雑な反射を繰り返してカンチレバー130に伝わるが、その伝搬効率は極端に低下する。
本実施形態の原子間力顕微鏡100は次のように動作する。まず、コントローラー180内の励振信号生成部188から励振信号が出力され、振動子154に入力される。励振信号は所定の振幅を有し、カンチレバー130の機械的共振周波数と同じ周波数を有している。振動子154は励振信号の入力を受けて、カンチレバー130の機械的共振周波数と同じ周波数を持つ所定の振幅の振動を発生させる。振動子154で発生された振動は振動伝達ブロック152から粘性材156を介してガラス板116に伝搬し、ガラス板116から液体Lを介してカンチレバー130に伝搬し、カンチレバー130を所定の振幅・所定の周波数(カンチレバー130の機械的共振周波数近傍の周波数)で振動させる(励振する)。
この状態において、変位検出センサー142はカンチレバー130の自由端の変位を検出し、振幅検出回路148はカンチレバー130の自由端の振動の振幅を示す振幅信号を出力する。Z制御回路186は、振幅検出回路148から入力されるカンチレバー130の自由端の振幅信号に基づいて、カンチレバー130の自由端の振動振幅を一定値に保つためのZ制御信号を出力する。Z駆動回路176は、Z制御回路186から供給されるZ制御信号に従ってXYZスキャナー162を駆動して、XYZスキャナー162に保持された試料SのZ方向に移動させる。
つまり、Z制御回路186とZ駆動回路176は共働して、XYZスキャナー162により、カンチレバー130に対する試料SのZ方向位置を制御する。Z制御回路186とZ駆動回路176は、最初、カンチレバー130の探針132と試料Sとが接触するまで、試料Sをカンチレバー130に接近させ、両者が接触した後は、カンチレバー130の自由端の振動振幅を一定に保つように、試料SのZ方向位置を制御する。
このようなZ制御と並行して、X駆動回路172とY駆動回路174は、それぞれ、X走査信号生成部182とY走査信号生成部184から供給されるX走査信号とY走査信号に従ってXYZスキャナー162をX方向とY方向に駆動し、試料Sをカンチレバー130に対して二次元走査すなわちXY走査させる。
XY走査とZ制御の間、ホストコンピューター190は、X走査信号とY走査信号とZ制御信号とに基づいて試料情報、例えば試料Sの表面の凹凸情報を求めて表示したり、その情報に基づいて試料の表面の画像を形成して表示したりする。
本実施形態の原子間力顕微鏡100では、カンチレバーホルダー114を機械的に振動させることなくカンチレバー130を励振することができる。これによりカンチレバー130を除いた部材の不所望な振動(カンチレバーホルダー114などの振動)が低減される。
また、振動子154と振動伝達ブロック152とから成る構造体(振動生成部)はガラス板116から容易に取り外し可能である。これにより生体用原子間力顕微鏡において試料や試薬などの汚れが付きやすいカンチレバーホルダー114・ガラス板116・ステージベース112の洗浄が容易に行なえる。
これまで、図面を参照しながら本発明の実施形態を述べたが、本発明は、これらの実施形態に限定されるものではなく、その要旨を逸脱しない範囲において様々な変形や変更が施されてもよい。
図7は、本発明の実施形態の変形例による振動伝達ブロック周辺部の断面図であり、図5に示されたガラス板と振動伝達ブロックに代えて適用可能な別のガラス板と振動伝達ブロックを示している。図7において、図5の部材と同一の参照符号で示された部材は同等の部材を示しており、それらの詳しい説明は記載の重複を避けて省略する。
本変形例では、図7に示されるように、ガラス板216は凹部218を有し、凹部218の底面はガラス板216の液体保持面(すなわち上面)に対して傾斜している。振動伝達ブロック252はガラス板216の凹部218の底面に粘性材156を介して取り付けられている。ガラス板216の凹部218の底面が傾斜しているため、振動伝達ブロック252はその自重によりXZ方向に拘束される。つまり振動伝達ブロック252が安定に保持される。
本発明の実施形態による走査型プローブ顕微鏡を示している。 図1に示されたステージの平面図である。 図2のIII−III線に沿ったステージの断面を示しており、これが図1に描かれている。 図2のIV−IV線に沿ったステージの断面を示している。 図3に示されたステージ断面の振動伝達ブロック周辺部を拡大して示している。 圧電素子が生成する振動が伝わる様子を示している。 図5に示されたガラス板と振動伝達ブロックに代えて適用可能な別のガラス板と振動伝達ブロックを示している。 従来例の生体用原子間力顕微鏡を示している。 図8に示されたステージの平面図である。
符号の説明
100…原子間力顕微鏡、110…ステージ、112…ステージベース、114…カンチレバーホルダー、116…ガラス板、118…凹部、120…振動絶縁材、122…振動絶縁材、124…ビス、130…カンチレバー、132…探針、134…レバー部、142…変位検出センサー、144…対物レンズ、146…振幅検出回路、148…振幅検出回路、152…振動伝達ブロック、154…振動子、156…粘性材、162…XYZスキャナー、164…試料保持部、172…X駆動回路、174…Y駆動回路、176…Z駆動回路、180…コントローラー、182…X走査信号生成部、184…Y走査信号生成部、186…Z制御回路、188…励振信号生成部、190…ホストコンピューター、216…ガラス板、218…凹部、252…振動伝達ブロック。

Claims (5)

  1. 液体中の試料を観察するための原子間力顕微鏡であり、
    試料を保持する試料保持部と、
    自由端に探針を持つ弾性変形可能なカンチレバーと、
    カンチレバーと液体を保持するステージとを備えており、ステージは、液体を保持するガラス板と、カンチレバーを保持するカンチレバーホルダーと、カンチレバーホルダーを支持するステージベースと、ガラス板とカンチレバーホルダーの間とガラス板とステージベースの間に配置された振動絶縁材とを有し、カンチレバーホルダーとステージベースは振動絶縁材を介してガラス板を保持しており、試料はガラス板に保持された液体の中に置かれ、カンチレバーは試料に正対するように液体の中に置かれ、さらに、
    ガラス板に設けられ、ガラス板と液体を介してカンチレバーを振動させるための励振手段と、
    試料保持部をXY方向に走査するためのXY走査手段と、
    カンチレバーの自由端の振動を光学的に検出するための振動検出手段と、
    XY走査手段・振動検出手段からの情報に基づいて試料情報を取得するための情報取得手段とを備えている、原子間力顕微鏡。
  2. 請求項1において、振動検出手段によって得られる情報に基づいて試料保持部をZ方向に走査するためのZ走査手段をさらに備え、情報取得手段はXY走査手段・Z走査手段からの情報に基づいて試料情報を取得する、原子間力顕微鏡。
  3. 請求項1または請求項2において、励振手段は、電気信号の供給に応じて振動を生成する振動子と、振動子の振動をガラス板に伝達する振動伝達ブロックとを備えている、原子間力顕微鏡。
  4. 請求項において、振動伝達ブロックは粘性材を介してガラス板に取り付けられている、原子間力顕微鏡。
  5. 請求項3または請求項4において、振動伝達ブロックにおける振動の伝達方向は、ガラス板の液体を保持する面に対して30度から60度の角度をなしている、原子間力顕微鏡。
JP2004342494A 2004-11-26 2004-11-26 原子間力顕微鏡 Expired - Fee Related JP4391925B2 (ja)

Priority Applications (1)

Application Number Priority Date Filing Date Title
JP2004342494A JP4391925B2 (ja) 2004-11-26 2004-11-26 原子間力顕微鏡

Applications Claiming Priority (1)

Application Number Priority Date Filing Date Title
JP2004342494A JP4391925B2 (ja) 2004-11-26 2004-11-26 原子間力顕微鏡

Publications (3)

Publication Number Publication Date
JP2006153574A JP2006153574A (ja) 2006-06-15
JP2006153574A5 JP2006153574A5 (ja) 2007-11-29
JP4391925B2 true JP4391925B2 (ja) 2009-12-24

Family

ID=36632074

Family Applications (1)

Application Number Title Priority Date Filing Date
JP2004342494A Expired - Fee Related JP4391925B2 (ja) 2004-11-26 2004-11-26 原子間力顕微鏡

Country Status (1)

Country Link
JP (1) JP4391925B2 (ja)

Families Citing this family (9)

* Cited by examiner, † Cited by third party
Publication number Priority date Publication date Assignee Title
JP2008122325A (ja) * 2006-11-15 2008-05-29 Jeol Ltd 走査プローブ顕微鏡
JP2008134190A (ja) 2006-11-29 2008-06-12 Olympus Corp カンチレバーホルダーおよびこれを備えた走査型プローブ顕微鏡
JP4910949B2 (ja) * 2007-08-29 2012-04-04 株式会社島津製作所 液中試料の分析方法
JP5185723B2 (ja) * 2008-08-01 2013-04-17 オリンパス株式会社 原子間力顕微鏡
KR101065981B1 (ko) 2009-05-20 2011-09-19 인하대학교 산학협력단 소리굽쇠-주사탐침 결합 진동계
EP2463665B1 (en) * 2009-08-06 2017-07-26 National University Corporation Kanazawa University Cantilever excitation device and scanning probe microscope
KR101097768B1 (ko) 2009-11-30 2011-12-23 한국표준과학연구원 소리굽쇠 진동을 이용한 마이크로 힘센서 및 마이크로 힘 측정방법
FR3054667B1 (fr) * 2016-07-26 2020-07-10 Universite De Bourgogne Dispositif d'analyse volumetrique d'un echantillon organique ou inorganique
WO2020044548A1 (ja) * 2018-08-31 2020-03-05 オリンパス株式会社 原子間力顕微鏡

Also Published As

Publication number Publication date
JP2006153574A (ja) 2006-06-15

Similar Documents

Publication Publication Date Title
US8322220B2 (en) Non-destructive wafer-scale sub-surface ultrasonic microscopy employing near field AFM detection
JP2730673B2 (ja) 超音波を導入するカンチレバーを用いた物性の計測方法および装置
US5481908A (en) Resonance contact scanning force microscope
JP2002107285A (ja) 磁気力顕微鏡
JPH0821846A (ja) 試料測定用プローブ装置
JP4391925B2 (ja) 原子間力顕微鏡
JP4688643B2 (ja) 加振型カンチレバーホルダ及び走査型プローブ顕微鏡
JP2004198427A (ja) プローブ装置
US5681987A (en) Resonance contact scanning force microscope
JP4446929B2 (ja) 走査型プローブ顕微鏡用カンチレバーホルダおよびそれを用いた走査型プローブ顕微鏡
JP2000146804A (ja) 近視野ゾンデと検査対象試料表面の間の距離を決定する方法および近視野顕微鏡
JP2007171021A (ja) 走査プローブ装置及び走査プローブ装置用の駆動ステージ
JP5585965B2 (ja) カンチレバー励振装置及び走査型プローブ顕微鏡
JP4474556B2 (ja) 走査型プローブ顕微鏡
JP2003329565A (ja) 走査プローブ顕微鏡
JP4816414B2 (ja) 走査型プローブ顕微鏡
JP2004156958A (ja) 走査型プローブ顕微鏡
JPH0792464B2 (ja) 原子間力顕微鏡における超音波振動検出方法及び原子間力顕微鏡における試料観察方法
JP2004156959A (ja) 走査型プローブ顕微鏡
JP2010190590A (ja) 走査プローブ顕微鏡及びその動作方法
JPH10267950A (ja) 横励振摩擦力顕微鏡
JPH10160742A (ja) 走査型プローブ顕微鏡の試料ホルダー
JPH07174767A (ja) 走査型プローブ顕微鏡
JP2002082037A (ja) 原子間力顕微鏡用光てこ光学系
JP3859275B2 (ja) 走査型プローブ顕微鏡

Legal Events

Date Code Title Description
A521 Request for written amendment filed

Free format text: JAPANESE INTERMEDIATE CODE: A523

Effective date: 20071017

A621 Written request for application examination

Free format text: JAPANESE INTERMEDIATE CODE: A621

Effective date: 20071017

A977 Report on retrieval

Free format text: JAPANESE INTERMEDIATE CODE: A971007

Effective date: 20090713

TRDD Decision of grant or rejection written
A01 Written decision to grant a patent or to grant a registration (utility model)

Free format text: JAPANESE INTERMEDIATE CODE: A01

Effective date: 20090915

A01 Written decision to grant a patent or to grant a registration (utility model)

Free format text: JAPANESE INTERMEDIATE CODE: A01

A61 First payment of annual fees (during grant procedure)

Free format text: JAPANESE INTERMEDIATE CODE: A61

Effective date: 20091008

FPAY Renewal fee payment (event date is renewal date of database)

Free format text: PAYMENT UNTIL: 20121016

Year of fee payment: 3

R151 Written notification of patent or utility model registration

Ref document number: 4391925

Country of ref document: JP

Free format text: JAPANESE INTERMEDIATE CODE: R151

FPAY Renewal fee payment (event date is renewal date of database)

Free format text: PAYMENT UNTIL: 20121016

Year of fee payment: 3

FPAY Renewal fee payment (event date is renewal date of database)

Free format text: PAYMENT UNTIL: 20131016

Year of fee payment: 4

S531 Written request for registration of change of domicile

Free format text: JAPANESE INTERMEDIATE CODE: R313531

R350 Written notification of registration of transfer

Free format text: JAPANESE INTERMEDIATE CODE: R350

R250 Receipt of annual fees

Free format text: JAPANESE INTERMEDIATE CODE: R250

R250 Receipt of annual fees

Free format text: JAPANESE INTERMEDIATE CODE: R250

R250 Receipt of annual fees

Free format text: JAPANESE INTERMEDIATE CODE: R250

R250 Receipt of annual fees

Free format text: JAPANESE INTERMEDIATE CODE: R250

R250 Receipt of annual fees

Free format text: JAPANESE INTERMEDIATE CODE: R250

LAPS Cancellation because of no payment of annual fees