JP4380552B2 - アクティブマトリクス基板の製造方法、アクティブマトリクス基板、電気光学装置並びに電子機器 - Google Patents
アクティブマトリクス基板の製造方法、アクティブマトリクス基板、電気光学装置並びに電子機器 Download PDFInfo
- Publication number
- JP4380552B2 JP4380552B2 JP2005028587A JP2005028587A JP4380552B2 JP 4380552 B2 JP4380552 B2 JP 4380552B2 JP 2005028587 A JP2005028587 A JP 2005028587A JP 2005028587 A JP2005028587 A JP 2005028587A JP 4380552 B2 JP4380552 B2 JP 4380552B2
- Authority
- JP
- Japan
- Prior art keywords
- wiring
- forming
- bank
- active matrix
- electrode
- Prior art date
- Legal status (The legal status is an assumption and is not a legal conclusion. Google has not performed a legal analysis and makes no representation as to the accuracy of the status listed.)
- Expired - Fee Related
Links
- 239000000758 substrate Substances 0.000 title claims description 118
- 239000011159 matrix material Substances 0.000 title claims description 49
- 238000004519 manufacturing process Methods 0.000 title claims description 17
- 238000000034 method Methods 0.000 claims description 101
- 239000000463 material Substances 0.000 claims description 51
- 230000008569 process Effects 0.000 claims description 31
- 239000007788 liquid Substances 0.000 claims description 24
- 239000003990 capacitor Substances 0.000 claims description 21
- 239000010419 fine particle Substances 0.000 claims description 20
- 230000015572 biosynthetic process Effects 0.000 claims description 16
- 239000004065 semiconductor Substances 0.000 claims description 12
- 230000002940 repellent Effects 0.000 claims description 10
- 239000005871 repellent Substances 0.000 claims description 10
- 238000000206 photolithography Methods 0.000 claims description 8
- 229910010272 inorganic material Inorganic materials 0.000 claims description 7
- 239000011147 inorganic material Substances 0.000 claims description 7
- 238000005192 partition Methods 0.000 claims description 3
- 238000000638 solvent extraction Methods 0.000 claims 1
- 239000010408 film Substances 0.000 description 54
- 239000004973 liquid crystal related substance Substances 0.000 description 29
- 238000001035 drying Methods 0.000 description 16
- 238000005530 etching Methods 0.000 description 10
- 239000002612 dispersion medium Substances 0.000 description 9
- 239000011344 liquid material Substances 0.000 description 9
- 239000002184 metal Substances 0.000 description 9
- 229910052751 metal Inorganic materials 0.000 description 9
- 230000001681 protective effect Effects 0.000 description 9
- 239000010409 thin film Substances 0.000 description 8
- 239000003566 sealing material Substances 0.000 description 7
- 238000004140 cleaning Methods 0.000 description 6
- 239000006185 dispersion Substances 0.000 description 6
- 230000007246 mechanism Effects 0.000 description 6
- 239000011135 tin Substances 0.000 description 6
- 238000010586 diagram Methods 0.000 description 5
- 239000011521 glass Substances 0.000 description 5
- XTHFKEDIFFGKHM-UHFFFAOYSA-N Dimethoxyethane Chemical compound COCCOC XTHFKEDIFFGKHM-UHFFFAOYSA-N 0.000 description 4
- PXHVJJICTQNCMI-UHFFFAOYSA-N Nickel Chemical compound [Ni] PXHVJJICTQNCMI-UHFFFAOYSA-N 0.000 description 4
- VYPSYNLAJGMNEJ-UHFFFAOYSA-N Silicium dioxide Chemical compound O=[Si]=O VYPSYNLAJGMNEJ-UHFFFAOYSA-N 0.000 description 4
- 238000006243 chemical reaction Methods 0.000 description 4
- 239000011248 coating agent Substances 0.000 description 4
- 239000004020 conductor Substances 0.000 description 4
- 230000010365 information processing Effects 0.000 description 4
- 238000009832 plasma treatment Methods 0.000 description 4
- 229920001709 polysilazane Polymers 0.000 description 4
- LFQSCWFLJHTTHZ-UHFFFAOYSA-N Ethanol Chemical compound CCO LFQSCWFLJHTTHZ-UHFFFAOYSA-N 0.000 description 3
- OKKJLVBELUTLKV-UHFFFAOYSA-N Methanol Chemical compound OC OKKJLVBELUTLKV-UHFFFAOYSA-N 0.000 description 3
- ZMXDDKWLCZADIW-UHFFFAOYSA-N N,N-Dimethylformamide Chemical compound CN(C)C=O ZMXDDKWLCZADIW-UHFFFAOYSA-N 0.000 description 3
- IMNFDUFMRHMDMM-UHFFFAOYSA-N N-Heptane Chemical compound CCCCCCC IMNFDUFMRHMDMM-UHFFFAOYSA-N 0.000 description 3
- YXFVVABEGXRONW-UHFFFAOYSA-N Toluene Chemical compound CC1=CC=CC=C1 YXFVVABEGXRONW-UHFFFAOYSA-N 0.000 description 3
- 150000002430 hydrocarbons Chemical class 0.000 description 3
- 238000002347 injection Methods 0.000 description 3
- 239000007924 injection Substances 0.000 description 3
- 239000000203 mixture Substances 0.000 description 3
- 229920000642 polymer Polymers 0.000 description 3
- XLYOFNOQVPJJNP-UHFFFAOYSA-N water Substances O XLYOFNOQVPJJNP-UHFFFAOYSA-N 0.000 description 3
- RYHBNJHYFVUHQT-UHFFFAOYSA-N 1,4-Dioxane Chemical compound C1COCCO1 RYHBNJHYFVUHQT-UHFFFAOYSA-N 0.000 description 2
- YBYIRNPNPLQARY-UHFFFAOYSA-N 1H-indene Chemical compound C1=CC=C2CC=CC2=C1 YBYIRNPNPLQARY-UHFFFAOYSA-N 0.000 description 2
- YEJRWHAVMIAJKC-UHFFFAOYSA-N 4-Butyrolactone Chemical compound O=C1CCCO1 YEJRWHAVMIAJKC-UHFFFAOYSA-N 0.000 description 2
- 239000004925 Acrylic resin Substances 0.000 description 2
- 229920000178 Acrylic resin Polymers 0.000 description 2
- RYGMFSIKBFXOCR-UHFFFAOYSA-N Copper Chemical compound [Cu] RYGMFSIKBFXOCR-UHFFFAOYSA-N 0.000 description 2
- RTZKZFJDLAIYFH-UHFFFAOYSA-N Diethyl ether Chemical compound CCOCC RTZKZFJDLAIYFH-UHFFFAOYSA-N 0.000 description 2
- IAZDPXIOMUYVGZ-UHFFFAOYSA-N Dimethylsulphoxide Chemical compound CS(C)=O IAZDPXIOMUYVGZ-UHFFFAOYSA-N 0.000 description 2
- YCKRFDGAMUMZLT-UHFFFAOYSA-N Fluorine atom Chemical compound [F] YCKRFDGAMUMZLT-UHFFFAOYSA-N 0.000 description 2
- 239000004640 Melamine resin Substances 0.000 description 2
- 229920000877 Melamine resin Polymers 0.000 description 2
- LRHPLDYGYMQRHN-UHFFFAOYSA-N N-Butanol Chemical compound CCCCO LRHPLDYGYMQRHN-UHFFFAOYSA-N 0.000 description 2
- SECXISVLQFMRJM-UHFFFAOYSA-N N-Methylpyrrolidone Chemical compound CN1CCCC1=O SECXISVLQFMRJM-UHFFFAOYSA-N 0.000 description 2
- UFWIBTONFRDIAS-UHFFFAOYSA-N Naphthalene Chemical compound C1=CC=CC2=CC=CC=C21 UFWIBTONFRDIAS-UHFFFAOYSA-N 0.000 description 2
- 229910052581 Si3N4 Inorganic materials 0.000 description 2
- 150000001298 alcohols Chemical class 0.000 description 2
- 230000008901 benefit Effects 0.000 description 2
- 229910052802 copper Inorganic materials 0.000 description 2
- 239000010949 copper Substances 0.000 description 2
- JHIVVAPYMSGYDF-UHFFFAOYSA-N cyclohexanone Chemical compound O=C1CCCCC1 JHIVVAPYMSGYDF-UHFFFAOYSA-N 0.000 description 2
- DIOQZVSQGTUSAI-UHFFFAOYSA-N decane Chemical compound CCCCCCCCCC DIOQZVSQGTUSAI-UHFFFAOYSA-N 0.000 description 2
- SBZXBUIDTXKZTM-UHFFFAOYSA-N diglyme Chemical compound COCCOCCOC SBZXBUIDTXKZTM-UHFFFAOYSA-N 0.000 description 2
- 238000007599 discharging Methods 0.000 description 2
- SNRUBQQJIBEYMU-UHFFFAOYSA-N dodecane Chemical compound CCCCCCCCCCCC SNRUBQQJIBEYMU-UHFFFAOYSA-N 0.000 description 2
- SQNZJJAZBFDUTD-UHFFFAOYSA-N durene Chemical compound CC1=CC(C)=C(C)C=C1C SQNZJJAZBFDUTD-UHFFFAOYSA-N 0.000 description 2
- 239000007772 electrode material Substances 0.000 description 2
- 150000002170 ethers Chemical class 0.000 description 2
- 238000010304 firing Methods 0.000 description 2
- 239000012530 fluid Substances 0.000 description 2
- 229910052731 fluorine Inorganic materials 0.000 description 2
- 239000011737 fluorine Substances 0.000 description 2
- 125000001153 fluoro group Chemical group F* 0.000 description 2
- 238000010438 heat treatment Methods 0.000 description 2
- XMGQYMWWDOXHJM-UHFFFAOYSA-N limonene Chemical compound CC(=C)C1CCC(C)=CC1 XMGQYMWWDOXHJM-UHFFFAOYSA-N 0.000 description 2
- 230000005499 meniscus Effects 0.000 description 2
- 239000003607 modifier Substances 0.000 description 2
- 229910052759 nickel Inorganic materials 0.000 description 2
- TVMXDCGIABBOFY-UHFFFAOYSA-N octane Chemical compound CCCCCCCC TVMXDCGIABBOFY-UHFFFAOYSA-N 0.000 description 2
- 150000002894 organic compounds Chemical class 0.000 description 2
- 239000005416 organic matter Substances 0.000 description 2
- 230000002093 peripheral effect Effects 0.000 description 2
- 229920001721 polyimide Polymers 0.000 description 2
- 239000009719 polyimide resin Substances 0.000 description 2
- 239000002861 polymer material Substances 0.000 description 2
- 229920005672 polyolefin resin Polymers 0.000 description 2
- 229920001296 polysiloxane Polymers 0.000 description 2
- -1 polysiloxanes Polymers 0.000 description 2
- HQVNEWCFYHHQES-UHFFFAOYSA-N silicon nitride Chemical compound N12[Si]34N5[Si]62N3[Si]51N64 HQVNEWCFYHHQES-UHFFFAOYSA-N 0.000 description 2
- 229910052709 silver Inorganic materials 0.000 description 2
- 239000004332 silver Substances 0.000 description 2
- NDVLTYZPCACLMA-UHFFFAOYSA-N silver oxide Chemical compound [O-2].[Ag+].[Ag+] NDVLTYZPCACLMA-UHFFFAOYSA-N 0.000 description 2
- 239000002904 solvent Substances 0.000 description 2
- 238000003860 storage Methods 0.000 description 2
- 239000000126 substance Substances 0.000 description 2
- BGHCVCJVXZWKCC-UHFFFAOYSA-N tetradecane Chemical compound CCCCCCCCCCCCCC BGHCVCJVXZWKCC-UHFFFAOYSA-N 0.000 description 2
- LZDKZFUFMNSQCJ-UHFFFAOYSA-N 1,2-diethoxyethane Chemical compound CCOCCOCC LZDKZFUFMNSQCJ-UHFFFAOYSA-N 0.000 description 1
- RRQYJINTUHWNHW-UHFFFAOYSA-N 1-ethoxy-2-(2-ethoxyethoxy)ethane Chemical compound CCOCCOCCOCC RRQYJINTUHWNHW-UHFFFAOYSA-N 0.000 description 1
- CNJRPYFBORAQAU-UHFFFAOYSA-N 1-ethoxy-2-(2-methoxyethoxy)ethane Chemical compound CCOCCOCCOC CNJRPYFBORAQAU-UHFFFAOYSA-N 0.000 description 1
- CAQYAZNFWDDMIT-UHFFFAOYSA-N 1-ethoxy-2-methoxyethane Chemical compound CCOCCOC CAQYAZNFWDDMIT-UHFFFAOYSA-N 0.000 description 1
- CTQNGGLPUBDAKN-UHFFFAOYSA-N O-Xylene Chemical compound CC1=CC=CC=C1C CTQNGGLPUBDAKN-UHFFFAOYSA-N 0.000 description 1
- XUIMIQQOPSSXEZ-UHFFFAOYSA-N Silicon Chemical compound [Si] XUIMIQQOPSSXEZ-UHFFFAOYSA-N 0.000 description 1
- BQCADISMDOOEFD-UHFFFAOYSA-N Silver Chemical compound [Ag] BQCADISMDOOEFD-UHFFFAOYSA-N 0.000 description 1
- ATJFFYVFTNAWJD-UHFFFAOYSA-N Tin Chemical compound [Sn] ATJFFYVFTNAWJD-UHFFFAOYSA-N 0.000 description 1
- 230000002776 aggregation Effects 0.000 description 1
- 238000004220 aggregation Methods 0.000 description 1
- 125000005376 alkyl siloxane group Chemical group 0.000 description 1
- 229910003481 amorphous carbon Inorganic materials 0.000 description 1
- 229910021417 amorphous silicon Inorganic materials 0.000 description 1
- 238000000137 annealing Methods 0.000 description 1
- 238000005452 bending Methods 0.000 description 1
- 238000009835 boiling Methods 0.000 description 1
- 238000001354 calcination Methods 0.000 description 1
- 230000008859 change Effects 0.000 description 1
- 238000000576 coating method Methods 0.000 description 1
- 150000001875 compounds Chemical class 0.000 description 1
- 239000002772 conduction electron Substances 0.000 description 1
- 229920001940 conductive polymer Polymers 0.000 description 1
- 239000000470 constituent Substances 0.000 description 1
- HHNHBFLGXIUXCM-GFCCVEGCSA-N cyclohexylbenzene Chemical compound [CH]1CCCC[C@@H]1C1=CC=CC=C1 HHNHBFLGXIUXCM-GFCCVEGCSA-N 0.000 description 1
- 229930007927 cymene Natural products 0.000 description 1
- 238000013461 design Methods 0.000 description 1
- 230000006866 deterioration Effects 0.000 description 1
- 239000010432 diamond Substances 0.000 description 1
- 229910003460 diamond Inorganic materials 0.000 description 1
- 229940019778 diethylene glycol diethyl ether Drugs 0.000 description 1
- KPUWHANPEXNPJT-UHFFFAOYSA-N disiloxane Chemical class [SiH3]O[SiH3] KPUWHANPEXNPJT-UHFFFAOYSA-N 0.000 description 1
- 230000005684 electric field Effects 0.000 description 1
- 238000005401 electroluminescence Methods 0.000 description 1
- 150000002148 esters Chemical class 0.000 description 1
- 238000001704 evaporation Methods 0.000 description 1
- 230000008020 evaporation Effects 0.000 description 1
- 230000001747 exhibiting effect Effects 0.000 description 1
- PCHJSUWPFVWCPO-UHFFFAOYSA-N gold Chemical compound [Au] PCHJSUWPFVWCPO-UHFFFAOYSA-N 0.000 description 1
- 229910052737 gold Inorganic materials 0.000 description 1
- 239000010931 gold Substances 0.000 description 1
- AMGQUBHHOARCQH-UHFFFAOYSA-N indium;oxotin Chemical compound [In].[Sn]=O AMGQUBHHOARCQH-UHFFFAOYSA-N 0.000 description 1
- 150000002484 inorganic compounds Chemical class 0.000 description 1
- 239000011810 insulating material Substances 0.000 description 1
- 230000001678 irradiating effect Effects 0.000 description 1
- 150000002576 ketones Chemical class 0.000 description 1
- 238000003475 lamination Methods 0.000 description 1
- 239000011133 lead Substances 0.000 description 1
- 238000001459 lithography Methods 0.000 description 1
- 230000014759 maintenance of location Effects 0.000 description 1
- 230000005012 migration Effects 0.000 description 1
- 238000013508 migration Methods 0.000 description 1
- 238000012986 modification Methods 0.000 description 1
- 230000004048 modification Effects 0.000 description 1
- 239000002105 nanoparticle Substances 0.000 description 1
- 230000003647 oxidation Effects 0.000 description 1
- 238000007254 oxidation reaction Methods 0.000 description 1
- HFPZCAJZSCWRBC-UHFFFAOYSA-N p-cymene Chemical compound CC(C)C1=CC=C(C)C=C1 HFPZCAJZSCWRBC-UHFFFAOYSA-N 0.000 description 1
- 239000002245 particle Substances 0.000 description 1
- 238000000059 patterning Methods 0.000 description 1
- 238000005268 plasma chemical vapour deposition Methods 0.000 description 1
- 239000002985 plastic film Substances 0.000 description 1
- 229920006255 plastic film Polymers 0.000 description 1
- 229920000090 poly(aryl ether) Polymers 0.000 description 1
- 229920000548 poly(silane) polymer Polymers 0.000 description 1
- 238000012805 post-processing Methods 0.000 description 1
- 238000012545 processing Methods 0.000 description 1
- BDERNNFJNOPAEC-UHFFFAOYSA-N propan-1-ol Chemical compound CCCO BDERNNFJNOPAEC-UHFFFAOYSA-N 0.000 description 1
- RUOJZAUFBMNUDX-UHFFFAOYSA-N propylene carbonate Chemical compound CC1COC(=O)O1 RUOJZAUFBMNUDX-UHFFFAOYSA-N 0.000 description 1
- 230000009467 reduction Effects 0.000 description 1
- 229910052710 silicon Inorganic materials 0.000 description 1
- 239000010703 silicon Substances 0.000 description 1
- 239000000377 silicon dioxide Substances 0.000 description 1
- 229940100890 silver compound Drugs 0.000 description 1
- 150000003379 silver compounds Chemical class 0.000 description 1
- 229910001923 silver oxide Inorganic materials 0.000 description 1
- 238000009751 slip forming Methods 0.000 description 1
- 239000000243 solution Substances 0.000 description 1
- 239000002887 superconductor Substances 0.000 description 1
- CXWXQJXEFPUFDZ-UHFFFAOYSA-N tetralin Chemical compound C1=CC=C2CCCCC2=C1 CXWXQJXEFPUFDZ-UHFFFAOYSA-N 0.000 description 1
- 229910052718 tin Inorganic materials 0.000 description 1
- 239000008096 xylene Substances 0.000 description 1
Images
Classifications
-
- A—HUMAN NECESSITIES
- A61—MEDICAL OR VETERINARY SCIENCE; HYGIENE
- A61G—TRANSPORT, PERSONAL CONVEYANCES, OR ACCOMMODATION SPECIALLY ADAPTED FOR PATIENTS OR DISABLED PERSONS; OPERATING TABLES OR CHAIRS; CHAIRS FOR DENTISTRY; FUNERAL DEVICES
- A61G15/00—Operating chairs; Dental chairs; Accessories specially adapted therefor, e.g. work stands
- A61G15/10—Parts, details or accessories
- A61G15/12—Rests specially adapted therefor, e.g. for the head or feet
- A61G15/125—Head-rests
-
- G—PHYSICS
- G02—OPTICS
- G02F—OPTICAL DEVICES OR ARRANGEMENTS FOR THE CONTROL OF LIGHT BY MODIFICATION OF THE OPTICAL PROPERTIES OF THE MEDIA OF THE ELEMENTS INVOLVED THEREIN; NON-LINEAR OPTICS; FREQUENCY-CHANGING OF LIGHT; OPTICAL LOGIC ELEMENTS; OPTICAL ANALOGUE/DIGITAL CONVERTERS
- G02F1/00—Devices or arrangements for the control of the intensity, colour, phase, polarisation or direction of light arriving from an independent light source, e.g. switching, gating or modulating; Non-linear optics
- G02F1/01—Devices or arrangements for the control of the intensity, colour, phase, polarisation or direction of light arriving from an independent light source, e.g. switching, gating or modulating; Non-linear optics for the control of the intensity, phase, polarisation or colour
- G02F1/13—Devices or arrangements for the control of the intensity, colour, phase, polarisation or direction of light arriving from an independent light source, e.g. switching, gating or modulating; Non-linear optics for the control of the intensity, phase, polarisation or colour based on liquid crystals, e.g. single liquid crystal display cells
- G02F1/133—Constructional arrangements; Operation of liquid crystal cells; Circuit arrangements
- G02F1/136—Liquid crystal cells structurally associated with a semi-conducting layer or substrate, e.g. cells forming part of an integrated circuit
- G02F1/1362—Active matrix addressed cells
- G02F1/1368—Active matrix addressed cells in which the switching element is a three-electrode device
Landscapes
- Physics & Mathematics (AREA)
- Nonlinear Science (AREA)
- Optics & Photonics (AREA)
- Chemical & Material Sciences (AREA)
- Health & Medical Sciences (AREA)
- General Physics & Mathematics (AREA)
- Crystallography & Structural Chemistry (AREA)
- Engineering & Computer Science (AREA)
- Microelectronics & Electronic Packaging (AREA)
- Mathematical Physics (AREA)
- Life Sciences & Earth Sciences (AREA)
- Animal Behavior & Ethology (AREA)
- Veterinary Medicine (AREA)
- Oral & Maxillofacial Surgery (AREA)
- Public Health (AREA)
- General Health & Medical Sciences (AREA)
- Liquid Crystal (AREA)
- Thin Film Transistor (AREA)
- Devices For Indicating Variable Information By Combining Individual Elements (AREA)
- Internal Circuitry In Semiconductor Integrated Circuit Devices (AREA)
Description
前記下基板(アクティブマトリックス基板)の一例を、図17に示す。同図に示すように、下基板1は、ガラス基板2と、このガラス基板2上に互いに交差するように配線されたゲート走査電極3及びソース電極4と、同じくガラス基板2上に配線されたドレイン電極5と、このドレイン電極5に接続された画素電極(ITO)6と、ゲート走査電極3とソース電極4との間に介在された絶縁層7と、薄膜半導体からなるTFT(Thin Film Transistor)8とを備えて構成されている。下基板1における各金属配線の形成においては、例えば、特許文献1に示されるように、ドライプロセスとフォトリソエッチングを組み合わせた工程を複数回繰り返す手法が用いられている。
本発明は、以上のような点を考慮してなされたもので、ドライプロセスとフォトリソエッチングを組み合わせた工程の回数を低減することができるアクティブマトリクス基板の製造方法等を提供することを目的とする。
本発明のアクティブマトリクス基板の製造方法は、画素電極を有するアクティブマトリクス基板の製造方法であって、前記画素電極の形成工程は、前記画素電極を区画するバンクを液滴吐出法により形成する工程と、前記バンクによって区画された領域に導電材料を含む機能液を配置する工程とを含むことを特徴とする。
この方法によれば、必要となるフォト工程の回数を従来の4回(ゲートライン形成プロセス、TFT素子形成プロセス、ソースライン形成プロセス、画素電極形成プロセス)から3回(ゲートライン形成プロセス、TFT素子形成プロセス、ソースライン形成プロセス、)に減らすことができる。
この方法によれば、必要となるフォト工程は第1工程と第2工程の2回のみであり、従来に比べて、その回数を半分に減らすことができる。
この方法によれば、これらの配線の接触が回避されるので、これらの配線を同一面上に同時に形成することが可能となる。
この方法によれば、更にフォト工程の回数を減らすことができる。
この方法によれば、容量線上の積層部が交差部上の積層部と接触していないので、交差部の積層部上に形成される導電層を流れる電流が、容量線の積層部に流れ込んでしまうことを回避することができる。
この方法によれば、容易にスイッチング素子を形成することができる。
この方法によれば、バンク自体が撥液性を有するため、バンク表面を改めて撥液処理する必要がなくなり、工程の簡素化が図られる。
この方法によれば、バンクの形成材料が無機質の材料を含むことから、バンクの耐熱性が高く、しかもバンクと基板との間の熱膨張率の差が小さい。そのため、機能液の乾燥時の熱などによるバンクの劣化が抑制され、膜パターンが良好な形状で形成される。
この構成によれば、低コストのアクティブマトリクス基板を得ることができる。
これらの構成によれば、低コストのアクティブマトリクス基板を用いることができるので、電気光学装置、電子機器のコストを抑えることができる。
図1は、本実施形態に係るアクティブマトリックス基板の一部を拡大した図である。
アクティブマトリックス基板20上は、格子状に配線されたゲート配線40とソース配線42とを備える。すなわち、複数のゲート配線40がX方向(第1方向)に延びるように形成され、ソース配線42がY方向(第2方向)に延びるように形成されている。
また、ゲート配線40には、ゲート電極41が接続され、ゲート電極41上に絶縁層を介してTFT30が配置される。一方、ソース配線42には、ソース電極43が接続され、ソース電極43の一端は、TFT(スイッチング素子)30に接続する。
そして、ゲート配線40とソース配線42に囲まれた領域には、画素電極45が配置され、ドレイン電極44を介してTFT30に接続する。
また、アクティブマトリックス基板20上には、ゲート配線40と略平行するように、容量線46が配線される。容量線46は、画素電極45及びソース配線42の下層に絶縁層を介して配置される。
なお、ゲート配線40、ゲート電極41、ソース配線42、容量線46は、同一の面上に形成される。
アクティブマトリックス基板20を液晶表示装置に用いた場合には、画像表示領域には複数の画素100aがマトリクス状に構成される。これらの画素100aの各々には、画素スイッチング用のTFT30が形成されており、画素信号S1、S2、…、Snを供給するソース配線42がソース電極43を介してTFT30のソースに電気的に接続されている。ソース配線42に供給する画素信号S1、S2、…、Snは、この順に線順次で供給してもよく、相隣接する複数のソース配線42同士に対して、グループ毎に供給するようにしてもよい。
また、TFT30のゲートには、ゲート配線40がゲート電極41を介して電気的に接続されている。そして、所定のタイミングで、ゲート配線40にパルス的に走査信号G1、G2、…、Gmをこの順に線順次で印加するように構成されている。
なお、保持された画素信号S1、S2、…、Snがリークするのを防ぐために、容量線46によって、画素電極45と対向電極121との間に形成される液晶容量と並列に蓄積容量48が付加されている。例えば、画素電極45の電圧は、ソース電圧が印加された時間よりも3桁も長い時間だけ蓄積容量48により保持される。これにより、電荷の保持特性は改善され、コントラスト比の高い液晶表示装置100を実現することができる。
次に、アクティブマトリックス基板20の製造方法について説明する。
アクティブマトリックス基板20は、基板P上に格子パターンの配線を形成する第1工程と、積層部35を形成する第2工程と、画素電極45等を形成する第3工程により製造される。本実施形態においては、ソース電極43、ドレイン電極44、画素電極45の形成工程に本発明の膜パターンの形成方法が適用される。
以下、各工程毎に詳細に説明する。
図3、図4は、第1工程である配線形成工程を説明する図である。なお、図3(b),図4(b)は、それぞれ図3(a),図4(a)におけるA−A’線に沿う断面図である。
ゲート配線40やソース配線42等の格子パターンの配線が形成される基板Pとしては、ガラス、石英ガラス、Siウエハ、プラスチックフィルム、金属板など各種の材料を用いることができる。また、これら各種の素材基板の表面に半導体膜、金属膜、誘電体膜、有機膜などが下地層として形成されたものも含む。
そして、まず、図3に示すように、基板P上に、絶縁性の材料からなるバンク51が形成される。バンクは、後述する配線用インクを基板Pの所定位置に配置するためのものである。
具体的には、図3(a)に示すように、洗浄した基板Pの上面に、格子パターンの配線の形成位置に対応した複数の開口部52,53,54,55を有するバンク51をフォトリソグラフィ法に基づいて形成する。
具体的には、X方向に延びるように形成された開口部52,53は、ゲート配線40、容量線46の形成位置に対応する。そして、ゲート配線40の形成位置に対応する開口部52には、ゲート電極41の形成位置に対応する開口部54が接続している。また、Y方向に延びるように形成された開口部55は、ソース配線42の形成位置に対応する。なお、Y方向に延びる開口部55は、X方向に延びる開口部52,53と交差しないように、交差部56において分断されるように形成される。
配線用インクは、導電性微粒子を分散媒に分散させた分散液や有機銀化合物や酸化銀ナノ粒子を溶媒(分散媒)に分散した溶液からなるものである。導電性微粒子としては、例えば、金、銀、銅、錫、鉛等の金属微粒子の他、これらの酸化物、並びに導電性ポリマーや超電導体の微粒子などが用いられる。これらの導電性微粒子は、分散性を向上させるために表面に有機物などをコーティングして使うこともできる。
インクジェット法を用いて液体材料を液滴として吐出する際、粘度が1mPa・sより小さい場合にはノズル周辺部がインクの流出により汚染されやすく、また粘度が50mPa・sより大きい場合は、ノズル孔での目詰まり頻度が高くなり円滑な液滴の吐出が困難となる。
乾燥処理は、例えば基板Pを加熱する通常のホットプレート、電気炉などによる加熱処理によって行うことができる。例えば180℃加熱を60分間程度行う。
焼成処理の処理温度は、分散媒の沸点(蒸気圧)、微粒子の分散性や酸化性等の熱的挙動、コーティング剤の有無や量、基材の耐熱温度などを考慮して適宜決定される。例えば、有機物からなるコーティング剤を除去するために、約250℃で焼成することが必要である。
このような乾燥・焼成処理により、導電性微粒子間の電気的接触が確保され、導電性膜に変換される。
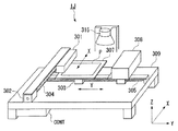
液滴吐出装置(インクジェット装置)IJは、液滴吐出ヘッドから基板Pに対して液滴を吐出(滴下)するものであって、液滴吐出ヘッド301と、X方向駆動軸304と、Y方向ガイド軸305と、制御装置CONTと、ステージ307と、クリーニング機構308と、基台309と、ヒータ315とを備えている。ステージ307は、この液滴吐出装置IJによりインク(液体材料)を設けられる基板Pを支持するものであって、基板Pを基準位置に固定する不図示の固定機構を備えている。
Y方向ガイド軸305は、基台309に対して動かないように固定されている。ステージ307は、Y方向駆動モータ303を備えている。Y方向駆動モータ303はステッピングモータ等であり、制御装置CONTからY方向の駆動信号が供給されると、ステージ307をY方向に移動する。
クリーニング機構308は、液滴吐出ヘッド301をクリーニングするものである。クリーニング機構308には、図示しないY方向の駆動モータが備えられている。このY方向の駆動モータの駆動により、クリーニング機構は、Y方向ガイド軸305に沿って移動する。クリーニング機構308の移動も制御装置CONTにより制御される。
ヒータ315は、ここではランプアニールにより基板Pを熱処理する手段であり、基板P上に塗布された液体材料に含まれる溶媒の蒸発及び乾燥を行う。このヒータ315の電源の投入及び遮断も制御装置CONTにより制御される。
したがって、液滴吐出ヘッド301の吐出ノズルは、非走査方向であるY方向に一定間隔で並んで設けられている。なお、図5では、液滴吐出ヘッド301は、基板Pの進行方向に対し直角に配置されているが、液滴吐出ヘッド301の角度を調整し、基板Pの進行方向に対して交差させるようにしてもよい。このようにすれば、液滴吐出ヘッド301の角度を調整することで、ノズル間のピッチを調節することが出来る。また、基板Pとノズル面との距離を任意に調節することが出来るようにしてもよい。
液滴吐出ヘッド301には、液体材料(配線用インク等)を収容する液体室321に隣接してピエゾ素子322が設置されている。液体室321には、液体材料を収容する材料タンクを含む液体材料供給系323を介して液体材料が供給される。
ピエゾ素子322は駆動回路324に接続されており、この駆動回路324を介してピエゾ素子322に電圧を印加し、ピエゾ素子322を変形させることにより、液体室321が変形し、ノズル325から液体材料が吐出される。
この場合、印加電圧の値を変化させることにより、ピエゾ素子322の歪み量が制御される。また、印加電圧の周波数を変化させることにより、ピエゾ素子322の歪み速度が制御される。ピエゾ方式による液滴吐出は材料に熱を加えないため、材料の組成に影響を与えにくいという利点を有する。
図7〜図10は、第2工程である積層部形成工程を説明する図である。なお、図7(b)〜図10(b)は、それぞれ図7(a)〜図10(a)におけるA−A’線に沿う断面図であり、図8(c)〜図10(c)は、それぞれ図8(a)〜図10(a)におけるB−B’線に沿う断面図である。
第2工程では、バンク51及び格子パターンの配線からなる層上の所定位置に絶縁膜31と半導体膜(コンタクト層33,活性層32)からなる積層部35を形成する。
まず、プラズマCVD法により、基板P上の全面に対して、絶縁膜31、活性層32、コンタクト層33の連続成膜を行う。具体的には、図7に示すように、絶縁膜31として窒化シリコン膜、活性層32としてアモルファスシリコン膜、コンタクト層33としてn+型シリコン膜を原料ガスやプラズマ条件を変化させることにより連続して形成する。
なお、交差部56上に配置するレジスト58aと容量線46上に配置するレジスト58bとは、接触しなように形成される。また、ゲート電極41上に配置するレジスト58cには、ハーフ露光を行うことにより、図8(b)に示すように、溝59を形成する。
これにより、図9に示すように、レジスト58(58a〜58c)を配置した所定位置以外の領域から、コンタクト層33、活性層32、絶縁膜31が取り除かれる。一方、レジスト58が配置された所定位置には、絶縁膜31と半導体膜(コンタクト層33,活性層32)からなる積層部35が形成される。
なお、ゲート電極41上に形成される積層部35では、レジスト58cにハーフ露光を行って溝59を形成しておいたので、エッチング前に再度現像することにより溝が貫通する。図9(b)示すように、溝59に対応するコンタクト層33が除去され、2つに分断された状態に形成される。これにより、ゲート電極41上に活性層32及びコンタクト層33からなるスイッチング素子としてTFT30が形成される。
このようにして、積層部35の形成が完了する。
図11〜図14は、第3工程である画素電極45等の形成工程を説明する図である。なお、図11(b)〜図14(b)は、それぞれ図11(a)〜図14(a)におけるA−A’線に沿う断面図であり、図11(c)〜図14(c)は、それぞれ図11(a)〜図14(a)におけるB−B’線に沿う断面図である。
第3工程では、ソース電極43、ドレイン電極44、導電層49及び画素電極45を形成する。
ソース電極43、ドレイン電極44、導電層49は、ゲート配線40やソース配線42を形成したのと同じ材料によって形成することができる。画素電極45は、透明性が必要であることから、ITO(Indium Tin Oxide:インジウムスズ酸化物)等の透光性材料によって形成することが望ましい。これらの形成には、第1工程と同様に、液滴吐出法が用いられる。
また、開口部62,63は、図11(b)に示すように、ゲート電極41上に形成した積層部35(TFT30)の一部が露出するように形成される。すなわち、バンク61が積層部35(TFT30)をX方向に2分割するように形成される。
このようにして、基板P上には、図13に示すように、分断されたソース配線42を連結する導電層49、ソース電極43、ドレイン電極44が形成される。
このようにして、基板P上には、図14に示すように、ドレイン電極44と導通する画素電極45が形成される。
このように、本実施形態では、アクティブマトリックス基板20を、基板P上に格子パターンの配線を形成する第1工程と、積層部35を形成する第2工程と、画素電極45等を形成する第3工程とによって製造したので、ドライプロセスとフォトリソエッチングを組み合わせた処理を減らすことができる。すなわち、ゲート配線40及びソース配線42を同時に形成するようにしたので、ドライプロセスとフォトリソエッチングを組み合わせた処理を1回減らすことができる。
また、第3工程において、バンク61の形成を液滴吐出法により行なっているので、更にドライプロセスとフォトリソエッチングを組み合わせた処理を減らすことができる。
すなわち、積層部35を形成する層のうち、コンタクト層33は導電性膜であり、そして、交差部56上の積層部35(コンタクト層33)上には、ソース配線42を連結する導電部49が形成される。このため、ソース配線42を流れる電流は、コンタクト層33にも流れる。したがって、容量線46上の積層部35と交差部56上の積層部35と接触していると、上述したように、ソース配線42を流れる電流が容量線46上の積層部35に流れ込んでしまうという現象が発生してしまう。
したがって、本発明のアクティブマトリックス基板20によれば、このような不都合が回避されるので、所望の性能を発揮することが可能となる。
また、本実施形態では、アクティブマトリクス基板の好適な一形態例について説明したが、その構成部材の形状や組み合わせは係る形態に限定されるものではない。例えば、図図9に代えて、積層部35の形状・配置を図15のようなものにすることもできる。この場合、ソース領域とソース配線43とが近接して配置されるため、ソース電極43の形成面積を小さくし、より性能の高いアクティブマトリクス基板を製造することができる。
次に、アクティブマトリックス基板20を用いた電気光学装置の一例である液晶表示装置100について説明する。
図16は、液晶表示装置100を対向基板側から見た平面図であり、図17は、図16のH−H’線に沿う断面図である。
なお、以下の説明に用いた各図においては、各層や各部材を図面上で認識可能な程度の大きさとするため、各層や各部材毎に縮尺を異ならせてある。
なお、データ線駆動回路201及び走査線駆動回路204をTFTアレイ基板110の上に形成する代わりに、例えば、駆動用LSIが実装されたTAB(Tape Automated Bonding)基板とTFTアレイ基板110の周辺部に形成された端子群とを異方性導電膜を介して電気的及び機械的に接続するようにしてもよい。
なお、液晶表示装置100においては、使用する液晶150の種類、すなわち、TN(Twisted Nematic)モード、C−TN法、VA方式、IPS方式モード等の動作モードや、ノーマリホワイトモード/ノーマリブラックモードの別に応じて、位相差板、偏光板等が所定の向きに配置されるが、ここでは図示を省略する。
また、液晶表示装置100をカラー表示用として構成する場合には、対向基板120において、TFTアレイ基板110の後述する各画素電極に対向する領域に、例えば、赤(R)、緑(G)、青(B)のカラーフィルタをその保護膜とともに形成する。
また、前記のアクティブマトリクス基板は、液晶表示装置以外の他の電気光学装置、例えば有機EL(エレクトロルミネッセンス)表示装置等にも応用が可能である。有機EL表示装置は、蛍光性の無機および有機化合物を含む薄膜を、陰極と陽極とで挟んだ構成を有し、前記薄膜に電子および正孔(ホール)を注入して励起させることにより励起子(エキシトン)を生成させ、このエキシトンが再結合する際の光の放出(蛍光・燐光)を利用して発光させる素子である。そして、上記のTFT30を有する基板上に、有機EL表示素子に用いられる蛍光性材料のうち、赤、緑および青色の各発光色を呈する材料すなわち発光層形成材料及び正孔注入/電子輸送層を形成する材料をインクとし、各々をパターニングすることで、自発光フルカラーELデバイスを製造することができる。本発明における電気光学装置の範囲には、このような有機ELデバイスも含まれるものとする。なお、有機EL表示装置においては、正孔注入/輸送層形成材料や発光層形成材料を形成する方法として本発明の膜パターンの形成方法を適用することも可能である。
更に、アクティブマトリックス基板20は、PDP(プラズマディスプレイパネル)や、基板上に形成された小面積の薄膜に膜面に平行に電流を流すことにより、電子放出が生ずる現象を利用する表面伝導型電子放出素子等にも適用可能である。
次に、本発明の電子機器の具体例について説明する。
図18(a)は、携帯電話の一例を示した斜視図である。図18(a)において、600は携帯電話本体を示し、601は上記実施形態の液晶表示装置100を備えた表示部を示している。
図18(b)は、ワープロ、パソコンなどの携帯型情報処理装置の一例を示した斜視図である。図18(b)において、700は情報処理装置、701はキーボードなどの入力部、703は情報処理本体、702は上記実施形態の液晶表示装置100を備えた表示部を示している。
図18(c)は、腕時計型電子機器の一例を示した斜視図である。図18(c)において、800は時計本体を示し、801は上記実施形態の液晶表示装置100を備えた表示部を示している。
このように、図18(a)〜(c)に示す電子機器は、上記実施形態の液晶表示装置100を備えたものであるので、高い品質や性能が得られる。
また、テレビやモニター等の大型液晶パネルにおいても本実施形態を用いることができる。
Claims (5)
- 第1方向に延びるように形成された第1の配線と第2方向に延びるように形成された第2の配線とのうちのいずれか一方の配線が交差部において分断された格子パターンの配線を基板上に形成する第1工程と、
前記交差部及び前記格子パターンの配線の一部上に絶縁膜と半導体膜とからなる積層部を形成する第2工程と、
前記積層部上に前記交差部において分断された前記一方の配線を電気的に連結させる導電層を形成し、且つ、前記半導体膜を介して前記格子パターンの配線と電気的に接続される画素電極を形成する第3工程と、を有し、
前記第1工程は、前記格子パターンの配線を区画する第1のバンクをフォトリソグラフィ法により形成する工程と、前記第1のバンクによって区画された領域に液滴吐出法により前記格子パターンの配線を形成する工程とを含み、
前記第3工程は、前記導電層と前記画素電極とを区画する第2のバンクを液滴吐出法により形成する工程と、前記第2のバンクによって区画された領域に液滴吐出法により前記導電層と前記画素電極とを形成する工程とを含むことを特徴とする、アクティブマトリクス基板の製造方法。 - 前記第1工程は、ソース配線と、前記ソース配線と交差して配置されたゲート配線とを含む前記格子パターンの配線を基板上に形成する工程であり、
前記第2工程は、前記ソース配線と前記ゲート配線との交差部上及び前記ゲート配線の一部であるゲート電極上に、絶縁膜と半導体膜とを順に積層してなる積層部を形成する工程であり、
前記第3工程は、前記ソース配線と前記ゲート配線との交差部に形成された前記積層部上に、前記交差部を挟んで分断された前記一方の配線を電気的に連結させる前記導電層を形成し、前記ゲート電極上に形成された前記積層部の一方の端部上に、前記半導体膜と前記ソース配線とを電気的に接続するソース電極を形成し、前記ゲート電極上に形成された前記積層部の他方の端部上にドレイン電極を形成し、前記ドレイン電極の端部に前記ドレイン電極と電気的に接続される前記画素電極を形成する工程であり、
前記第3工程は、
前記導電層の形成位置に第1の開口部を有し、前記ソース電極の形成位置に第2の開口部を有し、前記ドレイン電極の形成位置に第3の開口部を有し、前記画素電極の形成位置に前記第4の開口部を有する前記第2のバンクを液滴吐出法により形成する工程と、
前記第1の開口部と前記第2の開口部と前記第3の開口部に、第1の導電性微粒子を含む第1のインクを配置する工程と、
前記第3の開口部と前記第4の開口部との間に配置された前記第2のバンクを除去する工程と、
前記第2のバンクが除去された部分と前記第4の開口部とに、前記第1の導電性微粒子とは異なる第2の導電性微粒子を含む第2のインクを配置する工程と、を含むことを特徴とする、請求項1記載のアクティブマトリクス基板の製造方法。 - 前記格子パターンの配線は、前記ソース配線と、前記ゲート配線と、前記ゲート配線と平行に配置された容量線とからなり、前記ソース配線が前記ゲート配線との交差部及び前記容量線との交差部において分断されていることを特徴とする、請求項2記載のアクティブマトリクス基板の製造方法。
- 前記第2のバンクは、撥液性の材料によって形成されることを特徴とする、請求項1〜3のいずれかの項に記載のアクティブマトリクス基板の製造方法。
- 前記第1のバンクと前記第2のバンクの形成材料は、無機質の材料を含むことを特徴とする、請求項1〜4のいずれかの項に記載のアクティブマトリクス基板の製造方法。
Priority Applications (5)
| Application Number | Priority Date | Filing Date | Title |
|---|---|---|---|
| JP2005028587A JP4380552B2 (ja) | 2005-02-04 | 2005-02-04 | アクティブマトリクス基板の製造方法、アクティブマトリクス基板、電気光学装置並びに電子機器 |
| TW095102527A TWI358007B (en) | 2005-02-04 | 2006-01-24 | Method for manufacturing active matrix substrate a |
| KR1020060007827A KR100753953B1 (ko) | 2005-02-04 | 2006-01-25 | 액티브 매트릭스 기판의 제조 방법, 액티브 매트릭스 기판,전기 광학 장치및 전자 기기 |
| CNB2006100045756A CN100485903C (zh) | 2005-02-04 | 2006-01-28 | 有源矩阵基板及其制造方法、电光学装置及电子仪器 |
| US11/347,687 US7691654B2 (en) | 2005-02-04 | 2006-02-03 | Method for manufacturing active matrix substrate, active matrix substrate, electro-optical device and electronic apparatus |
Applications Claiming Priority (1)
| Application Number | Priority Date | Filing Date | Title |
|---|---|---|---|
| JP2005028587A JP4380552B2 (ja) | 2005-02-04 | 2005-02-04 | アクティブマトリクス基板の製造方法、アクティブマトリクス基板、電気光学装置並びに電子機器 |
Publications (2)
| Publication Number | Publication Date |
|---|---|
| JP2006215305A JP2006215305A (ja) | 2006-08-17 |
| JP4380552B2 true JP4380552B2 (ja) | 2009-12-09 |
Family
ID=36779541
Family Applications (1)
| Application Number | Title | Priority Date | Filing Date |
|---|---|---|---|
| JP2005028587A Expired - Fee Related JP4380552B2 (ja) | 2005-02-04 | 2005-02-04 | アクティブマトリクス基板の製造方法、アクティブマトリクス基板、電気光学装置並びに電子機器 |
Country Status (5)
| Country | Link |
|---|---|
| US (1) | US7691654B2 (ja) |
| JP (1) | JP4380552B2 (ja) |
| KR (1) | KR100753953B1 (ja) |
| CN (1) | CN100485903C (ja) |
| TW (1) | TWI358007B (ja) |
Families Citing this family (8)
| Publication number | Priority date | Publication date | Assignee | Title |
|---|---|---|---|---|
| WO2005055309A1 (en) | 2003-12-02 | 2005-06-16 | Semiconductor Energy Laboratory Co., Ltd. | Thin film transistor, display device and liquid crystal display device and method for manufacturing the same |
| KR20060124306A (ko) * | 2005-05-31 | 2006-12-05 | 삼성전자주식회사 | 표시 장치용 배선, 이를 포함하는 박막 트랜지스터 표시판및 그 제조 방법 |
| JP2008058455A (ja) * | 2006-08-30 | 2008-03-13 | Seiko Epson Corp | アクティブマトリクス基板の製造方法及び液晶表示装置の製造方法 |
| JP2008058456A (ja) * | 2006-08-30 | 2008-03-13 | Seiko Epson Corp | アクティブマトリクス基板の製造方法及び液晶表示装置の製造方法 |
| JP4333728B2 (ja) * | 2006-09-14 | 2009-09-16 | セイコーエプソン株式会社 | 電気光学装置の製造方法および電子機器 |
| JP5090745B2 (ja) * | 2007-01-17 | 2012-12-05 | 株式会社ジャパンディスプレイイースト | 表示装置および表示装置の製造方法 |
| KR101119251B1 (ko) * | 2010-06-07 | 2012-03-16 | 삼성전기주식회사 | 터치패널 |
| WO2014155458A1 (ja) * | 2013-03-29 | 2014-10-02 | パナソニック液晶ディスプレイ株式会社 | 表示装置 |
Family Cites Families (14)
| Publication number | Priority date | Publication date | Assignee | Title |
|---|---|---|---|---|
| JP2625585B2 (ja) * | 1991-03-08 | 1997-07-02 | 沖電気工業株式会社 | 薄膜トランジスタアレイ基板及びその製造方法 |
| US5930607A (en) * | 1995-10-03 | 1999-07-27 | Seiko Epson Corporation | Method to prevent static destruction of an active element comprised in a liquid crystal display device |
| JPH09171974A (ja) | 1995-12-20 | 1997-06-30 | Seiko Epson Corp | 半導体装置の製造方法 |
| JP3622934B2 (ja) * | 1996-07-31 | 2005-02-23 | エルジー フィリップス エルシーディー カンパニー リミテッド | 薄膜トランジスタ型液晶表示装置 |
| JP2002268084A (ja) | 2001-03-08 | 2002-09-18 | Sharp Corp | アクティブマトリクス基板及びその製造方法 |
| GB2373095A (en) | 2001-03-09 | 2002-09-11 | Seiko Epson Corp | Patterning substrates with evaporation residues |
| JP3965562B2 (ja) * | 2002-04-22 | 2007-08-29 | セイコーエプソン株式会社 | デバイスの製造方法、デバイス、電気光学装置及び電子機器 |
| JP4042099B2 (ja) * | 2002-04-22 | 2008-02-06 | セイコーエプソン株式会社 | デバイスの製造方法、デバイス及び電子機器 |
| JP2003208111A (ja) * | 2002-10-17 | 2003-07-25 | Matsushita Electric Ind Co Ltd | 有機el表示装置と液晶表示装置及び表示装置用半導体装置 |
| JP4192674B2 (ja) * | 2003-05-16 | 2008-12-10 | セイコーエプソン株式会社 | 薄膜パターン形成方法及びデバイスの製造方法 |
| JP4593969B2 (ja) * | 2003-05-16 | 2010-12-08 | 株式会社半導体エネルギー研究所 | 配線の作製方法及び表示装置の作製方法 |
| US7192859B2 (en) | 2003-05-16 | 2007-03-20 | Semiconductor Energy Laboratory Co., Ltd. | Method of manufacturing semiconductor device and display device |
| JP3788467B2 (ja) | 2003-05-28 | 2006-06-21 | セイコーエプソン株式会社 | パターン形成方法、デバイス及びデバイスの製造方法、電気光学装置、電子機器並びにアクティブマトリクス基板の製造方法 |
| JP2005013985A (ja) * | 2003-05-30 | 2005-01-20 | Seiko Epson Corp | 膜パターン形成方法、デバイス及びその製造方法、電気光学装置、並びに電子機器、アクティブマトリクス基板の製造方法、アクティブマトリクス基板 |
-
2005
- 2005-02-04 JP JP2005028587A patent/JP4380552B2/ja not_active Expired - Fee Related
-
2006
- 2006-01-24 TW TW095102527A patent/TWI358007B/zh not_active IP Right Cessation
- 2006-01-25 KR KR1020060007827A patent/KR100753953B1/ko not_active Expired - Fee Related
- 2006-01-28 CN CNB2006100045756A patent/CN100485903C/zh not_active Expired - Fee Related
- 2006-02-03 US US11/347,687 patent/US7691654B2/en not_active Expired - Fee Related
Also Published As
| Publication number | Publication date |
|---|---|
| TWI358007B (en) | 2012-02-11 |
| KR100753953B1 (ko) | 2007-08-31 |
| US7691654B2 (en) | 2010-04-06 |
| CN100485903C (zh) | 2009-05-06 |
| CN1819146A (zh) | 2006-08-16 |
| JP2006215305A (ja) | 2006-08-17 |
| US20060176413A1 (en) | 2006-08-10 |
| KR20060089631A (ko) | 2006-08-09 |
| TW200639546A (en) | 2006-11-16 |
Similar Documents
| Publication | Publication Date | Title |
|---|---|---|
| JP2005013985A (ja) | 膜パターン形成方法、デバイス及びその製造方法、電気光学装置、並びに電子機器、アクティブマトリクス基板の製造方法、アクティブマトリクス基板 | |
| JP4297106B2 (ja) | 膜パターンの形成方法及びデバイスの製造方法、電気光学装置及び電子機器 | |
| JP4380552B2 (ja) | アクティブマトリクス基板の製造方法、アクティブマトリクス基板、電気光学装置並びに電子機器 | |
| KR100749111B1 (ko) | 액티브 매트릭스 기판의 제조 방법, 액티브 매트릭스 기판,전기 광학 장치 및 전자 기기 | |
| JP4337744B2 (ja) | 膜パターンの形成方法、アクティブマトリクス基板の製造方法 | |
| KR100716217B1 (ko) | 액티브 매트릭스 기판의 제조 방법 | |
| KR100841284B1 (ko) | 금속 배선 형성 방법 및 액티브 매트릭스 기판의 제조 방법 | |
| JP2004335851A (ja) | 線パターン形成方法、デバイスとその製造方法及び電気光学装置並びに電子機器 | |
| JP4192674B2 (ja) | 薄膜パターン形成方法及びデバイスの製造方法 | |
| JP4042625B2 (ja) | 薄膜パターン形成方法、デバイスとその製造方法及び電気光学装置並びに電子機器 | |
| JP4572814B2 (ja) | アクティブマトリクス基板とその製造方法、及び電気光学装置並びに電子機器 | |
| JP2004311530A (ja) | パターン形成方法、デバイスとその製造方法、液晶表示装置の製造方法、プラズマディスプレイパネルの製造方法、有機elデバイスの製造方法、フィールドエミッションディスプレイの製造方法及び電気光学装置並びに電子機器 | |
| JP2007184445A (ja) | 配線形成方法、薄膜トランジスタの製造方法及びデバイス製造方法並びに電子機器 | |
| JP2004330164A (ja) | 薄膜パターン形成方法、デバイスとその製造方法及び電気光学装置並びに電子機器 | |
| JP2007189130A (ja) | デバイスとその製造方法、配線形成方法及び電気光学装置並びに電子機器 | |
| JP2007280987A (ja) | 金属配線形成方法及びアクティブマトリクス基板の製造方法 | |
| JP2007142023A (ja) | デバイスとその製造方法、配線形成方法及び電気光学装置並びに電子機器 | |
| JP2007140323A (ja) | 膜パターンの形成方法、電気光学装置の製造方法、電気光学装置、電子機器 | |
| JP2007139953A (ja) | アクティブマトリクス基板とその製造方法、及び電気光学装置並びに電子機器 | |
| JP2006065019A (ja) | アクティブマトリクス基板の製造方法、アクティブマトリクス基板、電気光学装置及び電子機器 | |
| JP2008058455A (ja) | アクティブマトリクス基板の製造方法及び液晶表示装置の製造方法 | |
| JP2008058456A (ja) | アクティブマトリクス基板の製造方法及び液晶表示装置の製造方法 | |
| JP2007108204A (ja) | 画素電極形成方法、デバイス製造方法及び電気光学装置並びに電子機器 | |
| JP2006332313A (ja) | 導電膜パターンの形成方法、デバイスの製造方法、電気光学装置、及び電子機器 | |
| JP2007103759A (ja) | 膜パターンの形成方法、デバイスの製造方法、デバイス、電気光学装置、及び電子機器 |
Legal Events
| Date | Code | Title | Description |
|---|---|---|---|
| RD04 | Notification of resignation of power of attorney |
Free format text: JAPANESE INTERMEDIATE CODE: A7424 Effective date: 20070404 |
|
| A977 | Report on retrieval |
Free format text: JAPANESE INTERMEDIATE CODE: A971007 Effective date: 20081104 |
|
| A131 | Notification of reasons for refusal |
Free format text: JAPANESE INTERMEDIATE CODE: A131 Effective date: 20081202 |
|
| RD03 | Notification of appointment of power of attorney |
Free format text: JAPANESE INTERMEDIATE CODE: A7423 Effective date: 20081216 |
|
| A521 | Request for written amendment filed |
Free format text: JAPANESE INTERMEDIATE CODE: A523 Effective date: 20090128 |
|
| A131 | Notification of reasons for refusal |
Free format text: JAPANESE INTERMEDIATE CODE: A131 Effective date: 20090424 |
|
| A521 | Request for written amendment filed |
Free format text: JAPANESE INTERMEDIATE CODE: A523 Effective date: 20090515 |
|
| TRDD | Decision of grant or rejection written | ||
| A01 | Written decision to grant a patent or to grant a registration (utility model) |
Free format text: JAPANESE INTERMEDIATE CODE: A01 Effective date: 20090901 |
|
| A01 | Written decision to grant a patent or to grant a registration (utility model) |
Free format text: JAPANESE INTERMEDIATE CODE: A01 |
|
| A61 | First payment of annual fees (during grant procedure) |
Free format text: JAPANESE INTERMEDIATE CODE: A61 Effective date: 20090914 |
|
| FPAY | Renewal fee payment (event date is renewal date of database) |
Free format text: PAYMENT UNTIL: 20121002 Year of fee payment: 3 |
|
| R150 | Certificate of patent or registration of utility model |
Free format text: JAPANESE INTERMEDIATE CODE: R150 |
|
| FPAY | Renewal fee payment (event date is renewal date of database) |
Free format text: PAYMENT UNTIL: 20121002 Year of fee payment: 3 |
|
| FPAY | Renewal fee payment (event date is renewal date of database) |
Free format text: PAYMENT UNTIL: 20131002 Year of fee payment: 4 |
|
| LAPS | Cancellation because of no payment of annual fees |