JP4366183B2 - 半導体装置の製造方法 - Google Patents

半導体装置の製造方法 Download PDF

Info

Publication number
JP4366183B2
JP4366183B2 JP2003419290A JP2003419290A JP4366183B2 JP 4366183 B2 JP4366183 B2 JP 4366183B2 JP 2003419290 A JP2003419290 A JP 2003419290A JP 2003419290 A JP2003419290 A JP 2003419290A JP 4366183 B2 JP4366183 B2 JP 4366183B2
Authority
JP
Japan
Prior art keywords
gas
chlorine
silicon
supplying
film
Prior art date
Legal status (The legal status is an assumption and is not a legal conclusion. Google has not performed a legal analysis and makes no representation as to the accuracy of the status listed.)
Expired - Lifetime
Application number
JP2003419290A
Other languages
English (en)
Other versions
JP2005183514A (ja
Inventor
有人 小川
Current Assignee (The listed assignees may be inaccurate. Google has not performed a legal analysis and makes no representation or warranty as to the accuracy of the list.)
Kokusai Denki Electric Inc
Original Assignee
Hitachi Kokusai Electric Inc
Kokusai Denki Electric Inc
Priority date (The priority date is an assumption and is not a legal conclusion. Google has not performed a legal analysis and makes no representation as to the accuracy of the date listed.)
Filing date
Publication date
Application filed by Hitachi Kokusai Electric Inc, Kokusai Denki Electric Inc filed Critical Hitachi Kokusai Electric Inc
Priority to JP2003419290A priority Critical patent/JP4366183B2/ja
Publication of JP2005183514A publication Critical patent/JP2005183514A/ja
Application granted granted Critical
Publication of JP4366183B2 publication Critical patent/JP4366183B2/ja
Anticipated expiration legal-status Critical
Expired - Lifetime legal-status Critical Current

Links

Images

Landscapes

  • Chemical Vapour Deposition (AREA)

Description

本発明は半導体装置の製造方法に係り、特に基板上にエピタキシャル膜を選択成長させるために好適な方法である。
MOSFET(Metal-Oxide-Semiconductor Field-Effect Transistor)の高集積化および高性能化に伴い、MOSFETのソース/ドレインに、リーク電流の低減および低抵抗化などが要請されている。
これらの要請に応える方法の一つとして、ソース/ドレイン上にシリコンエピタキシャル膜を選択成長させる方法がある。表面の一部に絶縁層(シリコン窒化膜もしくはシリコン酸化膜)を有すると共にシリコン層が露出したウェハの前記シリコン層上にシリコンエピタキシャル膜を選択成長させる方法として、シラン系ガスまたはゲルマン系ガスの少なくとも一方のガスと、塩素ガスもしくはフッ素ガスとを交互に供給し、選択シリコンエピタキシャル成長を行うようにしたものが知られている(例えば、特許文献1参照)。
しかし、特許文献1ものでは、塩素ガスまたはフッ素ガス供給後、基板上に露出しているシリコン層上に塩素もしくはフッ素が付着し、次ステップにおけるシラン系ガスまたはゲルマン系ガス供給時に、基板上に露出しているシリコン層上へのシリコン膜の成長を阻害する。
そのために特許文献1ではシリコン層上に付着した塩素もしくはフッ素を、ジシランもしくはモノゲルマンを使用して取り除いているが、このとき、シリコン窒化膜もしくはシリコン酸化膜上にも、ジシランもしくはモノゲルマンが供給される。シリコン窒化膜上もしくはシリコン酸化膜上では、シリコン膜の成長に対する塩素もしくはフッ素の影響がない。したがって、シリコン層上に付着した塩素もしくはフッ素を取り除いている間に、シリコン窒化膜上もしくはシリコン酸化膜上にもシリコン膜が成長するため、シリコン層上のみに選択成長させるという選択性が破れ易い。このため、特許文献1では選択性の低下を引き起こすという問題がある。
これに対して、表面に絶縁層(Si34またはSiO2)を有し、シリコンが露出した基板に原料ガスを供給した後、選択性促進気体としてCl2ガスを供給し、その後選択性促進気体としてH2ガスを供給することにより、選択エピタキシャル成長を行う方法も知られている(例えば、特許文献2参照)。ここで、H2ガスを供給する目的は、絶縁層表面を非活性化させ、選択性を促進することにある。
これによれば、塩素ガスもしくはフッ素ガスの供給後に、H2ガスを供給して絶縁層表面を非活性化させることにより、選択性の低下を防止できる。したがって、特許文献1での選択性の低下を抑制することが可能である。
特開平04−139819号公報 特開2003−86511号公報
しかしながら、特許文献2記載のものでは、半導体装置の製造方法において、水素ガスを供給するステップがあらたに加わり、スループットが低下するという問題があった。
本発明の課題は、上述した従来技術の問題点を解消して、選択エピタキシャル成長の選択性の低下を防止しつつ、スループットを向上することが可能な半導体装置の製造方法を提供することにある。
第1の発明は、表面の一部に絶縁層を有すると共にシリコン層が露出した基板を処理室内に搬入する第1ステップと、前記処理室内にシラン系ガスを含む原料ガスを供給する第2ステップと、前記処理室内に塩素系ガスもしくはフッ素系ガスを供給する第3ステップと、前記処理室内に水素系ガスを供給する第4ステップと、前記第2ステップと前記第3ステップと前記第4ステップとを順に複数回繰り返して前記露出したシリコン層上に膜を成長させる第5ステップとを有し、前記第4ステップでの処理室内の圧力を、前記第2ステップまたは前記第3ステップでの処理室内圧力よりも大きくすることを特徴とする半導体装置の製造方法である。
第2ステップでシラン系ガスを含む原料ガスを供給することにより、露出したシリコン層上に膜が成長する。このとき、絶縁層上にシリコン結晶核が形成される。このシリコン結晶核は、第3ステップで塩素系ガスもしくはフッ素系ガスを供給することにより、この塩素系ガスもしくはフッ素系ガスと反応して除去される。このときシリコン膜上および絶縁層上に塩素もしくはフッ素が付着する。このシリコン膜上および絶縁層上に付着した塩素もしくはフッ素は、第4ステップで水素系ガスを供給することにより、この水素系ガスと反応して除去される。したがって、シリコン層上への成長膜の選択性の低下を防止できる。また、1回のシラン系ガス供給による膜厚を厚くすることができ、スループットが向上する。
また、水素系ガスを供給する第4ステップでの処理室内の圧力を、第2ステップまたは第3ステップでの処理室内圧力よりも大きくしたので、水素系ガスと塩素系ガスもしくはフッ素系ガスとの反応速度を増大させることができる。したがって、水素ガスを供給するステップがあらたに加わっても、スループットの低下を抑えることができる。
第2の発明は、第1の発明において、前記第5ステップは成長温度を500〜700℃として行うことを特徴とする半導体装置の製造方法である。
第5ステップは成長温度を500℃より低くするとスループットが悪くなり実用的でない。また、成長温度を700℃より高い温度とすると、インキュベーションタイムが短くなり、選択性が悪くなる。したがって、スループットおよび選択性がともに良好になる500〜700℃がよく、好ましくは500〜650℃がよい。
第3の発明は、第1の発明において、前記第2ステップで供給するガスは、モノシランSiH4、ジシランSi26、モノシランSiH4およびモノゲルマンGeH4、ジシランSi26およびモノゲルマンGeH4からなる群から選択される少なくとも一つのガスであり、前記第3ステップで供給するガスは塩素Cl2,塩化水素HCl、フッ素F2からなる群から選択される少なくとも一つのガスであり、前記第4ステップで供給するガスは水素H2であることを特徴とする半導体装置の製造方法である。
第2ステップで供給するシラン系ガスを含むガスは、SiH4、Si26、SiH4およびGeH4、Si26およびGeH4からなる群から選択される少なくとも一つのガスであることが好ましい。モノシランとジシランとを比べると、モノシランよりもジシランの方が低温で分解、成長しやすいので、低温化の更なる要請に応えるにはジシランの方が好ましい。また、MOSFET等の製造に当たっては、ソース/ドレイン上にエピタキシャル膜を成膜する場合、原料ガスとしてモノシラン又はジシランを用いる。また、SiGe−HBT(Hetero Bipolar Transistor)等の製造に当たっては、コレクタ上にベース層としてのSiGe膜を成膜する場合、原料ガスとしてモノシラン又はジシランとゲルマンとを一緒に用いる。
また、第3ステップで供給する塩素系ガスもしくはフッ素系ガスは、塩素(Cl2),塩化水素(HCl),フッ素(F2)からなる群から選択される少なくとも一つのガスであることが好ましい。
第4ステップで供給するガスがH2であると、H2は、単独では成膜に寄与せず、成膜を生じないので最も好ましい。
第4の発明は、基板を処理する処理容器と、前記処理容器内で基板を支持する支持具と、処理容器内にシラン系ガスを含む原料ガス、塩素ガスもしくはフッ素ガス、および水素系ガスを供給する供給手段と、前記処理容器内の圧力を制御する圧力制御手段と、処理容器内の基板を加熱する加熱手段と、表面の一部に絶縁層を有すると共にシリコン層が露出した基板上の前記露出したシリコン層に膜を成長させる際に、処理容器内にシラン系ガスを含む原料ガス、塩素ガスもしくはフッ素ガス、および水素系ガスを順次供給するよう前記供給手段を制御するとともに、前記水素系ガス供給時での処理室内の圧力を、前記原料ガスまたは前記塩素ガスもしくはフッ素ガス供給時での処理室内圧力よりも大きくするよう前記圧力制御手段を制御する制御手段とを備えた基板処理装置である。これによれば、第1の発明を容易に実施できる。
本発明によれば、選択エピタキシャル成長の選択性の低下を防止しつつ、スループットを向上することができる。
以下に本発明の実施の形態を図面を参照して説明する。
まず、図7を参照して、本発明の半導体装置の製造方法を実施するための二枚葉基板処理装置を構成する処理炉の概略を説明する。
石英製、炭化珪素製、又はアルミナ製の処理容器としての反応管203は、水平方向に処理室としての扁平な空間を有しており、その内部に基板としての半導体ウェハ200を収容する。反応管203内部には半導体ウェハ200を支持する基板保持手段としてのウェハ支持台217が設けられ、反応管203にはマニホールドとしてのガス導入フランジ209が気密に設けられ、ガス導入フランジ209には更に仕切弁としてのゲートバルブ244を介して搬送室(図示せず)が連接されている。ガス導入フランジ209には供給管としてのガス導入ライン232が接続されている。また、バックフランジ210には排気管としての排気ライン231が接続されている。この排気ライン231には反応管203内の圧力を所定の圧力に制御する圧力制御手段242が設けられている。また、排気ライン231には圧力ターボ分子ポンプ233が接続され、ターボ分子ポンプにより反応管203内を高真空に保つ。ガス導入ライン232には、反応管203内に導入するガスの流量を制御する流量制御手段241が設けられている。
処理炉はホットウォールタイプであり、そのために反応管203の上下にはそれぞれ加熱手段としての上ヒータ207a、下ヒータ207bが設けられ、反応管203内部を均一にもしくは所定の温度勾配を生じさせて加熱するようになっている。また、上ヒータ207a、下ヒータ207bには、それぞれのヒータ温度を制御する温度制御手段247が接続されている。また上ヒータ207a、下ヒータ207bおよび反応管203を覆うように断熱部材としての断熱材208が設けられている。反応管203内の温度、反応管203内に供給するガスの流量、および反応管203内の圧力は、それぞれ温度制御手段247、流量制御手段241、および圧力制御手段242により、所定の温度、流量、圧力となるよう制御される。また、温度制御手段247、流量制御手段241、および圧力制御手段242は、主制御部249により制御される。
次に、半導体デバイスの製造工程の一工程として、上述した枚葉ホットウォールタイプの処理炉を用いてウェハを処理する方法について説明する。ここでは、表面の一部に絶縁層、例えばシリコン窒化膜やシリコン酸化膜を有すると共に、シリコン層が露出した半導体ウェハの露出したシリコン層上に膜を選択成膜する。
反応管203内の温度がヒータ207a,207bにより処理温度に維持された状態で、ゲートバルブ244が開かれ、図示しないウェハ搬送ロボットにより図中左方より反応管203内に半導体ウェハ200が搬入され、ウェハ支持台217に載置される(ウェハロード)。
ここではウェハ支持台217には2枚のウェハ200が載置され、2枚のウェハ200が同時に処理される。なお、同時に処理する2枚のウェハ200の熱履歴を等しくするためにウェハ200は2枚同時に反応管203内に搬送される。ウェハ200が反応管203内に搬入されると同時にウェハ200の処理温度までの昇温が開始される(プレヒート)。
ウェハ搬送ロボットが後退してゲートバルブ244が閉じられた後、反応管203内の温度はウェハ温度が処理温度となるよう温度制御手段247により制御される(温度安定化)。この反応管203内のウェハ200の温度安定化の際、反応管203内にはガス導入ライン232より不活性ガスが導入されつつ排気ライン231より排気され、反応管203内は、不活性ガス雰囲気とされる。
反応管203内のウェハ200の温度が処理温度に安定化した後、反応管203内にガス導入ライン232より、流量制御手段241により流量制御されたウェハ処理用のガスが導入され、排気ライン231より排気されることにより、ウェハ200が処理される。
上述したウェハ処理用のガスの導入工程は、次の4つのステップから構成される。すなわち、反応管203内にシラン系ガスを含む原料ガスを供給する原料ガス供給ステップと、反応管203内に塩素系ガスもしくはフッ素系ガスを供給する塩素系ガス等供給ステップと、反応管203内に水素系ガスを供給する水素系ガス供給ステップと、原料ガス供給ステップと塩素系ガス等供給ステップと水素系ガス供給ステップとを順に複数回繰り返して露出したシリコン層上に膜を成長させる膜成長ステップとである。このとき、上述した原料ガス、塩素系ガス等、および水素系ガスは、流量制御手段241により流量制御されて反応管203内にそれぞれ供給される。
また、水素系ガス供給ステップでの反応管203内の圧力を、原料ガス供給ステップまたは塩素系ガス等供給ステップでの反応管203内圧力よりも大きくする。この圧力制御は圧力制御手段242によって行われる。
ウェハ200の処理が完了すると、反応管203内の残留ガスを除去するために、反応管203内には、流量制御手段241により流量制御された不活性ガスがガス導入ライン232より導入されつつ、排気ライン231より排気され、反応管203内がパージされる。
反応管203内のパージ後、ゲートバルブ244が開かれ、ウェハ200は、ウェハ搬送ロボットにより反応管203より搬送室へ搬出される(ウェハアンロード)。
なお、上述の温度制御手段247による反応管203内の温度制御、圧力制御手段242による反応管203内へのウェハ処理時のガス流量制御、ウェハ処理前または後の不活性ガスのガス流量制御、および圧力制御手段242による反応管203内の圧力制御は、主制御部249が各制御手段を制御することにより行われる。
原料ガス供給ステップで、シラン系ガスを含む原料ガスを供給することにより、露出したシリコン層上に膜が成長する。このとき、絶縁層上にシリコン結晶核が形成される。このシリコン結晶核は、塩素系ガス等供給ステップで、塩素系ガスもしくはフッ素系ガスを供給することにより、塩素系ガスもしくはフッ素系ガスと反応して除去される。このときシリコン膜上および絶縁層上に塩素もしくはフッ素が付着する。このシリコン膜上および絶縁層上に付着した塩素もしくはフッ素は、水素系ガス供給ステップで水素系ガスを供給することにより、水素系ガスと反応して除去される。したがって、シリコン層上への成長膜の選択性の低下を防止できる。
また、水素系ガスを供給する水素系ガス供給ステップでの反応管203内の圧力を、原料ガス供給ステップまたは塩素系ガス等供給ステップでの反応管203内圧力よりも大きくしたので、水素系ガスと、塩素系ガスもしくはフッ素系ガスとの反応速度を増大させることができる。したがって、水素ガスを供給するステップがあらたに加わっても、スループットの低下を抑えることができる。
上述したように実施の形態では、表面の少なくとも一部にシリコン窒化膜もしくはシリコン酸化膜を有し、かつシリコン表面も露出したシリコンウェハにおいて、シリコンウェハを反応管内に挿入し、反応管内にシラン系のガスと塩素ガスもしくはフッ素ガス、水素ガスを順次に導入し、これらを繰返して選択エピタキシャル成長を行う。これにより、塩素もしくはフッ素ガス供給後にシリコン表面に付着した塩素もしくはフッ素を水素ガスで取り除くことができる。このため、実施の形態では、シラン系ガスおよび塩素ガスもしくはフッ素ガスを交互に導入した場合に比べ、シラン系ガス供給時には塩素ガスもしくはフッ素ガスが残留していないので、1回のシラン系ガス供給による膜厚を厚くすることができ、スループットを向上させることができる。また、塩素もしくはフッ素はシリコン窒化膜もしくはシリコン酸化膜上におけるインキュベーション時間には影響を及ぼさないため、シリコン層上に付着した塩素またはフッ素は選択性を悪化させる要因となるが、実施の形態によれば、シリコン層上に付着した塩素またはフッ素を除去するので、選択性も同時に向上させることができる。
したがって、実施形態をMOSFETに適用すれば、そのソース/ドレインのリーク電流の低減化、および低抵抗化を実現でき、半導体デバイス特性の向上と微細化を両立できる。
なお、実施の形態では枚葉ホットウォールタイプの装置を用いる場合について説明したが、本発明はこれに限らず、基板処理装置全般、例えば枚葉コールドウォール装置やバッチタイプの縦型装置にも適用することができる。また、上記実施の形態では選択エピタキシャル成長時の塩素系ガスもしくはフッ素系ガス後の処理について説明したが、本発明はこれに限らない。基板処理室内のセルフクリーニング、例えば、三フッ化塩素や三フッ化窒素を用いて処理室内に堆積したシリコンまたはシリコン窒化膜などを除去した際に、残留したクリーニングガス成分を除去する場合にも適用することができる。除去するためのガスは水素を含んだガス、例えばモノシランやアンモニアなど水素と結合したものに対しても適用できる。除去効果は、水素と結合したものに限らず、シリコンや窒素との結合によるものも含む。また、堆積する膜はシリコン膜に限らず、シリコン窒化膜など、基板表面にて化学反応を用いて膜を堆積させるもの全般に適用できる。
図7の構成を備えた枚葉ホットウォールタイプの処理炉を用いて、露出したポリシリコン層上にシリコンエピタキシャル膜を成膜した。
この時のプロセスシーケンス例を図1に示す。表面の一部に絶縁層13を有すると共にポリシリコン層11が露出したシリコンウェハ200を、図示しないウェハ搬送ロボットにより反応管203内にロードする(ステップ101)。
シリコンウェハ200が反応管203内に搬入されると、主制御部249下で制御される温度制御手段247によって上ヒータ207a、下ヒータ207bが制御されて、搬入と同時にウェハ200の処理温度までプレヒートする(ステップ102)。
主制御部249で流量制御手段241を制御して、反応管203内に所定流量のジシランガスSi26を供給する(ステップ103)。
ジシランガス供給後、主制御部249で流量制御手段241を制御して、反応管203内に所定流量の塩素ガスCl2を供給する(ステップ104)。
塩素ガス供給後、主制御部249で流量制御手段241を制御して、反応管203内に所定流量の水素ガスH2を供給する(ステップ105)。
主制御部249によりステップ103とステップ104とステップ105とを順に複数回繰り返して、露出したポリシリコン層11にエピタキシャル膜12を成長させる。ここで、主制御部249で圧力制御手段242を制御することにより、ステップ105での反応管203内の圧力を、ステップ103またはステップ104での反応管203内圧力よりも大きくする。
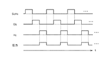
図2に、上述した各種ガスの導入および圧力制御タイミング図を示す。
ポリシリコン層11にエピタキシャル膜12を成長した後、図示しないウェハ搬送ロボットにより反応管203内からウェハをアンロードする(ステップ106)。
ここで、上述したSi26供給ステップ103、Cl2もしくはF2供給ステップ104、およびH2供給ステップ105において生じる現象は、図3を用いて説明すれば次の通りである。
(a)Si26供給ステップ
図3(a)に示すように、露出したシリコン層11の表面にエピタキシャル膜12が成長する。絶縁層13上には膜は形成されないが、Si結晶核14が形成される。
(b)Cl2もしくはF2供給ステップ
図3(b)に示すように、絶縁層13上のSi結晶核14がCl2もしくはF215と反応して除去される。反応式を示せば次の通りである。
2Cl2+Si→SiCl4
2F2+Si→SiF4
その際エピタキシャル膜12、絶縁層13上にClもしくはFが付着する。
(c)H2供給ステップ
図3(c)に示すように、エピタキシャル膜12、絶縁層13上に付着したClもしくはFがH2と反応して除去される。反応式を示せば次の通りである。
2+2Cl→2HCl
2+2F→2HF
上述したジシランガス供給→塩素ガス供給→水素ガス供給というサイクルをn回((Si26供給→Cl2供給→H2供給)×n)行なう。これによりポリシリコン層11上に成膜されたシリコンエピタキシャル膜厚を評価した。
図4に、ポリシリコン層上でのエピタキシャル膜厚と塩素ガス供給後における水素ガス供給時間の依存性を示している。水素ガス供給は塩素ガス供給後に行っている。縦軸にはシリコンエピタキシャル膜厚を、横軸には塩素ガス供給後における水素供給時間をそれぞれとっている。
この図4の特性を取得したときの条件は、成長温度625℃、ジシランガス流量20sccm、塩素ガス流量10sccmである。ジシラン、塩素ガス供給時の圧力は0.05Paとした。水素ガス流量は500sccmまたは1000sccmとした。また、水素ガス供給時の圧力は水素ガス流量が500sccmのときは1.1Paとし、1000sccmのときは8.7Paとした。上記サイクルはn=20回である。
同図に示すように、塩素ガス供給後、水素ガスを供給しない場合には(H2ガス供給時間が0sec時参照)、シリコンエピタキシャル膜厚は薄いが、塩素ガス導入後に水素ガスを導入するとシリコンエピタキシャル膜厚は厚くなり、水素ガス流量および供給時間を増加させると、より厚いシリコンエピタキシャル膜が得られることがわかる。
なお、塩素ガス供給後、真空引き(1×10-5Pa、240sec)を行っても、シリコンエピタキシャル膜厚は13.0nmとなり、真空引きでは十分に塩素Clを取り除くことができなかった。また、N2=2slm、120secのパージを行っても、真空引きと同等の膜厚しか得られなかった。シリコン表面に付着している塩素がエピタキシャル成長を阻害していると考えられる。そのため、実施例1では、水素ガスを供給することにより、シリコンエピタキシャル成長阻害要因であるClをH2+2Cl→2HClという形で取り除いている。
上述したように、シラン系ガスであるSi26を用いたシリコンエピタキシャル成長において、単独では成膜されないH2ガスを用いることにより、シリコン層上に付着した塩素Cl2もしくはフッ素F2を有効に取り除くことができる。したがって、スループットおよび選択性を向上させることができる。
実施例1において、好ましい処理条件は次の通りである。
(a)温度は、500〜700℃、好ましくは500〜650℃である。
500℃より低くするとスループットが悪くなり実用的ではない。
700℃より高い温度とするとインキュベーションタイムが短くなり、選択性が悪くなる。
(b)圧力は、Si26,Cl2供給時と、H2供給時とで異ならせる。Si26,Cl2供給時は、1×10-5〜1Paとする。H2供給時は、0.1〜l000Pa、好ましくは0.1〜100Paとする。
2供給時の圧力を0.1Paより低くするとH2とCl,Fとの反応速度が遅くなりスループットが低下する。安全性を考慮すると1000Pa以下とするのが好ましい。
実施例1では、H2供給時の圧力が、Si26,Cl2もしくはF2供給時の圧力よりも高くなるよう制御している。これは、H2供給時におけるH2と、ClもしくはFとの反応速度を上げるためであり、シリコン表面に付着したClもしくはFを素早く除去するためである。
特に近年、低温化の要請があるが、低温化に伴い絶縁層上でのインキュベーションタイムが長くなり選択性は向上するものの、成膜速度が低下する。その場合であっても、H2供給時の雰囲気を高圧にすることで、ClもしくはFの除去速度を上げることができ、その結果、スループットを向上させることができる。H2供給時の雰囲気を高圧にするには、例えば、大流量のH2を供給することにより行う。
(c)ガスは、シラン系ガスを含む原料ガスとして、MOSFETを製造する場合には、SiH4,Si26が良い。またシラン系ガスを含む原料ガスにゲルマニウム系ガスを含ませてSiGe−HBTを製造する場合には、SiH4+GeH4,Si26+GeH4が良い。塩素系ガス、フッ素系ガスとして、Cl2,HCl,F2が良い。水素系ガスとして、単独では成膜に寄与せず、成膜を生じないH2が最も好ましい。ガス流量例を挙げれば、ジシランガス流量5〜300sccm、塩素ガス流量1〜500sccm、水素ガス流量50〜50000sccmである。
なお、実施例1では、H2供給時圧力を、Si26,Cl2もしくはF2供給時の圧力よりも上昇させるようにしている。この点で、H2供給時、圧力を上昇させないようにすることも可能であるが、その場合、H2とClの反応速度が低下し、トータルで見るとスループットが低下すると考えられるので、好ましくない。
また、実施例1では、(Si26供給→Cl2供給→H2供給)×nとして、H2供給を行なうようにしている。この点で、(Si26供給→Cl2供給)×nとして、H2供給を行なわないようにすることも考えられるが、その場合、Si26を供給しても、シリコン層上へのエピタキシャル成長が始まらない潜伏期間が生じるため、スループットが低下するというデメリットがあるので好ましくない。
実施例1では、Si26とCl2とを順に供給するようにしている。しかし、本発明はこれに限定されない。例えば、Si26とCl2とを同時に供給するようにしてもよい。図5に示すように、(Si26+Cl2供給→H2供給)×nとする。ただし、Cl2はSi26の分解を邪魔する可能性があり、また選択性が破れ易くなる可能性もあるため、Cl2とSi26は実施例1のように別々に供給する方が好ましい。
また、実施例1では、シリコン層上への選択エピタキシャル成長させる場合について説明したが、シリコン層上へのエピタキシャル成長と同時に、絶縁層上へ多結晶シリコン膜を成長させることも可能である。この場合、絶縁層としては、シリコン窒化膜、シリコン酸化膜がある。
具体的には、Si26ガスの供給時間を長くしたり、処理温度を高くしたりすることで、図6に示すように、シリコン層11上にエピタキシャル膜12を成長させると同時に、絶縁層13上にポリシリコン膜16を成長させることができる。
実施例1による表面の一部に絶縁層を有すると共にシリコン層が露出した基板を処理するプロセスシーケンス例を示すフロー図である。 実施例1による各種ガスの導入および圧力制御タイミング図である。 実施例1による各ステップにおいて生じる現象の説明図である。 実施例1によるエピタキシャル膜厚の水素ガス供給時間依存性を示す図である。 実施例2による各種ガスの導入および圧力制御タイミング図である。 実施例3によるシリコン層上にエピタキシャル膜を、絶縁層上にポリシリコン膜を同時に成長させる説明図である。 実施の形態の基板処理装置としての二枚葉装置の処理炉の概略説明図である。
符号の説明
11 露出したシリコン層
12 エピタキシャル膜
13 絶縁層
200 ウェハ

Claims (3)

  1. 表面の一部に絶縁層を有すると共にシリコン層が露出した基板を処理室内に搬入する第1ステップと、
    前記処理室内にシラン系ガスを含む原料ガスを供給する第2ステップと、
    前記処理室内に塩素系ガスもしくはフッ素系ガスを供給する第3ステップと、
    前記処理室内に水素系ガスを供給する第4ステップと、
    前記第2ステップと前記第3ステップと前記第4ステップとを順に複数回繰り返して前記露出したシリコン層上に膜を成長させる第5ステップとを有し、
    前記第4ステップでの処理室内の圧力を、前記第2ステップまたは前記第3ステップでの処理室内圧力よりも大きくすることを特徴とする半導体装置の製造方法。
  2. 前記第5ステップは成長温度を500〜700℃として行うことを特徴とする請求項第1に記載の半導体装置の製造方法。
  3. 前記第2ステップで供給するガスはSiH4、Si26,SiH4およびGeH4、Si26およびGeH4からなる群から選択される少なくとも一つのガスであり、前記第3ステップで供給するガスはCl2,HCl,F2からなる群から選択される少なくとも一つのガスであり、前記第4ステップで供給するガスはH2であることを特徴とする請求項1に記載の半導体装置の製造方法。
JP2003419290A 2003-12-17 2003-12-17 半導体装置の製造方法 Expired - Lifetime JP4366183B2 (ja)

Priority Applications (1)

Application Number Priority Date Filing Date Title
JP2003419290A JP4366183B2 (ja) 2003-12-17 2003-12-17 半導体装置の製造方法

Applications Claiming Priority (1)

Application Number Priority Date Filing Date Title
JP2003419290A JP4366183B2 (ja) 2003-12-17 2003-12-17 半導体装置の製造方法

Publications (2)

Publication Number Publication Date
JP2005183514A JP2005183514A (ja) 2005-07-07
JP4366183B2 true JP4366183B2 (ja) 2009-11-18

Family

ID=34781228

Family Applications (1)

Application Number Title Priority Date Filing Date
JP2003419290A Expired - Lifetime JP4366183B2 (ja) 2003-12-17 2003-12-17 半導体装置の製造方法

Country Status (1)

Country Link
JP (1) JP4366183B2 (ja)

Families Citing this family (15)

* Cited by examiner, † Cited by third party
Publication number Priority date Publication date Assignee Title
US8466049B2 (en) * 2005-07-29 2013-06-18 Hitachi Kokusai Electric Inc. Semiconductor device producing method with selective epitaxial growth
JP4832022B2 (ja) * 2005-07-29 2011-12-07 株式会社日立国際電気 基板処理装置
US7358194B2 (en) * 2005-08-18 2008-04-15 Tokyo Electron Limited Sequential deposition process for forming Si-containing films
JP2008034462A (ja) * 2006-07-26 2008-02-14 Hitachi Kokusai Electric Inc 基板処理装置
KR100850120B1 (ko) 2006-12-26 2008-08-04 동부일렉트로닉스 주식회사 Soi웨이퍼 및 제조방법
US9064960B2 (en) 2007-01-31 2015-06-23 Applied Materials, Inc. Selective epitaxy process control
US8030147B2 (en) * 2007-09-14 2011-10-04 Semiconductor Energy Laboratory Co., Ltd. Method for manufacturing thin film transistor and display device including the thin film transistor
JP2010092979A (ja) * 2008-10-06 2010-04-22 Hitachi Kokusai Electric Inc 半導体装置の製造方法
US8012859B1 (en) * 2010-03-31 2011-09-06 Tokyo Electron Limited Atomic layer deposition of silicon and silicon-containing films
WO2012029661A1 (ja) 2010-09-01 2012-03-08 株式会社日立国際電気 半導体装置の製造方法及び基板処理装置
JP6554438B2 (ja) * 2016-03-30 2019-07-31 東京エレクトロン株式会社 シリコン膜の形成方法および形成装置
JP2019129161A (ja) * 2018-01-19 2019-08-01 東京エレクトロン株式会社 基板処理方法と基板処理システム
JP7221187B2 (ja) * 2019-09-30 2023-02-13 東京エレクトロン株式会社 成膜方法、及び成膜装置
JP7065818B2 (ja) * 2019-10-28 2022-05-12 株式会社Kokusai Electric 半導体装置の製造方法、基板処理方法、基板処理装置、およびプログラム
JP7313402B2 (ja) 2021-06-29 2023-07-24 株式会社Kokusai Electric 半導体装置の製造方法、基板処理装置、プログラム及びエッチング方法

Also Published As

Publication number Publication date
JP2005183514A (ja) 2005-07-07

Similar Documents

Publication Publication Date Title
JP4366183B2 (ja) 半導体装置の製造方法
US9666430B2 (en) Method of manufacturing semiconductor device and substrate processing apparatus
TW202200823A (zh) 半導體裝置之製造方法、基板處理方法、基板處理裝置及程式
KR100996689B1 (ko) 반도체장치의 제조방법, 막생성방법 및 기판처리장치
US11788185B2 (en) Film formation method and film formation device
US10529560B2 (en) Method of manufacturing semiconductor device, substrate processing apparatus and recording medium
US11114297B2 (en) Method for forming semiconductor film and film forming device
JP4490760B2 (ja) 半導体装置の製造方法及び基板処理装置
TWI837765B (zh) 基板處理方法、半導體裝置之製造方法、程式及基板處理裝置
US8790463B2 (en) Substrate processing apparatus and semiconductor device producing method
KR102751818B1 (ko) 고 종횡비 구조들을 세정하기 위한 방법들 및 시스템들
JP2007305730A (ja) 半導体装置の製造方法
JPH09199424A (ja) エピタキシャル成長方法
US12571125B2 (en) Method for forming polycrystalline silicon film
KR102935311B1 (ko) 아몰퍼스 실리콘막의 결정화 방법 및 성막 장치
JP2006351582A (ja) 半導体装置の製造方法及び基板処理装置
CN109891555B (zh) 低温外延层形成方法
US20230307225A1 (en) Method of processing substrate, method of manufacturing semiconductor device, recording medium, and substrate processing apparatus
JP2005294690A (ja) 半導体装置の製造方法及び基板処理装置
JPH06302566A (ja) 半導体装置の製造方法および製造装置
JP2022087143A (ja) 基板処理方法、半導体装置の製造方法、基板処理装置、およびプログラム
JP2005243924A (ja) 基板処理装置
JP2005268699A (ja) 半導体装置の製造方法
WO2024062634A1 (ja) 基板処理方法、半導体装置の製造方法、基板処理装置およびプログラム
JP2022056735A (ja) 半導体装置の製造方法、基板処理装置、およびプログラム

Legal Events

Date Code Title Description
A621 Written request for application examination

Free format text: JAPANESE INTERMEDIATE CODE: A621

Effective date: 20061201

A977 Report on retrieval

Free format text: JAPANESE INTERMEDIATE CODE: A971007

Effective date: 20090331

TRDD Decision of grant or rejection written
A01 Written decision to grant a patent or to grant a registration (utility model)

Free format text: JAPANESE INTERMEDIATE CODE: A01

Effective date: 20090811

A01 Written decision to grant a patent or to grant a registration (utility model)

Free format text: JAPANESE INTERMEDIATE CODE: A01

A61 First payment of annual fees (during grant procedure)

Free format text: JAPANESE INTERMEDIATE CODE: A61

Effective date: 20090824

FPAY Renewal fee payment (event date is renewal date of database)

Free format text: PAYMENT UNTIL: 20120828

Year of fee payment: 3

R150 Certificate of patent or registration of utility model

Ref document number: 4366183

Country of ref document: JP

Free format text: JAPANESE INTERMEDIATE CODE: R150

Free format text: JAPANESE INTERMEDIATE CODE: R150

FPAY Renewal fee payment (event date is renewal date of database)

Free format text: PAYMENT UNTIL: 20130828

Year of fee payment: 4

FPAY Renewal fee payment (event date is renewal date of database)

Free format text: PAYMENT UNTIL: 20140828

Year of fee payment: 5

S111 Request for change of ownership or part of ownership

Free format text: JAPANESE INTERMEDIATE CODE: R313111

S531 Written request for registration of change of domicile

Free format text: JAPANESE INTERMEDIATE CODE: R313531

R350 Written notification of registration of transfer

Free format text: JAPANESE INTERMEDIATE CODE: R350

EXPY Cancellation because of completion of term