JP4306014B2 - 調速装置 - Google Patents
調速装置 Download PDFInfo
- Publication number
- JP4306014B2 JP4306014B2 JP13508499A JP13508499A JP4306014B2 JP 4306014 B2 JP4306014 B2 JP 4306014B2 JP 13508499 A JP13508499 A JP 13508499A JP 13508499 A JP13508499 A JP 13508499A JP 4306014 B2 JP4306014 B2 JP 4306014B2
- Authority
- JP
- Japan
- Prior art keywords
- speed
- overspeed
- sheave
- speed control
- car
- Prior art date
- Legal status (The legal status is an assumption and is not a legal conclusion. Google has not performed a legal analysis and makes no representation as to the accuracy of the status listed.)
- Expired - Fee Related
Links
Images
Classifications
-
- B—PERFORMING OPERATIONS; TRANSPORTING
- B66—HOISTING; LIFTING; HAULING
- B66B—ELEVATORS; ESCALATORS OR MOVING WALKWAYS
- B66B5/00—Applications of checking, fault-correcting, or safety devices in elevators
- B66B5/02—Applications of checking, fault-correcting, or safety devices in elevators responsive to abnormal operating conditions
- B66B5/04—Applications of checking, fault-correcting, or safety devices in elevators responsive to abnormal operating conditions for detecting excessive speed
- B66B5/044—Mechanical overspeed governors
Landscapes
- Engineering & Computer Science (AREA)
- Mechanical Engineering (AREA)
- Maintenance And Inspection Apparatuses For Elevators (AREA)
Description
【発明の属する技術分野】
この発明は、かごや釣合い重り等の昇降体の過速度を検出し、昇降体を停止させる調速機およびこれを有するエレベータ装置に関するものである。
【0002】
【従来の技術】
図1は、例えば特開平3−177283号公報に示された従来のフライボール形エレベータ用調速機を示す縦断面図である。
【0003】
図1において、1は昇降路の直上に設けられた機械室、2は機械室1に設置された調速機、3は無端状をなし昇降路に配置されて一端が昇降体(図示せず)に連結された調速ロープである。
【0004】
4は調速機2の支持体、5は支持体4に枢持された水平軸、6は水平軸5に固定されて調速ロープ3の上端の湾曲部が巻き掛けられた綱車、7は支持体4の上部に枢持された鉛直軸、8は水平軸5に固定されて綱車6の回転中心と同心に配置された駆動傘歯車、9は鉛直軸7に固定されて駆動傘歯車8と噛み合う従動傘歯車である。
【0005】
10は鉛直軸7に設けられた周知のフライボール調速機構である。フライボール調速機構10のうち、11はその上端がそれぞれ鉛直軸7の上端部に枢持された腕、12は腕11の下端に固定されたフライボール、13は鉛直軸7に嵌合された滑り筒、14は両端がそれぞれ腕11の中間部及び滑り筒13に枢着されたリンク、15は鉛直軸7に嵌合されて鉛直軸7の上端と滑り筒13との間に配置された圧縮コイルばねからなり滑り筒13を下方へ付勢する平衡ばねである。
【0006】
16は鉛直軸7に嵌合され、かつ滑り筒13に枢着されることにより、滑り筒13の上下方向の変位に伴って同じく上下方向に変位はするが、鉛直軸7の軸を中心としての回転はしない従動筒である。17は支持体4に固定され、昇降体を昇降させる駆動装置(図示せず)の電源を遮断する昇降体停止用スイッチ、18は従動筒16に固定され、従動筒16の上昇により昇降体停止用スイッチ17を操作する操作レバーである。
【0007】
従来のフライボール形エレベータ用調速機は上記のように配置され、かつ構成されて昇降体の昇降により調速ロープ3の動作により綱車6が回転し、この回転が駆動傘歯車8及び従動傘歯車9を介して鉛直軸7に伝達される。そして、鉛直軸7の回転速度に応じてフライボール12が公転し、遠心力により平衡ばね15の付勢力に抗して上昇する。
【0008】
このフライボール12の上昇により滑り筒13及び従動筒16が上昇変位する。そして、鉛直軸7の回転速度、すなわち、昇降体の昇降速度が定格速度を超えて第1過速度(通常は定格速度の1.3倍程度)に達したときには操作レバー18により昇降体停止用スイッチ17が操作され、昇降体の駆動装置の電源が遮断され、昇降体が停止される。さらに、詳細な説明及び図示を省略するが、何らかの原因により昇降体が下降方向にさらに過速し、第1過速度を超えて第2過速度に達したときには昇降体の非常止め装置(図示せず)の動作が行われるようになっている。
【0009】
また、図2は、例えば、特開平6−1564号公報に示された従来のフライウェイト形エレベータ用調速機を示す正面図である。図3はフライウェイト形エレベータ用調速機の横断面図である。
【0010】
図において、21は横断面U字状をなす基台、22は基台21の側壁にそれぞれ配置されて軸受23が設けられた軸受箱、5は両端が軸受23に枢持された軸、6は軸5に固定された綱車、26は綱車6の側面に軸5を介して互いに対峙して配置されて、それぞれ綱車6に枢着されておもり側が軸5の軸線に直交する方向に回動変位するフライウェイトである。
【0011】
27は一端がフライウェイト26の反おもり側に、他端が綱車6の側面にそれぞれ係合されて綱車6の回転時の遠心力によるフライウェイト26の変位作用に対抗する平衡ばね、28はフライウェイト26の平衡ばね27係合側と同側に設けられた作動爪、29はフライウェイト26のおもり側にねじこまれたボルトからなる作動子、210は両端部がそれぞれ両方のフライウェイト26自体の枢着点に対して互いに反対側に配置されたリンクである。
【0012】
211は基台21に装着されて作動子29と対向する作動部212を有する停止用スイッチ、213は軸5に枢持されて作動爪28に対向して配置された爪車、214は下端が基台21に枢着されて中間に制動片215が装着された制動腕、216は一端が爪車213の縁部寄りに枢着された作動棒で、他端のねじ棒が制動腕214の上端部に移動可能に挿通されて挿通端にばね受け217がナット218により保持されている。
【0013】
219は制動棒216のねじ棒部に嵌合されて制動腕214とばね受け217の間に配置された圧縮コイルばね、3は綱車6に巻き掛けられ、図では省略しているが、昇降路に設けられたエレベータ装置のかご等の昇降体に一側が保持された調速用ロープである。
【0014】
従来のフライウェイト形調速機は、上記のように構成され、昇降体と共に移動する調速用ロープ3により綱車6が駆動されて回転する。この綱車6の回転によりフライウェイト26は綱車6と共に公転し、綱車6の回転速度、すなわち昇降体の昇降速度が所定値を超えた第1過速度(通常は定格速度の1.3倍程度)になると、遠心力により平衡ばね27の付勢力に抗したフライウェイト26の回動変位によって作動子29が停止用スイッチ211の作動部212を押圧する。これによって、停止用スイッチ211が動作してエレベータ装置の駆動装置の電源を遮断して昇降体を停止させて、第1過速度発生によって生じる事故を未然に防止するように構成されている。
【0015】
しかし、エレベータ装置の主索の破断等の事故の場合には、駆動装置が停止しても昇降体の下降が続く。このときに、昇降体の速度が第2過速度(通常は定格速度の1.4倍程度)になると、その遠心力による平衡ばね27の付勢力に抗したフライウェイト26の回動変位によって作動爪28が爪車213の爪に係合する。これにより、爪車213は綱車6と同方向に回動するので、制動棒216が変位して圧縮コイルばね219を介して制動腕214が綱車6方向に動作し、制動片215より調速用ロープ3が綱車6に押圧されて調速用ロープ3の下降が制動される。そして、調速用ロープ3の制動により昇降体の非常止め装置が動作して昇降体が非常停止する。この明細書では、駆動装置の停止動作および非常止め装置による昇降体の停止動作を含めてエレベータかごの非常停止動作と呼ぶ。
【0016】
【発明が解決しようとする課題】
上記のような従来のフライボール形又はフライウェイト形エレベータ用調速機では、昇降体の運転方向によって綱車6の回転方向も変化するが、フライボール12又はフライウェイト26に発生する遠心力は、綱車6の回転方向に関係なく、鉛直軸7又は綱車5の軸中心方向の反対方向に発生する。よって、昇降体の過速による従動筒16の上昇変位量、又はフライウェイト26の回動変位量は昇降体の速度の絶対値により決定する。このため、昇降体の運転方向によって異なった第1過速度を設定することができない。
【0017】
また、かごが停止する最下階の床面から昇降路の底部床面までの垂直距離、いわゆるピット深さはエレベータの定格速度に応じて決められる数値以上設けることが関係法規により定められている国が有る。これは、ピットに取り付けられる緩衝器の寸法が定格速度によって異なることによるものであるが、逆に、建築上の都合により、ピット深さに制限がある場合、エレベータの定格速度はそのピット深さに応じて決められる数値以下にする必要がある。それでも輸送効率上、かごが緩衝器に衝突するのとは関係がない上昇方向の定格速度のみを下降方向の定格速度よりも大きくしたいという要求がある。
【0018】
しかし、上記のように昇降体の移動方向に関係なく同じ大きさの第1過速度しか検出できない従来のエレベータ用調速機を用いた場合、上昇方向の定格速度は下降方向の定格速度よりも大きくするとしても、下降方向の定格速度から法規によって定められる第1過速度の最大許容量を超えることは不可能である。
【0019】
また、高速運転によるかご内の急激な圧力変動により、乗客は耳がつんとなるなどの不快感を催すが、これについては上昇方向よりも下降方向の方がその不快感が大きいことが知られている。この点からも、上昇方向と下降方向とで異なる定格速度を持つエレベータの要求が生ずる。
【0020】
この発明は、上記のような問題を解決するためになされたもので、エレベータかごの移動方向によって異なった値の第1過速度を検出できるエレベータ装置および調速機を得ることを共通の目的としている。
【0021】
【課題を解決するための手段】
この発明におけるエレベータ装置は、昇降路内を移動するエレベータかごと、前記エレベータかごをケーブルを介して上下に移動させる駆動機械装置と、前記エレベータかごが上昇する場合と下降する場合とで移動速度を異ならせるように前記駆動機械装置を制御する制御装置と、前記エレベータかごの移動速度を調速する調速装置とを有し、当該調速装置は、前記エレベータかごが上昇する場合の前記エレベータの移動速度を検出する第1調速機構と、前記エレベータかごが下降する場合の前記エレベータの移動速度を検出する第2調速機構とを有し、上記エレベータかごの移動方向に応じて上記第1調速機構又は前記第2調速機構の調速を無効にするものである。
【0022】
また、前記調速装置は、上記エレベータかごと連結された調速ロープと、当該調速ロープが巻き掛けられ、上記エレベータかごの上下移動に伴い正転および逆転する綱車と、当該綱車の回転方向に応じて、前記第1調速機構又は前記第2の調速機構への前記綱車の回転力の伝達を開閉する伝達機構とを有するものである。
【0023】
さらに、上記エレベータかごの非常停止動作を開始するためのしきい値として上昇時の第1過速度と下降時の第1過速度が設定され、前記上昇時の第1過速度と前記下降時の第1過速度とは互いに異なる値であり、前記第1調速機構は前記上昇時の第1過速度を検出し、前記第2調速機構は前記下降時の第1過速度を検出するものである。
【0024】
さらにまた、上記エレベータかごの非常動作を開始するためのしきい値として前記下降時の第1過速度よりも大きい値の下降時の第2過速度が設定され、前記第2調速機構は前記下降時の第2過速度を検出するものである。
【0025】
また、前記上昇時の第1過速度V1と、前記下降時の第1過速度V2と、前記下降時の第2過速度V3は、V1>V3>V2の関係を有している。
【0026】
さらに、前記上昇時の第1過速度V1と、前記下降時の第1過速度V2と、前記下降時の第2過速度V3は、V3>V1>V2の関係を有している。
【0027】
この発明における調速装置は、調速用ロープと、当該調速用ロープが巻き掛けられ、この調速用ロープの移動により回転する綱車と、当該綱車の回転速度を調速する第1調速機構と、前記綱車が正転する際に当該綱車の回転速度を調速し、綱車が逆転する際には調速を停止する第2調速機構とを有するものである。
【0028】
また、前記綱車と前記第2調速機構は、前記綱車の回転を伝達する伝達機構を介して接続されており、当該伝達機構は前記綱車が正転する際には前記第2調速機構に前記綱車の回転を伝達し、前記綱車が逆転する際には前記第2調速機構への前記綱車の回転の伝達を解除するものである。
【0029】
さらに、前記第1調速機構はフライウェイト形調速機である。
【0030】
さらにまた、前記第2調速機構はフライボール形調速機である。
【0031】
また、前記伝達機構は、前記綱車の回転軸と前記第2調速機構の回転軸との間に連結されたクラッチである。
【0032】
【発明の実施の形態】
以下、この発明の実施の形態を図について説明する。
実施の形態1.
図4は、この実施の形態におけるエレベータ装置の全体構成図である。
図4において、1は機械室、41は昇降路、42は機械室内に設けられたこの実施の形態における調速機、43はそらせ車、44は昇降路内を上下に案内されるかご、45はかご44を吊っている巻上ロープ(主索とも言う)、46は巻上ロープ45のかご44とは反対側に吊り下げられた釣り合いおもりである。
【0033】
47は昇降路のピットに設置されたかご44および釣り合いおもり46用の緩衝器、48は無端状の調速用ロープ3が巻き掛けられる張り車、49は調速用ロープ3とアームによって接続された非常止め装置、410は巻上ロープ45が巻回された巻上機であり、巻上機410のシーブが回転することによりかご44を昇降路内で上下に移動させる駆動機械装置である。
【0034】
411は機械室1内に設置された制御装置であり、この制御装置411によって巻上機410の回転を制御することにより、設定した上昇速度および下降速度にてかご44を昇降させる。この上昇速度と下降速度は互いに異なった速度に設定されている。
【0035】
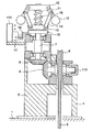
図5はこの発明の実施の形態1によるエレベータ用調速機42を示す縦断面図である。また、図6は図5の綱車部分の正面図である。図の符号は、先の図面に対応する構成については同一符号を用いている。
4は調速機42の支持体であり、5は支持体4に軸受56を介して枢持された水平軸である。6は水平軸5に固定されて調速ロープ3の上端の湾曲部が巻き掛けられた綱車である。この綱車6はかご44の上下移動に伴い、水平軸5を中心に回転する。例えば、かご44が昇降路内を下降する場合には綱車6が正転し、かご44が昇降路内を上昇する場合には綱車6が逆転する。
【0036】
8は水平軸5に固定されて綱車6の回転中心と同心に配置された駆動傘歯車であり、52は支持体4に軸受を介して枢持された第1の鉛直軸である。9は第1の鉛直軸52に固定されて駆動傘歯車8と噛み合う従動傘歯車である。駆動傘歯車8および従動傘歯車9を介して、綱車6の回転力が第1の鉛直軸52に伝達されて、第1の鉛直軸52は回転する。
53は第1の鉛直軸52と同心で、かつ直上の位置で支持体4に枢持された第2の鉛直軸である。この第2の鉛直軸53も軸受を介して支持体4に枢持されている。
【0037】
54は第1の鉛直軸52と第2の鉛直軸53との間に挿置されたクラッチ機構である。このクラッチ機構54は綱車6の回転方向等からかご44の移動方向を検出し、かご44が下降方向に移動している場合には第1の鉛直軸52と第2の鉛直軸53を連結させ、かご44が上昇方向に移動している場合には第1の鉛直軸52と第2の鉛直軸53を分離させる。
【0038】
第1の鉛直軸52と第2の鉛直軸53とが連結したときには、第2の鉛直軸53は第1の鉛直軸52と同じ速度で回転する。第1の鉛直軸52と第2の鉛直軸53とが分離したときには、第1の鉛直軸52が回転しても第2の鉛直軸53は回転しない。
この実施の形態におけるクラッチ機構54は綱車6が正転する際に第1の鉛直軸52と第2の鉛直軸53が連結され、綱車6が逆転する際には第1の鉛直軸52と第2の鉛直軸53が分離される。
【0039】
10は第2の鉛直軸53に設けられたフライボール調速機構である。51は綱車6に設けられたフライウェイト調速機構である。フライボール調速機構10の構成については図5に示したとおりであり、水平軸5を介して第1過速度を検出して巻上機410を非常停止させる第1の停止用スイッチ17と、第2過速度を検出して昇降体の非常止め装置49を作動させる機構の両方を有している。第2過速度を検出して昇降体の非常止め装置49を作動させる機構については、後述する。
【0040】
一方、フライウェイト調速機構51の構成については、図6に記載したとおりである。フライウェイト調速機構51は、フライウェイト26、平衡ばね27、リンク210、停止用スイッチ211、作動子29を有している。
【0041】
フライウェイト26は綱車6の側面に水平軸5を介して互いに対峙して配置されて、それぞれ綱車6に枢着されておもり側が水平軸5の軸線に直交する方向に回動変位する。平衡ばね27は一端がフライウェイト26の反おもり側に、他端が綱車6の側面にそれぞれ係合されて綱車6の回転時の遠心力によるフライウェイト26の変位作用に対抗する。
【0042】
リンク210は両端部がそれぞれ両方のフライウェイト26自体の枢着点に対して互いに反対側に配置されている。停止用スイッチ211は基台21に装着されて作動子29と対向する作動部212を有し、かご44を昇降させる巻上機410の電源を遮断する。作動子29はフライウェイト26に設けられ、かご44の移動速度が第1過速度を超えてフライウェイト26が水平軸5の軸線に直交する方向に回転したときに停止用スイッチ211に接触して当該スイッチを駆動させる。
【0043】
この実施の形態のフライウェイト調速機は、第1過速度を検出して巻上機410を停止させる停止用スイッチ211のみを具備している。フライウェイト調速機51が第2過速度を検出しないのは、かご44が下降している場合にのみ非常止め装置49を作動させるようにしているからである。
【0044】
上記のように構成されたエレベータ用調速機42においては、かご44が上昇方向に移動する場合に第2の鉛直軸53は回転しない。よって、2つの調速機構のうち、フライウェイト調速機構51のみが機能し、フライボール調速機構10は調速動作を停止した無効状態となる。一方、かご44が下降方向に移動する場合は、フライボール調速機構10とフライウェイト調速機構51の両方とも機能する。
【0045】
従って、クラッチ機構54は綱車6が正転した場合に当該綱車6の回転力をフライボール調速機構10に伝達し、綱車6が逆転した場合に綱車6の回転力を伝達を解除する伝達機構と考えることができる。
【0046】
定格速度が移動方向で異なり、例えば、上昇方向の定格速度が下降方向の定格速度から決定される第2過速度(通常は下降方向の定格速度の1.4倍程度)よりも大きくなるよう設定されたエレベータを考える。この場合、このエレベータ用調速機の検出すべき過速度の大きさは、小さい方から、下降方向の第1過速度、下降方向の第2過速度、上昇方向の第1過速度の順番で、各々の非常停止動作を行なうよう調整される。下降方向の第1及び第2過速度はフライボール調速機構10にて、上昇方向の第1過速度はフライウェイト調速機構51にて検出し、非常停止動作を行なわせるよう調整する。
【0047】
フライウェイト調速機構51はかご44が上昇する際も下降する際も綱車6の回転力が伝達されるため、なるべく速度が大きいものを調速させる。そのため、下降方向の第1過速度、下降方向の第2過速度、上昇方向の第1過速度の順に速度が大きくなるように設定されている状況下では、最も大きい速度である上昇方向の第1過速度をフライウェイト調速機構51にて調速させる。
【0048】
この実施の形態においては、昇降体が下降方向に移動する場合には、フライボール調速機構10とフライウェイト調速機構51の両方が有効となる。かご44の下降速度が下降方向の定格速度を超えて下降方向の第1過速度に達したときには、フライボール調速機構10がそれを検出し、またさらに下降方向に過速して第2過速度に達したときには、同じくフライボール調速機構10がそれを検出する。
【0049】
このときには綱車6は回転し、フライウェイト調速機構51も昇降体の速さに応じた遠心力を受けているが、下降方向の第2過速度はフライウェイト調速機構52が検出するよう設定されている上昇方向の第1過速度よりも小さいのでフライウェイト調速機構51は動作しない。
【0050】
一方、かご44が上昇方向に移動する場合には、フライボール調速機構10は無効となるので、かご44が加速して上昇方向の定格速度に達するまでに下降方向の第1過速度又は第2過速度に相当する上昇方向の速度を通過しても、それらの過速度は検出しない。しかし、綱車6に設けられているフライウェイト調速機構51は昇降体の速さに応じた遠心力を受けているので、昇降体が上昇方向の定格速度を超えて上昇方向の第1過速度に達したときには、非常停止動作を行なう。
【0051】
これにより、上昇方向の第1過速度が下降方向の第1過速度と異なる場合においても、必要な停止動作を行なわしめるエレベータ用調速機を得ることができる。
【0052】
クラッチ機構54としては、図7に示すような、例えば自転車の後輪ギヤと後輪軸の間に配置されるフリーギヤ、ベアリングの一種であるワンウェイクラッチ、ボルトとナットの組み合わせ等といったラチェット機構71を用いたものが挙げられる。これらは第1鉛直軸52が第2の鉛直軸53に対してある回転方向(図7においてはaで表す)に加速回転すると、ラチェット機構71の作用により第2の鉛直軸53は第1の鉛直軸52と同じ角速度にて回転する。
【0053】
しかし、第1の鉛直軸52が減速すると第2の鉛直軸53は第1の鉛直軸52からトルクを受けずに空転する。また、第1の鉛直軸52が回転方向aとは反対方向(図7においてはbで表す)に回転するときも、第2の鉛直軸53は第1の鉛直軸52からトルクを受けない。
【0054】
そして、かご44が下降方向に移動するときの第1の鉛直軸52の回転方向がaとなるようにし、かご44が上昇方向に移動するときの回転方向をbとする。すると、第2の鉛直軸53はかご44が下降方向に加速している場合に限り、かご44の速度に対応した角速度にて回転する。その後、かご44が減速を始めても、第2の鉛直軸53はフライボール調速機構10等の慣性力により、第1の鉛直軸52と同じように減速せず、しばらくはかご44の速度に対応した角速度よりも速い角速度にて回転を続ける。さらにかご44が一旦停止し、下降方向に移動を始めて(第1の鉛直軸52はbの方向に回転を始める)も、第2の鉛直軸53はすぐには回転を止めず、しばらくはaの方向に回転を続ける場合もある。
【0055】
フライボール調速機構10がかご44の下降速度に対応した遠心力を受けるのはかご44が加速の状態にある場合のみであるが、かご44が最初に第1過速度又は第2過速度に達するのは、かご44が加速の途中にある場合のみであるので、このようなラチェット機構71を用いた場合においても、実施の形態1のエレベータ用調速機は同様の機能を有することになる。
【0056】
図8は、フライボール調速機構10により非常止め装置49を作動させる機構を示す図である。81は滑り筒13に連結された第1のリンク、82は一端が第1のリンク81に連結された第2のリンクである。この第2のリンクは軸821を中心に回転可能である。
【0057】
83は第2のリンク82とローラー832によって接した回転レバーである。この回転レバー83は軸831を中心に回転可能である。84は回転レバー83を付勢するばねである。通常運転時には第2のリンク82がばね84の付勢力に対抗することで、回転レバー83の回転を防止している。
【0058】
しかし、かご44が下降方向の第2過速度を超えて下降した場合は、過速度の増加に伴い滑り筒13が上昇し、第1のリンク81が上昇する。そのため、第2のリンク82が軸821を中心に回転し、回転レバー83からはずれる。回転レバー83はばね84の付勢力により軸831を中心に回転し、可動シュー85からはずれる。その後、可動シュー85が落ち、固定シュー86と可動シュー85とによって調速機ロープを挟みこむ。これによって調速機ロープ3の下降が制動され、非常止め装置49が作動する。
【0059】
この実施の形態における調速機およびこの調速機を有するエレベータ装置の効果について説明する。かご44が上昇する際の調速をフライウェイト調速機構51により行なわせ、かご44が下降する際の調速をフライボール調速機構10にて行なうので、かご44の上昇方向の第1過速度が下降方向の第1過速度よりも大きくなるよう設定されたエレベータにおいても、各方向の非常停止動作をすべき過速度にて必要な停止動作を行なわしめることができる。
【0060】
さらに、下降方向の第1過速度、下降方向の第2過速度、上昇方向の第1過速度の順で大きくなるように速度が設定されている場合には、下降方向の第1、第2過速度の検出をフライボール調速機構10に持たせることができる。
さらにまたかご44の移動方向(綱車6の回転方向)によって動作・非動作が切り替えられるのはフライボール調速機構10のみであり、フライウェイト調速機構52については切替は行なわない。そのため、部品点数をより押さえた構成となっている。
【0061】
また、この実施の形態においては、フライボール調速機構10とフライウェイト調速機構51とをクラッチ機構54により機械的に構成しているため、停電等の場合にも動作が可能である。
【0062】
さらに、この実施の形態においては、上昇方向用の調速機構として綱車6内に取り付けるフライウェイト調速機構51を採用しているため、従来のフライボール調速機構とほとんど同じサイズで構成することができる。
【0063】
尚、この実施の形態では、かご44の下降方向の第1過速度、下降方向の第2過速度、上昇方向の第1過速度の順で大きくなるように設定された場合を説明したが、かご44の下降方向の第1過速度、上昇方向の第1過速度、下降方向の第2過速度の順で大きくなるように設定された場合にも、本実施の形態を適用することができる。
【0064】
この場合も下降方向の第1過速度および下降方向の第2過速度をフライボール調速機10で検出し、上昇方向の第1過速度をフライウェイト調速機構51で検出する。この場合、下降方向の第1過速度を超えて加速した場合には、上昇方向の第1過速度に達した時点でフライウェイト調速機構51による非常停止動作が行われることになり、下降方向の速度が第2過速度に達する確率が低くなる。したがって、より安全なエレベータ装置が得られる。
【0065】
さらに、上昇方向の第1過速度、下降方向の第1過速度、下降方向の第2過速度の順で大きくなるように設定されたエレベータの場合には、フライウェイト調速機構51では下降方向の第1過速度及び第2過速度を検出し、フライボール調速機構10では上昇方向の第1過速度を検出し、非常停止動作を行なわせるように調整する。クラッチ機構54は、かご44が下降する際には綱車6の回転力のフライボール調速機構10への伝達を解除し、かご44が上昇する際には綱車6の回転力をフライボール調速機構10へ伝達するように調整する必要がある。
【0066】
また尚、この実施の形態ではフライボール調速機構10、フライウェイト調速機構51とを設けているが、その他の調速機構を採用することも可能である。
また尚、この実施の形態では上昇方向の速度については、第1過速度のみを検出しているが、上昇方向の速度についても第2過速度の検出を行うようにしてもよい。フライウェイト調速機構51により第2過速度の検出および非常止めを行なう機構としては、図2に示した機構を採用すればよい。
【0067】
また、本実施の形態では、クラッチ機構54は、第1の鉛直軸52と第2の鉛直軸53の間に設けられているが、水平軸5と駆動傘歯車8との間に設けるようにしてもよい。
【0068】
実施の形態2.
実施の形態1では異なる種類の第1、第2の調速機構を設け、第1の調速機構において上昇方向の調速を行なわせ、第2の調速機構において下降方向の調速を行なわせる場合を説明した。
この実施の形態では同じ種類の調速機構を2つ設ける場合について説明する。
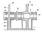
図9はこの発明の実施の形態2によるエレベータ用調速機を示す縦断面図である。この実施の形態におけるエレベータ装置の全体構造は、図4に示したものと同様である。
【0069】
97は支持体、55は支持体97の側壁にそれぞれ配置されて軸受56が設けられた軸受箱、5は軸受56の一つに枢持された第1の軸、6は第1の軸5に固定されて調速用ロープ3の上端の湾曲部が巻き掛けられた綱車である。
【0070】
91は第1の軸5と同心で、かつ真横の位置でもう一つの軸受56に枢持された第2の軸である。92は第1の軸5と第2の軸91との間に挿置されたクラッチ機構である。
【0071】
このクラッチ機構92は実施の形態1のクラッチ機構54と同様、綱車6の回転方向等からかご44の移動方向を検出し、かご44が下降方向に移動している場合のみ第1の軸5と第2の軸91を連結させて第2の軸91を第1の軸5と同じ角速度で回転せしめる。一方、上昇方向に移動している場合には第1の軸5と第2の軸91を分離させて第1の軸5が回転しても第2の軸91を回転させない。
【0072】
93は第2の軸91に固定され、第2の軸91と同じ角速度にて回転する回転車である。94は綱車6に設けられた第1のフライウェイト調速機構である。また、95は回転車93に設けられた第2のフライウェイト調速機構である。
【0073】
第2のフライウェイト調速機構95は第1過速度を検出して巻上機410を非常停止させる第1の停止用スイッチと、第2の過速度を検出してかご44の非常止め装置49を作動させる機構の両方を持つ。第1のフライウェイト調速機構94は第1過速度を検出して巻上機410を非常停止させる第2の停止用スイッチのみを具備している。これらフライウェイト調速機構の構成については、この実施の形態において特に示すもの以外は、図2および図3に示したフライウェイト調速機構と同様である。
【0074】
このように構成されたエレベータ用調速機においては、かご44が上昇方向に移動する場合には、2つの調速機構のうち、第1のフライウェイト調速機構94のみが機能し、第2のフライウェイト調速機構95は調速動作を停止した無効状態となる。一方、昇降体が下降方向に移動する場合には、第1のフライウェイト調速機構94と第2のフライウェイト調速機構95の両方ともが機能する。
クラッチ機構92は綱車6が正転した場合に当該綱車6の回転力を第2のフライウェイト調速機構95に伝達し、綱車6が逆転した場合に綱車6の回転力の伝達を解除する伝達機構と考えることができる。
【0075】
これによって、かご44の下降方向の第1過速度、下降方向の第2過速度を第2のフライウェイト調速機構95が検出する。かご44の上昇方向の第1過速度については第1のフライウェイト調速機構94が検出する。
以上が、かご44の下降方向の第1過速度、下降方向の第2過速度、上昇方向の第1過速度の順で大きくなるように設定された場合であるが、かご44の下降方向の第1過速度、上昇方向の第1過速度、下降方向の第2過速度の順で大きくなる場合でも同様の構成となる。
【0076】
逆に、かご44の上昇方向の第1過速度、下降方向の第1過速度、下降方向の第2過速度の順で大きくなるように設定されたエレベータの場合には、第1のフライウェイト調速機構94では下降方向の第1過速度及び第2過速度を検出し、第2のフライウェイト調速機構95では上昇方向の第1過速度を検出し、非常停止動作を行なわせるように調整する。
【0077】
この実施の形態においても、第1および第2のフライウェイト調速機構94、95をクラッチ機構92により機械的に構成しているため、停電等の場合にも動作可能とすることができる。
【0078】
尚、この実施の形態ではフライウェイト調速機34、35を用いる場合について説明したが、その他の調速機を2つ設けて構成することも可能である。
また尚、この実施の形態では上昇方向の速度については、1つの過速度のみを検出しているが、上昇方向の速度についても複数の過速度検出を行うようにしてもよい。
【0079】
実施の形態3.
上述の実施の形態では、フライウェイト調速機構を2つ設け、上昇方向の過速度と下降方向の過速度とをそれぞれ検出していた。
フライボール調速機構を2つ設け、これら2つのフライボール調速機構によって上昇方向の過速度と下降方向の過速度とを検出することも可能である。
【0080】
この機構は次のようにして構成される。第1のフライボール調速機構の鉛直軸を延長し、この鉛直軸をクラッチ機構の一端側に連結する。クラッチ機構の他端側には第2のフライボール調速機構の鉛直軸を連結する。このクラッチ機構は上記実施の形態で用いているクラッチ機構と同様のものである。
【0081】
このような構成により、第2のフライボール調速機構はかご44が上昇する時に有効となり、過速度の検出を行なう。かご44が下降する時には第1のフライボール調速機構のみが有効となり、第2のフライボール調速機構は作動しない。
以上の構成によって、上昇方向の過速度と下降方向の過速度とが異なる場合にも過速度検出が可能となる。
【0082】
実施の形態4.
上述の実施の形態では、昇降体の移動方向に対応した調速機構を複数設ける場合について説明した。この実施の形態では、調速機構を複数設けることなく昇降体の移動方向によって異なる速度の調速を行う調速機について説明する。
【0083】
図1に示したフライボール調速機の場合には2個の停止用スイッチ17を、図2に示したフライウェイト調速機の場合には2個の停止用スイッチ211を設置する。それぞれの調速機における2つの停止用スイッチの内、1つはかご44の上昇方向の第1過速度で動作する位置に設置し、もう一つは下降方向の第1過速度で動作する位置に設置する。
【0084】
そして、かご44を上昇させている場合には、下降方向の停止スイッチが動作しても、それを無効にするように電気回路を設定する。かご44が一旦停止し、下降方向に運転を開始する際に、下降方向の停止スイッチを有効にするよう復帰させる。
【0085】
このように構成することにより、複数の調速機構を設けることなく電気的な回路によって、かご44の移動方向によって異なる速度の調速を行うことができる。
【0086】
実施の形態5.
調速機構を複数設けることなく昇降体の移動方向によって異なる速度の調速を行う他の調速機について説明する。
フライボール調速機の操作レバー18やフライウェイト調速機の作動子29は昇降体の加速度(綱車の加速度)に応じて変位する。そのため、停止用スイッチ17、211をかご44の移動方向によって異なる位置に移動させる。これにより、かご44が上昇する場合とかご44が下降する場合で異なる過速度で停止用スイッチを動作させることが可能となる。
【0087】
図10、11は、この実施の形態における調速機の構造である。
この実施の形態における調速機は、昇降体の移動方向を検出する検出機構110と停止用スイッチの位置を移動させる移動機構111とを有している。
検出機構110がかご44の移動方向を検出し、移動機構111はかご44の上昇・下降に応じて、停止用スイッチの位置を移動させる(図中→で示した方向に移動する)。これにより、上昇および下降の第1過速度が異なる場合にも過速度の検出を行なうことができる。
【0088】
実施の形態1から実施の形態5で説明したフライボール調速機構やフライウェイト調速機構以外の調速機として、例えば図12に示したBODE社の調速機がある。この調速機は、調速用ロープが巻き掛けられる綱車6と、綱車6の軸5と、綱車6に固定された四角い枠体100と、この枠体100の側面に接し、ばねによって枠体100の側面に付勢されたローラ101と、停止用スイッチ102と、枠体100に設けられたラチェット103と、このラチェットと噛み合う爪104とを有する。
【0089】
綱車6が回転すると枠体100に対して付勢されたローラ101が四角い枠体100の角を通るたびに飛び上がる。綱車6の回転速度が大きくなるほど、その飛び上がり角度が大きくなる。
飛び上がり角度が所定角度に達すると、停止用スイッチ102が動作し、巻上機の電源を切る。更に大きな角度になると爪104がラチェット103にかかり、綱車6の回転が止まる。調速用ロープ3の移動が制動され、昇降体の非常止め装置が動作して昇降体が非常停止する。
このようなフライボール調速機構、フライウェイト調速機構以外の調速機構を上記実施の形態1〜5に適用してもよい。
【0090】
【発明の効果】
この発明におけるエレベータ装置は、昇降路内を移動するエレベータかごと、前記エレベータかごをケーブルを介して上下に移動させる駆動機械装置と、前記エレベータかごが上昇する場合と下降する場合とで移動速度を異ならせるように前記駆動機械装置を制御する制御装置と、前記エレベータかごの移動速度を調速する調速装置とを有し、当該調速装置は、前記エレベータかごが上昇する場合の前記エレベータの移動速度を検出する第1調速機構と、前記エレベータかごが下降する場合の前記エレベータの移動速度を検出する第2調速機構とを有し、上記エレベータかごの移動方向に応じて上記第1調速機構又は前記第2調速機構の調速を無効にするため、エレベータかごが上昇する場合と下降する場合で移動速度を異ならせる場合にも適切な速度検出が可能となる。
【0091】
また、前記調速装置は、上記エレベータかごと連結された調速ロープと、当該調速ロープが巻き掛けられ、上記エレベータかごの上下移動に伴い正転および逆転する綱車と、当該綱車の回転方向に応じて、前記第1調速機構又は前記第2の調速機構への前記綱車の回転力の伝達を開閉する伝達機構とを有するため、エレベータかごの上下移動方向を容易に知ることができる。
【0092】
さらに、上記エレベータかごの非常停止動作を開始するためのしきい値として上昇時の第1過速度と下降時の第1過速度が設定され、前記上昇時の第1過速度と前記下降時の第1過速度とは互いに異なる値であり、前記第1調速機構は前記上昇時の第1過速度を検出し、前記第2調速機構は前記下降時の第1過速度を検出するため、エレベータかごの上昇時と下降時とで異なった値の第1過速度を設定できるため、第1過速度の決定の自由度が高くなる。
【0093】
さらにまた、上記エレベータかごの非常動作を開始するためのしきい値として前記下降時の第1過速度よりも大きい値の下降時の第2過速度が設定され、前記第2調速機構は前記下降時の第2過速度を検出するため、下降時の安全性が向上する。
【0094】
また、前記上昇時の第1過速度V1と、前記下降時の第1過速度V2と、前記下降時の第2過速度V3は、V1>V3>V2の関係を有しているため、エレベータかごの上昇時と下降時とで異なった値の第1過速度を設定できることにより第1過速度の決定の自由度が高くなるとともに下降時の安全性が向上する。
【0095】
さらに、前記上昇時の第1過速度V1と、前記下降時の第1過速度V2と、前記下降時の第2過速度V3は、V3>V1>V2の関係を有しているため、エレベータかごの上昇時と下降時とで異なった値の第1過速度を設定できることにより第1過速度の決定の自由度が高くなるとともに下降時の安全性が向上する。
【0096】
この発明における調速装置は、調速用ロープと、当該調速用ロープが巻き掛けられ、この調速用ロープの移動により回転する綱車と、当該綱車の回転速度を調速する第1調速機構と、前記綱車が正転する際に当該綱車の回転速度を調速し、綱車が逆転する際には調速を停止する第2調速機構とを有するため、綱車が正転する際には第2調速機構による調速を行い、綱車が逆転する際には第1調速機構によって調速を行なわせることが可能となり、綱車の回転方向に応じて異なったしきい値での非常停止動作ができる。
【0097】
また、前記綱車と前記第2調速機構は、前記綱車の回転を伝達する伝達機構を介して接続されており、当該伝達機構は前記綱車が正転する際には前記第2調速機に前記綱車の回転を伝達し、前記綱車が逆転する際には前記第2調速機構への前記綱車の回転の伝達を解除するため、簡単な構造で綱車の回転方向に応じて異なったしきい値での非常停止動作ができる。
【0098】
さらに、前記第1調速機構はフライウェイト形調速機であるため、綱車のスペースを有効利用することができ、他の種類の調速機を用いる場合に比べてスペースを小さく抑えることができる。
【0099】
さらにまた、前記第2調速機構はフライボール形調速機であるため、既存の調速機を活用することができる。
【0100】
また、前記伝達機構は、前記綱車の回転軸と前記第2調速機の回転軸との間に連結されたクラッチであるため、機械的な切替により停電時等電気が使えない状況下でも機能させることができ、信頼性の高い調速機を得ることができる。
【図面の簡単な説明】
【図1】 従来のフライボール形調速機の縦断面図である。
【図2】 従来のフライウェイト形調速機の正面図である。
【図3】 図2に示した従来のフライウェイト形調速機の縦断面図である。
【図4】 実施の形態1におけるエレベータ装置の全体構成図である。
【図5】 実施の形態1におけるエレベータ用調速機の縦断面図である。
【図6】 実施の形態1におけるエレベータ用調速機の正面図である。
【図7】 ラチェット機構の拡大図である。
【図8】 フライボール形調速機により第2過速度を検出したときに動作する機構の動作図である。
【図9】 実施の形態2におけるエレベータ用調速機の縦断面図である。
【図10】 実施の形態5におけるエレベータ用調速機の縦断面図である。
【図11】 実施の形態5におけるエレベータ用調速機の他の例を示す図である。
【図12】 エレベータ用調速機の他の例を示す図である。
【符号の説明】
1 機械室、2 エレベータ用調速機、3 調速用ロープ、4 支持体、5 水平軸、6 綱車、8 駆動傘歯車、9 従動傘歯車、10 フライボール形調速機、41 昇降路、42 調速機、43 そらせ車、44 かご、45 巻上ロープ、46 釣り合いおもり、47 緩衝器、48 張り車、49 非常止め装置、51 フライウェイト形調速機、52 第1の鉛直軸、53 第2の鉛直軸、54 クラッチ機構、71 ラチェット機構、211 、410 巻上機、411 制御装置。
Claims (4)
- 調速用ロープと、
当該調速用ロープが巻き掛けられ、この調速用ロープの移動により回転する綱車と、
当該綱車の回転速度を調速し第1の過速度を検出する第1調速機構と、
前記綱車と前記綱車の回転を伝達する伝達機構を介して接続されており、当該伝達機構により前記綱車が正転する際には前記綱車の回転が伝達され前記第1の過速度よりも小さい第2の過速度を検出し、前記綱車が逆転する際には前記第2調速機構への前記綱車の回転が伝達解除され調速を停止する第2調速機構と
を有することを特徴とする調速装置。 - 前記第1調速機構はフライウェイト形調速機であることを特徴とする請求項1記載の調速装置。
- 前記第2調速機構はフライボール形調速機であることを特徴とする請求項1記載の調速装置。
- 前記伝達機構は、前記綱車の回転軸と前記第2調速機構の回転軸との間に連結されたクラッチであることを特徴とする請求項1記載の調速装置。
Priority Applications (2)
| Application Number | Priority Date | Filing Date | Title |
|---|---|---|---|
| JP13508499A JP4306014B2 (ja) | 1999-05-17 | 1999-05-17 | 調速装置 |
| US09/563,149 US6360847B1 (en) | 1999-05-17 | 2000-05-02 | Elevator system and speed governing apparatus |
Applications Claiming Priority (1)
| Application Number | Priority Date | Filing Date | Title |
|---|---|---|---|
| JP13508499A JP4306014B2 (ja) | 1999-05-17 | 1999-05-17 | 調速装置 |
Publications (2)
| Publication Number | Publication Date |
|---|---|
| JP2000327241A JP2000327241A (ja) | 2000-11-28 |
| JP4306014B2 true JP4306014B2 (ja) | 2009-07-29 |
Family
ID=15143467
Family Applications (1)
| Application Number | Title | Priority Date | Filing Date |
|---|---|---|---|
| JP13508499A Expired - Fee Related JP4306014B2 (ja) | 1999-05-17 | 1999-05-17 | 調速装置 |
Country Status (2)
| Country | Link |
|---|---|
| US (1) | US6360847B1 (ja) |
| JP (1) | JP4306014B2 (ja) |
Cited By (2)
| Publication number | Priority date | Publication date | Assignee | Title |
|---|---|---|---|---|
| JP2016108143A (ja) * | 2014-12-10 | 2016-06-20 | フジテック株式会社 | エレベータ用調速装置 |
| JP2016108142A (ja) * | 2014-12-10 | 2016-06-20 | フジテック株式会社 | エレベータ用調速装置 |
Families Citing this family (50)
| Publication number | Priority date | Publication date | Assignee | Title |
|---|---|---|---|---|
| US6691834B2 (en) * | 2001-09-06 | 2004-02-17 | Otis Elevator Company | Elevator governor |
| MY137170A (en) * | 2003-02-04 | 2009-01-30 | Toshiba Elevator Kk | Elevator |
| WO2005061362A1 (en) * | 2003-11-18 | 2005-07-07 | Otis Elevator Company | Elevator governor device |
| JP4629669B2 (ja) * | 2004-04-20 | 2011-02-09 | 三菱電機株式会社 | エレベータの非常止めシステム |
| CN1950287B (zh) * | 2005-03-30 | 2011-05-11 | 三菱电机株式会社 | 电梯装置 |
| KR101080588B1 (ko) * | 2006-10-18 | 2011-11-04 | 미쓰비시덴키 가부시키가이샤 | 엘리베이터의 조속장치 및 엘리베이터 장치 |
| EP2177466A4 (en) * | 2007-08-09 | 2014-01-15 | Mitsubishi Electric Corp | ELEVATOR PITCH CONTROL |
| CN101878175B (zh) * | 2008-01-25 | 2012-09-26 | 三菱电机株式会社 | 电梯装置 |
| US20110127116A1 (en) * | 2008-08-28 | 2011-06-02 | Mitsubishi Electric Corporation | Governor for elevator |
| JPWO2010086967A1 (ja) | 2009-01-28 | 2012-07-26 | 三菱電機株式会社 | エレベータ装置 |
| JP5360201B2 (ja) * | 2009-04-09 | 2013-12-04 | 三菱電機株式会社 | エレベータ用調速機 |
| WO2010144093A1 (en) * | 2009-06-12 | 2010-12-16 | Otis Elevator Company | Elevator governor device |
| US20110109096A1 (en) * | 2009-11-06 | 2011-05-12 | Matthew Earley | Fixed pitch wind (or water) turbine with centrifugal weight control (CWC) |
| WO2011083574A1 (ja) * | 2010-01-07 | 2011-07-14 | 三菱電機株式会社 | エレベータ装置 |
| JP5577736B2 (ja) * | 2010-02-18 | 2014-08-27 | 三菱電機株式会社 | エレベータ用調速機 |
| CN103052583A (zh) * | 2010-08-06 | 2013-04-17 | 三菱电机株式会社 | 电梯用限速器 |
| CN103118965B (zh) * | 2010-09-17 | 2015-03-25 | 三菱电机株式会社 | 电梯用限速器 |
| WO2012086026A1 (ja) * | 2010-12-22 | 2012-06-28 | 三菱電機株式会社 | エレベータの調速装置 |
| WO2012108859A1 (en) * | 2011-02-07 | 2012-08-16 | Otis Elevator Company | Elevator governor having two tripping mechanisms on separate sheaves |
| JP5753072B2 (ja) * | 2011-12-21 | 2015-07-22 | 株式会社日立製作所 | エレベーター装置 |
| JP5850754B2 (ja) * | 2012-01-24 | 2016-02-03 | 株式会社日立製作所 | 調速機及びこの調速機を備えたエレベーター装置 |
| JP2013193845A (ja) * | 2012-03-21 | 2013-09-30 | Hitachi Ltd | エレベーター装置 |
| JP5809746B2 (ja) * | 2012-05-21 | 2015-11-11 | 株式会社日立製作所 | エレベーター装置 |
| CN104350003B (zh) * | 2012-05-30 | 2016-08-17 | 株式会社日立制作所 | 电梯设备 |
| WO2014033845A1 (ja) * | 2012-08-28 | 2014-03-06 | 株式会社日立製作所 | エレベーター装置 |
| JP5917764B2 (ja) * | 2013-02-13 | 2016-05-18 | 株式会社日立製作所 | エレベータ装置 |
| JP6014261B2 (ja) * | 2013-08-02 | 2016-10-25 | 株式会社日立製作所 | エレベータ装置 |
| CN105612118B (zh) * | 2013-09-09 | 2017-07-18 | 株式会社日立制作所 | 电梯装置 |
| CN106029541B (zh) * | 2013-12-05 | 2019-03-12 | 奥的斯电梯公司 | 具有一组不同数量的上下井道的高速无绳电梯 |
| WO2015159375A1 (ja) * | 2014-04-16 | 2015-10-22 | 株式会社日立製作所 | エレベーター装置 |
| JP5845317B2 (ja) * | 2014-06-16 | 2016-01-20 | 東芝エレベータ株式会社 | エレベータの調速機 |
| JP5944056B2 (ja) * | 2014-06-24 | 2016-07-05 | 株式会社日立製作所 | エレベータ用調速機およびそれを用いたエレベータ装置 |
| JP5870165B2 (ja) * | 2014-07-08 | 2016-02-24 | 東芝エレベータ株式会社 | エレベータの調速機 |
| EP3194317B1 (en) * | 2014-08-01 | 2019-03-27 | Otis Elevator Company | Car mounted governor for an elevator system |
| CN104192669B (zh) * | 2014-08-22 | 2016-04-13 | 张龙俊 | 一种电梯防坠装置 |
| DE112014007189B4 (de) * | 2014-11-19 | 2022-01-05 | Mitsubishi Electric Corporation | Aufzugsvorrichtung |
| JP6295189B2 (ja) * | 2014-11-28 | 2018-03-14 | 株式会社日立製作所 | エレベータ装置 |
| CN106276465B (zh) * | 2015-06-29 | 2018-08-28 | 株式会社日立制作所 | 电梯装置及其限速器 |
| JP6597351B2 (ja) * | 2016-02-04 | 2019-10-30 | フジテック株式会社 | エレベータ用ガバナ装置 |
| JP6116731B2 (ja) * | 2016-04-06 | 2017-04-19 | 株式会社日立製作所 | エレベータ装置 |
| JP6735590B2 (ja) * | 2016-04-07 | 2020-08-05 | フジテック株式会社 | エレベータの調速機 |
| JP6658673B2 (ja) * | 2017-05-30 | 2020-03-04 | フジテック株式会社 | エレベータ用調速装置 |
| CN108014686A (zh) * | 2018-01-25 | 2018-05-11 | 青岛科技大学 | 一种飞球式可互换的漆料混合刮漆装置 |
| US10968077B2 (en) * | 2018-07-19 | 2021-04-06 | Otis Elevator Company | Enhanced governor system for elevator |
| CN112963464B (zh) * | 2021-03-11 | 2022-04-26 | 山东科技大学 | 一种可控制速度的动力传输装置及其工作方法 |
| CN113135479B (zh) * | 2021-04-13 | 2022-09-13 | 日立楼宇技术(广州)有限公司 | 电梯制停部件测试系统及方法 |
| CN113479761A (zh) * | 2021-09-07 | 2021-10-08 | 徐州万旭机械有限公司 | 一种桥式吊机钳体支持结构 |
| CN115339978A (zh) * | 2022-08-10 | 2022-11-15 | 上海三菱电梯有限公司 | 电梯限速装置 |
| CN116002484B (zh) * | 2022-12-12 | 2026-01-02 | 浙江智菱科技有限公司 | 一种电梯轿厢导轨轮组总成及电梯 |
| CN119389947A (zh) * | 2025-01-03 | 2025-02-07 | 贵州交通职业技术学院 | 一种用于桥梁构件的吊装装置 |
Family Cites Families (9)
| Publication number | Priority date | Publication date | Assignee | Title |
|---|---|---|---|---|
| US3327811A (en) * | 1966-10-28 | 1967-06-27 | Otis Elevator Co | Governor |
| JPH07112908B2 (ja) | 1987-07-06 | 1995-12-06 | 三菱電機株式会社 | エレベ−タ調速機 |
| JPH03177283A (ja) | 1989-12-04 | 1991-08-01 | Mitsubishi Electric Corp | エレベータ用調速機 |
| US5171704A (en) | 1991-02-28 | 1992-12-15 | At&T Bell Laboratories | Gaas device fabrication utilizing metalorganic molecular beam epitaxy (mombe) |
| US5183979A (en) * | 1991-07-22 | 1993-02-02 | Otis Elevator Company | Elevator governor rope restraint when elevator car moves with car doors open |
| JPH0543150A (ja) * | 1991-08-20 | 1993-02-23 | Hitachi Ltd | エレベータ |
| US5299661A (en) * | 1992-11-03 | 1994-04-05 | Otis Elevator Company | Mechanical overspeed safety device |
| EP0627799B1 (en) * | 1993-06-04 | 1997-10-08 | Sharp Kabushiki Kaisha | Semiconductor light-emitting device with third cladding layer |
| JP2790615B2 (ja) | 1994-10-20 | 1998-08-27 | 三菱電機株式会社 | エレベータ用調速機 |
-
1999
- 1999-05-17 JP JP13508499A patent/JP4306014B2/ja not_active Expired - Fee Related
-
2000
- 2000-05-02 US US09/563,149 patent/US6360847B1/en not_active Expired - Lifetime
Cited By (2)
| Publication number | Priority date | Publication date | Assignee | Title |
|---|---|---|---|---|
| JP2016108143A (ja) * | 2014-12-10 | 2016-06-20 | フジテック株式会社 | エレベータ用調速装置 |
| JP2016108142A (ja) * | 2014-12-10 | 2016-06-20 | フジテック株式会社 | エレベータ用調速装置 |
Also Published As
| Publication number | Publication date |
|---|---|
| JP2000327241A (ja) | 2000-11-28 |
| US6360847B1 (en) | 2002-03-26 |
Similar Documents
| Publication | Publication Date | Title |
|---|---|---|
| JP4306014B2 (ja) | 調速装置 | |
| CN103189294B (zh) | 电梯装置 | |
| JP6012596B2 (ja) | エレベータ装置 | |
| US8297413B2 (en) | Safety device for elevator and rope slip detection method using drive sheave acceleration | |
| JP4975104B2 (ja) | エレベータの調速機 | |
| JP5809746B2 (ja) | エレベーター装置 | |
| JP6062009B2 (ja) | エレベータ装置 | |
| JP2003104646A (ja) | エレベータ装置及びその制御方法 | |
| US6296080B1 (en) | Variable traction mechanism for rotary actuated overspeed safety device | |
| JP4292215B2 (ja) | エレベータの調速機装置 | |
| JP6116731B2 (ja) | エレベータ装置 | |
| EP1086921A1 (en) | Safety device of elevator | |
| JP5944056B2 (ja) | エレベータ用調速機およびそれを用いたエレベータ装置 | |
| KR102027882B1 (ko) | 에스컬레이터 제동 제어시스템 | |
| CN104936880B (zh) | 电梯装置 | |
| CN106132860B (zh) | 电梯装置 | |
| KR20050029592A (ko) | 승강기용 제동장치 | |
| JPWO2000055085A1 (ja) | エレベーターの安全装置 |
Legal Events
| Date | Code | Title | Description |
|---|---|---|---|
| RD01 | Notification of change of attorney |
Free format text: JAPANESE INTERMEDIATE CODE: A7421 Effective date: 20040624 |
|
| A621 | Written request for application examination |
Free format text: JAPANESE INTERMEDIATE CODE: A621 Effective date: 20060407 |
|
| A977 | Report on retrieval |
Free format text: JAPANESE INTERMEDIATE CODE: A971007 Effective date: 20080522 |
|
| A131 | Notification of reasons for refusal |
Free format text: JAPANESE INTERMEDIATE CODE: A131 Effective date: 20080610 |
|
| A02 | Decision of refusal |
Free format text: JAPANESE INTERMEDIATE CODE: A02 Effective date: 20090113 |
|
| A521 | Written amendment |
Free format text: JAPANESE INTERMEDIATE CODE: A523 Effective date: 20090312 |
|
| A911 | Transfer to examiner for re-examination before appeal (zenchi) |
Free format text: JAPANESE INTERMEDIATE CODE: A911 Effective date: 20090323 |
|
| TRDD | Decision of grant or rejection written | ||
| A01 | Written decision to grant a patent or to grant a registration (utility model) |
Free format text: JAPANESE INTERMEDIATE CODE: A01 Effective date: 20090414 |
|
| A01 | Written decision to grant a patent or to grant a registration (utility model) |
Free format text: JAPANESE INTERMEDIATE CODE: A01 |
|
| A61 | First payment of annual fees (during grant procedure) |
Free format text: JAPANESE INTERMEDIATE CODE: A61 Effective date: 20090427 |
|
| FPAY | Renewal fee payment (event date is renewal date of database) |
Free format text: PAYMENT UNTIL: 20120515 Year of fee payment: 3 |
|
| FPAY | Renewal fee payment (event date is renewal date of database) |
Free format text: PAYMENT UNTIL: 20120515 Year of fee payment: 3 |
|
| FPAY | Renewal fee payment (event date is renewal date of database) |
Free format text: PAYMENT UNTIL: 20130515 Year of fee payment: 4 |
|
| FPAY | Renewal fee payment (event date is renewal date of database) |
Free format text: PAYMENT UNTIL: 20140515 Year of fee payment: 5 |
|
| LAPS | Cancellation because of no payment of annual fees |