JP4301034B2 - アンテナが搭載された無線装置 - Google Patents

アンテナが搭載された無線装置 Download PDF

Info

Publication number
JP4301034B2
JP4301034B2 JP2004051083A JP2004051083A JP4301034B2 JP 4301034 B2 JP4301034 B2 JP 4301034B2 JP 2004051083 A JP2004051083 A JP 2004051083A JP 2004051083 A JP2004051083 A JP 2004051083A JP 4301034 B2 JP4301034 B2 JP 4301034B2
Authority
JP
Japan
Prior art keywords
antenna element
antenna
feeding point
point
frequency
Prior art date
Legal status (The legal status is an assumption and is not a legal conclusion. Google has not performed a legal analysis and makes no representation as to the accuracy of the status listed.)
Expired - Fee Related
Application number
JP2004051083A
Other languages
English (en)
Other versions
JP2005244553A (ja
Inventor
直志 ▲高▼木
祐己 佐藤
Current Assignee (The listed assignees may be inaccurate. Google has not performed a legal analysis and makes no representation or warranty as to the accuracy of the list.)
Panasonic Corp
Panasonic Holdings Corp
Original Assignee
Panasonic Corp
Matsushita Electric Industrial Co Ltd
Priority date (The priority date is an assumption and is not a legal conclusion. Google has not performed a legal analysis and makes no representation as to the accuracy of the date listed.)
Filing date
Publication date
Application filed by Panasonic Corp, Matsushita Electric Industrial Co Ltd filed Critical Panasonic Corp
Priority to JP2004051083A priority Critical patent/JP4301034B2/ja
Priority to US11/023,494 priority patent/US7084831B2/en
Priority to DE602005014824T priority patent/DE602005014824D1/de
Priority to EP05000402A priority patent/EP1569300B1/en
Priority to CN2005100044087A priority patent/CN1661855A/zh
Publication of JP2005244553A publication Critical patent/JP2005244553A/ja
Application granted granted Critical
Publication of JP4301034B2 publication Critical patent/JP4301034B2/ja
Anticipated expiration legal-status Critical
Expired - Fee Related legal-status Critical Current

Links

Images

Classifications

    • HELECTRICITY
    • H01ELECTRIC ELEMENTS
    • H01QANTENNAS, i.e. RADIO AERIALS
    • H01Q21/00Antenna arrays or systems
    • H01Q21/30Combinations of separate antenna units operating in different wavebands and connected to a common feeder system
    • HELECTRICITY
    • H01ELECTRIC ELEMENTS
    • H01QANTENNAS, i.e. RADIO AERIALS
    • H01Q1/00Details of, or arrangements associated with, antennas
    • H01Q1/12Supports; Mounting means
    • H01Q1/22Supports; Mounting means by structural association with other equipment or articles
    • H01Q1/24Supports; Mounting means by structural association with other equipment or articles with receiving set
    • H01Q1/241Supports; Mounting means by structural association with other equipment or articles with receiving set used in mobile communications, e.g. GSM
    • H01Q1/242Supports; Mounting means by structural association with other equipment or articles with receiving set used in mobile communications, e.g. GSM specially adapted for hand-held use
    • H01Q1/243Supports; Mounting means by structural association with other equipment or articles with receiving set used in mobile communications, e.g. GSM specially adapted for hand-held use with built-in antennas
    • HELECTRICITY
    • H01ELECTRIC ELEMENTS
    • H01QANTENNAS, i.e. RADIO AERIALS
    • H01Q1/00Details of, or arrangements associated with, antennas
    • H01Q1/36Structural form of radiating elements, e.g. cone, spiral, umbrella; Particular materials used therewith
    • H01Q1/38Structural form of radiating elements, e.g. cone, spiral, umbrella; Particular materials used therewith formed by a conductive layer on an insulating support
    • HELECTRICITY
    • H01ELECTRIC ELEMENTS
    • H01QANTENNAS, i.e. RADIO AERIALS
    • H01Q5/00Arrangements for simultaneous operation of antennas on two or more different wavebands, e.g. dual-band or multi-band arrangements
    • H01Q5/40Imbricated or interleaved structures; Combined or electromagnetically coupled arrangements, e.g. comprising two or more non-connected fed radiating elements
    • HELECTRICITY
    • H01ELECTRIC ELEMENTS
    • H01QANTENNAS, i.e. RADIO AERIALS
    • H01Q9/00Electrically-short antennas having dimensions not more than twice the operating wavelength and consisting of conductive active radiating elements
    • H01Q9/04Resonant antennas
    • H01Q9/30Resonant antennas with feed to end of elongated active element, e.g. unipole
    • H01Q9/42Resonant antennas with feed to end of elongated active element, e.g. unipole with folded element, the folded parts being spaced apart a small fraction of the operating wavelength

Landscapes

  • Engineering & Computer Science (AREA)
  • Computer Networks & Wireless Communication (AREA)
  • Physics & Mathematics (AREA)
  • Electromagnetism (AREA)
  • Support Of Aerials (AREA)
  • Details Of Aerials (AREA)
  • Variable-Direction Aerials And Aerial Arrays (AREA)
  • Waveguide Aerials (AREA)
  • Transceivers (AREA)

Description

本発明は、携帯電話などの移動体通信に用いられる、アンテナが搭載された無線装置に関するものである。
近年、携帯電話を含めた移動体通信は音声通話や文字や動画などのデータ通信へのサービスが多様化し、性能の高い無線装置が要求されている。特に、電波を送受信する入口となるアンテナの性能が無線装置の性能を左右する大きな要因の一つともなり、高性能であるアンテナが搭載された無線装置が要望されている。
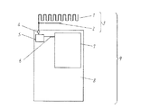
このような従来のアンテナが搭載された無線装置について、図3を用いて説明する。
図3は従来のアンテナが搭載された無線装置を模式的に表した図であり、同図に示すように、地板8に対し並べて配置されているアンテナ3は、第1の周波数に共振する第1のアンテナ素子1、および第2の周波数に共振する第2のアンテナ素子2とを備えている。このアンテナ3は、地板8上に配置された給電点4に接続され、整合回路5、伝送線路6を介して無線回路7へと接続されており、それらを含めて無線装置9が構成されている。このように、当該無線装置9は、第1および第2のアンテナ素子1および2に、1つの給電点4から給電可能な構成とされていた。また、第1のアンテナ素子1は、GSM(880〜960MHz)に共振し、第2のアンテナ素子2は、前記第1のアンテナ素子1より高い周波数のDCS(1710〜1880MHz)に共振している。
以上の構成において、GSMを受信する時には、第1のアンテナ素子1で受信した電波により励起された電流が、給電点4から整合回路5、伝送線路6を介して無線回路7に伝達されることにより電波を受信する。
また、GSMを送信する時には、無線回路7で発生した信号が、伝送線路6から整合回路5、給電点4を介して伝達される。その信号が第1のアンテナ素子1により励起されて電波として放射されることにより送信される。
なお、DCSでも、GSMを送受信する時と同様の原理により第2のアンテナ素子2により電波の送受信が行われる。
このように、無線装置9は、GSMとDCSと2つの周波数に対応するものであった。
なお、この出願の発明に関連する先行技術文献情報としては、例えば、特許文献1が知られている。
特開2003−101335号公報
しかしながら上記従来のアンテナが搭載された無線装置においては、1つの給電点4から第1のアンテナ素子1と第2のアンテナ素子2に給電可能な構成としてあるため、2つのアンテナ素子1および2の間の結合が強まりロスが生じやすい。
さらに、前記所望の異なる2つの共振周波数を得るための整合回路5も1つのみで調整を行うものであったため、一方側の共振周波数の調整を行うと他方側の共振周波数が連動して変化し、片方の共振周波数のみを独立して効率よく調整することが困難であった。
本発明は、このような従来の課題を解決するものであり、2つのアンテナ素子の結合ロスを低減し、多周波でも任意に独立して所望の共振周波数に調整できるアンテナが搭載された無線装置を提供することを目的とする。
上記目的を達成するために本発明は、以下の構成を有するものである。
本発明の請求項1に記載の発明は、第1の周波数に共振する第1のアンテナ素子および、前記第1の周波数より高い第2の周波数に共振する第2のアンテナ素子を備えたアンテナと、前記アンテナが搭載される無線装置内に配された地板とを有し、前記地板には、前記第1のアンテナ素子に接続されるように配置された第1の給電点と、前記第1の給電点に一端が接続された第1の整合回路と、前記第2のアンテナ素子に接続されるように配置された第2の給電点と、前記第2の給電点に一端が接続された第2の整合回路とを有し、さらに前記第1および第2の整合回路の他端が同じ接続点に接続され、その接続点に伝送線路を介して接続される無線回路を備えると共に、前記第2の整合回路は、前記第2の給電点と前記接続点との間に直列にコンデンサを挿入接続した構成とされ、前記第1の周波数の電波の送受信時に前記各アンテナ素子間の結合が少なくなるように前記第2のアンテナ素子と前記伝送線路との電気的な接続状態が前記コンデンサで低減される構成とされていることを特徴とする、アンテナが搭載された無線装置としたものである。
この構成であれば、第1のアンテナ素子と第2のアンテナ素子にそれぞれ対応する独立した給電点を設けることで2つのアンテナ素子間の結合ロスを低減させることができ、しかも、2つのアンテナ素子に対しそれぞれ独立した整合回路を設けてあるため、任意に独立して2つの異なる共振周波数の調整が容易に行えるものにできるという作用を有する。
請求項2に記載の発明は、請求項1記載の発明において、第2の整合回路を、第2の給電点と接続点との間に直列に接続されたコンデンサに加え、前記第2の給電点と地板との間に直列に接続されたインダクタとにより構成されたものとしたものであり、請求項1記載の発明による作用に加えて、第1の周波数に共振する時、インダクタにより第2のアンテナ素子が地板と電気的に接続され、第2のアンテナ素子が無給電素子として機能するようにできる。この結果、第1のアンテナ素子と無給電素子として機能する第2のアンテナ素子との複共振により、第1の共振周波数が広帯域なものにできるという作用を有する。
請求項3に記載の発明は、請求項1記載の発明において、第1のアンテナ素子と第2のアンテナ素子が絶縁樹脂により一体成形されて構成されたものであり、絶縁樹脂によりアンテナ素子の変形等が抑えられると共に、絶縁樹脂の誘電率によりアンテナ自身の小形化も図れるという作用を有する。
請求項4に記載の発明は、請求項1記載の発明において、第1のアンテナ素子と第2のアンテナ素子が線状、螺旋、メアンダ、平板、もしくは、それらの組み合わせにより構成されたものであり、アンテナ素子を設計する自由度が高まるという作用を有する。
請求項5に記載の発明は、請求項1記載の発明において、第1のアンテナ素子および第2のアンテナ素子がばね性を有する金属材料で構成され、その各々の端部が、第1の給電点および第2の給電点に対し圧接接続されたものであり、各アンテナ素子と対応する給電点との間を半田を用いないで簡易に接続されたものが得られるという作用を有する。
以上のように、本発明は、第1の周波数に共振する第1のアンテナ素子および、前記第1の周波数より高い第2の周波数に共振する第2のアンテナ素子を備えたアンテナと、前記アンテナが搭載される無線装置内に配された地板とを有し、前記地板には、前記第1のアンテナ素子に接続されるように配置された第1の給電点と、前記第1の給電点に一端が接続された第1の整合回路と、前記第2のアンテナ素子に接続されるように配置された第2の給電点と、前記第2の給電点に一端が接続された第2の整合回路とを有し、さらに前記第1および第2の整合回路の他端が同じ接続点に接続され、その接続点に伝送線路を介して接続される無線回路を備えると共に、前記第2の整合回路は、前記第2の給電点と前記接続点との間に直列にコンデンサを挿入接続した構成とされ、前記第1の周波数の電波の送受信時に前記各アンテナ素子間の結合が少なくなるように前記第2のアンテナ素子と前記伝送線路との電気的な接続状態が前記コンデンサで低減される構成とされていることを特徴とする、アンテナが搭載された無線装置としたものである。本発明によれば、2つのアンテナ素子にそれぞれ対応する独立した給電点を設けて2つのアンテナ素子間の結合ロスを低減させることができ、しかも、2つのアンテナ素子に対しそれぞれ独立した整合回路を設けたので、任意に独立して2つの異なる共振周波数の調整が容易に可能となるアンテナが搭載された無線装置が得られるという有利な効果が得られる。
以下、本発明の実施の形態について、図1および図2を用いて説明する。
なお、従来の技術の項で説明した構成と同一構成の部分には同一符号を付して、詳細な説明を簡略化する。
(実施の形態)
図1は本発明の一実施の形態のアンテナが搭載された無線装置を模式的に表した図であり、同図に示すように、地板8に対し並べて配置されているアンテナ13は、第1の周波数に共振する第1のアンテナ素子11と第2の周波数に共振する第2のアンテナ素子12とを備えている。
そして、第1のアンテナ素子11は、地板8上に配置された第1の給電点14に接続され、その第1の給電点14に第1の整合回路16の一端が接続され、前記第1の整合回路16の他端は、接続点18に接続されている。
また、第2のアンテナ素子12は、地板8上に配置された第2の給電点15に接続され、その第2の給電点15に第2の整合回路17の一端が接続され、前記第2の整合回路17の他端は、前記第1のアンテナ素子11の場合と同じく接続点18に接続されている。
そして、前記接続点18は、伝送線路6を介して無線回路7へと接続され、それらで無線装置19が構成されている。
ここで、第1のアンテナ素子11はGSM(880〜960MHz)に共振し、第2のアンテナ素子12はDCS(1710〜1880MHz)に共振しており、第2のアンテナ素子12は第1のアンテナ素子11より高い周波数で共振しているものとする。
そして、前記第1の整合回路16は、第1の給電点14と接続点18に対し直列に接続されたインダクタ20で構成されている。また、前記第2の整合回路17は、第2の給電点15と接続点18に対し直列に接続されたコンデンサ22と、地板8と第2の給電点15に対し直列に接続されたインダクタ21とで構成されている。
以上の構成において、第1のアンテナ素子11がGSMに共振し、また第2のアンテナ素子12がDCSに共振して、従来の技術で説明した原理と同様に、各々の電波が送受信できる。その結果、無線装置19は、GSMとDCSの2つの周波数に対応したアンテナが搭載されたものとなっている。
このように本実施の形態によれば、第1のアンテナ素子11と第2のアンテナ素子12にそれぞれ独立した給電点14と15を設けてあることにより、2つのアンテナ素子11と12間の結合ロスを低減させることができる。また、それに加えて、アンテナ素子11と12毎にそれぞれ独立した整合回路16と17を設けてあるため、任意に独立して2つの異なる周波数の調整が容易に可能となる。
そして、整合回路16と17を前記構成のものとすると、第1の周波数では、第2の整合回路17のコンデンサ22により、第2のアンテナ素子12と伝送線路6とが電気的に分断されると共に、第2の整合回路17のインダクタ21により第2のアンテナ素子12が地板8と電気的に接続され、第2のアンテナ素子12が無給電素子として機能するようにできる。この結果、第1のアンテナ素子11と無給電素子として機能する第2のアンテナ素子12との複共振により、第1の周波数が広帯域なものにできる。
ここで、第1の整合回路16のインダクタ20は、第1の周波数では、第1のアンテナ素子11の共振周波数を低くするように作用するため第1のアンテナ素子11の小形化も図れる。また、第1の周波数より高い第2の周波数では、インダクタ20により第1のアンテナ素子11と伝送線路6とを電気的に遮断する効果もあるため、2つの周波数を独立して調整することがさらに容易に行えるようにできるという効果が得られる。
なお、整合回路の受動素子の配列は、図1に示す配列に限ったものではなく、インダクタやコンデンサの受動素子を自由に任意の場所に配列してインピーダンスを自由に調整してもよい。なお、このときにも前述した思想が充足できる構成とする方が好ましい。
なお、図1には第1のアンテナ素子11をメアンダで構成したものを図示しているが、この構成に限ったものではない。具体的な例として、図2に示すように、第1のアンテナ素子23として、折り返しモノポールで構成してもよい。また、螺旋状、板状、もしくは、それらの組み合わせ等で構成してもよい。同様に、第2のアンテナ素子12についても様々なもので構成してもよい。さらに、第1のアンテナ素子11の一部もしくは第2のアンテナ素子12の一部を地板8に接地させ、逆Fアンテナとして機能させてもよく、その構成であればインピーダンス調整の自由度がさらに高まる。
そして、前述の図2に示すように、第1のアンテナ素子23と第2のアンテナ素子24とが絶縁樹脂25により一体成形されてアンテナ26に構成されたものであれば、絶縁樹脂25によりアンテナ素子23、24の変形が抑えられると共に、絶縁樹脂25の誘電率によりアンテナ26自体の小形化も容易である。
さらに、同図に示すように、第1のアンテナ素子23および第2のアンテナ素子24を、りん青銅などのばね性を有する金属材料で構成し、その各端部を、地板8に配された第1の給電点27および第2の給電点28にそれぞれ圧接接続させるものとすると、アンテナ26と各給電点27、28とを半田を用いないで簡易に接続できる。なお、当該構成部分を備えた無線装置31も、前述したものと同じく、第1および第2の給電点27および28に、各々、第1および第2の整合回路29および30の一端が接続され、その整合回路29および30の他端は、それぞれ接続点18に接続され、接続点18は伝送線路6を介して無線回路7に接続されているため、アンテナ素子23および24に応じた個々の共振周波数に対して独立して容易に調整可能なものにできる。
本発明によるアンテナが搭載された無線装置は、2つのアンテナ素子間の結合ロスを低減させることができ、多周波で任意に独立して異なる共振周波数への調整が容易に行える、アンテナが搭載された無線装置が実現できるという効果を有し、携帯電話などの移動体通信等に有用である。
本発明の一実施の形態のアンテナが搭載された無線装置を模式的に表した図 同ばね性を有する金属材料からなるアンテナ素子と絶縁樹脂とで構成されたアンテナが搭載された無線装置を模式的に表した斜視図 従来のアンテナが搭載された無線装置を模式的に表した図
符号の説明
6 伝送線路
7 無線回路
8 地板
11、23 第1のアンテナ素子
12、24 第2のアンテナ素子
13、26 アンテナ
14、27 第1の給電点
15、28 第2の給電点
16、29 第1の整合回路
17、30 第2の整合回路
18 接続点
19、31 無線装置
20、21 インダクタ
22 コンデンサ
25 絶縁樹脂

Claims (5)

  1. 第1の周波数に共振する第1のアンテナ素子および、前記第1の周波数より高い第2の周波数に共振する第2のアンテナ素子を備えたアンテナと、前記アンテナが搭載される無線装置内に配された地板とを有し、前記地板には、前記第1のアンテナ素子に接続されるように配置された第1の給電点と、前記第1の給電点に一端が接続された第1の整合回路と、前記第2のアンテナ素子に接続されるように配置された第2の給電点と、前記第2の給電点に一端が接続された第2の整合回路とを有し、さらに前記第1および第2の整合回路の他端が同じ接続点に接続され、その接続点に伝送線路を介して接続される無線回路を備えると共に、前記第2の整合回路は、前記第2の給電点と前記接続点との間に直列にコンデンサを挿入接続した構成とされ、前記第1の周波数の電波の送受信時に前記各アンテナ素子間の結合が少なくなるように前記第2のアンテナ素子と前記伝送線路との電気的な接続状態が前記コンデンサで低減される構成とされていることを特徴とする、アンテナが搭載された無線装置。
  2. 第2の整合回路を、第2の給電点と接続点との間に直列に接続されたコンデンサに加え、前記第2の給電点と地板との間に直列に接続されたインダクタとにより構成されたものとした請求項1記載のアンテナが搭載された無線装置。
  3. 第1のアンテナ素子と第2のアンテナ素子が絶縁樹脂により一体成形されて構成された請求項1記載のアンテナが搭載された無線装置。
  4. 第1のアンテナ素子と第2のアンテナ素子が線状、螺旋、メアンダ、平板、もしくは、それらの組み合わせにより構成された請求項1記載のアンテナが搭載された無線装置。
  5. 第1のアンテナ素子および第2のアンテナ素子がばね性を有する金属材料で構成され、その各々の端部が、第1の給電点および第2の給電点に対し圧接接続された請求項1記載のアンテナが搭載された無線装置。
JP2004051083A 2004-02-26 2004-02-26 アンテナが搭載された無線装置 Expired - Fee Related JP4301034B2 (ja)

Priority Applications (5)

Application Number Priority Date Filing Date Title
JP2004051083A JP4301034B2 (ja) 2004-02-26 2004-02-26 アンテナが搭載された無線装置
US11/023,494 US7084831B2 (en) 2004-02-26 2004-12-29 Wireless device having antenna
DE602005014824T DE602005014824D1 (de) 2004-02-26 2005-01-11 Drahtloses Gerät mit Antenne
EP05000402A EP1569300B1 (en) 2004-02-26 2005-01-11 Wireless device having antenna
CN2005100044087A CN1661855A (zh) 2004-02-26 2005-01-13 装载天线的无线装置

Applications Claiming Priority (1)

Application Number Priority Date Filing Date Title
JP2004051083A JP4301034B2 (ja) 2004-02-26 2004-02-26 アンテナが搭載された無線装置

Publications (2)

Publication Number Publication Date
JP2005244553A JP2005244553A (ja) 2005-09-08
JP4301034B2 true JP4301034B2 (ja) 2009-07-22

Family

ID=34747494

Family Applications (1)

Application Number Title Priority Date Filing Date
JP2004051083A Expired - Fee Related JP4301034B2 (ja) 2004-02-26 2004-02-26 アンテナが搭載された無線装置

Country Status (5)

Country Link
US (1) US7084831B2 (ja)
EP (1) EP1569300B1 (ja)
JP (1) JP4301034B2 (ja)
CN (1) CN1661855A (ja)
DE (1) DE602005014824D1 (ja)

Families Citing this family (102)

* Cited by examiner, † Cited by third party
Publication number Priority date Publication date Assignee Title
FI116332B (fi) * 2002-12-16 2005-10-31 Lk Products Oy Litteän radiolaitteen antenni
KR101024889B1 (ko) * 2005-03-30 2011-03-31 노키아 코포레이션 안테나
US7495620B2 (en) * 2005-04-07 2009-02-24 Nokia Corporation Antenna
FI20055420A0 (fi) 2005-07-25 2005-07-25 Lk Products Oy Säädettävä monikaista antenni
TWI313082B (en) * 2005-08-16 2009-08-01 Wistron Neweb Corp Notebook and antenna thereof
US7852272B2 (en) * 2005-09-09 2010-12-14 Panasonic Corporation Wireless unit antenna apparatus and mobile wireless unit
US7605763B2 (en) 2005-09-15 2009-10-20 Dell Products L.P. Combination antenna with multiple feed points
FI119009B (fi) 2005-10-03 2008-06-13 Pulse Finland Oy Monikaistainen antennijärjestelmä
FI118782B (fi) 2005-10-14 2008-03-14 Pulse Finland Oy Säädettävä antenni
JP4868128B2 (ja) * 2006-04-10 2012-02-01 日立金属株式会社 アンテナ装置及びそれを用いた無線通信機器
FR2901063A1 (fr) * 2006-05-12 2007-11-16 Thomson Licensing Sas Antenne compacte portable pour la television numerique terrestre
EP2025043A2 (en) 2006-06-08 2009-02-18 Fractus, S.A. Distributed antenna system robust to human body loading effects
JP4957724B2 (ja) * 2006-07-11 2012-06-20 株式会社村田製作所 アンテナ及び無線icデバイス
US8618990B2 (en) 2011-04-13 2013-12-31 Pulse Finland Oy Wideband antenna and methods
US8738103B2 (en) 2006-07-18 2014-05-27 Fractus, S.A. Multiple-body-configuration multimedia and smartphone multifunction wireless devices
EP1892798A1 (en) * 2006-08-22 2008-02-27 Matsushita Electric Industrial Co., Ltd. Folded planar monopole antenna
EP2092607A4 (en) * 2006-10-05 2012-12-19 Pulse Finland Oy MULTIBAND ANTENNA WITH A COMMON RESONANT FEEDING STRUCTURE AND CORRESPONDING METHODS
PL2092641T3 (pl) 2006-11-17 2017-08-31 Nokia Technologies Oy Urządzenie umożliwiające współdzielenie wspólnego zasilania przez dwa elementy
US7782261B2 (en) * 2006-12-20 2010-08-24 Nokia Corporation Antenna arrangement
JP2008167098A (ja) 2006-12-28 2008-07-17 Nec Saitama Ltd アンテナ装置及び該アンテナ装置を用いた携帯無線機
FI120119B (fi) * 2007-01-04 2009-06-30 Pulse Finland Oy Antennirakenne
JP4571988B2 (ja) * 2007-01-19 2010-10-27 パナソニック株式会社 アレーアンテナ装置及び無線通信装置
KR100848038B1 (ko) * 2007-02-14 2008-07-23 주식회사 이엠따블유안테나 다중대역 안테나
US8611958B2 (en) * 2007-03-29 2013-12-17 Kyocera Corporation Portable wireless device
US9130267B2 (en) 2007-03-30 2015-09-08 Fractus, S.A. Wireless device including a multiband antenna system
US7639188B2 (en) * 2007-04-05 2009-12-29 Sony Ericsson Mobile Communications Ab Radio antenna for a communication terminal
JP5093230B2 (ja) 2007-04-05 2012-12-12 株式会社村田製作所 アンテナおよび無線通信機
FI20075269A0 (fi) 2007-04-19 2007-04-19 Pulse Finland Oy Menetelmä ja järjestely antennin sovittamiseksi
TWI414109B (zh) * 2007-05-02 2013-11-01 Lite On Technology Corp 雙支路寬頻天線及其數位電視裝置
WO2008135802A1 (en) * 2007-05-02 2008-11-13 Nokia Corporation An antenna arrangement
JP2008288871A (ja) * 2007-05-17 2008-11-27 Nec Corp デュアルバンドアンテナ及び通信端末
KR101383465B1 (ko) * 2007-06-11 2014-04-10 삼성전자주식회사 휴대 단말기에 적용되는 다중대역 안테나
US7701401B2 (en) * 2007-07-04 2010-04-20 Kabushiki Kaisha Toshiba Antenna device having no less than two antenna elements
US7710332B2 (en) * 2007-08-17 2010-05-04 Htc Corporation Mobile communications device with a compact-sized three-dimensional antenna
US7859468B2 (en) * 2007-08-30 2010-12-28 Research In Motion Limited Mobile wireless communications device including a folded monopole multi-band antenna and related methods
FI120427B (fi) 2007-08-30 2009-10-15 Pulse Finland Oy Säädettävä monikaista-antenni
JP5062888B2 (ja) * 2008-01-09 2012-10-31 パナソニック株式会社 無線通信端末
US7825860B2 (en) * 2008-04-16 2010-11-02 Sony Ericsson Mobile Communications Ab Antenna assembly
US7768463B2 (en) 2008-04-16 2010-08-03 Sony Ericsson Mobile Communications Ab Antenna assembly, printed wiring board and device
WO2009147885A1 (ja) * 2008-06-06 2009-12-10 株式会社村田製作所 マルチバンドアンテナ及びその実装構造
US7834814B2 (en) * 2008-06-25 2010-11-16 Nokia Corporation Antenna arrangement
JP5009240B2 (ja) * 2008-06-25 2012-08-22 ソニーモバイルコミュニケーションズ株式会社 マルチバンドアンテナ及び無線通信端末
JP4784636B2 (ja) * 2008-10-28 2011-10-05 Tdk株式会社 表面実装型アンテナ及びこれを用いるアンテナ装置並びに無線通信機
CN102396107A (zh) * 2009-04-24 2012-03-28 株式会社村田制作所 天线及无线通信装置
GB0907361D0 (en) * 2009-04-29 2009-06-10 Lok8U Ltd A tracking and communications device
FI20096134A0 (fi) 2009-11-03 2009-11-03 Pulse Finland Oy Säädettävä antenni
WO2011055159A1 (en) * 2009-11-04 2011-05-12 Laird Technologies Ab Multi-frequency antenna assemblies with multiple antennas
US8514132B2 (en) * 2009-11-10 2013-08-20 Research In Motion Limited Compact multiple-band antenna for wireless devices
FI20096251A0 (sv) 2009-11-27 2009-11-27 Pulse Finland Oy MIMO-antenn
EP2333901A3 (en) * 2009-12-11 2011-07-13 Samsung Electronics Co., Ltd. Antenna device
FI20096320A0 (fi) * 2009-12-14 2009-12-14 Pulse Finland Oy Monikaistainen antennirakenne
EP2337150B1 (en) * 2009-12-18 2012-12-05 Laird Technologies AB An antenna arrangement and a portable radio communication device comprising such an antenna arrangement
US8604980B2 (en) * 2009-12-22 2013-12-10 Motorola Mobility Llc Antenna system with non-resonating structure
US8847833B2 (en) 2009-12-29 2014-09-30 Pulse Finland Oy Loop resonator apparatus and methods for enhanced field control
FI20105158A7 (fi) 2010-02-18 2011-08-19 Pulse Finland Oy Kuorisäteilijällä varustettu antenni
US9406998B2 (en) 2010-04-21 2016-08-02 Pulse Finland Oy Distributed multiband antenna and methods
JP5234084B2 (ja) 2010-11-05 2013-07-10 株式会社村田製作所 アンテナ装置および通信端末装置
FI20115072A0 (fi) 2011-01-25 2011-01-25 Pulse Finland Oy Moniresonanssiantenni, -antennimoduuli ja radiolaite
US8648752B2 (en) 2011-02-11 2014-02-11 Pulse Finland Oy Chassis-excited antenna apparatus and methods
US9673507B2 (en) 2011-02-11 2017-06-06 Pulse Finland Oy Chassis-excited antenna apparatus and methods
CN103534874B (zh) * 2011-05-09 2015-11-25 株式会社村田制作所 耦合度调节电路、天线装置及通信终端装置
JP2012248947A (ja) * 2011-05-25 2012-12-13 Panasonic Corp 携帯無線装置
US8866689B2 (en) 2011-07-07 2014-10-21 Pulse Finland Oy Multi-band antenna and methods for long term evolution wireless system
US9450291B2 (en) 2011-07-25 2016-09-20 Pulse Finland Oy Multiband slot loop antenna apparatus and methods
US8639194B2 (en) * 2011-09-28 2014-01-28 Motorola Mobility Llc Tunable antenna with a conductive, physical component co-located with the antenna
US9123990B2 (en) 2011-10-07 2015-09-01 Pulse Finland Oy Multi-feed antenna apparatus and methods
US9531058B2 (en) 2011-12-20 2016-12-27 Pulse Finland Oy Loosely-coupled radio antenna apparatus and methods
US9484619B2 (en) 2011-12-21 2016-11-01 Pulse Finland Oy Switchable diversity antenna apparatus and methods
MY160952A (en) * 2012-02-15 2017-03-31 Motorola Solutions Inc Hybrid antenna for portable communication devices
WO2013127128A1 (zh) * 2012-03-01 2013-09-06 深圳光启高等理工研究院 天线装置
KR101887934B1 (ko) * 2012-03-26 2018-09-06 삼성전자주식회사 통신용 전자 장치를 위한 내장형 안테나 장치
US8988296B2 (en) 2012-04-04 2015-03-24 Pulse Finland Oy Compact polarized antenna and methods
TWI504057B (zh) * 2012-05-23 2015-10-11 Cho Yi Lin 可攜式通訊裝置
US10096910B2 (en) * 2012-06-13 2018-10-09 Skycross Co., Ltd. Multimode antenna structures and methods thereof
US9331389B2 (en) 2012-07-16 2016-05-03 Fractus Antennas, S.L. Wireless handheld devices, radiation systems and manufacturing methods
US9979078B2 (en) 2012-10-25 2018-05-22 Pulse Finland Oy Modular cell antenna apparatus and methods
US10069209B2 (en) 2012-11-06 2018-09-04 Pulse Finland Oy Capacitively coupled antenna apparatus and methods
US9647338B2 (en) 2013-03-11 2017-05-09 Pulse Finland Oy Coupled antenna structure and methods
US10079428B2 (en) 2013-03-11 2018-09-18 Pulse Finland Oy Coupled antenna structure and methods
US9893427B2 (en) 2013-03-14 2018-02-13 Ethertronics, Inc. Antenna-like matching component
CN103268987B (zh) * 2013-05-10 2015-07-29 上海安费诺永亿通讯电子有限公司 一种小尺寸三频合一多频陶瓷天线
TWI539661B (zh) 2013-06-26 2016-06-21 宏碁股份有限公司 通訊裝置
US9634383B2 (en) 2013-06-26 2017-04-25 Pulse Finland Oy Galvanically separated non-interacting antenna sector apparatus and methods
CN104283005A (zh) * 2013-07-09 2015-01-14 宏碁股份有限公司 通讯装置
TWM470398U (zh) * 2013-07-19 2014-01-11 Chi Mei Comm Systems Inc 天線裝置
US9680212B2 (en) 2013-11-20 2017-06-13 Pulse Finland Oy Capacitive grounding methods and apparatus for mobile devices
US9590308B2 (en) 2013-12-03 2017-03-07 Pulse Electronics, Inc. Reduced surface area antenna apparatus and mobile communications devices incorporating the same
WO2015100642A1 (zh) * 2013-12-31 2015-07-09 华为终端有限公司 一种天线的匹配电路
US9350081B2 (en) 2014-01-14 2016-05-24 Pulse Finland Oy Switchable multi-radiator high band antenna apparatus
EP4322334A3 (en) 2014-07-24 2024-05-29 Ignion, S.L. Slim radiating systems for electronic devices
US9973228B2 (en) 2014-08-26 2018-05-15 Pulse Finland Oy Antenna apparatus with an integrated proximity sensor and methods
US9948002B2 (en) 2014-08-26 2018-04-17 Pulse Finland Oy Antenna apparatus with an integrated proximity sensor and methods
US9722308B2 (en) 2014-08-28 2017-08-01 Pulse Finland Oy Low passive intermodulation distributed antenna system for multiple-input multiple-output systems and methods of use
CN104269606B (zh) * 2014-10-24 2018-05-01 广东欧珀移动通信有限公司 一种移动终端天线结构和移动终端
US10680331B2 (en) * 2015-05-11 2020-06-09 Carrier Corporation Antenna with reversing current elements
CN106663878B (zh) * 2015-05-18 2019-10-01 华为技术有限公司 天线装置和终端
US9906260B2 (en) 2015-07-30 2018-02-27 Pulse Finland Oy Sensor-based closed loop antenna swapping apparatus and methods
CN108352621B (zh) * 2015-10-14 2021-06-22 株式会社村田制作所 天线装置
SG10201609104UA (en) * 2016-10-31 2018-05-30 Delta Electronics Inc Dual-band dual-port antenna structure
JP6760544B2 (ja) * 2018-04-25 2020-09-23 株式会社村田製作所 アンテナ装置及び通信端末装置
CN213184599U (zh) * 2018-04-25 2021-05-11 株式会社村田制作所 天线耦合元件、天线装置以及通信终端装置
CN117810690B (zh) * 2022-09-23 2025-10-31 华为终端有限公司 天线结构和电子设备

Family Cites Families (14)

* Cited by examiner, † Cited by third party
Publication number Priority date Publication date Assignee Title
JPS62188507A (ja) * 1986-02-14 1987-08-18 Mitsubishi Electric Corp アンテナ装置
JPH1188246A (ja) * 1997-09-08 1999-03-30 Matsushita Electric Ind Co Ltd アンテナ装置及びそれを用いた無線受信装置
JPH11122033A (ja) * 1997-10-09 1999-04-30 Tdk Corp アンテナ装置
JPH11177327A (ja) * 1997-12-09 1999-07-02 Nec Saitama Ltd 逆fアンテナ装置
JP2000183644A (ja) * 1998-12-17 2000-06-30 Matsushita Electric Ind Co Ltd アンテナ装置
US6198442B1 (en) * 1999-07-22 2001-03-06 Ericsson Inc. Multiple frequency band branch antennas for wireless communicators
JP2003152428A (ja) * 2000-12-27 2003-05-23 Furukawa Electric Co Ltd:The 小型アンテナおよびその製造方法
JP3678167B2 (ja) * 2001-05-02 2005-08-03 株式会社村田製作所 アンテナ装置及びこのアンテナ装置を備えた無線通信機
EP1289061A3 (de) 2001-08-24 2004-10-06 Hirschmann Electronics GmbH & Co. KG Antennensystem
JP2003101335A (ja) * 2001-09-25 2003-04-04 Matsushita Electric Ind Co Ltd アンテナ装置およびそれを用いた通信機器
US6618014B2 (en) * 2001-09-28 2003-09-09 Centurion Wireless Tech., Inc. Integral antenna and radio system
JP2003249811A (ja) 2001-12-20 2003-09-05 Murata Mfg Co Ltd 複共振アンテナ装置
US7184727B2 (en) * 2002-02-12 2007-02-27 Kyocera Wireless Corp. Full-duplex antenna system and method
US6914570B2 (en) * 2003-11-10 2005-07-05 Motorola, Inc. Antenna system for a communication device

Also Published As

Publication number Publication date
JP2005244553A (ja) 2005-09-08
EP1569300B1 (en) 2009-06-10
CN1661855A (zh) 2005-08-31
US20050190107A1 (en) 2005-09-01
US7084831B2 (en) 2006-08-01
EP1569300A1 (en) 2005-08-31
DE602005014824D1 (de) 2009-07-23

Similar Documents

Publication Publication Date Title
JP4301034B2 (ja) アンテナが搭載された無線装置
US6204826B1 (en) Flat dual frequency band antennas for wireless communicators
US6662028B1 (en) Multiple frequency inverted-F antennas having multiple switchable feed points and wireless communicators incorporating the same
JP4523211B2 (ja) 無線通信機のための折りたたみデュアル周波数バンドアンテナ
JP4297012B2 (ja) アンテナ
US6218992B1 (en) Compact, broadband inverted-F antennas with conductive elements and wireless communicators incorporating same
EP1992042B1 (en) Multi-frequency band antenna device for radio communication terminal
JP4003077B2 (ja) アンテナ及び無線通信機
US6417816B2 (en) Dual band bowtie/meander antenna
US6204819B1 (en) Convertible loop/inverted-f antennas and wireless communicators incorporating the same
US8599074B2 (en) Mobile communication device and antenna thereof
US6229487B1 (en) Inverted-F antennas having non-linear conductive elements and wireless communicators incorporating the same
CN102099962B (zh) 天线结构
US6184836B1 (en) Dual band antenna having mirror image meandering segments and wireless communicators incorporating same
JPWO2004109857A1 (ja) アンテナとそれを用いた電子機器
US9660347B2 (en) Printed coupled-fed multi-band antenna and electronic system
CN102683861A (zh) 可调谐环形天线
US6563466B2 (en) Multi-frequency band inverted-F antennas with coupled branches and wireless communicators incorporating same
KR20110122849A (ko) 안테나 장치, 인쇄 회로 보드, 휴대용 전자 장치 및 변환 키트
US6697023B1 (en) Built-in multi-band mobile phone antenna with meandering conductive portions
JP2007159140A (ja) 摺動型移動通信端末装置用アンテナ
US9548538B2 (en) Antenna arrangement and device
KR20000017083A (ko) 안테나 장치
CN100444464C (zh) 天线和使用了天线的电子设备
JP2006067234A (ja) アンテナ装置

Legal Events

Date Code Title Description
A621 Written request for application examination

Free format text: JAPANESE INTERMEDIATE CODE: A621

Effective date: 20061101

RD01 Notification of change of attorney

Free format text: JAPANESE INTERMEDIATE CODE: A7421

Effective date: 20061213

A977 Report on retrieval

Free format text: JAPANESE INTERMEDIATE CODE: A971007

Effective date: 20080404

A131 Notification of reasons for refusal

Free format text: JAPANESE INTERMEDIATE CODE: A131

Effective date: 20080408

A521 Request for written amendment filed

Free format text: JAPANESE INTERMEDIATE CODE: A523

Effective date: 20080609

A131 Notification of reasons for refusal

Free format text: JAPANESE INTERMEDIATE CODE: A131

Effective date: 20080930

A521 Request for written amendment filed

Free format text: JAPANESE INTERMEDIATE CODE: A523

Effective date: 20081031

TRDD Decision of grant or rejection written
A01 Written decision to grant a patent or to grant a registration (utility model)

Free format text: JAPANESE INTERMEDIATE CODE: A01

Effective date: 20090331

A01 Written decision to grant a patent or to grant a registration (utility model)

Free format text: JAPANESE INTERMEDIATE CODE: A01

FPAY Renewal fee payment (event date is renewal date of database)

Free format text: PAYMENT UNTIL: 20120501

Year of fee payment: 3

A61 First payment of annual fees (during grant procedure)

Free format text: JAPANESE INTERMEDIATE CODE: A61

Effective date: 20090413

FPAY Renewal fee payment (event date is renewal date of database)

Free format text: PAYMENT UNTIL: 20120501

Year of fee payment: 3

FPAY Renewal fee payment (event date is renewal date of database)

Free format text: PAYMENT UNTIL: 20120501

Year of fee payment: 3

FPAY Renewal fee payment (event date is renewal date of database)

Free format text: PAYMENT UNTIL: 20130501

Year of fee payment: 4

LAPS Cancellation because of no payment of annual fees