JP4270367B2 - レジスタ - Google Patents

レジスタ Download PDF

Info

Publication number
JP4270367B2
JP4270367B2 JP2003049506A JP2003049506A JP4270367B2 JP 4270367 B2 JP4270367 B2 JP 4270367B2 JP 2003049506 A JP2003049506 A JP 2003049506A JP 2003049506 A JP2003049506 A JP 2003049506A JP 4270367 B2 JP4270367 B2 JP 4270367B2
Authority
JP
Japan
Prior art keywords
knob
register
shaft
holder
dial knob
Prior art date
Legal status (The legal status is an assumption and is not a legal conclusion. Google has not performed a legal analysis and makes no representation as to the accuracy of the status listed.)
Expired - Fee Related
Application number
JP2003049506A
Other languages
English (en)
Other versions
JP2004256014A (ja
Inventor
耕二 澤田
Current Assignee (The listed assignees may be inaccurate. Google has not performed a legal analysis and makes no representation or warranty as to the accuracy of the list.)
Howa Plastics Co Ltd
Original Assignee
Howa Plastics Co Ltd
Priority date (The priority date is an assumption and is not a legal conclusion. Google has not performed a legal analysis and makes no representation as to the accuracy of the date listed.)
Filing date
Publication date
Application filed by Howa Plastics Co Ltd filed Critical Howa Plastics Co Ltd
Priority to JP2003049506A priority Critical patent/JP4270367B2/ja
Publication of JP2004256014A publication Critical patent/JP2004256014A/ja
Application granted granted Critical
Publication of JP4270367B2 publication Critical patent/JP4270367B2/ja
Anticipated expiration legal-status Critical
Expired - Fee Related legal-status Critical Current

Links

Images

Landscapes

  • Air-Conditioning For Vehicles (AREA)

Description

【0001】
【発明の属する技術分野】
本発明は、レジスタに関し、特に、レジスタ内を通過する気流の吹き出し方向の調整操作がスムースになるレジスタに関するものである。
【0002】
【従来の技術】
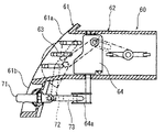
従来、自動車の車室内のインストルメントパネル等には、レジスタが設けられている。このレジスタは空調装置の温冷風の吹き出し方向を調節するものである。図6は、この従来のレジスタの正面を示し(例えば特許文献1)、図7は図6のレジスタの縦断面を示し、図8は図6のレジスタを分解して示す。
図6に示すように、レジスタ60の前面にはベゼル61が配設され、ベゼル61には空気吹出口61aが設けられている。そして、図7に示すように、ベゼル61の後側にダクト状のリテーナ62が取り付けられている。
ベゼル61内に横フィン群63が取り付けられ、リテーナ62内には、縦フィン群64が取り付けられている。
ベゼル61の下部には、ノブ用開口部61bが形成され、ノブ用開口部61bにはフィン操作ノブ71が配設されている。フィン操作ノブ71はリンク72を介して横フィン群63に連結されるとともに、係合部材73を介して縦フィン群64のリンク部64aに連結されている(図8参照)。
これにより、フィン操作ノブ71の先端部を上下方向に操作して、横フィン群63の偏向方向を上下方向に変えることにより、レジスタ60から吹き出す風の方向を上下に変えることができ、また、フィン操作ノブ71を横方向に操作して、縦フィン群64の偏向方向を横方向に変えることにより、レジスタ60から吹き出す風の方向を横方向に変えることができる。
【0003】
【特許文献1】
特開2000−318439号公報
【0004】
【発明が解決しようとする課題】
しかし、上記従来例では、図7に示すように、ベゼル61のノブ用開口部61bにフィン操作ノブ71が配置されているので、フィン操作ノブ71の先端部を上下方向に操作するときに、その操作角がノブ用開口部61bの大きさによって制限されるとともに、この操作角を大きくすると、ノブ用開口部61bが大きくなりベゼル61の見栄えが悪くなるという問題があった。
【0005】
さらに、フィン操作ノブ71と係合部材73とが一体構造であり、係合部材73が縦フィン群64のリンク部64aに係合していることにより、フィン操作ノブ71の先端部を上下方向に操作する際の操作角が制限されるとともに、この係合部分がガタツキおよびビビリ音の発生の要因になるという問題があった。
そこで、本発明の課題は、レジスタの前面の見栄えをよくしつつ、レジスタ内を通過する気流の吹き出し方向の調整操作をスムースにすることである。
【0006】
【課題を解決するための手段】
上記課題を解決するため、請求項1記載の発明は、レジスタ内に送り込まれた気流を空気吹出口から吹き出すレジスタであって、前記空気吹出口から吹き出す気流を上下方向に偏向させる上下方向偏向手段および前記空気吹出口から吹き出す気流を横方向に偏向させる横方向偏向手段を備えたレジスタにおいて、レジスタの前面にダイヤルノブが回動可能でかつその回動軸方向に移動可能に配設され、前記ダイヤルノブの回動に連動するリンクが配設され、前記ダイヤルノブの回動軸方向の移動により回動する回動手段が配設され、前記リンクの連動により前記上下方向偏向手段が前記空気吹出口から吹き出す気流を上下方向に偏向させ、前記回動手段の回動により前記横方向偏向手段が前記空気吹出口から吹き出す気流を横方向に偏向させ、前記ダイヤルノブを保持するノブホルダが配設され、前記ダイヤルノブは前記ノブホルダに形成された凹部に配置されて保持され、前記ノブホルダの凹部に形成された貫通孔および前記ダイヤルノブの貫通孔を挿通するシャフトがその長手方向を回動中心として回動自在に横設され、前記ダイヤルノブの回動により前記シャフトを回動可能であり、前記ダイヤルノブおよびノブホルダが一緒に前記シャフトに沿って摺動可能であり、前記シャフトにアーム部が設けられ、前記リンクが前記シャフトのアーム部に連結されて前記シャフトの回動に連動し、前記回動手段が前記ノブホルダの摺動により回動することを特徴とするレジスタである。
これにより、レジスタの前面に配設されたダイヤルノブが回動可能でかつその回動軸方向に移動可能であり、リンクが前記ダイヤルノブの回動に連動し、回動手段が前記ダイヤルノブの回動軸方向の移動により回動し、前記リンクの連動により前記上下方向偏向手段が前記空気吹出口から吹き出す気流を上下方向に偏向させ、前記回動手段の回動により前記横方向偏向手段が前記空気吹出口から吹き出す気流を横方向に偏向させる。このため、前記ダイヤルノブを回動させることにより前記空気吹出口から吹き出す気流を上下方向に偏向させ、前記ダイヤルノブをその回動軸方向に移動させることにより前記空気吹出口から吹き出す気流を横方向に偏向させることができる。
さらに、ノブホルダがダイヤルノブを保持し、前記ダイヤルノブは前記ノブホルダに形成された凹部に配置されて保持され、前記ノブホルダの凹部に形成された貫通孔および前記ダイヤルノブの貫通孔を挿通するように横設されたシャフトがその長手方向を回動中心として回動自在で、前記ダイヤルノブの回動により前記シャフトが回動する。そして、前記ダイヤルノブおよびノブホルダが一緒に前記シャフトに沿って摺動可能で、前記シャフトのアーム部に連結されたリンクが前記シャフトの回動に連動し、前記回動手段が前記ノブホルダの摺動により回動する。
このため、ダイヤルノブを回動させると、前記シャフトが回動し、これに前記リンクが連動する。また、ダイヤルノブを前記シャフトに沿って摺動させると、前記ノブホルダが一緒に摺動し、前記回動手段が回動する。
【0008】
さらに、請求項記載の発明は、請求項に記載した発明において、前記ノブホルダにラックが取り付けられ、前記回動手段が前記ラックに螺合しているギヤであることである。
これにより、前記ノブホルダの摺動によりラックに螺合しているギヤが回動するので、前記回動手段をギヤにより容易に構成することができる。
【0009】
さらに、請求項記載の発明は、請求項に記載した発明において、前記ノブホルダにスリットが形成され、このスリットの長手方向が前記ノブホルダの摺動方向と直交し、前記回動手段が前記スリットに摺動自在に連結され前記ノブホルダの摺動により回動するロッドであることである。
これにより、前記ノブホルダに形成されたスリットに連結されたロッドが前記ノブホルダの摺動により回動するので、前記回動手段を前記ロッドにより容易に構成することができる。
【0010】
【発明の実施の形態】
以下、本発明における実施の形態を図面に基づいて説明する。図1は本発明の実施の形態に係るレジスタを示し、図2は図1のレジスタを分解して示し、図3は図1の縦断面を示し、図4は図1の横断面を示す。
図1に示すように、レジスタ10は、レジスタ10の前面(図示手前の面)を構成するベゼル20とベゼル20の後側にその吹き出し側端部31が取り付けられたダクト状のリテーナ30を主体として構成されている。そして、リテーナ30の流入側端部(図示右端部)32が図示しない空調装置の温冷風等の気流が流れるダクトに接続可能である。
【0011】
ベゼル20の前面には、上記空調装置のダクトからレジスタ10内に送りこまれた気流を吹き出す空気吹出口21が形成され、空気吹出口21の近傍のレジスタ10内には横フィン群41が配置されている。横フィン群41は、特許請求の範囲における「上下方向偏向手段」に相当し、空気吹出口21から吹き出す気流の吹き出し方向を上下に偏向させるものである。
図2に示すように、横フィン群41の各横フィンの横軸41aが回動自在にリテーナ30の各軸受33により支持されている。なお、各軸受33はリテーナ30の凹部とこれに当接するベゼル20とにより孔状に形成されている。ここで、各横軸41aの図示右端部に取り付けられたアーム部41bの先端部に設けられたピン41cがリンク43の長手方向に沿って形成された各孔43aに回動可能に保持されているので、横フィン群41の各横フィンは互いに連動するものである。
【0012】
リテーナ30内にて横フィン群41の風上側に、縦フィン群42が配置されている。縦フィン群42は、特許請求の範囲における「横方向偏向手段」に相当し、空気吹出口21から吹き出す気流の吹き出し方向を横方向に偏向させるものであり、その縦軸42aが回動自在にリテーナ30の各軸受34(軸受33と同様のものである。)に支持されている。ここで、縦フィン群42の各縦フィンの下部に下向きに設けられたピン42cが横設されたロッド42dに回動自在に連結されているので、各縦フィンが互いに連動する。そして、図4に示すように、リテーナ30の横幅は、縦フィン群42を取り付けた部分よりも吹き出し側端部31において広く形成されているので、縦フィン群42により偏向された気流が流れやすくなっている。
【0013】
図1に示すように、ベゼル20の前面にて空気吹出口21の下側にノブ用開口部22が形成されている。このノブ用開口部22には、横フィン群41および縦フィン群42(図2参照)の偏向方向を調節する調節手段50のダイヤルノブ53が配設されている。このダイヤルノブ53はノブホルダ54の前部に形成された凹部54aに配置されて保持されている。
図2に示すように、凹部54aには一対の円形の貫通孔54bが形成されている。そして、ダイヤルノブ53の角型の貫通孔53aは角型のシム52を介して角型の横軸となるシャフト51に摺動自在に嵌合している。このシャフト51は、一対の円形の貫通孔54bを挿通し、その両端の軸部51aがベゼル20とリテーナ30との結合部に形成された軸受35(軸受33と同様のもの)により回動自在に支持されている。このため、シャフト51はその長手方向を回動中心として回動自在にレジスタ10に横設されている。また、上述のようにシム52を使用することにより、シム52で上下左右の摺動荷重をコントロールしているので、荷重出し部材を減らすことができる。
【0014】
そして、ダイヤルノブ53は、シム52を介してシャフト51に沿って横方向に摺動可能であり、かつ、ダイヤルノブ53の回動方向(図1の矢印53bで示す方向およびこれと反対の方向)にシャフト51を回動させることができる。また、ノブホルダ54はダイヤルノブ53と一緒にシャフト51に沿って横方向に摺動可能である。なお、ベゼル20の下部に設けられたガイド部23(図3参照)が前記摺動するノブホルダ54をガイドしている。
【0015】
シャフト51の図示右側の端部には、アーム部51bが設けられ、アーム部51bの先端部にピン51cが設けられ、このピン51cが横フィン群41のリンク43の下部に形成された孔43bに回動自在に連結されている。このため、リンク43はシャフト51の回動に連動する。
さらに、ノブホルダ54の後部にはラック55が取り付けられ、縦フィン群42の中心部における縦フィンの縦軸42aの下端部には扇型のギヤ42b(特許請求の範囲における「回動手段」に相当する)が取り付けられ、ラック55と扇型のギヤ42bとが螺合している。このため、ダイヤルノブ53を横方向に摺動させると、ラック55を介してギヤ42bが回動するので、縦軸42aが回動し、これにより、縦フィン群42の偏向方向が横方向に変化することになる。
【0016】
以上の構成により、ダイヤルノブ53を矢印53bの方向に回動させると、シャフト51は、ダイヤルノブ53と同じ方向に回動する。このため、シャフト51のアーム部51bのピン51c(図2参照)が上方に回動するので、リンク43が上方に移動し、これにより横フィン群41のアーム部41bのピン41cが上方に回動する。この結果、横フィン群41の各横フィンがピン41cと同じ方向に回動するので、横フィン群41を通過する気流の方向が下方に偏向される。
一方、ダイヤルノブ53を矢印53bと反対の方向に回動させると、横フィン群41を通過する気流の方向が上方に偏向されることになる。
【0017】
また、図4に示すように、ダイヤルノブ53をシャフト51の長手方向に沿って矢印53cの方向に移動させたときは、ノブホルダ54がダイヤルノブ53と一緒に同じ方向に移動する。このため、ラック55がノブホルダ54と同じ方向に移動し、ギヤ42bが矢印42eの方向に回動し、縦フィン群42の各縦軸42aおよび各縦フィンが矢印42eの方向に回動して例えば二点鎖線で示す状態になる。この状態にて、縦フィン群42を通過して空気吹出口21(図2参照)から吹き出される気流が図示左方向に偏向する。
なお、ダイヤルノブ53を矢印53cの方向と反対の方向に移動させたときは、縦フィン群42の各縦フィンが矢印42eと反対の方向に回動し、縦フィン群42を通過する気流が図示右方向に偏向する。
【0018】
さらに、上記ダイヤルノブ53の回動およびシャフト51の長手方向に沿った移動の操作がスムースでフィーリングがよくなるとともに、その操作荷重が安定し、ガタ付きが少なくなる。
【0019】
なお、上記実施の形態において、ラック55とこれに螺合するギヤ42bが使用されているが、これに限定されず、例えば図5に示すように、ノブホルダ54x(ノブホルダ54に相当する)の後部に形成されたスリット54yと縦フィン群42の縦軸42aの下端部に固定されたアーム42x(特許請求の範囲における「回動手段」に相当する)を設け、このアーム42xの先端部にピン42yを付設し、このピン42yがスリット54yに摺動自在に係合するようにしてもよい。
この場合、ダイヤルノブ53が矢印53cの方向に移動すると、アーム42xのピン42yが矢印42zの方向に回動するので、縦フィン群42の各縦フィンが矢印42zの方向に回動する。また、ダイヤルノブ53が矢印53cと反対の方向に移動すると、縦フィン群42の各縦フィンが矢印42zと反対の方向に回動することになる。
また、レジスタ10内にて縦フィン群42が横フィン群41の風上側に配設されているが、これに限定されず、縦フィン群42を横フィン群41の風下側に配設してもよい。
【0020】
【発明の効果】
請求項1記載の発明によれば、ダイヤルノブを回動させることにより前記空気吹出口から吹き出す気流を上下方向に偏向させ、前記ダイヤルノブをその回動軸方向に移動させることにより前記空気吹出口から吹き出す気流を横方向に偏向させることができるので、ダイヤルノブを小さくすることができる。このため、レジスタの前面の見栄えがよくなるとともに、気流の吹き出し方向の調節操作がスムースになる。
さらに、ダイヤルノブの回動にリンクを連動させることが容易になり、ダイヤルノブのシャフトに沿った摺動により回動手段を回動させることが容易になる。
【0022】
さらに、請求項記載の発明によれば、請求項記載の発明の効果とともに、前記回動手段の構成が容易になる。
【0023】
さらに、請求項記載の発明によっても、請求項記載の発明の効果とともに、前記回動手段の構成が容易になる。
【図面の簡単な説明】
【図1】本発明の実施の形態に係るレジスタの斜視図である。
【図2】図1のレジスタを分解して示す斜視図である。
【図3】図1のレジスタの縦断面図である。
【図4】図1のレジスタの横断面図である。
【図5】図1のレジスタの変形例を示す部分図である。
【図6】従来例に係るレジスタの正面図である。
【図7】図6のレジスタの縦断面図である。
【図8】図6のレジスタの分解斜視図である。
【符号の説明】
10 レジスタ
20 ベゼル
21 空気吹出口
30 リテーナ
41 横フィン群(上下方向偏向手段)
41a 横軸
43 リンク
42 縦フィン群(横方向偏向手段)
42a 縦軸
42b ギヤ(回動手段)
42x アーム(回動手段)
50 調節手段
51 シャフト
52 シム
53 ダイヤルノブ(フィン操作ノブ)
53a 貫通孔
54 ノブホルダ
54b 貫通孔
54x ノブホルダ
54y スリット
55 ラック

Claims (3)

  1. レジスタ内に送り込まれた気流を空気吹出口から吹き出すレジスタであって、前記空気吹出口から吹き出す気流を上下方向に偏向させる上下方向偏向手段および前記空気吹出口から吹き出す気流を横方向に偏向させる横方向偏向手段を備えたレジスタにおいて、
    レジスタの前面にダイヤルノブが回動可能でかつその回動軸方向に移動可能に配設され、
    前記ダイヤルノブの回動に連動するリンクが配設され、
    前記ダイヤルノブの回動軸方向の移動により回動する回動手段が配設され、
    前記リンクの連動により前記上下方向偏向手段が前記空気吹出口から吹き出す気流を上下方向に偏向させ、
    前記回動手段の回動により前記横方向偏向手段が前記空気吹出口から吹き出す気流を横方向に偏向させ、
    前記ダイヤルノブを保持するノブホルダが配設され、
    前記ダイヤルノブは前記ノブホルダに形成された凹部に配置されて保持され、
    前記ノブホルダの凹部に形成された貫通孔および前記ダイヤルノブの貫通孔を挿通するシャフトがその長手方向を回動中心として回動自在に横設され、
    前記ダイヤルノブの回動により前記シャフトを回動可能であり、
    前記ダイヤルノブおよびノブホルダが一緒に前記シャフトに沿って摺動可能であり、
    前記シャフトにアーム部が設けられ、前記リンクが前記シャフトのアーム部に連結されて前記シャフトの回動に連動し、
    前記回動手段が前記ノブホルダの摺動により回動することを特徴とするレジスタ。
  2. 請求項1に記載されたレジスタであって、
    前記ノブホルダにラックが取り付けられ、
    前記回動手段が前記ラックに螺合しているギヤであることを特徴とするレジスタ。
  3. 請求項1に記載されたレジスタであって、
    前記ノブホルダにスリットが形成され、このスリットの長手方向が前記ノブホルダの摺動方向と直交し、
    前記回動手段が前記スリットに摺動自在に連結され前記ノブホルダの摺動により回動するロッドであることを特徴とするレジスタ。
JP2003049506A 2003-02-26 2003-02-26 レジスタ Expired - Fee Related JP4270367B2 (ja)

Priority Applications (1)

Application Number Priority Date Filing Date Title
JP2003049506A JP4270367B2 (ja) 2003-02-26 2003-02-26 レジスタ

Applications Claiming Priority (1)

Application Number Priority Date Filing Date Title
JP2003049506A JP4270367B2 (ja) 2003-02-26 2003-02-26 レジスタ

Publications (2)

Publication Number Publication Date
JP2004256014A JP2004256014A (ja) 2004-09-16
JP4270367B2 true JP4270367B2 (ja) 2009-05-27

Family

ID=33115211

Family Applications (1)

Application Number Title Priority Date Filing Date
JP2003049506A Expired - Fee Related JP4270367B2 (ja) 2003-02-26 2003-02-26 レジスタ

Country Status (1)

Country Link
JP (1) JP4270367B2 (ja)

Families Citing this family (6)

* Cited by examiner, † Cited by third party
Publication number Priority date Publication date Assignee Title
JP5958438B2 (ja) * 2012-10-30 2016-08-02 豊田合成株式会社 空調用レジスタ
KR101526809B1 (ko) * 2014-07-23 2015-06-08 주식회사 니프코코리아 자동차의 에어벤트
JP6217556B2 (ja) * 2014-07-31 2017-10-25 豊田合成株式会社 空調用レジスタ
KR101952662B1 (ko) * 2017-07-07 2019-05-23 한국아이티더블유 유한책임회사 차량용 에어 벤트
KR102120773B1 (ko) 2018-10-17 2020-06-09 주식회사 니프코코리아 자동차용 에어벤트
JP2020093670A (ja) * 2018-12-13 2020-06-18 豊田合成株式会社 空調用レジスタ

Also Published As

Publication number Publication date
JP2004256014A (ja) 2004-09-16

Similar Documents

Publication Publication Date Title
JP5210119B2 (ja) レジスタ
JP6086669B2 (ja) レジスタ
JP6163182B2 (ja) 薄型レジスタ
JP6077375B2 (ja) レジスタの操作ノブ
WO2013069316A1 (ja) レジスタ
JP5864233B2 (ja) レジスタ
JP4062944B2 (ja) 空気吹出調整用レジスタ
JP2019098878A (ja) レジスタ
JP4270367B2 (ja) レジスタ
JP5529564B2 (ja) レジスタ
WO2013128763A1 (ja) レジスタ
JP4118198B2 (ja) レジスタ
JP4150462B2 (ja) 空気吹出調整用レジスタ
JP2008002714A (ja) 空気吹出口構造
JP4321704B2 (ja) レジスタ
JP4150541B2 (ja) 空気吹出調整用レジスタ
JP2002267246A (ja) 風向調整装置
JP5028349B2 (ja) レジスタ
JP4165219B2 (ja) 風向調整装置
JP3175092U (ja) レジスタ
JP3050022B2 (ja) エアコンの吹き出し口装置
JP4265743B2 (ja) レジスタ
JP3774846B2 (ja) 空気吹出調整用レジスタ
JP2008030566A (ja) 空気吹出調整用レジスタ
JP7523262B2 (ja) 風向調整装置

Legal Events

Date Code Title Description
A625 Written request for application examination (by other person)

Free format text: JAPANESE INTERMEDIATE CODE: A625

Effective date: 20060215

A871 Explanation of circumstances concerning accelerated examination

Free format text: JAPANESE INTERMEDIATE CODE: A871

Effective date: 20080131

A975 Report on accelerated examination

Free format text: JAPANESE INTERMEDIATE CODE: A971005

Effective date: 20080303

A131 Notification of reasons for refusal

Free format text: JAPANESE INTERMEDIATE CODE: A131

Effective date: 20080325

A711 Notification of change in applicant

Free format text: JAPANESE INTERMEDIATE CODE: A712

Effective date: 20080428

A521 Written amendment

Free format text: JAPANESE INTERMEDIATE CODE: A523

Effective date: 20080508

A072 Dismissal of procedure

Free format text: JAPANESE INTERMEDIATE CODE: A073

Effective date: 20081209

A521 Written amendment

Free format text: JAPANESE INTERMEDIATE CODE: A523

Effective date: 20080508

TRDD Decision of grant or rejection written
A01 Written decision to grant a patent or to grant a registration (utility model)

Free format text: JAPANESE INTERMEDIATE CODE: A01

Effective date: 20090120

A01 Written decision to grant a patent or to grant a registration (utility model)

Free format text: JAPANESE INTERMEDIATE CODE: A01

A61 First payment of annual fees (during grant procedure)

Free format text: JAPANESE INTERMEDIATE CODE: A61

Effective date: 20090218

FPAY Renewal fee payment (event date is renewal date of database)

Free format text: PAYMENT UNTIL: 20120306

Year of fee payment: 3

R150 Certificate of patent or registration of utility model

Ref document number: 4270367

Country of ref document: JP

Free format text: JAPANESE INTERMEDIATE CODE: R150

Free format text: JAPANESE INTERMEDIATE CODE: R150

FPAY Renewal fee payment (event date is renewal date of database)

Free format text: PAYMENT UNTIL: 20120306

Year of fee payment: 3

S111 Request for change of ownership or part of ownership

Free format text: JAPANESE INTERMEDIATE CODE: R313111

FPAY Renewal fee payment (event date is renewal date of database)

Free format text: PAYMENT UNTIL: 20120306

Year of fee payment: 3

R350 Written notification of registration of transfer

Free format text: JAPANESE INTERMEDIATE CODE: R350

FPAY Renewal fee payment (event date is renewal date of database)

Free format text: PAYMENT UNTIL: 20120306

Year of fee payment: 3

FPAY Renewal fee payment (event date is renewal date of database)

Free format text: PAYMENT UNTIL: 20130306

Year of fee payment: 4

R250 Receipt of annual fees

Free format text: JAPANESE INTERMEDIATE CODE: R250

FPAY Renewal fee payment (event date is renewal date of database)

Free format text: PAYMENT UNTIL: 20130306

Year of fee payment: 4

FPAY Renewal fee payment (event date is renewal date of database)

Free format text: PAYMENT UNTIL: 20140306

Year of fee payment: 5

R250 Receipt of annual fees

Free format text: JAPANESE INTERMEDIATE CODE: R250

R250 Receipt of annual fees

Free format text: JAPANESE INTERMEDIATE CODE: R250

R250 Receipt of annual fees

Free format text: JAPANESE INTERMEDIATE CODE: R250

R250 Receipt of annual fees

Free format text: JAPANESE INTERMEDIATE CODE: R250

R250 Receipt of annual fees

Free format text: JAPANESE INTERMEDIATE CODE: R250

R250 Receipt of annual fees

Free format text: JAPANESE INTERMEDIATE CODE: R250

LAPS Cancellation because of no payment of annual fees